SFM 850 A4 - Friteuse SILVERCREST - Gratis gebruiksaanwijzing en handleiding
Vind de handleiding van het apparaat gratis SFM 850 A4 SILVERCREST in PDF-formaat.
Gebruikersvragen over SFM 850 A4 SILVERCREST
0 vraag over dit apparaat. Beantwoord die u kent of stel uw eigen vraag.
Stel een nieuwe vraag over dit apparaat
Download de handleiding voor uw Friteuse in PDF-formaat gratis! Vind uw handleiding SFM 850 A4 - SILVERCREST en neem uw elektronisch apparaat weer in handen. Op deze pagina staan alle documenten die nodig zijn voor het gebruik van uw apparaat. SFM 850 A4 van het merk SILVERCREST.
GEBRUIKSAANWIJZING SFM 850 A4 SILVERCREST
Vouw vóór het lezen de pagina met de afbeeldingen open en maak u vertrouwd met alle functies van het apparaat.
PL
Gebruik in overeenstemming met bestemming....74
Inhoud van het pakket en inspectie na transport 75
De verpakking afvoeren....75
Apparaatbeschrijving/accessoires....76
Veiligheidsvoorschriften....77
Vóór het eerste gebruik....80
Acrylamide-arme bereiding 80
Frituren 80
Voorbereidingen 80
Levensmiddelen frituren 83
Vast frituurvet 84
Na het frituren 85
Fondue 85
Frituurvet verversen 86
Reiniging en onderhoud 87
Opbergen 89
Tips 90
Zelf patates frites maken 90
Diepvriesproducten 90
Hoe u afkomt van ongewenste bijsmaken 91
Gezonde voeding 91
Tabel Frituurtijden....92
Problemen oplossen....93
Bijlage 93
Apparaat afvoeren 93
Garantie van Kompernaß Handels GmbH 94
Service 95
Importeur 95
Inleiding
Gefeliciteerd met de aankoop van uw nieuwe apparaat!
U hebt hiermee gekozen voor een modern en hoogwaardig product. De gebruiks- aanwijzing maakt deel uit van dit product. Deze bevat belangrijke aanwijzingen voor veiligheid, gebruik en afvoer. Lees alle bedienings- en veiligheidsaanwijzingen voordat u het product in gebruik neemt. Gebruik het product uitsluitend op de voorgeschreven wijze en voor de aangegeven doeleinden. Geef alle documenten mee als u het product doorgeeft aan een derde.
Gebruik in overeenstemming met bestemming
Dit apparaat is uitsluitend bedoeld voor het frituren van levensmiddelen en het bereiden van fondue met vet of bouillon in het privé-huishouden. Dit apparaat is uitsluitend bestemd voor gebruik in privéhuishoudens. Gebruik het apparaat niet bedrijfsmatig.
Gebruik het apparaat alleen in droge ruimtes en gebruik het nooit in de openlucht.
Dit apparaat is niet geschikt voor gebruik...
- in keukens voor werknemers in winkels, kantoren en andere bedrijfsruimtes,
- door klanten in hotels, motels en andere verblijfsruimtes,
-in landbouwbedrijven.
⚠ WAARSCHUWING
Gevaar door gebruik dat niet in overeenstemming is met de bestemming!
Gebruik dat niet in overeenstemming is met de bestemming en/of andersoortig gebruik kan gevaarlijk zijn.
- Gebruik het apparaat uitsluitend conform de bestemming.
▶ Volg de in deze gebruiksaanwijzing beschreven procedures op.
OPMERKING
▶ Er kan gevaar van het apparaat uitgaan bij gebruik dat niet in overeenstemming is met de bestemming en/of andersoortig gebruik. Gebruik het apparaat uitsluitend in overeenstemming met de bestemming. Volg de in deze gebruiksaanwijzing beschreven procedures op. De fabrikant aanvaardt geen aansprakelijkheid voor schade als gevolg van gebruik dat niet in overeenstemming is met de bestemming, onvakkundige reparaties, veranderingen die ongeoorloofd zijn uitgevoerd of gebruik van reserveonderdelen die niet zijn toegelaten. Het risico is uitsluitend voor de gebruiker. Het apparaat is geen kinderspeelgoed.
Inhoud van het pakket en inspectie na transport
Het apparaat wordt standaard met de volgende componenten geleverd:
• Mini friteuse met fondue
• Frituurmand
- Fonduering
- 6 fonduevorken
- Gebruiksaanwijzing
1) Haal alle onderdelen van het apparaat en de gebruiksaanwijzing uit de doos.
2) Verwijder alle verpakkingsmaterialen en eventuele etiketten van het apparaat.
OPMERKING
- Controleer of het pakket compleet is en of er sprake is van zichtbare schade.
▶ Neem contact op met de Service-Hotline (zie het hoofdstuk Service) als het pakket niet compleet is, of indien er sprake is van schade door gebrekkige verpakking of transport.
De verpakking afvoeren
De verpakking beschermt het apparaat tegen transportschade. De verpakkingsmaterialen zijn niet schadelijk voor het milieu. Ze zijn gekozen op grond van milieuvriendelijkheid en daarom recyclebaar.

Het terugvoeren van de verpakking in de materiaalkringloop helpt grondstoffen besparen en reduceert de afvalberg. Voer verpakkingsmateriaal dat u niet meer nodig hebt af conform de plaatselijk geldende voorschriften.

Voer de verpakking af conform de milieuvoorschriften.
Let op de aanduiding op de verschillende verpakkingsmaterialen en voer ze zo nodig gescheiden af. De verpakkingsmaterialen zijn voorzien van afkortingen (a) en cijfers (b) met de volgende betekenis:
1-7: kunststoffen,
20-22: papier en karton,
80-98: composietmaterialen.
OPMERKING
▶ Bewaar, indien mogelijk, de originele verpakking gedurende de garantieperiode van het apparaat, om het apparaat bij een garantiekwestie volgens de voorschriften te kunnen verpakken.
Apparaatbeschrijving/accessoires
① Permanent metalen filter
② Frituurreservoir
③ Handgreep
4 Kabelspoel
5 Temperatuurregelaar
6 Indicatielampje Ready
⑦ Indicatielampje Power
8 Aan-/uitknop (O/I)
⑨ Ontgrendelknop van het deksel
10 Handgreep
⑪ Frituurmand
12 Fonduevorken
13 Fonduering
Technische gegevens
| Netspanning 230 V ~ (wisselstroom), 50/60 Hz | |
| Nominaal vermogen 850 W | |
| Capaciteit olie ca. 1,2 liter tot de marking MAX. | |
| Capaciteit vast vet ca. 1 kg | |
![]() | Alle delen van het apparaat die in aanraking komen met levensmiddelen, zijn levensmiddelveilig. |
Veiligheidsvoorschriften

▶ Let erop dat het snoer nooit nat of vochtig wordt wanneer het apparaat in bedrijf is. Leg het snoer zo neer dat het niet beklemd raakt of anderszins beschadigd kan raken.
- Sluit het apparaat aan op een stopcontact met een net-spanning van 230 V \~, 50/60 Hz.
- Laat beschadigde stekkers en snoeren onmiddellijk door erkend en vakkundig personeel of door de klantenservice vervangen, om risico's te vermijden.

Dompel het apparaat met het snoer nooit onder in water en reinig het ook niet onder stromend water.

- Dit apparaat mag niet worden gebruikt door kinderen van 0 tot 8 jaar. Dit apparaat kan worden gebruikt door kinderen vanaf 8 jaar, mits zij onder toezicht staan. Dit apparaat mag worden gebruikt door personen met beperkte fysieke, zintuiglijke of geestelijke vermogens of gebrek aan ervaring en/of kennis, mits ze onder toezicht staan of over het veilige gebruik van het apparaat zijn geïnstrueerd en de daaruit resulterende gevaren hebben begrepen.
▶ Houd het apparaat en het bijbehorende snoer buiten bereik van kinderen jonger dan 8 jaar.
▶ Reiniging en onderhoud door de gebruiker mogen niet worden uitgevoerd door kinderen. - Zorg voor een veilige stand van het apparaat.
- Als het apparaat gevallen of beschadigd is, mag u het niet verder gebruiken. Laat het apparaat door deskundig personeel nakijken en eventueel repareren.

- Tijdens het frituren komt hete damp vrij, met name als u het deksel opent. Neem een veilige afstand tot de damp in acht.
- Controleer of alle onderdelen volledig droog zijn voordat u olie of vloeibaar vet in de friteuse doet. Hete olie en heet vet kunnen anders spatten.
- Droog alle levensmiddelen zorgvuldig af, voordat u die in de friteuse doet. Hete olie en heet vet kunnen anders spatten.
- Ga vooral voorzichtig om met bevroren levensmiddelen. Verwijder alle stukken ijs. Hoe meer ijs zich nog op de levensmiddelen bevindt, des te erger spat de hete olie of het hete vet.
▶ Delen van het apparaat kunnen tijdens het gebruik heet worden. Raak deze niet aan om brandwonden te vermijden. - Het apparaat dient met behulp van de handgrepen te wordengeplaatst op een stabiele ondergrond om morsen van de hete vloeistof te voorkomen.

- Gebruik geen externe timer of een apart afstandsbedie- ningssysteem om het apparaat aan te sturen.
- Smelt nooit blokken vet in de friteuse. Door de hoge temperatuur die ontstaat, zolang het vet het verwarmingselement nog niet bedekt, kan het verwarmingselement worden beschadigd of kan er brand ontstaan! Smelt het vet eerst in een pot o.i.d.

- Gebruik het apparaat niet in de buurt van hete oppervlakken.
▶ Laat het apparaat nooit zonder toezicht als het in werking is.

Gebruik nooit water om de friteuse te blussen!
▶ Oud, resp. vervuild vet of oude vervuilde olie kan bij oververhitting vanzelf ontbranden. Ververs olie of vet op tijd. In het geval van brand de netstekker uit het stopcontact halen en brandend vet of olie afsluiten van lucht met een deksel.
LET OP! MATERIËLE SCHADE!
- Vul het frituurreservoir nooit met meer vet dan tot de marking MAX en nooit met minder vet dan tot de marking MIN. Controleer steeds als u de friteuse inschakelt of er zich genoeg vet of olie in bevindt.
- Zet het apparaat nooit aan als er zich geen olie of vloeibaar vet in bevindt. Anders kan het apparaat oververhit raken.
- De friteuse is uitsluitend geschikt voor het frituren van levensmiddelen. Zij is niet ontwikkeld voor het koken van vloeistoffen.
▶ U dient er rekening mee te houden dat u met de fondue-functie van dit apparaat uitsluitend op de klassieke manier kunt fonduen met olie/vet of bouillon.
Gebruik het apparaat niet om te fonduen met chocola of kaas.
Vóór het eerste gebruik
Maak, voordat u de friteuse voor de eerste keer gebruikt, de afzonderlijke onderdelen goed schoon en droog ze zorgvuldig af (zie het hoofdstuk „Reiniging en onderhoud“).
Acrylamide-arme bereiding
Acrylamide is een mogelijk kankerverwekkende stof, die bij het frituren van zet- meelhoudende levensmiddelen versneld wordt gevormd door een reactie met aminozuren. Bij temperaturen van meer dan 175°C neemt de vorming van acrylamide abrupt toe.
Frituur daarom zetmeelhoudende levensmiddelen, zoals patat frites, indien mogelijk bij een temperatuur die niet hoger is dan 170°C. Het gefrituurde voedsel dient slechts goudgeel te worden in plaats van donker of bruin. Alleen op die manier wordt het voedsel acrylamide-arm bereid.
Frituren
Voor gebruik in deze friteuse adviseren wij frituurolie of vloeibaar frituurvet. U kunt ook vast frituurvet gebruiken. Lees in dat geval eerst het hoofdstuk „Vast frituurvet“.
Voorbereidingen
1) Zet het apparaat op een horizontaal, vlak, stabiel en hittebestendig oppervlak.
OPMERKING
▶ Als u de friteuse onder de afzuigkap op de kookplaat wilt zetten, controleen dan eerst of de kookplaat is uitgeschakeld.
2) Rol het snoer helemaal van de kabelspoel ④ af.
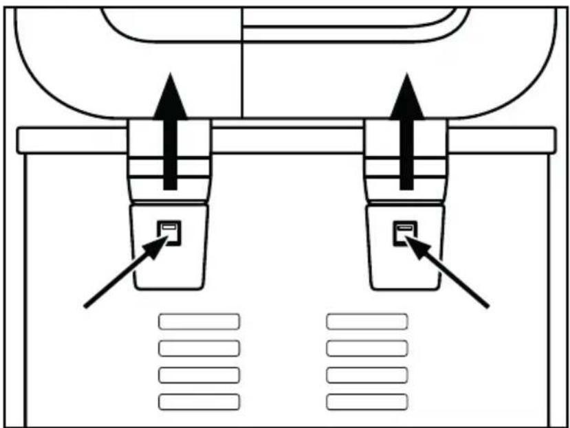
3) Druk op de ontgrendelknop van het deksel ⑨. Het deksel springt open.
4) Neem de frituurmand Ⓛ uit het apparaat en bevestig de handgreep Ⓞ aan de frituurmand:
- Druk de staven van de handgreep ⑩ wat samen, zodat de houderpennen aan de binnenkant in de ogen van de frituurmand ⑪ kunnen worden geschoven:

- Laat dan de samengedrukte staven van de handgreep 10 los, zodat de houderpennen door de gaten steken:

- Trek de handgreep 10 naar achteren, zodat die vastklikt:

- De handgreep ⑩ zit nu vast aan de frituurmand ⑪.
OPMERKING
- Gebruik uitsluitend olie of vet waarvan nadrukkelijk wordt aangegeven dat het niet schuimt en geschikt is om mee te frituren. Deze informatie staat op de verpakking of het etiket.
▶ Meng nooit verschillende soorten vet en olie! De friteuse kan door schuim-vorming overlopen.
5) Vul het droge en lege frituurreservoir ② met olie, vloeibaar of gesmolten vet (ca. 1,2 l olie of ca. 1 kg vast vet).
OPMERKING
▶ Vul het frituurreservoir ② nooit met meer vet of olie dan tot de markering MAX en nooit met minder dan tot aan de MIN-markering.
⚠ WAARSCHUWING! GEVAAR VOOR EEN ELEKTRISCHE SCHOK!
- Het snoer mag niet in aanraking komen met hete onderdelen van de friteuse. Gevaar voor een elektrische schok!
6) Plaats de frituurmand ⑪ weer in de friteuse.
7) Sluit het deksel totdat het vastklikt.
Levensmiddelen frituren
LET OP! MATERIÈLE SCHADE!
▶ Gebruik de friteuse nooit zonder olie/vet!
1) Steek de stekker in een stopcontact.
2) Zet de aan-/uitknop ⑧ op de stand "I". Het indicatielampje Power ⑦ gaat branden.
3) Draai de temperatuurregelaar ⑤ op de gewenste temperatuur. De olie of het vet wordt op de gewenste temperatuur verhit. Als de ingestelde temperatuur bereikt is, gaat het indicatielampje Ready ⑥ branden.
OPMERKING
- Het verdient aanbeveling het apparaat minstens 10 - 15 minuten heet te laten worden voordat u begint te frituren.
OPMERKING
De juiste temperatuur voor het frituren staat op de verpakking van de te frituren levensmiddelen of in het hoofdstuk "Tabel frituurtijden" in deze gebruiksaanwijzing. Een grove oriëntatie, welke levensmiddelen op welke temperatuur moeten worden gefrituurd, krijgt u door de afbeeldingen op de voorzijde van de friteuse:
| Symbool Levensmiddel Temperatuur | |
| Garnalen 130 °C | |
| Kip 150 °C | |
| Patates frites (vers) 170 °C | |
| Vis 190 °C | |
De genoemde waarden zijn slechts oriëntatiehulpmiddelen. De temperatuur kan variëren naar gelang kwaliteit en persoonlijke smaak!
- Het deksel en de friteuse zijn tijdens het frituren zeer heet. Pak daarom tijdens het gebruik uitsluitend de handgrepen ③ vast! Verbrandingsgevaar! Het is raadzaam om ovenwanten te dragen.
4) Druk op de ontgrendelknop van het deksel ⑨.
▶ Wees voorzichtig bij het vullen van de frituurmand Ⓟ! Deze is erg heet!
5) Neem de frituurmand ⑪ uit de friteuse. Doe de te frituren levensmiddelen in de frituurmand. De frituurmand ⑪ mag daarbij maximaal zover worden gevuld dat de te frituren levensmiddelen helemaal onder het vet staan wanneer u de frituurmand ⑪ in de friteuse plaatst. Overschrijd daarbij niet de MAX-markering op de frituurmand ⑪.
6) Laat de frituurmand ⑪ voorzichtig zakken in de hete olie of het hete vet.
7) Sluit het deksel van het apparaat.
OPMERKING
- Door het kijkvenster in het deksel van het apparaat kunt u het frituren observeren.
Vast frituurvet
Om te voorkomen, dat het vet spat en het apparaat te heet wordt, neemt u de volgende voorzorgsmaatregelen, als u vast frituurvet gebruikt:
Als u vers vet gebruikt, smelt u de brokken vet eerst langzaam op een matig vuur in een gewone pan. Giet het gesmolten vet voorzichtig in de friteuse. Steek pas daarna de stekker in het stopcontact en schakel de friteuse in.
■ Na gebruik bewaart u de friteuse met het vet dat weer is gestold op kamer-temperatuur.
Als het vet te koud wordt, kan het bij opnieuw smelten gaan spatten! Om dat te voorkomen kunt u met een houten of plastic staaf een paar gaten in het gestolde vet prikken. Let erop dat de coating van het frituurreservoir ② niet beschadigd raakt!
■ Om het vet te smelten, steekt u de stekker van het apparaat in het stopcontact, zet u de aan-/uitknop ⑧ op de stand "I" en draait u de temperatuurregelaar ⑤ naar 130 °C. Het indicatielampje Power ⑦ gaat branden.
Wacht totdat al het vet gesmolten is. Het indicatielampje Ready ⑥ kan daarbij steeds weer oplichten en uitgaan. Stel pas de gewenste frituurtemperatuur in, als het hele vet is gesmolten.
Na het frituren

Pak de frituurmand ⑪ nooit vast na het frituren. Deze is erg heet! Til de frituurmand ⑪ uitsluitend aan de handgreep ⑩ uit de friteuse op!
1) Druk op de ontgrendelknop van het deksel ⑨ zodat het deksel openspringt als de te frituren levensmiddelen klaar zijn.
2) Til de frituurmand ⑪ op en hang de mand aan de rand van de friteuse, zodat het overtollige vet van de gefrituurde levensmiddelen kan druipen.
3) Draai de temperatuurregelaar ⑤ naar Min.
4) Zet de aan-/uitknop 8 op de stand "O" om het apparaat uit te schakelen.
5) Haal de stekker uit het stopcontact.
6) Til de frituurmand ⑪ voorzichtig uit de friteuse als het frituurvet van de levensmiddelen is gedropen.
7) Leeg de gefrituurde levensmiddelen op een schaal of in een vergiet (met vocht-absorberend keukenpapier!).
Als u de friteuse niet regelmatig gebruikt, wordt aanbevolen de olie na het afkoelen in goed gesloten flessen of andere frituurreservoirs op te slaan, bij voorkeur in de koelkast of op een andere koele plaats. Vul de flessen via een fijne zeef om voedselresten uit de olie op te vangen.
Fondue
U kunt deze friteuse gebruiken als fonduepan.
LET OP! MATERIÈLE SCHADE!
- Gebruik het apparaat niet om te fonduen met chocola of kaas. Gebruik uitsluiten vet/olie of bouillon om te fonduen met dit apparaat.
1) Bereid het apparaat voor zoals beschreven in het hoofdstuk "Voorbereidingen".
2) Open het deksel van het apparaat en leg de fonduering 13 op de rand van het frituurreservoir 2 en sluit het deksel weer.
3) Steek de stekker in een stopcontact.
4) Zet de aan-/uitknop ⑧ op de stand "I". Het indicatielampje Power ⑦ gaat branden.
5) Kies met de temperatuurregelaar ⑤ de gewenste temperatuur.
Bij een klassieke fondue met olie/vet: stel de temperatuur, afhankelijk van de levensmiddelen die u wilt frituren, in volgens de aanwijzingen in de tabel "Levensmiddelenfrituren".
Bij fondue met bouillon: Stel een temperatuur tussen 90 en 110°C (ongeveer 100°C) in, zodat de bouillon slechts suddert (zachtjes koken).
6) Open het deksel van het apparaat als de ingestelde temperatuur is bereikt.
7) Prik het levensmiddel aan de fonduevork 12 en zet de fonduevork 12 voorzichtig in het frituurreservoir 2. In elke uitsparing van de fonduering 13 kan een fonduevork 12 staan.
Afhankelijk van het soort en de grootte van de levensmiddelen zijn ze na een paar minuten gaar.
8) Neem de fonduevork 12 voorzichtig uit de friteuse en maak de gare levensmiddelen los. U kunt vervolgens opnieuw levensmiddelen aan de fonduevork 12 prikken en in het hete vet/de hete bouillon in de friteuse plaatsen.
9) De fondue uitschakelen: draai de temperatuurregelaar ⑤ naar Min, zet de aan-/uitknop ⑧ op "O" en haal de stekker uit het stopcontact.
Frituurvet verversen
Ververs olie pas als die volledig is afgekoeld. Vast vet moet nog net vloeibaar zijn, zodat het nog gegoten kan worden.
1) Druk op de ontgrendelknop van het deksel ⑨ en neem het deksel van de friteuse (zie hoofdstuk "Reiniging en onderhoud").
2) Til de frituurmand ⑪ uit de friteuse.
3) Grijp het apparaat aan de grepen ③ aan de zijkant vast en giet de olie of het vet via het gootje in de linkerachterhoek (◀) in geschikte reservoirs, zoals flessen. Hiervoor kunt u het beste een trechter gebruiken.
OPMERKING
In iedere gemeente of stad is het afvoeren van spijsoliën of -vetten anders geregeld. Het is veelal niet toegestaan om dergelijke oliën of vetten met het normale huisvuil af te voeren. Vraag a.u.b. inlichtingen aan bij uw gemeente-reiniging over afvoermogelijkheden.
4) Maak alle onderdelen van de friteuse grondig schoon zoals beschreven in het hoofdstuk „Reiniging en onderhoud“.
5) Vul de friteuse met verse olie of vers vet zoals beschreven in het hoofdstuk „Frituren“.
Reiniging en onderhoud

WAARSCHUWING! GEVAAR VOOR EEN ELEKTRISCHE SCHOK!
▶ Haal altijd eerst de stekker uit het stopcontact voordat u het apparaat reinigt.

Het apparaat mag in geen geval worden ondergedompeld in vloeistoffen! Hierdoor kan levensgevaar ontstaan door een elektrische schok en het apparaat kan beschadigd raken.

▶ Laat het apparaat afkoelen voordat u het reinigt.
LET OP! MATERIÈLE SCHADE!
- Gebruik voor het schoonmaken van de onderdelen geen bijtende of schurende schoonmaakmiddelen of -materialen als schuurmiddel of staalwol. Deze kunnen de oppervlakken van het apparaat beschadigen!
Neem de friteuse uit elkaar om de onderdelen gemakkelijker te kunnen schoonmaken:
1) Maak de afdekking op het permanente metalen filter ① open en neem het filter uit het deksel:

2) Open het deksel van het apparaat. Druk met een staafje of iets dergelijks in de gaten in de scharnieren aan de achterkant van het apparaat en trek tegelijkertijd het deksel omhoog uit de scharnierhouders:

3) Til de frituurmand 11 uit de friteuse.


U kunt de frituurmand ⑪ reinigen in de vaatwasser. Hij is vaatwasserbestendig. Verwijder echter wel de handgreep ⑩.
OPMERKING
Vóór het eerste gebruik moet de frituurmand ⑪ handmatig worden afgewassen. Voordat de frituurmand ⑪ in de vaatwasser mag worden gewassen, moet hij eerst in olie zijn ondergedompeld.
- Droog de frituurmand ⑪ goed af alvorens deze opnieuw te gebruiken.
Laat het vet of de olie afkoelen en schud het vet vervolgens uit het frituurre-servoir ② (zie het hoofdstuk "Frituurvet verversen").
■ Reinig de handgreep ⑩, het permanente metalen filter ①, de fonduevorken ⑫ en de fonduering ⑬ in warm water met een mild afwasmiddel. Spoel alle delen af met schoon water.
Reinig de behuizing en het frituurreservoir ② met een vochtige doek. Doe zo nodig wat mild afwasmiddel op de doek. Veeg het apparaat daarna grondig af met een alleen met water bevochtigde doek, zodat er geen resten van afwasmiddel in het frituurreservoir ② achterblijven. Droog de behuizing en het frituurreservoir ② goed af.
■ Reinig het deksel van het apparaat in warm water met een mild afwasmiddel. Spoel dit dan af met schoon water. Droog het deksel van het apparaat af en zet het overeind op de kant, zodat water dat nog is achtergebleven in het binnenste van het deksel eruit kan lopen. Let erop, dat het deksel vóór een nieuw gebruik volledig droog moet zijn!
■ Reinig het permanente metalen filter ① in warm water met een mild afwasmiddel en spoel het met schoon water af.
4) Droog alle delen eerst goed af, alvorens het apparaat weer in elkaar te zetten.
5) Leg het permanente metalen filter ① terug in de holle ruimte in het deksel van het apparaat en sluit de afdekking boven het permanente metalen filter ①.
6) Plaats het deksel zodanig terug op het apparaat, dat de scharnieren in de scharnierhouders aan de achterkant van het apparaat grijpen en vastzitten.
OPMERKING
▶ Alle andere onderhoudswerken moeten door een erkend vakman of door onze klantendienst worden uitgevoerd.
Opbergen
1) Til het apparaat op en draag het aan de handgrepen ③ op de zijkanten van de behuizing.
2) Wikkel het netsnoer om de kabelspoel 4 aan de achterkant van het apparaat. Steek een van de pennen van de stekker in een van de gaten van de kabelspoel 4 om de stekker vast te zetten:

3) Om de friteuse op te bergen, kunt u de handgreep 10 van de frituurmand 11 eraf halen en zo in de frituurmand 11 leggen, dat de frituurmand 11 in de friteuse past.
4) Bewaar het apparaat met gesloten deksel. Zo blijft de friteuse aan de binnenkant schoon en vrij van stof.
Tips
Zelf patates frites maken
Aardappels die voor patates frites bestemd zijn, dienen onbeschadigd te zijn en mogen nog niet ontkiemd zijn.
■ Gebruik voor het frituren „niet-kruimige“ aardappelen of „vastkokers“.
■ Verdeel de aardappels na het schillen afhankelijk van de gewenste bereiding in stukken (in repen of schiijfjes).
Leg de aardappels ongeveer eerst een uur in water. Daardoor lost een deel van de suiker, één van de stoffen waaruit acrylamide wordt gevormd, op.
■ Laat de aardappels zorgvuldig drogen.
■ Frituur zelfgemaakte patates frites altijd in twee keer:
- eerst 8 - 12 minuten bij 150°C, dan nog 3 - 4 minuten bij 170 °C, afhankelijk van de gewenste bruiningsgraad.
Patates frites uit de diepvriezer is voorgekookt en hoeft daarom maar één keer te worden gefrituurd. Volg de aanwijzingen op de verpakking.
Diepvriesproducten
Diepvriesproducten (-16 bis -18 °C) koelen de olie of het vet aanzienlijk af, schroeien daardoor niet snel genoeg dicht en nemen om die reden mogelijkkerwijs te veel olie of vet op. Ga als volgt te werk om dat te vermijden:
Frituur geen grote hoeveelheden tegelijk. De frituurmand ⑪ mag maximaal tot aan de max-markering binnenin met te frituren levensmiddelen gevuld zijn.
■ Verhit de olie minstens 15 minuten voordat u het product in de friteuse doet.
Zet de temperatuurregelaar ⑤ op de stand die in deze handleiding of op de verpakking van het product wordt aangegeven.
Laat het diepvriesproduct bij voorkeur voor het frituren bij kamertemperatuur ontdooien. Verwijder zo veel ijs en water als maar mogelijk is, voordat u het product in de friteuse doet.
■ Doe het product langzaam en voorzichtig in de friteuse, omdat diepvriesproducten ervoor zorgen dat de hete olie of het hete vet abrupt en heftig kan gaan bruisen.
Hoe u afkomt van ongewenste bijsmaken
Sommige levensmiddelen, vooral vis, verliezen bij het frituren vocht. Dit vocht blijft achter in de frituurolie of het frituurvet en kan dan van invloed zijn op de geur en de smaak van later in dezelfde olie of hetzelfde vet bereid voedsel.
Ga als volgt te werk om de olie of het vet weer smaakloos en neutraal te maken:
■ Verhit de olie of het vet tot ca. 150 °C en doe twee dunne schijven brood of een paar kleine takjes peterselie in de frituurmand ⑪.
Laat de frituurmand Ⓞ zakken in het hete vet en sluit het deksel.
■ Wacht tot het vet of de olie niet meer bruist en neem dan het brood of de peterselie met een schuimspaan uit de friteuse. De olie of het vet heeft nu weer een neutrale smaak.
Gezonde voeding
Voedingsdeskundigen raden het gebruik van plantaardige oliën en vetten aan, die onverzadigde vetzuren (bijv. linolzuren) bevatten. Deze oliën en vetten verliezen hun positieve eigenschappen echter sneller dan andere soorten en moeten daarom vaker worden ververst. Houdt u zich aan de volgende vuistregels:
■ Ververs olie of vet regelmatig. Als u met de friteuse hoofdzakelijk patates frites bereidt en de olie of het vet iedere keer na gebruik zeeft, kunt u de olie of het vet 10 tot 12 keer gebruiken.
■ Gebruik de olie of het vet echter niet langer dan zes maanden. Neem ook steeds de aanwijzingen op de verpakking in acht.
■ Over het algemeen kunt u olie of vet minder lang gebruiken als u voornamelijk proteïnehoudende levensmiddelen zoals vlees en vis frituurt.
■ Meng geen verse olie met gebruikte olie.
■ Ververs de olie of het vet als het bij het verhitten begint te schuimen, een scherpe smaak of geur ontwikkelt of als de olie of het vet donker en/of stroopachtig wordt.
Tabel Frituurtijden
De tabel vermeldt voorbeelden welke levensmiddelen op welke temperatuur moeten worden gefrituurd en hoeveel frituurtijd daarvoor nodig is. Volg, als de aanwijzingen op de verpakking van een product hiervan afwijken, de aanwijzingen op de verpakking.
| Levensmiddel Temperatuur (ca.) Tijd in minuten | ||
| Frikadel (diepvries) 150 °C 2 - 5 minuten | ||
| Varkenskoteletten (gepaneerd) 150 °C 12 - 25 minuten | ||
| Portie kip (grote stukken) 150 °C 8 - 18 minuten | ||
| Portie kip(kleine/gemiddelde stukken) | 150 °C 7 - 17 minuten | |
| Patates frites (vers) 150 °C/170 °C | 8 - 12 minuten/3 - 4 minuten | |
| Patates frites (diepvries) | zie informatie van de fabrikant | zie informatie van de fabrikant |
| Scampi (vers) 130 °C 2 - 5 minuten | ||
| Champignons 170 - 190 °C 3 - 5 minuten | ||
OPMERKING
▶ Bij de opgegeven graden kan er sprake zijn van minieme temperatuurverschillen. De waarden die in de tabel worden genoemd zijn hulpmiddelen ter oriëntatie. Zij hebben betrekking op een hoeveelheid van ca.
150 - 200 gram. Naar gelang de kwaliteit van de levensmiddelen kunnen de tijden variëren.
▶ De frituurmand ⑪ mag daarbij hooguit tot aan de max-markering binnenin de frituurmand met te frituren levensmiddelen zijn gevuld.
Problemen oplossen
| PROBLEEM MOGELIJKE OORZAAK MOGELIJKE OPLOSSINGEN | ||
| Het apparaat werkt niet. | Het apparaat is niet verbonden met een stopcontact. | Sluit het apparaat aan op een stopcontact. |
| of | Het apparaat is beschadigd. | Neem contact op met de klanten-service. |
| Het indicatielampje Power 7 brandt niet. | Het apparaat staat uit. | Zet het apparaat aan met de aan-/uitknop 8. |
| Het indicatielampje Ready 6 brandt niet. | De ingestelde temperatuur van de olie/het vet is nog niet bereikt. | Wacht een paar minuten totdat de gewenste temperatuur is bereikt |
Neem contact op met de klantenservice, als de storingen met de bovenstaande aanwijzingen niet verholpen kunnen worden, of indien u andere storingen constateert.
Bijlage
Apparaat afvoeren

Deponeer het apparaat in geen geval bij het gewone huisvuil. Dit product voldoet aan de Europese richtlijn 2012/19/EU.
Voer het apparaat af via een erkend afvalverwerkingsbedrijf of via uw gemeentelijke afvalverwerking. Neem de momenteel geldende voorschriften in acht. Neem bij twijfel contact op met de verantwoordelijke instantie.

Informatie over mogelijkheden voor het afvoeren van het afgedankte product krijgt u bij uw gemeentereiniging.
Garantie van Kompernaß Handels GmbH
Geachte klant,
U hebt op dit apparaat 3 jaar garantie vanaf de aankoopdatum. In geval van ge breken in dit product hebt u wettelijke rechten tegenover de verkoper van het product. Deze wettelijke rechten worden door onze hierna beschreven garantie niet beperkt.
Garantievoorwaarden
De garantieperiode geldt vanaf de datum van aankoop. Bewaar de originele kassabon. U hebt de bon nodig als bewijs van aankoop.
Als er binnen drie jaar vanaf de aankoopdatum van dit product een materiaal- of fabricagefout optreedt, wordt het product door ons - naar onze keuze - voor u kosteloos gerepareerd of vervangen. Voorwaarde voor deze garantie is dat binnen de termijn van drie jaar het defecte apparaat en het aankoopbewijs (kassabon) worden overlegd en dat kort wordt omschreven waaruit het gebrek bestaat en wanneer het is opgetreden.
Wanneer het defect door onze garantie wordt gedekt, krijgt u het gerepareerde product of een nieuw product retour. Met de reparatie of vervanging van het product begint er geen nieuwe garantieperiode.
Garantieperiode en wettelijke aanspraken bij gebreken
De garantieperiode wordt door deze waarborg niet verlengd. Dat geldt ook voor vervangen en gerepareerde onderdelen. Eventueel al bij aankoop aanwezige schade en gebreken moeten meteen na het uitpakken worden gemeld. Voor reparaties na afloop van de garantieperiode worden kosten in rekening gebracht.
Garantieomvang
Het apparaat is op basis van strenge kwaliteitsnormen met de grootst mogelijke zorg vervaardigd en voorafgaand aan de levering nauwkeurig gecontroleerd.
De garantie geldt voor materiaal- of fabricagefouten. Deze garantie geldt niet voor productonderdelen die blootstaan aan normale slijtage en derhalve als aan slijtage onderhevige onderdelen kunnen worden aangemerkt, of voor beschadigingen aan breekbare onderdelen, bijv. schakelaars, accu's, bakvormen of onderdelen die van glas zijn gemaakt.
Deze garantie vervalt wanneer het product is beschadigd, ondeskundig is gebruikt of is gerepareerd. Voor deskundig gebruik van het product moeten alle in de gebruiksaanwijzing beschreven aanwijzingen precies worden opgevolgd.
Gebruiksdoeleinden en handelingen die in de gebruiksaanwijzing worden afgeraden of waarvoor wordt gewaarschuwd, moeten beslist worden vermeden.
Het product is uitsluitend bestemd voor privégebruik en niet voor bedrijfsmatige doeleinden. Bij verkeerd gebruik en ondeskundige behandeling, bij gebruik van geweld en bij reparaties die niet door ons erkend servicefiliaal zijn uitgevoerd, vervalt de garantie.
Afhandeling bij een garantiekwestie
Voor een snelle afhandeling van uw aanvraag neemt u de volgende aanwijzingen in acht:
■ Houd voor alle aanvragen de kassabon en het artikelnummer (bijv. IAN 12345) als aankoopbewijs bij de hand.
■ Het artikelnummer vindt u op het typeplaatje, in het product gegraveerd, op de titelpagina van de gebruiksaanwijzing (linksonder) of als sticker op de achter- of onderkant van het product.
Als er fouten in de werking of andere gebreken optreden, neemt u eerst contract op met de hierna genoemde serviceafdeling, telefonisch of via e-mail.
■ Een als defect geregistreerd product kunt u dan zonder portokosten naar het aan u doorgegeven serviceadres sturen. Voeg het aankoopbewijs (kassabon) bij en vermeld waaruit het gebrek bestaat en wanneer het is opgetreden.

Op www.lidl-service.com kunt u deze en vele andere handboeken, product-video's en software downloaden.
Service
NL Service Nederland
Let op: het volgende adres is geen serviceadres. Neem eerst contact op met het opgegeven serviceadres.
Stand van de informatie · Stan informacji · Stav informaci · Stav informacií:
SimpelGids
