HMESPMSw1Pl - Slim huis Homematic IP - Gratis gebruiksaanwijzing en handleiding
Vind de handleiding van het apparaat gratis HMESPMSw1Pl Homematic IP in PDF-formaat.
Veelgestelde vragen - HMESPMSw1Pl Homematic IP
Gebruikersvragen over HMESPMSw1Pl Homematic IP
0 vraag over dit apparaat. Beantwoord die u kent of stel uw eigen vraag.
Stel een nieuwe vraag over dit apparaat
Download de handleiding voor uw Slim huis in PDF-formaat gratis! Vind uw handleiding HMESPMSw1Pl - Homematic IP en neem uw elektronisch apparaat weer in handen. Op deze pagina staan alle documenten die nodig zijn voor het gebruik van uw apparaat. HMESPMSw1Pl van het merk Homematic IP.
GEBRUIKSAANWIJZING HMESPMSw1Pl Homematic IP
1x Draadloze HomeMatic-schakelactor 1-voudig met vermogensmeting, tussenstekker type F
1x Handleiding
1e uitgave Nederlands 10/2014
Documentatie © 2014 eQ-3 AG, Duitsland
Alle rechten voorbehonden. Zonder schriftelijktoestemming van de uitgever mogen deze handleiding of fragmenten ervan op geen enkele manier worden gereproduederd of met behulp van elektronische, mechaniische of chemische middelen worden verveelvoudigd of verwertk. Het is möglichk dat这点 handleiding nog druktechnische gebreken of drukfouten vertoont. De gevevens in这点 handleiding worden beschier regelmatif gecontroleerd en indien nodig in de volgende uitgave gecorrigeerd. Voor fouten van technische of druktechnische aard inclusief de gevolgen ervan stellen wij ons Niet aansprakelijk.
Alle handelsmerken en octroiirechten worden erkend.
Wijzigingen die de technische vooruitgang dienen, zich zonder vooraf-gaande aankondiging möglichk.
140036/V1.0
42
Inhoudsopgave
1 Instructies bij deze handleiding 44
2 Gevaarsaanduidingen 44
3 Werking en overzicht van het apparaat 47
4 Algemene systeeminformatie over HomeMatic 48
5 Inbedrijftelling 49
5.1 Eenvoudige bedieningsfuncties aan het apparaat 49
5.2 Aanleren. 49
5.2.1 Aanlen aan HomeMatic-apparaten 50
5.2.2 Aanleren aan een HomeMatic-centrale 51
6 Voorwaardelijk schakelen. 54
7 Fabrieksinstellungen opniewu instellen. 55
8 Fout- en terugmeldingen van de apparaatled 56
8.1 Knippercodes 56
8.2 Duty cycle. 57
9 Gedrag na een terugkeer van de spanning 58
10 Onderhoud en reiniging 58
11 Algemene instructies voor het draadloze bedrivf 59
12 Technische gegevens. 60
43
Instructies bij deze handleding
Gevaarsaanduidingen
1 Instructies bij deze handleiding
Lees deze handledig zorgvuldig door, vór u de HomeMatic apparaten in gebruik neemt. Bewaar de handledig, om ze ook later nog te künnen raadplegen! Als u het apparaat door andere PersonenThat Gebruiken, geef dan ook deze handledig mee.
Gebruike symbolen

Let op! Hier worden op een risico attend gemaatk.

Opmerking Dit hoofdstuk bevat aanvullende belangrijke informatatie.

Opmerking Dit hoofdstuk bevat aanvullende belangrijke informatatie over het gebruik van het apparaat in combinatie met de HomeMatic-centrale.
2 Gevaarsaanduidingen

Voor zaak- of personenschade die door een onjuist gebruik of Niet-naleving van de gevaarsaanduidingen veroorzaakt is, stellen wij ons Niet aansprakelijk. In dergelijkige geallen vervalt ieder garantierecht! Voor gevolgschade stellen wij ons Niet aansprakelijk!

Open het apparaat Niet. Het bevat geen onderdelen die door de gebruiker要去en worden onderhonden. Het openen van het apparaat houdt het risico van een elektrische schok in. In het geval van een defect dient u het apparaat waar de klantenservice te sturen.

Gebruik het apparaat Niet, indien het uiterlijk zichtbare schade, bijv. aan de kast, bedieningselementen of aansluitbussen, of een storing vertoont. Laat het apparaat in geval van twijfel controlleren door een specialist of once service.

Om redenen van veiligheid en markings (CE) is het eigemachtig verbouwen en/of veranderen van het product Niet toegestaan.

Gebruik het apparaat uitsluitend binnen en stel het Niet bloot aan vocht, trillingen, langdurig zonlicht of andere warmtebronnen, koude en mechanische belastingen.

Het apparaat is geen spelelgoed! Laat kinderen er nicht mee spelelen. Laat verpakkingsmaterialien nicht rondslingeren. Plastic folies en zakken, vormstukken van styropor enz. kennen door kinderen als gevaarlijk spelelgoed worden gebruikt.

Controleer voordat u een verbruiker aansluit, de technische gegevens en met name het maximaal toegestane schakelvermogen van het relais en het type van de aan te sluiten verbruiker! Alle lastgegevens hebben betrekking op ohmselasten! Belast het apparatusaatuitsluitend tot de opgegeven vermogensgrens. Een overbelasting kan tot de vernieling van het apparatusaat, een brand of elektrisch ongeval leiden.

Het apparaat is berekend op een continue stroombelasting van 14 A. 16 A is voor maximaal 30 minutes toegestaan!

Het apparaat mag alleen op een gemakkelijk toegankelijk stopcontact worden aangesloten. Bij gevaar moet het apparaatuit het stopcontact worden getrokken.

Gebruik de HomeMatic-tussenstekker alleen in vast geinstal-lerde stopcontacten met randaarding, nicht in contactdozen of met verlangkabels.

Sluit op de HomeMatic-tussenstekker geen eindapparaten aan die bij onbedoeld inschakelen een brand of andere schade können veroorzaken (bijv. strijkijzers).
Gevaarsaanduidingen
Werking en overzicht van het apparaat

Trek aktijd eerst de stekker van het eindapparaat UIT de HomeMatic-tussenstekker, voordat u veranderingen aan het eindapparaat aanbrengt (bijv. een lamp verwangt).

Leg het snoer algid zo, dat dit Niet tot risico's voor mensen of huisdieren kan leiden.

Het apparaat is nicht voor vrijschakelen geschikt. De last is Niet galvanisch van het net gezehden.

Reinig het apparaat alleen wanner de stekker uit het stopcontact getrokken is, met een droge, linnen doeik, die bij sterke verontreinigingen ook Licht mag worden bevochtigd. Gebruik voor de reiniging geen oplosmiddelhoudende reinigingsmiddelen. Zorg ervoor dat er geen vocht binnen in het apparaatterechtkomt.

Elk ander gebruik dan wat in deze handleiding beschreiben wordt, is oneigenlijk en leidt tot de uitsluiting van garantie en aansprakelijkheid. Dit geldt ook voor verbouwenen en veranderingen. Het apparaat is uitsluitend voor particulier gebruik bedoeld.

HomeMatic-tussenstekkers mogen nicht darüber elkaar worden gestoken.

Apparaten met elektronische adapters (bijv. tevisietoestellen of hoogspannings-ledlampen) vormen geen ohmse lasten. Deze kuren inschakelstromen vaneer dan 100 A genereren. Het schaken van dergelijke verbruikers leidt tot vroegtijdige slijtag van de actor.

Het apparatus isuitsluitend geschikt voor gebruik in woonruimten en soortgelijke omgevingen.
3 Werking en overzicht van het apparatus
Met de draadloze HomeMatic-schakelactor 1-voudig met vermogensmeting in de tussenstekkerkast kurz u aangesloten verbruikers (bijv. uw droogautomaat) of andere aangeleerde HomeMatic-apparaten (bijv. dimactoren) in- en uitschakelen en het energieverbruik van de aangesloten verbruikers meten (tot 3680 watt (16 A)).
De draadloze HomeMatic-schakelactor met vermogensmeting combineer twee functies in een apparaat:
- schakelen van aangesloten verbruikers,
- meten van spanning, stroom, werkelijk vermogen, freiagentie en energieverbuik.
Via het schakelkanaal(Int) aunt u aangesloten verbruikers in- of uitschaken. Via de sensorkanalen hebts u aanvullend de mogelijkheid om aangeleerde HomeMatic-apparaten en aangesloten verbruikers in of uit te schakelen.
Het meetkanaal beschikt over een meetfunctie en kan meetgegeven (bijv. spanning, stroom, werkelijk vermogen, freiagentie en energieverbruik) maar de HomeMatic-centrale doorsturen. De meetwaarden können in het HomeMatic-system cyclisch maar de HomeMatic-centrale worden doorgestuurd en op de bedieningsinterface WebUI van de CCU2 grafisch worden weergegeven. In het apparaat worden geen meetgegevens opgeslagen.

Alle functies van het apparaat hunnen in combinatie met een CCU2 via de HomeMatic-bedieningsinterface WebUI worden geconfigureerd. Het instellen en configureren van het apparaat is ook met de HomeMatic-configatieadapter möglichk.

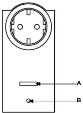
(A)-kanaaltoets
(B)-apparaatled
4 Algemene systeeminformatie over HomeMatic
Dit apparatus is een onderdeel van het HomeMatic-domoticasystem en werk met het bidirectionele BidCoS®-communicatieprotocol.
Alle apparaten worden met een standard configuratie afgeleverd.
Daarnaast kan de werkung van het apparaat via een programmeerapparaat en software worden geconfigureerd. Welke uitgebrende functies hierbij ontstaan en welke extra mogelijkheden het HomeMatic-system in combinatie met andere componenten biedt, vindt u in het HomeMatic WebUI-handboek.
De actuèle versie van alle technische documenten en updates vindt u in het downloadgedeelte op www.homematic.com.
5 Inbedrijfstelling
5.1 Eenvoudige bedieningsfuncties aan het apparaat
- Steek de draadloze schakelactor met vermogensmeting in het stopcontact.
Het apparaat is direct gebruisklaar en kan aan een HomeMatic-centrale (of aan andere HomeMatic-apparaten) worden aangeleerd. Het apparaat beschikt over een kanaaltoets (A), die met een korte druk voor de bediening (in- en uitschakelen) van aangesloten verbruikers kan worden gebruikt.
Om het apparaat met alijken functies in uw HomeMatic-system te kunnen gebruiken en configureren en om verbruikers of HomeMatic-apparaten draadloos te kunnen besturen, moet u het apparaat eerst aanlen ren (zie hoofdstuk 三 5 . 2 Aanleren" op pagina 49).
5.2 Aanleren

Lees dit hoofdstuk volledig door, voordat u met het aanleren begint.
Om de draadloze schakelactor met vermogensmeting in uw HomeMaticsysteme te integregeren, zodat hij met andere HomeMatic-componenten (bijv. een draadloze HomeMatic-afstandsbediening) kan communiceren, moet het apparaat eerst worden aangeleerd. U kunt de draadloze schakelactor met vermogensmeting aan andere HomeMatic-apparaten of aan de HomeMatic-centrale aanleren.

Directe apparaatverbindingen zijn bij de draadloze schakelacter met vermogensmetting alleen via het schakelkanaal möglich (zie hoofdstuk,5.2.1 Aanleren aan HomeMatic-apparaten" op pagina 50). Verbindungen met het meetkanaal要去en met een centrale of configuratieadapter tot stand worden gebracht (zie hoofdstuk,5.2.2 Aanleren aan een HomeMatic-centrale" op pagina 51).
Inbedrijftstelling
5.2.1 Aanleren aan HomeMatic-apparaten
Indien u de draadloze schakelactor met vermogensmeting aan een of meerdere apparaten wilt aanleren, moeten de beiden te verbinden apparaten in de aanleermodus worden gebracht. Ga hiervoor als volgt te werk:

Houd bij het aanlenen een minimumafstand van 50 cmussen de HomeMatic-apparaten aan.
Activeer erst de aanleermodus aan de draadloze schakelactor met vermogensmeting.
Houd de kanaaltoets (A) ten minste 4 seconden ingedrukt. Een langzaam oranje knipperende apparaatled (B) geeft aan dat de aanleermodus is ingeschakeld. De aanleertijd bedraagt max. 20 seconden.

- Breng nu het apparaat dat u aan de draadloze schakelactor met vermogensmeting wilt aanleren (bijv. een draadloze HomeMaticafstandsbediening, zich onderstaande afbeelding), in de aanleermodus. Verwijder het deksel van het batterijvak en druk met een puntig voorwerp op de aanleertoets.
Inbedrijfstelling

Indien het aanleerproces succesvol was,licht de apparaatled (B) van de draadloze schakelactor met vermogensmetting gedurende een seconde groen op. Indien de apparaten Niet aan elkaar konden worden aangeleerd,licht de apparaatled gedurende twee seconden rood op. Probeer het in dit geval opnieuw.
Na het succesvol aanleren=kunt u aangesloten verbruikers via de draadloze schakelactor met vermogensmeting bijv. met een draadloze HomeMatic-afstandsbediening in- en uitschakelen.

Indien er geen aanleren plaatsvindt, worden het aanleerproces na 20 seconden beeindigd. Indien andere apparaten zich in de aanleermodus bevinden, dan worden deze aangeleerd.
5.2.2 Aanleren aan een HomeMatic-centrale
Om uw apparaat softwarematig en comfortabel
moet het eerst aan de HomeMatic-centrale worden aangeleerd. Het aanleren van neue apparaten aan de centrale gebeurt via de HomeMatic-bedieningsinterface 'WebUI'.
Inbedrijfstelling
Inbedrijfstelling

Zodra een apparaat aan een centrale is aangeleerd, kan het alleen nog via deze met andere apparaten worden verbonden.

Elk apparaat kan alsijd aan slechts een centrale worden aangeleerd.

Houd bij het aanlenen een minimumafstand van 50 cm tussen de HomeMatic-apparaten en de centrale aan.
Voor het aanlen van uw apparaat aan de centrale gaat u als volgt te werk:
- Open de WebUI-bedieningsinterface in uw browser. Klik op de knop 'Apparaat aanleren', die zich rechts op het scherm bevindt.

- Om de aanleermodus te activeren, klikt u in het volgende venster op 'BidCoS-RF-aanleermodus'.

- De aanleermodus blijf 60 seconden actief. In het informatieveld wordt de resterende aanleertijd aangegeven.
Breng binnen deze aanleertijd ook de draadloze schakelactor met vermogensmeting in de aanleermodus. Houd de kanaaltoets (A) ten minste 4 seconden ingedrukt. Een langzaam oranje knipperende apparaatled (B) geeft aan dat de aanleermodus is ingeschakeld.

- Na korteijd verschijnt het neuen aangeleerde apparaat in de inbox van uw bedieningsinterface. De knop 'Inbox' geegt hierbij aan hoeveelijke apparaten met succes zijn aangeleerd.
- Leer eventuele nog andere apparaten aan, door de hierboven beschreiben stappen voor ieder apparaat te herhalen.
- Configureer nu de nouvel aangeleerde apparaten in de inbox, Zoals beschreiben in het hoofdstub Nieuw aangeleerde apparaten configuureren'.
Nieuw aangeleerde apparaten configureren
Nadat u uw apparaat aan de HomeMatic-centrale hebt aangeleerd, wordt het waar de 'Inbox' verplaatst. Hier moeten uw apparaat en de bijbehorende kanalen eerst worden geconfigureerd, om het apparaat voor bedienings- en configuratietaken beschikkaar te makeen. Kies een
Voorwaardelijk schakelen
Fabrieksinstellungen opniew instellen
naam en wijs het apparaat resp. de kanalen aan een ruimte toe. U hebt aanvullend de mogelijkheid om afzonderlijke parameters in te stellen.
Daarma kurz u uw apparaat via WebUI besturen en configureren, direct met andere apparaten verbinden, in centrale programma's gebruiken en de meetwaarden van de aangesloten verbruikers opvragen. Meer details hierover vindt u in het HomeMatic WebUI-handboek (te vinden in het downloadgedeelte van de website www.homematic.com).
6 Voorwaardelijk schakelen
Met de functie Voorwaardelijk schakelen kunnen aangesloten verbruikers of andere HomeMatic-apparaten worden geschakeld, indien aan een bepaalde voorwaarde voldaan is.
Voorbeeld: U hebt uw droogautomaat in de kelder in combinatie met de draadloze schakelactor met vermogensmetting aangesloten en wilt door een audiosignal op de hoogte worden gestend waren hij�is. Hiervoor Auntu u de draadloze schakelactor met vermogensmetting via de centrale verbinden met een draadloze HomeMatic-mp3-gong.
Zodra de droogautomaat bijv. milder dan 100 W verbruikt, moet hij worden uitgeschakeld. Aanvullend要去 door de draadloze mp3-gong een audiosignal worden uit gezonden. Wanner de ingestelde vermogensdempel ( bijv. < 100 W) worden anderschden, stuart de draadloze schakelactor met vermogensmeting een voorwaardelijk schakelcommando waar de draadloze mp3-gong en de meetwaarden van de droogautmaat maar aan de centrale. De draadloze mp3-gong zende het gewenste signaal uit en u weet wanner uw droogautomaat�k is.

7 Fabrieksinstallingen opniew instellen
De fabrieksinstellungen van het apparaat hunnen handmatig opnieuw worden ingesteld. Hierbij gaan alle instelleningen en informatie verloren.

Voordat u de fabrieksinstellungen van het apparaat waar instelt, dient u het eerst uit de HomeMatic-bedieningsinterface WebUI te verwijderen.
Ga als volgt te werk:
- Houd de kanaaltoets (A) ten minste vier seconden ingedrukt, tot de apparaatled (B) langzaam oranje begint te knipperen.
Laat de toets los.

- Druk nu de kanaaltoets (A) opnieuw vier seconden in, tot de apparaatled (B) snel rood begint te knipperen.
Laat de toets los. - De apparaatled gaat uit.
- De fabrieksinstellungen zijn nueer ingesteld.
8 Fout- en terugmeldingen van de apparaatled
8.1 Knippercodes
| Knipperreeks Betekenis Oplossing | ||
| Langzaam oranje knipperen | Aanleermodus actief | Zet de aanleerpartner in de aanleermodus. |
| Snel oranje knip-peren | Gegevensuitwisse-ling met de aanleer-partner | Wacht op de bevesti-ging van de apparaat-led. |
| 1 s groen oplichten Aanleerproces suc-cesvol | U kunt met de verdere bediening doorgaan. | |
Fout- en terugmeldingen van de apparaatled
| 2 s rood oplichten Aan | eerproces nicht succesvol | Probeer het opnieuw. |
| Langzaam oranje knipperen | Voorfase voor te-rugzetten van de fa-brieksinstellingen | Het apparaat wacht op een lange druk op de kanaaltoets voor het terugzetten of op een korte druk voor het be-eindigen. |
| Snel rood knipperen De fabrieksinstellin-gen van het appa-raat worden terug-gezet. | / | |
| Kort rood, groen en oranje knipperen | Led-testindicatie na terugkeer van de spanning | Wacht tot de apparaat-led uitgaat. |
| 1 x lang, 1 x kort rood knipperen | Duty cycle bereikt | zie hoofdstuk ,8.2 Duty cycle" op pagina 57 |
| 1 x lang, 2 x kort rood knipperen | Apparaat defect Appa-raat defect; neem contact op met uw dealer. | |
8.2 Duty cycle
De duty cycle beschrift een wettelijk geregelde begrenzing van de zendtijd van apparaten in het 868 MHz-bereik. Het doel van deze regeling is om de werkking van alle in het 868MHz-bereik werkende apparaten te garanderen.
In het door ons gebruekte frequentiebereik van 868 MHz bedraagt de maximale zendtijd van een apparaat 1% van een uur (dus
36 seconden peruur). De apparaten mogen bij het bereiken van de 1% -limiet Nieteer zenden, totdeze tijdelijke begrenzingweer voorbij
Gedrag na een terugkeer van de spanning
is. In overeenstemming met deze richtlijn worden HomeMatic-apparaten 100% conform de norm ontwikkeld en geprodueerd. In het normale bedrivij wordt de duty cycle doorgaans Niet bereikt. In afzonderlijke situatuies kan dit bij de inbedrijfstelling of eerste installmentie van een system wel het geval zich, wannier meerere de zendintensieve aanleerprocessen actief zich. Een overschrijding van de duty-cycle-limiet worden aangegeven door een eenmalig lang en eenmalig kort knipperen van de apparaatled en kan zich uiten in een tijdelijkke onderbreking van de werkking van het apparaat. Na korte tijd (max. 1uur) werkt het apparaat waar normalaal.
9 Gedrag na een terugkeer van de spanning
Na het insteken van het apparaat in een stopcontact of na het terugkeren van de netspanning voert de draadloze schakelactor een zelftest/ herstart (ca. 2 seconden)uit. De apparaatled knippert kort rood, groen en orangje (led-testindicatie). Indien hierbijk een fouit wordt vastgesteld, dan worden dit aangegeven door een knipperen van de apparaatled (zie hoofdstuk "8.1 Knippercodes" auf Seite 56). Dit herhaalt zich continu en het apparaat neemt zijn eigendijke functie Niet op. Indien de test zonder fouten worden doorlopen, verzendt de draadloze schakelactor een telegram metশinformatie. Opdat bij een terugkeer van de spanning (bijvoorbeeld na een netuival of uitschakeling) Niet alle HomeMatic-actoren tegelijk zouden zenden, wacht de draadloze schakelactor een toevallige vertragsstijd voordat hij zendt. Tijdens deze tijd knippert de apparaatled langzaam orangje. Indien de vertragsstijd zeer kort is, kan het gebeuren dat dit knipperen nauelijks waameembaar is.
10 Onderhoud en reiniging
Het product is onderhoudsvrij. Laat reparations over aan een vakman. Reinig het product met een zachte, schone, droge en pluisvrijde doeck. Voor het verwijderen van sterke verontreinigingen kan de doecklicht met lauw water worden bevochtigd. Gebruik geen oplosmiddelhoudende reinigingsmiddelen. Deze kuren de kunststof kast en opschriften aantasten.
Algemene instructies voor het draadloze bedrijf
11 Algemene instructies voor het draadloze bedrijf
De draadloze communicatie worden via een Niet-exclusief communica-tkanaal gereiliseerd, zodate storingen nicht kuren worden uitgesloten. Andere storende invloeden kuren afkomstig zich van schakelproces-sen, elektromotoren of defecte elektrische apparaten.

Het bereik in gebouwen kan sterk afwijken van het bereik in het vrij veld. Behalve het zendvermogen en de ontvangsteigenschappen van de ontvangers spelen ook omgevingsinvloeden zoals luchtvochtigheid en de bouwkundige situatie een belangrijke rol.

Indien bij de draadloze schakelactor met vermogensmeting de 'beveiligde overdracht' (AES) worden geschakeld, betekent dit:
-meercommunicatie,
- actorgroepen können nicht meer gelijktijdig commando'suitvoeren.
Meer informatatie over de beveiligde overdracht (AES) vindt u in het HomeMatic WebUI-handboek op www.homematic.com.
Hierbij verkaart eQ-3 AG dat dit apparaat in overeenstemming is met de fundamentele eisen en andere relevante voorschriften van de richtlijn 1999/5/EG.
De volledige conformiteitsverklaring vindt u op www.homematic.com.
Technische gegevens
Stroomopname: 14 A max. (16 A voor 30 min)
Opgenomen vermogen bij stand-by: < 0,6 W
Beschermingsgraad:
Omgevingstemperatuur: -10 tot +35 °C
Verontreinigungsgraad:
Meetcategorie: CAT II
Zendfrequentie:
Ontvangersklasse
Typ: bereik in het vrije veld:
Duty cycle:
Max. schakelvermogen:
Type belasting:
Levensverwachting relais/
schakelingen: 40 000 (16 A, ohmse last)
Relais:
Type schakelaar:
Bedrijfswijze
onafhankelijk gemonteerde schakelaar
S1
2500V
1
Type 1 B
59× 122× 40mm (zonder netstekker)
179g
Technische gegevens
| Meetbereik | Resolutie | Nauwkeurigheid | |
| Vermogen | 0 tot 3680 W | 0,01 W | 1% ± 0,03 W* |
| Stroom | 0 tot 16 A | 1 mA | 1% ± 1 mA* |
| Spanning | 200 tot 255 V | 1 V | 0.5% ± 0,1 V |
| Frequen-tie | 48,72 tot 51,27 Hz | 0,01 Hz | 0,1% ± 0,01 Hz |
- Frequentiebereik: 2 Hz tot 2 kHz
Technische wijzigingen voorbehonden.

Verwijdering
Het apparaat hoor Niet in de vuilnisbak! Elektronische apparaten moeten overeenkomstig de richtlijn voor afgedankte elektrische en elektronische apparaten worden ingeleverd bij de inzamelpunten
voarafgedankteapparaten.

Informatie met betrekking tot de conformiteit
De CE-markering is een label voor het vrij de verkeer van goederen binnen de Europese Unie en is uitsluitend bedoeld voor de desbetreffende autoriteiten. Het is geen garantie voor bepaalde eigenschappen.

Met technische vragen over het apparaat(Int) sunt u terecht bij uw specialzaak.
SimpelGids