HMESPMSw1Pl - Smart Home Homematic IP - Kostenlose Bedienungsanleitung
Finden Sie kostenlos die Bedienungsanleitung des Geräts HMESPMSw1Pl Homematic IP als PDF.
Häufig gestellte Fragen - HMESPMSw1Pl Homematic IP
Benutzerfragen zu HMESPMSw1Pl Homematic IP
0 Frage zu diesem Gerät. Beantworten Sie die, die Sie kennen, oder stellen Sie Ihre eigene.
Eine neue Frage zu diesem Gerät stellen
Laden Sie die Anleitung für Ihr Smart Home kostenlos im PDF-Format! Finden Sie Ihr Handbuch HMESPMSw1Pl - Homematic IP und nehmen Sie Ihr elektronisches Gerät wieder in die Hand. Auf dieser Seite sind alle Dokumente veröffentlicht, die für die Verwendung Ihres Geräts notwendig sind. HMESPMSw1Pl von der Marke Homematic IP.
BEDIENUNGSANLEITUNG HMESPMSw1Pl Homematic IP
Funk-Schaltaktor 1-fach mit Leistungsmessung, Zwischenstecker Typ F
1x HomeMatic Funk-Schaltaktor 1-fach mit Leistungsmessung, Zwischenstecker Typ F
1x Bedienungsanleitung
- Ausgabe Deutsch 10/2014
Dokumentation © 2014 eQ-3 AG, Deutschland
Alle Rechte vorbehalten. Ohne schriftliche Zustimmung des Herausgebers darf these Handbuch auch nicht auszugswise in irgendener Form reproduziert werden oder unter Verwendung elektronischer, mechanischer oder chemischer Verfahren vervielfaltigt oder verarbeitet werden.
Es ist möglich, dass das vorliegende Handbuch noch drucktechnische Mangel oder Druckfehler aufweist. Die Angaben in thisen Handbuch werden jedoch regelmäßiger überprüft und Korrekturen in der nachsten Ausgabe vorgenommen. Für Fehler technischer oder drucktechnischer Art und ihre Folgen übernehmen wir keine Haftung.
Alle Warenzeichen und Schutzrechte werden anerkannt. Printed in Hong Kong
Änderungen im Sinne des technischen Fortschritts konnen ohne Vorankündigung vorgenommen werden.
140036/V1.0
Inhaltsverzeichnis
1 Hinweise zu dieser Anleitung 4
2 Gefahrenhinweise 4
3 Funktion und Geräteübersicht 7
4 Allgemeine Systeminformation zu HomeMatic. 8
5 Inbetriebnahme 9
5.1 Einfache Bedienfunktionen am Gerät 9
5.2 Anlernen. 9
5.2.1 Anlernen an HomeMatic Geräte 10
5.2.2 Anlernen an eine HomeMatic Zentrale 11
6 Bedingtes Schalten 14
7 Werkseinstellungen wiederherstellen. 15
8 Fehler- und Rückmeldungen der Geräte-LED 16
8.1 Blinkcodes 16
8.2 Duty Cycle 17
9 Verhalten nach Spannungswiederkehr. 18
10 Wartung und Reinigung 19
11 Allgemeine Hinweise zum Funkbetrieb 19
12 Technische Daten. 20
1 Hinweise zu dieser Anleitung
Lesen Sie diese Anleitung sorgfältig, bevor Sie ihre HomeMatic Komponenten in Betrieb nehmen. Bewahren Sie die Anleitung zum späteren Nachschlagen auf! Wenn Sie das Gerät anderen Personen zur Nutzung überlassen, übergeben Sie auch diese Bedienungsanleitung.
Benutzte Symbole:

Achtung! Hier wird auf eine Gefahr hingewiesen.

Hinweis. Dieser Abschnitt enthalt zusätzliche wichtige Informationen!

Hinweis. Dieser Abschnitt enthalt zusätzliche wichtige Informationen zur Verwendung des Gerätes in Verbindung mit der HomeMatic Zentrale.
2 Gefahrenhinweise

Bei Sach- oder Personenschäden, die durch unsachgemäß Handhabung oder Nichtbeachten der Gefahrenhinweise verursacht werden, übernehmen wir keine Haftung. In solchen Fällen erlischt jeder Gewährleistungsanspruch! Für Folgeschäden übernehmen wir keine Haftung!

Öffnen Sie das Gerät nicht. Es enthalt keine durch den Anwender zu wartenden Teile. Das Öffnen des Gerätes birgt die Gefahr eines Stromschlages. Im Fehlerfall schicken Sie das Gerät an den Service.

Verwenden Sie das Gerät nicht, wenn es von außen erkennbare Schäden z. B. am Gehäuse, an Bedienelementen oder an den Anschlussbuchsen bzw. eine Funktionstörung aufweist. Lassen Sie das Gerät im Zweifelsfall von einer Fachkraft oder unserem Service prüfen.

Aus Sicherheits- und Zulassungsgrunden (CE) ist das eigenmächtige Umbauen und/oder Verändern des Produkts nicht gestattet.

Betreiben Sie das Gerät nur in Innenräumen und setzen Sie es keinem Einfluss von Feuchtigkeit, Vibrationen, ständiger Sonnen- oder anderer Wärmeinstrahlung, Kälte und keinen mechanischen Belastungen aus.

Das Gerät ist kein Spielzeug, erlauben Sie Kindern nicht damit zu spielten. Lassen Sie das Verpackungsmaterial nicht achtlos liegen, Plastikfolien/-tügen, Styroporteile, etc., konnten für Kinder zu einem gefährlichen Spielzeug werden.

Beachten Sie vor Anschluss eines Verbrauchers die technischen Daten, insbesondere die maximal zulässige Schatteistung des Relais und Art des anzuschließlich Verbrauchers! Alle Lastangaben beziehen sich auf ohmsche Lasten! Belasten Sie das Gerät nur bis zur angegebenen Leistungsgrenze. Eine Überlustung kann zur Zerstörung des Gerätes, zu einem Brand oder elektrischen Unfall führen.

Das Gerät ist für eine Dauerstrombelastung von 14 A ausgelegt. 16 A sind für maximal 30 Minuten zulässig!

Das Gerätarf nur an eine leicht zugängliche Netz-Steckdose angeschlossen werden. Bei Gefahr ist das Gerät aus der Netz-Steckdose zuziehen.

Verwenden Sie den HomeMatic Zwischenstecker nur in fest installierten Steckdosen mit Schutzkontakten, nicht in Steckdosenleisten oder mit Verlängerungskabeln.

Schlieben Sie keine Endgeräte an den HomeMatic Zwischenstecker an, deren unbeaufsichtigtes Einsatzen Brände oder andere Schäden verursachen können (z. B. Bügeleisen).
Gefahrenhinweise Funktion und Geräteübersicht

Ziehen Sie grundsatzlich den Stecker des Endgerätes aus dem HomeMatic Zwischenstecker, bevor Sie Veränderungen am Endgerät vornehmen (z. B. Gluhlampenwechsel).

Verlegen Sie Kabel stets so, dass diese nicht zu Gefährdungen für Menschen und Haustiere führen können.

Das Gerät ist nicht zum Freischalten geeignet. Die Last ist nicht galvanisch vom Netz getrennt.

Reinigen Sie das Gerät nur nach Entfernen aus der Steckdose mit einem trockenen Leinentuch, das bei starken Verschmutzungen leicht angefeucht sein kann. Verwenden Sie zur Reinigung keine losemittelhaltigen Reinigungsmittel. Achten Sie darauf, dass keine Feuchtigkeit in das Geräteinnere gelangt.

Jeder andere Einsatz als der in dieser Bedienungsanleitung beschriebene ist nicht bestimmungsgemäß und führt zu Gewährleistungs- und Haftungsausschluss. Dies gilt auch für Umbauten und Veränderungen. Das Gerät ist ausschließlich für den privaten Gebrauch gedacht.

HomeMatic Zwischenstecker)durfen nicht hintereinander gesteckt werden.

Geräte mit elektronischen Netzeleiten (z. B. Fernseher oder Hochvolt-LED-Leuchtmittel) stellen keine ohmschen Lasten dar. Sie konnen Einsatzströme von über 100 A erzeugen. Schalten solcher Verbraucher führt zu vorzeitigem Verschleib des Aktors.

Das Gerät ist nur für den Einsatz in wohnungsähnlichen Umgebungen geeignet.
3 Funktion und Geräteübersicht
Mit dem HomeMatic Funk-Schaltaktor 1-fach mit Leistungsmessung im Zwischensteckergehause konnen Sie angeschlossene Verbraucher (z. B. Ihren Trockner) oder andere angelemerte HomeMatic Geräte (z. B. Dimmaktoren) ein-bzw. ausschalten und den Energieverbrauch der angeschlossenen Verbraucher messen (bis 3680 Watt (16 A)).
Der HomeMatic Funk-Schaltaktor mit Leistungsmessung verbindet zwei Funktionsbereiche in einem Gerät:
- Schalten von angeschlossenen Verbrauchern
- Messen von Spannung, Strom, Wirkleistung, Frequenz und Energieverbrauch
Über den Schaltkanal konnen Sie angeschlossene Verbraucher ein- oder ausschalten. Über die Sensorkanäle haben Sie zusätzlich die Möglichkeit, angelemerte HomeMatic Geräte und angeschlossene Verbraucher ein- oder auszuschalten.
Der Messkanal verfügbar über eine Messfunktion und Übertragungsmöglichkeit von Messdaten (z. B. Spannung, Strom, Wirkleistung, Frequenz und Energieverbrauch) an die HomeMatic Zentrale. Die Messwerte können im HomeMatic System zyklisch an die HomeMatic Zentrale übertragen werden und{lssen sich in der Bedienoberflache WebUI der CCU2 grafisch aneigen. Auf dem Gerat werden keine Messdaten gespeichert.

Alle Funktionen des Gerätes können in Verbindung mit einer CCU2 über die HomeMatic Bedienoberfläche WebUI konfiguuriert werden. Das Einrichten und Konfigurieren des Gerätes ist ebenfalls mit dem HomeMatic Konfigurations-adapter möglich.

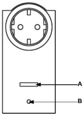
(A) - Kanaltaste
(B)-Geräte-LED
4 Allgemeine Systeminformation zu HomeMatic
Dieses Gerät ist Teil des HomeMatic Haussteuersystems und arbeitet mit dem bidirektonalen BidCoS® Funkprotokoll.
Alle Geräte werden mit einer Standardkonfiguration ausgeliefert. Darüber hinaus ist die Funktion des Gerätes über ein Programmiergerät und Software konfigurierbar. Welcher weitergehende Funktionsumfang sich damit ergibt, und welche Zusatzfunktionen sich im HomeMatic
System im Zusammenhang mit weiteren Komponenten ergeben, entnehen Sieitte dem HomeMatic WebUI Handbuch.
Alle technischen Dokumente und Updates finden Sie stets aktuell im Downloadbereich unter www.homematic.com.
5 Inbetriebnahme
5.1 Einfache Bedienfunktionen am Gerät
- Stecken Sie den Funk-Schaltaktor mit Leistungsmessung in die Steckdose.
Das Gerät ist einzofort betriebsbereit und kann eine HomeMatic Zentrale (oder an andere HomeMatic Geräte) angeleernt werden.
Das Gerät verfügt über eine Kanaltaste (A), die über einen kurzen Ta-stendruck zur Bedienung (ein- bzw. ausschalten) von angeschlossenen Verbrauchern genutzt werden kann.
Um das Gerät in seinem vollen Funktionsumfang in ihrem HomeMatic System nutzen und konfigurieren sowie Verbraucher bzw. HomeMatic Geräte per Funk steuern zu können, müssen Sie es zunachst Anlernen (vgl. Kapitel „5.2 Anlernen" auf Seite 9).
5.2 Anlernen

Bitte lesen Sie diesen Abschnitt vollständig, bevor Sie mit dem Anlernen beginnen.
Damit der Funk-Schaltaktor mit Leistungsmessung in Ihr HomeMatic System integriert werden und mit anderen HomeMatic Komponenten (z. B. einer HomeMatic Funk-Fernbedienung)COMMUNZIEREN KANN, muss das Gerat zunachst angelemt werden. Sie konnen den Funk-Schaltaktor mit Leistungsmessung an andere HomeMatic Geräte oder an die HomeMatic Zentrale anlernen.

Direkte Geräteverknüpfungen sind bei dem Funk-Schaltaktor mit Leistungsmessung nur mit dem Schaltkanal möglich (s. Kapitel,5.2.1 Anlernen an HomeMatic Geräte auf Seite 10). Verknüpfungen mit dem Messkanal müssen mit einer Zentrale oder einem Konfigurationsadapter erstellt werden (s. Kapitel,5.2.2 Anlernen an eine HomeMatic Zentrale auf Seite 11).
Inbetriebnahme Inbetriebnahme
5.2.1 Anlernen an HomeMatic Geräte
Wenn Sie den Funk-Schaltaktor mit Leistungsmessung an ein oder mehrere Geräte anlernen möchten, müssen die beiden zu verknüpfenden Geräte in den Anlernmodus gebracht werden. Dafür gehen Sie wie folgt vor:

Halten Sie beim Anlernen einen Mindestabstand von 50 cm zwischen den HomeMatic Geräten ein.
Aktivieren Sie zunachst den Anlernmodus am Funk-Schaltaktor mit Leistungsmessung.
- Halten Sie die Kanaltaste (A) für mindestens 4 Sekunden gedrückt. Langsames orangenes Blinken der Geräte-LED (B) signalisiert den Anlernmodus. Die Anlernzeit beträgt max. 20 Sekunden.

- Versetzen Sie jetzt das Gerät, das Sie an den Funk-Schaltaktor mit Leistungsmessung anlernen möchten (z. B. eine HomeMatic Funk-Fernbedienung, s. nachfolgende Abbildung), in den Anlernmodus. Nehmen Sie die Batteriefachabdeckung ab und drücken Sie kurz mit einem spitzen Gegenstand auf die Anlerntaste.

War der Anlernvorgang erfolgreich, leuchtet die Geräte-LED (B) des Funk-Schaltaktors mit Leistungsmessung für eine Sekunde grün auf. Konnten die Geräte nicht aneinander angelemt werden, leuchtet die Geräte-LED für zwei Sekunden rot auf. Versuchen Sie es erneut.
Nach erfolgreichem Anlernen konnen Sie angeschlossene Verbraucher über den Funk-Schaltaktor mit Leistungsmessung z. B. mit einer HomeMatic Funk-Fernbedienung ein- und ausschalten.

Wenn kein Anlernen erfolgt, wird der Anlernmodus automatisch nach 20 Sekunden beendet. Befinden sich andere Geräte im Anlernmodus, werden diese angelert.
5.2.2 Anlernen an eine HomeMatic Zentrale
Um Ihr Gerät softwarebasiert und komfortabel
- steuern und konfigurieren,
- direkt mit anderen Geräten verknüpfen oder
- in Zentralenprogrammen nutzen zu können,
muss es zunachst an die HomeMatic Zentrale angelert werden. Das Anlernen neuer Geräte an die Zentrale erfolgt über die HomeMatic Be
Inbetriebnahme Inbetriebnahme
dienoberfläche „WebUI".

Sobald ein Gerät an eine Zentrale angeleernt ist, kann es nur noch über diese mit anderen Geräten verknüpf werden.

Jedes Gerät kann immer nur an eine Zentrale angelemt werden.

Halten Sie beim Anlernen einen Mindestabstand von 50 cm zwischen den HomeMatic Geräten und der Zentrale ein.
Zum Anlernen Ihres Gerätes an die Zentrale gehen Sie wie folgt vor:
- Offnen Sie die WebUI-Bedienoberfläche in Ihr dem Browser. Klicken Sie auf den Button „Geräte anlernen" im rechten Bildschirmbereich.

- Um den Anlernmodus zu aktivieren, klichen Sie im{nachsten Fenster auf „BidCoS-RF Anlernmodus".

- Der Anlernmodus ist für 60 Sekunden aktiv. Das Infofeld zeigt die aktuell noch verbleibende Anlernzeit.
- Versetzen Sie innerhalb dieser Anlernzeit auch den Funk-Schaltaktor mit Leistungsmessung in den Anlernmodus. Halten Sie die Kanall taste (A) für mindestens 4 Sekunden gedrückt. Langsames orangenes Blinken der Geräte-LED (B) signalisiert den Anlernmodus.

Bedingtes Schalten Werkseinstellungen wiederherstellen
- Nach kurzer Zeit entscheidt das neu angeelernde Gerät im Posteinggang ihrer Bedienoberfläche. Der Button „Posteinggang" besteht an, wie weitere neue Geräte erfolgsreich angelemt wurden.
- Lernen Sie ggf. weitere Geräte an, indem Sie die vorher beschrieben Schritte für jedem Gerät wiederholen.
- Konfigurieren Sie nun die neu angelernten Geräte im Posteingang wie im Abschnitt „Neu angelernte Geräte konfigurieren" beschrieben.
Neu angelernte Geräte konfigurieren
Nachdem Sie Ihr Gerät an die HomeMatic Zentrale angelemt haben, wird es in den „Posteingang" verschoben. Hier muss Ihr Gerät und die dazugehörigen Kanäe zunachst konfiguriert werden, damit es für Bedien- und Konfigurationsaufgaben zur Verfügung steht. Vergeben Sie einen Namen und ordnen Sie das Gerät bzw. die Kanäe einem Raum zu. Sie haben zusätzlich die Möglichkeit, einzeln Parameterereinstellungen vorzunehmen.
Anschließlich konnen Sie Ihr Gerät über die WebUI steuern und konfigurieren, direkt mit anderen Geräten verknüpfen, in Zentralenprogrammen nutzen und sich die Messwerte angeschlossener Verbraucher anzeigen halten. Einzelheiten hierzu entnehmer Sieitte dem HomeMatic WebUI Handbuch (zu finden im Downloadbereich der Website www.homematic.com).
6 Bedingtes Schalten
Über die Funktion „Bedingtes Schalten" konnen angeschlossene Verbraucher oder andere HomeMatic Geräte geschalte werden, wenn eine bestimmte Bedingung erfüllt wird.
Beispiel: Sie haben ihren Trockner im Keller in Verbindung mit dem Funk-Schaltaktor mit Leistungsmessung angeschlossen und möchten über ein Audio-Signal erfahren, wenn dieser fertig ist. Dazu konnen Sie den Funk-Schaltaktor mit Leistungsmessung über die Zentrale mit einem HomeMatic MP3 Funk-Gong verknüpfen:
Sobald der Trockner z. B. unter 100 W verbraucht, soll er ausgeschelt werden. Zusätzlich soll ein Audio-Signal über den MP3 Funk-Gong abgeben werden. Wirde die eingestelle Leistungsschwelle unterscriften (z. B. < 100W ), sendet der Funk-Schallaktor mit Leistungsmessung einen bedingten Schaltbefehn an den MP3 Funk-Gong und die Messwerte des Trockners an die Zentrale. Der MP3 Funk-Gong gibt ein gewünsches Signal ab und Sie wollen, wenn Ihr Trockner fertig ist.

7 Werkseinstellungen wiederherstellen
Die Werkseinstellungen des Funk-Schaltaktors mit Leistungsmessung können manuell wiederhergestellt werden. Dabei gehen alle Einstellungen und Informationen verloren.

Bevor Sie die Werkseinstellungen des Gerätes wieder herstellen,löschen Sie es zuerst aus der HomeMatic Bedienoberfläche WebUI.
Fehler- und Rückmeldungen der Geräte-LED Fehler- und Rückmeldungen der Geräte-LED
Gehen Sie wie folgt vor:
- Halten Sie die Kanaltaste (A) für mindestens vier Sekunden gedrückt, bis die Geräte-LED (B) langsam orange zu blinken beginnnt.
- Lassen Sie die Taste wieder los.

- Drücken Sie nun die Kanaltaste (A) erneut für vier Sekunden, bis die Geräte-LED (B) schnell rot zu blinken beginnnt.
- Lassen Sie die Taste wieder los.
Die Geräte-LED erlischt. - Die Werkseinstellungen des Gerätes sind nun wiederhergestellt.
8 Fehler- und Rückmeldungen der Geräte-LED
8.1 Blinkcodes
| Blinkfolge Bedeutung | Lösung | |
| Langsames oranges Blinken | Anlernmodus aktiv Versetzen Sie den Anlernpartner in den Anlernmodus. | |
| Schnelles oranges Blinken | Datumastausch mit dem Anlernpartner | Warten Sie auf die Be-stätigung der Geräte-LED. |
| 1 s grüne Aufleuch- ten | Anlernvorgang er- folgreich | Sie konnen mit der weiteren Bedienung fortfahren. |
| 2 s rotes Aufleuchten | Anlernvorgang nicht erfolgreich | Bitte versuchen Sie es erneut. |
| Langsames oranges Blinken | Vorstufe zum Zu- rücksetzen auf die Werkseinstellungen | Gerät wartet auf langen Tastendruck der Kanaltaste zum Zurücksetzen oder kurzen Tastendruck zum Beenden. |
| Schnelles rotes Blinken | Die Werkseinstel- lungen des Gerätes werden wiederher- gestellt. | / |
| Kurzes rotes, grünes und oranges Blinken | LED-Testanzeige nach Spannings- wiederkehr | Warten Sie, bis die Geräte-LED erlischt. |
| 1 x langes, 1 x kurzes rotes Blinken | Duty Cycle erreicht | s. Kapitel „8.2 Duty Cycle" auf Seite <US> |
| 1 x langes, 2 x kurzes rotes Blinken | Gerät defektitte | den Sie sich an ihren Fachhändler. |
8.2 Duty Cycle
Der Duty Cycle beschreiben eine gesetzlich geregelte Begrenzung der Sendezeit von Geräten im 868 MHz Bereich. Das Ziel dieser Regelung ist es, die Funktion aller im 868 MHz Bereich arbeitenden Geräte zu gewährleisten.
In dem von uns genutzten Frequenzbereich 868 MHz beträgt die maxi
Verhalten nach Spannungswiederkehr Allgemeine Hinweise zum Funkbetrieb
male Sendezeit eines jeder Gerätes 1% einer Stunde (also 36 Sekunden in einer Stunde). Die Geräte dürfen bei Erreichen des 1%-Limits nicht mehr senden, bis diese zeitliche Begrenzung vorüber ist. Gemäß dieser Richtlinie, werden HomeMatic Geräte zu 100% normenkonform entwickelt und produziert. Im normalen Betrieb wird der Duty Cycle in der Regel nicht erreicht. Dies kann jedoch in Einzelfällen bei der Inbetriebnahme oder Erstinstallation eines Systems durch vermehrte und funkintensive Anlernprozesse der Fall sein. Eine Überschreitung des Duty Cycle Limits wird durch einmal langes und einmal kurzes Blinken der Geräte-LED angezeigt und kann sich durch temporär fehlende Funktion des Gerätes außern. Nach kurzer Zeit (max. 1 Stunde) ist die Funktion des Gerätes wiederhergestellt.
9 Verhalten nach Spannungswiederkehr
Nach dem Einstecken des Gerätes in eine Steckdose oder nach Wiederkehr der Netzspannung führt der Funk-Schaltaktor einen Selfstest/Neustart (ca. 2 Sekunden) durch. Die Geräte-LED blinkt kurz rot, grün und orange auf (LED-Testanzeige). Sollte darauf ein Fehler festgestellt werden, so wird these durch Blinken der Geräte-LED dargestellt (s. Kapitel "8.1 Blinkcodes" auf Seite 16). Dieses wiederholt sich kontinuierlich und das Gerät nimmt seine eigentliche Funktion nicht auf. Sollte der Test ohne Fehler durchlaufen, sendet der Funk-Schaltaktor ein Funktelegramm mit seiner Statusinformation aus. Damit bei Spanningswiederkehr (eṭwa nach Netzspannungsausfall oder Abschaltung) nicht alle HomeMatic Aktoren gleichzeitig senden, wartet der Funk-Schaltaktor eine zufällige Verzögerungszeit vor dem Senden. In dieser Zeit blinkt die Geräte-LED langsam orange. Ist die Verzögerungszeit sehr kurz, kann es sein, dass das Blinken kaum wahrnehmbar ist.
10 Wartung und Reinigung
Das Produkt ist wartungsfrei. Überlassen Sie eine Reparatur einer Fachkraft. Reinigen Sie das Produkt mit einem weichen, sauberen, trockenen und fusselfreien Tuch. Für die Entfernung von stärkerten Verschmutzungen kann das Tuch kein mit lauwarmem Wasser ange
feuchtet werden. Verwenden Sie keine losemittelhaltigen Reinigungsmittel, das Kunststoffgehäuse und die Beschriftung kann dadurch angegriffen werden.
11 Allgemeine Hinweise zum Funkbetrieb
Die Funk-Übertragung wird auf einem nicht exklusiven Übertragungsweg realisiert, weshalb Störungen nicht ausgeschlossen werden konnen. Weitere Storeinflüsse konnen hervorgerufen werden durch Schaltvorgänge, Elektromotoren oder defekte Elektrogeräte.

Die Reichweite in Gebäuden kann stark von der im Freifeld abweichen. Außer der Sendeleistung und den Empfangseigenschaften der Empfänger如果玩家 Umwelterinflüsse wie Luftfeuchtigkeit darüber baulichen Gegebenheiten vor Ort eine wichtige Rolle.

Wird beim Funk-Schaltaktor mit Leistungsmessung die „gesicherte Übertragung" (AES) aktiviert, bedeutet dies:
- hoheres Kommunikationsaufkommen.
- Aktor-Gruppen können nicht mehr gleichzeitig Befehle ausführten. Weitere Informationen zur geschicherten Übertragung (AES) finden Sie im HomeMatic WebUI Handbuch unter www.homematic.com.
Hiermit erklart die eQ-3 AG, dass sich these Gerat in Übereinstimmung mit den grundlegenden Anforderungen und den anderen relevanten Vorschriften der Richtlinie 1999/5/EG befindet. Die vollständige Konformitätserklärung finden Sie unter www.homematic.com.
Technische Daten Technische Daten
12 Technische Daten
Geräte-Kurzbezeichnung: HM-ES-PMSw1-PI-DN-R1
Versorgungsspannung: 230 V/50 Hz
Stromaufnahme: 14 A max. (16 A für 30 min)
Leistungsaufnahme Ruhebetrieb: < 0,6 W
Schutzart:
Umgebungstemperatur: -10 bis +35 °C
Verschmutzungsgrad:
Messkategorie: CAT II
Funkfrequency:
Empfängerkategorie:
Typ. Funk-Freibeldreichweite:
Duty Cycle:
Max. Schaltleistung:
Lastart:
Lebenserwartung Relais/
Schaltspiele:
Relais:
Schaltertyp:
Betriebsart:
Stehstoßspannung:
Schutzklasse:
Wirkungsweise:
Abmessungen (B x H x T):
Gewicht:
868,3 MHz
SRD Category 2
100m
<1%proh
3220 W dauerhaft
(3680 W für 30 min)
ohmsche Last
40000 (16 A, ohmsche Last)
Schlieber, 1-polig, μ-Kontakt
unabhängig montierter Schalter
2500V
Type 1.B
59× 122× 40mm
(ohne Netzstecker)
179 g
| Messbereich | Auflösung | Genaigung | |
| Leistung | 0 bis 3680 W | 0,01 W | 1 % ± 0,03 W* |
| Strom | 0 bis 16 A | 1 mA | 1 % ± 1 mA* |
| Spannung | 200 bis 255 V | 0,1 V | 0,5 % ± 0,1 V |
| Frequenz | 48,72 bis 51,27 Hz | 0,01 Hz | 0,1 % ± 0,01 Hz |
- Frequenzbereich: 2 Hz bis 2 kHz
Technische Änderungen vorbehalten.

Entsorgungshinweis
Gerat nicht im Hausmull entsorgen! Elektronische Geräte sind entsprechend der Richtlinie über Elektro- und Elektronik-Altgeräte über die örtlichen Sammelstellen
fur Elektronik-Altgeräte zu entsorgen.

Konformitātshinweis
Das CE-Zeichen ist ein Freiverkehrszeichen, das sich ausschließlich an die Behörden vendet und keine Zusicherung von Eigenschaften beinhaltet.

Bei technischen Fragen zum Gerät, wenden Sie sichitte an.
Ihren Fachhandler.
Package contents
Quantity Item
- te können besturen en configureren,
- direct met andere apparaten te können verbinden of
- in centrale programma's te können gebriken,
12 Technische gegevens
Apparaatcode:
Voedingsspanning: 230 V/50 Hz
Statische impulsspanning:
Beschermklasse:
Werkwijze:
Bevollmächtigter des Herstellers:
EinfachAnleitung