FW 2000 BEEF! - Hakmolen CASO - Gratis gebruiksaanwijzing en handleiding
Vind de handleiding van het apparaat gratis FW 2000 BEEF! CASO in PDF-formaat.
Veelgestelde vragen - FW 2000 BEEF! CASO
Questions des utilisateurs sur FW 2000 BEEF! CASO
0 question sur cet appareil. Repondez a celles que vous connaissez ou posez la votre.
Poser une nouvelle question sur cet appareil
Download de handleiding voor uw Hakmolen in PDF-formaat gratis! Vind uw handleiding FW 2000 BEEF! - CASO en neem uw elektronisch apparaat weer in handen. Op deze pagina staan alle documenten die nodig zijn voor het gebruik van uw apparaat. FW 2000 BEEF! van het merk CASO.
GEBRUIKSAANWIJZING FW 2000 BEEF! CASO
48.1 Instrucciones de seguridad 80
48.2 Indicaciones de avería 80
49 Eliminacion del aparato uso 81
50 Garantía 81
51 Datos技术和 82
52 Gebruiksaanwijzing 84
52.1 Algemeen 84
52.2 Informatie over deze gebruiksaanwijzing 84
52.3 Waarschuwingsinstructies 84
53 Veiligheid 85
53.1 Gebruik volgens de voorschriften 85
53.2 Algemene veiligheidsinstructies 85
53.3 Gevaar voor lichamelijk letsel 87
53.4 Gevaar door elektrische stroom 88
53.5 Aansprakelijkheid 88
53.6 Auteurswet 89
54 Ingebruikname 89
54.1 Veiligheidsvoorschriften 89
54.2 Leveringsomvang en transportinspectie 89
54.3 Uitpakken 89
54.4 Verwijdersen van de verpakking 89
54.5 Eisen aan de plek van plaatsing 90
54.6 Elektrische aansluiting 90
55 Opbouwen functie 91
55.1 Overzicht 91
55.2 Montage 92
55.3 Typeplaatje 92
56 Bediening en gebruik 92
56.1 Voor het eerste gebruik 93
56.2 Gebruik van de gehaktmolen: 93
56.3 Worst make n 93
56.4 Verwerking van deeg, bijv. spritsgebak 94
57 Reiniging en onderhoud 94
57.1 Veiligheidsvoorschriften 94
57.2 Reiniging 95
58 Storingen verhelpen 95
58.1 Veiligheidsvoorschriften 95
58.2 Storingen 95
59 Afvoer van het oude apparatus 96
Originele Gebruiksaanwijzing Gehaktmolen FW 2000 Black


Artikelnummer 2872
52 Gebruiksaanwijzing
52.1 Algemeen
Lees de hier vermelde informatatie, zodat u snel vertrouwd raakt met uw apparaat en al zich functies in volle omvang kut gebruiken. U hebft jaren lang plezier van uw Gehaktmolen FW 2000 Black als u hem vakkundig behandelt en onderhoudt. Wij wensen u veel plezier met het gebruik.
52.2 Informatie over deze gebruiksaanwijzing
Deze gebruiksaanwijzing is onderdeel van de FW 2000 Black (vanaf hier 'apparaat genoemd) en geeft u belangrijke aanwijzingen voor de ingebruikname, de veiligheid, het doelgerichte gebruik en het onderhoud van het apparaat. De gebruiksaanwijzing要去 algid bij het apparaat voorhanden+zijn en voor iedereen te lezen en te gebruiken die met de
Ingebruikname
- bediening
- oplossing van een storing en/of
- Reiniging van het apparaat belast is. Bewaar deze gebruiksaanwijzing en geef hem samen met het apparaat door aan een eventuele volgende eigenaar.
52.3 Waarschuwingsinstructies
In deze gebruiksaanwijzing worden de volgende waarschuwingsinstructies gebruikt:
AGEFAHR
Gevaar
Een waarschuwing van dit gevarenniveau duidt op een dreigende, gevaarlijke situatie. Indien de gevaarlijke situatie nicht vermeden worden, leidt deze tot de dood of zware verwondingen.
- De aanwijzingen van每次都 waarschuwingsinstructie opvolgen om het gevaar van dood of zware verwondingen bij Personen te voorkomen.
WARNING
Waarschuwing
Een waarschuwing van dit gevarenniveau duidt op een möglichke gevaarlijke situatie.
Indien de gevaarlijke situatie nicht vermeden worden, kan dit tot zware verwondingen leiden.
- De aanwijzingen van deze waarschuwingsinstructie opvolgen om verwondingen bij Personen te voorkomen.
AVORSICHT
Voorzichtig
Een waarschuwing van dit gevarenniveau duidt op een möglichk gevaarlijke situatie.
Indien de gevaarlijke situatie nicht vermeden worden, kan dit tot lichte of matige verwondingen leiden.
- De aanwijzingen van deze waarschuwingsinstrumentie opvolgen om verwondingen bij Personen te voorkomen.
HINWEIS
Tip
Een tip duidt op extra informatie, die de omgang met het apparaatichter maakt.
53 Veiligung
In dit hoofdstuk krijgt u belangrijke veiligheidsinstrumenties betreffende de omgang met het apparaat. Dit apparaat beantwoordert aan de voorgeschreven veiligheidsvoorschriften. Een ondeskundig gebruik kanchalter tot materiele schade en schade aan Personen leiden.
53.1 Gebruik volgens de voorschriften
Dit apparaat is alleen voor het gebruik in het huishouden in een gesloten ruimte ter
GehaktentartaarmakeWorstmake
- Verwerken van deeg bijv. spritsgebak
Een ander of er van afwijkend gebruik geldt als nicht volgens de voorschriften.
WARNING Waarschuwing
Gevaar door gebruik Niet volgens de voorschriften!
Bij onreglementair gebruik van het apparaat en/of gebruik op een andere wijze kuren gezaren ontstaan.
Het apparatusuuitsluitend volgens de voorschriften gebruiken.
De in deze gebruiksaanwijzing beschreiben handelswijzen in acht nemen.
Aanspraken van welke aard dan ook wegens nicht reglementair gebruik zijn uitgesloten. Het risico draagt alleen de gebruiker.
53.2 Algemeneveiligheidsinstructies
HINWEIS Tip
Houdt u zich voor een veilige omgang met het apparaat aan de volgende algemene veiligheidsinstructies:
Lees deze aanwijzingen zorgvuldig door en bekijk de illustraties in deze handleiding nauwkeurig voordat u het apparaat gezruikt.
Controller het apparaat voor de ingebruikname op aan de buitenkant zichtbare schaden. Neem een beschadigd apparaat Niet in gebruik.
- Indien de aansluiting of de stekker beschadigd is,要去 deze door de fabrikant of servicepersoneel dat waar opdracht toe heeft van de fabrikant worden verrangen om gevaren te voorkomen.
HINWEIS
Tip
Dit apparaat kan door personen met een geestelijkke, zintuiglijke of lichamelijke handicap worden gebruikt, als zich zijn onderwezen in het veilige gebruik en de möglichke bevaren begrijpen.
Houd het apparaat en de netkabel buiten het bereik van kinderen.
Reinigings- en onderhoudswerkzaamheden mogen nicht door kinderen worden uitgevoerd.
▶ Kinderen mogen nicht met het apparaat spelen.
Het apparaat tijdens gebruik nicht onbeheerd lately.
Een reparatie van het apparaat mag alleen door een door de fabrikant geauthoriseerde servicedienst uitgevoerd worden, anders vervalt bij een volgende schade de aanspraak op garantie. Door ondeskundige reparations können aanzienlijke bevaren voor de bebruiker ontstaan.
Defecte onderdelen mogen alleen gegen originele verrangende onderdelen omgewisseld worden. Alleen bij die onderdelen is gegardeerd dat ze aan de verilgheidseisen voldoen.
- Gebruik uitsluitend de meegeleverde toebehoren. De garantie van het apparaat vervalt als u toebehoren van andere fabrikanten gebruikt
- Reinig voor het eerste gebruik alle onderdelen die met levensmiddelen in contact hunnen komen zorgvuldig.
Trek de stekker meteen na gebruik waar uit het stopcontact.
Verwerk geen botten, noten of andere harde producten.
Verwerk stukken vlees zonder pezen, botten en vet.
- Gebruik het apparaat maximaal 5 minutes continu. Laat het apparaat dan 10 minutes afkoelen.
Draai de schakelaar op REV, als het apparaat geblokkeerd is. De doorvoerschroef draait nu weiteruit, het vlees worden losser en de blokkade worden opgelost.
Het apparatusat, nicht in contact brengen met water en andere vloeistoffen en Niet in de afwasmachine plaatsen.
HINWEIS
Tip
Doe de machine nicht te vol en LAST hem nicht leeg draaien.
- Verzeker uervaan dat alle onderdelen goed gemonteerd zichen en vastzitten.
Gebruik de machine alleen voor huishoudelijkde doeleinden.
Het apparaat is er nicht voor bedoeld om met een exter tijdschakelaar of een afzonderlijke afstandsbediening te worden gebruikt.
53.3 Gevaar voor lichamelijk letsel
WARNING
Waarschuwing
Als u Niet voorzichtig met het apparaat omgaat, bestaat gevaar voor lichamelijk letsel. Neem de volgende veiligheidsmaatregelen in acht om gevaar voor letsel te vermijden:
Grijp nooit in de perssschroef, gebruik.altijd de stopper.
- Gebruik nooit uw vingers of een hulpmiddel om ingredienten dieper in de perssschroef te duwen, als het apparaat aan staat. Gebruik uitsluitend de stopper voor dit doel.
Trek de stekker uit het stopcontact en wacht tot alle zich bewegende onderdelen tot stilstand zijn gekomen, voordat u deze verwijdert.
Trek de stekker uit het stopcontact, als het apparaat nicht onder toezicht staat, voor iedere reiniging en voordat u toebehoren of onderdelen verwijdert of inbouwt.
Houd nooit uw gezicht boven de perssschroef met vultrechter, als de motor loopt. Als u bij de voorbereiding van de ingredienten botten of ander harde bestanddelen Niet gezien hebt, kuren deze er net als stukken vleesuit worden geslingerd. Let op Gevaar voor lichamelijk letsel!
53.4 Gevaar door elektrische stroom
GEFAHR
Gevaar
Levensgevaar door elektrische stroom!
Bij contact met onder stroom staande snoeren of constructieonderdelen bestaat levensgevaar!
Neemt u de volgende veiligheidsvoorschriften in acht om een dreiging van elektrische stroom te voorkomen:
Het apparaat mag nicht in gebruik worden genomen, als de aansluiting of de stekker beschadigd is, als het Niet volgens de voorschriften werkt, op de grond is geallen of beschadigd is. Indien de aansluiting of de stekker beschadigd is,要去 deze door de fabrikant of servicepersoneel dataar opdracht toe heeft van de fabrikant worden verrangen om gevaren te voorkomen.
- Open in geen geval de behuizing van het apparaat. Als aansluitingen die onder stroom staan worden aangeraakt en de elektrische of mechanische opbouw veranderd, bestaat gevaar voor elektrische schokken. Daarnaast konnen functionele storingen in het apparaat optreden.
53.5 Aansprakelijkheid
Alle in deze gebruiksaanwijzing aanwezige technische informatie, gegevens en instructies voor installmentie, ingebruikname en onderhoud beantwoorden aan de LASTe stand bij het in druk gaan en vinden plaats met inachtneming van ons te tot nu toe opgedane ervaringen en kennis maar eer en geweten. Aan de informatie, afbeeldingen en beschrijvingen in deze gebruiksaanwijzingen kannen geen rechten worden ontleend.
De fabrikant is nicht aansprakelijk voor schaden op grond van:
- Niet-naleving van de gebruiksaanwijzing
- Ondeskundige reparations
- Niet volgens de voorschriften geldend gebruik
- Technische veranderingen, modificaties van het apparaat
- Toepassing van Niet goedgekeurde onderdelen
Modificaties van het apparaat worden Niet aanbevolen en vallen Niet onder de garantie.
Vertalingen worden maar.best weten uitgevoerd. Wijল Niet verantwoordelijk voor vertaalfouten, ook Niet in het geval dat de vertaling door ons of in opdracht van ons is gemaatk. Bindend blijft alleen de oorspronkelijke Duitse tekst.
53.6 Auteurswet
Dit documentatiematerialial is auteursrechtelijk beschermd. Alle rechten, ook die van de fotomechanische reproductie, de verveelvoudiging en de verbreiding door bijzondere handelswijzen (bijvoorbeeld gegevensverwerking, informatiedragers en datanetwerken), ook ten dele, zichn de firma CASO GmbH voorbehonden. Inhoudelijk en technische veranderingen voorbehonden.
54 Ingebruikname
In dit hoofdstuk krijgt u belangrijke informatie omtrent de ingebruikname van het apparaat. Neem de aanwijzingen in acheit om gevaren en beschadigingen te voorkomen.
54.1 Veiligheidsvoorschriften
- Verpakkingsmaterial mag nicht als speelgoed gebruikt worden. Er bestaat kans op verstikking.
54.2 Leveringsomvang en transportinspectie
De FW 2000 Black wordst standard met de volgende onderdelen geleverd: motorbehuizing
stopper
vultrechter
-
behuizing van de persschroef
-
persschenroef
mes 3
chijven (fijn, medium, grof)
xeerring
-
opzetakstuk voor worstbereiding
-
opzetstuk voor deeg met sjabloon
-
gebruiksaanwijzing
HINWEIS Tip
Controller de levering op volledigheid en op zichbare beschadigingen.
Waarschuw de expediteur, de verzekering en de leverancier bij een onvolledige levering of bij beschadiging als gevolg van gebrekkige verpakking of als gevolg van het transport.
54.3 Uitpakken
Bij het uitpakken van het apparaat gaat u als volgt te werk: Neem het apparaatuit de doos en verwijder het verpakkingsmaterial.
54.4 Verwijdersen van de verpakking
De verpakking beschermt het apparaat gegen transportschade. De verpakkingsmaterialen zijn uit gezocht vanuit milieuvriendelijk en verwijderingtechnische gezichtspunten en waarom recyclebaar. Het terugbrengen van de verpakking in de materiaalkringloop bespaart grondstoffen en verkleint de afvalhoop. Lever Niet meer benodigd verpakkingsmaterialiaal in bij een afvalbrengstation, dat zorgdraagt voor de recycling.

HINWEIS
Tip
Bewaar indien möglich het originele verpakkingsmaterial gedurende de garantieperiode, zodate u het apparaat indien nodig wee volgens de voorschriften kunt inpakken.
54.5 Eisen aan de plek van plaatsing
Voor een veilige en correcte werkig van de apparatuur, deplaats van installmentie moet:
- De machine moet op een vlakke en stabile ondergrund worden geplaatst.
- Gebruik het apparaat Niet buiten.
- Kies de montage zodate kinderen zich Niet maar het apparaat.
- Het apparaat is Niet bedoeld voor inbouw in een muur of kast.
- Het apparatus haelt voldoende luchtcirculatie nodig (minimale afstand 15 cm).
- Plaats het apparaat Niet in een hete, natte of zeer vochtige omgeving of in de buurt van brandbare materialen.
- De installmente en montage van dit apparaat in mobiele installations (bijv. schepen) können worden uitgevoerd door gespecialiserde bedrijven / als ze de voorwaarden te scheppen voor het veilig gebruik van deze apparatuur.
54.6 Elektrische aansluiting
Voor een veilig en feilloos gebruik van het apparaat要去en bij de elektrische aansluiting de volgende aanwijzingen in acht genomen worden:
- Controller voor het aansluiten van het apparaat de aansluitingsgegevens (spanning en freiquentie) op het typeplaatje met de gegevens van uw stroomnet. Deze gegevens要去en overeenkomen, zodate het apparaat Niet beschadigd kan raken. In geval van twijfel vraagt u een vakkundige elektricien.
- Bij gebruik van een verlengsnoer mag voor aansluiting van het apparaat op het stroomnet alleen een uitgerold verlengsnoer van maximaal 3 meter lenghte en een doorsnede van 1,5mm^2 gebruikt worden. Het gebruik van een stekker of stekkerdoos met meerde aansluitingen is vanwege het daarmee verbonden brandgevaar verboden.
- Vergewis u er van dat de voedingskabel onbeschadigd is en nicht onder de oven of over hete of scherpte oppervlakten gelegd is.
- Het stopcontact moet beschermd worden door een zekering van 16A stroomonderbreker.
- De elektrische verilgheit van het apparaat is alleen dan gegardeerd wanner het is aangesloten aan een reglementair geinstalleerd system met aardkabels en verilgheidschakelaars. Laat u in geval van twijfel de huisinstallatie controleren door een erkende elektricien.
- De fabrikant kan nicht aansprakelijk worden gesteld voor schaden, die door een gebrekkige of onderbroken aardingskabel veroorzaakt worden.
55 Opbouw en functie
In dit hoofdstuk krijgt u belangrijke aanwijzingen m.b.t. de opbouw en het functioneren van het apparaat.
55.1 Overzicht

1 Motorbehuizing
7 Behuizing van de persschroef
8 persschenroe
9 Mes
10 Schijf medium (5mm)
11 Schijf grof (8 mm)
13 Opzetstuk voor worstbereiding
12 Fixeerring (kartelmoer)
14 Opzetstuk voor deeg met sjabloon
15 schijf fijn (3mm)
HINWEIS
Tip
Bedien de gehaktmolen nicht als deutsche leeg is om möglichke gebruikssporen en verkleuring van het mes te voorkomen. Deze verkleuringen duidenECHter niet op een vermindering van de kwaliteit en hebben geen invloed op het resultaat.
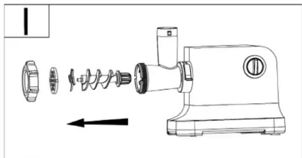
55.2 Montage
a) Plaats de motorbehuizing (1) op de tafel. De blokkeerhendel (3) aan de koppelingsopening (4)要去 zich in horizontale positie bevinden. Steek de behuizing van de perssschroef (7) in de koppelingsopening (4).
b) Schuif de blokkeerhendel (3)
haar beneden om vast te zetten.
c) Plaats de persschoef (8) met het dikke uiteinde eerst in de behuizing van de persschoef (7).
d) Zet het mes (9) op de perssschroef (8).
e) Zet de schijf (10, 11 of 15) op mes (9) en perssschroef (8)
f) Plaats de fixeerring (12) en draai met de hand vast.
g) Plaats de vultrechter (6) zoals weergegeven in de grafiek op de behuizing van de perssschroef (7). Dek de ventilationspleet aan de onderkant Niet af.








55.3 Typeplaatje
Het typeplaatje met de aansluit- en vermogensgeevens bevindt zich aan de achechterkant van het apparaat.
56 Bediening en gebruik
In dit hoofdstuk krijgt u belangrijke aanwijzingen m.b.t. de bediening van het apparaat. Neem de aanwijzingen in acht om gevaren en beschadigingen te voorkomen.
WARNING Waarschuwing
Het apparaat tijdens gebruik Niet uit het oog verliezen, zodat er bij bevaren snug ingegrepen kan worden.
HINWEIS Tip
Koel de perssschroef van de behuizing van de perssschroef (7) voor het gebruik van het apparaat in de koelkast of spoel hem af met koud water, dat maakt de verwerking gemakkelijker.
56.1 Voor het eerste gebruik
Reinig de machine, zie „Reiniging".
56.2 Gebruik van de gehaktmolen:
Snijd het vlees in stukken voor. Verwijder alle botten, pezen en kraakbeen. Gebruik geen bevroen vlees! Laat bevroen vlees hebela ontdooien! Doe het vlees in de vultrechter. Schuif het vlees voorzichtig met de stopper in de behuizing van de persschroef. Als u tartaar wilt make, maalt u het vlees twee maal met de medium schijf.
56.3 Worst make


h) Voor de worstbereiding hebt u het opzetstuk nodig (13). Plaats de persschoef (8) zoals normal met het dikke einde eerst in de behuizing van de persschoef (7). Zet mes (9) en schijf (10, 11 of 15) op de persschoef. Plaats dan het opzetstuk voor de worstbereiding (13) op mes (9) en schijf (10, 11 of 15). Draai de fixeerring (12) vast. Doe de al gemalen en gekruide vulling voor de worst in de vultrechter (6) en schuif de vulling voorzichtig met de stopper (5) in de behuizing van de persschoef (7). Week de huid van de worst minstens 10 minutes in water voordat u hem vult. Span de geweekte huid van de worst over het opzetstuk voor de worstbereiding (13) en gebruik het apparaat zoals normalaal. Als de worsthuid op het opzetstuk blijft kleven, dan maakt u deze een beetje vochtig met water.
56.4 Verwerking van deeg, bijv. spritsgebak
U hebt het opzetstuk voor deeg met sjabloon (14) nodig.
Plaats de perssschroef (8) zoals normal met het dikke einde eerst in de behuizing van de perssschroef (7).Zet mes (9) en schijf (10, 11 of 15) op de perssschroef.
i) Plaats dan het opzetstuk voor spritsgebak op mes en schijf. Draai de fixeerring (12) vast.
j) Schuif de sjabloon voor de verschillende spritsvarieties door het opzetstuk voor spritsgebak.

k) Plaats dan zoals normal de vultrechter (6) op de behuizing van de perssschroef (7) en gebruik de stopper (5) om het deeg in de behuizing van de perssschroef te schuiven.
57 Reiniging en onderhoud
In dit hoofdstuk krijgt u belangrijke informatatie m.b.t de reiniging en het onderhoud van het apparaat. Neem de aanwijzingen in acht om beschadigingen door verkeerde reiniging van het apparaat te voorkomen en een storingvrij gebruik te waarborgen.
57.1 Veiligheidsvoorschriften
Let op de volgende veiligheidsvoorschriften, voordat u met de reiniging van de machine beginnen:
Trek het netsnoer van het apparaat voor de reiniging, en wanner het Niet worden gebruikt,uit het stopcontact.
De motorbehuzing met kabel (1), de persschoef (8), de behuizing van de persschoef (7), de fixeerring (12) en de vultrechter (6)ogens Niet in de vaatwasser worden gewassen.
Het mes (9) is scherp. Ga er voorzichtig mee om.
57.2 Reiniging
Verwijder vlees- en deegresten uit de behuizing van de persschoef door er een stuk brood in te doen. Schakel het apparaat uit en trek de stekker eruit.
Verwijder de stopper (5) en vultrechter (6).
I) Draai de fixeerring (12) los en verwijder alle onderdelen uit de behuizing van de perssschroef (7).
m) Plaats den blokkerhendel (3) in horizontale stand en trek daarna de behuizing van de perssschroef (7)uit de koppelingsopening (4).
Was alle onderdelen die met levensmiddelen in aanraking zich gekomen met warm water en zoep af. Reinig deze onderdelen direct na het gebruik.


Spoel de onderdelen met heet water na en droog meteen af. U knot stopper (5), mes (9), schijven (10, 11, 15), het opzetstuk voor de worstbereiding (13) en het opzetstuk voor deeg met sjabloon (14) in de vaatwasser wassen. Vet mes en schijf in met een beetjeslaolie.
▲WARNING
Let op het mes is scherp. Gevaar voor lichamelijk letsel!
HINWEIS
58 Storingen verhelpen
In dit hoofdstuk krijgt u belangrijke informatie m.b.t. het lokaliseren van storingen en het verhelpen van storingen. Let u op de aanwijzingen om gevaren en beschadigingen te voorkomen.
58.1 Veiligheidsvoorschriften
AVORSICHT VOORZICTIG
Reparations aan elektronische apparaten mogen alleen door vakmensen worden uitgevoerd, die door de producent zich opgeleid.
Door verkeerd uitgevoerde reparations{kunnen grote gevaren voor de gebruiker en beschadigingen aan het apparaat ontstaan.
58.2 Storingen
| Probleem | Oplossing |
| De machine start nicht. | Verzeker u ervan dat de stekker goed in het stopcontact zit. Verzeker u ervan dat het apparaat correct in elkaar is gezet. |
| Het apparaat is geblokkeerd. | Draai de schakelaar op REV en los zo de blokkade op. Als dat Niet werkt trek dan de stekker uit het stopcontact en haal het apparaat uit elkaar om de blokkade te verwijderen. |
| Het apparaat stopt. | Het apparaat is oververhit. Trek de stekker uit het stopcontact en schakel het apparaat uit. Haal het apparaat uit elkaar en verwijder de producten. Laat het apparaat 60 minutes afkoelen. Neem contact op met de klantenservice als de oververhittingsbeveiliging vaak aanslaat. |
HINWEIS TIP
Wanner u met de boven genoemde stappen het probleem nicht kunt oplossen, richt u zich dan a.u.b. aan de klantenservice.
Reinig het apparaat voordat u het�ak klantenservice stuurt.
59 Afvoer van het oude apparaat
Oude elektrische en elektronische apparaten bevatten vaak nog waardvolle materialen. Ze bevatten darüber ook schadelijke stoffen, die voor hun functioneren en verilgheidoodzakelijk waren. In het huishoudelijk afval of bij verkeerde behandeling konnen deze stoffen de menselijk gezondheid en het milieu
schade aanbrengen. Zet uw oude apparaat waarom nooit bij het gewone huishoudelijk vuil.

HINWEIS Tip
Maak gebruik van de in uw woonplaats voorhanden zijnde inzamelplek voor teruggave en verwerking van oude elektrische en elektronische apparaten. Haal eventueel informatatie bij uw gemeentehuis, de vuilnisophaaldienst of bij uw winkelier.
Zorg ervoor dat uw oude apparaat tot het moment van transport op een kinderveilige plek worden bewaard.
60 Garantie
Voor dit product gegen wij beginnend op de koopdatum 24 maanden garantie voor gebreken die terug te voeren zijn op productie- of materiaalfouten. Onze garantie geldt voor Duitsland, Oostenrijk en Nederland. Neem voor alle andere landen a.u.b. contact met ons op.
Uw wettelijk aanspraken op waarborg volgens §437 ff. BGB (= Duitse Burgerlijk Wetboek) blijven hiervan onaangeroerd. De gebruikmaking van uw wettelijk rechten bij gebreken is voor u kosteloos. Niet in de garantie inbegrepen+zijn schaden, die ontstaan zichen door een ondeskundige behandeling of inzet, evenals gebreken, die de functie of de waarde van het apparaat slechts weinig beinvloeden. Verder zichn slijtageonderdelen, transportschaden, voor zover deze Niet door ons te verantwoorden zich, evenals schaden, die ontstaan zichen door Niet door ons uitgevoerde reparations, uitgesloten van de aanspraak op garantie.
Dit apparaat is geconstrueree voor het gebruik in de particuliere sfeer (huishoudelijk gebruik) en komt overeen met de te leveren prestaties. Een eventuele gebruik in de commerciele inzet valt alleen voor zover onder de garantie, als het in de omvang te
vergelijken is met de belasting van een particulier gebruik. Het is nicht bestemd voor een verdergaand, commercieel gebruik.
Bijterechte klachten zullen wij het gebrekkige apparaat maar once keuze repareren of omruilen voor een apparaat zicher gebreken. Open gebreken要去en binnen 14 dagena de levering aangegeven worden. Andere aanspraken zijn uitgesloten.
Neem voor het indienen van een aanspraak op garantie a.u.b. voor het terugzenden van het apparaat (altijd met bewijs van aankoop) contact met ons op. Onze contactgegevens ("garantiegever") vindt u aan het begin van deze bedieningshandleiding.
Aansluitgegevens 220 -240 V, 50-60 Hz
Afmetingen buitenkant (B x H x D) 370 x 310 (met deksel 355) x 180 mm
Netto gewicht 5,1 kg
Original bruksanvisning Köttkarn FW2000 black


Article-Nr.2872
SimpelGids