FW 2000 BEEF! - Fleischwolf CASO - Kostenlose Bedienungsanleitung
Finden Sie kostenlos die Bedienungsanleitung des Geräts FW 2000 BEEF! CASO als PDF.
Häufig gestellte Fragen - FW 2000 BEEF! CASO
Questions des utilisateurs sur FW 2000 BEEF! CASO
0 question sur cet appareil. Repondez a celles que vous connaissez ou posez la votre.
Poser une nouvelle question sur cet appareil
Laden Sie die Anleitung für Ihr Fleischwolf kostenlos im PDF-Format! Finden Sie Ihr Handbuch FW 2000 BEEF! - CASO und nehmen Sie Ihr elektronisches Gerät wieder in die Hand. Auf dieser Seite sind alle Dokumente veröffentlicht, die für die Verwendung Ihres Geräts notwendig sind. FW 2000 BEEF! von der Marke CASO.
BEDIENUNGSANLEITUNG FW 2000 BEEF! CASO
Original-Bedienungsanleitung Fleischwolf FW 2000 Black

Articlel-Nr.2872
(Garantiegeber)
CASO GmbH
Raiffeisenstraße 9
D-59757 Arnsberg
Tel.: +49 (0) 29 32 / 80 55 4 - 99
Fax: +49 (0) 29 32 / 80 55 4 - 77
eMail: Kundenservice@caso-design.de
Sie finden die aktuellste Version der Bedienungsanleitung auch auf unserer
Dokument-Nr.: 2872 19-02-2024
Druck- und Satzfehler vorbehalten. Bildabweichungen zur Originalware sind technisch bedingt möglich.
© 2024 CASO GmbH
1 Bedienungsanleitung 9
1.1 Allgemeines 9
1.2 Informationen zu dieser Anleitung 9
1.3 Warnhinweise 9
2 10
2.1 Bestimmungsgemäß Verwendung 10
2.2 Allgemeine Sicherheitschinweise 10
2.3 Verletzungsgefahr 13
2.4 Gefahr durch elektrischen Strom 13
3 Haftungsbeschränkung 14
4 Urheberschutz 14
5 Inbetriebnahme 15
5.1 Sicherheitshinweise 15
5.2 Lieferumfang und Transportinspektion 15
5.3 Auspacken 15
5.4 Entsorgung der Verpackung 15
5.5 Anforderungen an den Aufstellort 15
5.6 Elektrischer Anschluss 16
6 Aufbau und Funktion 16
6.1 Typenschild 16
6.2 Übersicht 17
6.3 Zusammenbau 18
7 Bedienung und Betrieb 18
7.1 Vor dem Erstgebrauch 19
7.2 Gebrauch des Fleischwolfes: 19
7.3 Herstellung von Wurst 19
7.4 Verarbeitung von Teig z.B. Spitzgebäck 20
8 Reinigung und Pflege 20
8.1 Sicherheitshinweise 20
8.2 Reinigung 21
9 Störungsbehebung 21
9.1 Sicherheitshinweise 21
9.2 Störungen 22
10 Entsorgung des Altgerätes 22
11 Garantie 22
12 Technische Daten 23
13 Operating Manual. 25
13.1 General 25
13.2 Information on this manual 25
13.3 Warning notices 25
14 Safety 26
14.1 Intended use 26
14.2 General Safety information 26
14.3 Danger of injury 28
14.4 Dangers due to electrical power 28
14.5 Limitation of liability 29
14.6 Copyright protection 29
15 Commissioning 29
15.1 Safety information 29
15.2 Delivery scope and transport inspection 29
15.3 Unpacking 30
15.4 Disposal of the packaging 30
15.5 Setup location requirements: 30
15.6 Electrical connection 30
16 Design and Function 31
16.1 Overview 31
16.2 Assembling 32
1 Bedienungsanleitung
1.1 Allgemeines
Lesen Sie die hier enthaltenen Informationen, damit Sie mit ihrem Gerät schnell vertraut werden und seine Funktionen in vollem Umfang nutzen konnen.
Ihr Fleischwolf FW 2000 Black dient Ihnen viel Jahre lang, wenn Sie ihn sachgerecht behandeln und pflegen. Wir wünschen Ihnen viel Freude beim Gebrauch.
1.2 Informationen zu dieser Anleitung
These Bedienungsanleitung ist Bestandteil des FW 2000 Black (nachfolgend als Gerät bezeichnet) und gibt Ihnen wichtige Hinweise für die Inbetriebnahme, die Sicherheit, den bestimmungsgemäßen Gebrauch und die Pflege des Gerätes.
Die Bedienungsanleitung muss ständig am Gerät verfügbar sein. Sie ist von jeder Person zulesen und anzuwenden, die mit der:
Inbetriebnahme,
Bedienung,
- Störungsbehebung und/oder
- Reinigung
des Gerätes beaufragt ist.
Bewahren Sie diese Bedienungsanleitung auf und geben Sie diese mit dem Gerät an Nachbesitzer weiter.
1.3 Warnhinweise
In der vorliegenden Bedienungsanleitung werden folgende Warnhinweise verwendet:
AGEFAHR
Ein Warnhinweis dieser Gefahrenstufe kennzeichnet eine drohende gefährliche Situation.
Falls die gefährliche Situation nicht vermieden wird, führt dies zum Tod oder zu schweren Verletzungen.
Die Anweisungen in thism Warnhinweis befolgen, um die Gefahr des Todes oder schwerer Verletzungen von Personen zu vermeiden.
WARNING
Ein Warnhinweis dieser Gefahrenstufe kennzeichnet eine mögliche gefährliche Situation.
Falls die gefährliche Situation nicht vermieden wird, kann dies zu schweren Verletzungen führen.
Die Anweisungen in thism Warnhinweis befolgen, um Verletzungen von Personen zu vermeiden.
AVORSICHT
Ein Warnhinweis dieser Gefahrenstufe kennzeichnet eine mögliche gefährliche Situation.
Falls die gefährliche Situation nicht vermieden wird, kann dies zu leichten oder gemäßigen Verletzungen führen.
Die Anweisungen in thism Warnhinweis befolgen, um Verletzungen von Personen zu vermeiden.
HINWEIS
Ein Hinweis kennzeichnet zusätzliche Informationen, die den Umgang mit der Maschine erleichtern.
2 Sicherheit
In thisem Kapitel erhalten Sie wichtige Sicherheitshinweise im Umgang mit dem Gerät. Dieses Gerät entspricht den vorgeschreibenben Sicherheitsbestimmungen. Ein unsachgemäßiger Gebrauch kann jeder zu Personen- und Sachschäden führen.
2.1 Bestimmungsgemäß Verwendung
Dieses Gerät ist nur für den Gebrauch im Haushalt in geschlossenen Räumen zum
Herstellen von Hackfleisch und Tartar,
Herstellen von Wurst,
- Verarbeitung von Teig z.B. für Spritzgebäck bestimmt. Eine andere oder darüber hinausgehende Benutzung gilt als nicht bestimmungsgemäß.
WARNING
Gefahr durch nicht bestimmungsgemäß Verwendung!
Von dem Gerät konnen bei nicht bestimmungsgemäßer Verwendung und/oder andersartiger Nutzung Gefahren ausgehen.
Das Gerä ausschließlich bestimmungsgemäß verwenden.
Die in dieser Bedienungsanleitung beschrieben Vorgehensweisen einhalten.
Ansprüche jeglicher Art wegen Schäden aus nicht bestimmungsgemäßer Verwendung sind ausgeschlossen. Das Risikoträgt allein der Betreiber.
2.2 Allgemeine Sicherheitshinweise
HINWEIS
Beachten Sie für einen sicheren Umgang mit dem Gerät die folgenden allgemeinen Sicherheitshinweise: Lesen Sie diese Hinweise sorgfältig und schauen Sie sich/genau die
HINWEIS
Illustrationen in dieser Anleitung an, bevor Sie das Gerät benutzen.
Kontrollieren Sie das Gerät vor der Verwendung auf äußere sichbare Schäden. Nehmen Sie ein beschädigtes Gerät nicht in Betrieb.
Bei Beschädigung der Anschlussleitung oder des Steckers, müssen diese durch den Hersteller oder dessen Servicebeauftragten ersetzt werden, um Gefahren vorzubeugen.
Dieses Gerät kann von Personen mit reduzierten physischen, sensorischen und mentalen Fähigkeiten oder Mangel an Erfahrung und/oder Wissen genutzt werden, wenn sie beaufsichtig werden oder bezüglich des sicheren Gebrauchs des Gerätes unterwiesen wurden und die darauf resultierenden Gefahren verstanden haben.
Dieses Gerätarf nicht von Kindernbenutzterwen. Gerät und Stromkabel sind von Kindern fern zu halten.
▶ Kinder dürfen nicht mit dem Gerät spielten.
Reinigungs- und Wartungsarbeiten)dürfen nicht von Kindern durchgeführt werden.
Das Gerät während des Betriebes nicht unbeaufsichtigt halten.
Eine Reparatur des Gerätes darf nur von einem vom Hersteller autorisierten Kundendienst vorgenommen werden, sonst besteht bei nachfolgenden Schäden kein Garantieanspruch mehr. Durch unsachgemäße Reparaturen konnen erhebliche Gefahren für den Benutzer entstehen.
Defekte Bauteile dürfen nur gegen Original-Ersatzteile ausgetauscht werden. Nur bei diesen Teilen ist gewährleistet, dass sie die Sicherheitsanforderungen erfüllen werden.
HINWEIS
Verwenden Sie ausschließlich das mitgelieferte Zubehör. Die Garantie des Gerätes verfüllt, wenn Sie Zubehör anderer Hersteller verwenden.
Reinigen Sie vor der ersten Benutzung sorgfältig alle Bauteile, die mit Lebensmitteln in Kontakt kommt konnen.
- Stecken Sie den Netzstecker(sofort nach Gebrauch aus.
- Verarbeiten Sie keine Knochen, Nüsse oder andere harte Zutaten.
Verarbeiten Sie Fleischstücke ohne Sehnen, Knochen und Fett.
- Verwenden Sie das Gerät kontinuierlich maximal für 5 Minuten. Lassen Sie dann das Gerät für 10 Minuten abkühlen.
Drehen Sie den Schalter auf REV, wenn das Gerät blockiert ist. Die Schnecke dreht sich jetzt rückwärts, das Fleisch wird gelockert, um die Blockade zu losen.
Das Gerät nicht in Wasser oder andere Flüssigkeiten tauchen und nicht in die Spülmaschine geben.
Überladen Sie das Gerät nicht und betreiben Sie es nicht im Leerlauf.
Vergewissern Sie sich, dass alle Teile richtig montiert sind und fest sitzen.
- Verwenden Sie das Gerät nicht für andere Zwecke außer haushaltsübliche Zwecke.
Das Gerät ist nicht dazu bestimmt mit einer externen Zeitschaltuhr oder einer separaten Fernsteuerung benutzt zu werden.
2.3 Verletzungsgefahr
AWARNING
Bei unvorsichtiger Verwendung des Gerätes besteht Verletzungsgefahr
Beachten Sie die folgenden Sicherheitshinweise, um Verletzungen zu vermeiden:
Greifen Sie niemals in das Schneckengehäuse, benutzen Sie immer den Stopfer.
Benutzen Sie niemals ihre Finger oder ein Hilfsmittel um Zutaten tiefer in das Schneckengehäuse zu schieben, wenn das Gerät an ist. Nutzen Sie ausschließlich den Stopfer zu diesen Zweck.
Ziehen Sie den Netzstecker und warten Sie bis alle sich bewegenden Bauteile zum Stillstand gekommen sind, bevor Sie diese entfernen.
Ziehen Sie den Netzstecker wenn das Gerät nicht beaufsichtigt ist, vor jeder Reinigung und bevor Sie Zubehör oder Bautteile entfernen oder einbauen.
Halten Sie niemals Ihr Gesicht über das Schneckengehäuse mit Einfüllschale, wenn der Motor lauft. Sollten Sie bei der Vorbereitung der Zutaten Knochen oder andere harte Bestandteile übersehen haben, konnten diese genauso wie Fleischstücke herausgeschleudert werden. Achtung Verletzungsgefahr!
2.4 Gefahr durch elektrischen Strom
▲GEFAHR
Lebensgefahr durch elektrischen Strom!
Beim Kontakt mit unter Spannung stehenden Leitungen oder Bauteilen besteht Lebensgefahr!
Beachten Sie die folgenden Sicherheitshinweise, um eine Gefährung durch elektrischen Strom zu vermeiden:
AGEFAHR
Das Gerätarf nicht in Betrieb genommen werden, wenn die Anschlussleitung oder der Stecker beschädigt sind, wenn es nicht ordnungsgemäß Funktioniert oder fallen gelassen oder beschädigt worden ist. Bei Beschädigung der Anschlussleitung oder des Steckers, müssen diese durch den Hersteller oder dessen Servicebeauftragten ersetzt werden, um Gefahren vorzubeugen.
Offnen Sie auf keinen Fall das Gehäuse des Gerätes. Werden spannungsführende Anschlüsse berührt und der elektrische und Mechanische Aufbau verändert, besteht Stromschlaggefahr. Darüber hinaus konnen Funktionstörungen am Gerät auftreten.
3 Haftungsbeschränkung
Alle in dieser Anleitung enthaltenen technischen Informationen, Daten und Hinweise für die Installation, Betrieb und Pflege entsprechen dem letzten Stand bei Drucklegung und erfolgen unter Berücksichtigung unserer bisherigen Erfahrungen und Erkennnisse nach bestem Wissen. Aus den Angaben, Abbildungen und Beschreibungen in dieser Anleitung können keine Ansprüche hergeleitet werden. Der Hersteller übernimmt keine Haftung für Schäden aufgrund: Nichtbeachtung der Anleitung
- Nicht bestimmungsgemäßer Verwendung
- Unsachgemäßer Reparaturen
- Verwendung nicht zugelassener Ersatzteile
- Technischer Veränderungen, Modifikationen des Gerätes
Modifikationen des Gerätes werden nicht empfohlen und sind nicht durch die Garantie gedeckt. Übersetzungen werden nach bestem Wissen durchgeführt. Wir übernehmen keine Haftung für Übersetzungsfehler, auch dann nicht, wenn die Übersetzung von uns oder in unserem Auftrag erfolgte. Verbindlich bleibt allein der ursprüngliche deutsche Text.
4 Urheberschutz
These Dokumentation ist urheberrechtlich geschützt. Alle Rechte, auch die der fotomechanischen Wiedergabe, der Vervielfaltigung und der Verbreitung mittels besonderer Verfahren (zum Beispiel Datenverarbeitung, Datenträger und Datennetze), auch teilweise, besteht sich die CASO GmbH vor.
Inhaltliche und technische Änderungen vorbehalten.
5 Inbetriebnahme
In thisem Kapitel erhalten Sie wichtige Hinweise zur Inbetriebnahme des Gerätes. Beachten Sie die Hinweise, um Gefahren und Beschädigungen zu vermeiden.
5.1 Sicherheitshinweise
WARNING
Verpackungsmaterialien dürfen nicht zum Spielena verwendet werden. Es besteht Erstickungsgefahr.
5.2 Lieferumfang und Transportinspektion
Der Fleischwolf FW 2000 Black wird standardmäßig mit folgenden Komponenten geliefert:
- Stopfer
Einfüllschale
- Motorgehause
Schneckengehause
Schnecke
-
Messer
-
3 Lochscheiben (fein, medium, grob) - Fixierungsring
-
Aufsatz zur Wurstherstellung
-
Aufsatz für Teig mit Schablone - Bedienungsanleitung
HINWEIS
Prufen Sie die Lieferung auf Vollständigkeit und auf sightbare Schäden.
Melden Sie eine unvollständige Lieferung oder Schäden infolge mangelhafter Verpackung oder durch Transport sofort dem Spediteur, der Versicherung und dem Lieferanten.
5.3 Auspacken
Zum Auspacken des Gerätes entnehmer Sie das Gerät aus dem Karton und entfernen Sie das Verpackungsmaterial.
5.4 Entsorgung der Verpackung
Die Verpackung schützt das Gerät vor Transportschäden. Die Verpackungsmaterialien sind nach umweltverträglichen und entsorgungstechnischen Gesichtspunkten ausgewählt und deshalb recybar. Die Rückführung der Verpackung in den Materialkreislauf spart Rohstoffe und verringgert das Abfallaufkommen. Entsorgen Sie nicht mehr benöttigte
Verpackungsmaterialien an den Sammelstellen für das Verwertungssystem »Grüner Punkt«.

HINWEIS
Heben Sie wenn möglich die Originalverpackung während der Garantiezeit des Gerätes auf, um das Gerät im Garantiefall wieder ordnungsgemäß verpacken zu können.
5.5 Anforderungen an den Aufstellort
Für einen sicheren und fehlerfreien Betrieb des Gerätes muss der Aufstellort folgende Voraussetzungen erfüllen:
-
Das Gerät muss auf einer ebenen und stabilen Oberfläche aufgestellt werden.
Wahlen Sie den Aufstellort so, dass Kinder nicht an das Gerät gelangen konnen. -
Das Gerät ist nicht für den Einbau in einer Wand oder einem Einbauschrank vorgesehen.
- Verwenden Sie das Gerät nicht im Freien.
- Das Gerät benötigt eine ausreichende Luftzirkulation (Mindestabstand 15 cm).
- Stellen Sie das Gerät nicht in einer halten, nassen oder sehr feuchten Umgebung oder in der Höhe von brennbarem Material auf.
- Der Einbau und die Montage这点 Gerätes an nichtstationären Aufstellungsorten (z. B. Schiffen) dürfen nur von Fachbetrieben/Fachleuten durchgeführt werden, wenn sie die Voraussetzungen für den Sicherheitsgerechten Gebrauch这点 Gerätes sicherstellen.
5.6 Elektrischer Anschluss
Für einen sicheren und fehlerfreien Betrieb des Gerätes sind beim elektrischen Anschluss folgende Hinweise zu beachten:
- Vergleichen Sie vor dem Anschlieben des Gerätes die Anschlussdaten (Spannung und Frequenz) auf dem Typenschild mit denen Ihres Elektronetzes. Diese Daten müssen übereinstimmen, damit keine Schäden am Gerät auftreten. Im Zweifelsfall Fragen Sie ihre Elektro-Fachkraft.
- Der Anschluss des Gerätes an das Elektronetz darf maximal über ein 3 Meter langes, abgewickeltes Veränderungskabel mit einem Querschnitt von 1.5mm^2 erfolgen. Die Verwendung von Mehrfachsteckern oder Steckdosenleisten ist wegen der damit verbundenen Brandgefahr verboten.
- Vergewissern Sie sich, dass das Stromkabel unbeschädigt ist und nicht unter dem Gerät oder überHEYe oder scharfkantige Flachen verlegt wird.
Die Steckdose muss über einen 16A-Sicherungsschutzschalter abgesichert sein.
Die elektrische Sicherheit des Gerätes ist nur dann gewährleistet, wenn es an ein vorschriftsmäßig installiertes Schutzleitersystem angeschlossen wird. Lassen Sie im Zweifelsfall die Hausinstallation durch eine Elektro-Fachkraft überprüfen. Der Hersteller kann nicht verantwortlich gemacht werden für Schäden, die durch einen fehlenden oder unterbrochenen Schutzleiter verursacht werden.
6 Aufbau und Funktion
In thisem Kapitel erhalten Sie wichtige Hinweise zum Aufbau und zur Funktion des Gerätes.
6.1 Typenschild
Das Typenschild mit den Anschluss- und Leistungsdaten befindet sich an der Unterseite des Gerätes.
6.2 Übersicht

1 Motor-Gehäuse 2 Schalter (REV, OFF, 1, 2) 3 Arretierungs-Hebel
4Kupplungs-Öffnung 5 Stopfer 6
7 Schneckengehause 8 Schnecke 9
10 Lochscheibe medium (5mm) 11 Lochscheibe grob (8 mm)
12 Fixierungsring/Überwurfmutter 13 Aufsatz zur Wurstherstellung
14 Aufsatz für Teig mit Schablone 15 Lochscheibe fein (3 mm)
HINWEIS
- Bitte betreiben Sie den Fleischwolf nicht im leeren Zustand, um mögliche Gebrauchsspuren und Verfährungen am Messer zu verhindern. Diese Verfährungen stellen jeder keine Qualitätsminderung dar und haben keinen Einfluss auf das Ergebnis.
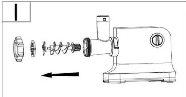
6.3Zusammenbau
a) Stellen Sie das Motor-Gehäuse (1) auf den Tisch. Der Arretierungs-Hebel (3) an der Kupplungs-Öffnung (4) muss sichiben in waagerechter Position befinden. Stecken Sie das Schneckengehäuse (7) in die Kupplungs-Öffnung (4).
b) Schieber den Sie den Arretierungs-Hebel (3) zum Befestigen nach unten.
c) Platzieren Sie die Schnecke (8) mit dem dickeren Ende zuerst im Schneckengehäuse (7).
d) Setzen Sie das Messer (9) auf die Schnecke(8).
e) Setzen Sie die Lochscheibe(10, 11 oder 15) auf Messer (9) und Schnecke (8)
f) Setzen Sie den Fixierungsring (12) auf und drehen Sie diesen mit der Hand fest.
g) Platzieren Sie die Einfüllschale (6) wie in der Grafik zu sehen auf dem Schneckengehäuse (7).
Decken Sie die Luftungsschitze am Boden nicht ab.
7 Bedienung und Betrieb
In thisem Kapitel erhalten Sie wichtige Hinweise zur Bedienung des Gerätes. Beachten Sie die Hinweise, um Gefahren und Beschädigungen zu vermeiden.
WARNING
Das Gerät während des Betriebes nicht unbeaufsichtigt setzen, um bei Gefahr schnell eingreifen zu können.
HINWEIS
Tip
▶ Kühlen Sie das Schneckengehäge (7) vor der Benutzung des Geräts im Kühlschrank oder spülen Sie es mit kaltem Wasser durch, dies erleichtert die Verarbeitung.
7.1 Vor dem Erstgebrauch
Reinigen Sie das Gerät, siehe „Reinigung".
7.2 Gebrauch des Fleischwolfes:
Schneiden Sie das Fleisch in Stücke vor. Entfern den Sie alle Knochen, Sehnen und Knorpel. Benutzen Sie kein gefrorenes Fleisch! Lassen Sie gefrorenes Fleisch vollständig auftauen! Geben Sie das Fleisch in die Einfüllschale. Schieben Sie das Fleisch vorsichtig mit dem Stopfer in das Schneckengehäuse. Wenn Sie Tartar herstellen wollen, wolfen Sie das Fleisch 2 mal unter Einsatz der medium Lochscheibe durch.
7.3 Herstellung von Wurst

h

h) Sie benötigen den Aufsatz zur Wurstherstellung (13). Platzieren Sie die Schnecke (8) wie gewohnt mit dem dickeren Ende zuerst in das Schneckengehäuse (7). Setzen Sie Messer (9) und Lochscheibe (10, 11 oder 15) auf die Schnecke. Platzieren Sie dann den Aufsatz für die Wurstherstellung (13) auf Messer (9) und Lochscheibe (10, 11 oder 15). Drehen Sie den Fixierungsring (12) fest.
Geben Sie ihre bereits gewolfte und gewürzte Fällung für die Wurst in die Einfüllschale (6) und schieren die Fällung vorsichtig mit dem Stopfer (5) in das Schneckengehäuse (7).
Weichen Sie die Wursthaut mindestens 10 Minuten in Wasser ein, bevor Sie diese befüllen. Spannen Sie die eingeweichte Wursthaut über den Aufsatz für die Wurstherstellung (13) und betreiben Sie das Gerät wie gewohnt. Sollte die Wursthaut am Aufsatz festkleben, dann feuchten Sie diesen mit Wasser etwas an.
7.4 Verarbeitung von Teig z.B. Spitzgebäck
Sie benötigden den Aufsatz für Teig mit Schablone (14).
Platzieren Sie die Schnecke (8) wie gewohnt mit dem dickeren Ende zuerst in das Schneckengehäuse (7). Setzen Sie Messer (9) und Lochscheibe (10, 11 oder 15) auf die Schnecke.
i) Platzieren Sie dann den Aufsatz für das Spritzgebäck auf Messer und Lochscheibe. Drehen Sie den Fixierungsring (12) fest.
j) Schieben Sie die Schablone für die unterschiedlichen Spritzgebäck-Variationen durch den Aufsatz für das Spritzgebäck.
k) Platzien Sie dann wie gewohnt die Einfüllschale (6) auf dem Schneckenengehause (7) und nutzen Sie den Stopfer (5) um den Teig in das Schneckenengehause zu schieren.



8 Reinigung und Pflege
In thisem Kapitel erhalten Sie wichtige Hinweise zur Reinigung und Pflege des Gerätes. Beachten Sie die Hinweise, um Beschädigungen durch falsche Reinigung des Gerätes zu vermeiden und den störungsfreien Betrieb sicherzustellen.
8.1 Sicherheitshinweise
A VORSICHT
Beachten Sie die folgenden Sicherheitshinweise, bevor Sie mit der Reinigung des Gerätes beginnen:
.Ziehen Sie den Netzstecker des Gerätes vor der Reinigung, und wenn es nicht in Gebrauch ist, aus der Steckdose.
Das Motorgehäuse mit Kabel (1), die Schnecke (8), das Schneckengehäuse (7), der Fixierungsring (12) und die Einfüllschale (6) * dürfen nicht in der Spülmaschine gereinigt werden.
Das Messer (9) ist scharf. Gehen Sie vorsichtig damit um.
8.2 Reinigung
Entfernen Sie Fleisch- und Teigreste aus dem Schneckengehäuse, indem Sie ein Stück Brot verarbeiten. Schalten Sie das Gerät aus undziehen Sie den Netzstecker.
Entfernen Sie Stopfer (5) und Einflüllschale (6).
I) Losen Sie den Fixierungs-Ring (12) und entfernten Sie alle Bauteile aus dem Schneckenengehause (7).
m) Stellen Sie den Arretierungs-Hebel (3) in die waagerechte Position undziehen Sie dann das Schneckengehause (7) aus der Kupplungs-Öffnung (4).
Waschen Sie alle Bauteile, die mit Lebensmitteln in Kontakt gekommen sind, mit


heilem Seifenwasser. Reinigen Sie diese Bauteile direkt nach Gebrauch. Spulen Sie die Bauteile mit heilem Wasser ab und trocken Sie diese umgehend ab. Sie konnen Stopfer (5), Messer (9), die Lochscheiben (10, 11, 15), den Aufsatz zur Wurstherstellung (13) sowie den Aufsatz für Teig mit Schablone (14) in die Spulmaschine geben.
Fetten Sie Messer und Lochscheibe mit etwas Speiseöl ein.
WARNING
Achtung das Messer ist scharf. Verletzungsgefahr!
HINWEIS
- Achten Sie darauf auf dass diese kleinen Bauteile in der Spülmaschine nicht verloren gehen.
9 Störungsbehebung
In thisem Kapitel erhalten Sie wichtige Hinweise zur Störungslokalisierung und Störungsbehebung. Beachten Sie die Hinweise, um Gefahren und Beschädigungen zu vermeiden.
9.1 Sicherheitshinweise
AVORSICHT
Reparaturen an Elektrogeräten)dürfen nur von Fachleuten durchgeführt werden, die vom Hersteller geschult sind.
Durch unsachgemäße Reparaturen konnen erhebliche Gefahren für den Benutzer und Schaden am Gerät entstehen.
9.2 Störungen
| Problem | Lösung |
| Das Gerät startet nicht. | Vergewissern Sie sich, dass der Stecker richtig in der Steckdose sitzt. Vergewissern Sie sich, dass das Gerät korrekt zusammengebaut ist. |
| Etwas blockiert das Gerät. | Drehen Sie den Schalter auf REV und losen Sie so die Blockade. Sollte dies nicht ausreichen soziehen Sie den Netzstecker, schalten das Gerät aus und bauen Sie das Gerät auseinander, um die Blockade zu entfernen. |
| Das Gerät stoppt. | Das Gerät ist überhützt. Ziehen Sie den Netzstecker und schalten Sie das Gerät aus. Bauen Sie das Gerät auseinander und entfernen Sie die Zutaten aus dem Gerät. Lassen Sie das Gerät für 60 Minuten abkühlen. Kontaktieren Sie den Kundendienst, wenn der Überhitzungsschutz*häufig ausgelöst wird. |
HINWEIS
- Wenn Sie mit den oben genommen Schritten das Problem nicht losen konnen, wenden Sie sichitte an den Kundendienst.
Reinigen Sie das Gerät bevor Sie es an den Kundendienst senden.
10 Entsorgung des Altgerätes
Elektrische und elektronische Altgeräte enthalten vielfach noch wertvolle Materialien. Sie enthalten aber auch schädliche Stoffe, die für ihre Funktion und Sicherheit notwendig waren. Im Restmüll oder bei falscher Behandlung können diese der menschlichen Gesundheit und der Umwelt schaden.
Geben Sie Ihr Altgerät deshalb auf keinen Fall in den Restmüll.

HINWEIS
▶ Nutzen Sie die von Ihrem Wohnort eingerichtete Sammelstelle zur Rückgabe und Verwertung elektrischer und elektronischer Altgeräte. Informieren Sie sich gegebenenfalls bei Ihrem Rathaus, Ihrer Müllabfuhr oder bei Ihrem Handler.
Sorgen Sie damit, dass Ihr Altgerät bis zum Abtransport kindersicher aufbewahrt wird.
11 Garantie
Für diesen Produkt übernehmen wir beginnend vom Verkaufsdatum 24 Monate Garantie für Mängel, die auf Fertigungs- oder Werkstofffehler zurückzuführen sind. Unsere Garantie gilt für Deutschland, Österreich und die Niederlande. Für alle anderen Länder kontaktieren Sie unsitte.
Ohne gesetzlichen Gewährleistungsansprüche nach §437 ff. BGB bleiben hiervon unberührt. Die Inanspruchnahme ihrer gesetzlichen Mängelrechte ist für Sie unentgeltlich. In der Garantie nicht enthalten sind Schäden, die durch unsachgemäß Behandlung oder Einsatz entwickeln sind, sowie Mängel, welche die Funktion oder den Wert des Gerätes erfasst.
nur gingfugig beeinflussen. Weitergehend sind Verschleiesteile, Transportschaden, soweit wir dies nicht zu verantworten haben, sowie Schaden, die durch nicht von uns durchgeführte Reparaturen entstanden sind, vom Garantieanspruch ausgeschlossen.
Dieses Gerät ist für den Gebrauch im privaten Bereich (Haushaltseinsatz) konstruiert und leistungsmäßig ausgelegt. Eine etwaige Nutzung im gewerblichen Einsatz fällt nur soweit unter die Garantie, wie es sich im Umfang mit der Beanspruchung einer privaten Nutzung vergleichen{lasst. Es ist nicht für den weitergehenden, gewerblichen Gebrauch bestimmt.
Bei berechtigten Reklamationen werden wir das mangelhafte Gerät nach unserer Wahl reparieren oder gegen ein mängelfreies Gerät austauschen. Offene Mängel sind innerhalb von 14 Tagen nach Lieferung anzuzeigen. Weitere Ansprüche sind ausgeschlossen.
Zur Geltendmachung eines Garantieanspruches setzen Sie sichitte vor einer Rücksendung des Gerätes (immer mit Kaufbeleg!) mit uns in Verbindung. Undere Kontaktdaten ("Garantiegeber") finden Sie am Beginn dieser Bedienungsanleitung.
12 Technische Daten
| Gerät FW 2000 Black | |
| Articlel-Nr. 2872 | |
| Anschlussdaten 220 -240 V, 50-60 Hz | |
| Leistungsaufnahme Nominal 800 W, max. 2000 W (locked) | |
| Außenabmessungen (B/H/T) 370 x 310 (mit Deckel 355) x 180 mm | |
| Nettogewicht 5,1 kg | |
WARNUNG Waarschuwing
AVORSICHT VOORZICHTIG
Let erop dat alles keine anderenderden nicht zoek raken in de
vaatwasser.
EinfachAnleitung