X69453BVO - Afzuigkap AEG-ELECTROLUX - Gratis gebruiksaanwijzing en handleiding
Vind de handleiding van het apparaat gratis X69453BVO AEG-ELECTROLUX in PDF-formaat.
Veelgestelde vragen - X69453BVO AEG-ELECTROLUX
Gebruikersvragen over X69453BVO AEG-ELECTROLUX
0 vraag over dit apparaat. Beantwoord die u kent of stel uw eigen vraag.
Stel een nieuwe vraag over dit apparaat
Download de handleiding voor uw Afzuigkap in PDF-formaat gratis! Vind uw handleiding X69453BVO - AEG-ELECTROLUX en neem uw elektronisch apparaat weer in handen. Op deze pagina staan alle documenten die nodig zijn voor het gebruik van uw apparaat. X69453BVO van het merk AEG-ELECTROLUX.
GEBRUIKSAANWIJZING X69453BVO AEG-ELECTROLUX
Bedankt dat u voor dit AEG product heeft gekozen. Dit apparaat is ontworpen om vele jaren uitstekend te presteren, met innovatieve technologieën die het leven gemakkelijker helpen make - functies die gewone apparaten wellicht nicht hebben. Neem eenaar minuten de tijd om het door te lezen zodate u er optimaal van kunt profiteren.
ACCESSIONS EN VERBRUKSARTIKELEN
In de AEG webshop vindt u alles wat u nodig heeft om al uw apparaten van AEG moot te houden en perfect te laten functioneren. Ook vindt u hier een groot+aantal accessoires die+zijn ontworpen en gebouwd volgens de hoge kwaliteitsnormen die u verwacht, van specialkookgereit tot bestekmandjes en van flessenhoulders tot waszakken...

Visit the webshop at: www.aeg-electrolux.com/shop
NL - ADVIEZEN EN SUGGESTIES - Deze gebruiksaanwijzig geldt voor verschilnde uitvoeringen van het apparaat. Het is möglich dat er een aantal kenmerken worden beschreiben die Niet van toe-passing+zijn op uw apparaat. De fabrikant aanvaardt geen enkele aansprakelijkheid voor schade die voortkomt uit onjuiste of net overeenkomstig de regels der kunst uitgevoerde installations. De minimale veiligheidsafstandussen de kookplaat en de wasemkap bedraagt 650 mm. Controller of de netspanning correspondereert met de spanning die aangegeven is op het plaatje aan de binnenkant van de wasemkap. Voor apparaten van klassle I dient u zich ervan te verzekeren dat het elektriciteitsnet in uw huis over een goede aarding beschikt. Verbind de wasemkap met de luchtuitlaat door middel van een leiding met een diameter van 120~mm of groter. De leding moet een zo kort maybe route afleg-gen. Sluit de wasemkap net aan op afvoerijpen van rook die geprodueerd is door verbranding (verwarmingsketels, open haarden etc.). Als er in het vertrek zowel de wasemkap als apparaten die Niet op elektriciteit wer-ken (bijvoorbeeld gasapparaten) worden gezrukt, moet ervoor worden gezorgd dat het vertrek voldoende geventileerd wordt. Indien de keulen geen gat in de buiten-muur heeft om de aanvoer van schone lucht te garanderen, dien dit gemaakt te worden. De wasemkap is uitsluitend ontworpen voor huishoudelijk gebruik, voor het elimine-ren van kookgeuren. Gebruik de kap nooit op oneigenlijke wijze. Laat geen hoog brandende branders onbedekt onder de wasemkap toenwijl deze in werkking is. Regel de vlammen altijd zo dat ze Niet langs de pannen omhoogkomen. Controller frituurpannen tijdens het gebruik: de oververhitte olie zou vlam konnen vatten. Er mag Niet onder de afzugkap geflambeerd worden; brandevaar Dit apparaat mag Niet worden gezrukt door personen (inclusief kinderen) met be-perkte psychische, sensorische en geestelijkve vermogens, of door personen zonder ervaring en kennis, tenzig ze onder toezicht staan of worden geinstrueerd over het gebruik van het apparaat door Personen die verantwoordelijk zijn voor hun veilig-heid. Kinderen要去en worden gecontroleerd om er zeker van teijken dat ze Niet met het apparaat spelen. Alvorens onderhoudswerkzaamheden uit te voeren,要去 de wasemkap uitgeschaa-keld worden door stekker uit het stopcontact te halen of de hoofdschakelaar om te zetten. Voer het onderhoud van de filters altijd tjidig en nauwgezet uit,volgens de aanbevo-len intervallen (Brandgevaar), Vetfilters Z De filters要去en eens in de 2 maanden of, bij bijzonder intensief gebruik, vakergereinigd worden, en+kunnen ook in de vaatwasmachine worden gewassen - Geurfilter W De filters+kenneniet gewassen en Niet geregenereerd worden en dieren bij gebruik van de kap tenminste eens in de 4 maanden of, bij bijzonder intensief gebruik, vaker te worden verrangen. Om de oppervlakken van de kap schoon te makes is het voldoende een vochtige doek en een neutraal reinigingsmiddel te gebruiken. Het symbool op het product of op de verpakking wist erop dat dit product nicht als huishoudafval mag worden behandeld. Het moet echter maar een plaat worden gebracht waar elektrische en elektronische apparatuur wordt gerecycled. Als u ervoor zorgt dat dit product op de correcte manier wordt verwijdert, voorkomt u maybe voor mens en milieu negatieve gevolgen die zich zonden+kullen voordoen in geval van verkeerde afvalbehandeling. Voormeer details in verband met het recylen van dit product, neemt u het best contact op met de gemeentelijkke instanties, het bedrijf of de dienst belast met de verwijdering van huishoudafval of de winkkel waar u het product hebt gekocht.
Sluit de wasemkap aan op de netspanning met een tweeolige schakelaar ertussen met een opening tussen de contacten van tenminste 3 mm. Let op: verwijder de (witte en doorzichtig) beschermfolie alvorens de afzugkap te installereren.
EIGENSCHAPPEN
Buitenafmetingen

Onderdelen
Ref. Productonderdelen
1 1 Wasemkap compleet met: Bedieningen, Licht, Ventilatorgroep, Filters
81 Richtingrooster luchtuitlaat
91 Reductieflens 150-120 mm
10 1 Toom met Klep 150
16 1 Filterdeksen
1 Gebruiksaanwijzing

INSTALLATIE

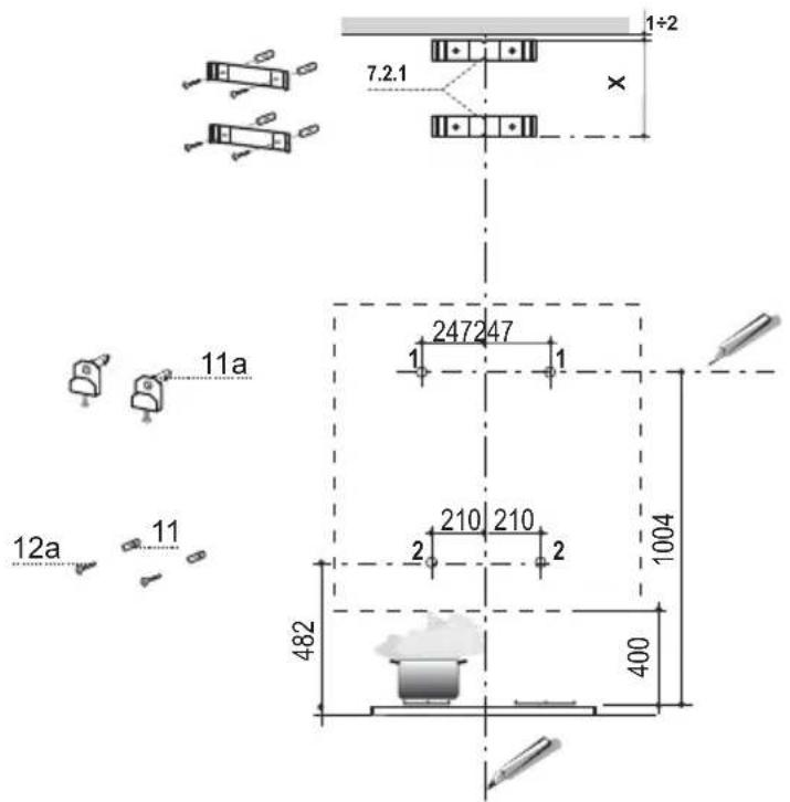
Boren in de wand en bevestigen van de beugels
Token op de wand:
- Een verticale lijn tot het plafond of tot de bovenste grens in het midden van de zone waar de afzuigkap moet worden gemonteerd;
- Een horizontally liin op min, 1004 mm afstand van het kookylak.
- Teken een punt (1) op de horizontally lijn op 247 mm rechts van de verticale referentielijn.
Herhaal deze handeling aan de andere kant en controllerer de uitlijing. - Teken, zoals aangegeven, een referentiepunt (2) op 210 mm afstand van de verticale referentielijk en 482 mm boven het kookylak.
Herhaal deze handeling aan de andere kant en controllerer de uitlijing.
Boor gaten van 12mm op deplaats van de getekende punten (1).
Boor qaten van 8mm op de plaats van de getekende punten (2). - Plaats de pluggen met de beugel 11a in de gaten (1) en draai ze aan.
- Plaats de plug 11 in de gaten (2).
Voor de installment met decoratie schouw: (optie)
- Plaats de beugel 7.2.1 op 1-2 mm afstand van het plafond of van de bovenste grens, zoals aangegeven en liin er het midden (inkepingen) van uit op de verticale referentielijn.
Kruis het midden van de gaten van de beugel aan. - Plaats de beugel 7.2.1 X mm onder de eerste beugel (X = hoogte standardaard bijgeleverde bovenste schouw), Zoals aangegeven, en lijn er het midden (inkepingen) van uit op de verticale referentielijn.
Kuis het midden van de gaten van de beugel aan.
Boor gaten van 8mm op de plaats van de aangekruiste punten. - Plaats de pluggen 11 in de gaten.
- Bevestig de beugels met de bijeleverde schroeven 12a (4,2 x 44,4).
MONTAGE VAN DE AFZUIGKAP
- Open het bovenste afzuigpaneel en vergrendel het aan de linkerzijde aan de afzuigkap met de stang, zodate hij Niet zichd gaat.
- Ontgrendel het onderste afzuigpaneel door de bevestigingspen aan de linkerkant te verwijderen en open het.
- Verwijder de vetfilters met behulp van de handgrepen.
- Stel de twee schroeven Vr van de beugels 11a op het begin van de aanslag.
Haak de afzuiqkap aan de 2 beugels 11a. - Draai vanuit de binnenkant van de afzuigkap aan de schroeven Vr om de behuizing van de afzuigkap uit te liinen.
Draai de veiligheidsschroeven 11 aan. - Sluit de afzuiqpanelen weeR.

LUCHTUITLAAT AFZUIGVERSIE
Bij installmentie in afzuigversie, moet u de wasemkap met de uitlaatleiding verbinden door middel van een starre of buigzame leiding van 150 of 120~mm ,narr keuze van de installmenteur.
Leiding van 0150
- De Toom met Klep 10 worden aangebracht.
- Zet de leiding vast met geschikt leidingklemen.Het benodigde materiaal worden nicht bij de wasemkap geleverd.
Leiding van 0120
- Voor verbinding met een leiding van 120 mm ,moet de reductieflens 9 op de Toom met Klep 10 worden aangebracht.
- Zet de leiding vast met geschikt leidingklemmen. Het benodigde materiaal worden nicht bij de wasemkap geleverd.
- Verwijder de eventuele geurfilters met actieve koolstof.

LUCHTUITLAAT FILTERVERSIE
- Bevestig het filterdeksel op de luchtuitgang met behulp van de vier schroeven 12c (2,9 x 6,5).
- Bevestig het richtingsrooster 8 op de uitlaat van de gerecircularerde lucht met 2 van de bijgeleverde schroeven 12d (2,9 x 9,5).

- Sluit de wasemkap aan op de netspanning met een tweepolige schakelaar ertussen met een opening tussen de contacten van tenminste 3mm
- Verwijder de vetfilters (zie par. "Onderhoud") en verzeker u ervan dat de stekker van de voedingskabel goed in de contactdoos van de afzuigkap is gestoken.







GEBRUIK

| Toets | Functie Led | |
| A | Schakelt de verlichtingsinstallatie in en uit.Als deze toets bij uitgeschakelde afzuigkap en+zonder actieve filteralarmen gedurende 5 seconden worden ingedrukt, gebeurt het volgende:inschakeling van het alarm verzadiging actieve koolstofffilters.uitschakeling van het alarm verzadiging actieve koolstofffilters. | Aan of uit.2 maal knipperen led toets H.1 maal knipperen led toets H. |
| B | Zet de motor uit.Als deze toets bij uitgeschakelde afzuigkap 5 seconden ingedrukt worden gehonden, wordt de toetsblokkering geactiveerd.De functie worden uitgeschakeld door de toets 5 seconden in te drukken. | Aan of uit.Alle leds knipperen 2 maal en tijdens de toetsblokkering gaan de leds een voor een branden.Alle leds knipperen een keer. |
| C | Schakelt de eerste snugheid in. Aan. | |
| D | Schakelt de tweede snugheid in. Aan. | |
| E | Schakelt de derde snugheid in. Aan. | |
| F | Activeert de hoogste snugheid vanuit elke snugheidsstand of vanuit de uitgeschakelde stand van de motor. Deze snugheid wordt 5 minuten aangehouden en daarna keert het systeme terug maar de erder ingestelde snugheid. Geschikt voor het op-vangen van de maximale uitsstoot van kookdampen.Deze functie kan worden uitgeschakeld door op de toets te drukken of door de motor uit te zetten. | Aan. |
| G | Activeert de vertraagde automatische uitschakeling van de motor en van de verlichting met 15 minutes. Deze functie is geschikt om restgeuren volledig te verwijdersen en kan worden uitgeschakeld met een druk op de toets of door de motor uit te zetten.Als deze toets bij uitgeschakelde afzuigkap (motor + verzlichting) en zonder actieve filteralarmen gedurende 5 seconden worden ingedrukt, gebeurt het volgende:inschakeling van de afstandsbediening. uitschakeling van de afstandsbediening. | Aan.2 maal knipperen led toets C + B1 maal knipperen led toets C + B |
| H | Reset het alarm van de verzadiging van de filters door once-veer 2 seconden bij uitgeschakelde afzuigkap op de toets te drukken. | Na 100 bedrijfsuren gaat de led voortdurend branden om de verzadiging van de metalen filters te signaleren.Na 200 bedrijfsuren gaat de led knipperen om de verzadiging van de actieve koolstofffilters te signaleren. |
SimpelGids