66331 KMN - Fornuis AEG-ELECTROLUX - Gratis gebruiksaanwijzing en handleiding
Vind de handleiding van het apparaat gratis 66331 KMN AEG-ELECTROLUX in PDF-formaat.
Veelgestelde vragen - 66331 KMN AEG-ELECTROLUX
Gebruikersvragen over 66331 KMN AEG-ELECTROLUX
0 vraag over dit apparaat. Beantwoord die u kent of stel uw eigen vraag.
Stel een nieuwe vraag over dit apparaat
Download de handleiding voor uw Fornuis in PDF-formaat gratis! Vind uw handleiding 66331 KMN - AEG-ELECTROLUX en neem uw elektronisch apparaat weer in handen. Op deze pagina staan alle documenten die nodig zijn voor het gebruik van uw apparaat. 66331 KMN van het merk AEG-ELECTROLUX.
GEBRUIKSAANWIJZING 66331 KMN AEG-ELECTROLUX
Geachte mevrouw, heer
Hartelijk dank voor het kiezen van een van once kwaliteitproducten. U hebft een goede keuze gemaatk. Zo kurz u dankzij de combinatie van functioneel design en hoogwaardige technologie rekenen op optimale prestaties en bediiningsgemak. En once zorg voor het milieu, komt o.a. tot uitdrukking in het energiebesparend functioneren van dit apparaat. Om er zeker van teijken dat uw apparaat optimaal en onberispelijk presteert, dient u deze gebruiksaanwijzing aandachtig door te lezen. Dan zult u alle processen perfect en zeer efficient kunnen besturen.
Wij raden u aan deze gebruiksaanwijzing goed te bewaren, zodat u nogiens ie'skunt nalezen. En wilt u dit boekje doorgeven aan een eventuele volgende eigenaar van het apparaat.
Wij wensen u veelsucces met uwnieuwe apparaat.
In deze informatie voor gebruikers worden de volgende symbolen gezruikt:

Let op! Lees deze informatatie! Belangrijke aanwijzingen voor de verilgheid van Personen en informatatie ter voorkoming van schade aan apparaten

emene aanwijzingen en adviezene

wijzingen ten behoeve van het milieu

arlijke spanning
Inhoud
Veiligheidsvoorschriften 56
Beschrijving van het apparatus 58
Uitrusting kookplaat 58
Uitrusting bedieningsveld 58
Bediening van het apparatus 61
Apparaat in- en uitschakelen 61
Kookstand instellen 61
Buitenste verwarmingskringen in- en uitschakelen 61
Bedieningsveld vergrendelen / ontrendelen 62
STOP+GO-functie in- en uitschakelen 62
Automatisch kooksysteme gebruiken 63
Kinderbeveiliging gebruiken 64
Timer gebruiken 65
Schakelt automatisch uit 68
Tips voor koken en braden 69
Pannen 69
Energiebesparing 69
Toepassingsvoorbeelden voor het koken 70
Reiniging en onderhoud 71
Wat is er aan de hand als ... 72
Afvalverwerking 74
Montageaanwijzing 75
Veiligheidsaanwijzingen 75
Garantie/Adres service-afdeling 77
Adres service-afdeling 79
Service 81
Montage 82
Typeplaatje 85
Gebruiksaanwijzing
Veiligheidsvoorschriften
Neem deze aanwijzingen in acht, odomat anders bij eventuele schade hetrecht op garantie vervalt.
Gebruik volgens de voorschriften
- Personen (waaronder begrepen kinderen) die op grond van hun fysieke, sensörische of verstandelijkke vermogens, dan wel op grond van onervarenheid of onkunde nicht in staat+zijn het apparaat veilig te gebruiken, dienen dit apparaat Niet zonder het toezicht of zonder de instructies van een verantwoordelijkpesoon te gebruiken.
- Laat het apparaatijdens het gebruik Niet zonder toezichtchter.
- Dit apparaat mag alleen in het huishouden worden gebruikt voor het koken, braden en bakken van levensmiddelen.
- Het apparaat mag nicht worden gebruikt als werkblad of aanrecht.
- Het is nicht toegestaan het appaat om te bouwen of te veranderen.
- Brandbare vloeistoffen, Licht ontvlambare materialen of smeltbare voorwerpen (bijv. folie, kunststof, aluminium) Niet op het apparaat of in de direct omgeving waarvanplaatsen of opbergen.
Veiligkeit voor kinderen
- Houdkleine kinderen altijduit de buurt van het apparaat.
- Grotere kinderen mogen alleen onder begeleiding en toezicht met het apparaat werken.
- Om onbedoeld inschakelen doorkleine kinderen of huisdieren te voorkomen, is het aan te bevelen de kinderbeveiliging te activeren.
Algemene veiligkeit
- Het apparaat mag alleen worden gemonteerd en aangesloten door een erkend elektro-installateur.
- Inbouwapparaten mogen alleen worden gezruikt nadat deze zich ingebouwd in voorgeschreten, passende inbouwkasten en werkbladen.
- Bij storingen aan het apparaat of beschadiging van het glaskeramiek (breuken, sprengen resp. scheuren)要去 het apparaat worden uitgeschakeld en worden losgekoppeld van het elektriciteitsnet, om gevaar op elektrische schokken te voorkomen.
- Reparaties aan het apparaat mogen alleen worden uitgevoerd door vakmensen.
Veiligkeitijdens het gebruik
- Oververhitte vetten en oliën vatten zeer snugl lam Let op! Brandgevaar!
- Wonneer u onoplettend bentijdens het werkken met het apparaat, bestaat er risico op verbranding.
- Verwijder stickers en folies van het glaskeramiek.
- De snoeren van elektrische apparaten mogen nicht gegen het hare apparaatop-pervlak resp. hare pannen aankomen.
- De kookzones要去en na ieder gebruik worden uitgeschakeld.
Veiligkeit bij het schoonmaken
- Voor het schoonmaken要去 het apparaat�uijt geschakeld en afgekoeld.
- Uit veiligheidsoverwegingen is het Niet toegestaan het apparaat met een stoom- of een hagedrukreiniger schoon te make.
Voorkoming van beschadiging van het apparaat
- Het glaskeramiek kan worden beschadigd door vallende voorwerpen.
- Door stoten met pannen kan de rand van het glaskeramiek beschadigd raken.
- Pannen van gietijzer of gietaluminium of pannen met een beschadigde bodem können bij het verschuiven het glaskeramiek begrassen.
- Voorwerpen die kuren smelten en gerechten die kuren overkoken, kuren inbranden op het glaskeramiek en要去en direct worden verwijderd.
- Het droogkoken van pannen要去 worden voorkomen. Hierdoor kan het kookgerei of glaskeramiek worden beschadigd.
- De kookzones mogen nicht worden gebrukt als er geen pan of een lege pan op staat.
Beschrijving van het apparatus

Uitrusting kookplaat
Ultrusting bedieningsveld

Het apparaat worden bediend door middel van touch-control-sensorvelden. Funcies worden door het aanraken van de sensorvelden gestuurd en doorindicaties en akoestische signalen bevestigd.
De sensorvelden要去en van bovenaf worden aangeraakt, zonder andere sensorvelden te bedekken.
| Sensorveld Functie | ||
| ① | Aan/uit Apparaat in- en uitschakelen | |
| ② | Kinderbeveiliging Bedieningsveld voor kinderen blokke- ren | |
| STOP GO | Stop+Go Warmhoudstand in-/uitschakelen | |
| ◎ | Schakeling driekringskook-zone | Buitenste verwarmingskring in- en uitschakelen |
| TIMER | Timer Timerkeuze | |
| + | Instellingen verhogen Timer-tijd verhogen | |
| — | Instellingen verlagen Timer-tijd verlagen | |
| CO | Braadzone | Buitenste verwarmingskring in- en uitschakelen |
| A | Aankookautomaat Aankookautomaat inschakelen/uitschakelen | |
Bedieningsstrip
De bedieningsstrip is een special touch-controlveld.
De bedieningsstrip op deplaats van de gewenste kookstand aanraken. De kookstand wordt in de indicateie aangegeven. Eventueel maar links of rechts corrigeren. Niet loslaten voordat de gewenste kookstand is bereikt.
Wordt de bedieningsstrip langer dan 6 se- conden aangeraakt, dan klinkt er een akoestisch signaal en wordt het apparaatuitgeschakeld.

Indicaties
| Indicatie Beschrijving | ||
| Kookzone is uitgeschakeld | ||
| Warmhoudstand | STOP+GO-functie / warmhoudstand is ingesteld | |
| - Kookstunden Kookstand is ingesteld | ||
| Automatisch kooksysteme Automatische kooksysteme is actief | ||
| Fout Er is een storing opgetreden | ||
| Restwarmte Kookzone is nog warm | ||
| Kinderbeveiliging Kinderbeveiliging | is ingeschakeld | |
| automatische uitschakeling | Uitschakeling is actief | |
Restwarmte-indicatie

Waarschuwing! Verbrandingsgevaar door restwarmte. Na het uitschakelen duurt het nog enigeijd voordat de kookzones zijn afgekoeld. Let op de H restwarmte-indicatie.

Restwärme kan worden gebruikt voor het smelten en warmhouden van gerechten.
Bediening van het apparatus
Apparaat in- en uitschakelen
| Bedieningsveld Indicatie | Controleampje | ||
| Inschakelen | 1 seconde aanraken | 0/0 | brandt |
| Uitschakelen | 1 seconde aanraken | 0/0 | gaat UIT |
i
Na het inschakelen moet binnen ca. 10 seconden een kookstand of een functie worden ingesteld, anders schakelt het apparaat automatisch UIT.
Kookstand instellen
| Bedieningsstrip Indicatie | ||
| Kookstand instellen | de gewenste kookstand met de vinger aanra-ken,evt. maar links of rechs corrigeren | 1 tot 14 R |
| Uitschakelen 0 | aanraken | 0 |
Buitenste verwarmingskringen in- en uitschakelen
Door de buitenste verwarmingskringen in of uit te schakelen+kennen de verwarmingsvlakken worden aangepast aan de groote van de pannen.
i
Bordat een van de buitenste verwarmingskringen kan worden ingeschakeld, enzo moet algijd eerst de binnenste verwarmingskring zich inageschakeld.
| Driekringskookzone | Sensorveld | Controllampje |
| Middelste verwarmings-kring inschakelen | 1-2 seconden aanraken | Tweede controelampje brandt |
| Buitenste verwarmings-kring inschakelen | 1-2 seconden aanraken | Derde controelampje brandt |
| Buitenste verwarmings-kring uitschakelen | 1-2 seconden aanraken | Derde controelampje dooft |
| Middelste verwarmings-kring uitschakelen | 1-2 seconden aanraken | Tweede controelampje dooft |
| Braadzone | Sensorveld | Controllampje |
| Buitenste verwarmings-kring inschakelen | 1-2 seconden aanraken | tweede controelampje brandt |
| Buitenste verwarmings-kring uitschakelen | 1-2 seconden aanraken | tweede controelampje dooft |
Bedieningsveld vergrendelen / ontgrendelen
Het bedieningsveld kan met uitzondering van het sensorveld "Aan/Uit" op ieder gewenst moment worden vergrendeld, bijv. om het wijzigen van de instellenen als gevolg van het met een lap afnemen, te voorkomen.
Bedieningsveld Indicatie
Inschakelen aarraken (na 4 seconden)

Uitschakelen aanraken erder ingestelde kookstand
i Als u het apparaat uitschakelt, wordt de vergrendeling automatisch uitgeschakeld.
STOP+GO-functie in- en uitschakelen
De STOP+GO-functie schakelt alle ingeschakelde kookzones tegelijk in de warmhoudstand in en wee in de eerder ingestelde kookstand.
Bedieningsveld Indicatie
Inschakelen aanraken

Uitschakelen aangraken erder ingestelde kookstand (niet automatisch kooksysteme)
i Timerfuncties worden door STOP+GO nicht aangehouden.
STOP+GO vergrendelt het gehele bedieningsveld tot het sensorveld ①.
Automatisch kooksysteme gebruiken
Alle kookzones zijn met een automatische aankookfunctie uitgerust. Bij het instellen van een kookstand met de automatische aankookfunctie, worden de kookzone gedurende een bepaaldeijd van het volledige vermogen voorzien en schakelt dan automatisch waar terug maar de ingestelde kookstand.
| Stap Bedieningsveld Indicatie | ||
| 1. aanraker | A | B |
| 2. | met de vinger van Aaar beneden degewenste kookstand tussen 1 en 13kiezen | 13 / 1 na 5 seconden 8 Zo lang als Rwordt wee-gegeven, werkt het appa-raat op vol vermogen. Na afloop van het automatische kooksystem wordt de kookstand 13 op-1 nieuw weergegeven. |
De duur van de automatische kookactivering is afhankelijk van de ingestelde kookstand.
| Kookstand Duur | van de automatische kookactivering [min:sec] |
| 1 1:00 | |
| 2 1:40 | |
| 3 2:40 | |
| 4 4:50 | |
| 5 5:30 | |
| 6 6:30 | |
| 7 8:10 | |
| 8 10:10 | |
| 9 12:20 | |
| 10 | |
| 11 | |
| 12 | |
| 13 | |
| 14 |
Kinderbeveiling gebruiken
De kinderbeveiliging voorkomt ongewenst gebruik van het apparaat.
Kinderbeveiling inschakelen
| Stap Bedieningsveld Indicatie/signaal | ||
| 1. Apparaatinschakelen (geen kook-stand instellen) | Ø | |
| 2. | 4 seconden ⑥ aanraken | L |
| De kinderbeveiliging is ingeschakeld. | ||
Kinderbeveiligingijdelijk uitschakelen
De kinderbeveiliging kan op deze wijze eenmalig worden uitgeschakeld; bij het volgende gebruik is de beveiliging weeer actief.
| Stap | Bedieningsveld | Indicatie/signaal |
| 1. Apparaatinschakelen | L | |
| 2. | 4 seconden 6 aanraken | Brandt |
| Het apparaat kan normalaal worden gezruikt totdat het de volgende keer wordenuitgeschakeld. | ||
Na het uitschakelen van de kinderbeveiliging moet binnen ca. 10 seconden een kookstand of een functie worden ingesteld, anders schakelt het apparaat automatisch UIT.
Kinderbeveiling uitschakelen
| Stap | Bedieningsveld | Indicatie/signaal |
| 1. Apparaat ihschakelen | L | |
| 2. | 4 seconden ⑥ aanraken | ® brandt |
| 3. Apparaat uitschakelen. | ||
| De kinderbeveiliging is uitgeschakeld. | ||

Timer gebruiken
| Functie Vereisten Resultaat na verloop | van dearend | |
| Automatische uitschakeling | bij een ingestelde kookstand | akoestisch signaal 00 knippert kookzone wordenuitgeschakeld |
| Kookwekker bij Niet gebruikte kookzones | akoestisch signaal 00 knippert | |
i Als additioneel bij een ingestelde kookwekker bij deze kookzone een kookstand wordt ingesteld, dan worden de kookzone na afloop van de ingesteldeijd uitgeschakeld.
i Als een kookzone wordt uitgeschakeld, dan wordt tevens de ingestelde Timer-functie uitgeschakeld.
Kookzone kiezen
| Stap Bedieningsveld Indicatie | ||
| 1. TIMER 1xanraken Controleampje van de eerste kookzone knippert | .00 | |
| 2. TIMER 1xanraken Controleampje van de tweede kookzone knippert | .00 | |
| 3. TIMER 1xanraken Controleampje van de derde kookzone knippert | .00 | |
| 4. TIMER 1xanraken Controleampje van de vierde kookzone knippert | .00 | |
Knippert het contrôlelampje langzamer dan kan de kookstand ingesteld of gewijzigd worden.
i Als meertere Timerfuncties zich ingesteld, dan worden na een aantal seconden de kortste resterendeijd van alle Timerfuncties aangegeven en knippert het bijbehorende controelampje.
Tijd instellen
| Stap | Bedieningsveld | Indicatie |
| 1. TIMER Kookzone kiezen | Controlelampje van de gekozen kookzone knippert | |
| 2. | + of — aanraken | 00 tot 99 minutes |
| Na een,aantal seconden knippert het controlelampje langzamer. Dearend is ingesteld. Dearend telt terug. | ||
Timerfunctie uitschakelen
| Stap Bedieningsveld Indicatie | ||
| 1. TIMER Kookzone kiezen | Controlelampje van de gekozen kookzone knippert sneller. Resterendearendt wordt aangegeven | |
| 2. —aanraken | De resterendearendt telt terug tot 00. | |
| Het contrôlelampje staatuit. De Timerfunctie voor de gekozen kookzone is uitgeschakeld. | ||
Tijd wijzigen
| Stap Bedieningsveld Indicatie | ||
| 1. TIMER Kookzone kiezen | Controleampje van de gekozen kookzone knippert sneller. Resterendeijd worden aangegeven | |
| 2. | + of — aanraken | 0 | tot 99 minutes |
| Na een,aantal seconden knippert het controleampje langzamer. Deijd is ingesteld. Deijd telt terug. | ||
Resterendeijd van een kookzone aangeven
| Stap Bedieningsveld Indicatie | |
| 1. TIMER kookzone selecteren | Controllampje van de geselecteerde kookzone knippert sneller Resterendearendwordt aangegeven |
| Na een,aantal seconden knippert het controllampje langzamer. | |
Akoestisch signaal uitschakelen
| Stap Bedieningsveld Akoestisch signaal | ||
| 1. | TIMER aanraken | Akoestische uitschakeling. |
| Akoestisch signaal.gaat UIT | ||
Schakelt automatisch uit
Kookplaat
- Als na het inschakelen van de kookplaat Niet binnen ca. 10 seconden bij een kookzone een kookstand worden ingesteld, schakelt de kookplaat automatischuit.
- Als een of meerere sensorvelden langer dan circa 10 seconden door voorwerpen (pan,vatdoek enz.) worden bedekt, krijgt u een signal te horen en worden de kookzone automatischuitgeschakeld.
- Wonneer alle kookzones worden uitgeschakeld, schakelt de kookplaat na ca. 10 seconden automatisch uit.
Bedieningsveld
- Indien bij uitgeschakeld apparaat een ofmeer sensorvelden van het bedie-ningsveld langer dan tien seconden worden afgedekt, klinkt een akoestisch signaal. Het signaal schakelt automatisch uit als de sensorvelden nicht meer zichn afgedekt.
Kookzones
- Als een van de kookzones na een bepaaldeijd Niet is uitgeschakeld of als de kookstand Niet wijzigt, schakelt de betreffende kookzone automatisch uit. - wordt aangegeven. Voor het opnieuw gebruiken要去 de kookzone op te gesteld worden.
| Kookstand Uitschakeling na | |
| 1-3 6 uu | |
| 4-5 5 uu | |
| 7-8 4 uu | |
| 9-14 1,5 uu | |
Tips voor koken en braden
Aanwijzing met betrekking tot acrylamide
Volgens de LASTE wetenschappelijk inzichten kan een intensieve bruining van levensmiddelen, met name bij zetmeelhoudende producten, een gevaar voor de gezondheid door acrylamide veroorzaken. Om die reden adviseren wij levens-middelen zoveel möglich bij lage temperaturen te bereiden en de gerechten nicht te veel te bruinen.
Pannen
- Goede pannen herkent u aan de panbodem. Die moet zo dik en vlak möglichelijk zich.
- Pannen van email of met een aluminium of koperen bodem{kunnen verkleuringen op het glaskeramische vlak awhilen. Deze verkleuringen{kunnen slechts met moeite of helemaal nicht meer worden verwijderd.
Energiebesparing

Plaats de pan al voor het inschakelen op de kookzone.

Sluit pannen, indien möglichk,.altijd af met een deksel.

Schakel de kookzones al voor het einde van de kooktijduit, om gebruik te maken van de restwarmte.

De grootte van de panbodem要去 overeenkomen met de grootte van de kookzone.


Toepassingsvoorbeelden voor het koken
De gegevens in de volgende babel dienen slechts als richtig.
| Kook-stand | Kookproces | Geschikt voor | Duur | Aanwijzingen/tips |
| 0 nawarmte, uit-stand | ||||
| u1 | Warm houden | Warm houden van gare ge-rechten | Naar behoef-te | Afdekken |
| 1-3 | Smelten | Hollandaisesaus, smelten van boter, chocolade, gelatine | 5-25 min. Tussendoor omroeren | |
| Stollen | Schuimomelet, bouillon met ei | 10-40 min. Met deksel bereiden | ||
| 3-5 Wellen | Wellen van rijst en melkge-rechten Verhitten van kant-en-klaar-gerechten | 25-50 min. | Minimaal dubbele hoe-veelheid vloeistof aan de rijst toevoegen, melkge-rechten tussendoor roe-ren | |
| 5-7 | Stomen Stoven | Stoven van groente, vis Vlees sudderen | 20-45 min. | Bij groente weinig vocht toevoegen (eenaar eet-lepels) |
| 7-9 Koken | Koken van aardappels 20-60 min. | Weinig vloeistof gebruiken, bijvoorbeeld: max. 1/4 l water per 750 g aardappels | ||
| Koken van grotere hoeveel-heden, eenpansgerechten en soep | 60-150 min. | Tot 3 l vloeistof plus ingrediën | ||
| 9-12 | Zacht braden | Schnitzel, cordon bleu, kar-bonade, gehaktallen, braad-worst, lever, roux, eieren, omelets, oliebollen | Voortdurend bakken | Tussendoor keren |
| 12-13 | Sterk braden | Aardappel koekjes, lende-stukken, steaks, pannenkoe-ken | 5-15 min. per pan | Tussendoor keren |
| 14 | Aan de kook brengen Aan-bra den Frituren | Aan de kook brengen van grotere hoeveelheden water, pasta koken, aan-braden van vlees (goulash, stoovlees), frituren van patates frites | ||
Reiniging en onderhoud

Voorzichtig! Verbrandingsgevaar door restwarmte.
Let op! Bijtende en schurende schoonmaakmiddelen beschadigen het apparaat. Schoonmaken met water en handafwasmiddel.

Let op! Resten van schoonmaakmiddelen beschadigen het apparaat. Verwijder resten met water en handafwasmiddel.
Reinig het apparaat na ieder gebruik
- Maak het apparaat schoon met een vochtige doek en een Klein beetje handaf-wasmiddel.
- Wrijf het apparaat droog met een schone doek.
Verwijder verontreinigungen
- Plaats een glasschaper schuin op het glaskeramische vlak.
- Verwijder verontreinigingen door de schraper over het oppervlak te lately glijden.
- Maak het apparaat schoon met een vochtige doek en een Klein beetje handaf-wasmiddel.
- Wrijf het apparaat droog met een schone doeck.
| Soort verwüiling | verwijderen | ||
| direct | bij afgekoeld apparaat | met | |
| Suiker, suikerhoudende gerechten ja --- | Glasschraper* | ||
| Kunststoffen, aluminiumfolies ja --- | |||
| Kalk- en watersporen --- ja | Speciaal schoonmaak-middel voor glaskera-miek of roestvrij staal* | ||
| Vetspatten --- ja | |||
| metaalachtig glanzende verkleuringen | --- ja | ||
*Glasschrapers en speciale schoonmaakmiddelen voor glaskeramiek of roestvrij staal�krijgbaar in de vakhandel.
i Hardnekkige verontreinigingen verwijderen met een special schoonmaakmiddel voor glaskeramiek of roestvrij staal.
Krassen of donkere vlekken in het glaskeramiek hunnen Niet meer worden verwijderd, zij hebbenECHTER geen invloed op het functioneren van het apparaat.
Wat is er aan de hand als ...
| Storing Mogelijk zorzaak Oplossing | ||
| De kookzones können nicht in-geschakeld worden of functio-neren nicht | Na het inschakelen van het apparaat�n aan de 10 se-conden verstreken | Apparaat nogmaals inschake-len |
| De kinderbeveiliging is inge-schakeld L | Kinderbeveiliging deactiveren (zie het hoofdstuk "Kinderbe-veiliging") | |
| Erijkenmeerdere sensorvelden tegelijk aangeraakt | Raak slechts een sensorveld tegelijk aan | |
| Schakelt automatisch uit is geactiveerd | Eventueel op het bedienings- veld liggende voorwerpen (pan, vaatdoek o.i.d.) verwijde- ren. Apparaat nogmaals in-schakelen. | |
| Er staat water op het bedie-ningsveld of het veld is met vetspatten bedekt | Bedieningsveld afnemen | |
| STOP+GO is actief STOP+GO uitschakelen | ||
| Erাen geluidssignaal af als het apparaat is uitgesch-keld | Het bedieningspaneel worden geheel of deels door voorwer- pen afgedekt | Verwijder de voorwerpen |
| De restwarmte-indicatie geeft niets aan | De kookzone is slechts kort ge-bruikt en is的那一om nog Niet heet | Neem contact op met de klan-tenservice wanner de kook-zone toch heet is. |
| Een zoemer is hoorbaar en het apparaat worden automatisch ingeschakeld en na 5 sec. weeer uitgeschakeld, na 5 sec. klinkt nogmaals een zoemer. | Het sensorveld Aan/Uit worden geblokkeerd, bijv. door een doeK | Geen voorwerpen op het be-dieningsveld leggen |
| ®brandt Automatische uitschakeling is geactiveerd | Apparaat uitschakelen. Appa-raat opnieuw inschakelen | |
| ®enummer worden aange-geven | Fout in de elektronica Apparaat | een eenantal minuten van de voeding scheiden (ze-kering uit de huisinstallatie nemen) Als na het inschakelen de fouT®nogmaals worden aangege-ven, contact opnemen met de serviceddienst |
Wanner u de storing nicht=kunt verhelpen met de hierboven gegeven aanwijzingen, neem dan contact op met uw vakhandel of met荃 service-afdeling.

Waarschuwing! Reparaties aan het apparaat mogen alleen door vakmensen worden uitgevoerd. Onvakkundige reparaties konnen tot aanzienlijke risico's voor de gebruiker leiden.

Bij een onjuiste bediening worden het bezoek van de servicetechnicus ookijdens de garantieperiode in rekening gebracht.
Afvalverwerking

Verpakkingsmaterialiaal
De verpakkingsmaterialen zijn nicht schadelijk voor het milieu en herbruikhaar. De kunststoffen hebben de volgende aanduidingen, bijv. >PE< , >PS< , enz. Verwijder de verpakkingsmaterialen in overeenstemming met de aanduiding bij de gemeenteijkeinzamelplaatsen in deaarvoordbestemde containers.

Oud apparatus verwijderen
Het symbool op het product of op de verpakking wijst erop dat dit product Niet als huishoudafval mag worden behandeld. Het要去chter maar een plaats worden gebracht waar elektrische en elektronische apparatuur wordt gerecycled. Als uervoort zorgt dat dit product op de correcte manier wordt verwijderd, voorkomt u möglichk voor mens en milieu negatieve gevolgen die zich zonden hunnen voordoen in geval van verkeerde afvalbehandeling. Voormeer details in verband met het recyclen van dit product, neemt u het best contact op met de gemeentelijk instanties, het bedrijf of de diest belast met de verwijdering van huishoudafval of de winkel waar u het product hebget gekocht.
Montageaanwijzing

Veiligheidsaanwijzingen
Let op! Lees davon informatie!
De in het land van gebruik geldende wetgeving, verorderingen, richtlijnen en normen dieren te worden nageleefd (veiligheidsvoorschriften, vakkundige recyclung volgens de voorschriften, enz.).
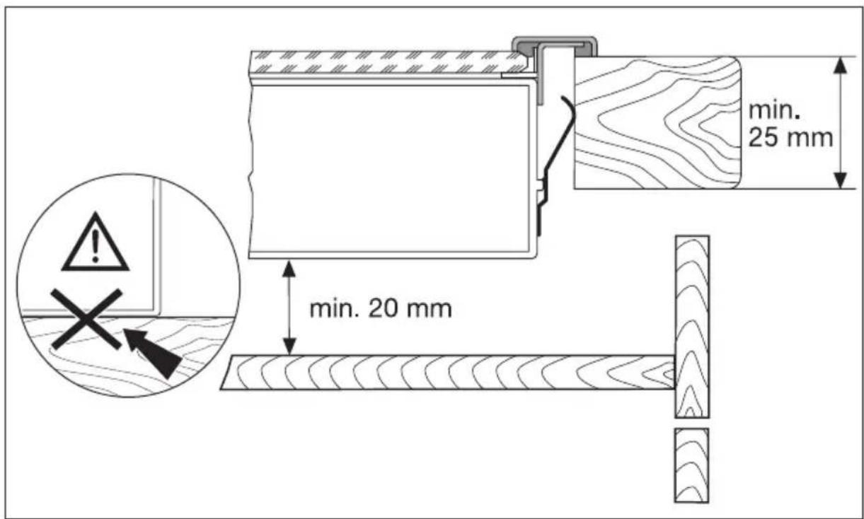
De montage mag slechts door een gekwalificeerd technicus worden uitgevoerd. De minimumafstanden tot andere apparaten en meubelen dienen in acht te worden genomen.
De aanraakbeveiliging dient met de inbouw te zijn gewaarborgd; lades mogen bijvoorbeeld alleen met beschermplaat direct onder het apparaat worden gesmonteerd.
De naden op het werkblad dienen met een geschikt afldichtingsmaterialial gegen vocht te worden beschermrd.
De dichting zorgt voor een naadloze aansluiting tussen apparaat en werkblad. Tussen het apparaat en het werkblad mag geen siliconendichtmiddel worden aangebracht.
Voorkom hetplaatsen van het apparaat direct naast deuren of onder ramen.
Openklappende deuren en openspringende ramen können anders het kookgerei van de kookplaat stoten.
Verondingsgevaar door elektrische stroom.
- De netaansluitklem staat onder spanning.
- Netaansluitklem spanningsvrijmaken.
Aansluitschemainachtnemen.
Veiligheidsvoorschriften van de elektrotechniek in acht nemen.
Aanraakbeveiliging door vakkundige inbouw waarborgen. - Elektrische aansluiting latent uitvoeren door een erkend elektrotechnisch installateur.
Schade door elektrische stroom.
- Losse en verkeerde stekkerverbindingen können de klemmen oververhitten.
Klemverbindingen vakkundig uitvoeren. - Kabels voorzien van trekontlasting.
Bij een aansluiting met 1- of met 2-fasen dient steeds de juiste en passende netaansluitng van het type H05BB-F Tmax 90^ (of hoger) te worden ingezet. - Als de aansluitkabel van dit apparaat beschadigd is,要去 deze door een spe-ciale aansluitkabel (type H05BB-F Tmax 90^ ; of hoger) worden verrangen. Deze is verkrijgbaar bij de service-dienst.
In de elektrische installmentie moet een inrichting worden aangebracht, die het可想而知 het apparaat met een contactopeningswijdte van min. 3 mm met alle polen van het net te scheiden.
Geschikte scheidingsinrichtingen zijn bijv. automatische zekeringen (schroefzekeringen要去en uit de fitting geschroefd worden), aardlekschakelaar en veiligheidsschakelaars.
Garantie/Adres service-afdeling
Nederland
Onze producten worden met de grootst möglichke zorgvuldigheid geprodueerd. Desondanks kan het voorkomen dat er een defect optreedt. Onze servicedienst za dit op verzoek herstellen, zowel binnen als buiten de garantietermiin. De levensduur van het product wordt daardoor Niet negatif beinvloed.
Onderstaande garantievoorwaarden zijn gestoeld op de EU Richtlijn 99/44/EG en het Burgerlijk Wetboek. De waaruit voortvloeijeende rechten blijven onverlet.
Ook de garantieverplichtingen van de verkoper maar de eindgebruiker blijven onaangetast.
Voor dit product verlenen wij garantie volgens onderstaande voorwaarden:
-
Wij verhelpen kosteloos met inachtneming van de voorwaarden 2 tot en met 15 gebreken aan het product die zich openbaren binnen 24 maanden vanaf de datum van levering aan de eindgebruiker. In geval van professioneel of daarmee gelijk te stellen gebruik is de garantie beperkt tot 12 maanden. Voor tweedehands producten geldt eveneens een termijn van 12 maanden.
-
De garantieprestatie houdt in dat het product kosteloos wordt teruggebracht in de toestand die het had voor het defect optrad. Gebrekkige onderdelen worden hersteld of verwangen. Kosteloos verwangen onderdelen worden ons eigendom.
-
Het gebrek moet sterstond gemeld worden om möglichke verdere schade te voorkomen. De garantieanspraak verwalt indien het gebrek Niet binnen twee maanden na vaststelling is gemeld.
-
Voor een beroep op garantie dient het aankoopbewijs met aankoop- en/of leveringsdatum te worden overlegd. Bij ontbreken waarvan dient ander overtuigend bewijs te worden overlegd.
-
De garantie heeft geen betrekking op schade aan kwetsbare onderdelen, zoals (vitrokeramisch) glas, kunststof, rubber, die ontstaan is door onzorgvuldig gebruik.
-
De garantie heeft geen betrekking op keine awijkingen van de gestelde kwaliteit die voor de waarde en deugdelijkheid van het product onbeduigend zijn.
-
De garantie geldt evenmin voor schade veroorzaakt door: a. chemische en elektrchochemische inwerking van water, b. abnormale milieuomstandigheden in het algemeen, c. voor het product oneigenlijke bedrijfsomstandigheden, d. contact met agressieve stoffen.
-
De garantie heeft geen betrekking op gebreken door transportschade die buiten onsze verantwoordelijkheid is ontstaan, Niet-vakkundige installmentie of montage, verkeerd gebruik, gebrekkig onderhoud, of het nicht in acht nemen van de gebruiks- of montageaanwijzingen.
-
Hetrecht op garantie vervalt wanner het defect wervoorzaakt door herstelling of ingrepen door derden die Niet bevoegd of Niet deskundig zich, of wanner het product voorzien werden van toebehoren of onderdelen die Niet origineel zich en daardoor een defect veroorzaken.
-
Producten die gemakkelijk können worden vervoerd dieren te worden overhandigd aan of gezondenaar once servicedienst. Herstellung terplaatse kan slechts worden gesvaagd voor grote of ingebouwde producten.
-
Indien het product zodanig is ingebouwd, ondergebouwd, opgehangen of geplaatst dat de benodigde vrij voor het in- en uitbouwen samen meer dan 30 minuten bedraagt, worden de hierdoor ontstane extra kosten aan de gebruiker in reckening gebracht. Schade die ontstaat door abnormale in- of uitbouw komt ten laste van de gebruiker.
-
Indien binnen de garantieperiode de herstellung van hetzelfde defect herhaaldelijk mislukt of de herstellungkosten disportioneel zich worden in overleg met de gebruiker een gelijkwaardige verwanging geleverd. In geval van verwangung behouden we ons hetrecht voor om een vergoeding te rekenen maar rato van de verstreken gebruiksperiode.
-
Herstelling onder garantie hebft geen verlenging van de garantietermijn noch aanvang van een neue garantietermiin tot gevolg.
-
Op herstellingen geben wij een garantie van 12 maanden, uitsluitend op hetzelfde gebrek.
-
Verdere of andere aanspraken, in het bijzonder vergoeding van schade ontstaan buiten het product, zich uitgesloten voor zover een aansprakelijkheid Niet wettelijk is vastgelegd.
-
In geval van aansprakelijkheid zal een vergoeding de aankoopwaarde van het product Niet overtreffen, tenzij wettelijk anders is bepaald.
Deze garantievoorwaarden gelden voor in Nederland gekochtene/of in gebruik zijnde producten. Indien een productaar het buitenland wordt gebracht dient de gebruiker na te gaan of het product voldoet aan de technische voorwaarden ( o.a. spanning, freiendentie, installmentevoorschriften, gassoort, klimaatomstandigheden) in het betreffende land. Voor in het buitenland aangeschafte producten dient de gebruiker zich te vergewissen van de bepalingen in Nederland. Noodzakelijkke of gewenste aanpassingen vallen Niet onder de garantie, en hunneniet altd worden aangebracht.
Ook na afloop van de garantietermijn staat onze servicedienst u ter beschikking.
Adres Servicedienst:
Electrolux Service
Vennoootsweg 1
2404 CG ALPHEN AAN DEN RIJN
Reparatievoorwaarden
Onze reparatievoorwaarden zijn conform de aftsprak:tussen de Consumenbond en Vlehan*.
Art. 1 Aan de consument za na een melding van een storing zo möglichk direct,doch uiterlijk binnen een werkdag worden medegedeeld op welke dag het bezoek van de technicus zar plaatsvinden. De reparatie zar als regel binnen zeven werkdagen na de melding+zijn uitgevoerd.
Art. 2
a) Alvorens de reparatie worden verricht zal de technicus een onderzoek uittvoeren aan de vermoedelijk oorzaak van de gemelde storing. Aan de hand hiervan zal hij een zo nauwkeurig möglichke, gespecifieerde begrotting maken van de totale reparatiekosten inclusief voorrijkosten en diagnose-kosten. Desgevraagd zal deze begrotting door de technicus schriftelijk worden vastgelegd.
b) Indien de consument met het begrote bedrag Niet akkoord gaat, za op verzoek het te repareren toestel worden teruggebracht in de staat waar het aan de technicus werd aangeboden. Nadat dit is geschied, zullen alleen de kosten van voorrijden en arbeidsloon in rekening worden gebracht op basis van de werkelijkstebestede tijd, danwel van een vooraf vastgesteld tarief.
Art. 3 Indien tijdens het uitvoeren van de reparatie duidelijk worden dat:
a) de oorspronkelijke reparatie door redelijkerwijs Niet te Voorziene omstandigheden nicht gegen het begrote bedrag kan worden uitgevoerd, of
b) ook andere dan in de begrotting voorziene reparatiesoodzakelijk,zin, zal overleg met de consument plaatsvinden en een herziene kostenbegrotting worden gemaakt.
In geval de consument daarmee alsnog Niet akkoord gaat, geldt eveneens het in articlek 2b bepaalde.
Art. 4 De reparatie za zoveel möglichk tijdens het eerste bezoek worden uitgevoerd. Indien om het toestel in werkende staat te brengen een tweede bezoek noodzakelijk is, za:
a) direct, noch uiterlijk binnen een werkdag door de betreffende service-organisatie of door de technicus met de consument de datum voor een tweede bezoek worden afgesproken.
b) een herhalingsbezoek zar als regel binnen tien werkdagen na de melding plaatsvinden.
c) voor een tweede of waaropolgend bezoek zal geen Voorrijtarief in rekening worden gebracht, tenzij de moodzaak voor een herhalingsbezoek aan de consument is toe te schrijyen.
Art. 5 De consument ontvangt een gespecifieerde rekening met vermeling van type en serienummer van het apparaat, omschrijving van de diagnose, toegepaste tarieven, gebruekte onderdelen en materiaielen en een korte omschrijving van de verrichte werkzaamheden. De betaling van de rekening dient gegen afgifte van een reparatienota direct content of door middel van een gegarandeerd betaalmiddel plaats te vinden.
Art. 6 Op elke uitgevoerde en betaalde reparatie za bij normaal huishoudelijk gebruik een volledige garantie van minimaal 3 maanden worden geveven. Deze garantie omvat het koseloo's uitvoeren van een hernieuwde reparatie. Op de uitgewiselde en betaalde onderdelen geldt een garantietermijn van 12 maanden. Bij een berop op garantie op de reparatie dient de consument op verzook de gespecificierde rekening van de voorgaan de reparatie aan de technicus te overleggen.
Art. 7 Indien na driemaal uitvoeren van eenzelfde reparatie hetzelfde defect bij normala huishoudelijk gebruik opnieuw optreedt binnen de onder art. 6 bedoelde garantietermijn en redelijkkerwijs een afdoend resultaat bij het opnieuw uitvoeren van de reparatie Niet verwacht kan worden, za aan de consument een新模式 exemplaar of soortgelijk toestel van hetzelfde merk worden aangeboden gegen bijbetaling op basis van een per producte bepalen staatijks aftrijvingspercentage.
Art. 8 Vervangen onderdelen stelt de technicus wee ter beschikking van de consument, met uitzondering van de onder garantie of tegen een gereduceerde prijs verwangen onderdelen.
Art. 9 Een reparatie dient op zodanige wijze te worden uitgevoerd, dat een toestel daarna weever volledig voldoet aan de veiligheidsvoorschriften, die op grond van een van fabriekswege aangebracht veiligheidskeurmerk gelden, danwel bij het ontbreken waarvan, aan de wettelijk vereisten terzake. Dit houdt ondermeer in, dat reparaties moeten worden uitgevoerd met originele en door de fabrikant ook terzake van veiligheidskeurmerken en -voorschriften gegarandeerde onderdelen.
*) Vereniging Leveranciers van Huishoudelijkke Apparaten in Nederland
Adres service-afdeling
Nederland
| AEG fabrieksservice Postbus 120 2400 AC Alphen aan den Rijn | ||
| Service-informatielijn (veur bezoek servicetechnicus en onderdelen) | tel. 0172-468 300 | |
| Consumenbenolangen (veur algemene, product-of gebruiksinformatie) | tel. 0172-468 172 | |
| www.aeg.nl |
Europese Garantie
Dit apparaat wordt door Electrolux in elk van de awhile in deze handleiding genoemde landen gedurende de in het bij het apparaat behorende garantiebewijs genoemde periode of anderszins bij de wet gegarandeerd. Als u van een van deze landen verhuist maar een ander van de hieronder genoemde landen, verhuist de garantie op het apparaat met u mee. De volgende beperkingen zichn hierop van toepassing:
- De garantie op het apparaat begint op de datum van eerste aankoop van het apparaat. Deze datum dient te worden aangetoond door overlegging van een geldig, door de verkoper van het apparaat afgegeben aankoopbewijs.
- De garantie op het apparaat geldt voor bezelfdeperiode en in bezelfde mate voor arbeidsloan en onderden als van toepassing in uw十几年e land van vestiging op dit specifieke model of deze specifieke series apparaten.
- De garantie op het apparaat is persoonlijk, geldt dus voor de oorspronkelijke koper van het apparaat en kan nicht worden overgedragen op een andere gebruiker.
- Het apparaat worden geinstalleerd en gebruikt in overeenstemming met de door Electrolux afgegeven instructies en worden alleen in huis gebruikt, dat wil zaggen, het apparaat worden Niet gebruikt voor commercie doeleinden.
- Het apparaat worden geinstalleerd in overeenstemming met alle relevante voorschriften die in uw十几年 land van vestiging van kracht�.
De voorwaarden van deze Europese garantie tasten geen van de aan u bij de wet verleende rechten aan.
Service
Controleer bij technische storingen eerst of u met behulp van de gebruiksaanwijzing (hoofdstuk „Wat te要去en als...") het probleem zich kunt oplossen.
Wanner u het probleem nicht kunt oplossen, neemt u contact op met once service-afdeling.
Om u snel te kuren helpen, hebben wij de volgende gegevens nodig:
-Modelaanduiding
-Productnummer(PNC)
-Serienummer (S-No.)
(u vindt deze nummers op het typeplaatje)
-Soort storing
-Eventuele foulmelding die het apparaat aangeeft
-cijfer- of lettercombinatie bestaande uit drie posities, van de glaskeramische industrié
Om ervoor te zorgen dat u de benodigde nummers van uw apparaat bij de hand heeft, raden wij u aan deze hier te noteren:

Modelaanduiding:
PNC:
S-No:
Assembly / Montage / Montage





Rating Plate / Plaque signalétique / Typeplaatje
| Model 66331K-MN | Prod.Nr. 949 592 894 | ||
| Typ 55HAD56AO | 230 V 50 Hz | ||
| Made in Germany | Ser.Nr. | 7,1 kW | |
| AEG-ELECTROLUX | |||
www.electrolux.com
| Albania | +35 5 4 261 450 | Rr. Pjeter Bogdani Nr. 7 Tirane |
| Belgique/België/ Belgien | +32 2 363 04 44 | Bergensestenweg 719, 1502 Lembeek |
| Česká republika | +420 2 61 12 61 12 | Budějovická 3, Praha 4, 140 21 |
| Danmark | +45 70 11 74 00 | Sjællandsgade 2, 7000 Fredericia |
| Deutschland | +49 180 32 26 622 | Muggenhofer Str. 135, 90429 Nürnberg |
| Eesti | +37 2 66 50 030 | Mustamäe tee 24, 10621 Tallinn |
| Espana +34 902 11 63 88 | 88 | Carretera M-300, Km. 29,900 Alcalá de Henares Madrid |
| France | www.electrolux.fr | |
| Great Britain | +44 8705 929 929 | Addington Way, Luton, Bedfordshire LU4 900 |
| Hellas | +30 23 10 56 19 70 | 4 Limnou Str., 54627 Thessaloniki |
| Hrvatska | +385 1 63 23 338 | Slavonska avenija 3, 10000 Zagreb |
| Ireland | +353 1 40 90 753 | Long Mile Road Dublin 12 |
| Italia | +39 (0) 434 558500 | C.so Lino Zanussi, 26 - 33080 Porcia (PN) |
| Latvija | +37 17 84 59 34 | Kr. Barona iela 130/2, LV-1012, Riga |
| Lithuania | +3702780607 | Žirmūnq 67, LT-09001 Vilnius |
| Luxembourg | +352 42 431 301 | Rue de Bitbourg, 7, L-1273 Hamm |
| Magyarország | +36 1 252 1773 | H-1142 Budapest XIV, Erzsébet királyné útja 87 |
| Nederland | +31 17 24 68 300 | Vennootsweg 1, 2404 CG - Alphen aan den Rijn |
| Norge | +47 81 5 30 222 | Rislokkvn. 2, 0508 Oslo |
| Österreich | +43 18 66 400 | Herzigasse 9, 1230 Wien |
| Polska | +48 22 43 47 300 | ul. Kolejowa 5/7, Warszawa |
| Portugal | +35 12 14 40 39 39 | Quinta da Fonte - Edificio Gonçalves Zarco - 0 35 2774 - 518 Paço dc Arcos |
| Romania | +40 21 451 20 30 | Str. Garii Progresului 2, S4, 040671 RO |
| Schweiz/Suisse/ Svizzera | +41 62 88 99 111 | Industriestrasse 10, CH-5506 Mögenwil |
| Slovenija | +38 61 24 25 731 | Electrolux Ljubljana d.o.o. Gerbičeva 98, 1000 Ljubljana |
| Slovensko | +421 2 43 33 43 22 | Electrolux Slovakia s.r.o., Electrolux Domace spotre- biëe SK, Seberiniho 1, 821 03 Bratislava |
| Suomi | www.electrolux.fi |
| Sverige +46 (0)771 76 76 76 | Electrolux Service, S:t Göransgatan 143, S-105 45 Stockholm |
| Türkiye +90 21 22 93 10 25 | Tarlabası caddesi no : 35 Taksim Istanbul |
| Roccaia +7 495 937 7837 | 129090 Moskva, Олимпийсккий посpenкт, 16, Бц „Олимпik" |
| Уkraine +380 44 586 20 60 | 04074 Ків, Вел.Астороведка, 2a, Бц „Алkon" |
www.aeg-electrolux.fr www.aeg-electrolux.nl www.aeg-electrolux.be www.aeg-electrolux.co.uk
867 200 769-M-091007-01 Subject to change without notice
Sous réserve de modifications
Wijzigingen voorbehonden
SimpelGids