IT 400 - Ketel A.O. Smith - Gratis gebruiksaanwijzing en handleiding
Vind de handleiding van het apparaat gratis IT 400 A.O. Smith in PDF-formaat.
Download de handleiding voor uw Ketel in PDF-formaat gratis! Vind uw handleiding IT 400 - A.O. Smith en neem uw elektronisch apparaat weer in handen. Op deze pagina staan alle documenten die nodig zijn voor het gebruik van uw apparaat. IT 400 van het merk A.O. Smith.
GEBRUIKSAANWIJZING IT 400 A.O. Smith
Installatie-, Gebruikers- en
Servicehandleiding
Deze handleiding bestaatuit3 talen.
1-NL HandleidingIT400t/m1000 5
2-UK Manual IT 400 till 1000 19
3 - FR Notice IT 400 à 1000 35
UK
Lees deze handleiding zorgvuldig
Waarschuwing
Lees deze handleiding zorgvuldig voordat u het toestel in gebruik neemt. Het net lezen van deze handleiding en het Niet opvolgen van de instructies in deze handleiding kan leiden tot ongevallen en schade aan Personen en het toestel.
Alle rechten voorbehonden.
Nietsuit deze uitgave mag worden gekopieerd, verveelvoudigd en/of openbaar gemaakt door middel van druk, fotokopie of op welke andere wijze dan ook, zonder voorafgaande schriftelijktoestemming van A.O. Smith Water Products Company.
A.O. Smith Water Products Company behoudt zich hetrecht voor de specificaties zoals vermeld in deze handleiding te wijzigen.
Handelsmerken
Alle in deze handleiding genoemde merknamen zich geregistreerde handelsmerken van de desbetreffende leveranciers.
Aansprakelijkheid
A.O. Smith Water Products Company is nicht aansprakelijk voor claims van derden veroorzaakt door ondeskundig gebruik anders dan vermeld in deze handleiding en overeekenkomstig de Algemene Voorwaarden gedeponeerd bij de Kamer van Koophandel.
Zie vier de Algemene Voorwaarden. Deze kunt u kostenloos bij ons opvragen.
Hoewel grote zorg is besteed aan het waarborgen van correcte en waar nodig, volledige beschrijving van de relevante onderdelen, kan het voorkomen dat de handleiding fouten en onuidelijkheden bevat.
Mocht u toch fouten of onduidelijkeden in de handleiding ontdekken, dan vermelen wij dat graag van u. Het helpt ons de documentatie verder te verbeteren.
Meer informatie
Indien u opmerkingen of vragen heeft aangaande specifieke onderwerpen die betrekking hebben op het toestel, arzeit u dan Niet contact op te nemen met:
Algemeen: +31 40 294 25 00
Fax: +31 40 294 25 39
E-mail: info@aosmith.nl
Website: www.aosmith.nl
Voor problemen met de aansluitingen op gas,- elektra- en watervoorzieningen kurz u terecht bij de leverancier/installateur van uw installmentie.
1.1 Vloerbelasting 9
1.2 Watersamenstelling 9
1.3 Werkruimte 9
1.4 Algemene gegevens 9
1.5 Afmetingen 10
2 Installatie 11
2.1 Aansluitschema 11
2.2 Wateraansluitingen 11
3 Onderhoud 13
3.1 Onderhoud voorbereiden 13
3.2 Waterzijdig onderhoud 13
4 Garantee 15
4.1 Garantie algemeen 15
4.2 Garantie tank 15
4.3 Voorwaarden installment en gebruik 15
4.4 Uitsluitingen 16
4.5 Omvang garantie 16
4.6 Claims 16
4.7 Verpflichtingen voor A.O. Smith 16
Houd in verband met het gewicht van het toestel rekening met de maximale vloerbelasting, die tabel (1.4 "Algemene gegevens").
1.2 Watersamen-stelling
Het toestel is bedoeld om drinkwater op te warmen. Het drinkwater要去 voldoen aan de regelgeving voor drinkwater voor menselijkke consumptie. In de tabel ziet u een overzicht van de specificaties.
| Watersamenstelling | |
| Hardheid (aardalkali-ionen) | >1,00 mmol/l: • Duitse hardheid >5,6 °dH • Franse hardheid >10,0 °fH • Britse hardheid >7,0 °eH |
| Geleidhaarheid | >125 μS/cm |
| Zuurgraad (pH-waarde) 7,0 < pH-waarde < 9,5 | |
Opmerking
Als van de in de tabel opgegeven specificaties worden afgeweken, dan kan de bescherming van de tank Niet worden gegardeerd (4 "Garantie").
1.3 Werkruimte
In verband met de bereikbaarheid van het toestel worden aanbevolen de volgende afstanden in ache te nemen
- bij de anode aansluitingen: 100 cm.
rondomhettoestel:50cm.
bovenzijde van het toestel: 50 cm
1.4 Algemene gegevens
| Eenheid IT 400 IT 500 IT 600 IT 750 IT 1000 | ||||||
| Inhoud ltr | 385 | 473 | 643 | 725 | 1007 | |
| Ledig gewicht kg | 139 | 180 | 241 | 254 | 336 | |
| Max. werkdruk tank | kPa (bar) | 1000 (10) | 1000 (10) | 1000 (10) | 1000 (10) | 1000 (10) |
| Max. werkdruk warmtewisselaar | kPa (bar) | 1600 (16) | 1600 (16) | 1600 (16) | 1600 (16) | 1600 (16) |
| Max. temperatuur tank | °C | 95 | 95 | 95 | 95 | 95 |
| Max. temperatuur warmtewisselaar | °C | 10 | 10 | 10 | 10 | 10 |
| Anodes | - | 1 | 1 | 1 | 1 | 1 |
| Vermogen warmthewisselaar | kW | 78 | 100 | 104 | 112 | 145 |
| Volumestroom primair 80/60°C | l/h | 3354 | 4300 | 4472 | 4816 | 6235 |
| Drukkerlies | mbar | 244 | 489 | 104 | 128 | 259 |
| Warmte wisseledoppervlak | m² | 2,45 | 3,11 | 3,45 | 3,72 | 4,82 |
1.5 Afmetingen
| Eenheid IT 400 IT 500 IT 600 IT 750 | IT 1000 | ||||||
| A | Totale hoogte | mm | 1705 | 2040 | 1835 | 2030 | 2000 |
| D | Diameter toestel | mm | 720 | 720 | 910 | 910 | 1060 |
| G | Hoogte collector | afvoer | mm | 255 | 255 | 305 | |
| H | Hoogte collector | toevoer | mm | 1010 | 1205 | 1145 | |
| M | Hoogte koudwatertoevoer | mm | 70 | 70 | 85 | 85 | |
| N | Hoogte warmwateruitlaat | mm | 1650 | 1990 | 1795 | 1990 | |
| O | Diameter inspectie | opening | mm | 15 | 15 | 180 | 180 |
| P | Hoogte reinigingsopening | mm | 330 | 330 | 415 | 415 | |
| R | Hoogte top temp. sensor aansluiting | mm | 500 | 500 | 650 | 650 | 700 |
| S | Hoogte circulatie | aansluiting | mm | 1095 | 1290 | 1235 | |
| T | Hoogte bottom temp. sensor/T&P | mm | 1360 | 1700 | 1475 | 1670 | 1600 |
| 1 | Aansluiting koudwatertoevoer | - | R 2 | R 2 | R 2½ | R 2½ | R 2½ |
| 2 | Aansluiting warmwateruitlaat | - | R 2 | R 2 | R 2½ | R 2½ | R 2½ |
| 3 | Aansluiting afvoer warmtewisselaar | - | Rp 1 | Rp 1 | Rp 1 | Rp 1¼ | Rp 1¼ |
| 4 | Aansluiting aanvoer warmtewisselaar | - | Rp 1 | Rp 1 | Rp 1 | Rp 1¼ | Rp 1¼ |
| 7a | Aansluiting top temp. sensor | Rp ¾ | Rp ¾ | Rp ¾ | Rp ¾ | Rp ¾ | |
| 7b | Aansluiting circulatie | - | Rp ¾ | Rp ¾ | Rp ¾ | Rp ¾ | Rp ¾ |
| 7c | Aansluiting bottom temp. sensor/T&P | Rp ¾ | Rp ¾ | Rp ¾ | Rp ¾ | Rp ¾ | |
| 8 | Aansluiting anode | - | Rp 1¼ | Rp 1¼ | Rp 1¼ | Rp 1¼ | Rp 1¼ |

IMD-0272
2 Installatie
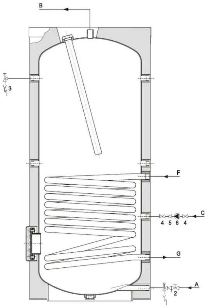
2.1 Aansluitschema De figuur geeft het aansluitschema wee. Dit schema wordt gebruikt in de paragrafen waarin het eigennenlijke aansluiten worden beschreven.
Legenda
- inlaatcombinatie (verplicht)
- T&P-ventiel (aanbevolen)
- afluiiter (aanbevolen)
- terugslagklep (verplicht)
- circulatiepomp (optioneel)
A. koudwatertoevoer
B. warmwaterafvoer
C. circulatieleiding
F. ingangwarmtewisselaar
G. uitgang warmtewisselaar

IMD-0381
2.2 Wateraansluitingen
Waarschuwing
De installmente dient te geschienen door een erkend installeur en overeenkomstig de algemeen enplaatselijke geldende voorschriften
2.2.1 Koudwaterzijdig
Zie (A) in het aansluitschema (2.1 "Aansluitschema").
- Indien de waterleidingdruk meer dan de voorgeschreve (1.4 "Algemene gegevens") druk is,plaats dan een goedgekeurd reduceerventiel (1).
- Plaats koudwaterzijdig een goedgekeurde inlaatcombinatie (2) overeenkomstig de geldende voorschriften.
- Sluit de overstortzijde van de inlaatcombinatie (2) aan op een open waterafvoerleiding.
Let op
Een inlaatcombinatie is verplicht. Monteer deze zo dicht möglichk bij het toestel.
Waarschuwing
Tussen inaatcombinatie en het toestel mag nooit een aflsuieter of terugslagklep geplaatst worden.
2.2.2 Warmwaterzijdig
Zie (B) in het aansluitschema (2.1 "Aansluitschema").
Opmerking
Isolatie van Lange warmwaterleidingen voorkomt onnodig energieverlies.
- Optioneel: monteer een temperatuurmeter ter controle van de temperatuur van het tapwater.
- Aanbevolen: monteer het T&P-ventiel (3).
- Monteer een afsluiter (11) in de warmwaterleiding ten behoeve van servicedoeleinden.
- Is een circulatieleiding nodig, ga dan verder met het monteren van de circulatieleiding (2.2.3 "Circulatieleiding"). Zo Niet, monteer dan de bij de aftapkraan geleverde afdichtmoer met pakking.
2.2.3 Circulatieleiding
Zie (C) in het aansluitschema (2.1 "Aansluitschema").
Indien men direct warm water ter beschikking wil hebben bij tappunten kan een circulatiepomp geinstalleerd worden. Dit verhoegt het comfort en voorkomt waterverspilling.
- Monteer een circulatiepomp (6) met een capacititeit overeenkomend met de grootte en waarstand van het circulatiesystem.
- Monteer een terugslagklep (5) na de circulatiepomp om de circulatierichting te garanderen.
- Monteer voor servicedoeleinden twee aftsluiters (4).
- Sluit de circulatieleiding aan volgens het aansluitschema (2.1 "Aansluitschema").
3 Onderhoud
Let op
Onderhoud mag alleen door een erkend service- en onderhoudsmonteur worden uitgevoerd.
Bij elke onderhoudsbeurt dient de boiler waterzijdig onderhonden te worden. Het onderhoud dient in de volgende volgorde te worden uitgevoerd.
- Onderhoud voorbereiden
- Waterzijdig onderhoud
- Onderhoud afronden
Opmerking
Voor het bestellen van reserve-onderdelen is het van belang het toesteltype, toestelmodel en het volledige serialummer van de boiler te noteren. Deze gegevens vindt u op het typeplaatje. Aan de hand van deze informatatie konnen gegevens van reserveonderdelen vastgesteld worden.
3.1 Onderhoud voorbereiden
De voorbereiding van het onderhoud bestaat uit het testen en controlleren van enkele componenten en deze bestaat uit de volgende stappen:
- Test de werkung van het overstort ventiel van de inlaatcombinatie. Het water dient met een volle straaluit te stromen.
- Controller de afvoerleidingen van de overstortventielen en verwijder aanwezigekalkresten.
- Tap het toestel af.
3.2 Waterzijdig onderhoud
Het waterzijdig onderhoud bestaat uit het ontkalken en reinigen van de tank en het controleren van de anodes.
3.2.1 Ontkalken en reinigen tank
Ketelsteen- en kalkaanslag verhinderen een goede geleiding van de warmteaar het water. Periodiek reinigen en ontkalken voorkomt vorming van deze aanslag. Hierdoor wordt de levensduur van het toestel verlngd en bovendien het verwarmingsproces bevorderd.
Bij befaling van de onderhoudsfrequentieClientrekening gehouden te worden met de slelheid van de kalkvorming. Kalkvorming is afhankelijk van deplaatselijke watergesteldheid, het waterverbruik en de ingestelde watertemperatuur. Om overmatige kalkaanslag te voorkomen wordt een temperatuurinstelling van maximaal 60^ aanbevolen.
Om een goede en waterdichte aflsuiting van een reinigingsopening te waarborgen要去en de pakking, sluitringen, bouteen en eventueel de deksel na opening vernieuwd worden. Bij de leverancier/fabrikant zijn hiervoor reserve-onderdelen voor te verkrijgen.
Voor het eenvoudig ontkalken en reinigen van de tank is de boiler uitgerust met een reinigingsopening.
Werkvolgorde:
- Draai de bouten van de reiningsopening los.
- Verwijder de deksel en de pakking.
- Inspector de tank en verwijder de losse kalkaanslag en verontreinigingen.
- Indien de kalkaanslag Niet handmatig verwijderd kan worden, dient ontkalkt te worden met een ontkalkingmiddel. Neem contact op met de leverancier/fabrikant voor een advies over het te gebruiken ontkalkingmiddel.
- Sluit de reinigingsopening. Om beschadiging van de tank te voorkomen dieren de bouteen aangedraaid te worden met een moment van maximaal 50 Nm. Gebruik hiervoor geschikt gereedschap.
3.2.2 Controle anodes
Anodes zorgen voor de bescherming van de tank door zich zich op te offeren. Wanner er onvoldoende anode materiaal over is kan dit leiden tot een slechte bescherming van de tank en dat kan waar leiden tot lekkage van de tank.
- Draai de anodes los.
- Controller de diameter van de anode op verschillende plekken op de anode. Deze mag minimaal 60% van de originele diameter bedragen.
- Indien de diameter van de anodes Niet voldoet aan deze criteria dienen deze verrangen te worden. Neem contact op met de leverancier/fabrikant voor het bestellen van neue anodes.
- Monteer de (nieuwe) anodes.
4 Garantie
4.1 Garantie algemeen
Indien binnen eenJAar na de oorspronkelijke installmentdatum van een door A.O. Smith geleverde boiler, na onderzoek en teruitsuitende beoordeling van A.O. Smith, blijkt dat een deel of onderdeel, met uitzondering van de tank, Niet of nicht juist functioneert ten gevolge van fabricage- en/of materiaalfouten, za A.O. Smith dit deel of onderdeel verrangen of repareren.
4.2 Garantie tank
Indien binnen drieJAar na de oorspronkelijke installatiedatum van een door A.O. Smith geleverde boiler, na onderzoek en ter uitsluitende beoordeling van A.O. Smith, blikt dat de stalen glasslined tank lekt ten gevolge van roest of corrosie vanuit de waterzijdige kant, za A.O. Smith een volledig neue boiler van gelijkwaardige grootte en kwaliteit ter beschikking stellen. Op het ter verranging beschikbaar gestelde boiler zal een garantie gegeven worden voor de duur van de resterende garantieperiode van de oorspronkelijk geleverde boiler. In afwijking van het in article 2 bepaalde geldt, dat de garantieduur worden teruggebracht tot eenJAar na de oorspronkelijke installatiedatum indien ongefiltreerd of onthard water door de boiler stroomt of daarin achechterblift.
4.3 Voorwaarden installmente en gebruik
De in article 1 en 2 bedoelde garantie geldt uitsluitend indien aan de volgende voorwaarden is voldaan:
a. De boiler is geinstalleerd met inachtneming van zowel de installmentevoorschriften van A.O. Smith geldend voor het specifieke model, als deplaatselijk geldende installmenten bouwverordingen, voorschriften en regelingen van overheidswege.
b. De boiler blijft geinstalleerd op de oorspronkelijke installmenteplaats
c. Er wordenuitsuiitend drinkwater gebrukt, dat te allen tijde vrij kan circuleren (voor verwarming van zout of corrosief water is een afzonderlijk geinstalleerde warmtewisselaar verplicht).
d. De tank is door middel van periodiek onderhoud gezrijwaard van schadelijke ketelsteen-en kalkaanslag.
e. De Boilerwaturtemperaturesn zich Niet hoger dan de maximale voorgeschreven temperatuur.
f. De waterdruk en/of warmtebelasting Niet groter is dan de maxima aangegeven op de typeplaat van de boiler.
g. De boiler is geplaatst in een Niet-corrosieve atmosefer of omgeving.
h. De boiler is voorzien van een door de daartoe bevoegde instantie goedgekeurde inlaatcombinatie van voldoende capaciteit, Niet groter dan de werkdruk als aangegeven op de boiler en eventuele ook van een door de daartoe bevoegde instantie goedgekeurde temperatuur- en drukontlastklep, die gemonteerd is overeenkomstig de installmentevoorschriften van A.O. Smith die van toepassing+zijn op het specifieke model boiler en voorts met inachtneming van deplaatselijke voorschriften, verordenen en regelingen van overheidswege.
i. De boiler要去 allen tijden voorzijn waar van kathodische bescherming. Indien hiervoor opofferingsanodes waar toegepast moeten deze worden verrangen en vernieuwd indien en zodra ze voor 60% ofeer verbruikt waar. Bij toepassing van elektrische anodes要去 men ervoor zorgen dat deze continu functioneel waar.
4.4 Uitsluitingen
De in articel 1 en 2 bedoelde garantie geldt nicht:
a. indien de boiler door een van buiten komende oorzaak is beschadigd;
b. in geval van misbruik, verwaarlozing (met inbegrip van bevriezing), verandering, onjuist en/of afwijkend gebruik van de boiler en wonneer gespoogd is lekken te repareren;
c. indien verontreinigungen of andere deeltjes de tank in hebben kunnen stromen;
d. indien de geleidbaarheid van het water minder is dan 125~ S / cm en/of de hardheid (aardalkali-jonen) van het water minder is dan 1,00 mmol/lt;
e. indien ongefilterd, gerecircularerd water door de boiler stroomt of in de boiler opgeslagen wordt;
f. indien gepoogd is zich een defecte boiler te repareren.
De verplichtingen van A.O. Smith krachtens de gegeven garantie gaat Niet verder dan kosteloze levering af magazijn van de te verrangen delen of onderdelen respectievelijk boiler. vervoers-, arbeids-, installment- en andere met de verwangng verband houdende kosten komen Niet voor rekening van A.O. Smith.
4.6 Claims
Een claim gebaseerd op de gegeven garantie moet worden gedeponeerd bij de handelaar bij wie de boiler is gekocht of bij een andere handelaar die de producten van A.O. Smith Water Products Company verkoopt. Het onderzoek van de boiler bedoeld in de artikelen 1 en 2 zaplaatsvinden in een laboratorium van A.O. Smith.
4.7 Verplichtingen voor A.O. Smith
A.O. Smith is krachtens de gegeven garantie of anderszins Niet aansprakelijk voor schade aan personen of zaken,veroorzaakt door (delen of onderdelen, respectievelijk de stalen glasslined tank van) een door haar (ter verranging) geleverde boiler.
SimpelGids