CUBIA ACTIVE - Waterverwarmer FABER - Gratis gebruiksaanwijzing en handleiding
Vind de handleiding van het apparaat gratis CUBIA ACTIVE FABER in PDF-formaat.
Download de handleiding voor uw Waterverwarmer in PDF-formaat gratis! Vind uw handleiding CUBIA ACTIVE - FABER en neem uw elektronisch apparaat weer in handen. Op deze pagina staan alle documenten die nodig zijn voor het gebruik van uw apparaat. CUBIA ACTIVE van het merk FABER.
GEBRUIKSAANWIJZING CUBIA ACTIVE FABER
Lees voor uw eigen verilgheid en voor een correcte werkung van het apparaat eerst deze handleiding aandachtig door, alvorens het apparaat te installeren en te gebruiken. Bewaar deze instructies algijd bij het apparaat, ook wonneer u het verkoopt of overdraagt aan derden. Gebruikers要去en volledig op de hoogte� zijn van de werkung en de verilgheidsfuncties van het apparaat.

De kabels要去en door een ervaren monteur worden aangesloten.
- De fabrikant is Niet aansprakelijk voor eventuele schade als gevolg van een onjuiste installmentie of oneigenlijk gebruik.
- De minimale veiligheidsafstand:tussen de kookplaat en de afzuigkap is 650 mm (sommige modellen konnen op een Kleinere afstand worden geinstalleerd; zie de paragraaf over de werkafmetingen en de installment).
- Als de installmentievoorschriften van de gaskookplaat bepalen dat een grotere afstand in acht要去 worden genommen dan hierboven is aangegeven, dan要去aar reckening mee worden gehonden.
- Controller of de netspanning overeenstemt met de spanning die op het typeplaatje aan de binnenkant van de afzuigkap staat vermeld.
- Er要去en lastscheiders in de vaste installment worden geinstalleerd in overeenstemming met de normen over bedrangssystemen.
- Controller voor apparaten van klassle I of het elektriciteitsnet in uw woning over een goede aardig beschikt.
- Sluit de afzuigkap op het rookkanaal aan met een pijp met een minimale diameter van 120mm . De rook要去 een zo kort möglichk traject afleggen.
Alle regels voor de luchtafvoer要去en in acheit worden genomen. -
Sluit de afzuigkap Niet op rookkanalen aan die verbrandingsgassen afvoeren (bijv. van verwarmingsketels, open haarden, enz.).
-
Als de afzuigkap in combinatie met Niet-elektrische apparaten worden gebrukt (bijv. gasapparaten),要去 het vertrek voldoende geventileerd+zijn om te voorkomen dat de uitgestoten gassen terugstromen. Wanner de afzuigkap in combinatie met Niet-elektrische apparaten worden gebrukt, mag de onderdruk in het vertrek Niet groter+zijn dan 0,04 mbar om te voorkomen dat de damp opnieuw door de afzuigkap in het vertrek gezogen worden.
- De lucht mag nicht worden afgevoerd door een kanaal dat worden gebrukt voor de rookgasafvoer door apparaten op gas of andere brandstoffen.
- Een beschadigde voedingskabel要去 door de fabrikant of door een monteur van de technische servicedienst worden verrangen.
- Sluit de stekker op een toegankelijk stopcontact aan dat voldoet aan de geldende normen.
- Met betrekking tot de technische en veiligheidsmaatregelen voor de rookgasafvoer is het belangrijk dat de regels die door de lokale autoriteiten zijn bepaald nauwgezet worden opgevolgd.
WAARSCHUWING: verwijder de beschemfolie alvorens de afzuigkap te installereren.
- Gebruik alleen schroeven enkleine onderdelen die geschikt zijn voor de afzuigkap.
WAARSCHUWING: indien de schroeven of bevestigingsystemen nicht volgens\
deze aanwijzingen worden geinstalleerd, bestaat het gevaar voor elektrische\
schokken.
- Niet direct met optische instrumenten (verrekijker, vergrootglas...) waamemen.
Er mag nicht onder de afzuigkap geflambeerd worden: brandgevaar.
- Het apparaat mag worden gebruikt door kinderen ouder dan 8aar en door personen met een lichamelijke, zintuiglijke of geestelijkbeperking of met onvoldoende ervaring en kennis, mits ze onder toezicht staan en goed geinstrueerd zich over een veilig gebruik van het apparaat en de bevaren die ermee samenhagen. Zorg ervoor dat kinderen Niet met het apparaat spelen. Reiniging en onderhoud door de gebruiker mogen Niet door kinderen worden uitgevoerd, tenzij ze onder toezicht staan.
- Kinderen要去en worden gecontrolerd om er zeker van teল het apparaat spelen.
- Het apparaat mag nicht gebruikt worden door Personen (waaronder kinderen) met geestelijkke, lichamelijke of zintuiglijke beperkingen, of door Personen zonder ervaring en kennis, tenzij ze onder toezicht staan of worden geinstrueerd over het gebruik van het apparaat.
Tijdens het gebruik van de kooktoestellen+knen de toegankelijke delen erg heet worden. - Reinig en/of vervoing de filters na de aangegeven tijdsperiode (brandgevaar). Zie de paragraaf Onderhoud en reiniging.
- De ruimte要去 voldoende geventileerd zijn als de afzuigkap tegelijk met apparaten op gas of andere brandstoffen worden gezruikt (niet van toepassing op apparaten die alleen lucht in de ruimte blazen).
- Het symbolism op het product of op de verpakking wijst erop dat dit product Niet als huishoudafval mag worden behandeld. Het要去ECHTER waar een speciaal verzamelcentrum worden gebracht waar elektrische en elektronische apparatuur worden gerecycled. Als uervoort zorgt dat dit product op de correcte manier worden verwijderd, voorkomt u mogelijk voor mens en milieu negatieve gevolgen die zich zouden+kennen voordoen in geval van verkeerde afvalbehandeling. Neem vooreer details over het recylen van dit product contact op met uw gemeente, deplaatsijke vuilophaaldienst of de winkel waar u het product hebt gekocht.
Buitenafmetingen


Onderdelen
| Ref. | Aantal | Productonderdelen |
| 1 | 1 | Volledige wasemkap: Bedieningspaneel, Verlichting, Afzuiggroep, Filters, Onderstuk Schouw |
| 7 | 1 | PVC buis (reeds gemonteerd) |
| 8 | 1 | Richtingrooster ø125 (reeds gemonteerd) |
| 9 | 1 | Reductieflens ø 150-120 mm (reeds gemonteerd) |
| 10 | 1 | Stop |
| Ref. | Aantal | Onderdelen voor de Installatie |
| 11a | 2 | Pluggen SB 12/10 |
| Aantal | Documentatie | |
| 1 | Gebruiksaanwijzing | |

Boren van gaten in de wand
Indien U de wasemkap wenst te installereren in afzuigversie en de luchtafvoerbuis aan dechterkant wilplaatsen, moet U het gat voor de luchtafvoer makeen zoals worden aangegeven in de volgende afbeelding.
| Type Wasemkap | 45 | 60 | 90 |
| X | 180 | 240 | 390 |

Als U de wasemkap in filterversie wenst te installereren, moet U:tussen de wasemkap en de bovenlimiet (het plafond of de plank) een afstand vrijhonden van minstens 8-10 cm.
Trek de volgende lijnen op de wand:
- een verticale luiot aan het plafond of tot aan de bovenlimiet, in het midden van de zone waar U de wasemkap wenst te installereren;
- een horizontallyijkstaat;
- Teken, zoals aangegeven, een referentiepunt af op 808mm boven deze horizontally lijn, en op X mm (X = zich tabel afbeelding) rechts van de verticale lijn.
- Herhaal deze handeling ook aan de tegenovergestelde kant en controllerer of de twee punten op eenzelfde lijn liggen.
- Boor op de afgetekende punten gaten van 12mm
-
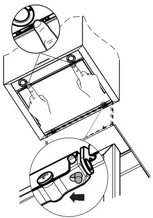
Plaats de pluggen samen met de schroeven en de bevestigingsbeugel 11a in de gaten en schroef alles goed aan.
-
Schroef de twee schroeven Vr van de bevestigingsbeugels 11a gedeelrijk vast.
Haak de wasemkap over de 2 bevestigingsbeugels 11a. - Open het Confort Pannel door eraan te trekken, verwijder de filters een voor een door ze waar achefteren te duwen en ze geluktijdig maar beneden te trekken.
- Haal langs de binnenkant van de wasemkap de schroeven Vr aan om zo de wasemkap op een gelijke hoogte te brengen.

Aansluitingen
LUCHTUITLAAT AFZUIGVERSIE
Als U de wasemkap wenst te installereren in afzuiqversie, dan dient U de kap te verbinden met de uitlaat maar buiten toe door middel van een starre of flexibele buis met een diameter van 150 of 120~mm , dit LASTe maar keuze van de installmenteur. Deze buis kan zowel bovenaan als achteraan de wasemkap geplaatst worden.
Vooraleer U begsit aan de aansluitingen voor de afzuiqversie moet U, indien dat nog Niet gebeurd is, het richtingrooster 8 en de PVC buis 7 verwijdenen. De reductieflens 9 dient alleen verwijderd te worden als U een verbindingbuis gebruikt met een diameter van 150~mm
UITLAAT BOVENAAN
- Vergeet Niet dat voor het boren van het gat voor de uitlaat U het schema要去 volgen dat opgegeven is in de paragraaf "Boren van gaten in de wand".
- Maak het gat voor de luchtuiitlaat aan dechterkant vrij met behulp van een tang.
- Als U de wasemkap wenst te verbinden met een buis met een diameter van 120mm , dan要去 U eerst de reductieflens 9 op de uitlaat van de wasemkapplaatsen.
- Zet de buis vast met de geschikte leidingklemmen. Het nodsige material is nicht bijgeleverd.
- Verwijder de eventuele geurfilters met actieve koolstof.
- Bevestig de stop 10 op de uitlaat bovenaan de wasemkap met behulp van de bijgeleverde schroeven.
UITLAAT ACHTERAAN
- Als U de wasemkap wenst te verbinden met een buis met een diameter van 120mm , dan要去 U eerst de reductieflens 9 op de uitlaat van de wasemkapplaatsen.
- Verwijder het middelste gedeelte van de stop 10 met behulp van een tang en bevestig de stop op de uitlaat bovenaan de wasemkap en dit met behulp van de bijgeleverde schroeven.
- Zet de buis vast met de geschichte leidingklemmen. Het nodige material is nicht bijgeleverd.
- Verwijder de eventuele geurfilters met actieve koolstof.



LUCHTUITLAAT FILTERVERSIONS
- Indien de gemonteerde onderdelen voor de filterversie verwijderd着眼, dient U deze eerst terug teplaatsen.
- Plaats de PVC buis 7 op de flens.
- Schroef het richtingrooster 8 opnieuw op de luchtuieltaat, en zorg ervoor dat het rooster correct op de buis staat.
- Controller of de geurfilters met actieve koolstof aanwezig়.

- Sluit de wasemkap aan op de netspanning met een tweepolige schakelaar ertussen met een opening zusammen de contacten van tenminste 3mm .
- Verwijder de vetfilters (zie par. "Onderhoud") en verzeker uervaan dat de stekker van de voedingskabel goed in de contactdoos van de afzuigkap is gestoken.










Bedieningspaneel
| Toets | Functie | Display |
| A | Schakelt de eerste snelheid van de zuigmotor in en uit. | Toont de ingestelde snelheid |
| B | Verlaagt de bedrijfsnelheid. | Toont de ingestelde snelheid |
| C | Verhoogt de bedrijfsnelheid. | Toont de ingestelde snelheid |
| D | Activeert de hoge snelheid vanuit elke snelheidsstand, ook vanuit de uitgeschakelde stand van de motor. Deze snelheid wordt 6 minuten aangehouden en daarna keert het systemer terug maar de erder ingestelde snelheid. Geschikt voor het opvangen van de maximale uitsoot van kookdampen. | Toont een maal per seconde afwisselend HI en de overigeijd. |
| Als de toets ongeveer 5 seconden ingedrukt worden gehouden als alle belastingen (motor+lamp) uitzeschakeldijken, dan wordt het alarm van de achieve koolstoffilters in- of uitzeschakeld. | FC+Punt (2 maal knipperen)-Alarm aan.FC+Punt (1 maal knipperen)-Alarm uit. | |
| E | 24H-functieSchakelt de eerste snelheid van de motor in en stelt de afzuiging elk uur 10 minuten in werkung. | Toont 24 en het stipje rechtsonder knippert eenmaal per seconde tijdens de werkung van de motor.Deze functie worden uitzeschakeld met een druk op de toets. |
| Als tijdens het filteralarm ongeveer 3 Seconden op deze toets worden gedrukt, wordt het alarm geset. Deze signaleringen+zijn alleen zichtaar als de motor uitsaat. | FF knippert drie maal.Na de procedure gaat de erder getoonde signalering uit:FG signaleert dat de metalen vetfilters moeten worden gewassen. Het alarm wordt na 100 bedrijsuren van de afzuigkap ingeschakeld.FC signaleert dat de actieve koolstoffilters moeten worden verwangen en dat ook de metalen vetfilters moeten worden gewassen. Het alarm worden na 200 bedrijsuren van de afzuigkap ingeschakeld. | |
| F | Delay-functieActiveert de automatische uitschakeling met een vertraging van 30'. Geschikt om restgeurjtes te verwijdenen. Kan vanuit elke stand worden geactiveerd, wordt uitzeschakeld door op de toets te dokken of door de motor uit te schaken. | Toont de bedrijfsnelheid en het stipje rechtsonder knippert eenmaal per seconde. |
| Als de toets ongeveer 5 Seconden ingedrukt worden gehouden als alle belastingen (motor+lamp) uitzeschakeldijken, dan wordt de afstandsbediening in- of uitzeschakeld. | IR+Punt (2 maal knipperen)-Alarm aan.IR+Punt (1 maal knipperen)-Alarm uit. | |
| G | Schakelt de verlichtingsinstallatie op de hoogste lichtsterkte in en uit. | |
| H | Schakelt de verlichtingsinstallatie in de modus 'sfeerverlichting' in en uit. |
Dit apparaat kan worden bediend met een afstandsbediening, gevoed met een 3 V CR2032-batterij (niet inbegren).
- Plaats de afstandsbedieling Niet in de buurt van wamtebronnen.
- Laat de batterijen Niet in het milieu terechtkomen. Worp ze in waarvoor bestemde containers.

Reiniging van de Confort Panels
- Trek het Confort Panel open.
- Haak het paneel los van de waseMKap door de hefboom van de bevestigingspen te verschuiven.
- Het comport panel mag absolutiert in de vaatwasmachine.
- Maak het paneel aan de buitenkant schoon met een vochtige doek en een neutraal reinigingsmiddel.
- Maak ook de binnenkant van het paneel schoon met behulp van een vochtige doeok en een neutraal reinigingsmiddel; gebruik geenatie doeken of sponzen, en evenmin waterstralen; gebruik geen schuurmiddelen.
- Bevestig het paneel na afloop van de reiniging aan de wasemkap en sluit het door de knop ten opzichte van de opening in tegengestelde richting te draaien.

Metalen vetfilters
De vetfilters können in de vaatwasser worden gewassen. Dit要去 gebeuren als FG op het display verschijnt of in elk geval ongeveer om de 2 maanden of vaker bij veelvuldig gelebruik.
Reset van het alarmsignaal
- Schakel de verlichting en de zuigmotoruit, enzet daarna de 24h-functieuit, alsdeze is ingeschakeld.
- Druk op de toets E (zie de paragraaf 'Gebruik').
Reinigen van de filters
- Open de Confort Panels door aan de groef te trekken.
- Verwijder de filters een voor een door zeaar de achterkant van de unit te duwen en tegelijkkertijd maar beneden te trekken.
- Was de filters zonder ze te buigen en LAST ze drogen alvorens ze wee ter monteren. (Een eventuele kleurverandering van het filteroppervlak die zich in de loop van deijd kan voordoen heeft geen nadelige gevolgen voor de efficientre van het filter.)
- Monteer de filters waar en houd de handgreep waar bijaar het zichtbare deel aan de buitenkant.
- Sluit de Confort Panels weir.

Dit filter is nicht afwasbaar en nicht regenereerbaar en moet worden verwangen wanner FC op het display verschijnt of in elk geval om de 4 maanden. Het alarm, mits vooraf geactiveerd, worden alleen gesignaleerd als de zuigmotor ingeschakeld is.
Activering van het alarmsignaal
- Bij afzuigkappen met luchtcirculatie要去 het alarmsgnaal ten teken dat de filters verzadigd着眼 geactiveerd worden op het moment van de installmente of daarna.
- Schakel de lampen en de zuigmotor uit.
-
Druk ongeveer 5 seconden op de toets D:
-
de melding FC+Puntje -- knippert 2 maal. Alarm verzadiging filter met actieve koolstof AAN.
- de melding FC+Puntje -- knippert 1 maal. Alarm verzadiging filter met actieve koolstof UIT.
VERVANGEN VAN HET GEURFILTER MET ACTIEVE KOOLSTOF
Reset van het alarmsignaal
- Schakel de verlichting en de zuigmotor uit, en zet daarna de 24h-functie uit, als deutsche is ingeschakeld.
- Druk op de toets E (zie de paragraaf 'Gebruik').
Vervangen van het filter
- Open de Comfort Panels door aan de groef te trekken.
- Verwijder de metalen vetfilters.
- Verwijder het verzadigde geurfilter met actieve koolstof met behulp van de haken.
- Monteer het neue filter in zijn behuizing.
- Monteer de metalen vetfilters weir.
- Sluit de Comfort Panels weir.


Verlichting
- Neem voor de verranging contact op met de klantenservice ('Wend u voor de aankoop tot de klantenservice').

B ueJx co6CTBeHHo 6e3OpachOCTn I dI pyPABINbHO pa6Otbl npi6bopa peKOMeHdyETcR BHNMaTeJIbHO pIOuHTaTb pyKOBoDCTBO, IpEKeJe cHm PnCTyNaTb K erO yCTaHOBKe I BvOBy B DeICTBNe. XpaHIne pyKOBoDCTBO BCerDa BMeCTe C npi6bopom TAKKe B cIpyae nepeDaun erO TpeTbIM IInzam. 3HaHne POJb3OBaTeJIaMn BCEX napAmetpOB pa6Otbl I 6e3OpachOCTn npi6bopa ImeET BoJIbUoe 3HaueHne.

aannnnn aal aan annn ananen
Jauuuaa
Ji. gji jisjiksjilg jie jiegee jidai (j)
j 1 j 1 j 1 j 1 j 1 j 1 j 1 j 1 j 1 j 1 j 1 j 1 j 1 j 1 j 1 j 1 j 1 j 1 j 1 j 1 j 1 j 1 j 1 j 1 j 1 j 1 j 1 j 1 j 1 j 1
jillllllgl
.

SimpelGids