CUBIA ACTIVE - Veeboiler FABER - Tasuta kasutusjuhend
Leidke seadme juhend tasuta CUBIA ACTIVE FABER PDF-formaadis.
Laadige alla juhend oma Veeboiler PDF-formaadis tasuta! Leidke oma juhend CUBIA ACTIVE - FABER ja võtke oma elektrooniline seade uuesti kätte. Sellel lehel on avaldatud kõik teie seadme kasutamiseks vajalikud dokumendid. CUBIA ACTIVE kaubamärgi FABER.
KASUTUSJUHEND CUBIA ACTIVE FABER
Teie ohutuse ja seadme Óige töö tagamiseks lugege käesolev käsiraamat enne paigaldamist ja kasutamist hoolikalt LABi. Hoidke need juhised alati seadme juures, isegi kui te seda liigunate või selle edasi muüte. Kasutajad peavad täielikult tundma seadme kasutamist ja salle ohutusfunktsioone.

Juhtme ühendamise peab teostama spetsialiseerunud tehnik.
- Tootja ei vastuta mingite kahjustuste eest, mille põhjuseks on ebaõige paigaldamine.
- Minimaalne ohutu vahemaa plidi pinna ja pliidikummi vahel on 650 mm (möned mudelid on paigaldatavad madalamale, palun vaadake toömoötmete ja paigaldamise lõike).
- Kui gaasiplidi paigaldusjuhised märaravad suurema vahemaa, tuleb sellest kinni pidada.
- Veenduge, et vooluvörgu pinge vastaks pliidikummi sisse kinnitatud andmeplaadil toodule.
- Fikseeritud juhtmestik peab sisaldama lahti ühendamise meetmeid vastavalt elektritöde eeskirjadele.
- I klassi seadmete puhul veenduge, et majapidamistoide garanteriks adekvaatse maanduse.
- Ühendage pliidikumm tombelööriga vahemalt 120 mm lübimöduga toru abi. Tee lõörini peab olema voimalikult lühike.
- Täidetud peavad olema öhu valjutamisega seotud maärused.
-
Arge ühendage pliidikummi põlemisaurusid (boilerid, kaminad jne) kandvate tõmbelõöridega.
-
Kui pliidikummi kasutatakse koos mitte-elektriliste seadmetega (nt gaasiplidid), tulebheitgaaside tagasivoolamise vältimiseks tagada ruumis piisav öhuvahetus. Pliidikummi kasutamisel koos seadmetega, mille energiaallikaks ei ole elekter, ei tohi ruumi negatiivne rohk ületada 0,04 mbar, et vältna aurude tagasi tombamist ruumi pliidikummi poolt.
- Ohku ei tohi valjutada lõör, mida kasutatakse gaasi või teisi kütuseid põletavate seadmete suitsu vãjalaskena.
- Kui toitekaabel on kahjustatud, tuleb see asendada tootjalt voi selle hooldusesindajalt saadaval oleva kaabliga.
- Ühendage pistik kehtivatele märarustele vastavasse ligipäätasetavas kohas asuvasse pistikupessa.
Seoses suitsu väljutamiseks kasutusele vōetavate tehniliste ja ohutusmeetmetega on tähtis t⁺pset järgida kohlike ametkondande väljastatud märäusi.
HOIATUS: Eemaldage enne plidikummi paigaldamist kaitsekiled.
- Kasutage pliidikummi toetamiseks ainult kruvisid ja väikesi osi.
HOIATUS: Kruvide või kinnitusseadme mitte vastavlt nendele juhistele paigaldamine võib põhjustada elektriohtusid.
- Arge vaadake optiliste seadmete (binoklid, suurendusklaasid...) abil otse valgusesse.
- Arge pliidikummi all flambeerige - tuleoht.
- 8-aastased ja vanemad lapsed ning isikud, kellel on piiratud füusilised, sensoorsed või vaimsed võimed või kellel puuduvad kogemused ja teadmised seadme kasutamise kohta, võivad seda seadet kasutada, kui neid jälgitakse või juhendatakse seadme ohutul kasutamisel ning nad moistavad Sellega seotud ohtusid. Lapsed ei tohi seadmega mängida. Puhastamist ja kasutajapoolset hooldust ei tohi teostada järevalveta lapsed.
Jalgige lapsi ja veenduge, et nad ei mangiks seadmega.
Seade ei ole ette nähtud kasutamiseks isikute poolt (sh lapsed), kellel on vahrenenud füusilised voi sensoorsed voimed voi kellel puuduvad kogemused ja teadmised masina kasutamiseks, v.a. juhul, kui nende üle teostatakse jarevalvet voi neid juhendatakse.
Ligipäasetavad osad vöivad koos toiduvalmistusseadmetega kasutamisel kuumaks minna.
- Määratud perioodi möödumisel puhastage või vahetage filtrid (tuleoht). Vt lõiku Hooldus ja puhastamine.
- Pliidikummi kasutamisel samaaegselt gaasi voi teisi kutuseid põletavate seadmetega peab olema tagatud ruumi piisav ventilatsioon (ei rakendu seadmetele, mis väljutavad òhu ainult tagasi ruumi).
symbol toote voi selle pakendi peal tahendab seda, et antud toodet ei saa kasi tleda olmeprugina. Selle asemel tuleb see anda üle elektrilise ja elektronilise varustuse jaatmete umbertootlemisega tegelevale asutusele. Toote ige korvaldamise tagamisega aitate te ara hoida voimalikke negatiivseid tagajargi keskkonnale ja inimesti tervisele, mis voib vastasel juhul tekkida selle toote vale kasi tlemise kaiigus. Tapsemat tevet selle toote umbertootlemise kohta saate te omalinnakantseleist, olmejaatmete korvaldamise teenistusest voi poest, kust te selle toote ostsite.


Komponendid
| Viide | Kogus | Toote komponendid |
| 1 | 1 | Pliidikummi korpus koos järgmisega: juhikud, valgustid, imiseade, filtrid, alumine toru |
| 7 | 1 | PVC toru (paigaldatud) |
| 8 | 1 | Kallutatav vöre (paigaldatud) |
| 9 | 1 | Sürdmikäärik ø 150-120 mm |
| 10 | 1 | Metallkate |
Viide Kogus Kooste komponendid
| 11a 2 SB 12/10 tüblid |
| Kogus Dokumentatsionen |
| 1 Kasutusjuhised |

Seina puurimine
Kui te soovite kasutada pliidikummi imemisversioonis ohu valjundiga pliidikummi tagakuljel, jargige alljargneva joonise juhiseid ohu valjundiava ogeks puurimisesk.
| Pliidikummi tüpp | 45 | 60 | 90 |
| X | 180 | 240 | 390 |

Pliidikummi retsikuleeriva verssooni paigaldamisel tuleb arvestada, et plidikummi ja ülemise piiraja (lagi voi riu1) vahel peab olema vahemalt 8-10 cm vaba ruumi.
Joonistageseinale:
- Vertikaalne joon lae või ülemise piirajani, pliidikummi tulevase asukoha keskele;
- Horisontaalne joon: 550~mm üle pliidiplaadi;
- Märkige, nagu näidatud, viitepunkt 808 mm horisontaalsest viitejoonest körgemale ja X mm (X=vaadake tabelist) vertikaalsest viitejoonest paremale.
- Korrake seda teisel küljel, kontrollides taset.
- Puurige märgitud punkte 12 mm puuriga.
-
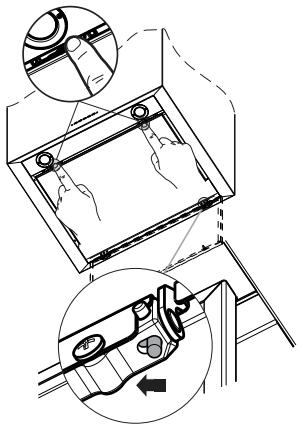
Paigaldage tüülid, kruvid ja toed 11a aukudesse ning pingutage need.
-
Reguleerige klambrite 11a kaks kruvi Vr need lihtsalt kohale asetades.
Riputage pliidikummi korpus kahele klambrile 11a. - Tömmake paneeli selle avamiseks, eemaldage filtrid ükshaaval, vajutage neid seadme tagaosa suunas ning tömmake neid samal ajal alla.
- Korpuse loodi viimiseks pinguldage pliidikummi korpuse seest kruvisid Vr

Uhendus
ÖHUVALJUND TORUSTIKUGA PLIIDUKUMMI VERSIONONIS
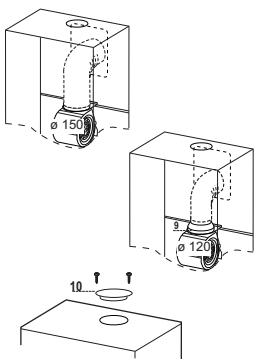
Torustikuga pliidikummi paigaldamisel, paigaldaja valikul, kasutatakse jäika vōi painuvat 0 150 vōi 120 mm toru, et ihendada pliidikumm ōhuväljundi torustikuga. Toruühenduse saab teha pliidikummi ülaosale vōi tagaküljele.
Enne plidiikummi huvaljundi torustikuga hendamist eemaldage kulgmine huvaljundi vore 8 ja plastmastoru 7. Kohandav arik 9 tuleb eemaldada ainult juhul, kui uhendusdiameteer on 150.
TAGUMINE OHUVÄLJUND
- Ohuväljundi puurimisel seina sisse, tuleb järgida seina puurimise osas toodud jounist.
- Kasutage tagumise ohuvaljundiava seina murdmiseks tange.
- Kui ühendus tehakse 120 mm toru abi,paigaldage siirdmikäärik 9 plidiikummi korpuse väljundile.
- Kinnitage toru piisava koguse toruklambritega. Neid ei ole lisatud pliidikummi komplektile.
- Eemaldage aktiivsoeffilter, kui see on olemas.
- Kinnitage metallkate 10 kaasasolevate kruvide abil plidikummi ülemise öhuväljundi avale.
ÜLEMINE ÖHUVÄLJUND
Kuiuhendus tehakse 120mm toru abil, paigaldage siirdmikärik 9 plidikummi korpuse valjundile.
- Kasutage metallkatte 10 keskmise osa eemaldamised tange. Kinnitage kate kaasasolevate kruvide abil pliidikummi ðhuväljundi avale.
- Kinnitage toru piisava koguse toruklambritega. Neid ei ole lisatud pliidikummi komplektile.
- Eemaldage aktiivsoeffilter, kui see on olemas.



ÖHUVALJUND RETSIRKULEERIVAS PLIIDUKUMMI VERSIONONIS
- Juhul, kui retsirkulatsiooni funktsiooni jaoks vajalikud komponendid on eelnevalt eemaldatud, tuleb need uesti paigale asetada.
- Uhendage plastmasstoru ärikuga 7.
- Asetage ×huväljundi vore 8 ðhuväljundile. Veenduge, et vore oleks asetatud ðigesti.
Veenduge, et soeffiltrid oleks pliidikummi asetatud.

ELEKTRIUHENDUS
- Ühendage pliidikumm vorgutoitega vahemalt 3 mm kontaktivahega kahepooluselise lulitiga.
- Eemaldage rasvafiltrid (vt lōiku Hooldus) veendudes, et toitekaabli ühendus on ventilatori küljele asetatud pessa ōigesti sisestatud.


A

B

C

D


24 F
E
1

G

H
Juhtpaneel
| Nupp | Funktsoon | Displei |
| A | Lülitab imemismootori sisse ja välja esimesel kiirusel. | Kuvab määratud kiiruse |
| B | Vähendab töökiirust. | Kuvab määratud kiiruse |
| C | Suurrendab töökiirust. | Kuvab määratud kiiruse |
| D | Aktiveerib intensivse kiiruse köigilt teistelt kiirustelt, seahulgas väljalulitutad mooritilt. See kiirus on seatud tõotama 6 minutit, mille järel põördub susteem tagasi eelnevalt seatud kiirusele. Sobib maksimaalsete lõhnatasemete käsitsemisesk. | Kuvab HI ja järelejäänud aja kord sekundis. |
| Aktiivsöeffiltri häire sisse vöi välja lūlitamiseks vajutage ja hoidke nuppu umbes 5 sekundit, kui kõik koormused (mootor ja valgustus) on väljalulilitad. | FC+punkt (2 vilgutst) - Häire sees. FC+punkt (1 vilgutus) - Häire valjas. | |
| E | 24 h funktsoon Lülitab imemismootori sisse esimesel kiirusel ning teostab ühe 10-minutilise imemise iga tunni järel. | Kuvab 24 ningpunkt all parental vilgub mootori tõö ajal korra sekundis. See keelatakse nipule vajutamise teel. |
| Filtrite häire rakendumisel saab häire lähtestada, vajutades ja hoides seda nuppu umbes 3 sekundit. Need näidud on nähtavad ainult siis, kui mootor on välja lūlitatud. | FF vilgub kolm korda. Protseduuri lõpetamisel lūlitub eelnevalt näidatud nait välja: FG tãhistab metallist rasvafiltrite pesemise vajadust. Häire rakendub pärast plidikummi 100 tõotunni pikkust kasutamist. FC tãhistab aktivsöeffiltrite vahetamise ning ka metallist rasvafiltrite pesemise vajadust. Häire rakendub pärast plidikummi 200 tõotunni pikkust kasutamist. | |
| F | Viivituse funktsoon Aktiveerib automaatse väljalulituse 30-minutilise viivitusega. Sobib jääklöhnade täielikuksk körvaldamiseks. Aktiveeritav igast positsionist ning keelatakse nupule vajutamise vöi mootori välja lūlitamise teel. | Kuvab töökiruse ning all parental asuvpunkt vilgub korra sekundis. |
| Kaugjuhtimise sisse vöi välja lūlitamiseks vajutage ja hoidke nuppu umbes 5 sekundit, kui kõik koormused (mootor ja valgustus) on väljalulilitad. | IR+punkt (2 vilgutst) - Häire sees. IR+punkt (1 vilgutus) - Häire valjas. | |
| G | Valgustussüsteemi sisse- ja väljalulitamine maksimaalsel tugevusel. | |
| H | Summutatud valgustuse sisse- ja väljalulitamine. |
KAUGJUHTIMINE (VABATAHTLIK)
Seda seadet saab juhtida kaugjuhtimispuldiga, mille toiteks on CR2032 tüpi 3 V patarei (ei ole kaasas).
- Arge asetage kaugjuhtimispulti soojuusallikate lahedusse.
- Arge visake patareisid tavapäraste jäätmete hulka, need tuleb panna spetsiaalsetesse mahutitesse.

Paneelide puhastamine
- Avamiseks tommake paneeli.
- Uhendage paneel pliidikummi katte küljest lahti, liigutades kinnitustihvi kangi.
- Paneeli ei tohi kunagi pesta nõudepesumasinas.
- Puhastage väliskülge niiske lapi ja neutraALSE vedela puhastusvahendiga.
- Puhastage sisekülg samuti niiske lapi ja neutraalse puhastusainega; ærge kasutage marga'id lappe voi švamme ega veejugasid; ærge kasutage abrasiivseid aineid.
- Kui ültoodud operatsion on lopetatud, riputage paneel tagasi plidikummi katte külge ja sulgege see, poorates nuppu vastupidises suunas.

Metallist rasvafiltrid
Neid saab pesta nõudepesumasinas ning tuleb puhastada alati, kui displeile ilmub mark FG voi vahemalt kord iga 2 kasutskuu järel voi eriti intensivse kasutamise korral sagedamini.
Lulitage valgustus ja imemismoctor valja, seejarel keelake 24h funktsoon, kui see on lubatud.
Vajutage nuppu E (vt loiku Kasutamine).
Filtrite puhastamine
- Avage mugavuspaneelid, tommates suvendist.
- Eemaldage filtrid ükshaaval, surudes neid seadme tagaosa suunas ning samal ajal allapoole tommates.
- Peske filtrid ilma neid painutamata ning laske neil enne tagasi paigaldamist täielikult kuivada. (Kui filtri pind muudab aja möödudes värvi, ei ole sellel absolutelt mingit mōju filtri enese tohususele.)
- Paigaldage tagasi, hoolitsedes selle eest, et käepide oleks suunatud ettepoole.
- Sulgege mugavuspaneelid.

Seda ei saa pesta ega regenererateida ning see tuleb vahetada, kui displeile ilmub sumbol FC voi hiljemalt iga 4 kuu jarel. Aktiveeritud hairesignaal ilmub ainult juhul, kui imemismootor on sisse lilitatud.
Häiresignaali aktiveerimine
-
Retsirkulatsooniga plidiikummi versionodel saab filtri kullastushäire aktiveerida paigaldamisel vōi kunagi hiljem.
Lulitage valgustus ja imemismootor välja.
Vajutage D ja hoidke seda ligikaudu 5 sekundit: -
Sōnum FC+punkt vilgub kaks korda, aktiivsoeffiltri kūllastushäire AKTIVEERITUD.
- Sōnum FC+punkt vilgub ühe korra, aktiivsoeffilti kūllastushääre DEAKTIVEERITUD.
AKTIIVSOEEIFILTRVAHETAMINE
Lulitage valgustus ja imemismootor valja, seejarel keelake 24 h funktsoon, kui see on lubatud.
Vajutage nuppu E (vt loiku Kasutamine).
Filtri vahetamine
- Avage mugavuspaneelid, tommates suvendist.
- Eemaldage metallist rasvafiltrid.
- Eemaldage kullastunud aktiivsoeffilter, vabastades kinnituskonksud.
Paigaldage uus filter ja kinnitage see oigesse asendisse.
Paigaldage tagasi metallist rasvafiltrid. - Sulgege mugavuspaneelid.


Valgustusseade
- Vahetamiseks vötke ühendust tehnilise toega ("Ostmiseks vötke ühendust tehnilise toega").

biill jgiog csiial ciib!
□5dDjillbcia
LihtneJuhend