CUBIA ACTIVE - Vízmelegítő FABER - Ingyenes használati útmutató
Találja meg az eszköz kézikönyvét ingyenesen CUBIA ACTIVE FABER PDF formátumban.
Töltse le az útmutatót a következőhöz Vízmelegítő PDF formátumban ingyenesen! Találja meg kézikönyvét CUBIA ACTIVE - FABER és vegye vissza elektronikus eszközét a kezébe. Ezen az oldalon közzé van téve az eszköze használatához szükséges összes dokumentum. CUBIA ACTIVE márka FABER.
HASZNÁLATI ÚTMUTATÓ CUBIA ACTIVE FABER
Felhasznalói Kézikönyv
Sajatbiztonságaésakészülékhelyesmuködéseérdekébenarrakérjuk, hogya készülék üzembehelyezéseéshasznalataelottfigyelmesen olvassa el ezt az utmutató.Tartsa ezt mindig a készülékkel együtt,a készülék atadasa vagy eladasa eseten isFONTos,hogya felhasznalok tisztaban legyenek a készülék mindedmuködésiésbiztonsagi jellemzöjével.
A gezetékek bekotését szakembernek kell elvegezie.
- A gyartón nem terheli felelosség a nem megfelelo üzembe helyezés vagy hasznalat miatt bekovetkező esetleges károkér.
- A fózófelület és a kivezetéses páraelszívó közötti biztonsági távolság minimum 650 mm (egyes típusok alacsonyabban is felszerelhetők; lásd az üzemi méretekre és az üzembe helyezésre vonatkoź fejezetet).
- Amennyiben a gázfozólap üzembe helyezési utmutatója a fentinél nagyobb távolságot ir elő, úgy azt kell betartani.
Ellenorizze, hogy a halózati feszültseg megfelel-e a készülék besejében levő adattáblán felttüntetét értéknek. - A hatályos gezétékezési jogszabályoknak megfeleloen a rögzített berendezéshez szakaszoló eszközöket kell beszerelni.
- Az I. kategoriájú keszülékeknél Ellenőrizni kell, hogy az otthoni elektrmos halózat megfelelo födelést biztosít-e.
- Egy legalább 120 mm atmérõjü csóvel csatlakoztassa a páraelszívó t a kéményhez. A füst utjának a lehető legrövidebbnek kell lennie.
- A levego elvezetésére vonatkozó összes elóirast be kell tartani.
-
Tilos a keszüléket az égésból származó (kazán, kandallo stb.) füstöke lvezetésere szolgáló csövekbe bekötni.
-
A füstgázok visszaáramlásanak megakadályozása érdekében megfelelo szellózésról kell gondoskodni abban a helyiségben, ahol a páraelszívo mellett nem elektrmos üzemú (pédául gázüzemú) berendeźesek is vannak. Ha a konyhai elszívôt nem villamos készülékekkel együtt használaja, a környezeti negativ nyomás nem haladhatja meg a 0,04 mbar értéket, mert csak igy kerülhétő el az, hogy a készülék visszaszívja a füstgázokat a helyiségbe.
-
A levego' nem gezethet'o ki egy olyan csatom'an keresztül, amit a gáz- vagy egyébuzziésü keszülékek fustelvezetésere használnak.
- A megsérült halózati zsinór cseréjét kizárólag a gyártó vagy a vevőszolgálat szakembere vegezheti.
- A halózati csatlakozótCsak a hatályos elóirásoknak megfeleloésjol hozzáféretó konnektorba szabad bedugni.
- A fustelvezetésre vonatkozo mûszaki és biztonsági teendőket illetően fontos a helyi hatóságok által előirt szabályok szigó betartása.
FIGYELMEZTETÉS: az elszívó üzembe helyezése elött el kell távolítani a védőfóliákat.
- Csak a keszülékhez megfelelo típusú csavarokat ésapro alkatrészeket használjon.
FIGYELMEZTETÉS: áramütés kockázataval járhat az, ha nem szereli fel a jelen utasításban foggaltak szerint a rögzítét szolgálo csavarokat vagy eszközöket. - Tilos optikai eszközökkel (látcső, nagyítóveg) kózvetlenül figyelni.
- Ne keszütsen flambírozott ételt az elszívó alatt: ez túzveszélyes lehet.
- A keszüléket 8 évnel nem fiatalabb gyermekek, illetve csökkent fizikai, érzékelési vagy szellemi képességgel rendelkező, megfelelo tapasztalatok és ismeretek nélküli személyek is használhatják szigoru felügyelet mellett, illetve ha ismerik a keszülék biztonságos használati modját és a kapcsolódo veszélyeket. Üglyeljen arra, hogy ne jatszhassanak gyermekek a keszülékkel. A keszülék tiszításat és karbantartásat nem vegezhetik gyermekek, amennyiben nincsenek felügyelve.
-
Figyeljen a gyermekekre, hogy ne jatszhassanak a készülékkel.
-
A keszüléket nem hasznáhlatják csökkent fizikai, érzékelő vagy szellemi képességgel rendelkező, megfelelo tapasztlatok és ismeretek nélküli személyek (gyerekeket is beleérte), hacsk nem tanütják meg vagy Ellenőrzik öket a keszülék használatára, illetve használatában.
A fózǒberendezs használata közben az elérhető alkatrészek nagyon felmelegedhetnek.
- Az eloírt idōtartam lejá rata után tiszítsa meg és/vagy cserélje ki a szüröket (túzveszély). Lásd az Ápolás és karbantartás bekezdésst.
- Megfelelo szellózésról kell gondoskodni a helyiségben, amikor a páraelszívôt gazzal vagy másuzzióanyaggal mūködő készülékek egyidejüleg használják (olyan készülékek mellett sem használató, amelyek kizárolag a helyiségbe engedik a levegőt).
- A terméken, illeteva a csomagoláson láthato szimbólum arra utal, hovy a termék nem kezelhető normal háztartási hulladékként. Az ártalmatlanitandó terméket megfelelo gyüjtöhelyen kell leadni, ahol elvégzik az elektromos és elektronikus alkatrészek üjrahasznosítását. Ha Öl gondoskodik a termék megfelelo ártalmatlanitásáról, akkor ezzel hozzájárul ahhoz, hovy elkerülhetők legyenek a hulladékká valt termék nem szabályos ártalmatlanitása miatt a környezetre és egészsègre nézve potenciálisan káros következmények. A termék üjrahasznosításával kapcsolatban a helyi önkormányzat, a háztartási hulladékgyüjtő szolgálat vagy a terméket értékesítő bolt tud részletes tajékoztatással szolgálni.
Helyszükséglet


Alkatrészek
| Hiv. | Db | Keszülék alkatrészei |
| 1 | 1 | Keszülékház: kezelöszervek, világítás, ventilátorblokk, szürörk, also kémény |
| 7 | 1 | PVC cső (beszerelve) |
| 8 | 1 | Irányított rács (beszerelve) |
| 9 | 1 | Szűítőperem 150-120 mm útm. |
| 10 | 1 | Dugó |
| Hiv. | Db | Felszerelési alkatrészek |
| 11a | 2 | SB 12/10-es tipli |
| Db | Dokumentácio | |
| 1 | Használati útmató |

Falfuratok
Ha az elszivot kivezeteses valtozatan kivanja hasznalni - tehat a csovet a keszulek hatulján hozza ki - akkor nem szabad elfeledkeznie arrol, hogy a levegoelvezeto cso nyilasat az alabbi rajz szerinti modon kell kialakitani.
| Keszüléktípus | 45 | 60 | 90 |
| X | 180 | 240 | 390 |

Ha az elszívók keringetéses valtozatban szerétrne használni, akkor ügyelnie kell arra, hogy a készülék teteje és a felső határ (mennyezet/konzol) között legalább 8-10 cm-es távolságot kell hagynia.
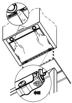
Húzzon a falon:
- egy fuggoleges vonalat a mennyezetig vagy a felso hatarig, a keszulek felszerelésere szolgalo terulet kozepén;
- egy víszintes vonalat a főzöfelület föllett min. 550 mm-es magasságban;
- Az ábra szerinti módon jeröljön meg egy hivatkozásí potot 808 mm-re a vízsintes segédvonal fölött és X mm-re (X = lásd a tablázatot a rajzon) a fuggóleges segédvontál jobbra.
- Végezze el ugyanezt az ellenkező oldalon is, ellenörizve a szintezest.
- A bejelölt pontoknál keszítsen 12 mm atmérőj füratokat.
-
Helyezze be a furatokba a tipliket csavarral es 11a kengyellel, majd csavarja be azokat.
-
Allitsa be a 11a kengyelek két Vr csavarját a menet elejère.
- Akassza fel a keszülékházat a két 11a kengyelre.
- Húzza meg és nyissa fel a zajcsökkentő panelt, majd egyenként vegye ki szürőket úgy, hogy a szürőblokk hátso résztét megnyomja és ezzel egy idöben lefelé húzza.
- A keszülékház besejől a Vr csavarokkal szintezze be a keszülékházat.

Bekötesek
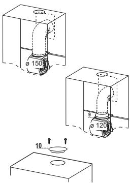
LEVEGOKIMENET (KIVEZETÉSES VÁLTOZAT)
Kivezeteses valtozat eseten a szagelszivo és a levegokimenet összekötese a felszerelést vegő szakember vlasztásátol fuggöen 150 vagy 120 mm atmérojü merev vagy rugalmas csövel történjen. A csövet a készülék felso és hatso részen át egyaránt ki lehet gezetni.
A bekötesek elvgzese elott ki kell venni - ha ez meg nem törtent meg - a 8 irányított rácsot és a 7 PVC csövet. A 9 szukütőperemetCsak a 150-es csatlakoztatások elvgzéséhez kell eltávolítani.
HÁTSÓ KIVEZETÉS
- Ügyeljen arra, hogy a levegoelvezetocso nyilasat a falfuratokról szoló részben szereplo rajz szerint kell kialakitani.
A hatsó kimeneti nyilast csipofogóval törje át. - A 120 mm atmérójú csovel valo összeköteshez illessze a 9 szukitöperemet a készülékház kimenetere.
- A csö rögzítéséhez használjon megfelelo csószeríto pantokat. Az ehbez szükséges anyag nem tartozék.
- Vegye ki az esetleges aktív szenes szagszürkket.
A tartozékként adott csavarokkal rögzítse a 10 dugó a készülék felső kivezetéséhez.
FELSO KIVEZETES
- A 120 mm atmérójú csovel valo összeköteshez illessze a 9 szukitöperemet a készülékház kimenetere.
- Egy csipofogó segitésgével távolítsa el a 10 dugó kóépsó résztét, majd a tartozékként adott csavarokkal rogzítse azt a készülék felső kivezetéséhez.
- A csö rögzítéséhez használjon megfelelo csószerító pántokat. Az ehbez szükséges anyag nem tartozék.
- Vegye ki az esetleges aktív szenes szagszürkket.



LEVEGOKIMENET (KERINGETÉSES VÁLTOZAT)
- Ha elózetasen eltávolításra kerültek, akkor tegy vissza a keringetéses valtozatnál már beszerel't alkatrészeket.
Helyezze fel a 7 PVC csovet a peremre. - Csaparja vissza a 8 irányított rácsot a levegökimenetre, ügyelve arra, hogy jól helyezkedjen el a csövön.
- Ügyeljenarra, hogy az aktív szenes szagszürö a helyén legyen.

ELEKTROMOS BEKÖTÉS
- A keszüléket olyan kétpólusu megszakító kobbeiktatasával kelli csatlakoztatni az elektromos halózathoz, amelyen az érintkezők távolsága minimum 3 mm.
- Vegye le a zsirszuroket (lásd a “Karbantartás” fejezet) és ügyeljenarra, hogy a halózati zsinór csatlakozója helyesen legyen betéve a készülék aljzatába










Kezelolap
| Gomb | Funkcioi | Kijelzö |
| A | Elso sebességfokozaton be- és kikapcsol az elszívómotor. | Mutatja a beällított seabességet |
| B | Csökkenti az üzemi sebességet. | Mutatja a beällított seabességet |
| C | Növeli az üzemi sebességet. | Mutatja a beällított seabességet |
| D | Az Intenzív sebességfokozatot kapcsolba bármilyen sebességfokozatról, akár álló helyzetból is, de csak 6 percre, majd ennek végén a rendszer visszatér az elözetenes beällított seabességre. Nagymennyiségü fözési goz kezelésére alkalmas. | Felváltva jelenik meg egy-egy;másodpercre a HI és a hátralevő idöartam. |
| Az összes fogyasztó (motor+világítás) kikapcsolt állapotában a gomb kb. 5@másodpercig való lenyomása bekapcsolja / kikapcsolja a szénszürök vészjelészét. | FC+Pont (2 villogás) - vészjelészés bekapcsolva. FC+Pont (1 villogás) - vészjelészés kikapcsolva. | |
| E | 24H funksiö Elso sebességfokozatban kapcsolba be a motrot ésöranként 10 perc elszívást tes letheóvé. | 24 jelenik meg, és a jobb also pont villog;másodpercen-kent egyszer, miközben a motor mühködik. A gomb megnyomásával aktathatóki. |
| Beindult szüróriasztás esetén a gomb kb. 3@másod-perces megnyomásával nullázható a riasztás. Ezek a jelzék sem kikapcsolt motrot esetén láthatók. | Háromszor villog az FF.A polyamat befejeztével kialszik a korábban megjelenítatt jelzés:FG azt jezli, hovy ki kell mosni a fém zsírszüröket. A vészjelészés az elszívó 100 üzemórájának eltele után lép mühködésbe.FC azt jezli, hovy ki kell cserélni az aktiv szenes szüröket és hovy ki kell mosni a fém zsírszüröket is. A vészjelészés az elszívó 200 üzemórájának eltele után lép mühködésbe. | |
| F | Késlettétés funksiö A 30 perces késlettetett kikapcsolást indütja el. A maradék szagok eltávolításárea hasznáhlato. Bármely-ik helyzetból bekapcsolható, kiiktatása pedig a gomb megnyomásával vagy a motor kikapcsolásával heleséges. | Az üzemi sebesséjrlenik meg, és a jobb also pont masodpercenként egyet villog. |
| Az összes fogyasztó (motor+világítás) kikapcsolt állapotában a gomb kb. 5@másodpercig való lenyomása bekapcsolja / kikapcsolja a távvezérlôt. | IR+Pont (2 villogás)-vészjelészés bekapcsolva.IR+Pont (1 villogás)-vészjelészés kikapcsolva. | |
| G | Maximális intensizétason be- és kikapcsolja a világításirendsztert. | |
| H | Be- és kikapcsolja a világításirendsztert Helyzetjelőmodban. |
TAVVEZERLO (KULÖN MEGVASAROLHATO)
Ez a keszülék egy tívirányító segítsegével vezérelhétő, ami egy 3 volts, CR2032 tipusu elemmml múködik (nincs mellekelve).
- Ne tegy a távezénlót hófornások közelébe.
- Ne dobja ki az elementeket, hanem tegye azokat a megfelelo hulladékyüj'töbe.

A zajcsökkentő panel tiszítása
Húzza meg és nyissa fel a zajcsökkentő panelt.
- Akassza le a panelt a keszülékházrolúgy, hogy elcsúsztatja a rögzítópock karját.
A zajcsokkento panelt tilos mosogatogepen tiszitani.
- Nedes ruhával és semleges kémhatásu folyékony mosószerrel tiszítsa meg a külso részt.
- Belül is nedves ruḥával és semleges kémhatású mosózsterol végezze el a tiszütást; ne alkalmazzon teljesen átitatott ruḥát vagy szivacsot, illetve vizsugarat; surolószerek használata tilos.
- A mūvelet vēgeztével akassza vissza a panelt a készülékházra és ismét zárja le.

Femzsirszurok
Mosogatogepen is tiszṭthatok, és amikor a kijelzón megjelenik az FG felirat, vagy legalább kb. 2 havonta, ilvette – nagyon intenszív használat eseten – ennel gyakrabban kell a tiszütásukat elvegezni.
A veszgelés nullázása
- Kapcsolja ki a vilagitast és az elszivomotort, majd a 24h funkcio aktivalódasakor iktassa azt ki.
- Nyomja meg az E gombat (lásd a Használat c. bekezděst).
A szúrók tiszütítása
A megfelő irányba húzva nyissa fel a zajcsökkentő paneleket.
Egyenként vegye ki a szúroketúgy, hogy a szúroblokk hatsó részét megnyomja, majd ezzel egy idöben lefelé húzza.
- Osszenomyas nélkūl tiszíttsa, majd a visszaszerelés el'tt hagyja megszáradni a szúróket. (A szúrófelület szinének - idövel esetlegesen bekovetkező - elvátozása semmilyen某种程度 non bemefolyásolja a szúró hatékonyságát.)
- Ugy szerelje öket vissza, hovy a fogantyú a kūlso látható rész felé essen.
Zárja vissza a zajcsökkentő paneleket.

Nem mosható és nem regenerálható, amikor a kijelzón megjelenik az FC felirat, illetve legalább 4 havonta cserélendő. A vészjelzs – amennyiben elózetesen aktiváltek –Csak akkor jelentkezik, amikor megtörténik az elszívomotor bekapcsolása.
A veszjelzés aktivalása
- A keringetêtes valtozatnál a szúrók telíttsegére utaló vészjelzést az üzembe helyezéskor vagy azt kővetöen kell aktivalni.
- Kapcsolja ki a vilagitast es az elszivomort.
-
Nyomja meg kb. 5 masodperci g a D gombot:
-
FC felirat és a pont 2 villogása - Az aktív szenes szürő telitettségének vészjelzésé AKTIVALVA.
- FC felirat és a pont 1 villogása - Az aktív szenes szúró telítettségénék vészjelzese KIJKTATVA.
CSERE
A veszjelzés nullázása
- Kapcsolja ki a vilagitast és az elszivomotort, majd a 24h funkció aktivalódasakor iktassa aztki.
- Nyomja meg az E gombot (lásd a Használat c. bekezdészt).
A szúró cseréje
Huzza meg es nyissa fel a zajcsokkento paneleket.
- Vegye ki a zsírszúrót.
- A megfelelo akasztok segitségével emelje ki az elhasznalódtt aktiv szenes szagszürôt.
- Szerelje vissza a zsirszuroket.
Zarja vissza a zajcsokkento paneleket.


Vilagitasas
- Csere eseten forduljon a vevoszolgalathoz (.,Vasarlas eseten forduljon a vevoszolgalathoz").
i
KönnyűKézikönyv