CUBIA ACTIVE - Vesivaraaja FABER - Ilmainen käyttöohje ja opas
Löydä laitteen käyttöohje ilmaiseksi CUBIA ACTIVE FABER PDF-muodossa.
Lataa ohjeet laitteellesi Vesivaraaja PDF-muodossa ilmaiseksi! Löydä käyttöohjeesi CUBIA ACTIVE - FABER ja ota elektroninen laitteesi takaisin hallintaan. Tällä sivulla julkaistaan kaikki laitteidesi käyttöön tarvittavat asiakirjat. CUBIA ACTIVE merkiltä FABER.
KÄYTTÖOHJE CUBIA ACTIVE FABER
Häiresignaali lāhtestamine
Häiresignaali lāhtestamine
Lue tämä kayttöopas huolellisesti ennen laitteen asentamista ja käyttoa Oman turvallisuutesi ja laitteen oikean toiminnan takaamiseksi. Pidä namä ohjeet aina laitteen lahettyvilla, niiden tätyy seurata laitetta myös, jos se myydään tai luovutetaan kolmansille osapuolille. On tärkeä, etta käytäjät tuntevat laitteen toiminta- ja turvallisuominaisuudet.
Johtojen liitännän saa tehdä vain pätevä teknikko.
- Valmistaja ei vastaa värästä asennuksesta tai käytõstä aiheituneista vahingoista.
- Pienin turvallinen etäisyys keittotason ja liesituulettimen välillä on 650 mm (jotkut mallit voidaan asentaa alemmas, katso työ- ja asennusmittoja koskevaa kappaletta).
- Jos kaasukaytöisen keittotason asennusohjeet märävät, etta etäisyden on oltava yllä mainittua suurempi, ohjeita on noudatettava.
- Tarkista, etta sahköverkon jännite vastaa liesituulettimen sisällä olevan arvokilven tietoja.
- Erotuskytkimet on asennettava kiinteään järestelmään kaapelointijärestelmää koskevien maäräysten mukaisesti.
- Luokan I laitteita varten on tarkistettava, etta kodin sahköverkossa on sopiva maadoitus.
- Liītā liesituuletin savuhormiin putkella, Jonka lapimitta on vāhintān 120 mm. Savun poistoreitin on oltava mahdollisimman lyhyt.
Kaikkia ilman poistoa koskevia märäyksiä on noudatettava. -
Alä liitä liesituuletinta savukanaviin, joiden kautta poistetaan palamishöryjä (esimerkiki lammityskattilat, takat jne.).
-
Jos liesituuletinta käytetään yhdessä muiden kuin sähkölateiden (esimerkiki kaasulatteiden) kanssa, on pystytävä takaamaan riittävä huoneen tuuletus poistokaasujen paluuvirtauksen estämiseksi. Kun liesituuletinta käytetään yhdessä muiden kuin sähkölateiden kanssa, huoneen negatiivinen paine ei saa ylittäa 0,04 mbar, jotta liesituuletin ei palauta Höyryjä huoneeseen.
- Ilmaa ei saa poistaa sellaisen putken kautta, jota käytetään kaasulla tai muilla polttoaineilla toimivien laitteiden savun imemiseen.
- Jos virtajohto vahingoittuu, sen saa vaihtaa vain valmistaja tai huoltopalvelun teknikko.
- Kytke pistoke voimassa olevien märäysten mukaiseen ja saavutettavissa olevaan pistorasiaan.
- Savunpoistoa koskevien teknisten ja turvallisuuteen liittyvien toimenpiteiden suhteen on noudatettava tarkkaan paikallisten viranomaisten antamia määräyksiä.
VAROITUS: Poista suojakalvot ennen liesituulettimen asentamista.
Käytä vain liesituulettimelle sopivia ruuveja ja kiinnityssosia.
VAROITUS: Jos ruuveja ja kiinnitysosia ei asenneta näiden ohjeiden mukaisesti, voi aiheutua sahköiskuvaara.
- Alä katso suoraan optisilla välineillä (kiikari, suurrennuslasi....).
- Älä liekitä liesituulettimen alla: se voi aiheuttaa tulipalon.
- Yli 8-vuotiaat lapset ja psyykkisesti, fysisesti tai sensorisesti rajoitteiset henkilott tai kokemattomat ja taitamattomat henkilott saavat käytä tätä laitetta vain, jos heita valvotaan ja heille on annettu tiedot laitteen turvallisesta käytösta ja sihen liittyvistä vaaroista. Varmista, etteivat lapset pääse leikkimään laitteella. Lapset eivat saa tehdä käytäjän puhdistus- ja huoltotoimenpiteitä ilman valvontaa.
- Valvo lapsia ja varmista, etteivat he paäse leikkimän laitteella.
- Tätä laitetta eivät saa käytträh henkilöt (lapset mukaan lukien), joiden mielen, ruumiin tai aistien terveys on heikentynyt tai joilla ei ole riittäväkokemusta ja tietoa, ellei heitä valvota tai ole valmennettu.
Kosketettavissa olevat osat voivat tulla hyvin kuumiki keittolaitteiden käytön aikana. - Puhdista ja/tai vaihda suodattimet märätyn ajan kuluttua (tulipalovaara). Katso kappaletta Huolto ja puhistus.
- Tilassa tāytyy olla asianmukainen tuuletus kun liesituuletinta käytetään samanaikaisesti kaasulla tai muilla poltoaineilla toimivien laitteiden kanssa (ei koske laitteita, jotka poistavat tilaan vain ilmaa).
- Merkki tuotteessa tai sen pakkaufsessa osoittaa, etta tuotetta ei saa havittä tavallisen kotitalousjätteen mukana. Tuote taytyt toimittaasianmukaiseen sähköisten ja elektronisten osien keräyskesukseen. Varmistamalla, etta tuote havitetään oikealla ravalla, on mahdolista auttaa valttämään ympäristöä ja henkilöiden terveyttä uhkaavia haittavaikutuksaia, joita voi syntyä väräränlaisesta havittämestä. Lisatietoja tuotteen kierrattämestäaat paikallsilta viranomaisilta, paikallsestoja jatehuollostata li likkeestä, josta tuote on ostetu.
Mitat


Osat
| Viite | Lkm | Tuotteen osat |
| 1 | 1 | Liesituulettimen runko, johon kuuluu: Kytkimet, valo, tuuletsyksikkö, suodattimet, alahormi |
| 7 | 1 | PVC-putki (Asennettu) |
| 8 | 1 | Suuntausrittilä (Asennettu) |
| 9 | 1 | Sovituslaippa ø 150-120 mm |
| 10 | 1 | Tulppa |
| Viite | Lkm | Asennuksen osat |
| 11a | 2 | Ruuvitulpat SB 12/10 |
| Lkm | Asiakirjat | |
| 1 | Käyttoohjeet |

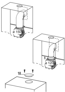
Seinän poraus
Alla esitetyt ohjeet koskevat ilmanpoistoaukon valmistusta. Jos tuuletin asennetaan poistoilmaversona toimivaksi ja ilma johdetaan ulos tuulettimen takaa, on ilmanpoistoaukko tehtäv kuvan ohjeiden mukaisesti.
| Tuuletintyppi | 45 | 60 | 90 |
| X | 180 | 240 | 390 |

Mikäli tuuletin asennetaan kiertoilmaversona toimivaksi, on tuulettimen ja katon (tai muun ylätason) vällin jaatäv ainakin 8-10 cm:n välietäisyys.
Tee seuraavat merkinnat seinään:
- pystysuora viiva kattoon tai muuhun ylātasoon asti tuulettimen asennusalueen keskikohtaan
-
vaakasuora viiva vahintaan 550mm :ä keittotason ylapuolelle.
-
Merkitse piirroksen osoittamalla tavalla kiintopiste 808 mm:ä vaakasuoran viivan ylapuolle sekä X mm:ä (X = katso kuvan taulukon arvoja) pystysuoran viivan oikealle puolle.
- Toista edellinen toimenpide vastakkaisella puolella. Tarkista vaaitus.
-
Poraa reiät 12 mm merkittyihin kohtiin.
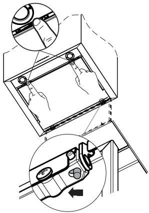
. Laita tapit ruuveineen ja kannattimineen 11a reikiin ja kirista. -
Aseta kannattimien 11a Vr-saatoruuvit paikoilleen niitta kiristamatta.
- Nosta tuuletin 11a kannattimiin.
- Aviaa Comfort Panel vetäen sitä kevyesti. Poista suodattimet yksi kerrallaan painamalla niitta taaksepääin ja samalla alaspään vetämällä.
- Vaaita tuuletin Vr-saatoruuvien avulla tuulettimen sisapuolelta.

Liitannat
ILMAN ULOSTULO IMUVERSIOSSA
Imuversioasennuksessa liesituuletin liitetään ulostuloputkeen putkella tai letkulla, 150 tai 120~mm ,jonka valitsee asentaja. Putken ulostulo voi olla liesituulettimen ylapuolella tai takana.
Ennen imuliitantöjen tekemista on irrotettava suuntausritila 8 sekä pvc-putki 7, elleivat ne jo ole irti. Kavennuslaippa 9 poistetaan vain, jos asennetaan putki 150.
ULOSTULO TAKANA
- Muista, etta poistoaukko täytyy tehdä kappaleessa Seinän poraus kuvatun kaavion mukaan.
Riko takaosan ulostuloaukko pihdillä. - Putken 120 mm liittämista varten liesituulettimen rungon ulostuloaukkoon on asetettava kavennuslaippa 9.
- Kiinnità putki sopivilla kiinnittimillä. Materiaali ei kuulu toimitukseen.
- Poista mahdolliset aktivihilihajusuodattimet.
- Kiinnitta kansi 10 liesituulettimen ylaosan ulostuloaukloon toimitetuilla ruuveilla.
ULOSTULO YLHAALLA
- Putken 120 mm liittämistä varten liesituulettimen rungon ulostuloaukkoon on asetettava kavennuslaippa 9.
- Poista kannen 10 keskiosa pihdeillä ja kiinnitä se liesituulettimen ylaosan ulostuloaukkoon toimitetuilla ruuveilla.
- Kiinnità putki sopivilla kiinnittimillä. Materiaali ei kuulu toimitukseen.
- Poista mahdolliset aktivihilihajusuodattimet.



ILMANPOISTO KIERTOILMAVERSIOTUULETTIMESSA
- Varmista, etta kiertoilmaversion tarfrittavat osat ovat asennettu paikoilleen.
- Aseta PVC-muovinen putki 7 laippaan.
- Kierrä ilmansuuntausritilä 8 ilmanpoistoaukkoon. Varmista rtilän virheeton asennus putkeen nähden.
- Varmista, etta aktiivhiilisuodattimet ovat paikoillaan.

SAHKOLIITÄNTÄ
- Liitä liesituuletin sahköverkkoon turvakytkimen kautta, jonka kontaktien vali on ainakin 3mm
- Poista rasvasuodattimet (katso kappaletta "Huolto") ja varmista, että virtajohdon liitin on kunnolla kiinni imulaitteessa










Käytöpaneeli
| Painike | Toiminto | Näytö |
| A | Käynnistää ja sammuttaa imumoottorin ensimmäisellä nopeudella. | Näytää asetetun nopeuden |
| B | Alentaa käytönopeutta. | Näytää asetetun nopeuden |
| C | Lisää käytönopeutta. | Näytää asetetun nopeuden |
| D | Aktivi tehonopeuden mistä tahansa nopeudesta tai moottorin ollesa sammuttuu, tãmä nopeus on ajastetu 6 minuutiki ja tãmä anjan kuluttua järjestelmä palaa aiemmin asetetuun nopeuteen. Soveltuu käytettäväksi kun savua on paljon. | Näytää vuorotellen HI ja jäljellä olevan ajan kerran sekunnissa. |
| Jos pidät painiketta painen tuna noin 5 sekuntia kun kaikkio toiminnot (moottori ja valot) on sammuttuu, aktivoit tai poistat käytõstä aktivihiilisuodattimen hälytysken. | FC+Piste (2 vilkutusta) – Hälytys aktiviinen. FC+Piste (1 vilkutus) – Hälytys poised käytõstä. | |
| E | Toiminto 24H Käynnistää moottorin ensimmäisellä nopeudella ja sallii imun 10 minuuttua tunnissa. | Näytöön tulee 24 ja alhaalla oikealla oleva piste vilkkuu kerran sekunnissa moottorin ollesa käynnissä. Toiminto poistetaan käytõstä painamalla painiketta. |
| Jos suodattimien hälytys on toiminnassa, hälytysken voi kuitata painamalla painiketta noin 3 sekunnin ajan. Ilmoitukset ovat näkyvissä vain moottorin ollesa sammuttuu. | FF vilkkuu kolme kertaa. Toimenpiteen päättyä näytöön tullut ilmoitus sommuu: FG osoittaa, että metalliset rasvasuodattimet tãtyy pestä. Hälytys käynnistyy liesituulettimen 100 käytötunnin jälkeen. FC osoittaa, että aktivihiilisuodattimet tãtyy vaihtaa ja metalliset rasvasuodattimet tãtyy pestä. Hälytys käynnistyy liesituulettimen 200 käytötunnin jälkeen. | |
| F | Ajustuoiminto Aktivi automaattisen 30 minuutin kuluttua tapahtuvan sammumisen. Sopii jännöshajugen poistamisen. Voidaan aktivoida missä tahansa asennossa. Toiminto poistetaan käytõstä painamalla painiketta tai sammutamalla moottori. | Näytää käytönopeuden ja oikealla alhaalla oleva piste vilkkuu kerran sekunnissa. |
| Jos pidät painiketta painen tuna noin 5 sekuntia kun kaikki toiminnot (moottori ja valot) on sammuttuu, aktivoit tai poistat käytõstä kauko-ohjainen. | IR+Piste (2 vilkutusta) – Hälytys aktiviinen. IR+Piste (1 vilkutus) – Hälytys poised käytõstä. | |
| G | Sytyttä ja sammuttaa valaistuksen suurimmalla teholla. | |
| H | Sytyttä ja sammuttaa pienitehoisen valaistuksen. |
KAUKO-OHJAIN (LISÄVARUSTE)
Tata laitetta voidaan ohjata kauko-ohjaimella, joka toimii 3 V paristolla, typpi CR2032 (ei kuulu toimitukseen).
- Alä laita kauko-ohjainta lammönlähteiden lahelle.
- Alä jatā paristoja luontoon vaan laita ne asianmukaisin keräysastioihin.

Confort Panel -osien puhdistus
- Avaa Confort Panel -osat kevesty ulospain vetämällä.
- Irrota osat tuulettimesta siirtamalla kiinnitystapin vipua.
- Confort panel -osia ei missaan tapauksessa saa pestä astianpesukoneessa.
- Puhdista osatulkopuolelta kostealla liinalla ja miedolla pesuaineella.
- Puhdista osat myös sisäpuolelta kostealla liinalla ja miedolla pesuaineella. Älä käytä puhdistukseen markiä liinoja tai pesusienia, kuluttavia pesuaineita, alä myoskään puhdista osia juoksevan veden alla.
- Puhdistetuasi osat aseta ne uudelleen paikoilleen ja sulje ne.

Metalliset rasvasuodattimet
Voidaan pestä myös astianpesukoneessa. Ne täytyy pestä kun näytöön tulee FG tai vähintään 2 käytökuukauden välein tai useammin, jos niitä käytetään paljon.
Hälytskyen kuittaus
- Sammuta valot ja imumoottori. Jos toiminto 24h on aktivoitu, poista se käytöstä.
- Paina painiketta E (Katso kappaletta Kaytto).
Suodattimien puhdistus
- Aviaa paneeli vetamalli sita urasta.
- Poista suodattimet yksi kerrallaan tyontämllä niitta ryhman takaosaan pän ja vetamllä samalla alas.
- Pese suodattimet, mutta varo, ettet taita niità. Anna niiden kuivua ennen kuin laitat ne takaisin paikoilleen. (Mahdollinen suodattimen pinnan varin muuttuminen ajan myöä ei vaikuta sen toimintatehoon.)
- Asenna ne paikoilleen niin etta kahva on nakyvissäulkopuolella.
- Sulje paneeli.

Suodatinta ei voi pestä eikä uudistaa, se tãytyy vaihtaa kun näytöön tulee FC tai vähintään 4 kuukauden valein. Hålytys tapahtuu vain imumoottorin ollessa toiminassa, jos hälytys on aktivoitu.
Hälytyksen aktivoiminen
- Liesituulettimien suodatinversiossa suodattimien taytymisen halytys taytyt aktivoida asennusvaiheessa tai myohemmin.
- Sammuta valo ja imumoottori.
-
Paina painiketta D ainakin 5 sekunnin ajan:
-
2 vilkutusta viesti FC+Piste -- Aktiivihiilisuodattimen täytymisen hälytys AKTIVOITU.
- 1 vilkutus viesti FC+Piste -- Aktiivihiilisuodattimen tayttymisen hälytys POISTETTU KÄYTÖSTÄ.
AKTIVIHIILIHAJUSUODATTIMENVAIHTAMINEN
Hälytyksen kuittaus
- Sammuta valot ja imumoottori. Jos toiminto 24h on aktivoitu, poista se käytösti.
- Paina painiketta E (Katso kappaletta Käytö)
Suodattimen vaihtaminen
- Avaa paneeli vetämllä sitä urasta.
- Poista metalliset rasvasuodattimet.
- Poista käytety aktiivhilihajusuodatin irrottamalla se koukuista.
- Asenna uusi suodatin ja kiinittä se paikalleen.
- Asenna paikoilleen metalliset rasvasuodattimet.
- Sulje paneeli.


Valaistus
- Vaihtoa varten ota yhteys huoltopalveluun ("Hankintaa varten ota yhteys huoltopalveluun").

HelppoOhje