FT8501ANHAS - Oven HOTPOINT - Gratis gebruiksaanwijzing en handleiding

Vind de handleiding van het apparaat gratis FT8501ANHAS HOTPOINT in PDF-formaat.

📄 72 pagina's Nederlands NL 💬 AI-vraag
Notice HOTPOINT FT8501ANHAS - page 56

Gebruikersvragen over FT8501ANHAS HOTPOINT

0 vraag over dit apparaat. Beantwoord die u kent of stel uw eigen vraag.

Stel een nieuwe vraag over dit apparaat

L'email reste privé : il sert seulement à vous prévenir si quelqu'un répond à votre question.

Nog geen vragen. Stel de eerste vraag.

Download de handleiding voor uw Oven in PDF-formaat gratis! Vind uw handleiding FT8501ANHAS - HOTPOINT en neem uw elektronisch apparaat weer in handen. Op deze pagina staan alle documenten die nodig zijn voor het gebruik van uw apparaat. FT8501ANHAS van het merk HOTPOINT.

GEBRUIKSAANWIJZING FT8501ANHAS HOTPOINT

Gebruiksaanwijzing,2

Belangrijk,5

Service,8

Beschrijving van het apparatusat,10

Beschrijving van het apparaat,12

Het installeren,56

Starten en gebruik,58

Programma's,58

Voorzorgsmaatregelen en advies,61

Onderhoud en verzorging,61

HOTPOINT FT8501ANHAS - 1

Polski

Instrukcja obslugi

PIEKARNIK

Spis tresci

PAS OP: Dit apparaat en zijn bereikbare onderdelen wordenijdens gebruik zeer heet. Zorg ervoor de verwarmende elementen Niet aan te raken. Zorg ervoor dat kinderen die kleiner dan 8aar oud�niet dicht bij het apparaat+kennen, tenzij onder constanttoezicht. Het huidige apparaat mag alleen door kinderen van 8aar en ouder en door Personen met een beperkt lichamelijk, sensorieel of geestelijk vermogen, of zonder ervaring en kennis worden gebruikt, mits ze onder adequaat toezicht�n, of mits ze�n onderricht m.b.t. het veilige gebruik van het apparaat en zich bewust�n van

de betreffende bevaren. Voorkom dat kinderen met het apparaat spelen. De reinigings- en onderhoudshandelingen mogen Niet door kinderen worden uitgevoerd, tenzij onder toezicht.

Gebruik geen schurende producten, noch snijdende metalen spatels om de glazen deur van de oven te reinigen, aangezien deze het oppervlak zouden+kunnen krassen, en als gevolg het glas doen verbrijzelen.

Gebruik nooit huishoudapparaten met stoom of hoge druk voor het reinigen van de kookplaat.

PAS OP: Controller of het apparaatuit staat voor u de lamp verwangt, om te voorkomen dat u een elektrische schok krijgt.

! Bij het inbrengen van de grill erop letten dat de bevestigingsklem omhoog gericht is en zich weiterin de oven bevindt.

PL

Ostrzezenia

Dit dient u door te given:

  • Het soort storing;
  • Het model apparaat (Mod.)
  • Het serienummer (S/N)

Deze staat informationie bevindt zich op het typeplaatje op het apparaat

PL

Serwis Techniczny

Beschrijving van het apparatus

Algemeen aanzlicht

1 POSITIE 1
2 POSITIE 2
3 POSITIE 3
4 POSITIE 4
5 POSITIE 5
6 GLEUVEN om roosters in te schuiven
7 Rooster LEKPLAAT
8 Rooster GRILL
9 Bedieningspaneel

PL

Opis urzadzenia

Widok ogólny

1 POZIOM 1
2 POZIOM 2
3 POZIOM 3
4 POZIOM 4
5 POZIOM 5
6 PROWADNICE boczne
7 Poziom BLACHA UNIWERSALNA
8 Poziom RUSZT
9 Panel sterowania

HOTPOINT FT8501ANHAS - Widok ogólny - 1

IT

Beschrijving van het apparatus

Bedieningspaneel

1 Knop PROGRAMMA'S
2 Knop ANALOG PROGRAMMEREN
3 THERMOSTAATKNOP
4 CONTROLELAMPJE OVEN

5 Knop TIMER EINDE KOOKTIJD*

  • Slechts op enkele modellen aanwezig.

DE

! Bewaar dit boekje zorgvuldig voor eventuele verdere raadpleging. Wanner u het product weggeeft, verkoopt, of wanner u verhuist, dient u dit boekje bij het apparaat te bewaren zodate alle nodige informatie voorhanden blijft.
! Lees de gebruiksanaanjwijzingen zorgvuldig door: er staat belangrijke informatie in over installment, gebruik eneiligkeit.

Plaatsing

! Het verpakkingsmaterial is nicht bestemd voor kinderen en dient waarom te worden weggegoooo volgens de geldende normen voor geschaden afvalverzameling (zie Voorzorgsmaatregelen en advies).
! De installmentie要去 worden uitgevoerd door een bevoegde installerateur en volgens de instructies van de fabrikant. Een verkeerde installmentie kan schade berokkenen aan Personen, dieren of dingen.

Inbouw

Voor een goede werkung van het apparaat moet het keukenmeubel de juiste kenmerken hebben:

  • de zijkanten van de kastjes die aan de oven grenzen要去en hittebestendigহn;
  • in het bijzonder moet, in geval van meubels met fineer, de lijm bestand zich tergen temperaturen van 100^ ;
  • voor het inbouwen van de oven, zowelonder het aanrecht (zie figuur) alsin stapelbouw, dient het meubel de volgende afmetingen te hebben:

HOTPOINT FT8501ANHAS - Inbouw - 1

! Nadat het apparaat is ingebouwd, mag er geen contactmeer möglichk zijn met de elektrische onderdelen.
Het energieverbruik dat staat aangegeven op het typeplaatjeis gebaseerd op dit soort installmentie.

Ventilatie

Om een goede ventilatie te konnen garanderen is het noodzakelijk dechterkant van het meubel te verwijderen. Het verdient de voorkeur de oven op twee houten balken teplaatsen, of eventueel op een enkele plank die een opening heeft van tenminste 45 × 560 mm (zie afbeeldingen).

HOTPOINT FT8501ANHAS - Ventilatie - 1

HOTPOINT FT8501ANHAS - Ventilatie - 2

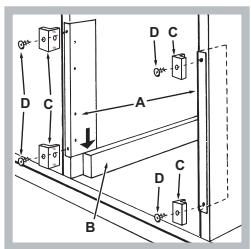
Centreren en bevestigen

  1. Plaats de beugels "A" aansluitend op de steunranden "B" van de oven.
  2. Plaats de klampen "C" aansluitend op de beugels "A". Als de dikte van de zijkant van het meubel:

16 mm is: monteer de klamp zodenig dat het nummer 16 dat erop staat waar u gericht is;
- 18 mm is: monteer de klamp zodenig dat het deel zonder tekst maar u gericht is;
- 20 ~mm is: monteer de klamp nicht.

  1. Bevestig de beugels en de klampen op de rand van de zichkant van het meubel met de schroeven "D".
  2. Bevestig de oven aan het meubel met de schroeven en plastic sluitingen "E".

HOTPOINT FT8501ANHAS - Centreren en bevestigen - 1

HOTPOINT FT8501ANHAS - Centreren en bevestigen - 2

Elektrische aansluiting

De ovens met driapolige voedingskabel functioneren met de wisselstroom, spanning en freiorentie die aangegeven staan op het typeplaatje op het apparaat (zie onder).

Monteren voedingskabel

HOTPOINT FT8501ANHAS - Monteren voedingskabel - 1

  1. Licht de lipjes aan de zijkant van het deksel van het klemmenbord op meteen schroevendraier: trek het deksel van het klemmenbord open (zie afb.).
  2. De voedingskabel in Working.
    werking stellen: draai de schroef van de kabelklem en de drie schroeven van de contacten L-N-los, en bevestig de draden onder de schroeven met inachtneming van de kleuren: Blauw (N) Bruin (L) Geel-Groen (zie afbeelding).
  3. Maak de kabel vast aan de waarvoort bestemde kabelklem.
  4. Sluit het deksel van het klemmenbord.

Het aansluiten van de voedingskabel aan het elektrische net

Gebruik voor de voedingskabel een stekker die genormaliseerd is voor de lading aangegeven op het typeplaatje.

Wonneer het apparaatrechtstreeks op het net worden aangesloten moet u tussen het apparaat en het net eeneerpolige schakelaar aanbrengen met een afstand tussen de contacten van minstens 3mm ,aangepast aan het elektrische vermogen en voldoend aan de geldende normen (de a Harding mag nicht worden onderbroken door de schakelaar). De voedingskabel要去 zodanig worden geplaatst dat hij nergens een temperatuur bereikt van 50^ hoger dan de kamertemperatuur.

! De installerateur is verantwoordelijk voor een correcte elektrische aansluiting en het in acht nemen van de veiligheidsnormen.

Voor het aansluiten要去 u controlleren dat:

  • het stopcontact geaard is en voldoet aan de geldende normen;
  • het stopcontact in staat is het maximale vermogen van het apparaat te dragen, zoals aangegeven op het typeplaatje;
  • de spanning zich befindt:tussen de waarden die staan aangegeven op het typeplaatje;
  • het stopcontact en de stekker overeenkomen. Als dat nicht zo is, dient u ofwel de stekker ofwel het stopcontact te verrangen; gelebruik geen verlengsnoeren of dubbelstekkers.

! Wanner het apparaat geinstalleerd is moeten het snoeren en het stopcontact gemakkelijk te bereiken+zijn.
! De kabel mag nicht worden gebogen of samengedrukt.
! De kabel要去 vanijd totijd worden gecontroleer en mag alleen door erkende monteurs worden verrangen (zie Service).
! De fabrikant kan nergens aansprakelijk voor worden gesteld als deze normen Niet worden nageleefd.

TYPEPLAATJE
Afmetingen*breedte 45,5 cm hoogte 32,4 cm diepte 40,6 cm
Inhoud*liter 58
Afmetingen**breedte 43,5 cm hoogte 32,4 cm diepte 40,6 cm
Inhoud**liter 60
Elektrische aansluitingenspanning 220-230V~ of 220-240V~ 50Hz of 50/60Hz maximaal opgenomen vermogen 2800W
ENERGY LABELRichtlijn 2002/40/CE op het etiket van elektrische ovens. Norm EN 50304 Energieverbruik convectie Natuurlijk verwarmingsfunctie: Traditioneel; Verklaring energieverbruik Klasse convectie hetelucht - verwarmingsfunctie: Gebak.
CEDit apparaat voldoet aan de volgende Europese Richtlijnen: 2006/95/EEGvan 12/12/06 (Laagspanning) en haaropvolgende wijzigingen - 2004/108/EEG van 15/12/04 (Elektromagnetische Compatilititeit) enhaaropvolgende wijzigingen - 93/68/EEG van 22/07/93 en haaropvolgende wijzigingen. 2012/19/CE enaaropvolgende wijzigingen. 1275/2008 standby/off mode.
  • Alleen voor modellen met diepgetrokken geleiders.
    **Alleen voor modellen met uitstekende geleiders.

Starten en gebruik

HOTPOINT FT8501ANHAS - Starten en gebruik - 1

BELANGRIJK! De oven is uitgerust met een blokkeringssystem voor de grill dat het möglichkt maakt om de grill waar buiten te trekken zonder dat deze buiten de oven komt (1).

Om de grill volledig te

verwijden, de grill aan de voorkant optillen en maar buiten trekken, zoals op de tekening afgebeeld is (2).

! Wij raden u aan bij het eerste gebruik de oven minstens een uur leeg te latent functioneren, op maximum temperatuur en met de deur dicht. Nadat u de oven heeft uitgeschakeld, opent u de ovendeur en lucht u het vertrek. De lucht die u ruikt komt door het verdampen van de middelen die worden gebruikt om de oven te beschermen.

De tijd instellen*

Druk en draai de PROGRAMMEERKNOP gegen de klok in totdat de huidige&tijd is ingesteld.

HOTPOINT FT8501ANHAS - De tijd instellen* - 1

! Het instellen van de tijd is alleen möglichk als de oven is aangesloten op het elektrische net. Als de stroom uittvalt worden de PROGRAMMEERFUNCTIE onderbroken: als de stroom terugkeert dient u de tijd opniew in te stellen.

De oven starten

  1. Door aan de knop PROGRAMMA'S te draaien kutu het gewenste kookprogramma kiezen.
  2. Kies de temperatuur door aan de knop THERMOSTAAT te draaien. Een lijst met kooktijden en aanbevolen kooktemperaturen kutu terugvinden in de Kooktabel (zie Programma's).
  3. Als het contrôlelampje THERMOSTAAT aan is, bevindt de oven zich in de verwarmingsfase en is bezig de ingestelde temperatuur te bereiken.
  4. Tijdens het koken kutn u nog.altijd:
  5. het kookprogramma veranderen met behulp van de knop PROGRAMMA'S;
  6. de temperatuur veranderen met behulp van de knop THERMOSTAAT;
  7. het koken onderbreken door de knop PROGRAMMA'S, weer op stand "0" tezetten.

!Zet nooit voorwerpen op de bodem van de oven; u riskeert hiermee het email te beschadigen.

! Plaats de overschalen algijd op bijgeleverde roovers.

  • Slechts op enkele modellen aanwezig.

Ventilator

Teneinde de hitte aan de buitenkant van de oven te beperken, zich enkele modellen voorzien van een ventilator. Hierdoor ontstaat een luchtstroom die tussen het bedieningspaneel en de ovendeur maar buiten komt.

!Aan het einde van de kooktijd blijft de ventilator draaien totdat de oven voldoende is afgekoeld.

Ovenverlichting

Deze gaat werken door de knop PROGRAMMA'S op te draaien. Ze blijft aan wonneer u een kookprogramma selecteert.

Gebruik de timer Einde Kooktijd*

  1. U要去 allereerst het geluidssignaal opwinden door de knop TIMER EINDE KOOKTIJD bijna helemaal met de klok mee te draaien.
  2. Draai de knop waar gegen de klok in en stel de gekozen tijd in. Zorg ervoor dat de minuten die+zijn aangegeven op de knop TIMER EINDE KOOKTIJD samenvallen met de vaste aanwijzer op het bedieningspaneel.
  3. Als de hijd verstreten is hoort u een geluidssignaal en gaat de oven uit.
  4. Als de oven uit is kan de timer als gewone kookwekker worden gebruikt.

! Als u de oven handmatig wilt gebruiken, en dus de timer voor het einde van de kookitijd wilt uitschakelen, moet de knop TIMER EINDE KOOKTIJD tot aan het symbol worden gedraaid.

Programma's

! U=kunt voor alle programma's een temperatuur:tussen de 60^ en MAX instellen, behalve:

  • BARBECUE (hierbij is het aanbevolen alleen MAX te gebruiken);
  • GRATINEREN (hierbij is het aanbevolen nicht meer dan 200^ in te stellen).

HOTPOINT FT8501ANHAS - Programma's - 1

Programma TRADITIONELE OVEN

Met deze tradionele kookwijze is het better een enkel rooster te gebruiken: met meertere roovers riskeert u een slechte temperatuursverspreiding.

HOTPOINT FT8501ANHAS - Programma TRADITIONELE OVEN - 1

Programma GEBAK OVEN

Deze functie is aanbevolen voor het bakken van fijneregechten (bijvoorbeeld taarten die moeten rijzen) enkleine gerechten die u op 3 roovers tegelijkkertijd wilt koken.

HOTPOINT FT8501ANHAS - Programma GEBAK OVEN - 1

Programma FAST COOKING

Bij dit programma worden de oven Niet voorverwarmd. Dit programme is vooral geschikt voor het snel koken van kant en klare gerechten (diepvriesproducten en voorgekookegeerechten). De Beste resultaten verkrijgt u als u een enkel rooster gebruikt.

HOTPOINT FT8501ANHAS - Programma FAST COOKING - 1

Programma MULTIKOPEN

Aangezien de warmte in de hele oven constant is, zorgt de lucht dat de gerechten op gelijkmatige wijze gekootk en gebakken worden. Hier is het möglichkmaximaal twee roosters tegelijk te gebruiken.

HOTPOINT FT8501ANHAS - Programma MULTIKOPEN - 1

Programma PIZZA OVEN

Met deze combinatie worden de oven snel warm dankzij het aanzienlijke vermogen dat voornamelijk van onderaf komt. Indien u meertere roovers tegelijk gebruikt要去 u de gerechten halverwege de kooktijd omwissenelen.

HOTPOINT FT8501ANHAS - Programma PIZZA OVEN - 1

HOTPOINT FT8501ANHAS - Programma PIZZA OVEN - 2

Programma BARBECUE

Het koken onder de grill is vooral aan te raden voor gerechten die een hoge en directe temperatuur aan de buitenkant nodig hebben. Kook met de ovendeur zich.

HOTPOINT FT8501ANHAS - Programma BARBECUE - 1

HOTPOINT FT8501ANHAS - Programma BARBECUE - 2

Programma GRATINEREN

Hiermee worden de rechtstreekse boenhitte van de grill gecombineerd met de circulatie van de lucht in de oven. Eventueel verbranden van de buitenkant worden zo vermeden; de warmte dringt gemakkelijker door maar de binnenkant. Kook met de ovendeur zich.

Braadspit*

Voor het activeren van het draaispit (zie afbeelding) gaat u als volgt te werk:

HOTPOINT FT8501ANHAS - Braadspit* - 1

  1. Plaats de lekplaat in stand 1;
  2. Zet de steun van het draaispit op de 3e stand en steek de vleespen in de speciale opening achterin de oven;
  3. Activeer het draaispit door de programma's of

te selecteren;

De kooktijd programmeren

Programming onmiddellijke start kooktijd

  1. Draai de PROGRAMMEERKNOP gegen de klok in totdat de gewenste koektijd in het afleesvenstertje verschijnt.
  2. Trek aan de PROGRAMMEERKNOP en draai hem segende klok in totdat het bewegende wijzertje op de huidige tijd komt te staan. Bij einde handeling hoort u een klik.
  3. Door aan de knop PROGRAMMA'S te draaien kut u het gewenste kookprogramma kiezen. De oven gaat direct aan en zal tijdens de ingestelde koektijd in werkig blijven.
  4. Als deijd verstreken is hoort u een geluidssignaal. Om dit te stoppen draait u de PROGRAMMEERKNOP gegen de klok in totdat het symbol "ü" op het afleesvenstertje verschijnt.
  5. Zet de knop PROGRAMMA'S op stand "0".

B.v.: het is 9:00 uur en u programmeert een duur van 1 uur en 15 minutes. Het programme stocht automatisch om 10:15.

HOTPOINT FT8501ANHAS - Programming onmiddellijke start kooktijd - 1

Slechts op enkele modellen aanwezig.

Een uitgestelde kooktijd programmeren

  1. Draai de PROGRAMMEERKNOP gegen die klok in totdat de gewenste koektijd in het afleesvenstertje verschijnt.
  2. Trek aan de PROGRAMMEERKNOP en draai hem segende klok in totdat het bewegende wijzertje op de gekozen begintijd komt te staan.
  3. Selecteer het gewenste kookprogramma door middel van de knop PROGRAMMA'S. De oven zal op de ingestelde begintijd aangaan en in werkung blijven gedurende gekozen kookitijd.
  4. Als deijd verstreken is hoort u een geluidssignaal. Om dit te stoppen draait u de PROGRAMMEERKNOP gegen de klok in totdat het symbol "ü" op het afleesvenstertje verschijnt.
  5. Zet de knop PROGRAMMA'S op stand "0".

B.v.: het is 9:00 uur, u programmeert een duur van 1 uuer en 15 minutes en de begintijd om 11:00. Het programma za automatisch om 11:00 beginnen en tot 12:15 duren.

! Voor het annuleren van een programmering draait u de PROGRAMMEERKNOP gegen de klok in totdat het symbool "ü" op het afleesvenstertje verschijnt.

Praktische kooktips

! Gebruik voor het koken met de heteluchtoven nooit de standen 1 en 5: in deze standen zou de hete lucht de fijneregechten können verbranden.

!Bij de functies BARBECUE of GRATINEREN, in het bijzonder wanner u het draaispit gebruikt, raden wij u aan de lekplaat op stand 2 te zetten om eventueel vet of jus op te vangen.

MULTIKOPEN

  • Gebruik de standen 2 en 4, en plaats de gerechten die meer warmte nodig hebben op stand 2.
  • Plaats de lekplaat op de onderste stand en het rooster op de hoogste.

BARBECUE

  • Plaats de grill op stand 3 of 4,plaats de gerechten op het midden van de grill.
  • We raden u aan het energieniveau op de hoogste stand te zetten. Het is normaal dat het bovenste verwarmingselement Niet constant aan blijft: zich werking worden geregold door eenthermostat.

PIZZAOVEN

  • Gebruik een lichte aluminium overschaal en zet hem op het bijgeleverde ovenrooster.
    Bij gebruik van de lekplaat is de bereidingstijd langer en krijgt u waarschijnlijk geen krokante pizza.
  • Bij zeer gezulde pizza's raden wij aan de mozzarella of andere kaas pas halverwege de kooktijd toe te voegen.

Kooktabel

Programma'sGerechtenGewicht (kg)RoosterstandenVoorverwarme nAangeradinen temperatuur (°C)Duerrbeiding (minute)
standaard geleidersverschuißare geleiders
Traditionele ovenEend1,521ja200-21070-80
Kip1,521ja200-21060-70
Gebraden kalfs- of rundvlees121ja20070-75
Gebraden varkensvlees121ja200-21070-80
Koekjes (kruimeldeeg)-21ja18015-20
Vruchtentaart (harde bodem)121ja18030-35
Gebak ovenVruchtentaart (harde bodem)0,52 of 31 of 2ja18025-35
Vruchtentaart10,72 of 31 of 2ja18040-50
Cakejes0,72 of 31 of 2ja170-18045-55
Kleine cakejes op 2 roosters0,62 en 41 en 3ja180-19020-25
Cake0,72 of 31 of 2ja160-17030-40
Soesjes op 3 roosters0,71 en 3 en 51 en 2 en 4ja180-19020-25
Koekjes op 3 roosters0,81 en 3 en 51 en 2 en 4ja18020-25
Gevulde flensjes0,521ja20030-35
Meringue op 3 roosters0,51 en 3 en 51 en 2 en 4ja90180
Kaaskoejes0,521ja21020-25
Fast cookingDiepvriesproducten
Pizza Courgettes en garnalen in deeg0,321-25012
Spinaziequiche0,421-20020
Panzerotti (grote gefrituurde ravioli)0,521-22030-35
Lasagne0,321-20025
Gebakken broodjes0,521-20035
Kip-snacks0,421-18025-30
Voergekoekte gerechten
Gebakken kippenvleugels0,421-20020-25
Verse etenswaren
Koekjes (kruimeldeeg)0,321-20015-18
Cakejes0,621-18045
Kaaskoejes0,221-21010-12
MultikokenPizza op 2 roosters2 en 41 en 3ja220-23020-25
(Vruchtten)taarten op 2 roosters2 en 41 en 3ja18030-35
Cake op 2 roosters (op lekplaat)2 en 41 en 3ja17020-25
Gebradenkip + aardappels1+11 en 2/31 en 3ja200-21065-75
Lamsvlees121ja190-20045-50
Makreel11 of 21ja18030-35
Lasagne121ja190-20035-40
Soesjes op 2 roosters2 en 41 en 3ja19020-25
Koekjes op 2 roosters2 en 41 en 3ja19010-20
Kaaskoejkes op 2 roosters2 en 41 en 3ja21020-25
Hartige taarten1 en 31 en 3ja20020-30
Pizza ovenPizza0,521ja22015-20
Focaccia-brood0,521ja20020-25
BarbecueMakreel143neeMax15-20
Tong en inktvis0,743neeMax10-15
Calamari- en garnalenspiesjes0,743neeMax8-10
Kabeljauwfillet0,743neeMax10-15
Gegrille groenten0,53 of 42 of 3neeMax15-20
Kafsbiefstuk0,843neeMax15-20
Saucijzen0,743neeMax15-20
Hamburgersn° 4 of 543neeMax10-12
Tosti (of groosterd brood)n° 4 of 643neeMax3-5
Kip aan het spit (indien draaispit aanwezig)1--neeMax70-80
Lam aan het spit (indien draaispit aanwezig)1--neeMax70-80
GratinerenGegrillekip1,522nee21055-60
Inktvis12i2nee20030-35
Kip aan het spit (indien draaispit aanwezig)1,5--nee21070-80
Eend aan het spit (indien draaispit aanwezig)1,5--nee21060-70
Gebraden kalfs- of rundvlees122nee21060-75
Gebraden varkensvlees122nee21070-80
Lamsvlees122nee21040-45

! De kooktijden dieren slechts als indicatie en+kunnen naer eigcn smaak worden aangepast. De voorverwarming van de oven is door de fabriek ingesteld en kan nicht handmatig worden gewijzigd.

Voorzorgsmaatregelen en advies

! Dit apparaat is ontworpen en vervaardigd volgens de geldende internationale veriligheidsvoorschriften. Deze aanwijzingen zijn geschreven voor uw verilighid en u dient ze derhalve goed door te nemen.

Algemene veiligheidsmaatregelen

  • Dit apparaat is vervaardigd voor Niet-professioneel gebruik binnenshuis.
  • Het apparaat dient Niet buitenshuis te worden geplaatst, ook Niet in overdekte toestand. Het is erg gaevaarlijk als het in aanraking kommt met regen of als het onweert.
    Maak gebruik van de handgrepen aan de zichkant van de oven om het apparatus te verplaatsen.
  • Raak het apparaat Niet aan als u blootsvoets bent of met natte of vochtige handen of voeten.
  • Het apparaat dient om gerechten te koken. Het mag uitsluitend door volwassenen worden gebruikt en alleen volgens de instructies die beschreiben staan in deze handleiding. leder ander gebruik (b.v.: verwarming van de vertrekken) is Niet aangewezen en dus gevaarlijk. De fabrikant kan Niet aansprakelijk worden gesteld voor eventuele schade die te wijten is aan onjuist, verkeerd en onredelijk gebruik.
  • Tijdens het gebruik van de oven worden de verwarmingselementen en enkele delen van de ovendeur zeer heet. Raak ze Niet aan en houd kinderen op een afstand.
  • Voorkom dat elektrische snoeren van anderekleine keukenapparaten op warme delen van de oven terechtkommen.
  • Laat de ventilatieopeningen en warmteafvoer vrij.
  • Pak het handvat van de overendeur alleen in het midden vast: aan de zijkant zou het heet hunnen zijn.
  • Gebruik als tijd ovenwanten om gerechten in de oven te zetten en eruit te halen.
  • Plaats geen aluminiumfolie op de bodem van de oven.
  • Plaats geen brandbaar materiaal in de oven: als de oven plotseling aan zou worden gezet zou dit materiaal vlam+kunnen vatten.
  • Controller altijd dat de knappen in de stand “●”/“○” staan als het apparaat Niet worden gebruikt.
  • Trek nooit de stekker aan het snoer UIT het stopcontact, maar pak altiijd de stekker direct beet.
    Maak het apparaat Niet schoon of voer geen onderhouduit als de stekker nog in het stopcontact zit.
  • Probeer in geval van storingen nooit zich de interne mechanismen van het apparaat te repareren. Neem contact op met de Technische Dienst (zie Service).
  • Plaats geen voorwerpen op de open ovendeur.
  • Voorkom dat kinderen met het apparaat spelen.
  • Dit apparaat mag nicht worden gebruikt door Personen (kinderen inbegren) met een beperkt lichamelijk, sensorieel of geestelijk vermogen of Personen die nicht de nodige ervaring of kennis hebben met het apparaat, tenzij onder toezicht van een persoon die verantwoordelijk is voor hun veiligheid of nadat hun is uitgelegd hoe het apparaat werkt.

  • Het apparaat is nicht geschikt om te worden ingeschakeld m.b.v. een externe timer ofwel door een gescheiden afstandsbedieningssystem.

Afvalverwijdering

  • Verwijdering van het verpakkingsmaterial: houd u aan deplaatselijke normen, zodate het verpakkingsmaterial hergebruikt kan worden.
  • De Europese Richtlijn 2012/19/EC over Vernietiging van Electrische en Electronische Apparatuur (WEEE), vereist dat oude huishoudelijkke electrische apparaten nicht mogen vernietigd via de normale ongesorteerde afvalstroom. Oude apparaten要去enApart worden ingezameld om zo het hergebruik van de gebruikte materialen te optimaliseren en de negatieve invloed op de gezondheid en het milieu te reduceren. Het symbol op het product van de "afvalcontainer met een kruis erdoor" herinnert u aan uw verplichting, dat wanner u het apparaat vernietigt, het apparaat apart要去en worden ingezameld.

  • Consumen moeten contact opnemen met de locale autoriteiten voor informatie over de juiste wijze van vernietiging van hun oude apparaat.

Energiebesparing en milieubehoud

  • Door de oven te gebruiken vanaf het late middaguur tot aan de vroege ochtend zorgt u ervoor dat de elektriciteitscentrales minder worden belastijdens het 'spitsuur'. De optie waarmee u programma's voorprogrammeert, in het bijzonder de "uitgestelde bereiding" (zie Programma's) en de "vertraagde automatische reiniging" (zie Onderhoud en verzorging), können u hierbij helpen.
  • Houd bij de functies BARBECUE en GRATINEREN als tijde de ovendeur zich: u bereikt betere kookresultaten een aanzienlijke energiebesparing (circa 10% ).
  • Houd de afdichtingen alsijd schoon zodat ze goed aansluiten op de deur en er geen hitte vrij kankommen.

Onderhoud en verzorging

De elektrische stroom aflsluiten

Sluit algid eerst de stroom af voordat u tot enige handeling overgaat.

Schoonmaken van het apparatus

  • De buitenkant, dus zowel het email en het roestvrij staal als de rubberen afldichtingen,+kunnen met een spons en een neutrale zeep worden afgenomen. Als de vlekken moeilijk te verwijderen zijn, kunt u een special Reinigingsmiddel gebruiken. Na het reinigen dient u alles goed af te spoelen en te drogen. Gebruik geen schuurmiddelen of bijtende producten.
  • De binnenkant van de oven kunt u het Beste direct na gebruik schoonmaken, als hij nog lauw is. Gebruik warm water en een schoonmaakmiddel, spoel cervolgens af en droog met een zachte doek. Gebruik geen schuurmiddelen.
  • De accessoires können gewoon worden aufgewassen (eventueel ook in de vaatwasser), met uitzondering van de geleiders.

  • We raden u aan de schoonmaakmiddelen Niet direct op het bedieningspaneel te spuiten maar een sponsje te gebruiken.

! Gebruik nooit stoom- of hopedrukreinigers voor het reinigen van het apparatus.

De ovendeur reinigen

Reinig het glas van de deur met een sponn en nicht schurende producten. Droog met een zachte doek. Gebruik geen ruwe schurende materialen of scherpe schrapertjes die het oppervlak zouden konnen krassen waardoor als gevolg het glas zou konnen barsten. U kunt voor een grondige reiniging de overendeur verwijderen:

HOTPOINT FT8501ANHAS - De ovendeur reinigen - 1

  1. open de deur volledig (zie afbeelding);

HOTPOINT FT8501ANHAS - De ovendeur reinigen - 2

  1. til de hendeltjes op die zich aan de twee scharnieren bevinden en draai ze (zie afbeelding);

HOTPOINT FT8501ANHAS - De ovendeur reinigen - 3

  1. pak de deur aan de zijkanten beet en sluit hem langzaam, maar nicht hebelaal. Trek dan de deur maar u toe en haal hem uit+zijn voegen (zie afbeelding).

Zet de deur weer op+zijn plaats door deze handelingen in omgekeerde volgorde uit te voeren.

Het controlleren van de afdichtingen

Controleer regelmatig de staat van de afdichtingen rond de ovendeur. In het geval de afdichtingen beschadigd zijn, dient u zich tot de dichtst bijzijnde Technische Dienst te wenden (zie Service). Gebruik de oven Niet voordat de reparatie is uitgevoerd.

Vervangen van het lampje*

HOTPOINT FT8501ANHAS - Vervangen van het lampje* - 1

Voor het verwangen van het ovenlampje:

  1. Schroef het glazen lampenkapje los.
  2. Schroef het lampje los en verrang het met eenzelfde soort lampje: sterkte 25W, fitting E 14.
  3. Plaats het deksel er weer op (zie afb.).

! Gebruik de ovenlamp nooit om een vertrek te verlichten.

Montage van de Geleiders Kit*

HOTPOINT FT8501ANHAS - Montage van de Geleiders Kit* - 1

Zo monteert u de geleiders: 1. Verwijder de tweedraagrekken door zeuit de afstandleiders A te trekken (zie afbeeling).

HOTPOINT FT8501ANHAS - Montage van de Geleiders Kit* - 2

  1. Kies het niveau waarop u de geleiders wiltplaatsen. Plaats eerst de drukknop B op het draagrek enervolgens de drukknop C. Let goed op de uittrekrichting van de geleider.

HOTPOINT FT8501ANHAS - Montage van de Geleiders Kit* - 3

  1. Bevestig de twee draagrekken, met de geleiders al op hun plaats, in de speciale gaten op de wanden van de oven (zie afbeeling). De gaten voor het linker draagrek bevinden zich aan de bovenkant, terwijl de gaten voor hetrechtter draagrek zich aan de onderkant bevinden.

  2. Zet tensotte de draagrekken vast op de afstandleiders A.

! Plaats de geleiders nooit in stand 5.

  • Slechts op enkele modellen aanwezig.

Instalacja

Handleidingassistent
Powered by Anthropic
Wachten op uw bericht
Productinformatie

Merk : HOTPOINT

Model : FT8501ANHAS

Categorie : Oven