TOLEDO XT 110DFSS - Keukenapparaat FALCON - Gratis gebruiksaanwijzing en handleiding
Vind de handleiding van het apparaat gratis TOLEDO XT 110DFSS FALCON in PDF-formaat.
Gebruikersvragen over TOLEDO XT 110DFSS FALCON
0 vraag over dit apparaat. Beantwoord die u kent of stel uw eigen vraag.
Stel een nieuwe vraag over dit apparaat
Download de handleiding voor uw Keukenapparaat in PDF-formaat gratis! Vind uw handleiding TOLEDO XT 110DFSS - FALCON en neem uw elektronisch apparaat weer in handen. Op deze pagina staan alle documenten die nodig zijn voor het gebruik van uw apparaat. TOLEDO XT 110DFSS van het merk FALCON.
GEBRUIKSAANWIJZING TOLEDO XT 110DFSS FALCON
Gebruiks- en installmenthandleiding
U103001 - 05A

Deutsch

Français

Nederlands


Veiligheid vooralles 36
Kookplaatbranders 36
Bakplaat 37
Bordenwarmer 37
Grill 37
Ovens 37
Het Handyrack 38
Het grillelement 39
39
De klok 39
Koken met behulp van de timer 40
Het fornuis schoonmaken 40
Het fornuis verplaatsen 41
Problemen op losses 42
Algemeneveiligheidsvoorschriften 43
Onderhoud en reserveonderdelen 44
Installatie 45
Ombouwen voor gebruik met een andere gassoort 48
Schakelschema 51
Ombouwen voor gebruik met een andere gassoort 54
Veiligkeit vooralles
Net als mensen heeft ook uw fornuis behoefte aan schone, frisse lucht. De vlammen van de branders goven gassen,但它 en vocht af. Zorg ervoor dat de keuken goed geventileerd is: houd bestaande ventilatiegaten open of installer een aangdeven afzuigkap die de dampen maar buiten toe afvoeren. Indien u gedurende langeijd meertere branders van het fornuis tegelijk gebruikt, dient u een raam open te zetten of een ventilator aan te zetten. Meer informatatie vindt u in de
Aanwijzingen voor de installment.
Indien u nog nooit een gasfornuis hebt gebruikt, worden u aangeraden allereerst het gedeelte 'Algemene veiligheids-voorschriften' te lezen.
Hieronder volgt een aantal algemene richtlijnen voor het veilig gebruik van het gasfornuis.
Gas en elektriciteit aan
Controleer of de gasvoeding en de stroomvoeding aangesloten en ingeschakeld zich. Het fornuis gebruikt stroom.
Vreemde geuren
De eerste keer dat u het fornuis gebruikt, geeft het wellicht een lichte geur af. Dit verdwijnt na korteijd.
Kookplaatbranders
Bij sommige modellen is de kookplaat van een glazen deksel voorzien. Indien het deksel gesloten is, dient u het aan de voorkant op te tillen.
Het fornuis is voorzien van een veiligheidsklep die de gastoevoer maar de kookplaat aflsuit wonneer het deksel gesloten is. De klep Niet gebruiken om de branders uit te zetten.
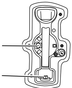
De tekening bij de knappen gehen aan welke brander de betreffende knop regelt. De branders zijn elk voorzien van een speciale verilgheidsmechanisme dat de gastroom afluit indien de vlam uitgaat.
Druk de knop in en draai hem waar de afbeelding van de grote vlam.

deze aanwijzing is van toepassing op een reeks modellen met verzillende bedieningsknuppen – de afbeeldingen zichen enkel schematisch.
Blijf de knop ingedrukt houden. Er stroomt gas maar de brander.

Druk de ontstekingsknop in of steck de brander met een lucifer aan. Houd de knop ongeveer 10 seconden ingedrukt.
Als de brander uitgaat wanner u de knop loslaat, hebt u nicht lang genoeg gewacht. Draai de knop maar de uit-stand en wacht een minuut. Probeer het dan nogmaals Maar houd de knop.Deze keer iets langer ingedrukt.
U=kunt de hoogte van de vlam met behulp van de knop afregelen. De afbeelding van dekleine vlam is de laagste stand.

Gebruik geen paffen of ketels met een holle onderkant of met een uitstekende onderrand.
Het gebruik van sudderhulpmiddelen zoals matten van asbest of maas worden AFGERADEN. Dergelijkhe hulpmiddelen belemmeren de werkung van de brander en tasten wellicht de pannenroosters aan.
De aanbevolen minimumdiameter voor pannen is 120mm .
De maximumdiameter voor pannen is 250mm . Grote pannen dieren Niet te zich bij elkaar te worden gezet.
De wokbrander van 3 ringen (slechts sommige modellen) is bedoeld om de warmte gelijkmatig te verspreiden over een groot oppervlak. Deze brander is bijzonder goed geschikt voor große pannen en wokken. Voorkleinere pannen zijn dekleinere branders beter geschikt.
Bakplaat
De bakplaat past op een pannenrooster, van voor maarachten. Ukteuntrechtstreeks op de plaat koken. Zet geen pannen op deze plaat. De bakplaat is van een antiaanbaklaag voorzien. Metalen keukengerei (bijv. spatels) beschadigende zaag. Gebruik keukengerei van hittebestendig plastic of hout.
Plaats de bakplaat op een pannenrooster boven de kookp-laatbranders.
Zet de bakplaat Niet op de wokbrander of de hoge brander (rechterkookplaat) - hij past Niet op het pannenrooster van de hoge brander.
U=kunt eventueel vór gebruik een dunne laag kookolie op de bakplaat aanbrengen. Steek de kookplaatbranders aan. Regel de vlamhoogte af maar wens.
Laat de bakplaat Niet langer dan 5 minuten opwarmen voordat u er eten op doet. Als u langer wacht kan de planta beschadigen. Draai de regelknoppen maar de afbeelding van dekleine vlam om de branders lager te zetten.
Laat algid ruimte over aan de zijkanten van de bakplaat, zodat de gassen+kennen ontsnappen. Zet in geen geval twee bakplaten naast elkaar.
Laat de bakplaat na gebruik afkoelen voordat u hem schoonmaakt.
Bordenwarmer
U kunt de bordenwarmer gebruiken om eten warm te houden verwijl u de LASTE hand legt aan de rest van de maaltijd. Draai de regelknop linksom maar de aan-stand. Het 'heet' lampje gaat branden.
VOORZICHTIG: - Indien er barsten in het oppervlak van de bordenwarmer verschijnen als gevolg van incidentele beschadiging etc., dient u onmiddelijk de stekker eruit te trekken om het apparaat van de stroom af te sluiten, en het te lately repareren.
Sluit het fornuis pas weeer op de stroom aan als het gerepaereerd is.
Grill
Voorzichtig: Tijdens gelebruik van de grill worden sommige van de onderdelen die binnen bereik zijn weltlicht heet. Houdjonge kinderen uit de buurt.
Leg het eten op de grillpan en schuif de grillpan op de inschuifrichels maar binnen. Duw de pan—helemaalaarachten tot hij gegen de achteraanslag aan zit. De grill is voorzien van twee straalelementen zodat u ofwel de hele grillpan of alleen hetrechterdeel van de grillpan kunt verwarmen.
Draai de knop maar stand 3.
Voor de Beste resultaten dient u de grillpan 2 Minutes voor te verwarmen. Leg het eten op de grillpan en schuif de grillpan op de inschuifrichels maar binnen. Stel de stand van de grill af met behulp van de regelknop.
Doe in geen geval de grilldeur zichterwijl de grill aanstaat.
De grillpan kan worden omgekeerd voor een tweede grillstand.
Laat de grill nicht länger dan enkele seconden branden zonder dat de grillpan eronder staat.
Ovens
Het fornuis heeft twee verschillende ovens.
De rechteroven is een heteluchtoven. De ventilator doet het lucht circuleren, wat tot een snellere warmteverdracht maar het eten leidt.
De linkeroven is een conventionele oven die is voorzien van twee straalelementen: het eerste is zichtaar bovenaan de oven en het tweede zit onder de bodem van de oven. Pas op dat u het bovenelement en de elementdeflector Niet aanraakt als uarticelen in de oven zet ofuit de oven verwijdert.
Voordat u de ovens voor het eerst gebruikt, dient u ze 30 minutes lang op 200^ voor te verwarmen om eventuele productiegeuren te verdrijven.
Nederlandss
Draai de ovenknop waar de gewenste temperatuur. Het ovenlampje gaat branden en dooft pas als de oven de ingestelde temperatuur bereikt heeft. Vervolgens gaat het lampjeijdens het bakken aan en uit. Bij het vereiden van gerechten met een hoog watergehalte (bijv. ovenfriet) verschijnt wellicht eenkleine hoeveelheid stoom bij de opening aan de achterkant van de kookplaat. Dit is heel normalaal.
De heteluchtoven (rechts) heeft een stand waarmee enkel de ventilator ingesteld worden (念) . In deze stand doet de ventilator lucht in de oven circuleren maar gaat het straalelement Niet aan. Deze stand leent zich uitstekend voor het ontdooien van diepvriesproducten.
Hele kippen en grote stukken vlees dient u in de koelkast te lien ontdooien. Gebruik de oven Niet om voedsel te ontdooien als de oven warm is of als de oven ernaat heet is.
Duw de ovenrekken.altijd helemaal tot acheterin de oven.
Bakplatzen, vleespannen en dergelijkke dieren in het midden van de ovenrekken in de oven te worden geplaatst. Zet de platen en schotels Niet gegen de zijkanten van de oven aan, anders kan de harelucht nicht circuleren.
De aanbevolen maximumafmetingen voor bakplaten is 340~mm bij 340~mm , zodate het gerecht gelijkmatig bruint.
Bij het bereiden van gerechten met een hoog vochtgehalte komt soms veel stoom vrij als u de ovendeur opentrekt. Ga Niet te zicht bij de oven staan als u de deur opentrekt en LAST de stoom wegtrekken.
Zet de deur nicht langer open danoodzakelijk is als de oven aanstaat, anders worden de knappen wellicht heet.
Laat.altijd ongeveer een vingerbreedte ruimte vrij:tussen verschillende gerechten op hetzelfderek. Zo kan de hitte goed circuleren rond de gerechten.
De 'Cook & Clean' bekledingsspanelen (zie 'Het fornuis schoonmaken') werken better als vetspetters vermeden worden. Bij het braden van vlees dient u het vlees af te dekken.
Indien u groenten aan het hete vet van een braadstuk gaat toevoegen, kunt u het groente goed uitdrogen of van een dunne laag kookolie te voorzien om spettert te vermijden.
De ovenrekken
De ovenrekken zijn makkelijk in een uit de oven te schuiven.
Trek aan het rek tot de achterkant van het rek worden tegegehonden door de aanslagen van de inschufrichels.

Til de voorkant van het rek op om de achterkant van het rek onder de aanslag door te halen. Trek het rek erervolgens UIT.

Om een rek in de oven te schuiven, kiest u een inschuifrachel en duwt u gegen het rek tot de achterkant van het rek tegen de achteraanslag aan zit. Til de voorkant van het rek op om de achterkant van het rek onder de achteraanslagen door te halen. Duw het rekervoVGens helemaal in de oven.
Het Handyrack

Het 'Handyrack' pastuitsluitend op de deur van de linkeroven. Het 'Handyrack' heeft een maximumcapaciteit van 5,5 kg. Het 'Handyrack'dientuitsluitend te worden gebruikt in combinatie met de bijgeleverde vleespan die op het 'Handyrack' past. Andereblinkken zijn wellicht onstabel.
Terwijl het 'Handyrack' op het hoogste rek staat,kest u het onderste rek van de oven gebruiken om andere gerechten te bereiden.
Terwijl het 'Handyrack' op het laagste rek staat,kest u de tweederekstand van de oven gebruiken om andere gerechten te bereiden.
U knot het 'Handryrack' aanbrengen door een Kant ervan op de deurhaak teplaatsen.

Trek de andere kant uit en klem het vast aan de andere deurhaak.

Het grillelement
Het grillelement zit bovenin de linkeroven. U kunt het grillelement aan het einde van de normale kookperiode gebruiken om gegratineerde gerechten te bruinen of om vleesgerechten een krokant korstje te gehen.
Draai na afloop van de normale kookperiode de thermostaatknop van de linkeroven rechtsom maar de grillstand. Deze stand herkent u aan het symbol ( ) op het bedieningspaneel.
Wanner de thermostaatknop in deze stand staat, werkt alleen het grillelement. De bovenste en onderste elementen worden automatisch uitgeschakeld.
Opslag
In de lade onderin kut u ovenplaten en andere kookgerei opslaan. Daar de lade soms zeer warm worden, dient u er geen artikelen in op te slaan die möglichk smelten of vuur vatten. U kut de lade in zich geheel verwijderen door hem maar voren enaar boven te trekken.
De klok
U kurz de timer gebruiken om de ovens automatisch aan en uit te zetten. Controller of de klok op de juistearend ingesteld is.
De tijd instellen:



Druk de knop in zoals op de afbeelding is weergegeven. Druk tegelijkertijd op (-) of (+) tot de klok de juiste vrij aangeeft. Denk eraan dat het een 24-uursklok is. Als u een fout maakt of de verkeerde knop indrukt, sluit de stroom dan even af en begin opnieuw.
De tijd instellen voor een bepaald gerecht (minutenteller)



Druk (Ω) in en houd het ingedrukt. Druk tegelijkertijd op (-) of (+) tot de klok de gewenste kookitijd aangeeft.



U kunt op (D) drukken om te kijken hoeveelijd nog resteert en u kunt op (D) drukken om de pieper te annuleren.
De oven automatisch in- en uitschakelen
Voordat u de timer instelt, moet u aan tweeijd denken.
De 'kookperiode', ofwel hoe lang u de oven aan wilt hebben.
De 'stootijd', ofwel wanner u de oven wilt latent uitschakelen.
U=knt geen starttijd instellen -deze worden automatisch bepaald aan de hand van de ingestelde kookperiode en stootijd.
Druk de knop in en houd hem ingedrukt (zie onder).



Druk gegelijkkertijd op (-) of (+) tot de klok de gewenste 'kookperiode' aangeeft.
Druk de knop in en houd hem ingedrukt (zie onder).



Druk tegelijkertijd op (-) of (+) tot de klok de gewenste 'stoptijd' aangeeft.
Get schermpje geeft AUTO weeR.
Stel de oven in op de gewenste temperatuur. Als de kookperiode om is, gaat de pieper af. DRAAI DE OVENKNOP EERST NAAR DE UIT-STAND en druk verrolgens eenmaal op ( ) om de pieper uit te schakelen en nogmaals op ( ) om op handmatig koken over te schakelen.
Als u Niet thus bent stopt de pieper na enige vrij vanzelf. Als u thus kommt, DRAAI DE OVENKNOP EERST NAAR 0 en druk verwolgens tweemaal op ()[] om op handmatig koken over te schakelen.
Het schermpje geeft AUTO weer, u wilt handmatig koken.
Indien u een automatische instelling wilt annuleren, dient u eerst op (ü) te drukken om de ingestelde kooktijd(en) terug te stellen op 0.00 voordat u op handmatig koken kurz overschakelen.
Nederlands
Speciale kenmerken klok
Sleutelvergrendeling
Als de sleutelvergrendeling geactiveerd is, kan men als gewoon de klok bedieren, maar is de oven vergrendeld en gaat deze Niet aan. Dit betekent dat uw kind een bakprogramma kan kiezen maar dat het programma nicht geactiveerd worden en dat de oven Niet aan gaat.
Activeren van de sleutelvergrendeling
Zorg ervoor dat de klok op de handmatige stand staat en annuleer eventuele achieve programma's.



Houd de minutenteller ( ) en baktijdknoppen ( )
ondeveer 8 seconden ingedrukt. 'On'verschijnt op het display.



Druk eenmaal op de ^+ knop. Het sleutelsymbol (l) en 'Of' versusijnen op het display. Laat de knappen los.



De klokfuncties voor de bediening van de oven zijn nu vergrendeld. Na eenaar seconden is op het display wee de actuèle vrij te zien, evenals het sleutelsymbol.
Afbetten van de sleutelvergrendeling



Houd de minutenteller ( ) en baktijdknoppen ( )
ondeveer 8 seconden ingedrukt. 'Of'verschijnt op het display.



Druk eenmaal op de +^ + ^ knop. Het sleutelsymbol (!) gaat uit en 'On'verschijnt op het display. Laat de knappen los.
Na een paur seconden is de actuèle tijd op het display te zien.
De oven en de klokfuncties voor de bediening van de ovens konnen nu waar gewoon gezruikt worden.
Koken met behulp van de timer
Met behulp van de timer=kunt u een of beiden ovens automatisch in- en uitschakelen. Dezelfde start- en stootijd zijn van toepassing op beiden ovens maar de temperatuur kan wel apart worden ingesteld per oven.
Indien u een van de ovens wilt inschakelen terwijl de timer voor automatisch koken is ingesteld, moet u eerst wachten tot de timer de oven(s) ingeschakeld heeft. Vervolgens kunt u de oven(s) op de normale wijze handmatig instellen.
Met behulp van de timer=kunt u de oven op elke gewenste tijd binnen de waaropvolgendeperiode van 24aar aan latent gaan.
Indien u meertere gerechten wilt bereiden, dient u gerechten te kiezen die ongeveer even lang duren. U kurz de kooktijd voor een bepaald gerechtECHTER verlengen door eenkleine container te gebruiken en deze in aluminiumfolie te wikkelen, of juist verdorten door een Kleinere hoeveelheid te bereiden of een grotere container te gebruiken.
Indien het lang duurt voordat de automatische kookperiode aanvangt, dienen snel bedervende voedselproducten Zoals varkensvlees of vis te worden vermeden, vooral bij warm weer.
Plaats geen warm eten in de oven.
Gebruik de oven Niet indien denen reeds warm is.
Gebruik de oven nicht indien de oven ernaat warm is.
Indien het lang duurt voordat de automatische kookperiode aanvangt, dient u het gebruik van wijn en bier te vermijden, aangezien ze können gisten.
Indien u room gebruikt, dient u dit pas toe te voegen vlak voordat u het gerecht opdient, aangezien het kan stollen.
Aangezien verse groenten over een langeperiode kunnen verkleuren dient u ze met een laag gesmolten vet te bedekken of onder te dompelen in een oplossing van citroensap en water.
Bij vruchtentaarten, custardtaarten en andere soortgelijke gerechten metiets vloeibaars op ongebakken deeg mag het Niet te lang duren voordat de automatische kookperiode aanvangt. Gerechten die resten gekookt vlees of bevogelte bevatten dient u Niet automatisch te koken indien het lang duurt voordat de automatische kookperiode aanvangt.
Bij het koken van heel gezogelte dient u het gezogelte volledig te ontdooien voordat u het in de ovenplaatst.
Controleer of het vlees of het gezogelte helemaal gaar is voordat u het opdient.
Het fornuis schoonmaken
Sluit.altijd eerst de stroom af voordat u het fornuis schoonmaakt.Denk eraan dat u het na afloop weeer aansluit.
Gebruik in geen geval verfafbijtmiddelen, soda, bijtmiddelen, biologische poeders, bleek, bleekmiddelen met chloor, ruwe schuurmiddelen of zout. Meng geen verschillende schoonmaakmiddelen door elkaar – dit leidt wellicht tot gevaarlijke reacties.
Indien u het fornuis wilt verplaatsen om te+kennen schoonmaken, raadpleeg dan het gedeelte 'Het fornuis verplaatsen'.
Alle delen van het fornuis hunnen met warm zeepwater worden schoongemaaakt. Pasijken op dat het zeepwater Niet bij het fornuis waar binnen sijpelt.
Kookplaatbranders
Sommige modellen zijn voorzien van een(AP)aside sierring die op de branderkop past.
U=kunt de branderkoppen en-kappen verwijderen om ze schoon te make. Zorg ervoor dat ze goed droog zich voordat u ze wee aanbrengt.
Bakplaat
Maak de bakplaat algijd schoon na gebruik. Laat hem volledig afkoelen voordat u hem verwijdert. Dompel de bakplaat onder in warm zeepwater. Gebruik een zachte doek of, voor hardnekkige vlekken, een nylon afwasborstel.
GEBRUK IN GEEN GEVAL BIJ- OF SCHUURMIDDELEN AANGEZIEN DEZE HET OPPERVLAK KUNNEN AANTASTEN.
De bordenwarmer
Neem de kast af met een zachte, in warm zeepwater gedrenkte, en uitgewrongen doek. Vermijd het gebruik van schuurmiddelen aangezien deze het glas konnen aantasten.
Grill
De grillpan dient met warm zeepwater te worden aufgewassen. Indien de grillpan voor vlees of voor ander aankoekend eten is gebruikt, dient u de grillpan direct na gebruik enkele Minutes in de week te zetten in de goatsteen. Gebruik een nylon borstel om hardnekig vuil van de pan te verwijderen.
Bedieningspaneel en ovendeuren
Vermijd het gebruik van schuurmiddelen, onder andere schuimreinigers, op oppervlakken van geborsteld roestvrij staal. Gebruik voor de Beste resultaten wasvloeistof.
Gebruik voor het schoonmaken van het bedieningspaneel en de bedieningsknoppen een zachte, in warm zeepwater gedrenkte, en uitgewrongen doek. Pas waar bij wel op dat het water Niet bij het fornuis�n binnen sijpelt. Neem het oppervlak af met een schone, vochtige doek en poets het droog met een droge doek. Maak de ovendeuren schoon met een zachte, in warm zeepwater gedrenkte, en uitgewrongen doek.
Oven
De ovens zijn voorzien van demonteerbare panelen met een speciale emaillelaag die gedeeltelijk zich freinigend is.
De laag beschermt de bekleding Niet volledig gegen krassen maar beperkt de handmatige reiniging wel tot een minimum. De 'Cook & Clean'panelen werken beter boven 200^ . Indien u de oven meestal op een lagere temperatuur gebruikt, dient u zo af en toe de panelen te verwijderen en met een pluisvrijde doek en warm zeepwater af te nemen. Droog de panelen cervolgens af en breng ze weeer aan. Stel de oven dan in op 200^ en LAST hem een uur aanstaan. Zo zorgt u ervoor dat de 'Cook & Clean'panelen goed blijven werken.
Gebruik geen staalwol (of andere stoffen die wellicht krassen op het oppervlak make). Gebruik geen ovenreinigingsdoekjes.
De ovenbekleding verwijdermen
Een aantal van de bekledingsspanelen zijn demonteerbaar zodate u de panelen en awhile de panelen kunt schoonmaken. Verwijder eerst derekken.
Op sommige modellen heeft de rechtter heteluchttoven een demonteerbaar bovenpaneel – schuif het bovenpaneel maar voren en verwijder het.
Schuif het bovenpaneel waar voren en verwijder het.
De lijpanelen van de oven zitten vast met vier bevestigings-schroeven. U hoeft de schroeven er Niet uit te draaien om de ovenbekledingsspanelen te konnen verwijderen. Til de lijpanelen op en schuif ze van de schroeven af. Trek ze dan maar voren.
Als u de bekleding hebt verwijderd,kest u het@email aan de binnenkant van de oven schoonmaken.
Breng na afloop eerst de zijpanelen aan.
Het fornuis verplaatsen
Sluit de stroom af.
Het fornuis is zwaar en dient wellicht door twee mensen te worden opgetild.
Het fornuis is voorzien van een wieltje aan de voorkant en twee aan dechterkant. Daarnaast heeft hij aan de voorkant twee stelvoeten die maar beneden können worden gedraaid.
Het voorste wieltje kan maar beneden worden gedraaid om te helpen bij het verplaatsen van het fornuis. Het nivel-leerwerktuig voor dit wieltje bevindt zich in hetvak van de opsslaglade.
Verwijder de opsglade (trek hem er helemaal uit en til hem iets op) en het niveleerwerktuig zit eronder.
Het kan zichen dat de installerateur het niveleerwerktuig Niet op de juisteplaats heeft Achtergelaten. Indien het geval is, dient u hem aan te brengen zoals op de afbeelding is aangegeven.

Indien u het niveleerwerktuig Niet=kunt vinden, dient u contact op te nemen met de installmenter. De contactgegevens van de installmenter zich als het goed is opgeschreven in het gedeelte 'Installatie' van de handleiding.
Draai het niveleerwerktuig twee volle slagen (180^) met de klok mee. Het hoort stroef teijken. Naarmate het wieljtje zakt, komt de voorkant van de oven iets omhoog.
Doe de deur van de grill en derechteroven open zodat u goed=kunt vasthouden aan de onderkant van het bedieningspaneel terwijl u de oven verplaatst.
Houd de ovenijdens het verplaatsen Niet vast aan de handrail, deurhendels of bedieningsknoppen.
Nederlandss
Verplaats de oven stukje bij stukje en controllerer telkens of de gasslang nicht is blijven haken. Zorgijdens het verplaatsen van het fornuis telkens dat de stroomkabel en de gasleiding voldoende speling hebben.
Indien het fornuis van een stabiliteitsketting voorzien is, dient u deze los te koppelen terwijl u het fornuis er voorzichtig uit trekt.
Vergeet Niet om de ketting na afloop waar aan te brengen.
Als u het fornuis weer op zijn plaatszet, dient u wederom te controleren of de stroomkabel en de gasleiding Niet blijven haken.
Draai het niveleerwerktuig gegen de klok in om het fornuis te latenten zakken. Dit is belangrijk. Het voorkomt dat het fornuis wegroltijdens gezruik.
Problemen oplossen
Bij het koken van voedselproducten met een hoog watergehalte (bijv. ovenfriet), komt er wat stoom uit de opening aan dechterkant. Wees voorzichtig als u de ovendeur opentrekt, aangezien er soms veel stoom vrijkomt. Ga Niet te zich bij de oven staan en LAST de stoom wegtrekken.
De ovenventilator maakt geluid.
De toon van de ovenventilator verandert soms naarmate de oven opwarmt – dat is heel normal.
De knoppen worden heet als ik de oven of de grill gebruik. Kan ik dit voorkommen?
Ja, de knappen worden heet door de hitte die uit de oven of de grill opstijgt. Doe de ovendeur zich. Plaats de grillpan tijdens gebruik helamaal acheterin, zodat hij gegen de achteraanslag aan zit.
Indien er een probleem is met de installmentie, en de oorspronkelijke installateur kan het nichtkommen repareren, wie betaalt de kosten dan?
Onderhoudsbedrijven rekenen voor hetrechtzetten van het werk van de oorspronkelijke installmenter. Het is in uw voordeel om de oorspronkelijke installmenter in te schakelen.
Aardlekschakelaars met stroomsturing
Indien het fornuis is voorzien van een aardlekschakelaar (RCD) met een gevoeligheid van 30 milliampere, is het möglichk dat de schakelaar omslaat wanner het fornuis gelijktijdig met andere huishoudelijkte apparaten worden gezruikt. In dergelijkkeGVallendient de stroomkring van het fornuis wellicht te worden voorzien van een schakelaar van 100mA . Dit werk dient uitsluitend door een bevoegde elektricien te worden verricht.
Het eten kookt te langzaam, te snel of brandt aan.
De kooktijden van deze oven wijken wellicht af uw vorige oven. U=kunt de temperatuur waar eigen smaak aanpassen om de gewenste resultaten te bereiken. Probeer het eens op een hogere of lagere temperatuur.
Het eten worden nicht gelijkmatig.gaar in de oven.
Gebruik geen bakvormen of -platen die groter zijn dan de bijgeleverde bakplaat (340 mm x 340 mm).
Indien u een groot gerecht bereidt, moet u het tijdens het koken omdraaien.
Indien u twee reckten gebruikt, dient u voor voldoende tussenruimte te zorgen, zodat de warmte goed kan circuleren. Plaats de bakplaat.altijd op het midden van het ovenrek.
Controleer of de deurzegel beschadigd is en of de deurgrendel dusdanig is ingesteld, dat de deur stevig gegen de zegel aan worden gehonden.
Let wel dat er bij de linkeroven met opzet:tussenruimte gelaten is onderaan de deur.
Indien u een kom met water op het ovenrek plaatst, dient het waterpas te staan. (Indien het bijvoorbeeld achteraan dieper is, dient u de achterkant van het fornuis omhoog te brengen of de voorkant te lately zakken.) Indien het fornuis Niet waterpas staat, dient u de leverancier te raadplegen om het te lately bijstellen.
De oven gaat Niet aan als ik hem handmatig aanzet.
Is de stroom aangesloten? Brandt het klokje? Zo Niet, dan is er wellicht iets mis met de stroomvoeding. Staat het fornuis aan bij de scheidingsschakelaar? Knippert het klokje op 0.00? Zo ja, stel het klokje dan in op de juisteijd. Is de timer per ongeluk op AUTO ingesteld? Indien het klokje AUTO aangeeft, dient u op de knop voor de kookperiode te drukken en de ingestelde koektijd met behulp van de knappen (+) en (-) terug te stellen op 0.00. Druk tweemaal op (). Indien het probleem daarmee Niet opgelost is, dient u een onderhoudstechnicus in te roepen.
Verschijnt het sleutelsymbol (l) op het display? Zie het onderdeel 'De klok' in de handleiding voor meer informatatie over de sleutelvergrendeling van de klok.
De oven gaat nicht aan bij automatisch koken.
Is de timer goed ingesteld maar is de ovenknop per ongelukuit blijven staan?
Verschijnt het sleutelsymbol (I) op het display? Zie het onderdeel 'De klok' in de handleiding voor meer informatie over de sleutelvergrendeling van de klok.
De oventemperatuur stijgt maarhe het fornuis veroudert.
Indien het Niet helpt of slechts tijdelijk helpt als u de ovenknop lager zet, hebt u wellicht een neuethermostat nodig. Dethermostat dient door een onderhoudstechnicus te worden geinstalleerd.
De grill werkt nicht goed
Gebruikt u de met het fornuis bijgeleverde pan en treeft? Zet u de pan neer op de inschuifrichels, en Niet op de onderkant van de grillruimte? Zit de grillplaat hebmaal achterin, gegen de aanslag aan?
Het ovenlicht werkt nicht
Het lampje is wellicht doorgebrand. Lampjes (vallen nicht onder de garantie) zijn verkrijgbaar bij de betere elektrische winkel. Vraag om een lampje van 15 W, 240 V, met edison-fitting, VOOR OVENS. Het要去en special lampjeংn, dat hittebestendig is tot aan 300^
Doe de ovendeur open en verwijder het 'Handyrack' (indien aangebracht) en de ovenrekken.
Sluit de stroom af.
Draai de lampafscheming gegen de klok in om het eraf te draaien. Draai het oude lampje eruit. Draai het neue lampje erin. Draai de lampafscheming er weeop. Sluit de stroom aan en controllerer of het lampje gaat branden.
Er zit een barst in het oppervlak van deplaat van de bordenwarmer
Sluit de stroom onmiddelijk af en LAST het fornuis repareren. Gebruik het fornuis pas wanner het gerepareerd is. Schakel een onderhoudstechnicus in.
De kookplaatontsteking of kookplaatbranders storen
Is de stroom aangesloten? Brandt het klokje? Zo Niet, dan is er wellichtiets mis met de stroomvoeding.
Zit er vuil op de ontstekingslektrode of de sleuven van de branders?
Is de sierring van de brander goed aangebracht?
Zijn de branderkappen goed aangebracht?
Raadpleeg het gedeelte 'Het fornuis schoonmaker'
Controller of de gastoevoer in orde is. U kurz dit doeon doorte controlleren of uw andere gasapparaten goed werken.
Gaan de branders branden als u de knop indrukt? Zo nicht, controller dan de voeding - brandt het klokje?
Stroomstoring
In het geval van een stroomstoring(Intt u de kookplaat met een lucifer aansteken.
Algemene veiligheidsvoorschriften
Dit apparaat dient door een bevoegd person to weorden geinstalleerd in overeenstemming met de aanwijzingen voor de installmentie. De installmentie dient aan de relativente voorschriften alsmede de vereisten van hetplaatselijke energiebedrijf te voldoen.
Indien u gas ruikt
Geen stroomschakelaars aan- of uitzetten.
Niet roken.
Geen open vuur gebruiken.
Het gas Niet uitzetten bij de meter of cilinder.
Doe de deuren en ramen open om het gas te lately ontsnappen.
Bel het gasbedrijf.
Dit apparaat is uitsluitend bedoeld voor huishoudelijk gebruik. Indien het voor andere doeleinden worden gezbruikt, maakt dit eventuele garantie- of aansprakelijk-heidsclaims wellicht onteldig.
Bij het gebruik van een gasfornuis komt er warmte en vocht vrij in de ruimte waarin het fornuis is geinstalleerd. Zorgervoordat de keulen goedGeVentileerdis:houdbestaandeventilatiegaten open of installeer een mechanische ventilator (mechanische afzugkap).
Indien u het fornuis gedurende langeijd gebruikt, is wellicht aanvullende ventilatie nodig. U kunt bijvoorbeeld een raam openzetten of de Mechanische ventilatie opvoeren, indien van toepassing.
Het fornuis dient door een bevoegd elektricien te worden geinstalleerd in overeenstemming met de aanwijzingen voor de installmentie. Het mag uitsluitend worden gerepareerd door een bevoegd onderhoudstechnicus en er mogen uitsluitend goedgekeurde reserveonderdelen worden gebruikt. Vraag de installerateur om u de bedieningsschakelaar van het fornuis te latent zien. Markeer de schakelaar zodat u hem makkelijk kurz vinden. Voordat er met schoonmaken of onderhoudswerk worden begonnen, dient u het fornuis algijd eerst te latent afkoelen en de stroom af te sluiten, tenzij de handleiding iets anders aangeeft.
Alle onderdelen van het fornuis hunnen heet worden en blijven na het koken eenijd heet.
Wees voorzichtig bij het aanraken van het fornuis. Om de kans op brandwonden zoveel möglich te beperken, dient u.altijd te controlleren of bedieningsknoppenuitstaan en of het fornuis is afgekoeld voordat u het fornuis schoonmaakt.
Gebruik droge ovenwanten indien möglichk. Bij gebruik van vochtige wanten=kunt u zich aan de stoom branden als u een heet oppervlak aanraakt. Bedien het fornuis Niet met natte handen.
Gebruik geen handdoeken of andere ditkke doeken in plaats van een ovenwant. Dergelijkde doeken kannen vuur vatten indien ze met een heet oppervlak in aanraking komen.
Wees voorzichtig bij het schoonmaken. Indien u een natte spons of doek gebruikt om gemorste resten van een heet oppervlak af te vegen, dient u op te passen dat u zich nicht aan de stoom brandt. Sommige schoonmaakmiddelen veroorzaken schadelijke dampen wanner ze met hare oppervlakken in aanraking komen.
Gebruik geen onstabiele steelpannen en LAST de steel nooit aan de voorkant van de kookplaat uitsteken.
Zorg ervoor dat baby's, peuters enjonge kinderen te allen tijde uit de buurt van het fornuis blijven. Laat kinderen Niet op het fornuis zitten of staan. Leer ze om Niet met de knappen of andere delen van het fornuis te spelen.
Berg voorwerpen die voor kinderen van belangstelling zijn Niet op in kasten boven het fornuis – klimmen op het fornuis kan tot ernstige verwondingen leiden.
Maak uitsluitend de in deze handleiding vermelde onder-delen schoon.
Omwille van de hygiène en de veiligheid dient het fornuis te allen tijde schoon te worden gezonden aangezien vet en andere resten vuur können vatten.
Zorg ervoor dat het fornuis op een veilige afstand van brandbare wandbekledingen en gordijnen en dergelijksteaat.
Gebruik geen spuitbussen in de buurt van het fornuis terwijl het fornuis aanstaat.
Bewaar en gebruik geen brandbare stoffen en ontvlambare vloeistoffen in de buurt van het fornuis.
Probeer vetbranden nicht met water te doven. Pak brandende pannen nooit op. Draai de bedieningsknoppen uit. Doof de vlammen door de pan volledig af te dekken met een deksel van de juiste maat of met een bakplaat. Gebruik een universeel poeder- or schuimblusapparaat, indien beschikbaar.
Nederlandsls
Laat het fornuis zonder toezicht aanstaat op een hoge temperatuur. Overkokende pannen können rook veroorzaken en gemorst vet kan vuur vatten.
Draag geen loszittende of -hangende kledingijdens gebruik van het fornuis. Wees voorzichtig als u iets uit kasten boven de kookplaat pact. Brandbare stoffen+kennen vuur vatten indien ze met een heet oppervlak in aanraking komen en kunnen ernstige brandwonden veroorzaken.
Pas op bij het verwarmen van vet en olie, aangezien het vlam kan vatten als het te heet worden.
Gebruik een frituurthermometer, indien möglichk, om te voorkomen dat het vet boven het rookpunt worden verhit.
Laat frituurpannen nooit zonder toezicht aanstaan. Verwarm vet alkijd langzaam en onder toezicht. Frituurpannen dienen slechts voor een derde vol vet te zitten. Indien u teveel vet in de pan doet, kan de pan overstromen wanner u er eten bij doet. Indien u verschillende soorten olie of vet combineert bij het frituren, dient u de olie te vermengen voordat u het verhit, of, in het geval van vet, terwijl het smelt.
Het voedsel dat u gaat frituren dient zo droog möglichk te zich. De rijp op diepvriesproducten of het vocht op verse voedsel-producten{kunnen het hete vet doein bruisen en overstromen. Wanneru op hoge of gemiddete temperaturen frituurt, dient u het vet goed in de gaten te houden zodat het Niet overstroomt of oververhit.Probeer nooit om pannen met heet vet te verplaatsen,vooral geen frituurpannen.Wacht tot het vet is afgekoeld.
Terwijl de grill aanstaat dient u de bovenkant van het rookkanaal (de sleuf aan de achterkant van het fornuis) Niet te gebruiken om borden of schalen op te warmen, theedoeken te drogen of boter zacht te make.
Bij gelebruik van elektrische apparaten in de buurt van het fornuis, dient u op te passen dat het snoer van het apparaat Niet in aanraking komt met de kookplaat.
Indien u een barst in het oppervlak van de bordenwarmer ontdekt, dient u het fornuis onmiddelijk los te koppelen en laden repareren.
Pas op dat er geen water bij het fornuis maar binnen sjpelt.
Alleen schalen van bepaalde soorten glas, glaskeramiek, aardewerk en andere verglaasde schalen ofkommen zich geschikt voor gebruik op de kookplaat; andere soorten hunnen breken als gevolg van de plotselinge temperatuurverandering.
Laat mensen Niet op het fornuis klimmen of staan, of eraan hangen.
Dek de rekken, de bekleding en het bovenpaneel van de oven Niet af met aluminiumfolie.
Zorg ervoor dat de keuken te allen tjnde goed geventileerd is. Gebruik eventueel aangebrachte luchtverversers of afzug-kappen.
Verwarm in geen geval ongeopende voedselcontainers. De drukopbouw kan de container doen stukbarsten, hetgeen letsel kan verroorzaken.
Het fornuis isuitsluitend bedoeld voor het bereiden van voedsel en mag Niet voor andere doeleinden worden gezruikt.
De oven dient NIET te worden gebruikt om de keuken te verwarmen. Dit is Niet alleen een verspilling van het gas, maar kan bovendien tot oververhitting van de bedieningsknuppen leiden.
Laat de ovendeur NIET langer danoodzakelijk openstaan terwijl de oven aanstaat.
De specificatie van dit fornuis dient Niet te worden gewijzigd.
Dit apparaat is zwaar, wees voorzichtig bij het tillen.
Zorg ervoor dat de bedieningsknoppen uitstaan als het fornuis in gebruik is.
Onderhoud en reserveonderdelen
Vul de onderstaande gegevens over het apparaat in en bewaar ze op een veilige plaats voor het geval u ze in de toekomst nodig hebt. Deze gegevens helpen ons om uw apparaat nauwkeurig te identificeren, zodate we u better kunnen helpen. Als u de gegevens nu invult, scheelt dat vrijd en ongemak mocht er zich later een probleem met het apparaat voordoen. Bovendien kan het nuttig�ijn samen met deze folder de aankoopbon te bewaren. Het kan�ijn dat u om de bon gesvaagd worden als er iemand langskomt in verband met de garantie.
Gassoort: Dual Fuel (twee soarten brandstof)
- Deze geevens staan op het geevensplaatje van het apparatusaat aangegeven.
In geval van problemen
In het onwaarschijnlijke geval dat er zich een probleem voordoet met het apparaat, dient u eerst de rest van dit boekje te raadplegen, met name het gedeelte 'Problemen oplossen', om te controlleren of u het apparaat op de juiste manier gezrukt.
Indien u nog steeds problemen hebt, neem dan contact op met de winkel.
Let op
Indien de garantieperiode van het apparaat verstreten is, brengt once onderhoudsleverancier u wellicht in rekening. Indien u een technicus inroept en de storing valt nicht onder de verantwoordelijkheid van de fabrikant, is once onderhoudsleverancier gerechtigd u hiervoor in rekening te brengen.
Indien u er nicht bent op de afgesprokenijd,kest ukaarvoor in rekening worden gebracht.
Buiten de garantie
Wij bevelen aan once apparaten gedurende de gebruiksduur regelmatig te onderhonden om de Beste resultaten en efficientie te verkrijgen.
Het onderhoudswerk dient uitsluitend door technisch bedreven en daartoe bevoegd personeel te worden verricht.
Reserveonderdelen
Voor de Beste resultaten en een veilige werkung dienenuitsluitend originele reserveonderdelen te worden gebruikt. Gebruik geen opgeknapte of Niet-goedgekeurde gasregelingsonderdelen. Raadpleeg de winkel.
Installatie
Het apparatus is geleverd als:
G 20 20millibar
CAT II 2H3+
CAT II 2E3+
CAT II 2E3B/P
Het dient te worden omgebouwd om als CAT I2L of CAT I 3B/P te werken.
Dit apparaat is uitsluitend bedoeld voor huishoudelijk gebruik. Indien het voor andere doeleinden worden gezruikt, maakt dit eventuele garantie- of aansprakelijkkeidsclaims wellicht ont geldig.
Lees op het gevevensplaatje van het apparaat af voor welke gassoort het fornuis is ingesteld.
Ombouwen
Met het fornuis worden een ombouwset bijgeleverd, zodat het kan worden omgebouwd vor gebruik met andere gassoorten.
Indien het apparaat dient te worden omgebouwd voor gebruik met een andere gassoort, raden we aan dit vór de installatione te doen. Raadpleeg het gedeelte 'Ombouwen' van de handleiding voor meer informatie.
Veiligheidsvoorschriften/-vereisten
Het apparaat dient door een bevoegd person te worden geinstalleerd. De installmentie dient overeen te komen met de relevante voorschriften alsmede de vereisten van hetplaatselijke energiebedrijf. Lees de gebruiksaanwijzing voordat u het apparaat installeert of gebruikt.
Het is in uw eigen belang en in het belang van de veiligheid om alle gasapparaten door bevoegd personeel teCTX installeren. Indien het apparaat verkeerd wordt aangesloten, maakt dit eventuele garantie- of aansprakelijkkeidsclaims wellicht ongeldig, en kunt u verzolg'd worden.
Controleer vór de installmente of het fornuis geschikt is voor uw gassoort en voedingsspanning. Kijk op het geveensplaatje. Het apparaat kan worden omgebouwd voor gebruik met andere gassoorten.
Installer het apparaat in een goed geventileerde ruimte.
Ventilatie
Het apparaat is Niet op een afvoerinrichting voor verbrandingsproducten aangesloten. Het dient in overeenstemming met de huidige installmentvereisten te worden geinstalleerd en aangesloten. Er dient met name aandacht te worden besteed aan de relevante voorschriften met betrekking tot de ventilatie.
Deplaatselijkevoerschriften betreffendeventilatiedienen te worden nagekomen,maarenkelalsminimum:
Alle kamers要去en voorzien zijn van een raam dat open kan of iets soortgelijks, en sommige kamers要去en tevens van een permanent ventilatiekanaal� zijn voorzien, afgezien van het raam. Het fornuis dient Niet te worden geinstalleerd in zitslaapkamers met een volume van onder 20m^3 . Indien het fornuis in een kamer met een volume van onder 5m^3 worden geinstalleerd, is een ventilatiekanaal met een effectief oppervlak van 100cm^2 vereist; indien het worden geinstalleerd in een kamer met een volume van 5m^3t / m 10m^3 , is een ventilatiekanaal met een effectief oppervlak van 50cm^2 vereist; en kamers met een volume van boven 11m^3 vereisen geen ventilatiekanaal. Indien de kamerECHTER is voorzien van een buitendeur, is een ventilatiekanaal Nietoodzakelijk, zichs indien het volume tussen 5m^3 en 10m^3 ligt. Indien er in de kamer tevens andere apparaten staan, die gas verbruiken, is wellichteer ventilatie vereist.
Het fornuiis plaatsen
Het fornuis mag in een keuken of open keuken worden geinstalleerd, maar NIET in kamers met een bad of douche. OPMERKING:
Apparaten die geschikt zijn voor gebruik op vloeibaar gas (LPG),ogensnet worden geinstalleerd in kamers of binnenuimten onder de begane grond, bijv. op de kelderverdieping.
Om het fornuis correct te konnen installereren is de volgende apparatuuroodzakelijk:
Klem
Indien het fornuis op een flexibile gasleiding worden aangesloten, dient een klem te worden gezruikt. Deze worden Niet bijgeleverd. De klem dient te worden bevestigd aan het gebouw en dient los te koppelen zich zodateh fornuis kan worden uitgetrokken voor reiniging en onderhoudsdoel-einden.
Gasdrukmeter
Buigzame gasslang
Dient aan de relevante normen te voldoen.
Multimeter
(veor elektrische controle)
Nederlandss
Het fornuiis plaatsen
Op de afbeeldingen zijn de vereiste minimumafstanden:tussen het fornuis en de aangrenzende oppervlakken aangegeven.


De rand van de kookplaat dient op gelijke hoogte of boven eventuele naastgelegen werkbladen te zitten. Boven het niveau van de kookplaat dientussen de zijkanten van het fornuis en eventuele naastgelegen verticale oppervlakken een tussenruimte van ten minste 75~mm te worden gelaten. Bij Niet-brandbare oppervlakken (bijvoorbeeld ongeverfd metaal of keramische tegels) is de minimumafstand 25~mm .
Tussen de bovenkant van de kookplaat en eventuele brandbare horizontale oppervlakken erboven dient een tussenruimte van ten minste 650~mm te worden gelaten.
Afzuigkappen dieren in overeenstemming met de aanwijz-ingen van de betreffende fabrikant te worden geinstalleerd. Omwille van de veiligheid mag direct après het fornuis geen gordijn worden opgehangen.
We bevelen aan tussen de kasten een tussenruimte van 1110mm te lately zodate u het fornuis kurz verplaatsen. Indien het fornuis gegen de kasteen aan wordt ingebouwd, dient u het fornuis aan de ene kant gegen de kast aan te plaatsen en aan te sluiten en dan pas de kast aan de andere kant op+zijn plaats aanbrengt.
Indien het fornuis zich bij een hoek van de keuken staat, is minimaal 130mm ruimte vereist zodate de ovendeuren open kuren.
Het fornuis uitpakken
Verwijder de verpakking van het fornuis pas wanner het vlak vór deplaats staat, waar het worden geinstalleerd (tenzij het met de verpakking Niet door de deur past).
Snijd de bevestigingsstroken door en til de kartonnen doos van het fornuis af, zodat het fornuis op de onderverpakking
blijft staan. Raadpleeg het losse blad voor nadere uitpakin-structies.
Waterpas stellen
Plaats een luchtbelwaterpas op een van de rekken van een oven om te controlleren of het fornuis waterpas staat.
Zet het fornuis op de bestemde plaats neer. Pas waar bij op dat het Niet wordt verdraaid in de ruimte:tussen de keukenkasten, aangezien dit het fornuis of de kasten kan beschaden.
De weltjes können worden afgesteld om het fornuis waterpas te stellen. Om het fornuis aan de hinterkant in de hoogte te verstellen, dient u de stelmoeren aan de voorste hoeken aan de onderkant van het fornuis af te stellen met behulp van het bijgeleverde nivelleerwerktuig.

Stel de hoogte van het voorste wieltje af om het fornuis waterpas te stellen. Draai hem met de klok mee om het fornuis omhoog te brengen of gegen de klok in om het fornuis te lately zakken.
Als u tevreden bent dat het fornuis op de juiste hoogte staat en waterpas is, dient u het voorste wieltje eén slag te draaien om de voorkant van het fornuis ieits op te tillen. Schroef de voorste voeten maar beneden tot ze de vloer raken. Draai het voorste wieltje gegen de klok in om het fornuis omhoog te brengen zodate voorkant van het fornuis op de voeten steunt, Niet op het voorste wieltje. Dit voorkomt dat het fornuis per ongeluk wegrolt tijdens gebruik.
Laat het nivelleerwerktuig op het weltje zitten met het handvat van het werktuig maar dechterkant van het fornuis toe, zodat de klant het kan gebruiken might hij/zij het fornuisILDen verplaasten.
Breng de lade waar aan op de schuifrails en duw hem maar binnen.
De handvaten aanbrengen (niet alle modellen)
Gebruik de inbussleutel om de inbusschroeven van 4 mm in de deuren te verwijdersen. Breng de deurhandvaten met behulp van de schroeven aan.
De handvaten dieren boven de bevestigingsmiddelen te komen.
Verwijder de inbusschroeven van 4 mm aan de bovenste hoeken van het bedieningspaneel en bevestig de handrail aan de voorkant.
De spatplaat aanbrengen (optioneel - Niet alle modellen)
Verwijder de twee bevestigingsschroeven (inbuskop van 3mm ) die door de bovenkant van de opening aan de achterkant heb ven passen, en de bijbehorende moeren. Houd de spatplaat vast op+zijn plaats. Steek de twee bevestigings-
schroeven er aan de achterkant wee in en breng de moeren weeer aan.
Een stabiliteitsklem aanbrengen
Indien het fornuis op een flexibele gasleiding worden aangesloten, dient een stabiliteitsklem of -ketting te worden aangebracht (niet bijgeleverd). De klem dient te worden bevestigdaan het gebouw en dient los te koppelen zich zDat het fornuis kan worden uitgetrokken voor reiniging en onderhoudsdoeleinden.
Aansluiten op het gas
Tussen de gastoevoer en de verbindingslang dient een gasafsluiter te worden aangebracht. De buigzame slang (niet bijgeleverd) dient aan de relevante normen te voldoen. Neem in geval van twijfel contact op met de leverancier.

De afschemkasten aan de achechterkant beperken de positie van het toevoerpunt. De eindaansluiting van de huishoude- lijke gasvoeding dient maar beneden te zich gericht.
De aansluiting van het apparatusat bevindt zich aan dechterkant van het fornuis, vlak onder het kookplaatniveau.
De slang dient dusdanig te worden aangesloten, dat zowel de in- als de uitlaataansluiting verticaal is, zodate slang in de vom van een U maar beneden hangt.
Daar het fornuis in de hoogte verstelbaar is en elke aansluiting anders is,+kunnen we geen nauwkeurige afmetingen geven. De eindaansluiting van de gasvoeding dient idealiter in het gearceerde gedeelte van de afbeelding van de achterkant van het fornuis te vallen.
Controleer na het aansluiten van het gas aan de hand van een drukproof of het fornuis gasdicht is. Gebruik geen afwas-middel om op gaslekken te controleren – het kan corrosie veroorzaken. Gebruik producten die special bedoeld zijn voor lekdetectie.
Beproeven op druk
U kunt de gasdruk meten bij de injector van een van de linker kookplaatbranders. Verwijder het panrooster, de branderkop en -kap. De injector ligt nu bloot.
Raadpleeg Technische gegevens hinterin deze handleiding voor de testwaarden.
Hermonteer de brander op de juiste wijze.
Aansluiten op de elektriciteit
Het apparaat dient door een bevoegd elektricien te worden aangesloten in overeenstemming met de relevante voorschriften alsmede de vereisten van hetplaatselijke energiebedrijf.
Het fornuis dient te worden aangesloten op de juiste stroomvoeding, zoals op het spanningslabel van het fornuis vermeld is. Het fornuis dient te worden aangesloten via een geschikt regeleenheid voor het fornuis, bestaande uit een tweepolige schakelaar met een:tussenruimte van ten minste 3mm tussen de polen. Het fornuis mag Niet op een normalaal, huishoudelijk stopcontact worden aangesloten.
De totale elektrische belasting van het apparaat bedraagt ongeveer 7,2 kW. De elektriciteitskabel dient aan deze belasting en aan deplaatselijkke vereisten te voldoen.
U kunt de afterschermkast van het aansluitpunt op het achterpaneel verwijdersen om bij de netaansluiting te komen.
Sluit de elektriciteitskabel aan op de juiste aansluitpunten voor de betreffende soort stroomvoeding.


Controller of de aansluitingen goed vastzitten en of de schroeven van de aansluitpunten goed vastzitten. Zet de elektriciteitskabel vast met de kabelklem.
Nederlandsls
Aardlekschakelaars met stroomsturing
Gecombineerd gebruik van uw fornuis en andere huishoudelijkke apparaten kan ertoe leiden dat de schakelaar omslaat. Daarom raden wij aan het fornuis te beveiliggen met een aparte aardlekschakelaar met of zonder overbelastingsbeveiliging.
INDIEN U TWIJFELT, RAADPLEEG DAN EEN BEVOEGDE ELEKTRICIEN.
Kookplaat
Controleer de branders=een voor een. Het fornuis is voorzien van een veiligheidsmechanisme dat de gastoevoer maar de brander uitschakelt indien de vlam uitgaat. Draai de bedieningsknoppen een voor een maar de grote vlam. Druk de bedieningsknop in. Er stroomt gas� aan de brander. Blijf de knop ingedrukt honden en druk op de ontstekingsknop of steek de brander met een lucifer aan. Blijf de knop ongeveer 10 seconden ingedrukt honden.
Als de brander uitgaat wonneer u de knop loslaat, hebt u niet lang genoeg gewacht. Wacht een minuut en probeer het nogmaals maar houd de knop deze queer ie's langer ingedrukt.
Grill
Doe de grilldeur open. Draai de grillknop aan en controllerer of de grill warm worden.
Oyencontrolle
De ovens werkken alleen indien de klok op de juisteijd is ingesteld.
Raadpleeg het gedeelte 'De klok' voor instructies voor de tijsinstalling.
Druk tegelijkertijd op - of + tot de klok de juiste hijd weergeeft.
Denk eraan dat het een 24-uursklok is.
Als u een fout maakt of de verkeerde knop indrukt, sluit de stroom dan even af en begin opnieuw.
Zet de oven aan en controllerer of de ventilator draait en de oven warm worden. Zet de oven uit.
Deplint monteren
Draai de 3 schroeven in de onderrand van het fornuis los.
Haak het middelste spiegat vast over de middelste schroef.
Trek en positioneer de andere spiegaten boven de andere schroeven. Draai de bevestigingschroeven vast.
Ovenlicht
Druk op de knop van het ovenlicht en controllerer of het werkt.
Opmerking. De garantie dekt het ovenlampje Niet.
Klantenzorg
Leg aan de gebruiker uit hoe het fornuis werkt en geef hem/haar.Deze gebruiksaanwijzing.
Dank u.
Ombouwen voor gebruik met een andere gassoort
Onderhoud - waarschuwing
Het fornuis mag uitsluitend door bevoegde personen worden omgebouwd. Na de ombouwing dient de installmentie aan de relevante voorschriften en de vereisten van hetplaatslijke energiebedrijf te voldoen. Lees de aanwijzingen voordat u met het ombouwen begint.
Indien het apparaat verkeerd wordt omgebouwd, maakt dit eventuele garantie- of aansprakelijkhieldsclaims wellicht ongeldig, en=kunt uervoVGd worden.
Deze aanwijzing dient samen met de rest van de aanwij-zingen voor het apparaat te worden gebruikt, met name met betrekking tot informatie over normen, hetplaatsen van het fornuis, geschikte slangen etc.
Bij het repareren of verrangen van gasvoerende onderdelen dient u allereerst de gastoevoer af te sluiten en na afloop te controllereren of het apparaat gadlicht is.
Gebruik geen opgeknapte of Niet-goedgekeurde gasregelingsonderdelen.
Ombouwen
Koppel de elektricitieit en het gas los voordat u met onderhoudswerk begint. Controller na afloop of het apparaat veilig is.
Het apparaat is geleverd als:
G 20 20millibar
CAT II 2H3+
CAT II 2E3+
CAT II 2E3B/P
Controleer in het gedeelte Technische gegevens,achterin de handleiding of het fornuis kan worden omgebouwd voor degewenste gassoort.
Injectors
Verwijder de branderkappen en -koppen. Verwijder de oude bekken. Breng de neue bekken aan (raadpleeg Technische gegevens darüberin de handleiding voor de juiste bekken). Hermonteer de onderdelen in omgekeerde volgorde.
Kraanafstelling
Sla de tabel achterin de handleiding na om te controleren of de bypass-schroeven moeten worden verrangen of bijgesteld.
Trek de bedieningsknoppen eraf.
Doe de ovendeur en de grilldeur open en verwijder de bevestigingssschroeven onder het bedieningspaneel. Sommige modellen zijn voorzien van een plank onder het bedieningspaneel. Deze plank worden op zijn plaats gehonden door de onderste bevestigingssschroeven.
Modellen met een handrail
Verwijder de twee bevestigingsschroeven in de eindhovennen van de handrail en verwijderervolgens de twee kruis-kopschroeven die onder de eindhovennen van de handrail verborgen waren.
Til het bedieningspaneel van de bovenste borglipjes af.
Modellen zonder handrail
Schuif het bedieningsspaneel maar rechts en trek het waar voren.
Ombouwenaarandergassoorten.
Verwijder de bypass-schroef en verrang hem door de juiste schroef.

Sla de tabel achterin de handleiding na voor de juiste maat.
Breng het bedieningspaneel weeer aan.
Label opplakken
Plak het juiste label op het gevevensplaatje, dat aangeeft voor welk gassoort het fornuis nu is aangepast.
Beproeven op druk
Sluit het apparaat aan op de gastoevoer. Controller of het apparaat gasdicht is.
Raadpleeg Technische gegevens weiterin deze handleiding voor de testwaarden.
U kunt de gaswaarde bij de gasbek van een van de linker kookplaatbranders meten. Verwijder een branderkop. Sluit de drukmeter aan op de gasbek. Draai de kookplaatbrander aan en en draai een andere brander aan en streek deze aan.
Hermonteer de brander op de juiste wijze.
Controller of het apparaat gasdicht is.
Controller of alle branders goed werken.

Schaltplan
De in het schakelschema getoonde verbinding is voor enkele fase, 230V, 50Hz.
Legendebijschakelschema
| Code | Beschrijving |
| A1 | Energieregelaar grill |
| A2 | Linker grillelement |
| A3 | Rechter grillelement |
| B1 | Thermostaat linkeroven |
| B2 | Schakelaar linkeroven |
| B3 | Basiselement linkeroven |
| B4 | Bovenelement linkeroven |
| B5 | Bruiningselement linkeroven |
| C | Klok |
| D1 | Thermostaatrechteroven |
| D2 | Schakelaarrechteroven |
| D3 | Elementrechteroven |
| D4 | Ventilatorrechteroven |
| F1 | Bordenwarmerschakelaar |
| F2 | Bordenwarmer |
| G1 | Ontstekingsschakelaar |
| G2 | Vonkgenerator |
| H1 | Schakelaar ovenlampje |
| H2 | Ovenlampje |
| I1 | Schakelaar ovenlampje |
| I2 | Ovenlampje |
| J | Neon |
| K | Stroomonderbrekers |
| Kleurcode | |
| b | Blauw |
| br | Bruin |
| bk | Zwart |
| or | Oranje |
| r | Rood |
| v | Violet |
| w | Wit |
| y | Geel |
| g/y | Groen/Geel |
| gr | Grijs |
Technische Daten
Fiche technique
Technische gegevens
| Ovens | Conventioneel | Geforceerde luchtconvectie |
| 2,2kW | 2,5kW | |
| Energie-efficiëntieklasse op een schaal van A (efficiënt) tot G (inefficiënt) | A | A |
| Energieverbruik Gebaseerd op normbelasting | 0,99kWh | 0,85kWh |
| Netto volume (liter) | 67 | 67 |
| Type | Groot | Groot |
| Bereidingstijd bij standarddBelasting (minuten) | 40 minutes | 38 minutes |
| Bakoppervlak | 1400cm2 | 1400cm2 |
Ombouwen voor gebruik met een andere gassoort
| 1 I2ELL G25 20mbar | 2 I2L G25 25mbar |
| 3 I3+ G30 29mbar G31 37mbar I3B/P G30 30mbar | 4 I3B/P G30/31 50mbar |

E C A

E C B

A2

A1

B, C, D, E
| I2E, I2E+, I2H | I2H | I2S | I2L | I3+ | I3B/P | I3B/P | |
| G20 | G20 | G25.1 | G25 | G30 | G31 | G30/31 | G30 |
| 20mbar | 25mbar | 25mbar | 25mbar | 29mbar | 37mbar | 50mbar | 30mbar |
| A1 | 80 | 80 | 95 | 95 | 54 | 47 | 54 |
| A2 | 129 | 114 | 123 | 123 | 77 | 72 | 77 |
| kW | 3.5 | 3.5 | 3.3 | 3.5 | 3.5 | 3.5 | 3.5 |
| B | 128 | 124 | 136 | 136 | 87 | 81 | 87 |
| kW | 3.0 | 3.0 | 2.8 | 3.0 | 3.0 | 3.0 | 3.0 |
| C | 134 | 124 | 135 | 135 | 87 | 81 | 87 |
| kW | 3.0 | 3.0 | 2.8 | 3.0 | 3.0 | 3.0 | 3.0 |
| D | 109 | 96 | 105 | 105 | 68 | 60 | 68 |
| kW | 1.7 | 1.7 | 1.6 | 1.7 | 1.7 | 1.7 | 1.7 |
| E | 75 | 70 | 76 | 76 | 51 | 46 | 51 |
| kW | 1.0 | 1.0 | 0.95 | 1.0 | 1.0 | 1.0 | 1.0 |

| I2E, I2E+, I2H | I2H | I2S | I2L | I3+ | I3B/P | I3B/P | |
| G20 | G20 | G25.1 | G25 | G30 | G31 | G30/31 | G30 |
| 20mbar | 25mbar | 25mbar | 25mbar | 29mbar | 37mbar | 50mbar | 30mbar |
| A | 96 | 96 | 96 | 96 | 57 | 50 | 57 |
| B | 54 | 54 | 54 | 54 | 40 | 34 | 40 |
| C | 54 | 54 | 54 | 54 | 40 | 34 | 40 |
| D | 39 | 39 | 39 | 39 | 32 | 24 | 32 |
| E | 38 | 38 | 38 | 38 | 28 | 23 | 28 |
SimpelGids