XNV-L77BT TOMTOM - GPS SONY - Gratis gebruiksaanwijzing en handleiding
Vind de handleiding van het apparaat gratis XNV-L77BT TOMTOM SONY in PDF-formaat.
Download de handleiding voor uw GPS in PDF-formaat gratis! Vind uw handleiding XNV-L77BT TOMTOM - SONY en neem uw elektronisch apparaat weer in handen. Op deze pagina staan alle documenten die nodig zijn voor het gebruik van uw apparaat. XNV-L77BT TOMTOM van het merk SONY.
GEBRUIKSAANWIJZING XNV-L77BT TOMTOM SONY
Gebruiksaanwijzing NL
XNV-L77BT XNV-770BT
XNV-L66BT XNV-660BT

VIDEO
VideoCD

DATA ABD

AAC

DOLBY.
DIGITAL

12 TONE
ANALYSIS

SensMeTM

gracenote.
Made for

iPodiPhone

Bluetooth
Uit veiligeidsoverwegingen moet u dit apparaat in het dashboard van de auto installereren. Raadpleeg de bijgeleverde handleiding voor installmenta/aansluitingen voor meer informatie over de installmente en aansluitingen.
Over deze handleiding
- Deze handleiding bevat instructies voor de XNV-L77BT, 770BT, L66BT en 660BT.
- De XNV-L77BT is het model dat als weergave worden gebruikt voorillustratiedoeleinden.
- Raadpleeg voor details over de navigatiefunctie de brochure (verstrekt door TomTom) voor de navigatiemodule.
Waarschuwing
Stel het apparaat Niet bloot aan regen of vocht. Dit kan brand of elektrische schokken tot gevolg hebben. Open de behuizing Niet. Dit kan elektrische schokken tot gevolg hebben. Laat het apparaat alleen nakijken door bevoegde servicetechnici.
LET OP
De optische instrumenten in dit product vergroten het risico op oogletsel. De laserstraal van deze CD/DVD-speler is schadelijk voor de ogen, dus u mag de behuizing Niet openen. Laat het apparatae allen nakijken door bevoegde servicetechnici.
Dit label bevindt zich aan de onderkant van het apparaat.
Het naamplaatje met de bedrijfsspanning, enzovoort bevindt zich aan de onderkant van de behuizing.
C
Hierbij verklaart Sony Corp. dat het apparaat XNV-L77BT/770BT/L66BT/660BT in overeenstemming is met de essentiele eisen en de andere relevante bepalingen van richtlijn 1999/5/EG.
Nadere informatie kunt u vinden op: http://www.compliance.sony.de/
Het gebruik van deze radioapparatuur is nicht toegestaan in het geografische gebied binnen een straal van 20km vanaf het centrum van Ny-Alesund, Svalbard in Noorwegen.
Opmerking voor klanten: de volgende informatie is enkel van toepassing voor apparaten die verkocht worden in landen die de EU-richtlijnen in acht nemen
De fabricant van dit product is Sony Corporation, 1-7-1 Konan Minato-ku Tokyo, 108-0075 Japan. De geauthoriseerde vertegenwoordiging voor EMC en produiteiligheid is Sony Deutschland GmbH, Hedelfinger Strasse 61, 70327 Stuttgart, Duitsland. Voor service-of garantiazaken verwijzen wij ugraag maar de addresses in de afzonderlijke service/garantie documenten.

Verwijdering van oude elektrische en elektronische apparaten (Toepasbaar in de Europese Unie en andere Europese landen met geschienen inzamelingssystemen)
Het symbol op het product of op de
verpakking wijst erop dat dit product nicht als huishoudelijk afval mag worden behandelt. Het moet darüber een plaats worden gebracht waar elektrische en elektronische apparatusuur worden gerecycled. Als u ervoor zorgt dit dit product op de correcte manier worden verwerkt, voorkomt u voor mens en milieu negatieve gevolgen die zich zouden+kennen voordoen in geval van verkeerde afvalbehandeling. De recycling van materialen draagt bij tot het vrijwaren vanatuurlijke bromnen. Voor meer details in verband met het recyclen van dit product, neemt u contact op met de gemeentelijk instances, het bedrivijf of de Dienst belast met de verwijdering van huishoudafval of de winkel waar u het product heb gekocht.
Accessoires waarop dit van toepassing is:
Afstandsbediening, Microfoon, GPS-antenne

Verwijdering van oude batterijen (in de Europese Unie en andere Europese landen met afzonderlijke inzamelingssystemen)
Dit symbolism op de batterij of verpakking wijst erop dat de meegeleverde batterij van dit product Niet als huishoudelijk afval behandeld mag worden. Op sommige batterijen kan dit symbolism voorkomen in combinatie met een chemisch symbolism. De chemische symbolen voor kwik (Hg) of lood (Pb) worden toegevoegd als de batterij更是 dan 0,0005% kwik of 0,004% lood bevat. Doordezehafter batterijen op juiste wijze af te voeren,voorkont u voor mens en milieu negativie gevolgen die zich zouden kuren voordoen in geval van verkeerde afvalbehandeling. Het recycleren van materialen draagt bij tot het vrijwaren van natuurlijke bronnen.
In het geval dat de producten om redenen van veiligheid, prestaties dan wel in verband met data-integrititeit een permanente verbinding met batterij vereisen, dient deze batterij enkel door gekwalificeerd servicepersoneel verzangen te worden. Om ervoor te zorgen dat de batterij op een juiste wijze zal worden behandeld, dient het product aan het eind van zich levenscylclus overhandig te worden aan het desbetreffende izamelingspunt voor de recyclage van elektrisch en elektronisch materiaal.
Voor alle andere batterijen verwijzen we uaar het geedelete over hoe de batterijeil voig uit het product te verwijderen. Overhandig de batterij bij het desbetreffende inazamelingspunt voor de recyclage van batterijen.
Voor meer details in verband met het recyclen van dit product of batterij, neemt u contact op met de gemeentelijkie instanties, het bedrijf of de diest belast met de verwijdering van huishoudafval of de winkel waar u het product heb gekocht.
Opmerking over de lithiumbatterij
Stel de batterij Niet bloot aan extreem hoge temperaturen, zoals direct zonlicht, vuur, enzovoort.
Waarschuwing als het contactslot van de auto geen ACC-positie heeft
Zorg ervoor dat u de functie voor automatisch uitschakelen instelt (pagea 58).
Hiermee wordt het apparaat na de ingestelde tijdsduur automatisch volledig uitgeschakeld nadat u het apparaat hebt uitgeschakeld. Zo voorkomt u dat de accu leeg raakt.
Als u de functie voor automatisch uitschakelen Niet instelt, houdt u
(SOURCE/OFF) ingedrukt totdat het scherm verdwijnt runaway u het contactslot uitzet.
Om de demonstratie (Demo) te annuleren, zie pagina 62.
Opmerkingen overeiligheid 8
Opmerkingen over de installmentie 8
Auteursrechten. 9
Opmerkingen over Bluetooth 10
Afspeelbare discs en symbolen die in deze handleiding worden gelebruikt. 11
Locatie en functie van de bedieningselementen 12
Hoofdeenheid 12
Kaartafstandsbediening RM-X170. 15
Aandeslag
Het apparatus opniew instellen 17
Deinitieleinstallingenuitvoeren.17
De kaartafstandsbediening voorbereiden 17
Basisbewerkingen
De navigatiefunctie gebruiken 18
Naar de radio luisteren 19
Discs aufspelen 21
Geavanceerde bewerkingen — Radio
Zenders opslaan en ontvangen. 25
Automatisch opslaan - BTM 25
Handmatig opslaan 25
Opgeslagen zenders ontvangen. 25
RDS 25
Overzicht. 25
AF en TA instellen 26
PTY selectoren 26
CT instellen. 27
Geavanceerde bewerkingen — Discs
PBC-functions gebruiken
— Afspeelbediening 27
Audio-installingen configureren 28
De audiotaal/-indeling wijzigen 28
Het audiokanaal wijzigen 28
Het audio-uitvoerniveau aanpassen — Dolby D-niveau. 28
Discs vergrendelen — Kinderbeveiliging. 29
Kinderbeveiliging inschakelen. 29
Regio en bijbehorend filmbeperkingsniveau wijzigen. 29
Herhaaldelijk en willekeurig afspelen 30
Rechtstreeks afspelen 31
Bewerkingen voor USB-apparaten
Een USB-apparaat afspelen 31
Herhaaldelijk en willekeurig afspelen 32
Genieten van muziek op basis van uw stemming SensMeTM 32
Voordat u de SensMeTM-functie gebruikt 32
"SensMeTM Setup" en "Content Transfer" installeren op de computer 33
Een USB-apparaat registrieren met "SensMeTM Setup" 33
Tracks overzettenaar het USB-apparaat met "Content Transfer" 33
Tracks in het kanaal afspelen SensMeTM channels. 34
Tracks afsplen via de stemmingskaart SensMeTM mood 35
iPod-bewerkingen
Een iPod aufspelen 36
De weergavestand instellen 37
Herhaaldelijk en willekeurig afspelen 37
Een iPod recktstreeks bedieren
— Passagiersbediening 38
vervolg op volgende pagina
Nuttige functies
Tracks/beelden/videobestanden in een lijst weergeven - List 38
Een track/beeld/videobestand selectoren 38
Een bestandtype selecteren 39
Zoekenaaren track door te luisterenaar een gedeelte van een track-ZAPPINTM. 39
Gesture Command (bediening door middel van gebaren) gebruiken. 39
Handsfree bellen en audio streamen — Bluetooth
Voordat u de Bluetooth-functie gekruikt. 40
Basisprocedure van de
Bluetooth-functie. 40
Bluetooth-statusaanduiding. 41
De externicrofoon installeren 41
Koppelen 41
Zoeken vanaf dit apparatus 42
Zoeken vanaf het Bluetooth-apparaat . . .42
Verbinden. 43
Handsfree bellen. 44
Bellen. 44
Gesprekken ontvangen 45
Bewerkingenijdens een gesprek 46
Telefoonbokbeheer. 46
Telefoonboekgeevens opslaan. 46
In een telefoonbok bladeren op een mobiele telefoon 47
Telefoonbokgegevens verwijderen .48
Een contactperson bewerken 48
Beheer van gespreksgeevens 49
Gespreksgeschiedenis 49
Snelkeuzetoets 49
De personlijke gegevens vergrendelen . .50
Audio streamen 50
Luisteren aan een Bluetooth-apparaat via dit apparatus . 50
Het Bluetooth-apparaat bedieren met dit apparatusat 50
Bluetooth-installingen 51
Geluidsaanpassing
De geluidskwaliteit selecteren - EQ7 52
De equalizercurve aanpassen -EQ7Tune. 52
De geluidskenmerken aanpassen. 52
Geluid optimaliseren voor de luisterpositie
— Intelligent Time Alignment 53
De luisterpositie nauwkeurig kalibreren
— Intelligent Time Alignment Tune 53
Luidsprekerconfiguration en volume-instelling. 54
Een virtuele middenluidsprekermake —CSO. 54
Achterluidsprekers gebruiken als subwoofer — RBE 54
Het luidsprekervolume aanpassen 54
Monitor aanpassen
De hoek van de monitor aanpassen (Alleen XNV-L77BT/770BT). 55
Aanraakschem kalibreren. 55
Hetachtergrundscheminstellen. 55
De beeldkwaliteit aanpassen
— Picture EQ 55
De beeldkwaliteit aanpassen 56
De bredte-/hoogteverhouding selecteren. 56
Installingen
Algemene bediening voor instellenen 57
Algemene instellingen 58
Geluidsinstellungen 60
Scherminstallingen 61
DVD- en andere afspeelinstellungen 62
De beveiligingscode instellen 65
De klok instellen 65
Optionele apparaten gebruiken
Extra audio-/videoapparatuur 66
Achteruitkijkcamera 66
Instellingen voor de
achteruitkijkamera. 66
Voorzorgsmaatregelen. 67
Opmerkingen over het LCD-schem. 67
Opmerkingen over discs 68
Afspeelvolgorde van MP3-/WMA-/AAC-/JPEG-/DivX®-/MPEG-4-bestanden . . . . . 69
Over MP3-bestanden 69
OverWMA-bestanden. 69
Over AAC-bestanden 69
OverJPEG-bestanden. 69
Over DivX-video 69
Over DivX Video-on-Demand 69
Over MPEG-4-bestanden 69
Over iPod 70
Over de Bluetooth-functie 70
Onderhoud. 71
Het apparatus verwijderen. 72
Lijst met taal-/regiocodes 80
Index 81
Ondersteuningssite
Als uvragen hebdt de recentste ondersteuningsinformatie over dit product wilt hebben,gaat u maar de onderstaande website:
http://support.sony-europe.com/
Levert informatie over:
- Modellen en fabrikanten van compatibile digitale audiospelers
- Modellen en fabrikanten van compatibile mobiele telefoons en veelgestelde vragen over de Bluetooth-functionie
Opmerkingen over veiligheid
Houd u aan de lokale verkeersregels, wetgeving en overheidsvoorschriften.
Tijdens het autorijden
-Bekijk of bedien het apparaat Niet, odomat dit uw aandacht kan afleiden en kan leiden tot ongelukken. Parkeer uw auto op een veilige plaat als u het apparaat wilt bekijken of bedieren.
- Gebruik de instelfunctie of andere functies nicht.
Deze können uw aandacht van de weg afleiden. -
Wanner u awhilerijdt met de auto, moet u ut veiligheidsoverwegingen goed omkijnen en nauwkeurig op de omgeving letten, zelfs als de awhiletijkikcamera is aangesloten. Vertrouw nooit alleen op de awhiletijkikcamera.
-
Tijdens het gebruik
-
Steek uw handen of vingers of vreme de voorwerpen nicht in het apparaat werwijl dit actief is, maar dit letsel of schade aan het apparaat tot gezolg kan hebben.
-Houdkleine onderdelen buiten het bereik van kinderen. - Maak de veiligheidsgordels vast om letsel te voorkomen wanner de auto plotseling beweegt.
Ongelukken voorkomen
Beelden worden pas weergegeven als u de auto hebt geparkeerd en de handrem gebruikt.
Wanner de auto beweegtijdens het afspelen van video, worden het beeld automatisch
overgeschakelijk maar het achtergrundschem nadat de onderstaande waarschuwing is weergegeven.
De monitor die is aangesloten op REAR VIDEO OUT, is actief wanner de auto beweegt. Het beeld op het scherm worden overgeschakeld maar het ondergrundschemr, maar de audiobron kan nog wel worden gehoord.
U moetijdens het rijden het apparaat Niet bedieren of maar de monitor kijken.
Opmerkingen over de installmentie
-
We raden aan dat dit apparaat worden geinstalleerd door houdsmonteur.
-
Als u dit apparaat zichl probeert te installereren,要去 u de bijgeleverde handleiding voor installmenta/aansluitingen raadplegen en het apparaat op de juiste manier installeren.
-Een onjuiste installment kan ervoor zorgen dat de accu leeg loopt of kortsluiting veroorzaken. -
Als het apparaat Niet correct werkt, controleert u erst de aansluitingen. Raadpleeg hierbij de bijgeleverde handleiding voor installation/aansluitingen. Controleer de zekering wanneer alles in orde is.
Zorg ervoor dat het oppervlak van het apparaat Niet worden beschadigd.
- Stel het oppervlak van het apparaat Niet bloot aan chemicalien, zoals insecticide,haarlak, insectenverdelgingsmiddel,enzovoort.
-
Laat materiaial van rubber of plastic nicht langdurig in contact komen met het apparaat. Als dit wel geleurt, kan de afwerking van het apparaat worden aangetast of kan het apparaat worden verrormd.
-
Wanner u het apparataat installeert, moet alles goed worden vastbezet.
- Zet de motor uit wonneer u het apparaat installeert. Als u het apparaat installeert verwijl de motor is ingeschakeld, kan de accu leeg lopen of kan kortsluiting optreden.
- Let er tijdens de installmente op dat auto-onderdelen, zoals leidingen, buizen, de brandstoffank of bedrading, Niet worden beschadigd als u een boor gebruikt. Dit kan brand of ongelukken tot gevolg hebben.
- De communicatiefuncties van de navigatiemodule zenden radiogolven uit zoals ook een mobiele telefoon dat doet. Installee de navigatiemodule Niet in de buurt van elektronische apparaten, enz., in de auto zodate er geen enkele vorm van interferentie kanplaatsvinden (alleen XNV-L77BT/L66BT).

DIGITAL
Gefabricceerd onder licentie van Dolby Laboratories.
"Dolby" en het symbool double
D zich handelsmerken van Dolby Laboratories.
Microsoft, Windows, Windows Vista en Windows Media en de bijbehorende logo'sarendhandelsmerken of geedeponeerde handelsmerken van Microsoft Corporation in de Verenigde Staten en/of andere landen.
"DVDVIDEO", "DVD-R", "DVD-RW", "DVD+R" en "DVD+RW"�Handelsmerken.

DivX, DivX Certified en de bijbehorende logo'sarend geedeponeerde handelsmerken van DivX, Inc.
Het wordenker Bluetooth en de logo's van Bluetooth zijn eigendom van Bluetooth SIG, Inc. en Sony Corporation gebruikt deze items onder licentie. Overige handelsmerken en merknamen zijn eigendom van de respectieve eigenaars.
ZAPPIN is een handelsmerk van Sony Corporation.

12 TONE
ANALYSIS
12 TONE ANALYSIS en het bijbehorende logo+zijn handelsmerken van Sony Corporation.

"WALKMAN" en het "WALKMAN"-logo waar gedeponeerde handelsmerken van Sony Corporation.

SensMeTM
SensMe en het SensMe-logo zijn handelsmerken of gedeponeerde handelsmerken van Sony Ericsson Mobile Communications AB.

gracenote.
Muziekherkenningstechnologie en verwante gegevens worden versuschaft door Gracenote. Gracenote is de industrienorm op het gebied van muziekherkenningstechnologie en verwante levering van inhoud. Ga voor meer informatie waar www.gracenote.com.
Cd- en muziekverwante geevens van Gracenote, Inc., copyright © 2000-2010 Gracenote. Gracenote Software, copyright © 2000-2010 Gracenote. Dit product en deze service vallen möglich onder een ofmeer octrooien van Gracenote. Raadpleeg de website van Gracenote voor een Niet-volledige lijst van de desbeteffende Gracenote-octrooien.
Gracenote, CDDB, MusicID, het Gracenote-logo en -logotype en het logo "Powered by Gracenote" zich handelsmerken of gedeponeerde handelsmerken van Gracenote in de Verenigde Staten en/of andere landen.
Dit product gebruik lettertypegegevens waarvoor een licentie is verleend aan Sony door Monotype Imaging Inc. of zijn partners.
iPhone, iPod, iPod classic, iPod nano en iPod touch+zijn handelsmerken van Apple Inc., gedeponeerd in de VS en andere landen.
Apple, Macintosh en iTunes zijn handelsmerken van Apple Inc., gedeponeerd in de Verenigde Staten en andere landen.
TomTom is een handelsmerk van TomTom N.V.
VOOR DIT PRODUCT WORDT EEN LICENTIE
VERLEEND ONDER DE MPEG-4 VISUAL
PATENT PORTFOLIO LICENSE VOOR
PERSOONLIJK EN NIET-COMMERCIeel
GEBRUIK DOOR EEN KLANT VOOR HET
DECODEREN VAN MPEG-4-VIDEO DIE IS
GECODEERD DOOR EEN KLANT VOOR
PERSOONLIJK EN NIET-COMMERCIeel
GEBRUIK EN/OF IS VERKREGEN VAN EEN
VIDEOLEVERANCIER DIE EEN LICENTIE
VOOR MPEG-4-VIDEO HEEFT VERKREGEN
VAN MPEG LA. ER WORDT GEEN LICENTIE
VERLEEND OF GEIMPLICEERD VOOR ENIG
ANDER GEBRUIK. AANVULLLENDE
INFORMATIE, WAARONDER INFORMATIE
OVER PROMOTIONEEL, INTERN EN
COMMERCIeel GEBRUIK EN LICENTIES
VOOR DERGELIJK GEBRUIK, KUNT U
VERKRIJGEN BJJ MPEG LA, LLC. GA NAAR
HTTP://WWW.MPEGLA.COM
Opmerkingen over Bluetooth
Let op
IN GEEN GEVAL IS SONY AANSPRAKELIJK VOOR ENIGE INCIDENTELE OF INDIRECTE SCHADE, GEVOLGSCHADE OF ANDERE SCHADE, INCLUSIEF MAAR NIET BEPERKT TOT WINSTDERVING, INKOMSTENVERLIES, GEGEVENSVERLIES, HET NIET KUNNEN GEBRUIKEN VAN HET PRODUCT OF BIJBEHORENDE APPARATUUR, UITVALTIJD EN DE TIOD VAN DE AANKOPER GERELATEERD AAN OF VOORTVLOEIEND UIT HET GEBRUK VAN DIT PRODUCT, BIJBEHORENDE HARDWARE EN/OF SOFTWARE.
BELANGRIJKE KENNISGEVING
Veiling en efficiengetebruik
Wijzigingen of aanpassingen van dit apparaat die niedadrukkelijk zijn goedgekeurd door Sony, kunden het gebruiksrecht van de gebruiker teniet doen.
Controleer voordat u dit product gebruikt de uitzonderingen, vanwege nationale vereisten of beperkingen, met betrekking tot het gebruik van Bluetooth-apparatuur.
Autorijden
Controleer de wetgeving en de voorschriften met betrekking tot het gebruik van mobiele telefoons en handsfree apparaten in de gebieden waar u rijdt. Let altijd aandachtig opijdens het autorijden en verlaat de weg en parkeer de auto voordat u belt of een gesprek ontvangt als de verkeersomstandigheden ditoodnkazelijk makn.
Verbinding makes met andere apparaten
Wanner u verbinding maakt met andere apparaten, moet u eerst de bijbehorende gebruikershandleiding lezen voor gedetailleerde verilheidsinstructies.
Bootstelling aan radiofrequencies
RF-signalen beinvloeden welticht onjuist geinstalleerde of onvoldoende afgeschermde elektronische systemen in auto's, zoals elektronische brandstofinjectiesystemen, elektronische anti-blokke Systemen (anti-slip), elektronische snelheidsbeperkingssystemen of airbagsystemen. Voor installmentatie van of onderhoud aan dit apparatuskunt u het Beste contact opnemen met de fabrikant van uw auto of een vertegenwoordiger van de fabrikant. Onjuiste installmentatie of onjuist onderhoud kan gaaarlijk zijn en kan eventuele garanties die van toepassing zich op dit apparatusaat, onteldig maken. Raadpleeg de fabrikant van uw auto om te controleren of het gebruik van uw mobiele telefoon in de auto Niet van invloed is op de elektronische systemen van de auto.
Controleer regelmatig of alle onderdelen van het draadloze apparaat correct in de auto zich gemonteerd en correct functioneren.
Noodopropen
Dit handsfree Bluetooth-apparaat voor in de auto en het elektronische apparaat dat is aangesloten op het handsfree apparaat, makeen gebruik van zowel radiosignalen, mobiele telefoonnetwerken en vaste telefoonnetwerken als door de gebruiker geprogrammeerde functies, waardoor de verbinding nicht in alle omstandigheden kan worden gegarandeerd.
Vertrouw waarom voor belangrijke communicatie (zoals medische noodgevallen) Niet alleen op elektronische apparaten.
Houd er rekening mee dat als u wilt bellen of gesprekken wilt ontvangen, het handsfree apparaat en het elektronische apparaat dat is verbonden met het handsfree apparaat, moeten zich ingeschakeld in een servicegebied met voldoende mobiele ontvangst.
Noodoproepen zich weltlich nicht möglichk op alle mobiele tefoonnetwerken of wonneer bepaalde netwerkdiensten en/of tefoonfuncties worden gebruikt.
Controleer dit bij uw lokale serviceprovider.
Afspeelbare discs en symbolen die in deze handleiding worden gezruikt
Op dit apparaat kuren verschillende video-/audiodiscs worden afgespeeld.
Aan de hand van de volgende tabel(Int) u controleren of een disc door dit apparaat worden ondersteund.
Daarnaast sunt u controlleren welke functies beschikbaar zijn voor een bepaald type disc.
| Discsymbool in de handleiding | Discindeling | |
| VIDEO | DVD | DVD VIDEO |
| DVD-R*1 / DVD-R DL*1 / DVD-RW*1 (Videostand/VR-stand) | ||
| DVD+R*1 / DVD+R DL*1 / DVD+RW*1 | ||
| VCD | Video-CD (Ver. 1.0/1.1/2.0) | |
| AUDIO | CD | Audio-CD |
| CD-ROM*2 / CD-R*2 / CD-RW*2 |
1 Audiobestanden können ook worden opgeslagen.
2 Video-/beeldbestanden können ook worden opgeslagen.
Opmerking
"DVD" wird in denen handleiding gebruikt als een algemene term voor DVD VIDEO's, DVD-R's/DVD-RW's en DVD+R's/DVD+RW's.
In de volgende tabel worden de ondersteunde compressie-indelingen en de bijbehorende bestandstypen weergegeven.
De beschikbare functies zijn afhankelijk van de indeling, ongeacht het type disc. De onderstaande symbolen voor de indelingen worden weergegeven naast de beschrijving van de beschikbare functies voor de betreffende indeling.
| Indelingsymbol in de handleiding | Bestandstype |
| MP3 | MP3-audiobestand |
| WMA | WMA-audiobestand |
| AAC | AAC-audiobestand |
| JPEG | JPEG-beeldbestand |
| DivX | DivX®-videobestand |
| MPEG-4 | MPEG-4-videobestand |
Tip
Zie pagina 69 voor meer informatie over compressie-indelingen.
Opmerking
Als een disc slecht is opgenomen, is het zelfs möglichk dat ook een compatibile disc Niet kan worden afgespeeld.
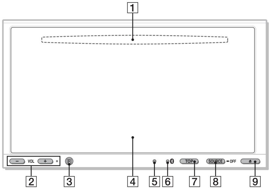
Hoofdeenheid
XNV-L77BT/770BT

Zie de vermelde pagina's voor meer informatie.
1 Disclesauf (behindt zich anschter het voorpaneel) pagina 21
VOL (volume) - / + ^* toetsen
3 Ontvanger voor de kaartafstandsbediening
4 Display/aanraakschemr
Hersteltoets pagina 17
6 Signaalaanduiding voor 3 (Bluetooth) pagina 41
TOPtoets
Het hoofdmenu openen.
8 SOURCE/OFF toets
Druk op de toets om de stroom in te schakelen/de bron te wijzigen: "Tuner" (radio), "Disc", "AUX" (randapparatuur), "USB/iPod", "BT Audio" (Bluetooth-audio). Druk ongeveer 1 Seconde op de toets om de stroom uit te schakelen. Druk meer dan 2 seconden op de toets om het apparaat volledig uit te schakelen.
9 (openen/sluiten) toets pagina 21
- De VOL + toets is voorzien van een voelstip.

Ziede vermelde pagina's voormeer informatie.
1 (Uitwerpen) toets pagina 22
Hersteltoets pagina 17
3 Ontvanger voor de kaartafstandsbediening
4 Disclesauf pagina 21
5 TOP toets De bronlijst openen.
6 Signaalaanduiding voor 3 (Bluetooth) pagina 41
Volumeknop
8 SOURCE/OFF toets Druk op de toets om de stroom in te schakenen/de bron te wijzigen:"Tuner" (radio), "Disc", "AUX"(randapparatuur), "USB/iPod", "BT Audio" (Bluetooth-audio). Druk ongeveer 1 Seconde op de toets om de stroom uit te schakenen. Druk meer dan 2 seconden op de toets om het apparaat volledig uit te schakenen.
9 Display/aanraakschemervolg op volgende pagina
Schemweergaven
Wanner er geen bron is geselecteerd:

Hoofdmenu:

Bronlijst:

1 "Source List" toets
De bronlijst openen.
2 "Navi"/"Navigation" toets
Naar de navigatiestand gaan.
3 "Top"toets
Het hoofdmenu openen.
4 Klokweergave pagina 62, 65
5 X (sluiten) toets
Het menu sluiten.
6 "ATT" (dempen) toets*
Het geluid dempen. Raak de toets nogmaals aan om te annuleren.
Weergave wisselen) toets
De weergavestand selecteren: "Navigation Only", "Dual Screen Navi + A/V (Large)", "Dual Screen Navi + A/V (Small)".
8 (installing) toets
Het instelmenu openen.
9 "M.OFF" (monitor uit) toets
De monitor en toetsverlichting uitschakelen. Raak het scherm aan om de monitor en toetsverlichting weer in te schakelen.
10 "AV Source" toets
De bronlijst openen.
11 "BT Phone" toets
De Bluetooth Phone-stand openen.
12 Bronkeuzetotoetsen
De bron wijzigen: "Tuner" (radio), "Disc", "AUX" (randapparatuur), "USB/iPod", "SensMeTM", "BT Audio" (Bluetooth-audio).
- Wordt alleen weergegeven wanner er een bron is geselecteerd.

- De kaartafstandsbediening kan gewoonlijk worden gebruikt om de audiofuncties te bedieren. Gebruik het aanraakschem voor menubewerkingen.
- Zie de vermelde paginga's voor meer informatie.
- Verwijder het beschermende laagje vór gebruik (pagea 17).
OFFtoets
Druk op de toets om stroom uit te schakelen/ de bron te stoppen.
Houd de toets ingedrukt om het apparaat volledig uit te schaken.
2 MONITOR OFF toets
De monitor en toetsverlichting uitschakelen.
Druk nogmaals op de toets om de monitor en toetsverlichting weer in te schakelen.
3 POSITION toets
De luisterpositie wijzigen ("Front L"/"Front R"/"Front"/"All"/"Custom"/"OFF").
4 (terug) toets
Terugkeren maar het vorige scherm/ terugkeren maar een menu op een VCD*1.
5 EQ (equalizer) toets
Een equalizercurve kiezen uit 7 muziektypen ("Xplod"/"Vocal"/"Edge"/"Cruise"/"Space"/ "Gravity"/"Custom"/"OFF").
Cijfertoetsen pagina 31
Radio:
Druk op de toets om opgeslagen zenders te ontvangen.
Houd de toets ingedrukt om zenders op te slaan.
Disc/USB:
Een titel/hoofdstuk/track zoeken.
7 CLEAR toets
Een opgegeven nummer verwijderen.
vervolg op volgende pagina
8 ATT (dempen) toets
Het geluid dempen. Druk nogmaals op de toets om te annuleren.
9 II (afspelen/onderbreken) toets
10 I/toetsen
Radio:
Druk op de toetsen om automatisch af te stemmen op zenders.
Houd de toetsen ingedrukt om handmatig een zender te zoeken.
Disc\*2/USB:
Druk op de toetsen om een hoofdstuk/track/scène/bestand over te slaan.
Houd de toetsen kort ingedrukt om de video snel terug/vooruit te spelelen.
Houd de toetsen ingedrukt om de track nsel terug/vooruit te spoelen.
Bluetooth-audio\*3:
Druk op de toetsen om een track over te slaan.
Houd de toetsen ingedrukt om de track nsel terug/vooruit te spoelen.
Toetsen voor de afspeelinstelleningen voor de DVD
AUDIO
De audiotaal/-indeling wijzigen.
(Voor VCD/CD/MP3/WMA/AAC/
MPEG-4: het audiokanaal wijzigen.)
SUBTITLE :
De taal voor de ondtiteling wijzigen.
ANGLE
De weergavehoek wijzigen.
TOP MENU
Het hoofdmenu op een DVD openen.
Het menu op een disc openen.
ZAP toets
De ZAPPIN™-stand openen.
13 / / / (cursor)/ENTER toetsen
pagina 21
Het menu op een DVD bedieren.
14 SRC (bron) toets
De stroom inschakelen/de bron wijzigen:
"Tuner" (radio), "Disc", "AUX"
( randapparatuur), "USB/iPod", "BT Audio"
(Bluetooth-audio).
15 MODE toets
Druk op de toets om de radioband te selectoren (FM/MW/LW)/een randapparaat te selectoren (AUX1/AUX2)*4.
16 VOL (volume) +/- toetsen
1 Wanner met een PBC-functie worden afgespeeld.
2 De bediening is afhankelijk van de disc (pagina 23).
3 De bediening is afhankelijk van het aangesloten Bluetooth-apparaat.
4 Wanner er twee randapparaten worden gebruikt.
Opmerking
Als het apparaat wordenuitgeschakeld en het scherm verwijd, kan het apparaat Niet worden bediend met de kaartafstandsbediening, tenzij op SOURCE/OFF op de hoofoenheid worden gedrukt of een disc worden geplaatst om het apparaat te activeren.
Aandeslag
Het apparatus opniew instellen
Voordat u het apparaat voor het eerst gebruikt of na het verrangen van de accu of het wijzigen van de aansluitingen, moet u het apparaat opnieuw instellen.
Druk de hersteltoets in (pagea 12) met een puntig voorwerp, zoals een balpen.
Opmerking
Als u de hersteltoets indrukt, worden de kloinstelling en bepaalde opgeslagen gegevens gewist.
De initièle instellingenuitvoeren
Nadat u het apparaat opniewu hebts ingesteld,\ wordt het scherm voor de initiièle instellenen\ weergegeven.

1 Raak "Subwoofer" aan om de status van de subwooferaansluiting in te stellen.
Stel "ON" in als er een subwoofer is aangesloten of "OFF" als dit nicht het geval is.
2 Raak "Listening Position" aan om de luisterpositie in te stellen.
Stel "Front L" in als uw luisterpositie linksvoor is of "Front R" als davon rechtsvoor is.
3 Raak "Language" aan om de schermtaal in te stellen.
Raak dit item herhaaldelijk aan tot de gewenste taal (Engels/Spaans/Russisch) worden weergegeven.
4 Raak "OK" aan.
Het instellen is voltooid.
Deze instelling kan verdier worden geconfigureerd in het instelmenu.
- Zie pagina 61 voor meer informatie over het instellen van de status van de subwooferaansluiting.
Zie "Geluid optimaliseren voor de luisterpositie — Intelligent Time Alignment" op pagina 53 voor meer informatie over het instellen van de luisterpositie.
- Zie pagina 58 voor meer informatie over het instellen van de schermtaal.
De kaartafstandsbediening voorbereiden
Voordat u de kaartafstandsbediening gebruikt, moet u het plastic beschermlaagje verwijdenen.

1 Sluit de navigatiemodule aan op de autodock.
Zie voor details de bijgeleverde handleiding voor installment/aansluiting.
2 Druk op TOP, raak daarna aan in het topmenu.
Het scherm voor het selecteren van de weergavestand verschijnt.
De opties van de weergavestand zijn de volgende.
"Navigation Only": Toont alleen het navigatieschem.
"Dual Screen Navi + A/V (Large)": Toont de actuèle audio/video-bron op het navigatieschem.
"Dual Screen Navi + A/V (Small)": Toor toets van de actuèle audio/video-bron op het navigatieschem.

3 Raak de weergavestand van uw keuze aan.
Het navigatieschem verschijnt en u kunt verrolgens de navigatiefunctie gebruiken.
Het scherm voor het selecteren van de positie van de audio/video-bron en toetsen.
1 Raak de positie van uw keuze aan.
Raak het scherm aan in het navigatiegebied. De audio/video-bron en toetsen verdwijnen en u kuntervoigens de navigatiefunctie gebruiken.

Raadpleeg voor nadere details over de bediening van de navigatie de brochure (verstrekt door TomTom) voor de navigatiemodule.
Opmerkingen
Tijdens de bediening van de navigatie, klinkt er geen bedieningsgeluid, ook al is "Beep" ingesteld op "ON."
- De bediening van de navigatie kan nicht worden uitgevoerd door middel van de kaart.afstandsbediening.
- De gesproken aanwijzingen worden alleen uitgestuurd via de voorluidsprekers en het volume van de gesproken aanwijzingen is onafhankelijk van de gewone volumeregeling.
Overschakelen maar de actuèle audio/video-bron
Houd TOP ingedrukt.
U kunt terugschakelen maar de navigatiestand door (TOP) ingedrukt te houden.
Wanner u "Dual Screen Navi + A/V (Large)" of "Dual Screen Navi + A/V (Small)" selecteert als weergavestand
U kurz ook volgens de volgende methode overschakelenaar de actuèle audio/video-bron.
Voor "Dual Screen Navi + A/V (Large)", raak het gebied van de audio/video-bron aan.
Voor "Dual Screen Navi + A/V (Small)", raak l aan.
Raak, als u wilt terugschakelen maar de navigatiestand, "Navi" aan in het ontvangst/weergave-schem.
De navigatiemodule loskoppelen
Druk op de knop op de autodock als u de navigatiemodule wilt losmaken en verwijderen.

Opmerking
Sluit de navigatiemodule alleen aan en koppel deze alleen los wanner het contact van de auto uitstaat en de Aan/ Uit-indicator is uitgeschakeld.
Naar de radio luisteren
1 Raak "Source List" en "Tuner" aan.
Raak in het hoofdmenu "AV Source" en "Tuner" aan.
Het scherm voor radio-ontvangst worden weergegeven.

2 Raak "Band" aan.
De lijst met radiobanden worden weergegeven.

3 Raak de gewenste radioband ("FM1", "FM2", "FM3", "MW" of "LW") aan.
Raak "Band" aan om de lijst met radiobanden te sluiten.
Het zoeken stoot zodra een zender worden ontvangen. Herhaal deze procedure tot de gewenste zender worden ontvangen.
Handmatig afstemmen
Raak herhaaldelijk aan tot de gewenste freiagentie worden ontvangen.
Als u frequencies wilt blijven overslaan, blijt u «▶» anraken.
Bedieningselementen voor ontvangst
Raak het scherm aan als de bedieningselementen voor ontvangst Niet worden weergegeven.

| Nr. | Item | Aanraken |
| 1 | "Source List" | De bronlijst openen. (pagea 14) |
| 2 | "ATT" | Het geluid dempen. Raak de toets nogmaals aan om te annuleren. |
| 3 | "TA" | TA in RDS instellen. (pagea 26) |
| 4 | "AF" | AF in RDS instellen. (pagea 26) |
| 5 | "Navi" | Naar de navigatiestand gaan. (pagea 18) |
| 6 | "Top" | Het hoofdmenu openen. (pagea 14) |
| 7 | </▶> | Handmatig afstemmen. Blijf de toetsen aanraken om frequencies te blijven overslaan. |
| 8 | </▶/▶> | Automatisch afstemmen. |
| 9 | "Band" | De lijst met radiobanden openen en de radioband wijzigien. |
| 10 | "Receive Menu" | Het ontvangstmenu openen. Dit menu bevat de volgende items. · "Mono": raak dit item aan om de monostand te activeren als de FM-ontvangst van slechte kwaliteit is. Als u stereo-ontvangst wilt herstellen, selecteert u "OFF". · "Local": raak dit item aan om alleen af te stemmen op zenders met een sterk signaal. Als u wilt afstemmen op normale zenders, selecteert u "OFF". · "Regional" (pagea 26) |
| 11 | "Preset List" | Opgeslagen zenders in een lijst weergeven of zenders opslaan. (pagea 25) |
| 12 | "PTY List" | De PTY-lijst openen. (pagea 26) |
Aanduidingenijdens ontvangst

A Pictogram voor huidige bron*1
Radiobandnummer, Voorinstelnummer*2, frequentie*3/status
Volumineveau*4
Instelstatus (CSO, EQ7, RBE)
1 Wordt alleen weergegeven wanner de bedieningselementen worden weergegeven.
2 Wort deielen weergegeven wanneer een zender worden ontvangen die in het geheugen is opgeslagen.
3 Tijdens ontvangst van een RDS-station worden de programmaservicenaam weergegeven. Zie "RDS" op pagina 25 voor meer informatie.
4 Wanner Att is ingeschakeld, worden ※ weergegeben.
Discs aufspelen
Mogelijk zijn bepaalde bewerkingen Niet beschikbaar of beperkt beschikbaar. Dit is afhankelijk van de disc.
Raadpleeg de gebruiksaanwijzing die bij de disc is geleverd.
XNV-L77BT/770BT
1 Druk op op de hoofdeenheid.
Het voorpaneel worden automatisch geopend.
2 Plaats de disc (met het label maar boven).
Het voorpaneel worden automatisch gesloten en het afspelen worden gestart.
XNV-L66BT/660BT
1 Plaats de disc (met het label maar boven).
Het afspelen worden automatisch gestart.
Als het DVD-menu worden teergegeven
Raak het item rechtstreeks aan in het DVD-menu.
U kunt ook het menubedieningspaneel gebruiken, dat u kunt weergeven door het scherm op een andere plaatns dan het gebied met het menu-item aan te raken. Raak / / / aan om de cursor te verplaatsen en raak "Enter" aan om de instelling te bevestigen.
Als het menubedieningsspaneel nicht worden weergegeven wanner u het scherm aanraakt, gebruikt u de kaartafstandsbediening.
Over het DVD-menu
Een film of muziekstuk op een DVD worden onderverdeeld in verschillende delen. Deze delen worden "titels" genoemd. Wanner u een DVD afspeelt die meerere titels bevat,kest u de gewenste titel selecteren in het hoofmenu van de DVD. Wanner u op een DVD bijvoorbeld verschillende talen voor de ontertiteling/het geluid kunt selecteren, kunt u deze selecteren in het DVD-menu.
Als de disc JPEG-bestanden bevat
De diavorstelling worden automatisch gestart.
Het afspelen stoppen
Druk 1 seconde op SOURCE/OFF
Opmerking
Discs in DTS-indeling worden nicht ondersteund. Er worden geen geluid weergegeven als de DTS-indeling is geselecteerd.
De discuitwerpen
XNV-L77BT/770BT
1 Druk op op de hoofdeenheid.
Het voorpaneel worden automatisch geopend en de disc worden uitgeworpen.
2 Druk op op de hoofdeenheid om het voorpaneel te sluiten.
Opmerking
Het voorpaneel worden automatisch gesloten nadat de waarschuwingstoon is weergegeven.
XNV-L66BT/660BT
Druk op op de hoofdeenheid.
Bedieningselementen voor aftspelen
Raak het scherm aan als de bedieningselementen voor afspelen Niet worden weergegeven.

Voor alle discs/indelingen
VCD

CD
MP3
WMA
AAC

DVD

JPEG
DivX
MPEG-4

| Nr. | Item | Aanraken |
| 1 | "Source List" | De bronlijst openen. (pagea 14) |
| 2 | "ATT" | Het geluid dempen. Raak de toets nogmaals aan om te annuleren. |
| 3 | "TA" | TA in RDS instellen. (pagea 26) |
| 4 | "AF" | AF in RDS instellen. (pagea 26) |
| 5 | "Navi" | Naar de navigatiestand gaan. (pagea 18) |
| 6 | "Top" | Het hoofdmenu openen. (pagea 14) |
| 7 | I/II | Een hoofdstuk/track/scène/beeld/bestand overslaan.Blijf de toetsen kort aanraken om de video snel terug/vooruit te spoelen; en raak de toetsen verrolgens herhaaldelijk aan om de snelheid te wijzigigen (×2→×12→×120→×2...)*1.Raak ▷II aan om te annuleren.Blijf de toetsen aanraken om de audiotrack snel terug/vooruit te spoelen.Terwijl het afspelen is onderbroken, blijft u ▷I aanraken om de video in slow motion af te spelen. Laat de toets los om te annuleren. |
| 8 | II | Afspelen onderbreken/afspelen hervatten na een onderbreking. |
| 9 | "Play Menu" | Het afspeelmenu openen. Dit menu bevat de volgende items.•"Repeat"/"Shuffle"(pagea 30)•"Dolby D Level"(alleen bij het afspelen van DVD VIDEO)(pagea 28)•"Stereo"(alleen bij het afspelen van VCD/CD/MP3/WMA/AAC)(pagea 28)•"Image Turn"(alleen bij het afspelen van JPEG): raak dit item aan om een beeld linksom/rechtsom te draaien.•"Audio"(alleen bij het afspelen van DivX/MPEG-4)(pagea 28)•"Subtitle"(alleen bij het afspelen van DivX): raak dit item herhaaldelijk aan om de ondtertiteling uit te schakelen/de taal voor de ondtertiteling te selecteren.*2*3 |
| 10 | "DVD Control" | Het DVD-bedieningsmenu openen. Dit menu bevat de volgende items.•"Audio": raak dit item herhaaldelijk aan om de taal/indeling voor audio te selecteren. (pagea 28)*2•"Subtitle": raak dit item herhaaldelijk aan om de ondtertiteling uit te schakelen/de taal voor de ondterteling te selecteren.*2*3•"Angle": raak dit item herhaaldelijk aan om de weergavehoek te wijzigien.*2•"Top Menu": raak dit item aan om het hoofdmenu op de DVD te openen.*2•"Menu": raak dit item aan om het menu op de disc te openen.*2 |
| 11 | "PBC Panel" | Het bedieningspaneel voor het PBC-menu weergeven.(pagea 27) |
| 12 | "Album" -/+ | Een album (folder) overslaan voor MP3/WMA/AAC/JPEG/DivX/MPEG-4. |
| 18 | "List" | Tracks/beelden/videobestanden in een lijst weergeven.(pagea 38) |
| 14 | "ZAP" | De ZAPPIN-stand openen. (pagea 39) |
1 De snelheid is afhankelijk van de indeling of de opnamemethode.
2 Niet beschikbaar afhankelijk van de disc.
*3 Wanner het inoerveld van 4 tekens worden weergegeven, voert u de taalcode (pagina 80) voor de gewenste taal in.
Opmerking
Als de disc meerere bestandstypen bevat, kan alleen het geselecteerde bestandstype (audio/video/beeld) worden afgeseel. Zie "Een bestandstype selecteren" op pagina 39 vooreer informatie over het selecteren van het bestandstype.
Opmerkingen over het afspelen van JPEG
- Als een groot beeel worden gedraaid, kan het even duren voordat dit worden weergegeven.
- Progressive JPEG-bestanden können nicht worden weergegeben.
Aanduidingenijdens aftspelen
Raak het scherm aan om de aanduidingen weir te gehen.
Voor audiodiscs worden bepaalde aanduidingen alttijd weergegeven tijdens het afspelen.

A Pictogram voor huidige bron
B Volumeniveau*1
Indeling, aftspeelstatus, verstreken speelduur*2, hoofdstuk/titel/album (map)/tracknummer*3*4, audio-indeling*5, instelstatus (CSO, EQ7, RBE)
Afspeelstatus,verstreken speelduur*2
Tracknaam, albumnaam, artiestennaam
F Weergave van albumhoes*6
Indeling, tracknumber, albumnummer*7 instelstatus (CSO, EQ7, RBE)
1 Wannerer ATT is ingeschakeld, worden ※ weergegeven.
2 Tijdens het afspelen van JPEG of VCD met de PBC-functie worden geen aanduiding weergegeven.
3 De aanduidingen zich aanfankelijk van de disc/indeling.
4 Tijdens het afspelen van een VCD met de PBC-functie (pagina 27) worden geen aanduiding weergegeven.
5 Alleen DVD/DivX.
6 De aanbevolen groote isussen 240 × 240 en 960 × 960 pixels.
*7 Alleen MP3/WMA/AAC.
Geavanceerde bewerkingen — Radio
Zenders opslaan en ontvangen
Let op
Als u afstemt op zenders tijdens het rijden,要去 de BTM-functie (geheugen voor Beste afstemming) gebruiken om ongelukken te vermijden.
1 Raak "Source List" en "Tuner" aan.
Als u de radioband wilt wijzigen, raakt u "Band" aan en selecteert u de gewenste radioband ("FM1", "FM2", "FM3", "MW" of "LW").
2 Raak "Preset List" en "BTM" aan.
Het apparaat slaat de zender op volgorde van freqente op in de lijst met voorkeurszenders ("P1" tot en met "P6").
Er klinkt een pieptoon wanner de instelling is opgeslagen.
Handmatig opslaan
1 Terwijl de zender worden ontvangen die u wilt opslaan, raakt u "Preset List" aan.
2 Raak "Memory" aan en raak het nummer aan in de lijst ("P1" tot en met "P6").
Het nummer en het bevestigsschemm worden weergegeven.
3 Raak "Yes" aan.
De zender worden opgeslagen.
Opmerking
Als u een andere zender opslaat onder hetzelfdene nummer, worden de erder opgeslagen zender verwangen.
Tip
Als een RDS-zender worden opgeslagen, worden de AF-/TA-insteling ook opgeslagen (pageina 26).
Opgeslagen zenders ontvangen
1 Selecteer de radioband en raak "Preset List" aan.
2 Raak het gewenste nummer ("P1" tot en met "P6") aan.
RDS
Overzicht
FM-zenders met de RDS-dienst (radiogeveensystem) sturen onhoorbare digitale informatie mee met het gewone radioprogrammasignaal.
Schermitems

Radiobandnummer, Voorinstelnummer, frequentie (programmaservicenaam), RDSgegevens, TA^*1
Stereo*2, RDS*3, TP*4
Klokweergave
1 Tijdens verkeersinformatie.
2 Tijdens FM-ontvangst.
3 Tijdens RDS-ontvangst.
4 Tijdens ontvangst van het verkeersprogramma.
RDS-diensten
Dit apparaat biiedt automatisch RDS-diensten op de volgende manier:
Hiermee worden de zender met het sterkste signaal in een netwerk geseleeteerd en worden opnieuw op deze zender afgestemd. Als u deze functie gebruikt, kutn u onafgebrozenaar hetzelfde programma luisteren tijdens een lange rit+zonder dat u steeds handmatig opdezelfde zender hoeft af te stemmen.
TA (verkeersinformatie)/TP
(vereeksprogramma)
Hiermee ontvangt u de huidige verkeersinformatie/-programma's. De huidige bron worden onderbroken door eventuele verkeersinformatie/-programma's.
vervolg op volgende pagina
PTY (programmatypen)
Hiermee geeft u het ontvangen programmatype
weer. Hiermee zoekt u ook maar het
geselecteerde programmatype.
CT (kloktijd)
Met de CT-gegevens van de RDS-uitzending wordt de klok ingesteld.
Opmerkingen
- In bepaalde landen/regio's zich welticht nicht alle RDS-functions beschikbaar.
- RDS functioneert nicht als het ontvangstsignal te zwak is of als de zender waarop u hebt afgestemd, geen RDS-gegevens verzendt.
AF en TA instellen
1 Raakijdens de ontvangst/het afspelen "AF" of "TA" aan om de functie in te schakelen.
Wanner de functie wordt ingeschakeld,
wordt de kleur van de toets gewijzigd.
Raak de toets nogmaals aan om de functie uit te schaken.
RDS-zenders met de AF- en TAinstelling opslaan
U kunt RDS-zenders vooraf instellen met de AF-/TA-instelling. Als u de BTM-functie gebruikt, worden alleen RDS-zenders met bezelfde AF-/TA-instelling opgeslagen.
Als u handmatig vooraf instelt, kutu zowel RDS- als Niet-RDS-zenders instellen, elk met hun AF-/TA-instelling.
1 Stel AF/TA in en sla de zender verrolgens op met BTM of handmatig.
Noodberichten ontvangen
Als AF of TA is ingeschakeld, worden de geselecteerde bron automatisch onderbroken door de noodberichten.
Tip
Als u het volume aanpastijdens een verkeersbericht,\ wordt dat volume opgeslagen in het geheugen voor\ volgende verkeersberachten, onafhankelijk van het\ normale volume.
Een regionalaal programma beluisteren — Regional
Als de AF-functie is ingeschakeld: met de fabrieksinstellung van het apparaat worden ontvangst tot een bepaalde regio beperkt, zodate er niet automatisch worden overgeschakeld maar een andere regionale zender met een sterkere freqente.
Wanner u het ontvangstgebied van dit regionale programme verlaat, schakelt u de regionale functie uitijdens FM-ontvangst.
Raak "Receive Menu" en hetvak "Regional" aan om "OFF" in te stellen.
Opmerking
Deze functie werkt nicht in het Verenigd Koninkrijk en bepaalde andere gebieden.
Local Link-functie (alleen voor het Verenigd Koninkrijk)
Met deze functie=kunt u andere lokale zenders in het gebied selecteren, ook als deze Niet zich opgeslagen onder nummers.
1 Raakijdens de FM-ontvangst "Preset List" en een nummer ("P1" tot en met "P6") aan waaronder een lokale zender is opgeslagen.
2 Raak binnen 5 seconden nogmaals het nummer van de lokale zender aan. Herhaal dit tot de lokale zender worden ontvangen.
PTY selectoren
1 Raakijdens de FM-ontvangst "PTY List" aan.
De PTY-list wordt weergegeven als de zender PTY-gegevens uitzendt.
Als u door de lijst wilt schuiven, raakt u ▲/▼ aan.
2 Raak het gewenste programmatype aan.
Het apparaat zoekt een zender die het geselecteerde programmatype uitzendt.
Als u de PTY-liest wilt sluiten, raakt u "PTY List" aan.
Programmatypen
"News" (Nieuws), "Current Affairs" (Actualiteiten), "Information" (Informatie), "Sport" (Sport), "Education" (Educatie programme's), "Drama" (Toneel), "Cultures" (Cultuur), "Science" (Wetenschap), "Varied Speech" (Diversen), "Pop Music" (Populaire muziek), "Rock Music" (Rock-muziek), "Easy Listening" (Easy Listening), "Light Classics M" (Licht klassiek), "Serious Classics" (Klassiek), "Other Music" (Ander type muziek), "Weather & Metr" (Weerberichten), "Finance" (Financiën), "Children's Progs" (Kinderprogramma's), "Social Affairs" (Sociale zaken), "Religion" (Religie), "Phone In" (Phone In), "Travel & Touring" (Reizen), "Leisure & Hobby" (Ontspanning), "Jazz Music" (Jazz-muziek), "Country Music" (Country-muziek), "National Music" (Nationale muziek), "Oldies Music" (Oldies), "Folk Music" (Folk-muziek), "Documentary" (Documentaires)
Opmerking
U kunt deze functie Niet gebruiken in bepaalde landen/ regio'saar geen PTY-gegevens beschikbaar zich.
CT instellen
1 Stel "CT" in op "ON" bij deinstallingen (pageina 58).
Opmerkingen
- Het is möglich dat de CT-functionie nicht werkt, ook al worden er wel een RDS-zender ontvangen.
- Er kan een verschil zijn:tussen de tijd van de CT-functione en de werkelijkte tijd.
Geavanceerde bewerkingen — Discs
PBC-functions gebruiken — Afspeelbediening
VCD
Het PBC-menu assisteert interactief bij de bewerkingen wanner een PBC-compatible VCD worden afgespeeld.
1 Start het afspelen van een PBC-compatible VCD.
Het PBC-menu worden weergegeven.
2 Raak "PBC Panel" aan.
Het menubedieningspaneel wordt weergegeven.
3 Raak de cijfertoetsen aan om het gewenste item te selecteren en raak "Enter" aan.
4 Volg de instructies uit het menu voor interactieve bewerkingen.
Als u wilt terugkeren maar het vorige scherm, drukt u op .
Als u de bedieningselementen wilt verbergen, raakt u "Close" aan.
Afspelen zonder de PBC-functie
1 Terwijl het apparaat is uitgeschakeld, raakt u "Source List" en aan.
2 Raak "Visual" aan.
Het menu met beeldinstellungen worden weergegeben.
3 Raak / aan om te schuiven en raak "Video CD PBC" aan om "OFF" in te stellen.
4 Start het afspelen van een VCD.
Het PBC-menu worden nicht weergegeven tijdens het afspelen.
Opmerkingen
- De menu-items en bedieningsprocedures verschillen afhankelijk van de disc.
Tijdens afspelen met PBC worden het tracknummer, het weergave-item, enzovoort Niet weergegeven op het afspeelschemr. - Afspelen hervatten is nicht beschikbaarijdens afspelen zonder PBC.
Audio-installingen configureren
Opmerking
Discs in DTS-indeling worden nicht understand. Er wirden geeluid weergegeven als de DTS-indeling is geselecteerd.
De audiotaal/-indeling
wijzigen
DVD
DivX
Voor DVD kan de audiotaal worden gewijzigd als op de disc sporen met meer talen zich opgenomen. Voor DVD/DivX kut u de audioindeling wijzigen wanneer een af te spelen disc is opgenomen in meer dan een audio-indeling (bijvoorbeeld Dolby Digital).
Voor DVD
1 Raakijdens het afspelen "DVD Control" aan.
2 Raak "Audio" herhaaldelijk aan tot de gewenste audiotaal/-indeling worden weergegeven.

Audiotaal
Voor de audiotaal worden de beschikbare talen afwisselend weergegeven.
Wanner het invoerveld van 4 tekens worden weergegeven, voert u de taalcode (pagina 80) voor de gewenste taal in.
Wannerdezelfte taalmeer dan eens wordt weergegeven,is de disc opgenomen in meerdere audio-indelingen.
- De indelingsnaam en kanaalnummers worden als volgt weergegeben.
Voorbeeld: Dolby Digital 5.1-kanaals

Als u het DVD-bedieningsmenu wilt sluiten, raakt u "DVD Control" aan.
Voor DivX
1 Raakijdens het afspelen "Play Menu" aan en raak "Audio" herhaaldelijk aan tot de gewenste audio-indeling worden weergegeven.
Als u het afspeelmenu wilt sluiten, raakt u "Play Menu" aan.
Het audiokanaal wijzigen
VCD
CD
MP3
WMA
AAC
MPEG-4
Wanneer u VCD/CD/MP3/WMA/AAC/MPEG-4
afspeelt, kurz u het rechter- of linkerkanaal selectoren om dit te beluisteren via zowel de rechter- als de linkerluidspreker.
Hieronder vindt u de opties.
"2-Ch": standaardstereogeluid (standaardinstelling)
"L-Ch": geluid linkerkanaal (mono)
"R-Ch": geluid rechterkanaal (mono)
Voor VCD/CD/MP3/WMA/AAC
1 Raakijdens het afspelen "Play Menu" aan en raak "Stereo" herhaaldelijk aan tot het gewenste audiokanaal worden weergegeven.
Voor MPEG-4
1 Raakijdens het afspelen "Play Menu" aan en raak "Audio" herhaaldelijk aan tot het gewenste audiokanaal worden weergegeven.
Als u het afspeelmenu wilt sluiten, raakt u "Play Menu" aan.
Opmerking
Afhankelijk van de disc is het soms nicht möglich de audio-instelling te wijzigen.
Tip
U kunt de kaartafstandsbediening ook gebruiken voor deze handeling (druk herhaaldelijk op AUDIO).
Het audio-uitvoerniveau aanpassen
— Dolby D-niveau DVD
U kunt het audio-uitvoerniveau aanpassen van een DVD opgenomen in Dolby Digital-indeling om de verschillen in volumeniveau te reduceren:tussen disc en bron.
1 Raakijdens het afspelen "Play Menu" aan.
2 Raak hetvak "Adjust"aan om "ON"in te stellen.
3 Raak - / + herhaaldelijk aan om hetuitvoerniveau aan te passen.
U kunt het uitvoerniveau in stappen aanpassen:tussen -10 en +10
Als u hetafspeelmenu wilt sluiten,raakt u"Play Menu" aan.
Discs vergrendelen — Kinderbeveiliging
DVD
- Met uitzondering van DVD-R/DVD-R DL/DVD-RW in VR-stand.
U kunt een disc vergrendelen of
afspeelbepergingen instellen volgens een vooraf
ingesteld niveau, zoals de leeftijd van de kijker.
Beperkte scènes worden vergrendeld of
vervangen door andere scènes wonneer een DVD
die compatibel is met kinderbeveiliging, worden
afgespeeld.
Kinderbeveiliging inschakelen
1 Terwijl het apparaat is uitgeschakeld, raakt u "Source List" en aan.
2 Raak "Visual" aan.
Het menu met beeldinstellungen worden weergegeben.
3 Raak / aan om te schuiven en raak "DVD Parental Control" aan.
Het invoerschemm voor het wachtwoord worden weergegeven.
4 Raak de cijfertoetsen aan om uw wachtwoord in te voeren en raak "OK" aan.
5 Raak ter bevestiging de cijfertoetsen aan om uw wachtwoord opnieuw in te voeren en raak "OK" aan.
Het instellen is voltooid.
Als u een ingevoerd cijfer wilt verwijderen, raakt u "Clear" aan.
Als u wilt terugkeren maar het vorige scherm, raakt u "Back" aan.
Kinderbeveiliging uitschakelen
1 Volg stap 1 tot en met 3 hierboven. Het ontgrendelingschem voor de kinderbeveiliging worden weergegeven.
2 Raak de cijfertoetsen aan om uw huidige wachtwoord in te voeren. "Parental Unlocked" worden weergegeven en de kinderbeveiliging isuitgeschakeld.
Het wachtwoord wijzigen
Schakel de kinderbeveiliging uit en schakeldezeweer in met het neue wachtwoord.
Regio en bijbehorend filmbeperkingsniveau wijzigen
De beperkingsniveauaus kuren worden ingesteld aan de hand van de regio en het bijbehorende filmbeperkingsniveau.
1 Terwijl het apparaat is uitgeschakeld, raakt u "Source List" en aan.
2 Raak "Visual" aan.
Het menu met beeldinstellungen wird weergegeben.
3 Raak / aan om te schuiven en raak "DVD Parental Area" aan.
Als de kinderbeveiliging al is ingeschakeld,\ wordt het scherm voor het invoeren van het\ wachtwoord weergegeven.
Als u de instelling wilt wijzigen, voert u het wachtwoord in.
De opties worden weergegeven.
4 Raak de gewenste regio aan om het bijbehorende filmbeperkingsniveau toe te passen.
Wanner u "Other" selecteert, voert u met de cijfertoetsen de regiocode in die u selecteert op "Lijst met regiocodes" op pagina 80.
5 Raak "DVD Parental Rating" aan.
De opties worden weergegeven.
Hoe lager het getal, hoe strenger het beperkingsniveau.
6 Raak de gewenste classificatie aan.
Het instellen is voltooid.
Als u wilt terugkeren maar het vorige scherm, raakt u "Back" aan.
Herhaaldelijk en willekeurig afspelen
DVD
VCD
CD
MP3
WMA
AAC
JPEG
DivX
MPEG-4
1 Raakijdens het afspelen "Play Menu" aan en raak hetvak "Repeat" of "Shuffle" herhaaldelijk aan tot de gewenste optie worden weergegeven.

Herhaaldelijk of willekeurig afspelen worden gestart.
Als u het afspeelmenu wilt sluiten, raakt u "Play Menu" aan.
Hieronder vindt u de opties voor herhalen en de schakelvolgorde voor elke disc/indeling.
| Disc/indeling | Opties |
| DVD | "OFF": terugkeren maar de normale weergavestand. "Chapter": het huidige hoofdstuk herhalen. "Title": de huidige titel herhalen. |
| VCD*1 | "OFF": terugkeren maar de normale weergavestand. "Track": de huidige track herhalen. |
| CD | "OFF": terugkeren maar de normale weergavestand. "Track": de huidige track herhalen. |
| MP3 | "Album": het huidige album (map) herhalen. |
| WMA | "Off": terugkeren maar de normale weergavestand. "Image": het huidige beeld herhalen. |
| AAC | "Album": het huidige album herhalen. |
| JPEG | "OFF": terugkeren maar de normale weergavestand. "Image": het huidige beeld herhalen. |
| Disc/indeling | Opties |
| DivX | "OFF": terugkeren maar de normale weergavestand. |
| MPEG-4 | "Movie": het huidige videobestand herhalen. |
| "Album": het huidige album (map) herhalen. |
Hieronder vindt u de opties voor willekeurig afspelen en de schakelvolgorde voor elke disc/ indeling.
| Disc/indeling | Opties |
| DVD *2 | "OFF": terugkerenaar de normale weergavestand. "Title": de hoofdstukken in de huidige titel in willekeurige volgorde afspelen. |
| VCD *1 | "OFF": terugkerenaar de normale weergavestand. "Disc": de tracks op de huidige disc in willekeurige volgorde afspelen. |
| MP3 | "OFF": terugkerenaar de normale weergavestand. "Album": de tracks/beelden/ videobestanden in het huidige album (map) in willekeurige volgorde afspelen. |
| WMA | |
| AAC | |
| JPEG | |
| DivX | |
| MPEG-4 |
1 Alleen beschikbaar bij het afspelen van een versie 1.0/1.1-VCD of een versie 2.0-VCD zonder PBC-functionie.
2 Met uitzondering van DVD-R/DVD-R DL/DVD-RW in VR-stand.
Rechtstreeks afspelen
| DVD | VCD | C D | MP3 | WMA |
| AAC | JPEG | DivX | MPEG-4 |
U kunt een bepaald punt rechtstreeks vinden door het titelnummer, hoofdstuknummer, enzovoort op te gehen.
1 Druktijdens het afspelen op de cijfertoetsen op de kaartafstandsbediening om een itemnummer (track, titel, enzovoort) in te voeren en druk op ENTER. Het afspelen worden gestart vanaf het begin van het geselecteerde punt.
De Zoek items voor de disc/indeling zijn als volgt.
DVD: titel of hoofdstuk*1 VCD*2/CD/MP3/WMA/AAC: track JPEG: beeld DivX/MPEG-4: bestand
1 Het zoekitem is afhankelijk van de instelling.
2 Alleen beschikbaar bij het afspelen van een VCD zonder PBC-functie.
Het zoekitem instellen (alleen DVD)
U kunt het zoekitem (titel of hoofdstuk) voor het afspelen van DVD's instellen.
1 Raak "Source List" en aan.
2 Raak "Visual" aan. Het menu met beeldinstellungen worden weergegeben.
3 Raak / aan om te schuiven en raak "DVD Direct Search" aan om "Chapter" of "Title" in te stellen. Het instellen is voltooid.
Als u wiltteringukerenaar het vorigescherm, raaktu"Back"aan.
Bewerkingen voor USB-apparaten
Ga waar de ondersteuningsssite voor meer informatie over de compatibilititeit van het USB-apparaat.
Ondersteuningsssite
http://support.sony-europe.com/
- USB-apparaten van het type MSC (Mass Storage Class; massaopslag) en MTP (Media Transfer Protocol; protocol voor mediaoverdracht) die voldoen aan de USB-norm,+kunnen worden gezruikt.
- De bijbehorende codec is MP3 (.mp3), WMA (.wma), AAC (.m4a), JPEG (.jpg), DivX (.avi) en MPEG-4 (.mp4).
- U kunt het Beste een reservekopie van de gegevens op een USB-apparaat make.
Opmerkingen
- Sluit het USB-apparaat aan nadat u de motor hebt gestart. Afhankelijk van het USB-apparaat kan storing of schade ontstaan wonneer het apparaat worden aangesloten voordat de motor is gestart.
- Bij een groot bestand kan het longer duren voordat het afspelen worden gestart.
Een USB-apparaat afspelen
1 Verwijder het klepje van de USB-aansluiting en sluit het USB-apparaat aan op de USB-aansluiting. Het afspelen worden automatisch gestart. Als er een USB-apparaat is aangesloten, raakt u "Source List" en "USB/iPod" aan om het afspelen te starten.
Raadpleeg de bijgeleverde handleiding voor installmenta/aansluitingen voor meer informatie over de locatie van de USB-aansluiting.
Over de bedieningselementen en aanduidingenijdens het afspelen
U kunt het afspelen van het USB-apparaat op bezelfde manier bedieren als het afspelen van een disc. Zie "Bedieningselementen voor afspelen" op vagina 22 voor meer informatie. Zie "Aanduidingenijdens afspelen" op vagina 24 voor meer informatie over aanuidingenijdens het afspelen.
Het afspelen stoppen
Druk 1 seconde op SOURCE/OFF
vervolg op volgende pagina
Het USB-apparaat loskoppelen
Stop het afspelen en koppel het apparaat los. Koppel het USB-apparaat Niet losijdens het afspelen, omdat de gegevens op het apparaat hunnen worden beschadigd.
Opmerkingen over het gebruik
- Gebruik geen USB-apparaten die zo groot of zwaar zich dat ze kuren vallen als ze worden bloodgesteld aan trillingen of een losse aansluiting+kunnenveroorzaken.
- Laat een USB-apparaat Niet in een geparkeerde auto après, waar dit een storing tot gevolg kan hebben.
- Dit apparaat kan geen USB-apparaten via een USB-hub herkennen.
Opmerkingen over het afspelen
- Als een USB-apparaat meertere bestandstypen bevat, kan alleen het geseleeterde bestandstype (audio/video/beeld) worden afgespeeld. Zie "Een bestandstype selecteren" op pagina 39 voor meer informatie over het selecteren van het bestandtype.
- De weergegeven aanduidingen zich aufhankelijk van het USB-apparaat, de opname-indeling en de instelleningen. Ga waar de ondersteuningsssite voormeer informatie.
- Het maximum aantal gegevens dat kan worden weergegeven, is als volgt.
- mappen (albums): 256
- bestanden (tracks): 2.000
- Het kan enige tijd duren voordat het afspelen worden gestart, afhankelijk van het eenantal opgenomen gegevens.
- Als u een MP3-/WMA-/AAC-bestand met VBR (variabele bitsnelheid) afspeet of snel vooruit/ terugspoelt, worden de strevenke speelduur wellicht nicht nauwkeurig weergegeven.
- Het afspelen van bestanden die zonder geveensverlies zijn gecomprimeerd, worden nicht ondersteund.
Herhaaldelijk en willekeurig afspelen
1 Raakijdens het afspelen "Play Menu" aan en raak hetvak "Repeat" of "Shuffle" herhaaldelijk aan tot de gewenste optie worden weergegeven.
Herhaaldelijk of willekeurig aftspelen worden gestart.
De opties voor herhaaldelijk afspelen zijn als volgt.
"OFF": terugkeren maar de normale weergavestand.
"Track"/"Image"/"Movie"1: de huidige track of het huidige beeld/videobestand herhalen.
"Album": het huidige album (map) herhalen.
"Drive"2: het huidige station herhalen.
De opties voor willekeurig aftspelen zich als volgt.
"OFF": terugkeren maar de normale weergavestand.
"Album": de tracks/beelden/videobestanden in het huidige album (map) in willekeurige volgorde afspelen.
1 De opties zijn afhankelijk van het bestandstype.
2 Wanner twee of meer stations zijn gemaakt op het USB-apparaat.
Als u het afspeelmenu wilt sluiten, raakt u "Play Menu" aan.
Genieten van muziek op basis van uw stemming — SensMe™
Met de unieke functies "SensMeTM channels" en "SensMeTM mood" van Sony worden tracks automatisch gerangschnitt op kanaal of stemming en kurz u op intuitieve manier genieten van muziek.
Voordat u de SensMe™-functie gezruikt
Hieronder vindt u de basisprocedure die is vereist om de SensMeTM-functie op het apparaat te gebruiken.
"SensMe™ Setup" en "Content Transfer" installeren op de computer
Installer erst "SensMe™ Setup" en "Content Transfer" vanaf de bijgeleverde CD-ROM.

Een USB-apparaat registrieren met "SensMe™ Setup"
Sluit een USB-apparaat aan op de computer en voer de registratie met "SensMe™ Setup"uit om de SensMe™-functie op dit apparaat in te schaken.

Tip
De registriatie kan tegelijk met de installmentprocedure worden uitgevoerd of na de installmente.
3 Tracks over zetten maar het USB-apparaat met "Content Transfer"
Geluidspatronen van tracks要去en worden geanalyseerd met 12 TONE ANALYSIS, dat deel uitmaakt van "Content Transfer", om de tracks te künnen rangschikken op kanaal of stemming.
Terwijl het USB-apparaat is aangesloten op de computer, zet u door middel van slepen en neerzetten tracks vanuit Windows Verkenner of iTunes, enzovoort, overaar "Content Transfer".
De analyse en het overzetten van de tracks worden uitgevoerd met "Content Transfer".

4 Het USB-apparaat aansluiten en genieten van de SensMe™-functie op het apparatus
Sluit het ingestelde USB-apparaat aan. U kunt verzolgens genieten van "SensMe™ channels" of "SensMe™ mood" op dit apparaat.

"SensMe™ Setup" en "Content Transfer" installeren op de computer
Gebruik van de bijgeleverde software ("SensMeTM Setup" en "Content Transfer") is vereist om de SensMeTM-functionie op dit apparaat in te schaken.
Installer de software op uw computer vanaf de bijgeleverde CD-ROM.
1 Plaats de bijgeleverde CD-ROM in de computer.
De installmentwizard worden automatisch uitgevoerd.
2 Volg de instructies op het scherm om de installment te voltooien.
Een USB-apparaat registraren met "SensMe™ Setup"
Registratie van het USB-apparaat is vereist om de SensMe™-functie op het apparaat in te schakelen.
Als de registratie Niet tegelijk met de installmentie is uitgevoerd, volgt u de onderstaande stappen.
1 Start "SensMe™ Setup" op de computer.
2 Sluit een USB-apparaat aan op de computer.
3 Voltooi de registratie door de instructies op het scherm te volgen.
Tip
Als u een gereistiereerd USB-apparaat met geanalyseernde tracks aansluit, van de registratie van het USB-apparaat ongedaan worden gemaakt.
Tracks overzettenaar het USBapparaat met "Content Transfer"
Als u de SensMeTM-functie op dit apparaat wilt inschakelen,要去en tracks op het geregistreerde USB-apparaat worden geanalyseerd en overgezet met "Content Transfer".
1 Sluit het geregistreeerde USB-apparaat aan op de computer.
Maak de aansluiting voor "WALKMAN" via de MTP-modus.
Maak de aansluiting voor andere USB-appeparaten dan "WALKMAN" via de MSCmodus.
"Content Transfer" wordt automatisch gestart. Als er een bericht worden weergegeven, volgt u de instructies op het scherm om door te gaan.
2 Zet tracks door middel van slepen en neerzetten vanuit Windows Verkenner of iTunes, enzovoort over maar "Content Transfer".
De analyse en overdracht van de tracks worden gestart.
Raadpleeg de Help van "Content Transfer" voormeer informatie over bewerkingen.
Opmerking
De trackanalyse met 12 TONE ANALYSIS kan enigtijd duren, afhankelijk van de computeromgeving.
Tip
Niet alleen audiobestanden, maar ook beeld- of videobestanden kuren worden overgezet met "Content Transfer". Raadpleeg de Help van "Content Transfer" voor meer informatie.
Tracks in het kanaal afspelen — SensMe™ channels
Met "SensMe™ channels" worden tracks automatisch op basis van hun melodie gerangschnitt in kanalen. U kunt een kanaal selecteren en afspelen dat past bij uw stemmin aktiviteit, enzovoort.
1 Sluit een USB-apparaat aan dat is ingesteld voor de SensMe™-functie.
2 Raak "Source List" en "SensMe™" aan.
3 Raak "channels" aan.
De lijst met kanalen worden weergegeven.

4 Raak / aan om door de lijst met kanalen te schuiven.
Het afspelen van de eerste track in het huidige kanaal worden gestart vanaf het meest melodieuze of ritmische gedeelte van de track*.
5 Raak het gewenste kanaal aan.
Het afspelen van de tracks in het geselecteerde kanaal worden gestart.
Opmerkingen
- Afhankelijk van de track wordt deze möglichniet correct gedetecteerd of kan deze worden gerangschrift in een kanaal dat Niet past bij de stemming van de track.
- Als het aangesloten USB-apparaat veel tracks bevat, kan het eenigeijd duren voordat "SensMe™ channels" worden gestart, waar de gegevens要去en worden gelezen.
Tip
Tracks worden in willekeurige volgorde afgespeeld. De volgorde verschilt voor elke kanaalselectie.
Lijst met kanalen
Aanbevolen, Shuffle All
"Morning" (5:00 - 9:59)
"Daytime" (10:00 - 15:59)
"Evening" (16:00 - 18:59)
Night" (19:00 - 23:59)
"Midnight" (24:00 - 4:59)
Tracks aanbevolen voor elkeijd van de dag.
Stel de klok in (pageina 65) om het juiste kanaal waar te gehen.
"Shuffle All": alle geanalyseerde tracks worden in willekeurige volgorde afgespeeld.
■ Basiskanalen
Tracks worden afgespeeld op basis van het muziektype.
"Energetic":energieke tracks.
"Upbeat": vrolijke tracks om uw stemming te verbeteren.
Tracks afspelen die geschikt zich voor autorijden.
"Freeway": snelle, energieke tracks.
"Chillout Drive": ingetogen ballads.
"Weekend Trip": opbeurende, vrolijke tracks.
"Midnight Cruise": jazz of tracks met pianomuziek.
"Party Ride": levendige up-tempo tracks.
"Morning Commute": luchtige enHoldere tracks.
Bedieningselementen en aanduidingenijdens het afspelen van "SensMe™ channels"

A De bedieningstoetsen weergeven: "Source List", "ATT", "TA", "AF", "Navi", "Top". (pagea 22)
De lijst schuiven en een ander kanaal selecteren.
Het huidige kanaal.
Weergave van de albumhoes*1.
Deverstreken spelelduur,tracknaam, artiestennaam.
Afsplen onderbreken/afspelen hervatten.
Een track overslaan.
De ZAPPIN-stand openen. (pagina 39) Tijdens het afspelen van "SensMe™ channels" in de ZAPPIN-stand worden de meest melodieuze of ritmische gedeelten*2 van de tracks afgespeeld.
1 De aanbevolen grootte is:tussen 240 × 240 en 960 × 960 pixels.
2 Wordt möglichn nicht correct gedetecteerd.
Tracks afspelen via de stemmingskaart — SensMe™ mood
Met "SensMe™ mood" worden tracks verspreid als stippen op een stemmingskaart met twee assen, op basis van de kenmerken van de afzonderlijke tracks.
Als u het punt op de kaart aanraakt op basis van uw stemming, worden een cirkel weergegeven rondom het aangeraakte punt en worden de tracks binnen de cirkel afgespeeld.
1 Sluit een USB-apparaat aan dat is ingesteld voor de SensMe™-functie.
2 Raak "Source List" en "SensMe™" aan.
3 Raak "mood" aan.
De stemmingskaart met twee assen worden weergegeben.

Stippen die tracks vertegenwoordigen
4 Raak het gewenste punt op de kaart aan.
Er worden een cirkel weergegeven rond het aangeraakte punt en het afspelen van de tracks binnen de cirkel worden gestart.
Het afspelen van de eerste track worden gestart vanaf het meest melodieuze of ritmische gedeelte*.
- Wort mögelijk Niet correct gedetecteerd.
Opmerkingen
- Alleen de LASTE 200 tracks die zich overgezet met "Content Transfer", worden op de kaart gezet.
- Afhankelijk van de track worden deze möglichnest not correct gedetecteerd of kan deze op de kaart worden gezet op een positie die nicht past bij de stemming van de track.
- Als het aangesloten USB-apparaat veel tracks bevat, kan het eenigeijd duren voordat "SensMe™ mood" worden gestart, waar dat de gegevens要去en worden gelezen.
Tips
Op de stemmingskaart worden de huidige track aangegeven met een groene stip.
Tracks worden afgespeeld vanaf het middelpunt van de cirkel maar buiten toe.
vervolg op volgende pagina
Bedieningselementen en aanuidingenijdens het afspelen van "SensMe™ mood"

A De bedieningstoetsen weergeven: "Source List", "ATT", "TA", "AF", "Navi", "Top". (pagea 22)
3 De cirkel verplaatsen en tracks opnieuw indelen.
De grotte van de cirkel wijzigen: Klein, medium of groot.
Weergave van de albumhoes*1.
Deverstreken speelduur,tracknaam, artiestennaam.
F De parameters op de horizontale as wijzigen.
Een track overslaan.
Afsplen onderbreken/afspelen hervatten.
De ZAPPIN-stand openen. (pagina 39) Tijdens het afspelen van "SensMeTM mood" in de ZAPPIN-stand worden de meest melodieuze of ritmische gedeelten*2 van de tracks afgespeeld.
1 De aanbevolen grootte is:tussen 240 × 240 en 960 × 960 pixels.
2 Wordt möglichniet correct gedetecteerd.
De parameters op de horizontale as wijdigen
Op de stemmingskaart kunt u de parameters op de horizontale as wijzigen. Tracks worden opnieuw op de kaart gezet op basis van de kenmerken van de parameters.
Zie "Over iPod" op pagina 70 of ga waar de ondersteuningsssite voor meer informatie over de compatibiliteit van de iPod.
Ondersteuningsssite
http://support.sony-europe.com/
In deze handleiding worden "iPod" gelebrukt als algemene verwijzingaar de iPod-functions van de iPod en iPhone, tenzij anders aangegeven in de tekst of afbeeldingen.
Een iPod afspelen
1 Verlaag het volume op dit apparaat.
2 Verwijder het klepje van de USB-aansluiting en sluit de iPod aan op de USB-aansluiting.
Het gebruik van de optionele USB-kabel RC200IPV worden aanbevolen.*1
Raadpleeg de bijgeleverde handleiding voor het installereren/aansluten van de monitor vooreer informatie.
Het volgende scherm worden op de iPod weergegeven*2 en het afspelen worden gestart vanaf het item dat hetIRST is afgespeeld.
Als er al een iPod is aangesloten, raakt u "Source List" en "USB/iPod" aan om het afspelen te starten.

1 Als u video's op een iPod met video wilt afspelen, moet u de RC-200IPV gebruiken.
2 Wort dovt maybeik Niet weergegeven als er een iPod touch of iPhone is aangesloten of als de iPod het maarst is afgespeeld met passagiersbediening.
3 Pas het volume aan op dit apparaat.
Over de bedieningselementen en aanuidingenijdens het afspelen
U cunt het afspelen van de iPod opdezelfdemanier bedieren als het afspelen van een disc. Zie "Bedieningselementen voor afspelen" op pagina 22 voor meer informatie.
Zie "Aanduidingenijdens afspelen" op pagina 24 voor meer informatie over aanuidingenijdens het afspelen.
Het afspelen stoppen
Druk 1 seconde op SOURCE/OFF
De iPod loskoppelen
Stop het afspelen en koppel het apparaat los. Koppel de iPod Niet los tijdens het afspelen, waar dat de gegevens op het apparaat kutnen worden beschadigd.
Als de iPod die worden afgespeeld, is aangesloten op de dockconnector, schakelt dit apparaat over maar de hervattingsstand en worden het afspelen gestart in de stand die op de iPod is ingesteld. In de hervattingsstand is de instelling voor herhaaldelijk/willekeurig afspelen nicht beschikbaar.
Waarschuwing voor de iPhone
Wanner u een iPhone via USB aansluit, worden het telefoonvolume geregold op de iPhone zich. Teneinde plotselinge harde geluiden na een gesprek te voorkomen,要去 u het volume op het apparatusaat Niet verhogenijdens een telefoongesprek.
Opmerking
Dit apparaat kan geen iPod via een USB-hub herkennen.
Tips
- Wanner de contactsleutel in de ACC-positive is gezet terwij het apparaat is ingeschakeld, worden de iPod opgeladen.
- Als de iPod wordt losgekoppeldijdens het afspelen, wordt "USB device is not connected." op het scherm van het apparaat weergegeven.
De weergavestand instellen
U kunt een van de volgende weergavestanden instellen.
Voor het afspelen van audio
"Album", "Track", "Genre", " Playlist", "Artist", "Podcast"*
Voor het afspelen van video
"Movie", "Rental", "TV Show", "Music Video", " Playlist", "Podcast"*
- Wort mögilijk Niet weergegeven afhankelijk van de iPod-instelling.
1 Raakijdens het afspelen "List" aan.
2 Raak "MUSIC" of "VIDEO" aan.
3 Raak de gewenste weergavestand aan.
Raak het gewenste item aan in de lijst om het afspelen te starten.
Als u door de lijst wilt schuiven, raakt u / aan.
Items van de geselecteerde weergavestand overslaan
Raakijdens het afspelen - / + van de geselecteerde weergavestand aan.
Herhaaldelijk en willekeurig afspelen
1 Raakijdens het afspelen "Play Menu" aan en raak hetvak "Repeat" of "Shuffle" herhaaldelijk aan tot de gewenste optie worden weergegeven. Herhaaldelijk of willekeurig afspelen worden gestart.
Als u hetafspeelmenu wilt sluiten,raakt u"Play Menu" aan.
De opties voor herhaaldelijk afspelen zich als volgt.
Voor het afspelen van audio
"OFF": terugkeren maar de normale weergavestand.
"Track": de huidige track herhalen.
"Album"/"Podcast"/"Artist"/" Playlist"/
"Genre"*: het huidige item van de geselecteerde weergavestand herhalen.
Voor het afspelen van video
"OFF": terugkeren maar de normale weergavestand.
"Track": de huidige video herhalen.
"Rental"/"TV Show"/"Music Video"/
" Playlist"/"Podcast"*: het huidige item van de geselecteerde weergavestand herhalen.
De opties voor willekeurig afspelen zich als volgt.
Voor het afspelen van audio
"OFF": terugkeren maar de normale weergavestand.
"Album"/"Podcast"/"Artist"/" Playlist"/
"Genre"*: tracks van de geselecteerde weergavestand in willekeurige volgorde afspelen.
"Device": alle tracks op een iPod in willekeurige volgorde afspelen.
- Verschilt afhankelijk van de geselecteerde weergavestand.
Opmerking
De weergegeven opties komen möglichn nicht overeen met de daadwerkelijkke procedure.
Een iPod recktstreeks bedieren — Passagiersbediening
U kunt een iPod die op dit apparaat is aangesloten,rechtstreeks bedieren.
1 Raakijdens het afspelen "Play Menu" en hetvak "Passenger Control" aan om "ON" in te stellen.
Passagiersbediening uitschakelen
Raak hetvak"PassengerControl"aanom"OFF" in te stellen.
De weergavestand worden gewijzigd in de hervattingsstand.
Als u het afspeelmenu wilt sluiten, raakt u "Play Menu" aan.
Opmerkingen
- Als u video wilt uityoer aan dit apparaat,要去ude video-uitvoer van iPod inschakenel.
- Het volume kan alleen worden aangepast op dit apparaat.
- De installing voor herhaaldelijk afspelen is uitgeschakeld als de stand voor passagiersbediening worden geannuleerd.
Nuttige functies
Tracks/beelden/videobestanden in een lijst weergeven — List
Een track/beeld/videobestand selectoren

U kunt een lijst met albums/mappen/tracks/beelden/videobestanden weergeven en een itemuit de lijst kiezen om het af te spelen.
Deze functie is met name handig voor een disc in MP3-/WMA-/AAC-/JPEG-/DivX-/MPEG-4-indeling of een USB-apparaat met veel albums/tracks/enzovoort.
1 Raakijdens het afspelen "List" aan.
De lijst met categorieen of bestanden in het huidige item worden weergegeven.

Paginapositiebalk
Als u een niveau omhoog wilt gaan, raakt u aan.
Als u door de lijst wilt schuiven, raakt u ▲/▼ aan.
Als u waar andere pagina's wilt gaan, raakt u de paginapositiebalk aan.
2 Raak het gewenste item aan.
Het afsplen worden gestart.
Een bestandtype selectoren
MP3 WMA AAC JPEG DivX
MPEG-4
Als de disc/het USB-apparaat meerere bestandstypen bevat, kan alleen het geseleterde bestandtype (audio/video/beeld) worden afgeseeld. De afspeelvolgorde van bestandstypen is ingesteld op audio, video en nervolgens beeld (als de disc bijvoorbeeld videobestanden en beeldbestanden bevat, worden alleen videobestanden afgeseeeld). U kunt het bestandtype selecteren waarvan u een lijst wilt weergeven en nervolgens het bestand selecteren dat u wilt afspelen.
1 Raakijdens het afspelen "List" aan.
2 Raak _ en "Audio", "Image" of "Video" aan om het bestandstype te selectoren.
Als u het optienu wilt sluiten, raakt u "Close" aan.
3 Raak het gewenste bestand aan.
Het geselecteerde bestand worden afgespeeld.
Zoekenaar een track door te luisterenaar een gedeelte van een track — ZAPPIN™
CD
MP3
WMA
AAC
U aunt Zoekenaar een track die u wilt beluisteren door korte gedeelten van tracks op een disc of USB-apparaat op volgorde af te spelen.
Deze functie is bijvoorbeeld handig wanner u een track zoekt in de stand voor afspelen in willekeurige volgorde of herhaaldelijk afspelen in willekeurige volgorde.
1 Raakijdens het afspelen van audio "ZAP" aan.
Het afspelen worden gestart vanaf een gedeelte van de volgende track.
Het gedeelte worden een bepaalde tijd afgespeeld, waarna u een pieptoon hoog voordat het volgende gedeelte worden gestart.

2 Raak "ZAP" aan wonneer een track wordt afgespeeld waarnaar u wilt luisteren.
De track die u selecteert, worden in de normale weergavestand vanaf het begin afgespeeld. Herhaal stap 1 en 2 om nogmaals maar een track te zoeken in de ZAPPIN-stand.
Bij afspelen van "SensMe™ channels" of "SensMe™ mood"
Als u de ZAPPIN-stand inschakelt tijdens het afspelen van "SensMe™ channels" of "SensMe™ mood", worden de meest melodieuze of ritmische gedeelten* van de tracks afgespeeld. Zie "Genieten van muziek op basis van uwstemming — SensMe™" op paging 32 voor meer informatie over de SensMe™-functie.
- Wordt mögelijk nicht correct gedetecteerd.
Tips
- U kurz de afspeeltijd wijzigen (pagea 63), maar u kurz het geedeelte van de track dat worden afgespeeld, Niet selecteren.
- U kurz de piettoon tussen de gedeelten van tracks uitschakelen (pagea 63).
Gesture Command (bediening door middel van gebaren) gebruiken
U kunt veelgebruekte bewerkingen UITvoeren door de volgende bewegingen met uw vinger te makes op het ontvangst-/weergaveschem.
| Beweging | Actie |
| Eenhorizontaliteitlijn(links maarchts) | Radio-ontvangst:zenders met een hogerefrequentie zoeken.(Gelijk aan▶I.) |
| Afspelen van DVD/VCD:naar het volgende hoofdstuk/devolgende track gaan.(Gelijk aan▶I.) | |
| Afspelen van JPEG/DivX/MPEG-4kHznaar het volgende bestand/devolgende track gaan.(Gelijk aan▶I.) |
vervolg op volgende网页
| Beweging | Actie |
| Een horizontale lijn (rechts maar links) | Radio-ontvangst: zenders met een lagere freiertie zoeken. (Gelijk aan ↓↓.) |
| Afpelen van DVD/VCD:ণ het vorige hoofdstuk/de vorige track gaan. (Gelijk aan ↓↓.) | |
| Afpelen van JPEG/DivX/MPEG-4kHz:ণ het vorige bestand/de vorige track gaan. (Gelijk aan ↓↓.) | |
| Een verticale lijn (naar boven) | Radio-ontvangst: opgeslagen zenders ontvangen (hogere freiertie). |
| Afpelen van DVD/VCD/DivX/MPEG-4:ণ de video snel vooruitsspoelen. | |
| Afpelen van JPEGkHz:ণ het vologende album (map) gaan. (Gelijk aan "Album" +.) | |
| Een verticale lijn (naar beneden) | Radio-ontvangst: opgeslagen zenders ontvangen (lagere freiertie). |
| Afpelen van DVD/VCD/DivX/MPEG-4:ণ de video terugspoelen. | |
| Afpelen van JPEGkHz:ণ het vorige album (map) gaan. (Gelijk aan "Album" -.) |
De instructies voor Gesture Command weergeven
Raak aan wanner dit worden weergegeven in de rechterbovenhoek van het scherm.
Handsfree bellen en audio streamen — Bluetooth
Voordat u de Bluetooth-functie gezruikt
Basisprocedure van de Bluetooth-functie
1 Koppelen
Wanneer u voor het eerst verbinding maakt met Bluetooth-apparaten,要去en de apparaten onderling worden geregistreerd. Dit wordt "koppelen" genoemd. Deze registratie (koppelen) is alleen de eerste keer vereist. Daarna herkenen dit apparaat en de andere apparaten elkaar automatisch.

Opmerking
Als u de apparataregistratie op dit apparaat ongedaan maakt, moet u het koppelen opniewuuitvoeren.
2 Verbinding
Nadat de koppeling tot stand is gebracht, maakt u verbinding:tussen dit apparaat en het Bluetooth-apparaat. Afhankelijk van het apparaat kan de verbinding automatisch worden gemaakt tijdens het koppelen.

3 Handsfree bellen/Audio streamen
U aunt handsfree bellen/een gesprek ontvangen of audio beluisteren via dit apparaat.

Ga waar de ondersteuningsssite voor meer informatie over de compatibiliteit van het apparaat.
Ondersteuningsssite
http://support.sony-europe.com/
Bluetooth-statusaanduiding
XNV-L77BT/770BT

Signaalaanduiding voor Bluetooth*
XNV-L66BT/660BT

Signaalaanduiding voor Bluetooth*
- Gaat branden wonneer het Bluetooth-sigmaal is ingeschakeld.

| D | Geen: er is geen apparaat verbonden voor het streamen van audio. Knippert: de verbinding worden gemaatk. Brandt: verbonden met een apparaat. |
| E | Geen: er is geen mobiele telefoon verbonden om handsfree te bellen. Knippert: de verbinding worden gemaatk. Brandt: verbonden met een mobiele telefoon. |
| Yull | Signaalsterkte van de verbonden mobiele telefoon. |
| Resterende accuduur van de verbonden mobiele telefoon. |
De externe microfoon installeren
U要去 de externe microfoon (bijgeleverd) installereren om uw stem op te vangen verwijl u handsfree belt.
Raadpleeg de bijgeberde handleiding voor installment/aansluitingen voor meer informatie over het aansluien van de microloon.
Koppelen
Koppelen is alleen vereist wonneer u voor het eerst verbinding maakt met een Bluetooth-apparaat (mobiele telefoon, enzovoort).*1
Als u dit apparaat wilt verbinden met een Bluetooth-apparaat, moet u dezelfde toegangscode*2 op dit apparaat en op het Bluetooth-apparaat invoeren. De toegangscode kan een door u zich gekozen getal zijn of een getal dat worden bepaald door het Bluetooth-apparaat. Raadpleeg de handleiding van het Bluetooth-apparaat voor meer informatie.
vervolg op volgende pagina
1 Als u de apparaatRegistraratie op dit apparaat ongedaan maakt, moet u het koppelen opnieuw uitvoeren.
2 Toegangsgodekan ook "wachtwoord", "PIN-code", "PIN-summern" of "paswoord", enzvoort worden genoemd, afhankelijk van het Bluetooth-apparaat.
Tip
U kunt maximaal 9 apparaten koppelen.
Zoeken vanaf dit apparaat
Controlleroorafofzoeken(herkenbaar)is ingesteldophetandereBluetooth-apparaat.
1 Selecteer de Bluetooth-bron.
Als u een Bluetooth-telefoon wilt selecteren, drukt u op en raakt u "BT Phone" aan in het hoofdmenu.
Als u Bluetooth-audio wilt selecteren, raakt u "Source List" en "BT Audio" aan.
2 Raak "BT Menu" aan.
In het geval van Bluetooth-audio raakt u "Play Menu" en "BT Menu" aan. Het Bluetooth-instelmenu worden weergegeven.

3 Raak "Search" aan.
Er worden gezocht waar Bluetooth-apparaten waarmee verbinding kan worden gemaakt.*1*2
Als het zoeken is voltooid, worden de lijst met gedetecteerde apparaten*3 weergegeven.
1 Als het Bluetooth-sigmaal van dit apparaat isuitgeschakeld, worden het sigmaaal automatischingschakeld wanner het zoeken wordengestart.
2 De Zoektijd is afhankelijk van het,aantal apparaten waarmee verbinding kan worden gemaakt.
*3 De nomn of het adres (indien er geen naam beschikbaar is) van gedetecteerde apparaten wordt weergegeven.
4 Raak het apparaat aan waarkee u verbinding wilt make.
5 Selecteer het verbindingstype.
Raak "Handsfree Connect" aan als u het apparaat wilt gebruiken voor handsfree bellen.
Raak "Audio Connect" aan als u het apparaat wilt gebruiken voor het streamen van audio.
Het koppelen worden gestart en het scherm voor het invoeren van de toegangscode worden weergegeven.
6 Raak de cijfertoetsen aan om uw toegangscode in te voeren en raak "OK" aan.
Voer de vereiste bewerking ook op het andere Bluetooth-apparaat UIT.
Het koppelen is voltooid en dit apparatus is verbonden met het andere Bluetooth-apparaat.
Als de verbinding tot stand is gebracht, worden of weergegeven onder aan het scherm.
Zoeken vanaf het Bluetooth-apparaat
De procedure voor het zoekenaar dit apparaat vanaf het andere Bluetooth-apparaat worden hieronder uitgelegd.
1 Selecteer de Bluetooth-bron.
Als u een Bluetooth-telefoon wilt selecteren, drukt u op en raakt u "BT Phone" aan in het hoofdmenu.
Als u Bluetooth-audio wilt selecteren, raakt u "Source List" en "BT Audio" aan.
2 Raak "BT Menu" aan.
In het geval van Bluetooth-audio raakt u "Play Menu" en "BT Menu" aan.
Het Bluetooth-instelmenu worden weergegeven.
3 Raak "Signal" en verwolgens "Yes" aan om "Signal" in te stellen op "ON". Het Bluetooth-si gnaal van dit apparaat worden geactiveerd.
4 Raak "Discoverable" aan om het apparaat in te stellen op "Show".
Het apparaat kan worden herkend door het andere Bluetooth-apparaat.
5 Zoek dit apparaat vanaf het andere Bluetooth-apparaat.
Als het zoeken is voltooid, worden dit apparaat weergegeven als "Sony Automotive"* in de lijst op het andere Bluetooth-apparaat.
- Kan worden gewijzigd in de Bluetooth-instelling (pagina 51).

Nadat u de vereiste bewerking hebttuitgevoerd op het andere Bluetooth-apparaat,wordt het scherm voor het invoeren van detoegangscode weergegeven op dit apparaat.
6 Raak de cijfertoetsen aan om uw toegangscode in te voeren en raak "OK" aan.
Het koppelen is voltooid en dit apparatus is verbonden met het andere Bluetooth-apparaat.
Als de verbinding tot stand is gebracht, worden of weergegeven onder aan het scherm.
Opmerkingen
- Als u verbinding maakt met een Bluetooth-apparaat, kan dit apparaat Niet worden herkend vanaf een ander apparaat. Als u herkenning wilt inschaken, verbreekt u de huidige verbinding en zoekt u vanaf het andere apparaat maar dit apparaat.
- Zoeken vanaf dit apparaat is wellicht nicht möglich, afhankelijk van het apparaat. Zoek in dat geval vanaf het andere apparaat maar dit apparaat.
- Als u tegelijkertijd zoekt maar dit apparaat en het andere apparaat, herkent dit apparaat het andere apparaat Niet.
- Het Zoeken of verbinding makes kan enigeijd duren.
- Afhankelijk van het apparatusaat kan het venster voor het bevestigen van de verbinding worden weergegeven voordat u de toegangscode要去 invoeren.
- De beschikbareijd om de toegangscode in te voeren, is afhankelijk van het apparaat.
- Dit apparaat kan nicht worden verbonden met een apparaat dat allen ondersteuning biedt voor HSP (Head Set Profile).
Verbinden
Wonneer het contact wordt ingeschakeld verwijl het Bluetooth-signaal is geactiveerd, zoekt dit apparaat maar het Bluetooth-apparaat waarmee als liaoste verbinding is gemaatk, en wordt de verbinding automatisch tot stand gebracht als dit möglichk is.
In dit hoofdstuk worden beschreiben hoe u handmatig verbinding kunt makes met geregistreerde Bluetooth-apparaten.
Voordat u begint, moet u het Bluetooth-signaal op zowel dit apparaat (pagea 51) als op het andere Bluetooth-apparaat inschaken.
1 Selecteer de Bluetooth-bron.
Als u een Bluetooth-telefoon wilt selecteren, drukt u op en raakt u "BT Phone" aan in het hoofdmenu.
Als u Bluetooth-audio wilt selecteren, raakt u "Source List" en "BT Audio" aan.
2 Raak "BT Menu" aan.
In het geval van Bluetooth-audio raakt u "Play Menu" en "BT Menu" aan. Het Bluetooth-instelmenu worden weergegeven.
3 Raak "Device List" aan.
De lijst met geregistreerde Bluetooth-apparaten worden weergegeven.
Als u door de lijst wilt schuiven, raakt u / aan.
4 Raak het apparaat aan waarkee u verbinding wilt make.
5 Selecteer het verbindingstype.
Raak "Handsfree Connect" aan als u het apparaat wilt gebruiken voor handsfree bellen.
Raak "Audio Connect" aan als u het apparaat wilt gebruiken voor het streamen van audio.
De verbinding is gemaakt.
Als de verbinding tot stand is gebracht, wordt of weergegeven onder aan het scherm.
In de apparatenlijst worden het momenteel verbonden apparaat aangeduid door het pictogram voor de naam.
Verbinding makes vanaf het andere Bluetooth-apparaat
Stel het andere Bluetooth-apparaat in om verbinding te make met dit apparatus.
Als de verbinding tot stand is gebracht, worden of weergegeven onder aan het scherm.
Verbinding verbeken
1 Volg stap 1 tot en met 3 hierboven.
2 Raak het momenteel verbonden apparaat aan en vervolgens "Handsfree Disconnect" of "Audio Disconnect".
Alle registriates verwijderen
1 Volg stap 1 tot en met 3 hierboven.
2 Raak "Delete All" en "Yes" aan in het bevestigingschem.
Een afzonderlijke registratie verwijderen
1 Volg stap 1 tot en met 3 hierboven.
2 Raak het apparaat aan dat u wilt verwijdenen en raak "Delete this device from List" aan.
3 Raak "Yes" aan in het bevestigingschem.
vervolg op volgende pagina
Verbinding makes met hetIRST verbonden apparaat vanaf dit apparaat (alleen Bluetooth Audio)
Raak "Source List", "BT Audio", en "Connect" aan.
Opmerking
Als er verbinding worden gemaaktijdens het streamen van audio,hoort u wellicht geluid door het geluid dat wordt afgespeeld.
Tip
U kunt een mobiele telegram aansluiten voor het streamen van audio als deze A2DP (Advanced Audio Distribution Profile) ondersteunt.
Handsfree bellen
Zodra het apparaat is aangesloten op de mobiele telefoon,kest u handsfree bellen/een gesprek ontvangen door dit apparaat te bedieren.
Bellen
Door een telefoonnummer te kiezen
1 Druk op en raak "BT Phone" aan in het hoofdmenu.
Het scherm Bluetooth Phone wordt weergegeven.

2 Raak "Call Menu" en "Dial" aan.
Het scherm voor het invoeren van het nummer worden weergegeven.

3 Raak de cijfertoetsen aan om het telefoonnummer in te voeren en raak aan.
Als u een ingevoerd cijfer wilt verwijderen, raakt u x aan.
Er worden gebeld en het oproepschemm worden weergegeven tot de andere person opneemt.

Met het telefoonboek
Zie "Telefoonboekbeheer" op pagina 46 voormeer informatie over het beheren vantelefoonboekgegevens.
1 Druk op en raak "BT Phone" aan in het hoofdmenu.
Het scherm Bluetooth Phone wordt weergegeven.
2 Raak "Call Menu" en "Phonebook" aan.
Het telefoonboek worden weergegeven.
3 Selecteer de gewenste contactperson.
Raak in de lijst met initiaLEN de eerste letter van de naam van de contactpersoon aan.
Raak in de lijst met Namede naam van de contactpersoon aan.
Raak in de lijst met nummers het telefoonnummer aan.
Het bevestigingschem voor contactpersonen worden weergegeven.
4 Raak "Call" aan.
Er worden gebeld en het oproepschemm worden weergegeven tot de andere person opneemt.
Tip
U kunt op dit apparaat ook door het telefoonboek bladeren van de verbonden mobiele telefoon een via dit apparaat bellen (pagea 47).
Met de gespreksgeschiedenis
De staat 20 gesprekken worden opgeslagen op het apparaat, waardoor u er snel een kunt selecteren in de lijst.
1 Druk op en raak "BT Phone" aan in het hoofdmenu. Het scherm Bluetooth Phone worden weergegeven.
2 Raak "Call Menu" en "Recent Call" aan. De lijst met de gespreksgeschiedenis wor weergegeven. Als u door de lijst wilt schuiven, raakt u aan.
3 Raak het gewenste item aan in de lijst. Het bevestigingschem voor contactpersonen worden weergegeven.
4 Raak "Call" aan.
Er worden gebeld en het oproepschem wordt weergegeven tot de andere person opneemt.
Met de snelkeuzetoets
U kunt maximaal 6 contactpersonen opslaan met de snelkeuzetoets. Zie "Snelkeuzetoets" op pagina 49 voor meer informatie over het opslaan.
1 Druk op en raak "BT Phone" aan in het hoofdmenu.
Het scherm Bluetooth Phone wordt weergegeven.
2 Raak het nummer aan in de lijst ("P1" tot en met "P6").
Het bevestigingschem voor contactpersonen worden weergegeven.
3 Raak "Yes" aan.
Er worden gebeld en het oproepschemm worden weergegeven tot de andere person opneemt.
Met de spreakkeuzefunctie
U kunt bellen met het spreaklabel dat is opgeslagen op de verbonden mobiele telefoon.
1 Druk op en raak "BT Phone" aan in het hoofdmenu.
Het scherm Bluetooth Phone wordt weergegeven.
2 Raak "Voice Dial" aan.
3 Sreek het spreaklabeluit dat op de mobiele telefoon is opgeslagen.
Uw stem worden herkend en er worden gebeld. Het oproepschem wordt weergegeven tot de andere person opneemt.
Opmerkingen
- Spreek het spreaklabel opdezelfde manieruit als het label is opgeslagen op de mobiele telefoon.
- Als de spreakkeuzefunctie is ingeschakeid op de verbonden mobiele telefon, werkt deze möglichniet via dit appararaat.
-
Gebruik de spreakkeuzefunctie Niet op de mobiele telefoon als deze is verbonden met dit apparaat.
-
Lawaai, zoals een lopende motor, kan de geluidsherkenning verstoren. Om de herkenning te verbeteren,要去 u de functie gebruiken bij omstandigheden met zo min möglichk lawaai.
- Spraakkeuze werkkt möglichnest, afhankelijk van de herkenningsspecificaties van de mobiele telefoon. Ga waar de ondersteuningssite voor meer informatie.
Het volume aanpassen
Druk op + / - tijdens een gesprek. Het volume van het stemgeluid worden opgeslagen in het geheugen, onafhankelijk van het normale volume.
Gesprekken ontvangen
Als het apparaat is aangesloten op de mobiele telefoon,kest u in elke status een gesprek ontvangen.
Het volgende scherm geeft een binnenkomend gesprek aan, naast de beltoon.

Het gesprek beantwoorden
Raak aan.
Het beltoonvolume aanpassen
Druk op + / - als u een gesprek ontvangt. Het volume van de beltoon worden opgeslagen in het geheugen, onafhankelijk van het normale volume.
Een gesprek weigeren
Raak aan.
Opmerking
De beltoon en het stemgeluid worden alleen uitgevoerd via de voorluidsprekers.
Tips
- U kurz instellen dat een gesprek automatisch worden beantwoord (agina 51).
- U=knt instellen dat de beltoon van de mobiele telefoon of dit apparaat worden gebruikt (pagea 51).
Bewerkingen tijdens een gesprek
Het volgende scherm worden weergegevenijdens een gesprek.

Het volume aanpassen
Druk op () + / - tijdens een gesprek.
Het volume van het stemgeluid wordt opgeslagen in het geheugen, onafhankelijk van het normale volume.
Raak "Open Keypad" en de vereiste cijfertoetsen aan.
Het huidige gesprek overzetten maar de mobiele telefoon
Raak "Handsfree OFF" aan.
Als u wee wilt terugschakelenaar handsfree bellen,raaktu "Handsfree ON" aan.
Opmerking
Afhankelijk van de mobiele telefoon, kan de verbinding worden verbroken wonneer u probeert een gesprek door te schaken.
Het volume aanpassen voor de andere persoon
1 Raak "BT Menu" aan.
2 Raak / aan om te schuiven en raak "MIC Gain" aan.
3 Raak - / + aan om het niveau aan te passen.
U kunt het niveau aanpassen in afzonderlijke stappen, tussen -2 en +2 .
4 Raak herhaaldelijk "Back" aan om terug te keren maar de vorige schermen.
Een gesprek beeindigen
Raak aan.
Telefoonboekbeheer
U kunt maximaal 300 contactpersonen opslaan in het telefoonboek en er konnen maximaal 5 telefoonnummers worden opgeslagen voor elke contactpersoon.
Opmerkingen
- Voordat u uw auto waar de sloop brengt of verkoopt met dit apparaat erin, is het belangrijk dat u op de reset-toets drukt en alle telefoonboekegeevens in dit apparaat wist zodate u maybele teogang zonder uw toestemming voorkomt. Als u de voedingskabel loskoppelt, worden de telefoonboekegeevens ook gewist.
- Gedownloade gegevens van een mobiele telefoon hunnen Niet worden overschreiben door十几年e gegevens. Sommige gegevens (naam, enzovoort) hunnen dadoor echter dubbel voorkomen.
- Telefooonboekgegevens können verloren gaan als dit apparaat beschadigd raakt.
- Als u dit aparaat weggooit, moet u de telefoonboekgegevens verwijderen door te initialiseren (pagea 51).
Telefoonboekgegevens opslaan
Downloaden van een mobiele telefoon
Als de verbonden mobiele telefon PBAP (Phone Book Access Profile) ondersteunt,kest u telefoobnoekegeevens downloads en opslaan op dit apparatus.
1 Druk op en raak "BT Phone" aan in het hoofdmenu.
Het scherm Bluetooth Phone wordt weergegeven.
2 Raak "PB Access" aan.
Het toegangsmenu voor het telefoonboek wordt weergegeven.
3 Raak "Access" aan om het geheugen te selecteren waar in de telefoonboekgegevens worden opgeslagen.
Als u de gevevens van het interne geheugen van een mobiele telefoon wilt downloaden, stelt u "Memory" in.
Als u de gegevens op een SIM wilt downloaden, stelt u "SIM" in.
4 Raak "Phonebook Download" aan.
Als het downloaden is voltooid, worden "Complete" weergegeven en worden de telefoonboekgegevens op dit apparaat opgeslagen.
Ontvangen van een mobiele telefoon
U kunt telefoonboekgegevens van de verbonden mobiele telefooz verzenden en ontvangen op dit apparaat.
1 Druk op en raak "BT Phone" aan in het hoofdmenu.
Het scherm Bluetooth Phone wordt weergegeven.
2 Raak "Call Menu" en "Receive Phonebook" aan.
Dit apparaat is gereed voor het ontvangen van telefoonboekgegevens.
3 Verzend de telefoonboekgegevens via de verbonden mobiele telefoon.
Als het ontvangen is voltooid, worden "Complete" weergegeven en worden de telefoonboekgegevens op dit apparaat opgeslagen.
Een contactpersoon toevoegen door de naam en het nummer in te voeren
1 Druk op en raak "BT Phone" aan in het hoofdmenu.
Het scherm Bluetooth Phone wordt weergegeven.
2 Raak "Call Menu" en "Phonebook" aan.
Het telefoonboek worden weergegeven.
3 Raak "Add Contact" aan.
Het registratieschem voor contactpersonen wordt weergegeven.

4 Raak "Empty" aan op de eerste regel.
Het scherm voor het invoeren van de naam worden weergegeven.
5 Raak de toetsen met tekens aan om de naam in te voeren en raak "OK" aan.
Zie "Informatie over het toetsenbord voor het bewerken van de naam" op pagina 49 voormeer informatie over het gebruiken van het toetsenbord.
Het registratieschem voor contactpersonen wordt opnieuw weergegeven.
6 Raak "Empty" aan.
Het scherm voor het invoeren van het nummer worden weergegeven.
7 Raak de cijfertoetsen aan om het telefoonnummer in te voeren en raak "OK" aan.
Het scherm voor het selecteren van het type telefoonnummer wordenweergegeven.
Raak het gewenste type telefoonnummer aan.
Het registratieschem voor contactpersonen wordt opnieuw weergegeven.
Als u nog meer telefoonnummers wilt invoeren, herhaalt u stap 6 tot en met 8.
9 Raak "Add to Phonebook?" aan.
De contactperson wordt toegevoegd aan het telefoonboek.
Een contactpersoon toevoegen uit de gespreksgeschiedenis
1 Druk op en raak "BT Phone" aan in het hoofdmenu.
Het scherm Bluetooth Phone wordt weergegeven.
2 Raak "Call Menu" en "Recent Call" aan.
De lijst met de gespreksgeschiedenis worden weergegeben.
Als u door de lijst wilt schuiven, raakt u / aan.
3 Raak het item aan dat u wilt toevoegen aan het telefoonboek.
Het bevestigingschem voor contactpersonen worden weergegeven.
4 Raak "Save to Phonebook" aan.
Het scherm voor het invoeren van de naam worden weergegeven.
5 Raak de toetsen met tekens aan om de naam in te voeren en raak "OK" aan.
Zie "Informatie over het toetsenbord voor het bewerken van de naam" op pagina 49 voor meer informatie over het gebruiken van het toetsenbord.
De contactperson wordt toegevoegd aan het telefoonboek.
In een telefoonboek bladeren op een mobiele telefoo
Als de verbonden mobiele telefoon PBAP (Phone Book Access Profile) ondersteunt,kest u door de telefoonboekgegevens bladeren op dit apparaat.
U aunt ook een contactpersoon bellen of de contactpersoon toevoegen aan het telefoonboek van dit apparatus.
vervolg op volgende pagina
1 Druk op en raak "BT Phone" aan in het hoofdmenu. Het scherm Bluetooth Phone worden weergegeven.
2 Raak "PB Access" aan.
Het toegangsmenu voor het telefoonboek wordt weergegeven.
3 Raak "Access" aan om het geheugen te selecteren waar in de telefoonboekgegevens worden opgeslagen. Als u door de gevegens in het interne geheugen van een mobiele telefoon wilt bladeren, stelt u "Memory" in. Als u door de gevegens op een SIM wilt bladeren, stelt u "SIM" in.
4 Raak "Phonebook Browsing" aan. Het telefoonboek van de verbonden telefoon wordt weergegeven.
5 Selecteer de gewenste contactperson.
Raak in de lijst met initialen de eerste letter van de naam van de contactpersoon aan.
Raak in de lijst met name den naam van de contactpersoon aan.
Raak in de lijst met nummers het telefoonnummer aan.
Het bevestigingschem voor contactpersonen worden weergegeven.
De contactpersoon bellen
Raak het telefoonnummer aan dat u wilt bellen en raak cervolgens "Yes" aan in het bevestigingssschem.
De contactpersoon toevoegen aan het telefoonboek van dit apparatus
Raak "Save to Phonebook" en "Yes" aan in het bevestigingsschem.
Telefoonboekgegevens verwijderen
Alle telefoonboekgegevens op dit apparaat verwijderen
1 Druk op en raak "BT Phone" aan in het hoofdmenu.
Het scherm Bluetooth Phone wordt weergegeven.
2 Raak "Call Menu" en "Phonebook" aan.
Het telefoonboek worden weergegeven.
3 Raak "Delete All" aan.
Het bevestigsschem wordt weergegeven.
4 Raak "Yes" aan.
Alle telefoonboekgegevens worden verwijderd.
Een afzonderlijke contactpersoon verwijderen uit het telefoonboek
1 Volg stap 1 en 2 hierboven.
2 Selecteer de contactpersoon die u wilt verwijderen.
Raak in de lijst met initiaalen de eerste letter van de naam van de contactpersoon aan.
Raak in de lijst met name denaam van de contactpersoon aan.
3 Raak "Delete Contact" aan.
Het bevestigsschem wordt weergegeven.
4 Raak "Yes" aan. De contactpersoon worden verwijderd uit het telefoonboek.
Een contactpersonbewerken
1 Druk op TOP en raak "BT Phone" aan in het hoofdmenu.
Het scherm Bluetooth Phone wordt weergegeven.
2 Raak "Call Menu" en "Phonebook" aan.
Het telefoonboek worden weergegeven.
3 Selecteer de contactpersoon die u wilt bewerken.
Raak in de lijst met initiaalen de eerste letter van de naam van de contactpersoon aan.
2 Raak in de lijst met name den naam van de contactpersoon aan.
4 Raak de gewenste optie voor bewerken aan.
| Aanraken | Actie |
| "Edit Name" | De naam van de contactpersoon bewerken. Voer de{nieuwe naam in en raak "OK" aan. |
| "Add Number" | Het telefoonnummertoevoegen aan decontactpersoon. Voerhet telefoonnummer inen raak "OK" aan. |
Het
telefoonnummer
in de lijst
Het geseleeteerde telefoonnummer verwijden. Raak "Delete Number" en "Yes" aan.
Informatie over het toetsenbord voor het bewerken van de naam

| Aanraken | Actie |
| "ABC" of "abc" | Schakelenussenkleine en hoofdletters. |
| De gewenstelettertoets | De letter invoeren. |
| "123" | Overschakelenaar het numerieke toetsenbord. |
| De gewenste@cijfer/symbooltoets | Het cijfer/symbol invoeren. |
| "Space" | Een spatie invoeren. |
| ✕ | Een teken verwijderen. |
| "OK" | Het bewerken van de naam voltooien. |
Beheer van gespreksgeevens
Gespreksgeschiedenis
U kunt de items uit de gespreksgeschiedenis verwijdenen.
Alle items uit de gespreksgeschiedenis verwijderen
1 Druk op en raak "BT Phone" aan in het hoofdmenu.
Het scherm Bluetooth Phone wordt weergegeven.
2 Raak "Call Menu" en "Recent Call" aan.
De lijst met de gespreksgeschiedenis worden weergegeben.
3 Raak "Delete All" aan.
Het bevestigingscherm worden weergegeven.
4 Raak "Yes" aan.
Alle items uit de gespreksgeschiedenis worden verwijderd.
Een afzonderlijk item uit de gespreksgeschiedenis verwijderen
1 Volg stap 1 en 2 hierboven.
2 Raak in de lijst het item aan dat u wilt verwijderen.
Het bevestigingschem voor contactpersonen worden weergegeven.
3 Raak "Delete Number" aan.
Het bevestigingscherm worden weergegeven.
4 Raak "Yes" aan.
Het geselecteerde item worden verwijderd uit de gespreksgeschiedenis.
Snelkeuzetoets
U aunt contactpersonen in het telefoonboek ofuit de gespreksgeschiedenis opslaan onder desnelkeuzetoetsen.
Opslaan vanuit het telefoonboek
1 Druk op en raak "BT Phone" aan in het hoofdmenu.
Het scherm Bluetooth Phone wordt weergegeven.
2 Raak "Call Menu" en "Phonebook" aan.
Het telefoonboek worden weergegeven.
3 Selecteer de contactpersoon die u wilt opslaan als snugkeuzenummer.
Raak in de lijst met initiaLEN de eerste letter van de naam van de contactpersoon aan.
Raak in de lijst metename denaam van de contactpersoon aan.
Raak in de lijst met nummers het telefoonnummer aan.
Het bevestigingschem voor contactpersonen worden weergegeven.
4 Raak "Preset Memory" aan en raak het gewenste snelkeuzenummer aan ("P1" tot en met "P6").
De contactperson wordt opgeslagen met het geselecteerde snugkeuzenummer.
vervolg op volgende pagina
Opslaan vanuit de gespreksgeschiedenis
1 Druk op en raak "BT Phone" aan in het hoofdmenu.
Het scherm Bluetooth Phone wordt weergegeven.
2 Raak "Call Menu" en "Recent Call" aan.
De lijst met de gespreksgeschiedenis worden weergegeben.
Als u door de lijst wilt schuiven, raakt u / aan.
3 Raak het gewenste item aan in de lijst.
Het bevestigingschem voor contactpersonen worden weergegeven.
4 Raak "Preset Memory" aan en raak het gewenste snelkeuzenummer aan ("P1" tot en met "P6").
De contactpersoon worden opgeslagen met het geselecteerde snugkeuzenummer.
De registratie van de snelkeuzetoets wijzigen
Volg de bovenstaande procedure om een geregistreerd snelkeuzenummer te overschrijven.
De persoonlijke gegevens vergrendelen
Als u onbevoegde toegang tot persoonlijke geveens wilt voorkomen, kurz u de gespreksgeveens vergrendelen met een 4- cijferige code.
Als de gevevens zijn vergrendeld, moet u de code invoeren om toegang te krijgen tot de items in het gespreksmenu.
1 Druk op en raak "BT Phone" aan in het hoofdmenu.
Het scherm Bluetooth Phone wordt weergegeven.
2 Raak "Call Menu" en "PIM Security" aan.
Het invoerschem voor de code worden weergegeven.
4 Raak de cijfertoetsen aan om uw code in te voeren en raak "OK" aan.
5 Raak ter bevestiging de cijfertoetsen aan om uw code opnieuw in te voeren en raak "OK" aan.
Het instellen is voltooid.
Als u een ingevoerd cijfer wilt verwijderen, raakt u "Clear" aan.
Als u wiltteringukerenaar het vorigescherm, raaktu"Back"aan.
De gespreksgegevens ontgrendelen
1 Volg stap 1 en 2 hierboven. Het bevestigingssschem worden weergegeven.
2 Raak "Yes" aan.
Het scherm voor ontgrendelen worden weergegeven.
3 Raak de cijfertoetsen aan om uw code in te voeren.
"Complete" wordt weergegeven en de gespreksgegevens zijn ontrendeld.
Audio streamen
Luisteren maar een Bluetooth-apparaat via dit apparaat
Als het andere apparaat A2DP (Advanced Audio Distribution Profile) van Bluetooth-technologie ondersteunt,(Intucht u via dit apparaat luisteren maar het geluid dat wordt afgespeeld.
1 Maak verbinding:tussen dit apparatusen het Bluetooth-audioapparaat (pagina 43).
2 Verlaag het volume op dit apparaat.
3 Raak "Source List" en "BT Audio" aan. Het scherm Bluetooth Audio worden weergegeven.
4 Start het afspelen op het ander Bluetooth-apparaat.
5 Pas het volume aan op dit apparaat.
Het Bluetooth-apparaat bedienen met dit apparaat
Als het andere apparaat AVRCP (Audio Video Remote Control Profile) van Bluetooth-technologie ondersteunt,(Intu het afspelen bedieren op dit apparaat.
Bewerkingen können op bezelfde manier worden uitgevoerd als het afspelen van een disc (pageina 22), met uitzondering van het volgende.
| Aanraken | Actie |
| "Play Menu" → "BT Menu" | Het menu voor Bluetooth-instellingen openen (pagea 51). |
| -/+ in hetvak "Level" | Het verschil in volumeniveauussen dit apparaat en het andere Bluetooth-apparaat verminderen. Het nivea kan stapsgewijs worden aangepast van -8 tot +18. |
| "Connect" | Verbinding makes met het laatste verbonden apparaat vanaf dit apparaat. |
Opmerkingen
- De bediening verschit per Bluetooth-apparaat. Voer nicht-beschikbare bewerkingen uit op het Bluetooth-apparaat.
- Afhankelijk van het Bluetooth-apparaat is het möglichnest nodig om twee koer aan te raken om het afspelen te starten/onderbreken.
Tijdens het streamen van audio worden sommige waanduidingen zoals tracknaart, enzovoort, möglichn Niet weergegen op dit appaarat.
Bluetooth-installingen
De Bluetooth-installingen können worden opgegeven in "BT Menu".
1 Selecteer de Bluetooth-bron.
Als u een Bluetooth-telefon wilt selecteren, drukt u op (TOP) en raakt u "BT Phone" aan in het hoofdmenu.
Als u Bluetooth-audio wilt selecteren, raakt u "Source List" en "BT Audio" aan.
2 Raak "BT Menu" aan.
In het geval van Bluetooth-audio raakt u "Play Menu" en "BT Menu" aan. Het Bluetooth-instelmenu worden weergegeven.
3 Raak het gewenste item aan in de lijst en geef de instelling op.
De items in het menu voor de Bluetoothinstellungen zijn als volgt.
"Signal"*1
Het Bluetooth-sigmaal inschaken: "ON", "OFF".
"Discoverable"*1 (pagea 42)
Het andere Bluetooth-apparaat toestaan te zoeken maar dit apparaat: "Show", "Hide".
"Device Name"\*1
De naam wijzigen die voor dit apparaat op het verbonden apparaat worden weergegeven. (Standaardinstelling: "Sony Automotive") Zie "Informatie over het toetsenbord voor het bewerken van de naam" op pagina 49 voor meer informatie over de algemene bediening van het toetsenbord.
"Search"\*1 (agina 42)
ZoekenaarBluetooth-apparatenwaarmee verbindingkanwordengemakt.
"Device List"\*1 (pagina 43)
De lijst met geregistreerde apparaten weergeven; verbinding makes met een geregistreerd apparaat; alle registraies verwijderen.
"Auto Answer"\*1
Een binnenkomend gesprek automatisch beantwoorden.
- "Short": automatisch beantwoorden na 3 seconden.
"Long": automatisch beantwoorden na 10 seconden. - "OFF": nicht automatisch beantwoorden.
"Ringtone"*1*2
De beltoon van dit apparaat of de verbonden mobiele telefoon gebruiken: "Default", "Cellular".
Stel deze instelling normal in op "Mode 1". Als de geluidskwaliteit van het uitgaande geluid nicht voldoende is, moet u "Mode 2" of "OFF" instellen.
"MIC Gain" (pagea 46)
Het volume voor de andere persoon aanpassen: -2 +2
"Initialize"\*1
Alle Bluetooth-installingen initialiseren. Raak "Yes" aan in het bevestiggingvenster.
1 Kan nicht worden ingesteldijdens handsfree bellen.
2 Afhankelijk van de mobiele telefoon, is het möglichket de beltoon van dit appaat worden ditgevoerd, zichs als "Cellular" is ingesteld.
Opmerking
Raadpleeg de betreffende handleldingen voor informatie over de instellenen van andere Bluetooth-apparaten.
Geluidsaanpassing
De geluidskwaliteit selecteren - EQ7
U kunt een equalizercurve kiezen uit 7 muziektypen ("Xplod", "Vocal", "Edge", "Cruise", "Space", "Gravity", "Custom" of "OFF").
1 Raakijdens de ontvangst/het afspelen "Source List" en aan.
2 Raak "Sound" aan. Het menu met geluidinstallingen worden weergegeben.
3 Raak "EQ7" aan. De opties worden weergegeven.
4 Raak de gewenste equalizercurve aan. Het instellen is voltooid.
Als u de equalizercurve wilt annuleren, selecteert u "OFF". Als u wilt terugkeren maar het vorige scherm, raakt u "Back" aan.
De equalizercurve aanpassen - EQ7 Tune
Met "Custom" van EQ7 Aunt u uw eigenequalizerinstellungen bepalen. U aunt het niveaun 7 verschillende banden aanpassen: 62Hz 157Hz 396Hz 1kHz 2,5kHz 6,3kHz en 16kHz
1 Raakijdens de ontvangst/het afspelen "Source List" en aan.
2 Raak "Sound" en "EQ7" aan.
3 Raak "Custom" en "Tune" aan. Het scherm voor afstemmen worden weergegeven.

4 Raak + / - van elke frequentie aan om de niveaus aan te passen.
Het niveau kan stapsgewijs worden aangepast van -8 tot +8 .
Als u de equalizercurve wilt herstellen die in de fabriek is ingesteld, raakt u "Reset" aan.
5 Raak "OK" aan.
Het instellen is voltooid.
Als u wiltteringukerenaar het vorigescherm, raaktu"Back"aan.
Tip Andere equalizertypeen können ook worden aangepast.
De geluidskenmerken aanpassen
De geluidsbalans:tussen de linker-enrechtenluidsprekers("Balance")en de voor-enachterluidsprekers("Fader")kanaar wensworden ingesteld.Ukunt ook het volumeniveauvan de subwoofer aanpassen alsdeze isaangesloten.
1 Raakijdens de ontvangst/het afspelen "Source List" en aan.
2 Raak "Sound" aan. Het menu met geluidinstallingen worden weergegeben.
3 Raak "Balance/Fader" aan.
Het instelschem wordt weergegeven.

4 Raak / / aan om de balans/fader aan te passen.
Het niveau kan stapsgewijs worden aangepast -15 en +15 (Balance)/-15 en +15 (Fader).
5 Raak +/- aan om het volumeniveau van de subwoofer aan te passen.
Deze instelling kan alleen worden aangepast als de subwoofer is aangesloten en "Subwoofer" is ingesteld op "ON" (pagina 61). U kunth het niveau aanpassen in afzonderlijke stappen,CUSen-6 en +6
Als u wiltteringukerenaar het vorigescherm, raaktu"Back"aan.
Geluid optimaliseren voor de luisterpositie
Het apparaat kan de lokalisatie van geluid aanpassen door de geluidsuitvoer van elke luidspreker te vertragen om deze aan te passen aan uw positie en een naturulijk geluidsveld simuleren waar bij u het gevoel krijgt dat u zich altijd in het midden van het geluidsveld bevindt, ongeacht waar u zit in de auto.
Hieronder vindt u de opties voor "Listening Position".
"Front L" (1): linksvoor
"Front R" (2):rechtsvoor
"Front" (6): middenvoor
"AII" (4): in het midden van de auto
"Custom": nauwkeurig gekalibreerde positie (pagina 53)
"OFF": geen positie ingesteld

U kunt de geschatte subwooferpositie ook instellen vanaf uw luisterpositie als:
- de subwoofer is aangesloten en "Subwoofer" is ingesteld op "ON" (pagea 61).
-de luisterpositie is ingesteld op "Front L", "Front R", "Front" of "All".
1 Raakijdens de ontvangst/het afspelen "Source List" en aan.
2 Raak "Sound" aan.
Het menu met geluidinstellungen wird weergegeben.
3 Raak "Listening Position".
4 Stel de luisterpositie in.
Raak "Front L", "Front R", "Front", "All" of "Custom" aan.
5 Stel de subwooferpositie in.
Als u "Front L", "Front R", "Front" of "All" selecteert in stap 4, kurz u de subwooferpositie instellen.
Raak "Near", "Normal" of "Far" aan.
Het instellen is voltooid.
Als u de Intelligent Time Alignment wilt annuleren, selecteert u "OFF".
Als u wiltteringugkerenaar het vorigescherm, raaktu"Back"aan.
De luisterpositie nauwkeurig kalibreren
Intelligent Time Alignment Tune
U kunt uw luisterpositie nauwkeurig kalibreren vanaf elke luidspreker zodat de geluidsvertraging de luisteraar better bereikt.
Voordat u begint, moet u de afstand:tussen uw luisterpositie en elke luidspreker meten.
1 Raakijdens de ontvangst/het afspelen "Source List" en aan.
2 Raak "Sound" en "Listening Position" aan.
3 Raak "Custom" en "Custom Tune" aan.
Het instelschemm worden weergegeven.

4 Raak + / - voor elke luidspreker aan om de afstand in te stellen:tussen uw luisterpositie en de luidsprekers.
De afstand kan worden aangepast in stappen van 2cm ,tussen 0 en 400~cm
Als u de staandaardinstelling wilt herstellen, raakt u "Reset" aan.
5 Raak "OK" aan.
Het instellen is voltooid.
Als u wilt terugkeren maar het vorige scherm, raakt u "Back" aan.
Opmerking
De instelling worden alleen toegepast nadat "OK" is aangeraakt.
Luidsprekerconfiguration volume-instelling
Een virtuele middenluidspreker make — CSO
Als u volledig wilt genieten van surround sound, hebt u genoeg aan 5 luidsprekers (links-/rechtsvooor, links-/rechtsachter, midden) en 1 subwoofer. Met CSO (indeling middenluidspreker) kunt u een virtuele middenluidspreker maken, zichs als er geen母公司 middenluidspreker is aangesloten.
1 Raakijdens het afspelen van een dics/ via USB "Source List" en aan.
2 Raak "Sound" aan.
Het menu met geluidinstellungen wird weergegeben.
3 Raak "CSO" aan.
De opties worden weergegeven.
4 Raak "CSO1", "CSO2" of "CSO3" aan. Het instellen is voltooid.
Als u wilt terugkeren maar het vorige scherm, raakt u "Back" aan.
Opmerking
"CSO" heeft alleen effect wanneer "Multi Ch Output" is ingesteld op "Multi" (pagina 62), bzw. de functie alleen effect heeft bij het afspelen van meerkanaals bronnen.
Achterluidspeakers gebruiken als subwoofer — RBE
Met RBE (basversterking anschter) worden het basgeluid versterkt door de instelling voor het laagdoorlaatfilter (pageina 61) toe te passen op dechterluidsprekers. Met deze functie werken dechterluidsprekers als subwoofer, zichs als er geen subwoofer is aangesloten.
1 Raakijdens de ontvangst/het afspelen "Source List" en aan.
2 Raak "Sound" aan.
Het menu met geluidinstellungen wird weergegeben.
3 Raak / aan om te schuiven en raak "RBE" aan.
De opties worden weergegeven.
4 Raak "RBE1", "RBE2" of "RBE3" aan. Het instellen is voltooid.
Als u wilt terugkeren maar het vorige scherm, raakt u "Back" aan.
Het luidsprekervolume aanpassen
U aunt het volumeniveau van elke aangesloten luidspreker aanpassen.
De luidsprekers die kuren worden aangepast, zich "Front R" (rechtsvoor), "Front L" (linksvoor), "Surround L" (linksachter), "Surround R" (rechtsvacher) en "Subwoofer*".
- Kan alleen worden aangepast als een subwoofer is aangesloten en "Subwoofer" is ingesteld op "ON" (pagea 61).
1 Terwijl het apparaat is uitgeschakeld, raakt u "Source List" en aan.
2 Raak "Sound" aan.
Het menu met geluidinstellungen wird weergegeben.
3 Raak / aan om te schuiven en raak "4.1ch Speaker Level" aan.
Het instelschem wordt weergegeven.

4 Raak de luidspreker aan en verzolgens + / - om het niveau aan te passen.
Herhaal deze stap om het volume voor alle luidspekters aan te passen. Als u de staandaardinstelling wilt herstellen raakt u "Reset" aan.
Als u wilt terugkeren maar het vorige scherm, raakt u "Back" aan.
Monitor aanpassen
De hoek van de monitor aanpassen (Alleen XNV-L77BT/ 770BT)
U kunt de hoek van de monitor aanpassen voor een.bestie kijkhoek.
1 Raak "Source List" en aan.
2 Raak "General" aan.
Het algemene instelmenu worden weergegeven.
3 Raak / aan om te schuiven en raak "Monitor Angle" aan.
Het instelschemm worden weergegeven.
4 Raak - / + aan om de hoek aan te passen.
De aanpassing worden opgeslagen.
De monitor behoudt de hoek zichs nadat het voorpaneel is geopend en weer is gesloten.
Als u wilt terugkeren maar het vorige scherm, raakt u "Back" aan.
Aanraakschem kalibreren
Kalibratie van het aanraakschem is vereist als de aanraakpositie Niet overeenkomt met het juiste item.
1 Raak "Source List" en aan.
2 Raak "General" aan.
Het algemene instelmenu worden weergegeven.
3 Raak / aan om te schuiven en raak "Touch Panel Adjust" aan.
Het instelschem wordt weergegeven.
4 Raak de doelen awhile elkaar aan.
Raak "Cancel" aan om de kalibratie te annuleren.
Het ache tergrundschem instellen
U kunt waar wens een schermthema, visualizer en de helderheid van het beeld selecteren voor het achtergrondschem.
1 Raak "Source List" en aan.
2 Raak "Screen" aan.
Het menu met scherminstillingen worden weergegeben.
3 Raak "Screen Select" aan.
De opties worden weergegeven.
4 Selecteer het schermthema.
Raak "Screen Theme" en het gewenste type aan.
5 Selecteer de visualizer.
Raak "Visualizer" en het gewenste type aan.
6 Selecteer de helderheid van het beeld.
Raak "Day / Night mode" en een van de volgende opties aan.
"Auto": schakelt de helderheid automatisch wanner u de verlichting inschakelt. (Alleen beschikbaar wanner de bedieningskabel voor de verlichting is aangesloten.)
"Always Day": past de helderheid aan zodate descht is voor gebruik bij daglicht.
"Always Night": past de helderheid aan zodat deze geschikt is voor gebruik bij nachtlicht.
Als u wilt terugkeren maar het vorige scherm, raakt u "Back" aan.
De beeldkwaliteit aanpassen — Picture EQ
U kurz de beeldkwaliteit aanpassen aan de helderheid in de auto.
"Dynamic": levendig beeld met heldere, scherpe kleuren.
"Standard": standaardbeeldkwaliteit.
"Theater": maakt het monitorbeeld helderder; geschikt voor donkere films.
"Sepia": past een sepiatint toe op het beeld.
"Custom 1", "Custom 2": door de gebruiker aan te passen instellingen (pagea 56).
1 Raakijdens het afspelen van video/ het weergeven van beelden "Source List" en aan.
vervolg op volgende pagina
2 Raak "Screen" aan.
Het menu met scherminstallingen worden weergegeben.
3 Raak "Picture EQ" aan.
De opties worden weergegeven.
4 Raak de gewenste optie aan.
Als u wilt terugkeren maar het vorige scherm, raakt u "Back" aan.
De beeldkwaliteit aanpassen
Met de opties "Custom 1" en "Custom 2" van Picture EQ kurz u uw eigien instelling voor de beeldkwaliteit makes door de beeldtinten aan te passen.
1 Raakijdens het afspelen van video/ het weergeven van beelden "Source List" en aan.
2 Raak "Screen" en "Picture EQ" aan.
3 Raak "Custom 1" of "Custom 2" en "Custom Tune" aan.
4 Raak "Warm", "Normal" of "Cool" aan om "Color Tone" te selecteren.
5 Raak +/- van "Brightness" en "Color" aan om de niveaus aan te passen.
Als u wilt terugkeren maar het vorige scherm, raakt u "Back" aan.
Opmerking
De beeldkwaliteit van de weiteruitkijkcamera kan nicht worden aangepast.
De breedte-/hoogteverhoudingselecteren
U aunt de breedte-/hoogteverhouding van het scherm aanpassen.
"Normal": beeld met bredte-/hoogteverhouding van 4:3 (normaal beeld).

"Wide": beeld met bredte-/hoogteverhouding van 4:3uitvergrootaar de linker-enrechtenkant van het scherm,haar bij de overstekende geedeelten aan de boven- en onderkant zich bijgesneden omhet scherm te vullen.

"Full": beeld met breedte-/ hoogteverholding van 16:9.

"Zoom": beeld met bredte-/hoogteverhouding van 4:3,uitvergrootaar de linker-enrechtskant van het scherm.

1 Raakijdens het afspelen van video/ het weergeven van beelden "Source List" en aan.
2 Raak "Screen" aan.
Het menu met scherminstelingen worden weergegeben.
3 Raak "Aspect" aan.
De opties worden weergegeven.
4 Raak de gewenste optie aan.
Als u wilt terugkeren maar het vorige scherm, raakt u "Back" aan.
Opmerking
De breedte-/hoogteverhouding van dechteruitkijkcamera kan nicht worden aangepast.
Installingen
Het menu met instellungen bevat de volgende categorieën.
"General": algemene instellingen (pagea 58)
- "Sound": geluidsinstallingen (pagea 60)
"Screen": scherminstellingen (pagea 61)
"Visual": DVD- en andere afspeelinstellungen (pagina 62)
Algemene bediening voor instelleningen
U aunt items instellen in het menu met de volgende procedure.
Bijvoorbeeld om de demonstratie in te stellen
1 Terwijl het apparaat is uitgeschakeld, raakt u "Source List" en aan.
Raak aan in het hoofdmenu.
Het instelmenu worden weergegeven.

2 Raak "Screen" aan.
Het instelschem voor het scherm worden weergegeven.

3 Raak "Demo" aan om "ON" of "OFF" in te stellen.
Het instellen is voltooid.
Als u door de opties (alleen als dit nodig is) wilt schuiven, raakt u aan.
Als u wilt terugkeren maar het vorige scherm, raakt u "Back" aan.
Algemene instellingen
Raak het volgende aan: "General" het gewenste item de gewenste optie. Zie "Algemene bediening voor instellingen" op pagina 57 voor meer informatie over deze procedure.
Volg de pagingwerijzing voor meer informatie. "●" geeft de standardinstelling aan.
| Item | Optie | Doel | Status van het apparaat |
| Security Control (pagea 65) | - | - | Willekeurige status. |
| Clock Adjust (pagea 65) | - | - | Willekeurige status. |
| Auto OFF Automatisch uitschakelen na een gewensteijd wonneer het apparaat UIT is. | No (●) | De functie voor automatisch uitschakelen uitschakelen. | Willekeurige status. |
| 30sec, 30min, 60min | De gewensteijd selecteren. | ||
| CT (kloktijd) (pagea 26, 27) | ON | De CT-functie inschakelen. | Willekeurige status. |
| OFF (●) | De CT-functie uitschakelen. | ||
| Output Color System Het kleursystem wijzigen op basis van de aangesloten monitor. (SECAM worden nicht ondersteund.) | PAL (●) | Instellen op PAL. | Het apparaat isuitgeschakeld. |
| NTSC | Instellen op NTSC. | ||
| Dimmer De holderheid van het scherm wijzigen. | Auto (●) | Het scherm automatisch dimmen wonneer u de verlichting inschakelt. (Alleen beschikbaar wonneer de bedieningskabel voor de verlichting is aangesloten.) | Willekeurige status. |
| ON | Het scherm dimmen. | ||
| Dimmer Level Het holderheitsniveau instellen als de dimmer is geactiveerd. | (-5 ~ +5) ●: 0 | Het niveau selecteren. | Willekeurige status. |
| Touch Panel Adjust (pagea 55) | - | - | Willekeurige status. |
| Beep | ON (●) | Het bedieningsgeluid inschakelen. | Willekeurige status. |
| OFF | Het bedieningsgeluid uitschakelen. | ||
| Language | English (●), Espanol, Pucchkni | De schermtaal selecteren. | Het apparaat isuitgeschakeld. |
| Key Illumination | ON (●) | De toetsverlichting inschakelen. | Willekeurige status. |
| OFF | De toetsverlichting uitschakelen. | ||
| Rotary Commander De werkingsrichting van de bedieningenselementen van de bedieningssatelliet wijzigen. | Default (●) | De bedieningsssatelliet volgens de fabrieksinstellenen gebruiken. | Willekeurige status. |
| Reverse | Instellen voor gebruik aan de rechterkant van de stuurkolom. | ||
| AUX1 Input (pagea 66) Het type apparaat instellen dat is aangesloten op de AUX1 IN-aansluitingen om hetachtergrundschem overeenkomstig te veranderen. | Video (●) | Het beeld weergeven op het aangesloten apparaat. | Het apparaat isuitgeschakeld. |
| Audio | Het achtergrundschem van dit apparaat weergeven. | ||
| OFF | De AUX-ingang uitschakelen. | ||
| AUX2 Input (pagea 66) Het type apparaat instellen dat is aangesloten op de AUX2 IN-aansluitingen om hetachtergrundschem overeenkomstig te veranderen. | Video (●) | Het beeld weergeven op het aangesloten apparaat. | Het apparaat isuitgeschakeld. |
| Audio | Het achtergrundschem van dit apparaat weergeven. | ||
| OFF | De AUX-ingang uitschakelen. | ||
| No Signal Het scherm automatisch aanpassen als er geen extern videosignal worden gedetecteerd. | Through | Het scherm voor geen signalaal weergeven. | Het apparaat isuitgeschakeld. |
| Blank (●) | Het scherm voor audio afspelen weergeven zonder melding over het signalaal. | ||
| Camera Input De video-invoer van de aangeslotenchteruiktijkcamera activeren. | OFF | De invoor uitschakelen. | Willekeurige status. |
| ON (●) | Het beeld van dechteruiktijkcamera weergeven wanneer defteruijtrijlichten gaan branden (of de versnellingspook is ingesteld op R (achteruit)). | ||
| Rear View Camera Setting (pagea 66) | - | - | Willekeurige status. |
| Monitor Angle (Alleen XNV-L77BT/770BT) (pagea 55) | - | - | Willekeurige status. |
Geluidsinstallingen
Raak het volgende aan: "Sound" het gewenste item de gewenste optie. Zie "Algemene bediening voor instellingen" op pagina 57 voor meer informatie over deze procedure.
Volg de pagingewijzing voor meer informatie. "●" geeft de standardinstelling aan.
| Item | Optie | Doel | Status van het apparaat |
| EQ7 (pagea 52) | OFF (●) | De equalizercurve annuleren. | Tijdens ontvangst/ afspelen. |
| Xplod, Vocal, Edge, Cruise, Space, Gravity, Custom | De equalizercurve selecteren; de equalizercurve aanpassen. | ||
| Balance/Fader (pagea 52) | Balance: (-15 ~ +15) Fader: (-15 ~ +15) ●: 0 | Hetiveau aanpassen. | Tijdens ontvangst/ afspelen. |
| Subwoofer: (-6 ~ +6) ●: 0 | Het volumeniveau van de subwoofer aanpassen. (Alleen beschikbaar als "Subwoofer" is ingesteld op "ON".) | ||
| Listening Position (pagea 53) | OFF (●) | De luisterpositie nicht instellen. | |
| De luisterpositie en subwooferpositie instellen. | Front L | Instellen op linksvoor. | |
| Front R | Instellen op rechtsvooor. | ||
| Front | Instellen op middenvoor. | ||
| All | Instellen op het midden van de auto. | ||
| Custom | De luisterpositie nauwkeurig kalibreren (pagea 53). | Tijdens ontvangst/ afspelen. | |
| Subwoofer: Near, Normal (●), Far | De subwooferpositie selecteren. (Alleen beschikbaar als "Subwoofer" is ingesteld op "ON" en de luisterpositie is ingeschakeld op "Front L", "Front R", "Front" of "All".) | ||
| CSO (Indeling middenluidspreker) (pagea 54) De virtuele middenluidspreker instellen. | OFF (●), CSO1, CSO2, CSO3 | De stand selecteren. | Tijdens het afspelen van een disc/via USB. |
| Subwoofer De status van de subwooeraansluiting instellen. | ON (●) | De status van de aansluiting instellen op aan. | Het apparaat isuitgeschakeld. |
| OFF | De status van de aansluiting instellen opuit. | ||
| RBE (Basersterkingchter) (pageina 54) Achterluidsprekers gelebruiken als subwoofer. | OFF (●), RBE1, RBE2, RBE3 | De stand selecteren. | Tijdens ontvangst/ afspelen. |
| Crossover Filter De kantelfrequency van de voor-/achterluidspreker (HPF) en subwoofer (LPF) selecteren. | LPF: 50 Hz, 60 Hz, 80 Hz, 100 Hz (●), 120 Hz | De kantelfrequency selecteren. (Alleen beschikbaar als "Subwoofer" is ingesteld op "ON".) | |
| HPF: OFF (●) | Geen kantelfrequency instellen. | Tijdens ontvangst/ afspelen. | |
| HPF: 50 Hz, 60 Hz, 80 Hz, 100 Hz, 120 Hz | De kantelfrequency selecteren. | ||
| Subwoofer Phase: Normal (●), Reverse | De fase van de subwoofer selecteren. (Alleen beschikbaar als "Subwoofer" is ingesteld op "ON".) | ||
| 4.1ch Speaker Level (pageina 54) | - | - | Het apparaat isuitgeschakeld. |
Scherminstellingen
Raak het volgende aan: "Screen" het gewenste item de gewenste optie. Zie "Algemene bediening voor instellingen" op pagina 57 voor meer informatie over deze procedure.
Volg de pagingewijzing voor meer informatie. "●" geeft de standardinstelling aan.
| Item | Optie | Doel | Status van het apparaat |
| Screen Select (pagea 55) | - | - | Willekeurige status. |
| Picture EQ (pagea 55) | Dynamic (●), Standard, Theater, Sepia | De beeldkwaliteit selecteren. | Tijdens het afspelen van video/weergeven van beelden. |
| Custom 1, Custom 2 | De beeldkwaliteit aanpassen. | ||
| Aspect (pagea 56) | Full (●), Normal, Wide, Zoom | De breedte-/hoogteverhouding van het scherm selecteren. | Tijdens het afspelen van video/weergeven van beelden. |
| Clock De klokweergave in de rechterbenedenhoek van het scherm weergeven/verbergen. | ON (●) | De klokweergave weergeven. | Willekeurige status. |
| OFF | De klokweergave verbergen. | ||
| Demo | ON (●) | De demonstratie inschaken. | Het apparaat isuitgeschakeld. |
| OFF | De demonstratie uitschaken. |
DVD- en andere afspeelinstelligen
Raak het volgende aan: "Visual" het gewenste item de gewenste optie. Zie "Algemene bediening voor instellingen" op pagina 57 voor meer informatie over deze procedure.
Volg de pagingewijzing voor meer informatie. "●" geeft de standardinstelling aan.
| Item | Optie | Doel | Status van het apparaat |
| DVD Menu Language | - | De taalinstelling voor het menu van de disc wijzigen. | Het apparaat isuitgeschakeld. |
| DVD Audio Language | - | De taal voor de soundtrack wijzigen. | Het apparaat isuitgeschakeld. |
| DVD Subtitle Language | - | De taal wijzigen van de op de disc opgenomen ondertitels. | Het apparaat isuitgeschakeld. |
| Audio DRC Zorgt voor een holder geluid bij weergave met een laag volume. Alleen voor DVD's* die voldoen aan Audio DRC (Dynamic Range Control).* Met uitzondering van DVD-R/DVD-R DL/DVD-RW in VR-stand. | Standard (●) | De standardinstelling selecteren. | Het apparaat isuitgeschakeld. |
| Wide | Geeft u het gevoel van een live optreden. | ||
| Multi Ch Output De methode voor het uitvoeren vanmeerkanaals bronnen wijzigen. | Multi (●) | Uitvoeren in 4.1 kanalen. | Het apparaat isuitgeschakeld. |
| Stereo | Reduceren tot 2 kanalen ("downmixen"). | ||
| DVD Parental Control (pageina 29) | - | Een disc vergrendelen/ontgrendelen. | Het apparaat isuitgeschakeld. |
| DVD Parental Rating (pageina 29) | - | Het beperkingsniveau instellen volgens het geselecteerde gedeelte. | Het apparaat isuitgeschakeld. |
| DVD Parental Area (pageina 29) | - | De beperkingsstandaard instellen op gedeelte. | Het apparaat isuitgeschakeld. |
| DVD Playlist Play (Alleen voor DVD-R/DVD-R DL/DVD-RW in VR-stand) | Original (●) | Oorspronkelijk opgenomen titels afspelen. | Het apparaat isuitgeschakeld. |
| Playlist | Een bewerkte afspeellijastafspelen. | ||
| DVD Direct Search (pageina 31) Hetzoekitem instellen vanrechtstreeks afspelen voorDVD's. | Chapter (●) | Zoekenaar een hoofdstuk. | Willekeurigestatus. |
| Title | Zoekenaar een titel. | ||
| Monitor Type Een breedte-/hoogteverhouding selecteren die geschikt is voor de aangesloten monitor. (De breedte-/hoogteverhouding van dit apparaat worden ook gewijzigd.) | 16:9 (●) | Breedbeeld weergeven. Geschikt voor het aansluierten van een breedbeeldmonitor of een monitor met een breedbeelfunctie. | |
| 4:3 Letter Box | Breedbeeld weergeven met Zwarte strozen aan de boven- en onderkant van het scherm. Geschikt wonneer een 4:3-monitor is aangesloten. | Het apparaat isuitgeschakeld. | |
| 4:3 Pan Scan | Breedbeeld weergeven op het volledige scherm waar bij de gedeelten die nicht passen automatisch worden bijgesneden. | ||
| ZAPPIN Time (pageina 39) | 6sec, 15sec (●), 30sec | De afspeeltijd voor de ZAPPIN-functie selecteren. | Tijdens het.afspelen vanaudio. |
| ZAPPIN Tone (pageina 39) | ON (●) | De pieptoon weergeven:tussen gedeelten van tracks. | Tijdens het.afspelen vanaudio. |
| OFF | Het piepgeluiduitschaken. | ||
| Multi Disc Resume | ON (●) | De instellingen voor het hervatten van het afspelen in het geheugen opslaan voor maximaal 5 videodiscs*. * Alleen DVD VIDEO/VCD/DivX/MPEG-4. | Het apparaat isuitgeschakeld. |
| OFF | De instellingen voor het hervatten van het afspelen Niet opslaan in het geheugen. Afspelen hervatten is alleen beschikbaar voor de huidige disc in het apparaat. | ||
| USB Resume | ON (●) | Instellingen voor het hervatten opslaan in het geheugen voor DivX/MPEG-4-bestanden op het USB-apparaat. | Het apparaat isuitgeschakeld. |
| OFF | De instellingen voor het hervatten van het afspelen Niet opslaan in het geheugen. | ||
| JPEG Slide Show | 5sec (●), 20sec, 60sec, Fixed | Het interval voor de diavoorstelling selecteren. | Het apparaat isuitgeschakeld. |
| Video CD PBC (pagea 27) | ON (●) | VCD afspelen met de PBC-functionie. | Het apparaat isuitgeschakeld. |
| OFF | VCD afspelen zonder de PBC-functionie. | ||
| DivX VOD Registration Code | Done | Het scherm sluiten. | |
| De registratiecode van dit apparaat weergeven. Zie pagea 69 voor meer informatie. | Het apparaat isuitgeschakeld. | ||
| DivX VOD Deactivate Code | Done | Het scherm sluiten. | Het apparaat isuitgeschakeld. |
| De registratie van dit apparaat voor het afspelen van DivX VOD deactiveren. |
Opmerking
Als kinderbeveiliging is ingeschakeld, werkt de functie voor het hervatten van het afspelen Niet. In dat geval worden na hetplaatsen van de disc met afspelen begonnen aan het begin van de disc.
De beveiligingscode instellen
Dit apparaat beschikt over een beveiligingsfunctie om diefstal te voorkomen. Geef een 4-cijferige code op als beveiligingscode.
Als de beveiligingsfunctie is geactiveerd,要去 de beveiligingscode invoeren om het apparaat in te schakelen nadat u het apparaat in een andere auto hebt geinstalleerd of de accu hebt opgeladen.
De beveiligingsfunctie inschakelen
1 Raak "Source List" en aan. Het algemene instelmenu worden weergegeven. Als dit nicht het geval is,要去 u "General" aanraken.
2 Raak "Security Control" aan. Het invoerschem voor de beveiligingscode wordt weergegeven.
3 Raak de cijfertoetsen aan om uw beveiligingscode in te voeren en raak "OK" aan.
4 Raak ter bevestiging de cijfertoetsen aan om uw beveiligingscode opnieuw in te voeren en raak "OK" aan. Het instellen is voltooid.
Als u een ingevoerd cijfer wilt verwijderen, raakt u "Clear" aan.
Als u wiltteringukerenaar het vorigescherm, raaktu"Back"aan.
Het invoerschem voor de 4-cijferige code wordt altiid weergegeven als u het apparaat inschakelt nadat u het in een andere auto heb t geinstalleerd of als u de accu heb opgeladen. Raak de cijfertoetsen aan om uw beveiligingscode in te voeren.
De beveiligingsfunctie uitschakelen
1 Volg stap 1 en 2 hierboven. Het scherm voor het ontgrendelen van de beveiliging worden weergegeven.
2 Raak de cijfertoetsen aan om uw beveiligingscode in te voeren. "Unlocked" worden weergegeven en de beveiligingsfunctie is ontgrendeld.
De klok instellen
De klok werkt met het 24-uurs system.
1 Raak "Source List" en aan.
Het algemene instelmenu worden weergegeven.
Als dit nicht het geval is,要去 u "General" aanraken.
2 Raak "Clock Adjust" aan.
Het instelschem wordt weergegeven.
3 Stel het uur en de Minutes in. Als u bijvoorbeeld 8:30 wilt instellen, raakt u "0830" aan.
4 Raak "OK" aan.
Het instellen is voltooid.
Als u een ingevoerd cijfer wilt verwijderen, raakt u "Clear" aan.
Als u wilt terugkeren maar het vorige scherm, raakt u "Back" aan.
Opmerking De klok worden nicht gesynchroniseerd met de tjidaaanduiding in de navigatiestand.
Optionele apparaten gebruiken
Extra audio-/videoapparatuur
U aunt maximaal 2 optionele apparaten zoals draagbare mediaspelers, games, enzovoort, aansluiten op de AUX1 IN- en AUX2 INaansluitingen op het apparatusat.
Randapparaat selecteren
1 Raak "Source List" en "AUX" aan.
Het afspeelschemr voor AUX-bronnen worden weergegeven.

2 Raak "AUX1" of "AUX2" aan om het apparatusat te selecteren.
U bedient het draagbare apparaat met de toetsen op het apparaat zich.
Het volumeniveau aanpassen
Pas voor het afspelen het volume van elk aangesloten apparaat aan.
Het volumeniveau is gewiek voor "AUX1" en "AUX2".
1 Verlaag het volume op het apparaat.
2 Raak "Source List" en "AUX" aan.
Het afspeelschemr voor AUX-bronnen worden weergegeven.
3 Start het afspelen op het draagbare apparaat met een normal volume.
4 Stel uw gebruikelijkke luistervolume in op het apparaat.
5 Raak - / + in het vak "Level" herhaaldelijk aan om het niveau aan te passen.
Het niveau kan stapsgewijs worden aangepast van -8 tot +18
Het type apparaat instellen
Door het type (video of audio) van elk aangesloten apparaat in te stellen, kan het achtergrondschem overeenkomstig worden veranderd.
1 Terwijl het apparaat is uitgeschakeld, raakt u "Source List" en aan.
Het algemene instelmenu worden weergegeven. Als dit nicht het geval is,要去 "General" aanraken.
2 Raak / aan om te schuiven en raak "AUX1 Input" of "AUX2 Input" aan.
3 Raak "Audio" of "Video" aan.
Het instellen is voltooid.
Als u de AUX-ingang wilt uitschakelen, selecteert u "OFF".
Als u wilt terugkeren maar het vorige scherm, raakt u "Back" aan.
Achteruitkijkcamera
Door de optionelechyteruitkijkcamera aan te sluiten op de CAMERA IN-aansluiting kunt u het beeld van dechyteruitkijkcamera weergeven.
Het beeld van de blijukijkcamera worden weergegeven wanner de blijuitrijlichten gaan branden (of de versnellingspook is ingesteld op R (achteruit)).
Opmerkingen
- Wanneer uchteruitrijdt met de auto, moet uui tveiligeidsoverwegingen nauwkeurig op de omgeving letten. Vertrouv nooit alleen op dechteruitkijkcamera.
- Het beeld van een achteruitkijkcamera worden nicht weergegeven op de monitor hinterin.
Tip
Zelfs als eenchyteruiktijkcamera is aangesloten, kunt u instellen dat het beeld van eenchyteruiktijkcamera Niet worden waergeveen door de camera-inganguit te schakelen (pageina 59).
Installingen voor dechteruitkijkcamera
U kunt instel items weergeven op het beeld van dechteruitkijkcamera voor ondersteuning bij de bediening.
Deze instelling is alleen beschikbaar als:
"Camera Input" is ingesteld op "ON" (pagea 59).
-De handrem worden gebruikt.
1 Raak "Source List" en aan.
Het algemene instelmenu worden weergegeven. Als dit Niet het geval is, moet u "General" aanraken.
2 Raak / aan om te bladeren en raak "Rear View Camera Setting" aan.
De instelitems worden weergegeven.

Markeringslijnen weergeven
Raak "Marker" aan.
Raak "Marker" nogmaals aan om de markeringslijnen te verbergen.
Het beeld omkeren
Raak "Mirror" aan.
Een gespiegeld beeld worden weergegeven.
Lijnen bewerken
1 Raak "Line Edit" aan.

2 Selecteer de lijn die u wilt bewerken. Raak "1 Edit", "2 Edit" of "3 Edit" aan afhankelijk van de lijn die u wilt bewerken.
3 Bewerk de lijn. Raak aan om de lijn langer te make. Raak aan om de lijn korter te make. Raak of aan om de positie te wijzigen. Als u de standardinstellung wilt herstellen, raakt u "Reset" aan.
Als u wilt terugkeren maar het vorige scherm, raakt u "Back" aan.
Aanvullende informatie
Voorzorgsmaatregelen
- Laat het apparaat eerst afkoelen als uw auto geparkeerd stond in direct zonlicht.
- De elektrische antenne wirdt automatisch uitgeschoven.
Condensvorming
Als er condensvorming optreedt in het apparaat, verwijdert u de disc en wacht u ongeveer een uur om dit te latenten drogen. Als u dit Niet doet, werkct het apparaat wellicht Niet correct.
Optimale geluidskwaliteit behouden
Mors geen vloeistof op het apparaat of de discs.
Opmerkingen over het LCD-schem
- Druk Niet op het LCD-schemm.ovdat het beeld hierdoor kan verromen of een storing kan wordenveroorzaakt (het beeld kan onduuidelijk worden of het LCD-schemm kan beschadigd raken).
- Raak het scherm alleen aan met uw vinger, anders kan het LCD-schem beschadigd raken of kapot gaan.
- Maak het LCD-schem schoon met een droge, zachte doek. Gebruik geen oplosmiddeelen zoals benzine, thinner, in de handel verkrijgbare reinigingsmiddelen of antistatische spray.
- Gebruik dit apparaat Niet buiten het temperatuurbereik 5 - 45^
- Als uw auto op een koude of hete locatie is geparkeerd, is het beeld möglichniet duidelijk. De monitor is beschadigd en het beeld wordt weer helder als de temperatuur in de auto weer normalaard wordt.
- Er worden soms stilstaande blauwe, rode of groene stippen op de monitor weergegeven. Deze worden "heldere stippen" genoemd en dat kan gebeuren met elk LCD-schem. Het LCD-schem wordt nauwkeurig gefabricieerd met meer dan 99.99% aan functionele segmenten. Het isECHTER mogelijkDat een Klein percentage (meestal 0.01% ) van de segmenten maybek Niet correct oplicht.Dit heeft echter geen invloed op uw kijkervaring.
Opmerkingen over discs
-
Stel een disc Niet bloot aan direct zonlicht of warmtebronnen, zoals heteluchtkanalen, en LAST deze nicht acheer in een auto die in de volle zon geparkeerd staat.
-
Veeg een disc van binnen maar buiten schoon met een doekje voordat u deze afspeelt. Gebruik geen oplosmiddelen zoals benzine, thinner en in de handel verkrijgbare reinigingsmiddelen.
-
Dit apparaat is ontworpen om discs af te speloen die voldoen aan de CD-norm (Compact Disc). DualDiscs en sommige muziekdiscs die zich gecodeerd met copyrightbeveiligingstechnologieen voldoen Niet aan de CD-norm (Compact Disc) en+kennen waarom möglichk Niet worden afgespeeld met dit apparaat.
- Discs die NIET können worden aufgespeeld met dit apparaat
- Discks waarop labels, stickers, tape of papier zijn geplakt. Hierdoor kan de werkung worden verstoord of de disc worden beschadigd.
- Discs met afwijkende vormen (bijvoorbeeld hart, vierkant, ster). Als u dit toch probeert, kan het apparaat worden beschadigd.
-8-cm discs.
Opmerking over het afspelen van DVD's en VCD's
Bepaalde afspeelbewerkingen van DVD's en VCD's waar gewijtig bewust ingesteld door de softwareproducent. Afhankelijk van de inhoud die de softwareproducent op de disc hebdt geplaatst, is het gewijtig dat bepaalde afspeelfuncties van DVD's en VCD's Niet beschikkaar waar voor dit apparaat. Raadpleeg ook de instructies die bij de DVD's of VCD's waar geleverd.
Opmerkingen over DATA CD's en DATA DVD's
- Bepaalde DATA CD's/DATA DVD's (afhankelijk van de opnameapparatuur of de staat van de disc) hunneniet met dit apparaat worden afgespeeld.
- Bepaalde discs moeten worden gefinaliseerd (pagina 68).
- Dit apparaat is compatibel met de volgende standardaards.
Voor DATA CD's
- ISO 9660 Level 1/Level 2, Joliet/Romeo in expansie-indeling
-Multi Session
Voor DATA DVD's
-
UDF Bridge-indeling (combinatie van UDF en ISO 9660)
-Multi Border -
Maximumaantal:
-
mappen (albums): 256 (inclusief hoofdmap en lege mappen).
- bestanden (tracks/beelden/video's) en mapperden die op een disc passen: 2.000 (als de naam van een map/bestand veel tekens bevat, kan dit aantal minder dan 2.000 zich).
- tekens dat kan worden weergegeven voor de naam van een map/bestand: 64 (Joliet/Romeo).
Opmerkingen over het finaliseren van discs
De volgende discs要去en worden gefinaliseerd voor u ze op dit apparaat(Intk faspelen.
DVD-R/DVD-R DL (in videostand/VR-stand)
DVD-RW in videostand
- DVD+R/DVD+R DL
CD-R
CD-RW
De volgende discskestuafspelenzonderde discstefinaliseren.
DVD+RW - automatisch gefinaliseerd.
DVD-RW in VR-stand - geen finalisering vereist.
Raadpleeg de handleiding die bij de disc is geleverd voormeer informatie.
Opmerkingen over Multi SessionCD's/Multi Border-DVD's
Op dit apparaat konnen in de volgende gevallen Multi Session-CD's/Multi Border-DVD's worden afgespeeld. Houd er rekening mee dat de sessie要去en.afgesloten en dat de disc要去en gefinaliseerd.
- Wonneer CD-DA (digitale audio voor cd's) is opgenomen tijdens de eerste sessie: Het apparaat herkent de disc als CD-DA en alleen CD-DAuit de eerste sessie worden afgeseel, zelfs als er tijdens een andere sessie nog een andere indeling (bijvoorbeeld MP3) is opgenomen.
- Wanner CD-DA Nietijdens de eerste sessie is opgenomen: Het apparaat herkent de disc als een DATA CD of DATA DVD en alle CD-DA-sessies worden overgeslagen.
- Wanner er MP3/WMA/AAC/JPEG/DivX/MPEG-4 is opgenomen:
Alleen de sessies met het geseleerde bestandstype (audio/video/beeld)* worden afgeseeeld (als CD-DA of andere geevens voorkomen in andere sessies, worden.Deze overgeslagen).
- Zie pagina 39 voor informatie over het selecteren van het bestandtype.
Afspeelvolgorde van MP3-/WMA-/ AAC-/JPEG-/DivX®-MPEG-4- bestanden

Over MP3-bestanden
- MP3 (MPEG-1 Audio Layer-3) is een compressieindeling voor muziekbestanden. Audio-CDgeevens worden gezocomprimeerd tot onceveer 1/10e van de oorspronkelijk greotte.
- ID3-tag versies 1.0, 1.1, 2.2, 2.3 en 2.4 gelden alleen voor MP3. ID3-tag is 15/30 tekens (1.0 en 1.1) of 63/126 tekens (2.2, 2.3 en 2.4).
- Wanner u een MP3-bestand een naam geeft,要去 altijd de extensie ".mp3" aan de bestandsnaam toevoegen.
- Als u een MP3-bestand met VBR (variabele bitsnelheid) aftspeelt of snel vooruit-/terugsspoelt, worden de verstreten spelduur wellicht Niet nauwkeurig weergegeven.
Opmerking over MP3
Als u een MP3-bestand met een hoge bitsnelheid aftspeelt, zoals 192 kbps, worden het geluid möglich onderbroken.
Over WMA-bestanden
WMA (Windows Media Audio) is een compressie-indeling voor muziekbestanden. Audio-CD-gegevens worden gezomprimeerd tot ongeveer 1 / 22e^ van de oorspronkelijke grootte.
WMA-tag is 63 tekens.
- Wanner u een WMA-bestand een naam geeft, moet u altijd de extensie ".wma" aan de bestandsnaam toevoegen.
- Als u een WMA-bestand met VBR (variabile bitsnelheid) afspeelt of slew vooruit-/terugspoelt, worden de verstreak speelduur wellicht nicht nauwkeurig weergegeven.
Alleen voor 64 kbps
Opmerking over WMA
Het afspelen van de WMA-bestanden met de volgende kenmerken worden nicht ondersteund.
-lossless compressie
copyrightbeveiling
Over AAC-bestanden
AAC-tag is 126 tekens.
- Wanner u een AAC-bestand een naam geeft,要去 u altijd de extensie ".m4a" aan de bestandsnaam toevoegen.
Over JPEG-bestanden
- JPEG (Joint Photographic Experts Group) is een compressie-indeling voor beeldbestanden. Stilstaande beelden worden gecomprimeerd tot onceveer 1 / 10e tot 1 / 100e van de oorspronkelijke grotte.
- Wanner u een JPEG-bestand een naam geeft,要去 u altijd de extensie ".jpg" aan de bestandsnaam toevoegen.
Opmerking over JPEG
Het afspelen van Progressive JPEG-bestanden worden nicht ondersteund.
Over DivX-video
DivX® is een digitale video-indeling die is ontwikkeld door DivX, Inc. Dit is een officieel DivX Certified-apparaat waarop DivX-video kan worden afgespeeld. Ga maar www.divx.com voor meer informatieen hulpprogramma's voor het converteren van bestandenaar DivX-video.
Over DivX Video-on-Demand
Dit DivX Certified®-apparaat moet worden geregistreerd om DivX Video-on-Demand-inhoud (VOD) af te spelen. Als u de registratiecode wilt genereren, gaat u maar het geedeelte DivX VOD in het menu met beeldinstelleningen. Gaaar vod.divx.com met deze code om het registratieproce te voltooien eneer informatie te krijgen over DivX VOD.
Over MPEG-4-bestanden
MPEG-4-bestanden die voldoen aan de volgende vereisten,{kunnen worden afgespeeld.Het kan nicht worden gegardeerd dat alle MPEG-4bestanden die voldoen aan de vereisten, kuren worden afgespeeld.
- Profiel: MPEG-4 Simple Profile
- Bitsnelheid: Max. 7 Mbps op USB FS, 10 Mbps op DVD, 7 Mbps op CD
- Framesnelheid: Max. 30 fps
- Beeldformataat: Max. 720 × 480 pixels
Audio: Max. 320 kbps (AAC-
Bestandsextensie:.mp4
Over iPod
- U kunt de volgende iPod-modelen aansluiten. Werk de software van uw iPod bij maar de LASTe versie voor gelebruik.
Made for
-iPod touch (2e generatie)
-iPod touch (1e generatie)
-
iPod classic
-
iPod met video*
-iPod nano (5e generatie)
-iPod nano (4e generatie)
-iPod nano (3e generatie)
-iPod nano (2e generatie)
-iPod nano (1e generatie)*
iPhone 3GS
-iPhone3G
-
iPhone
-
Passagiersbediening is Niet beschikbaar voor iPod nano (1e generatie) of iPod met video.
- "Made for iPod" en "Made for iPhone" beteKent dat een elektronisch accessoire special is ontworpen voor aansluiting op respectievelijk een iPod en een iPhone en dat de ontwikkelaar van het accessoire verkaart dat het accessoire voldoet aan de prestatienormen van Apple.
- Apple is nicht verantwoordelijk voor de werkking van dit apparaat of voor het voldoen aan de veiligheids- en overheidsvoorschriften.
Over de Bluetooth-functie
Wat is Bluetooth-technologie?
- Draadloze Bluetooth-technologie is een draadloze technologie met eenkleinbereikwaarmee draadlozecommunicatie van gegevensussen digitale apparaten,zoaelsomobileteefoon en eenhoofdtelefooon,mogelijkwordt gemaakt. DraadlozeBluetooth-technologie functioneert binnen een straal van ongeveer 10 meter.Meestal worden er twee apparaten met elkaar verbonden, maar sommige apparaten kunnen tegelijkertijd met meerdere apparunden verzijn.
- U hebt geen kabel nodig voor de verbinding omdat Bluetooth-technologie een draadloze technologie is. Het is ook Niet nodig dat de apparaten aan elkaar zijn gericht, zoals het geval is met infraroodtechnologie. U kunt bijvoorbeeld geevens uitwissenelen verwijl u een dergelijk apparaat bijvoorbeeld in een tas of zak draagt.
- Bluetooth-technologie is een internationale norm ondersteund door miljoenen bedrijven overal ter wereld, en worden door verschillende bedrijven gebruikt.
Informatie over Bluetooth-communicatie
-
Draadloze Bluetooth-technologie functioneert binnen een straal van ongeveer 10 meter. De maximale communicatieafstand is afhankelijk van obstakels (personen, metalen voorwerpen, muren, enzovoort) of electromagnetische storing.
-
De volgende omstandigheden konnen van invloed zich op de gevoeligkeit van Bluetooth-communicatie.
-
Er befindt zich een obstakel, zoals een persoon, een metalen voorwerp of een muur,CUSen dit apparaat en het Bluetooth-apparaat.
-
Er bevindt sich een apparaat dat de frequenta 2,4 GHz gebruikt, Zoals een draadloos LAN-apparaat, draadloze telefoof of magnetron, in de buurt van dit apparaat.
-
Omdat Bluetooth-apparaten en draadloze LAN-apparaten (IEEE802.11b/g) dezelfde frequenta gebruiken, kan storing worden veroorzaakt door microgolven. Als dit apparaat in de buurt van een draadloos LAN-apparaat worden gebruikt, kan dit een lagere communicatiesnelheid, ruis of een ongeldige verbinding tot gevolg hebben. In dit geval moet u het volgende doen.
-
Gebruik dit apparaat op ten minste 10 meter afstand van het draadloze LAN-apparaat.
- Als dit apparaat BETWEEN 10 meter van een draadloos LAN-apparaat worden gebruikt, schakelt u het draadloze LAN-apparaat uit.
-
Plaats dit apparaat en het Bluetooth-apparaat zo zichdicht möglichk bij elkaar in de buurt.
-
Microgolven die akkomstig zijn van een Bluetooth-apparaat,Known van invloed zijn op de werkking van elektronische medische apparaten. Schakel dit apparaat en andere Bluetooth- apparaten uit op de volgende plaatsen,omentum dit ongelukken kan verroorzaken.
-
in de buurt van ontvlambare gassen, in ziekenhuizen, treinen, vliegtuigen of benzinestations.
-
in de buurt van automatische deuren of brandalarmen.
-
Dit apparaat ondersteunt beveiligingsmogelijkheden die voldoen aan de Bluetooth-norm voor een beveiligde verbinding wanner de draadloze Bluetooth-technologie worden gezrukt, maar afhankelijk van de instelling is beveiliging wellicht Niet genoeg. Wees voorzichtig wanner u commuiceert via de draadloze Bluetooth-technologie.
- We zijn nicht verantwoordelijk voor het lekken van informatiekijdens de Bluetooth-communicatie.
- We können nicht garanderen dat een verbinding tot stand kan worden gebracht met alle Bluetooth-apparaten.
- Apparaten met Bluetooth-functions要去en voldoen aan de Bluetooth-norm die is vastgesteld door Bluetooth SIG, en要去en zijn gereifieerd.
-Zelfs als het aangesloten apparaat voldoet aan de hierboven vermelde Bluetooth-norm, kan met sommige apparaten wellicht geen verbinding worden gemaakt of functioniert het apparaat Niet correct, afhankelijk van de kenmerken of technische gegevens van het apparaat. -
Wanneru handsfree belt via de telefoon, kan ruis optreden, afhankelijk van het apparaat of de omgeving.
-
Afhankelijk van het apparaat dat worden aangesloten, kan het enigeijd duren voordat de communicatie worden gestart.
Overige
- De Bluetooth-functionie van een mobiele telegram functioneert möglichnest correct, afhankelijk van radiogolven en de locatie waar het apparaat worden gebruikt.
- Als u ongemakken ondervindt na het gebruik van een Bluetooth-apparaat, moet u meteen stoppen met het gebruik van het Bluetooth-apparaat. Als het probleem daarmee Niet is verholpen, raadpleegt u de dichtst bijzijnde Sony-handelaar.
Met alle vragen of problemen met betrekking tot dit apparaat die nicht aan bod komen in deze gebruiksaanwijzing, sunt u terecht bij uw Sonyhandelaar.
Onderhoud
De lithiumbatterij van de kaartafstandsbediening verrangen
Onder normale omstandigheden gaat de batterij onceveer 1aar mee. (Afhankelijk van de gebruiksomstandigheden kan de levensduur korter zichn.)
Wanner de batterij verzwakt, worden het bereik van de kaartafstandsbediening kleiner. Vervang de batterij door een{nieuwe CR2025-lithiumbatterij. Bij een andere batterij bestaat er brand- of explosiegevaar.

Opmerkingen over de lithiumbatterij
- Houd de lithiumbatterij buiten het bereik van kinderen. Raadpleeg meteen een arts wanner een batterij wordt ingeslikt.
- Veeg de batterij schoon met een droge doek voor een goed contact.
Houd bij hetplaatsen van de batterij rekening met de juiste polariteit. - Houd de batterij Niet vast met een metalen tang, om kortsluiting te voorkomen.
WAARSCHUWING
Bij oneigenlijk gebruik kan de batterij ontploffen.
Probeer Niet de batterij op te laden of te openen; werp ook een lege batterij nooit in het vuur.
Zekeringenvangen
Vervang een zekering algijd door een identiek exemplaar. Als de zekering doorbrandt,要去 u de voedingsaansluiting controleren en de zekering verrangen. Brandt de zekering cervolgens nogmaals door, dan kan er spreke zijn van een defect in het apparatusat. Raadpleeg in dat geval de dichtstbijzijnde Sony-handelaar.

Het apparaat verwijderen
1 Plaats.beide ontgrendelingsstreutels tegelijkkertijd en duw hierop tot deze vastklikken.

Haakje wijntaar binnen.
2 Trek de ontgrendelingssteutels waar u toe om het apparaat los te make.

3 Schuif het apparaat UIT de houder.

Technische gegevens
Monitorgedeelte
Schermotype: Breedbeeld kleuren-LCD-schem
Afmetingen: XNV-L77BT/770BT: 7,0 inch XNV-L66BT/660BT: 6,1 inch
System: TFT-actieve matrix
Aantal pixels: 1.152.000 pixels
Kleurensysteme: PAL/NTSC/SECAM/PAL-M automatisch selecteren
Tuner
FM
Afstembereik: 87,5 - 108,0 MHz
Antenna-aansluiting: Aansluiting voor externe antennae
Tussenfrequentie: 150kHz
Bruikbare gevoeligheid: 10 dBf
Selectiviteit: 75 dB bij 400kHz
Signaal/ruis-afstand: 70 dB (mono)
Scheiding: 40 dB bij 1 kHz
Antenne-aansluiting: Aansluiting voor externe antennae
Tussenfrequentie: 25kHz
Gevoeligheid: MW: 26 V , LW: 45 V
DVD/CD-speler
Signaal/ruis-verhouding: 120 dB
Snelheidsfluctuations: Minder dan meetbare waarden
Regiocode: Aangeduid op de onderzijde van het apparatus
USB-speler
Draadloze communicatie
Communicationsystem:
Gezichtslijn ongeveeer 10m^*1
Frequentieband:
2,4 GHz-band (2,4000 - 2,4835 GHz)
Modulatiemethode: FHSS
Compatible Bluetooth-profielen*2:
1 Het werkelijkere bereik verschlapt afhankelijk van factoren, zoals obstakelsussen apparaten, magnetische velden om een magnetron, statische elektriciteit, ontvangstgevoeligheid, prestaties van de antennene, het besturingsystem, software, enzovoort.
2 De Bluetooth-standaardprofielen gegen het doel van Bluetooth-communicatie:tussen apparaten aan.
Versterker
Uitgangen: Luidsprekeruitgangen
Luidsprekerimpedantie: 4 - 8 ohm
Maximaaluitgangsvermögen: 52W× 4 (bij 4 ohm)
Algemeen
Uitgangen:
Video-uitgang (achter)
Audio-uitgangen (voor/achter)
Subwooferuitgang
Relaisaansluiting elektrische antenne
Aansluiting versterker
Ingangen:
Telephone ATT-bedieningsaansluiting
Aansluiting verlichtingsregelaar
Afstandsbedieningsingang
Antenne-ingang
Bedieningsaansluiting voor handrem
Microfooningang
Ingang voor achechteruit
Camera-ingang
AUX-audio-ingangen
AUX-video-ingangen
USB-signalingang
Aansluiting externe ingang
Voeding: 12 V gelijkstroom accu (negatieve aarde)
Afmetingen:
XNV-L77BT/770BT:
$$ \text {O n g e v .} 1 7 8 \times 1 0 0 \times 1 8 9 \mathrm {m m (b / h / d)} $$
XNV-L66BT/660BT:
$$ \text {O n g e v .} 1 7 8 \times 1 0 0 \times 1 7 3 \mathrm {m m (b / h / d)} $$
Montageafmetingen: Ongeveer 182 × 111 × 164 ~mm (b/h/d)
Gewicht:
XNV-L77BT/770BT:
Ongev. 2,7 kg
XNV-L66BT/660BT:
Ongev. 2,4 kg
Bijgeleverde accessoires:
Kaartafstandsbediening: RM-X170
Onderdelen voor installmente en aansluitingen (1 set)
Microfoon
CD-ROM (disc met toepassingen)
GPS-antenna
Navigatiemodule*
Autodock*
- geleverd door TomTom
Optionele accessoires/apparaten:
USB-kabel voor iPod: RC-200IPV
Achteruitkijkcamera:XA-R800C
Het is möglich dat uw handelaar Niet beschikt over sommige van de hierboven vermelde accessoires.
Vraag uw handelaar om meer informatie.
Octrooien in de Verenigde Staten en in andere landen vallen onder de licentie van Dolby Laboratories.
MPEG Layer-3 audio-codeertechnologie en -patenten gebruikt onder licentie van Fraunhofer IIS en Thomson.
Dit product wordt beschermd door bepaalde intellectuelle eigendomsrechten van Microsoft Corporation. Het gebruik of de verspreiding van dergelijkte technologie buiten dit product om is verboden zonder een licentie van Microsoft of een erkend dochterbedrijf van Microsoft.
Wijzigingen in ontwerp en technische gegevens voorbehonden zichonder Voorafgaande kennisgeving.
- Er werden geen halogene brandvertragende producten gebruikt in de betreffende printplaat/printplaten.
- In het omhulsel werden geen halogeen bevattende brandvertragende producten gebruikt.
- Als beschermings- en opvulmaterialaal werd er papier gebrukt.
Regiocode
Het regiosystem worden gebrukt om de software met auteursrechten te beveiligden.
De regiocode vindt u aan de onderkant van het apparaat en u=kunt alleen DVD's met een identieke regiocode op dit apparaat afspelen.
DVD's met het label afgespeeld.

kunnen ook worden
Als u een andere DVD probeert af te spelen, wordt het bericht "Playback prohibited by region code." op de monitor weergegeven. Ondanks dat een DVD in bepaalde regic lotien kan worden afgespeeld, wordt er möglich helemaal geen label op de DVD weergegeven. Dit is afhankelijk van de DVD.
Systeemvereisten voor de software op de bijgeleverde CD-ROM
Computer
CPU/RAM
- IBM PC/AT-compatible computer
-
CPU: Intel Pentium III Processor 450 MHz of hoger
-
RAM: 256 MB ofeer (voor Windows XP), 512 MB ofeer (voor Windows Vista of late
-
CD-ROM-station
- USB-poort
Besturingsystem
Windows XP, Windows Vista, Windows 7
Ga waar de volgende site voor ondersteuning voor meer informatie over compatibile edities of servicepacks: http://support.sony-europe.com/
Monitor
Hoge kleuren (16-bit) ofmeer, 800× 600 pixels ofmeer
Overig
Internetaansluiting
Opmerkingen
- De volgende systeomogevinen worden nicht ondersteund.
- Computers die nicht vergelijkbaar zijn met IBM PC's, Zoals Macintosh, enzovoort.
-Zelfgemaakte computers
-Computers met geuggrade besturingssystemen - Omgeving met meerdere schermen
- Multi-boot omgeving
- Virtual machine-omgeving
- Afhankelijk van de conditie van de computer, is gebruik weltucht nicht möglichk zichs met de aanbevolen omgeving.
Problemen oplossen
De onderstaande controliest kan u helpen bij het oplossen van problemen die zich met het apparaat können voordoen.
Voordat u de onderstaande controliest doormeemt, moet u eerst de aanwijzingen voor aansluiting en gebruik controleren.
Als het probleem Niet is opgelost, gaat u maar de volgende ondersteuningsssite.
Ondersteuningsssite
http://support.sony-europe.com/
Algemeen
Het apparaat worden nicht van stroom voorzien.
- Controller de aansluiting of de zekering.
- Als het apparaat wordenuitgeschakeld en het scherm verdwijnt, kan het apparaat Niet worden bediend met de afstandsbediening.
→ Schakel het apparatusat in.
De elektrische antenne heeft geen relaisdoos.
Geen pieptoon.
- De pieptoon is uitgeschakeld (pagea 58).
- Er is een optionele versterker aangesloten en u gebruikt de ingebouwde versterker Niet.
De geheugeninhoud is gewist.
- Er is op de hersteltoets gedrukt.
Sla opniew op in het geheugen. - De voedingskabel of de accu is losgekoppeld of nicht juist aangesloten.
Opgeslagen zenders enarendijzijn gewist. Dezekeringisdoorgebrand.
Maakt geluid wonneer de positie van het contactslot worden gewijzigd.
De kabels zich Niet goed verbonden met de voedingsaansluiting voor accessoires van de auto.
Het scherm verdwijnt van/verschijnt nicht op het monitor.
- De dimmer is ingesteld op "ON" (pagea 58).
- Het scherm verdwijnt als u (SOURCE/OFF) ingedrukt houdt.
Druk op / OFF op het apparaat tot het scherm worden weergegeven.
"M.OFF" wird aangeraakt en de functie voor het uitschakelen van de monitor worden geactiveerd (pageina 14).
Raak het scherm aan om het weer in te schakelen.
Het scherm reageert nicht correct op uw aanraking.
- Raak een deel van het scherm tegelijk aan. Als twee of meer delen tegelijk worden aangeraakt, werkht het scherm nicht correct.
- Pas het aanraakpunt op het scherm aan (pagea 55).
De functie voor automatisch uitschakelen werkt nicht.
Het apparaat is ingeschakeld. De functie voor het automatisch uitschakelen worden geactiveerd nadat het apparaat isuitgeschakeld.
→Schakel het apparatusaatuit.
De kaartafstandsbediening werkt nicht.
Als de functie voor het uitschakenen van de monitor is ingeschakeld (geen verlichting), kan de kaartafstandsbediening Niet worden gebruikt (pageina 14).
Niet-beschikbare menu-items worden in grijs weergegeven.
AUX kan nicht worden geselecteerd als bron.
Alle AUX-inganginstellingen zijn ingesteld op "OFF".
→Stel "AUX1 Input"/"AUX2 Input" in op "Video" of "Audio" (page 66).
Radio-ontvangst
De zenders können nicht worden ontvangen. Het geluid is gestoord.
- De aansluiting is nicht juist.
→ Sluit de bedieningskabel elektrische antennne (blauw) of voedingskabel voor accessoires (rood) aan op de voedingskabel van de auto-antenneversterker (alleen als uw auto is uitergrust met een FM/MW/LW-antenne in de weiter- of zijrucht).
Controller de aansluiting van de auto-antenne.
Als de automatische antenne Niet uitschuift, controliert u de aansluiting van de bedieningskabel van de elektrische antenne.
Er kan nicht worden afgestemd op voorkeurzenders.
- Sla de juiste frequente op in het geheugen.
- Het ontvangstsignaal is te zwak.
Er kan nicht automatisch worden afgestemd op zenders.
- De lokale Zoekfunctie is nicht correct ingesteld.
Het afstemmen worden te vaak onderbroken: Stel "Local" in op "ON" (pageina 20).
→ Het afstemmen stopt nicht bij een zender: Stel "Mono" in op "ON" (pageina 20). - Het ontvangstsignaal is te zwak.
→Stem handmatig af.
Tijdens FM-ontvangst knippert de aanduiding "Stereo".
- Stem nauwkeurig af op de frequentie.
- Het ontvangstsignaal is te zwak.
→Stel "Mono" in op "ON" (pagea 20).
Een stereo-uitzending van een FM-programma wordt in mono weergegeven.
Het apparatusaat staat in de mono-ontvangststand.
→Stel "Mono" in op "OFF" (pagea 20).
RDS
Seek begint na enkele seconden weergave.
De zender is geen TP-zender of heeft een zwak signaal.
→Schakel TA uit (pagea 26).
Geen verkeersformatie.
- Schakel TA in (pagea 26).
- De zender is een TP-zender, maar zendt noch geen verkeersinformatie UIT.
→Stem af op een andere zender.
PTY geeft "None" weer.
- De huidige zender is geen RDS-zender.
- Erijken geen RDS-gegevens ontvangen.
- De zender geeft het programmatype Niet door.
De programmaservicenaam knippert.
Er is geen alternatievre familie voor de huidige zender.
→ Raak /▶/▶ an verwijl de programmaservicenaam knippert. "PI Seek" worden weergegeven en het apparaat gaat zoeken maar een andere freqente met verzelfde PI-gegevens (programma-identificatie).
Beeld
Er worden geen afbeelding of een onduidelijke afbeelding weergegeven.
- Het apparaat is Niet goed aangesloten.
- Controller de aansluiting van het aangesloten apparaat en stel de bronkeuzeschakelaar in op dit apparaat.
- Disc defect of vuil.
- Het apparaat is Niet goed geinstalleerd.
Installeer het apparaat onder een hoek van minder dan 45^ op een stabiele plaats in de auto.
- De parkeerremkabel (lichtgroen) is nicht aangesloten op het schakelsnoor van de handrem of de parkeerrem worden Niet gebruikt.
De afbeelding past Niet op het scherm.
Er worden een vaste breedte-/hoogteverhouding op de DVD gezruikt.
Er worden geen afbeelding of een onduuidelijkefabeelding weergegeven op de monitorachterin.
- Een bron/stand die nicht is aingesloten, is geseleteerd. Als er geen invoer is, worden er geen beeld weergegeven op de monitor hinterin.
- Deinstalling voor het kleursysteme is onjuist.
→Stel het kleursystem in op "PAL" of "NTSC" op basis van de aangesloten monitor (pagea 58).
- Het beeld van dechteruitkijkcamera worden weergegeven op dit apparatus.
Er worden geen beeld weergegeven op de monitor hinterin als het beeel van dechteruitkijkcamera worden weergegeven op dit apparaat.
vervolg op volgende pagina
Geluid
Er is geen geluid/het geluid verspringt/het geluid kraakt.
- Het apparaat is nicht goed aangesloten.
- Controleer de aansluiting van het aangesloten apparaat en stel de bronkeuzeschakelaar in op dit apparaat.
Disc defect of vuil. - Het apparaat is Niet goed geinstalleerd. →Instalerer het apparaat onder een hiek van minder dan 45^ op een stabiele plaat in de auto.
- De bemonsteringsfrequentie van het MP3-bestand is niet 32, 44,1 of 48kHz
- De bemonsteringsfrequentie van het WMA-bestand is Niet 32, 44,1 of 48kHz
- De bemonsteringsfrequentie van het AAC-bestand is niet 44,1 of 48kHz
- De bitsnelheid van het MP3-bestand ligt nicht:tussen 48 en 192 kbps.
- De bitsnelheid van het WMA-bestand ligt Nietussen 64 en 192 kbps.
- De bitsnelheid van het AAC-bestand ligt NietCUSen 40 en 320 kbps.
- Het apparaat staat in de pauzestand of er worden terug/vooruitgespoeld.
- De instellingen voor de uitvoerলen Niet juist.
- Het DVD-uitvoerniveau is te laag (pagea 28).
- Het volume is te laag.
- De ATT-functionie is ingeschakeld of de Telephone ATT-functionie (als de interfacekabel of een autotelefon is aangesloten op de ATT-kabel) is ingeschakeld.
- De positie van de faderregelaar "Fader" is nicht ingesteld op een system met 2 luidsprekers.
- Niet-ondersteunde indeling (zoals DTS). Controller de inde linding worden ondersteund door dit apparatusat (pagea 11).
Het geluid bevat ruis.
Houd de kabels bij elkaar uit de buurt.
Discbediening
De disc kan nicht worden geplaatst.
- Er zit al een disc in het apparaat.
- De disc is met kracht omgekeerd of in de verkeerde richting geplaatst.
De disc worden nicht afgespeeld.
- Disc defect of vuil.
- De disc is nicht geschickt.
- De DVD is nicht geschickt vanwege de regiocode.
- De disc is nicht gefinaliseerd (pagea 68).
- De discindeling en de bestandsversie zijn nicht compatibel met dit apparaat (pagea 11, 68).
Druk op om de disc te verwijderen.
MP3-/WMA-/AAC-/JPEG-/DivX-/MPEG-4-bestanden worden nicht afgespeeld.
- De opname is nicht uitgevoerd conform ISO 9660 Level 1 of Level 2 of de indeling Joliet of Romeo in expansie-indeling (DATA CD) of de UDF Bridge-indeling (DATA DVD) (pagea 68).
- De bestandsextensie is onjuist (pagea 69).
- Bestanden zich Niet opgeslagen in MP3-/WMA-/ AAC-/JPEG-/DivX-/MPEG-4-indeling.
- Als de disc meerdere bestandstypen bevat, kan alleen het geseeteerde bestandtype (audio/video/beeld) worden afgespeeld.
Selecteer het gewenste bestandstype in de lijst (pagina 39).
MP3-/WMA-/AAC-/JPEG-/DivX-/MPEG-4-bestanden worden minder snel afgespeeld dan andere bestanden.
Bij de volgende discs duurt het langer voordat het afspelen worden gestart:
- discs opgenomen met een ingewikkelde structuur;
- discs die in Multi Session/Multi Border zijn opgenomen;
- discs waaraan gegevens hunnen worden toegevoegd.
De disc worden Niet vanaf het begin afgespeeld.
Het afspelen van een ofeer discs (pagina 64) is hervat.
Bepaalde functies können nicht worden gebrukt.
Mogelijk zijn bepaalde handelingen Niet beschikbaar, zoals stoppen, Zoeken, herhaaldelijk/willekeurig afspelen. Dit is afhankelijk van de disc. Raadpleeg de handleiding die bij de disc is geleverd voor meer informatie.
De soundtrack/taal van ondtertiteling of de hoek kan nicht worden gewijzigd.
- Gebruik het DVD-menu in plaatsvan de selectietoets op de kaartafstandsbediening (pagea 21).
- Er zijn geen meertalige tracks, meertalige ondertitelis ofeerderhehoeken opgenomen op deDVD.
- De instellingen van de DVD können nicht worden gewijzigd.
De bedieningstoetsen werken nicht. De disc worden nicht uitgeworpen.
Druk op de hersteltoets (pageina 17).
U bent het wachtwoord voor het kinderslot vergeten.
Geef in het scherm voor het invoeren van het wachtwoord "5776" op om het apparaat te ontgreendelen (pageina 29).
USB afspelen
U aunt items Niet via een USB-hub afspelen.
Dit apparaat kan geen USB-apparaten via een USB-hub herkennen.
Er können geen items worden afgespeeld.
Sluit het USB-apparaat opnieuw aan.
Het duurt langer om af te spelen op het USB-apparaat.
Het USB-apparaat bevat grote bestanden of bestanden met een ingewikkelde structuur.
U hoort een pieptoon.
Tijdens het afspelen is het USB-apparaat losgekoppeld.
→ Voordat u een USB-apparaat loskoppelt, moet u eerst het afspelen stoppen ter bescherming van de gegevens.
Het geluid wordt onderbroken.
Het geluid kan worden onderbroken bij een hoge bitsnelheid van meer dan 320 kbps.
Bluetooth-functie
Het andere Bluetooth-apparaat kan dit apparaat Niet vinden.
- Stel "Signal" in op "ON" (pagea 51).
- Stel "Discoverable" in op "Show" (pagea 51).
- Als u verbinding maakt met het andere Bluetooth-apparaat, kan dit apparaat Niet worden herkend vanaf een ander apparaat. Voor herkenning op een ander apparaat verbreekt u de huidige verbinding en zoekt u dit apparaat vanaf het andere apparaat. U kunt opnieuw verbinding makes met het apparaat waarmee u de verbinding hebt verbroken. Selecteer het apparaat in de lijst met gereistreerde apparaten.
Dit apparaat kan het andere Bluetooth-apparaat Niet vinden.
Controleer de Bluetooth-instelling van het andere apparatus.
Er kan geen verbinding worden gemaakt.
- Zoeken vanaf dit apparaat is wellicht nicht möglichk, afhankelijk van het andere apparaat.
Zoek dit apparatusat vanaf het andere apparatusat. - Zoeken vanaf dit apparaat is wellicht nicht möglichk, afhankelijk van de status van het andere apparaat.
Zoek dit apparaat vanaf het andere apparaat. - Controller de koppelings- en verbindingsprocedures aan de hand van de handleiding van het andere apparaat, enzovoort en voer de bewerking opnieuwuit.
De naam van het gezonden apparaat worden nicht weergegeven.
Afhankelijk van de status van het andere apparaat kut u de naam möglichniet ophalen.
Geen beltoon.
- Zet het volume harder als u een gesprek ontvangt.
- Afhankelijk van het te verbinden apparaat worden de beltoon wellicht Niet op de juiste manier verzonden.
→Stel "Ringtone" in op "Default" (pagea 51).
Het volume van de spreker is te zacht.
Zet het volume harderijdens een gesprek.
De person waarmee u belt, zegt dat het volume te laag of te hoog is.
Pas het niveau van "MIC Gain" aan (pagea 46).
Er treedt echo of ruis op in de telefoongesprekken.
- Verlaag het volume.
- "EC/NC Mode" is ingesteld op "OFF".
→Stel "EC/NC Mode" in op "Mode 1" of "Mode 2" (pagina 51). - Als anders omgevingsgeluid dan het geluid van het telefoongesprek te hard is, probeert u dit geluid te beperken.
Bijvoorbeeld: als er een raam open staat en het verkeer veel lawaai maakt, sluit u het raam. Als de airconditioning veel lawaai maakt, zet u de airconditioning zachter.
De geluidskwaliteit van de telefoon is slecht.
De geluidskwaliteit van de telefoon is afhankelijk van de ontvangstomstandigheden van de mobiele telefoon.
Verplaats uw auto waar eenplaats waar het signal van de mobiele telefoon sterker is als de ontvangst slecht is.
Het volume van het verbonden Bluetooth-apparaat is laag of hoog.
Het volume is afhankelijk van het Bluetooth-apparaat.
Verminder het verschil in volumeniveau tussen dit apparatus en het Bluetooth-apparaat (pagea 51).
Er worden geen geluid uitgevoerdijdens audio streamen.
Het verbonden Bluetooth-apparaat is onderbroken.
Annuleer de onderbreking van het Bluetooth-apparaat.
Het geluid verspringtijdens het streamen van audio.
-
Verklein de afstand zusammen het apparaat en het Bluetooth-apparaat.
-
Als het Bluetooth-apparaat in een houder worden bewaard die het signalan kan verstoren, verwijdert u de houderijdens het gebruik.
-
Er worden meerdere Bluetooth-apparaten of andere apparaten die radiogolven uitzenden, in de buurt gebrukt.
→Schakel de andere apparaten uit.
Vergroot de afstand tot de andere apparaten.
- Het geluid dat wordt afgespeeld stootijdelijk wonneer het apparaat verbinding maakt met een mobiele telefoon. Dit duidt Niet op een storing.
U kunt het verbonden Bluetooth-apparaat Niet bedierenijdens het streamen van audio.
Controller of het verbonden Bluetooth-apparaat AVRCP ondersteunt.
Bepaalde functies werken nicht.
Controleer of het te verbinden apparaat de betreffende functies ondersteunt.
De naam van de andere persoon worden nicht weergegeven wanner u een gesprek ontvangt.
- De naam van de andere person is Niet opgeslagen in het telefoonboek.
Opslaan in het telefoonboek (pagea 46). - De person die belt, heeft ingesteld dat zich/hera telefoonnummer nicht worden teergegeven.
Een gesprek worden per ongeluk beantwoord.
- De verbonden telefoon is ingesteld om automatisch een gesprek te starten.
"Auto Answer" op dit apparaat is ingesteld op "Short" of "Long" (pagea 51).
Koppelen is mistrukt door een time-out.
Afhankelijk van het te verbinden apparaat kan deijd waarin u de koppeling moet uitvoeren, kort zijn. Probeer het kopelen te voltooien binnen deijd door een toegangscode van een cijfer in te stellen.
Bluetooth-functie kan nicht worden bewerkt.
Schakel het apparaat UIT door 1 seconde op SOURCE/OFF te drukken en schakel het apparaat in.
Tijdens handsfree bellen wordt er geen geluid uitgevoerd via de autoluidsprekers.
Als het geluid wordt uitgevoerd via de mobiele telefoon, moet u de mobiele telefon instellen om het geluiduit te voeren via de autoluidsprekers.
Navigatiefunctie
Er worden niets op de display weergegeven wanner u overschakelt maar de navigatieweergave.
Schakel het contact uit en zet het cervolgens in de ACC-stand of druk op de reset-toets (pagina 17).
Raadpleeg bij problemen met de navigatiefunctie de brochure (verstrekt door TomTom) voor de navigatiemodule.
Foutmeldingen/berichten
Dit apparaat kan een te verbinden Bluetooth-apparaat Niet vinden.
Controller de Bluetooth-instelling van het te verbinden apparaat.
Het apparatus is bezig.
Wacht even en probeer het opnieuw.
Cannot read.
- Het apparaat kan de gegevens nicht lezen vanwege een probleem.
- De gegevens zijn beschadigd.
- De disc is beschadigd.
- De disc is nicht compatible met dit apparaat.
- De disc is nicht gefinaliseerd.
Disc Error
- De disc is vuil of is omgekeerd geplaatst.
Reinig de disc of plaats deze op de juiste manier. - Er is een lege disc in het apparaat geplaatst.
- De disc kan nicht worden afgespeeld wegens een probleem.
→Plaats een andere disc. - De disc is nicht compatibel met dit apparatus.
Plaats een compatibile disc in het apparaat. - Druk op om de disc te verwijderen.
Disc Reading...
Het apparaat leest alle bestands-/albumgegevens (map) op de disc.
Wacht totdat het lezen is voltooid en het aftspelen automatisch worden gestart. Afhankelijk van de discstructuur kan dit meer dan een minuut in beslag nemen.
Error
- Het USB-apparaat is nicht automatisch herkend. Sluit het apparaat opniew aan.
- De telefoonboekinhoud is gewijzigdijdens toegang tot de mobiele telefon. Open het telefoonboek opniew.
- Verbinding met het telefoonboek is verbroken door de mobiele telefoon. Open het telefoonboek opnieuw.
- Downloaden van het telefoonboek van de mobiele telefoon is mistrukt vanwege een probleem. Open het telefoonboek opnieuw (pagea 46).
- Bladeren door tefoonsoek van de mobiele telefooin is mislukt vanwege een probleem. Probeer opnieuw te bladeren (pagina 47).
- Weergave van telefoonboek van de mobiele telefoon is mistrukt vanwege een probleem. Probeer opnieuw wee ter geven (pagea 47).
Er is een geheugenfout opgetreden. Initialiseer de Bluetooth-instelling (pagea 51).
Er is geen mobiele telefoon aangesloten.
→Sluit een mobiele telefoon aan (pagea 43).
Hubs not supported.
Een USB-hub wordt nicht ondersteund op dit apparatus.
De lokale Zoekfunctie is ingeschakeld tijdens automatisch afstemmen.
No AF
Er is geen alternatievre familie voor de huidige zender.
No device found.
Geen apparaten in de lijst met geregistreerde Bluetooth-apparaten.
Voer koppeling uit met een Bluetooth-apparaat (pagina 41).
No playable data.
De disc bevat geen inhoud die kan worden afgespeeld.
No SensMe™ data on device.
Het verbonden USB-apparaat bevat geen gevevens voor de SensMe™-functie of de gevevens zijn verplaatst maar een verkeerde locatie op het USB-apparaat.
No TP
Het apparaat blijt zoekenaar beschikbare TP-zenders.
Offset
Er is weltlicht een interne storing.
Controleer de aansluiting. Als de foulmeling in het scherm blijft staan,要去 u de dichtstbijzijnde Sony-handelaar raadplegen.
De luidsprekers of versterkers zich nicht correct aangesloten.
Raadpleeg de bijelegeverde gebruksaanwijzing voor installment/aansluitingen om de aansluiting te controlenen.
Het USB-apparaat is overbelast.
Koppel het USB-apparaat los en wijzig de bron met SOURCE/OFF
Dit geeft aan dat het USB-apparaat buiten gebruik is of dat een apparaat is aangesloten dat nicht worden ondersteund.
De DVD kan nicht worden afgespeeld vanwege een andere regiocode.
Please push reset.
Dit apparaat of het USB-apparaat kan nicht worden bediend vanwege een probleem.
Druk op de hersteltoets (pagina 17).
Please reset Navi.
Bediening is nicht möglich als gevolg van een fout van de navigatiemodule.
Reset de navigatiemodule. Wanner u de navigatiemodule reset, is het belangrijk dat u de reset-toets longer dan 10 seconden ingedrukt houdt; als u dat Niet doet, worden de navigatiemodule nicht gesreset.
SensMe™ data Reading...
Het apparatus leest alle gegevens voor de SensMeTM-functie op het aangesloten USB-apparaat.
→Wacht tot het lezen is voltooid. Afhankelijk van de hoeveelheid gegevens, enzovoort, kan het enige tijd duren.
Ga waar de ondersteuningssite voor meer informatie over de compatibiliteit van het USB-apparaat.
Er is een probleem met de gevevens voor de SensMe™-functie, zoals een gewijzigde bestandsnaam, informatatie, enzovoort.
USB is geseleeteerd als bronze, maar er is geen USBapparaat aangesloten. Ein USB-apparaat of USB-kabel is losgekoppeld tjdens het afspelen.
→Sluit een USB-apparaat en USB-kabel aan.
USB Reading...
Het apparata leest alle bestands-/albumgegevens (map) op het aangesloten USB-apparaat.
Wacht totdat het lezen is voltooid en het afspelen automatisch worden gestart. Afhankelijk van de structuur, kan dit enige tijd duren.
De navigatiemodule is nicht aangesloten of wordt nicht herkend.
→ Sluit de navigativemodule aan op de autodock en wacht een ogenblick.
Koppel de navigatiemodule los van de autodock en sluit de module weer aan. Houd de reset-toets langer dan 10 seconden ingedrukt, als het probleem aanhoudt.
"LLL"of"T T T
Tijdens het nsel terug- of vooruitspoelen hebt u het begin of het einde van de disc bereikt en kunt u nicht verder.
"一
Het teken kan nicht worden weergegeven met het apparatus.
Als deze oplossingen nicht helpen,要去 de dichtstbijzijdene Sony-handelaar raadplegen. Als u het apparaat ter reparatie wegbrengt odomat discs Niet goed worden afgespeeld, kun t u het beste de disc meenemen waarmee het probleem is begonnen.
Taalspelling conform ISO 639:1988 (E/F).
Lijst met taalcodes
| Code | Taal | Code | Taal | Code | Taal | Code | Taal |
| 1027 | Afar | 1183 | Irish | 1347 | Maori | 1507 | Samoan |
| 1028 | Abkhazian | 1186 | Scots Gaelic | 1349 | Macedonian | 1508 | Shona |
| 1032 | Afrikaans | 1194 | Galician | 1350 | Malayalam | 1509 | Somali |
| 1039 | Amharic | 1196 | Guarani | 1352 | Mongolian | 1511 | Albanian |
| 1044 | Arabic | 1203 | Gujarati | 1353 | Moldavian | 1512 | Serbian |
| 1045 | Assamese | 1209 | Hausa | 1356 | Marathi | 1513 | Siswati |
| 1051 | Aymara | 1217 | Hindi | 1357 | Malay | 1514 | Sesotho |
| 1052 | Azerbaijani | 1226 | Croatian | 1358 | Maltese | 1515 | Sundanese |
| 1053 | Bashkir | 1229 | Hungarian | 1363 | Burmese | 1516 | Swedish |
| 1057 | Byelorussian | 1233 | Armenian | 1365 | Nauru | 1517 | Swahili |
| 1059 | Bulgarian | 1235 | Interlingua | 1369 | Nepali | 1521 | Tamil |
| 1060 | Bihari | 1239 | Interlingue | 1376 | Dutch | 1525 | Telugu |
| 1061 | Bislama | 1245 | Inupiak | 1379 | Norwegian | 1527 | Tajik |
| 1066 | Bengali; | 1248 | Indonesian | 1393 | Occitan | 1528 | Thai |
| Bangla | 1253 | Icelandic | 1403 | (Afan)Oromo | 1529 | Tigrinya | |
| 1067 | Tibetan | 1254 | Italian | 1408 | Oriya | 1531 | Turkmen |
| 1070 | Breton | 1257 | Hebrew | 1417 | Punjabi | 1532 | Tagalog |
| 1079 | Catalan | 1261 | Japanese | 1428 | Polish | 1534 | Setswana |
| 1093 | Corsican | 1269 | Yiddish | 1435 | Pashto; | 1535 | Tonga |
| 1097 | Czech | 1283 | Javanese | Pushto | 1538 | Turkish | |
| 1103 | Welsh | 1287 | Georgian | 1436 | Portuguese | 1539 | Tsonga |
| 1105 | Danish | 1297 | Kazakh | 1463 | Quechua | 1540 | Tatar |
| 1109 | German | 1298 | Greenlandic | 1481 | Rhaeto- | 1543 | Twi |
| 1130 | Bhutani | 1299 | Cambodian | Romance | 1557 | Ukrainian | |
| 1142 | Greek | 1300 | Kannada | 1482 | Kirundi | 1564 | Urdu |
| 1144 | English | 1301 | Korean | 1483 | Romanian | 1572 | Uzbek |
| 1145 | Esperanto | 1305 | Kashmiri | 1489 | Russian | 1581 | Vietnamese |
| 1149 | Spanish | 1307 | Kurdish | 1491 | Kinyarwanda | 1587 | Volapük |
| 1150 | Estonian | 1311 | Kirghiz | 1495 | Sanskrit | 1613 | Wolof |
| 1151 | Basque | 1313 | Latin | 1498 | Sindhi | 1632 | Xhosa |
| 1157 | Persian | 1326 | Lingala | 1501 | Sangho | 1665 | Yoruba |
| 1165 | Finnish | 1327 | Laothian | 1502 | Serbo- | 1684 | Chinese |
| 1166 | Fiji | 1332 | Lithuanian | Croatian | 1697 | Zulu | |
| 1171 | Faroese | 1334 | Latvian; | 1503 | Singhalese | ||
| 1174 | French | Lettish | 1505 | Slovak | |||
| 1181 | Frisian | 1345 | Malagasy | 1506 | Slovenian | 1703 | Niet vermeld |
Lijst met regiocodes
| Code | Taal | Code | Taal | Code | Taal | Code | Taal |
| 2044 | Argentinë | 2424 | Filipjinen | 2362 | Mexico | 2149 | Spanje |
| 2047 | Australë | 2165 | Finland | 2376 | Nederland | 2528 | Thailand |
| 2057 | België | 2174 | Frankrijk | 2390 | Nieuw-Zeeland | 2184 | Verenigd |
| 2070 | Brazilië | 2248 | India | 2379 | Noorwegen | Koninkrijk | |
| 2079 | Canada | 2238 | Indonesië | 2046 | Oostenrijk | 2499 | Zweden |
| 2090 | Chili | 2254 | Italië | 2427 | Pakistan | 2086 | Zwitserland |
| 2092 | China | 2276 | Japan | 2436 | Portugal | ||
| 2115 | Denemarken | 2304 | Korea | 2489 | Rusland | ||
| 2109 | Duitsland | 2363 | Maleisië | 2501 | Singapore |
A
AAC 11,69
Aanraakschem kalibreren
Achteruitkijkcamera 66
Afspeelbare discs 11
Afspeelbediening
Afspelen hervatten voor Multi
Afspelen in slow motion 23
Algemene instellingen
(General) 58
Automatisch uitschakelen
(Auto OFF) 58
AUX-niveau (Level) 66
B
Balans
Beveriligingsfunctie
Breedte-/hoogteverholding
schem (Aspect) 56, 62
C
Crossover-filter
(Crossover Filter) 61
D
Demonstratie (Demo) 62
Dimmer-instelling
(Dimmer) 58
Dimmerniveau
(Dimmer Level) 58
Discs 11
DivX Video-on-Demand
64, 69
DivX 11,69
Dolby Digital 28
Dolby D-niveau
(Dolby D Level) 28
DVD-afspeellijst afspelen
Geensignaal (No Signal)59
Geheugen voor Beste
afstemming (BTM) 25
Geluidsinstallingen
(Sound) 60
Gesture Command 39
H
Handsfree bellen 44
Herhaaldelijk afspelen
(Repeat) 30, 32, 37
Hoek (Angle) 23
Hoofdmenu van DVD
(Top Menu) 21, 23
Hoogdoorlaatfilter (HPF) 61
1
Indeling middenluidspreker
(CSO) 54, 60
Indelingen 11
Initialisatie Bluetooth-
installingen (Initialize) 51
Initielle instellingen
achteruitkijkcamera (Rear
View Camera Setting) 66
Instellingen voor
kinderbeveiling (DVD
Parental Control) 29, 62
Instellingen voor
randapparatuur (AUX1 Input,
AUX2 Input) 59, 66
Invoer acheteruitkijkcamera
(Camera Input) 59
iPod 36, 70
J
JPEG 11, 69
K
Kaartafstandsbediening
15, 17, 71
Klok instellen
(Clock Adjust) 65
Kloktijd (CT) 26, 27, 58
Klokweergave (Clock) 14, 62
L
Laagdoorlaatfilter (LPF) 61
Lijst weergeven (List) 38
Lokale Zoekfunctie (Local) 20
Luidsprekervolume
Opnieuw instellen 17
P
PAL 58
Passagiersbediening
(Passenger Control) 38
Picture EQ 55, 61
Programmatypen (PTY) 26
B
Radiogevevensystem
(RDS) 25
Randapparatuur 66
Rechtstreeks afspelen voor
DVD's
Uitvoer kleurensysteme
(Output Color System) 58
USB-apparaat 31
V
Verkeersinformatie
(TA) 25, 26
Verkeersprogramma (TP) 25
Volume 12, 13
W
Willekeurig afspelen
Hierbij verklaart Sony Corp. dat het toestel XNV-L77BT/770BT/L66BT/660BT in overeenstemming is met de essentiele eisen en de andere relevante bepalingen van richtlijn 1999/5/EG.
Nadere informatatie kunt u vinden op: http://www.compliance.sony.de/
SimpelGids