XNV-L77BT TOMTOM - GPS SONY - Kostenlose Bedienungsanleitung
Finden Sie kostenlos die Bedienungsanleitung des Geräts XNV-L77BT TOMTOM SONY als PDF.
Laden Sie die Anleitung für Ihr GPS kostenlos im PDF-Format! Finden Sie Ihr Handbuch XNV-L77BT TOMTOM - SONY und nehmen Sie Ihr elektronisches Gerät wieder in die Hand. Auf dieser Seite sind alle Dokumente veröffentlicht, die für die Verwendung Ihres Geräts notwendig sind. XNV-L77BT TOMTOM von der Marke SONY.
BEDIENUNGSANLEITUNG XNV-L77BT TOMTOM SONY
Bedienungsanleitung DE
Optimiseur des graves arrriere (RBE) 55, 62
P
PAL 59
Periphérique USB 31
Picture EQ 57, 63
Position d'écoute
Bitte nehmen Sie sich etwas Zeit, um den Geräte-Pass vollständig auszufüssen. Diese befindet sich auf der hinteren Umschlagseite dieser Bedienungsanleitung.
Montieren Sie这点es Gerät aus Sicherheitsgründen im Armaturenbrett des Fahrzeugs. Zur Installation und zum Anschluss siehe die mitgelieferte Installations-/Anschlussanleitung.
Zudieser Anleitung
- These Anleitung enthalt Anweisungen für das Modell XNV-L77BT, 770BT, L66BT und 660BT.
- In den Abbildungen ist als Beispiel das Modell XNV-L77BT zu sehen.
- Einzelheiten zur Navigationsfunktion finden Sie im Infoblatt (von TomTom mitgeliefert) zum Navigationsmodul.
Achtung
Um Feuergefahr und die Gefahr eines elektrischen Schlags zu vermeiden, setzen Sie das Gerät weder Regen noch sonstiger Feuchtigkeit aus. Um einen elektrischen Schlag zu vermeiden, öffnen Sie das Gehäuse nicht. Überlassen Sie Wartungsarbeiten stets qualifiziertem Fachpersonal.
VORSICHT
Die Verwendung optischer Instrumente zusammen mit dieser Produkt stellt ein Gesundheitsrisiko für die Augen dar. Der Laser-Strahl, den dieser CD/DVD-Player generiert, kann die Augen schädigen. Versuchen Sie davon nicht, das Gerät zu zerlegen. Überlassen Sie Wartungsarbeiten stets qualifiziertem Fachpersonal.
Dieses Etikett befindet sich an der Unterseite des Gehäuses.
Das Typenschild mit Betriebsspannung usw. befindet sich an der Geräteunterseite.
C
Hiermit erklart Sony Corp., dass sich thesex XNV-L77BT/770BT/L66BT/660BT in Übereinstimmung mit den grundlegenden Anforderungen und den anderen relevanten Vorschriften der Richtlinie 1999/5/EG befindet. Weitere Informationen erhältlich unter: http://www.compliance.sony.de/
Die Verwendung theses Funkgeräts ist in einem Umkreis von 20km um das Zentrum von NyÅlesund, Svalbard (Norwegen), nicht erlaubt.
Hinweis für Kunden: Die folgenden Informationen gelten nur für Geräte, die in Ländern verkauf werden, in denen EU-Richtlinien gelten
Der Hersteller theses Produktes ist Sony Corporation, 1-7-1 Konan Minato-ku Tokio, 108-0075 Japan. Bevollmachtigter für EMV und Produktssicherheit ist Sony Deutschland GmbH, Hedelfinger Strasse 61, 70327 Stuttgart, Deutschland. Für Kundendienst- oder Garantieangelegenheiten wenden Sie sichitte an die in Kundendienst- oder Garantiedokumenten genommen Adressen.

Entsorgung von gebrauchten elektrischen und elektronischen Geräten (anzuwenden in den Ländern der Europäischen Union und anderen europäischen Ländern mit einem separaten Sammelsystem für diese Geräte)
Das Symbol auf dem Produkt oder seiner Verpackung weist daraufhin, dass diese Produkt nicht als normaler Haushaltsabfall zu behandeln ist, sondern an einer Annahmestelle für das Recycling von elektrischen und elektronischen Geräten abgegeben werden muss. Durch ihren Beitrag zum korrekten Entsorgen these Products schützen Sie die Umwelt und die Gesundheit ihrer Mitmenschen. Umwelt und Gesundheit werden durch falsches Entsorgen gefährdet. Materialrecycling hilft, den Verbrauch von Rohstoffen zu verringn. Weitere Informationen zum Recycling cesdes Produkte erhalten Sie bei Ihr Gemeindeverwaltung, den communalen Entsorgungsbetrieben oder dem Geschäft, in dem Sie das Produkt gekauft haben.
Geeignetes Zubehör: Fernbedienung, Mikrofon, GPS-Antenne

Entsorgung von gebrauchten Batterien und Akkus (anzuwenden in den Ländern der Europäischen Union und anderen europäischen Ländern mit einem separaten
Sammelsystem für diese Produkte)
Das Symbol auf der Batterie/dem Akku oder der Verpackung weist daraufhin, dass diese nicht als normaler Haushaltsabfall zu behandeln sind. Ein zusätzliches chemisches Symbol Pb (Blei) oder Hg (Quecksilber) unter der durchgestruchenen Millionenne bedeutet, dass die Batterie/der Akku einen Anteil von mehr als 0,0005% Quecksilber oder 0,004% Blei enthalt. Durch ihren Beitrag zum korrekten Entsorgen dieser Batterien/Akkus schützen Sie die Umwelt und die Gesundheit ihrer Mitmenschen. Umwelt und Gesundheit werden durch falsches Entsorgen gefährdet. Materialrecycling hilf, den Verbrauch von Rohstoffen zu verringn.
Bei Produkten, die auf Grund ihrer Sicherheit, der Funktionalität oder als Sicherung vor Datenverlust eine ständige Verbindung zur eingebauten Batterie benögen, sollente die Batterie nur durch qualifiziertes Servicepersonal ausgetauscht werden.
Um sicherzustellen, dass die Batterie korrekt entsorgt wird, geben Sie das Produkt zwecks Entsorgung an einer Annahmestelle für das Recycling von elektrischen und elektronischen Geräten ab.
Für alle anderen Batterien entnehmen Sie die Batterieitte entsprechend dem Kapitel über die sichere Entfernung der Batterie. Geben Sie die Batterie an einer Annahmestelle fur das Recycling von Batterien/Akkus ab. Weitere Informationen uber das Recycling desses Produkte oder der Batterie erhalten Sie von Ihrer Gemeinde, den kommunalen Entsorgungsbetrieben oder dem Geschäft, in dem Sie das Produkt gekauft haben.
Hinweis zur Lithiumbatterie
Schützen Sie die Batterie vor übermäßiger Hitze, wie z. B. direktem Sonnenlicht, Feuer o. Å.
Warnhinweis, wenn die Zündung Ihres Fahrzeugs nicht über eine Zubehörposition (ACC oder I) verfügbar
Schalten Sie unbedingt die
Ausschaltautomatik ein (Seite 60).
Nach dem Ausschalten wird das Gerät dann
nach der voreingestellten Zeit automatisch
vollständig abgeschelt, so dass der
Autobatterie kein Strom mehr entzogen wird.
Wenn Sie die Aussenaltautomatik nicht
aktivieren, müssen Sie jedem Mal, wenn Sie
die Zündung aussalten, die Taste
(SOURCE/OFF) gedrückt halten, bis die
Anzeige ausgeblendet wird.
Erläuterungen zum Beenden des DemoModus (Demo)finden Sie auf Seite 64.
Sicherheitshinweise 8
Hinweise zur Installation. 8
Urheberrechte 9
Hinweise zu Bluetooth 10
Geeignete Discs und in dieser Anleitung verwendete Symbole 11
Lage und Funktion der Teile und Bedienelemente 12 Hauptgerit. 12 Kartenfernbedienung RM-X170. 15
Vorbereitungen
Zurücksetzen des Geräts 17
Vornehmender Anfangseinstellungen 17
Vorbereiten der Kartenfernbedienung 17
Grundfunktionen
Verwendend der Navigationsfunktion... 18
Radioempfang 19
Wiedergeben von Discs 21
Weitere Funktionen — Radio
Speichern und Empfangen von Sendern 25
Automatisches Speichern von Sendern BTM. 25
Manuelles Speichern von Sendern 25
EmpfangengespeicherterSender. 25
RDS. 25
Ubersicht. 25
Einstellen von AF und TA 26
Auswahlen des Programmtypes (PTY) 26
Einstellen der Uhrzeit (CT). 27
Weitere Funktionen - Discs
Verwendend der PBC-Funktionen — Wiedergabesteuerung. 27
Konfigurieren der Audioeinstellungen 28
Wechseln von Audiosprache/-format. 28
Wechseln des Audiokanals 28
Einstellen des Audioausgangspegels — Dolby D-Pegel. 29
Sperren von Discs - Kindersicherung 29
Aktivieren der Kindersicherung 29
Wechseln des Gebiets und der Altersfreigabestufe 29
Repeat und Shuffle Play 30
Direktutsche 31
Funktionen mit USB-Geräten
Wiedergabe mit einem USB-Gerät 31
Repeat und Shuffle Play 32
Wiedergeben von Musik je nach Stimmung SensMeTM 33 Vorbereitungen fur die SensMeTM-Funktion. 33 Installieren von „SensMeTM Setup" und „Content Transfer" auf dem Computer ... 33 Registrieren eines USB-Geräts mit „SensMeTM Setup" 34 Übertragen von Stücken auf das USB-Gerät mit „Content Transfer" 34 Wiedergeben von Stücken in einem Channel — SensMeTM channels. 34 Wiedergeben von Stücken über das Stimmungsdiagramm — SensMeTM mood 36
iPod-Funktionen
Starten der Wiedergabe an einem iPod. 37
Einstellen des Wiedergabemodus 38
Repeat und Shuffle Play 38
Direktes Bedieren eines iPod Direkte Steuerung 39
Fortsetzung auf der{nachsten Seite
Weitere nützliche Funktionen
Auflisten von Stücken/Bildern/Videodateien -List. 39
Auswahlen eines Stucks/Bildes/einer Videodatei 39
Auswahlen eines Dateityps .40
Suchen nach einem Stück durch Anspielern der Stücke - ZAPPIN™ 40
Bedienung mit dem Finger. 40
Freisprechanrufe und Audio-Streaming — Bluetooth
Vorbereitungen fur die
Bluetooth-Funktion 41
Grundlegende Verfahren bei der
Bluetooth-Funktion .41
Bluetooth-Statusanzeige .42
Installieren des externen Mikrofons .42
Pairing 42
Suchen von thisem Gerät aus 43
Suchen vom Bluetooth-Gerät aus 43
Verbindung. 44
Telefonieren mit Freisprecheinrichtung. 45
Tätigen von Anrufen. 45
Entgegenheiten von Anrufen. 46
Funktionen während eines Anrufs. 47
Verwalten des Telefonbuchs 47
Speichern von Telefonbuchdaten .47
Durchsuchen eines Telefonbuchs auf einem
Mobiletelefon .49
Löschen von Telefonbuchdaten. .49
Bearbeiten eines Kontaks. .49
Verwalten von Anrufdaten 50
Rufiste .50
Kurzwahl .50
Sperren von personlichen Daten .51
Audio-Streaming 51
Wiedergeben des Tons von einem Bluetooth-Gerät über these Gerät 51
Steuern des Bluetooth-Geräts mit diesen Gerät 52
Bluetooth-Einstellungen. 52
Klangeinstellungen
Auswahlen der Tonqualität — EQ7 53
Individuelles Einstellen der Equalizer-Kurve — EQ7 Tune 53
Einstellen der Klangeigenschaften 54
Optimieren des Klangs für die einzelnen Hörpositionen
— Intelligent Time Alignment 54
Präzise Kalibrierung der Hörposition — Optimieren des Intelligent Time Alignment 55
Lautsprecherkonfiguration und Einstellen der Lautstärke 55
Erstellen eines virtuellen mittleren Lautsprechers — CSO 55
Verwenden der Hecklautsprecher als Tiefsttonlautsprecher — RBE. 56
Einstellen der Lautsprecherlautstärke. 56
Monitoreinstellungen
Einstellen des Monitorwinkels (nur XNV-L77BT/770BT) 57
Touchscreen-Kalibrierung 57
Einstellen der Hintergrundanzeige 57
Auswahlen der Bildqualität — Picture EQ . 58
Anpassen der Bildqualität . 58
Auswahlen des Bildseitenverhältnisses. 58
Einstellungen
Vorgehen beim Vornehmen von Einstellungen 59
Allgemeine Einstellungen 60
Klangeinstellungen 62
Bildschirmeinstellungen 64
DVD- und andere Wiedergabeeinstellungen 64
Einstellen des Sicherheitscodes. 68
Einstellen der Uhr 68
Verwenden gesondert erhältlicher Geräte
Zusätzliche Audio-/Videogerate 69
Rückfahrkamera. 69
Rückfahrkameraeinstellungen 69
Weitere Informationen
Sicherheitsmaßnahmen 70
Hinweise zum LCD-Bildschirm .70
Hinweise zu Discs. 71
Wiedergabereihenfolge von MP3-/WMA-/-
AAC-/JPEG-/DivX®- /
MPEG-4-Dateien 72
Hinweise zu MP3-Dateien 72
Hinweise zu WMA-Dateien 72
Hinweise zu AAC-Dateien 72
Hinweise zu JPEG-Dateien. 72
Hinweis zu DivX-Video 72
Hinweis zu DivX Video-on-Demand . . . . 72
Hinweise zu MPEG-4-Dateien 73
Hinweise zum iPod 73
Informationen zur
Bluetooth-Kommunikation 73
Wartung 74
Ausbauen des Geräts 75
Technische Daten 75
Störungsbehebung 77
Fehleranzeigen/Meldungen. 81
Sprachcode-/Gebietscodeliste 83
Index 84
Support-Website
Wenn Sie Fragen haben oder die neuesten Support-Informationen zu dieser Produkt abrufen möchten, rufen Sieitte folgende Website auf:
http://support.sony-europe.com/
HierfindensiefolgendeInformationen:
- Modelle und Hersteller kompatibler digitaler Audioplayer
- Modelle und Hersteller kompatibler Mobiltelefone sowie früiggestellte
Fragen (FAQs) über die Bluetooth-Funktion
Sicherheitschinweise
- Beachten Sie stets die örtlichen Verkehrsregeln und -vorschriften.
- Wahlrend der Fahrt
Bedieren Sie das Gerät während der Fahrt nicht und schauen Sie nicht darauf. Andernfalls konnten Sie abgelenkt werden und einen Unfall verursachen. Wenn Sie auf das Gerät schauen oder es bedienen wollen, parken Sie das Fahrzeug zuvor an einer sicheren Stelle.
- Verwendten Sie die Einstellfunktionen nicht und führen Sie auch keine anderen Funktionen aus, die Sie vom Straβenverkehr ablenken können.
-
Schauen Sie aus Sicherheitsgründen beim Rückwärtsfahren unbedingt nach hinten und achten Sie auf die Umgebung, und bereits auch, wenn eine Rückfahrkamera angeschlossen ist. Verlassen Sie sich nicht allein auf die Rückfahrkamera.
-
Bei der Bedienung des Geräts
-
Greifen Sie nicht mit der Hand oder den Fingern in das Gerät und stecken Sie keine Fremdkörper hinein, während es in Betrieb ist. Andernfalls kann es zu Verletzungen oder zu Schäden am Gerät kommt.
-Bewahren Sie petite Gegenstände außerhalb der Reichweite von Kindern auf. - Achten Sie darauf, dass alle Fahrzeuginsassen die Sicherheitsgarte anlagen, damit es bei einer plötzlichen Bewegung des Fahrzeugs nicht zu Verletzungen kommt.
Unfallverhütung
Das Bild erscheint erst, nachdem Sie das Fahrzeug geparkt und die Parkbremse betätig haben.
Wenn das Fahrzeug während der Videowiedergabe zu fahren beginnt, erscheidt die folgende Warnmeldung und als Bild wird automatisch das Hintergrundbild angezeigt.
Der an REAR VIDEO OUT angeschlossene Monitor bleibt während der Fahrt eingeschaltet. Als Bild auf dem Display wirdzarw das Hintergrundbild angezeigt,aber der Ton wird weiterhin wiedergegeben.
Bedienen Sie das Gerät während des Fahrens nicht und schauen Sie auch nicht auf den Monitor.
Hinweise zur Installation
-
Dieses Gerät muss von qualifizierten Technikern oder Kundendienstfachleuten installiert werden.
-
Wenn Sie versuchen,这点 Gerät selbst zu installieren, müssen Sie es wie in der mitgelieferten Installations-/Anschlussanleitung erläutert ordnungsgemäß installieren.
-
Bei unsachgemäß Installation wird die Autobatterie möglicherweise entladen und es kann zu einem Kurzschluss kommt.
-
Wenn das Gerät nicht richtig Funktioniert, überprüfen Sieitte zuerst die Anschlüsse anhand der Erläuterungen in der mitgelieferten Installations-/Anschlussanleitung. Wenn die Anschlüsse in Ordnung sind, überprüfen Sie die Sicherung.
-
Achten Sie darauf, dass die Oberfläche des Geräts nicht beschädigt wird.
-
Achten Sie darauf, dass die Oberfläche des Gerats nicht mit Chemikalien wie Insektiziden, Haarspray, Insektenabwehrmitteln usw. in Berührung kommt.
-
Achten Sie darauf, dass das Gerät nicht langere Zeit mit Gummi oder Kunststoff in Berührung kommt. Andernfalls kann die Gehäuseoberflüche angegriffen werden oder sich verformen.
-
Befestigen Sie das Gerät bei der Installation unbedingt sicher.
- Schalten Sie bei der Installation unbedingt die Zündung aus. Wenn Sie das Gerät bei eingeschalteter Zündung installieren, wird die Autobatterie möglichereweise entladen und es kann zu einem Kurzschluss kommt.
- Achten Sie bei der Installation daraufuf, keine Leitungen oder Kabel irgendwelcher Art oder den Treibstofftank z. B. mit einem Bohrer zu beschädigend. Andernfalls besteht Feuer- und Unfallgebung.
- Bei den Kommunikationsfunktionen des Navigationsmodulus werden bereits wie bei einem Mobiletelefon Funkwellen ausgestrahlt. Installieren Sie das Navigationsmodul im Fahrzeug nicht in der Höhe von anderen elektronischen Geräten usw., um jegliche Art von Interferenzen zu vermeiden (nur XNV-L77BT/L66BT).

DIGITAL
Hergestellt unter Lizenz von Dolby Laboratories.
,Dolby" und das Doppel-D
Symbol sind Warenzeichen von Dolby Laboratories.
Microsoft, Windows, Windows Vista und Windows Media sowie die entsprechenden Logos sind Markenzeichen oder eingetragene Markenzeichen der Microsoft Corporation in den USA und/oder anderen Ländern.
,DVDVIDEO",,DVD-R",,DVD-RW",,DVD+R" und ,DVD+RW" sind Markenzeichen.

DivX, DivX Certified and die zugehöriger Logos sind eingetragene Markenzeichen von DivX, Inc.
Der Bluetooth-Schriftzug und die Bluetooth-Logos sind Eigentum von Bluetooth SIG, Inc., und ihre Verwendung durch die Sony Corporation erfolgt in Lizenz. Andere Markenzeichen und Produktnamen sind Eigentum der jeweiligen Rechteinhaber.
ZAPPIN ist ein Markenzeichen der Sony Corporation.

12 TONE
ANALYSIS
12 TONE ANALYSIS und das entsprechende Logo sind Markenzeichen der Sony Corporation.

WALKMAN®
"WALKMAN" und das "WALKMAN"-Logo sind eingetragsene Markenzeichen der Sony Corporation.

SensMeTM
SensMe und das SensMe-Logo sind Markenzeichen oder eingetragene Markenzeichen von Sony Ericsson Mobile Communications AB.

gracenote.
Die Musikerkennungstechnologie und die damit zusammenhängenden Daten werden von Gracenote® zur Verfügung gestellt. Gracenote ist der Branchenstandard im Bereich der Musikerkennungstechnologie und Bereitstellung damit zusammenhängender Inhalte. Weitere Informationen erhalten Sie unter www.gracenote.com.
CD- und musikbezogene Daten von Gracenote, Inc. Copyright © 2000-2010 Gracenote. Gracenote Software Copyright © 2000-2010 Gracenote. Für diesen Produkt bzw. diese Dienstleistung ist Gracenote Inhaber mindestens eines Patents. Eine Liste ausgewählter entsprechender Gracenote-Patente finden Sie auf der Website von Gracenote.
Gracenote, CDDB, MusicID, MediaVOCS, das Gracenote-Logo und die Logoschriftart sowie das Logo „Powered by Gracenote“ sind eingetragene Marken oder Marken von Gracenote in den Vereinigten Staaten von Amerika und/oder anderen Ländern.
Bei diesen Produkt werden Schriftdaten verwendet, die Sony von Monotype Imaging Inc. oder ihren Tochtergesellschaften in Lizenz überlassen wurden.
iPhone, iPod, iPod classic, iPod nano und iPod touch sind Markenzeichen der Apple Inc., die in den USA und anderen Ländern eingetragen sind.
Apple, Macintosh und iTunes sind in den USA und anderen Ländern eingetragene Markenzeichen der Apple Inc.
TomTom ist ein Markenzeichen von TomTom N.V.
DIESES PRODUKT WIRD UNDER DER MPEG-4 VISUAL PATENT PORTFOLIO-LIZENZ FÜR DEN PRIVATEEN UND NICT KOMMERZIELLEN GEBRAUCH DURCH DEN BENUTZER LIZENZIERT, UND ZWAR FÜR DAS DECODIEREN VON MPEG-4-VIDEOATEN, DIE VON EINEM BENUTZER IM PRIVATEEN, NICT KOMMERZIELLEN RAHMEN CODIERT WURDEN UND/ODER VON EINEM VIDEO-ANBIETER STAMMEN, DER ÜBER EINE LIZENZ VON MPEG LA ZUM ANBIETEN VON MPEG-4-VIDEOS VERFUGT. FÜR EINEN ANDEREN ZWECK WIRD KEINE LIZENZ ERTEILT ODER IMPLIZIT GEWAHRT. WEITERE INFORMATIONEN, AUCH ZU WERBE-, INTERNEN UND KOMMERZIELLEN ZWECKEN, UND LIZENZEN, SIND BEI MPEG LA, LLC, ERHALTLICH. SIEHE HTTP://WWW.MPEGLA.COM
Achtung
UNTER KEINEN UMSTÄNDEN ÜBERNIMMT SONY DIE HAFTUNG FÜR INDIREKTE, NEBEN- ODER FOLGESCHÄDEN ODER FÜR IRGENDWELCHE SCHÄDEN. DIESER HAFTUNGSAUSSCHLUSS GILT OHNE JEDE EINSCHRANKUNG FÜR ENTGANGENEN GEWINN, ENTGANGENES EINKOMMEN, DATENVERLUST, NUTZUNGSAUSFALL DES PRODUKTS ODER ZUGEHÖRIGER GERÄTE, AUSFALLZEITEN UND ZEITAUFWAND DES KÄUFERS, DIE AUF DIE VERWENDUNG DIESES PRODUKTS, DER HARDWARE UND/ ODER SEINER SOFTWARE ZURÜCKGEHEN ODER IN VERBINDUNG DAMIT AUFTRETEN.
WICTIGER HINWEIS!
Sicherer und effizienter Gebrauch
Jegliche Änderungen am Gerät, die ohne die ausdruickliche Genehmigung von Sony durchgefuhrt werden, können die Befugnis des Betreibers zur Verwendung des Geräts aufheben.
Bitte überprüfen Sie vor dem Gebrauch dieser Produktus, ob es auf nationaler Ebene Vorschriften oder Bestimmungen gibt, die die Verwendung von Bluetooth-Geräten einschranken.
Führn von Fahrzeugen
Erkundigen Sie sich in den Gebieten, in denen Sie unterwegs sind, nach Gesetzen und Vorschriften zum Gebrauch von Mobiltelefonen und Freisprecheinrichtungen.
Richten Sie ihre Aufmierksamkeit beim Fahren immer uneingeschränkt auf das Verkehrsgeschehen. Wenn die Verkehrssituation es erfordert, fahren Sie an den Straβenrand und halten Sie, bevor Sie einen Anruf tätigern oder entgegenhalten.
Herstellen einer Verbindung zu anderen Geräten
Wenn Sie eine Verbindung zu einem anderen Gerät herstellen, lessen Sie in der dazugehörigen Bedienungsanleitungitte die ausführlichen Sicherheitschinweise.
Hochfrequenzstrahlung
HF-Signale beeinträchtigen möglicherweise nicht ordnungsgemäß installierte oder unzureichend abgeschirmte elektronische Systeme in Kraftfahrzeugen, wie z. B. elektronische Kraftstoffeinspritzsysteme, elektronische Antiblockierysteme, elektronische Geschwindigkeitsregelsysteme oder Airbag-Systeme. Zur Installation oder Wartung these Geräts wenden Sie sichitte an den Fahrzeughersteller oder einen Vertreter des Herstellers. Eine fehlerhafte Installation oder Wartung kann gefährlich sein und zum Erlöschen der für diese Gerät gültigen Gewährleistung führen. Wenden Sie sichitte an den Fahrzeughersteller und klären Sie ab, ob der Gebrauch von Mobiletelefonen im Fahrzeug die Fahrzeugelektronik in ihrer Funktionsfähigkeit beeinträchtigen können. Überprüfen Sie regelmäßig, ob alle drahtlosen Geräte in Ihr Frem Fahrzeug richtig montiert sind und ordnungsgemäß faktionieren.
Notrufe
Verlassen Sie sich daher bei wichtigen Mitteilungen (wie z. B. medizinischen Notfällen) nicht ausschließlich auf elektronische Geräte.
Wenn Sie Anrufe tätigten oder empfangen wollen, denken Sie daran, dass die Freisprecheinrichtung und das elektronische Gerät, das mit der
Freisprecheinrichtung verbunden ist, eingeschaltet sein[Mn]und nur in Gebieten mit ausreichender Mobilfunksgesamtärke verwendet werden konnen.
Notrufe sind unter Umständen nicht bei allen Mobilfunknetzen möglich oder stehen bei Verwendung bestimmter Netzwerk Dienste und/oder Telefonfunktionen nicht zur Verflüglich.
Weitere Informationen erhalten Sie bei ihrem lokalen Mobilfunkanbieter.
Geeignete Discs und in dieser Anleitung verwendete Symbole
Auf thisem Gerät konnen verschiedene Video-/Audio-Discs wiedergegeben werden.
In der folgenden Tabelle sind die Discs aufgelistet, die von diesen Gerät unterstützen werden, sowie die Funktionen, die bei den einzelnen Disc-Typen zur Verpfugung stehen.
| Disc-Symbol in dieser Anleitung | Disc-Format | |
| VIDEO | DVD | DVD VIDEO |
| DVD-R*1 / DVD-R DL*1 / DVD-RW*1 (Videomodus/VR-Modus) | ||
| DVD+R*1 / DVD+R DL*1 / DVD+RW*1 | ||
| VCD | Video-CD (Version 1.0/1.1/2.0) | |
| AUDIO | CD | Audio-CD |
| CD-ROM*2 / CD-R*2 / CD-RW*2 |
1 Auch Audiodateien können gespeichert werden.
2 Auch Video-/Bilddateien können gespeichert werden.
Hinweis
"DVD" wird als allgemeine Bezeichnung für DVD VIDEOs, DVD-Rs/DVD-RWs und DVD+Rs/DVD+RWs verwendet.
In der folgenden Tabelle sehen Sie die entsprechenden Komprimierungsformate mit den entsprechenden Dateitypen.
Die verfügbar Funktionen sind unabhängig vom Disc-Typ. Sie hangen vom Format ab. Die Formatsymbole unter erschinen Neben der Beschreibung der Funktionen, die in dem betreffenden Format zur Verflugung stehen.
| Formatsymbol in dieser Anleitung | Datetyp |
| MP3 | MP3-Audiodatei |
| WMA | WMA-Audiodatei |
| AAC | AAC-Audiodatei |
| JPEG | JPEG-Bilddatei |
| DivX | DivX®-Videodatei |
| MPEG-4 | MPEG-4-Videodatei |
Tipp
Erläuterungen zu den Komprimierungsfornaten finden Sie auf Seite 72.
Hinweis
Je nach Zustand der Aufnahme können auchCompatible Discs auf thism Gerat nicht unbedingt wiedergegeben werden.
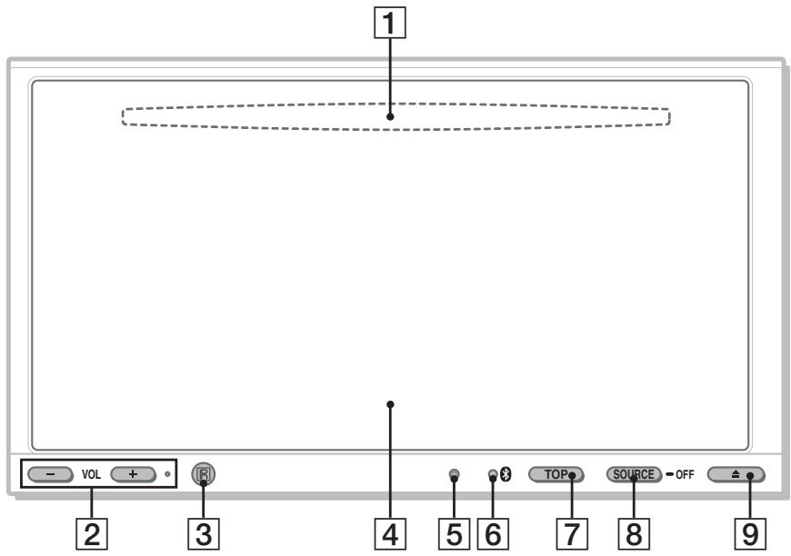
Hauptgerät
XNV-L77BT/770BT

Näheresfindensieaufden angegebenenSeiten.
Disc-Einschub (hinter der Frontplatte)
Seite 21
2 Tasten VOL (Lautstärke) - / + ^*
3 Empfänger für die Kartenfernbedienung
4 Display/Touchscreen
5 Rücksetztaste Seite 17
6 Anzeige (Bluetooth-Signal)
Seite 42
7 Taste TOP
Aufrufen des Hauptmenü.
8 Taste SOURCE/OFF
Einschalten des Geräts bzw. Wechseln der Signalquelle: „Tuner“ (Radio), „Disc“, „AUX“ (zusätzliches Gerät), „USB/iPod“, „BT Audio“ (Bluetooth-Audio) (drücken). Ausschalten des Geräts (1 Sekunde lang drücken). Vollständiges Abschalten des Geräts (mehr als 2 Sekunden lang drücken).
9 Taste (Öffnen/Schlieben) Seite 21
- An der Taste VOL + befindet sich ein fuhlbarer Punkt.

Naheresfindesieaufden angegebenenSeiten.
1 Taste (Auswerfen) Seite 22
2 Rücksetzstate Seite 17
3 Empfänger für die Kartenfernbedienung
4 Disc-Einschub Seite 21
5 Taste TOP Aufrufen der Quellenliste.
6 Anzeige (Bluetooth-Signal)
Seite 42
7 Lautstärkeregler
8 Taste SOURCE/OFF
Einschalten des Geräts bzw. Wechseln der Signalquelle: „Tuner“ (Radio), „Disc“, „AUX“ (zusätzliches Gerät), „USB/iPod“, „BT Audio“ (Bluetooth-Audio) (drücken). Ausschalten des Geräts (1 Sekunde lang drücken). Vollständiges Abschalten des Geräts (mehr als 2 Sekunden lang drücken).
9 Display/Touchscreen Fortsetzung auf der nachsten Seite
Bildschirmanzeigen
Wenn keine Signalquelle ausgewähl ist:

Hauptmenu:

Quellenliste:

1 Taste „Source List“ Aufrufer den Quellenliste.
2 Taste „Navi“/,Navigation Wechseln in den Navigationsmodus.
3 Taste „Top“ Aufrufen des Hauptmenüs.
4 Uhrzeitanzeige Seite 64, 68
5 Taste X (SchlieBen) Schlieben des Menus.
6 Taste „ATT“ (Dämpfen des Tons) Dämpfen des Tons. Zum Beenden der Funktion berühren Sie die Taste erneut.
7 Taste (Ansicht wechseln) Auswahlen des Ansichtsmodus: „Navigation Only“, „Dual Screen Navi + A/V (Large)“, „Dual Screen Navi + A/V (Small)”.
8 Taste (Einstellung) Aufrufen des Einstellmenus.
9 Taste „M.OFF“ (Monitorausschaltung)
Ausschalten des Monitors und der Tastenbeleuchting. Zum erneuten Einsatz berühren Sie eine beliebige Stelle auf dem Display.
10 Taste „AV Source“ Aufrufen der Quellenliste.
11 Taste „BT Phone“ Aktivieren des Bluetooth-Telefonmodus.
12 Quellenauswahltasten Wechseln der Signalquelle: „Tuner“ (Radio), „Disc“, „AUX“ (zusätzliches Gerät), „USB/ iPod“, „SensMeTM“, „BT Audio“ (Bluetooth-Audio).
Erscheint nur, wenn eine Signalquelle ausgewählt ist.

- Mit der Kartenfernbedienung{lsst sich die Tonwiedergabe problemlos steuern. Verwenden Sie fur Menufunktionen den Touchscreen.
- Nähresfinden Sie auf den angegebenen Seiten.
- Entfernen Sie vor Gebrauch die Isolierfolie (Seite 17).

Taste OFF
Ausschalten bzw. Stopen der Signalquelle (drucken).
Vollständiges Abschalten des Geräts (gedrückt halten).

Taste MONITOR OFF
Ausschalten des Monitors und der Tastenbeleuchtung. Zum erneuten Einsatz drücken Sie die Taste erneut.

Taste POSITION
Wechseln der Hörposition (.,Front L“/.,Front R“/.,Front“/.,All“/.,Custom“/.OFF").
4 Taste (Zurück)
Wechseln zur vorherigen Anzeige bzw. Wechseln zum Menu auf einer VCD*1.
5 Taste EQ (Equalizer)
Auswahlen einer speziellen Equalizer-Kurve aus 7 Musiktypen (.Xplod“/,Vocal“/,Edge“/ ,Cruise“/,Space“/,Gravity“/,Custom“/ ,OFF“).
6 Zahlentasten Seite 31
Radio:
Einstellen gespeicherter Sender (drücken). Speichern von Sendern (gedrückt halten).
Disc/USB:
Ansteuern von Titel/Kapitel/Stuck.
7 Taste CLEAR
Löschen einer eingegebenen Zahl.
Fortsetzung auf der{nachsten Seite
8 Taste ATT (Dampfen des Tons) Dampfen des Tons. Zum Beenden der Funktion drücken Sie die Taste erneut.
9 Taste II (Wiedergabe/Pause)
10 Tasten | | | | | | | | | | | | | | | | | | | | | | | | | | | | | | | | | | | | | | | | | | | | | | | | | | | | | | | | | | | | | | | | | | | | | | | | | | | | | | | | | | | | | | | | | | | | | |
Radio: Automatisches Einstellen von Sendern (drucken). Manuelle Sendersuche (gedrückt halten). Disc2/USB: Überspringen von Kapiteln/Stücken/Szenen/Dateien (drucken). Vorwarts-/Rückwärtsssuchen im Video (kurz gedrückt halten). Vorwarts-/Rückwärtsssuchen in einem Stück (gedrückt halten). Bluetooth-Audio3: Überspringen eines Titels (drucken). Vorwarts-/Rückwärtsssuchen in einem Stück (gedrückt halten).
11 Einstelltasten für die DVD-Wiedergabe
AUDIO: Wechseln von Audiosprache/-format. (Bei VCD/CD/MP3/WMA/AAC/MPEG-4 Wechseln des Audiokanals.)
SUBTITLE: Auswahlen der Untertitelsprache.
ANGLE: Wechseln des Blickwinkels.
TOP MENU: Aufrufen des Hauptmenü auf einer DVD.
MENU: Aufrufen des Menü auf einer Disc.
12 Taste ZAP Aufrufen des ZAPPIN™-Modus.
13 Tasten / / (Cursor)/ENTER
Seite 21
Bedienen des Menüs auf einer DVD.
14 Taste SRC (Quelle)
Einschalten bzw. Wechseln der Signalquelle: „Tuner“ (Radio), „Disc“, „AUX“ (zusätzliches Gerät), „USB/iPod“, „BT Audio“ (Bluetooth-Audio).
15 Taste MODE Auswahlen des Radiofrequenzbereichs (FM (UKW)/MW/LW) bzw. Auswahlen eines zusätzlichen Geräts (AUX1/AUX2)*4 (drucken).
16 Tasten VOL (Lautstärke) +/-
1 Bei der Wiedergabe mit PBC-Funktionen.
2 Die Vorgehensweise variiert je nach Disc (Seite 23).
3 Die Vorgehensweise variiert je nach dem angeschlossenen Bluetooth-Gerät.
4 Wenn zwei zusätzliche Geräte verwendet werden.
Hinweis
Wenn Sie das Gerät ausschalten und die Anzeige ausgebendet ist, können Sie es nicht mit der Kartenfernbedienung bedienen. Drücken Sie zunachst (SOURCE/OFF) am Hauptgerät oder legen Sie eine Disc ein, um das Gerät zu aktivieren.
Vorbereitungen
Zurücksetzen des Geräts
Bevor Sie das Gerät zum ersten Mal benutzen oder wenn Sie die Autobatterie ausgetaucht oder die Verbindungen gewechselt haben, müssen Sie das Gerät zurücksetzen.
Drücken Sie die Rücksetztaste (Seite 12) mit einem spitzen Gegenstand, wie z. B. einem Kugelschreiber.
Hinweis
Wen Sie die Rücksetzaste drucken, werden die eingestelle Uhrzeit und einige weitere gespeicherte Einstellungen gelöscht.
Vornehmendr Anfangseinstellungen
Nach dem Zurücksetzen erscheint die Anzeige für die Anfangseinstellungen.

1 Berühren Sie „Subwoofer“ und stellen Sie ein, ob ein Tiefsttonlautsprecher angeschlossen ist.
Stellen Sie ,ON" ein, wenn ein Tiefsttonlautsprecher angeschlossen ist, und ,OFF", wenn nicht.
2 Berühren Sie „Listening Position“ und stellen Sie die Hörposition ein.
Wenn sich ihre Hörposition vorne links befindet, wahren Sie „Front L“, bei vorne rechts wahren Sie „Front R".
3 Berühren Sie „Language“ und stellen Sie die Sprache für die Anzeigen ein.
Berühren Sie diese Option so oft, bis die gewünschte Sprache (Englisch/Spanisch/Russisch) erscheint.
4 Berühren Sie „OK“.
Die Einstellung ist damit abgeschlossen.
Präzisere Einstellungen können Sie später im Einstellmenu vornehmen.
- Nähres dazu, wie Sie einstellen konnen, ob ein Tiefstlonlautsprecher angeschlossen ist, finden Sie auf Seite 63.
- Naheres zum Einstellen der Hörposition finden Sie unter „Optimieren des Klangs für die einzelnen Hörpositionen — Intelligent Time Alignment" auf Seite 54.
- Nähres zum Einstellen der Anzeigesprache, finden Sie auf Seite 60.
Vorbereiten der Kartenfernbedienung
Bevor Sie die Kartenfernbedienung zum ersten Mal benutzen, entfern den Sie die Isolierfolie.

1 Schlieben Sie das Navigationsmodul an die Auto Dockinghalterung an.
Einzelheiten dazu finden Sie in der mitgelieferten Installations-/Anschlussanleitung.
2 Drücken Sie TOP und berühren Sie dann im Hauptmenu.
Die Anzeige zum Auswahlen des Ansichtsmodus erscheint.
Folgende Ansichtsmodusoptionen stehen zur Verfugung.
"Navigation Only": Nur die
Navigationsanzeigeist zu sehen.
"Dual Screen Navi + A/V (Large)": Die aktuelle Audio-/Videosignalquelle ist in der Navigationsanzeige zu sehen.
"Dual Screen Navi + A/V (Small)": Die Taste
für die aktuelle Audio-/Videosignalquelle ist in der Navigationsanzeige zu sehen.

3 Berühren Sie den gewünschten Ansichtsmodus.
Bei Auswahl von „Navigation only“
Die Navigationsanzeige erscheint und Sie können die Navigationsfunktion verwenden.
Bei Auswahl von „Dual Screen Navi + A/V (Large)" oder „Dual Screen Navi + A/V (Small)“
Die Anzeige zum Auswahlen der Position von Audio-/Videosignalquelle und Taste erscheint.
1 Berühren Sie die gewünschte Position.
Berühren Sie die Anzeige im Navigationsbereich. Die Audio-/Videosignalquelle und die Taste werden ausgeblendet und Sie konnen die Navigationsfunktion verwenden.

Weitere Einzelheiten zur Navigationsfunktion finden Sie im Infoblatt (von TomTom mitgeliefert) zum Navigationsmodul.
Hinweise
- Wahlend der Navigationsfunktion ist kein Betriebssignal zu horen, auch wenn „Beep“ auf „ON“ gesetzt ist.
- Die Navigationsfunktionlässt sich nicht über die Kartenfernbedienung ausführten.
- Die Sprachführung wird nur über die Frontlautsprecher ausgegeben und die Lautstärke für die Sprachführung ist unabhängig von der normalen Lautstärkeeinstellung.
So wechseln Sie zur aktuellen Audio-/Videosignalquelle
Halten Sie TOP gedrückt.
Wenn Sie wieder zurück zum Navigationsmodus wechseln wollen, halten Sie erneut gedrückt.
Wenn „Dual Screen Navi + A/V (Large)“ oder „Dual Screen Navi + A/V (Small)“ als
Ansichtsmodus ausgewählt wurde
Sie konnen auch folgendermaßen zur aktuellen Audio-/Videosignalquelle wechseln.
Bei „Dual Screen Navi + A/V (Large)“: Berühren Sie den Bereich für die aktuelle Audio-/Videosignalquelle.
Bei „Dual Screen Navi + A/V (Small)“: Berühren Sie 5.
Wenn Sie wieder zurück zum Navigationsmodus wechseln wollen, berühren Sie „Navi" in der
Empfangs-/Wiedergabeanzeige.
So trennen Sie das Navigationsmodul von diesen Gerät
Drücken Sie die Taste auf der Auto Dockinghalterung, um das Navigationsmodul zu losen, und nehmen Sie es dann ab.

Hinweis
Sie dürfen das Navigationsmodul nur anschließen und von diesen Gerät trennen, während die Zündung des Fahrzeugs ausgeschelt ist und die Stromanzeige nicht leuchtet.
Radioempfang
1 Berühren Sie „Source List" und dann „Tuner".
Im Hauptmenü berühren Sie „AV Source" und dann „Tuner".
Die Radioempfangsanzeige erscheint.

2 Berühren Sie „Band".
Die Frequenzbereichsliste erscheint.

3 Berühren Sie den gewünschten Frequenzbereich (.,FM1" (UKW1), FM2" (UKW2), ,FM3" (UKW3), ,MW" oder ,LW").
Zum Ausblenden der Frequenzbereichsliste berühren Sie „Band“.
4 Stellen Sie einen Sender ein.
So führen Sie einen automatischen Sendersuchlauf aus
Berühren Sie 14
Der Suchlauf stoppt, wenn ein Sender empfangen wird. Wiederholen Sie diesen Vorgang, bis das Gerät den gewünschten Sender empfängt.
So führen Sie einen manuellen Sendersuchlauf aus
Berühren Sie so oft, bis die gewünschte Frequenz eingestellt ist.
Damit die Frenzen schnell durchlaufen, berühren Sie eine Zeit lang.
Bedienelemente für den Radioempfang
Berühren Sie das Display, wenn die Bedienelemente für den Radioempfang nicht angezeigt werden.

| Nr. | Element | Funktion |
| 1 | „Source List“ | Aufrufen der Quellenliste. (Seite 14) |
| 2 | „ATT“ | Dämpfen des Tons. Zum Beenden der Funktion berühren Sie die Taste erneut. |
| 3 | „TA“ | Einstellen von TA bei einem RDS-Sender. (Seite 26) |
| 4 | „AF“ | Einstellen von AF bei einem RDS-Sender. (Seite 26) |
| 5 | „Navi“ | Wechseln in den Navigationsmodus. (Seite 18) |
| 6 | „Top“ | Aufrufen des Hauptmenüs. (Seite 14) |
| 7 | < / > | Manuelle Sendersuche. Damit die Frenzen schnell durchlaufen, berühren Sie die Option eine Zeit lang. |
| 8 | < / > | Automatische Sendersuche. |
| 9 | „Band“ | Öffnen der Frequenzbereichsstufe und Wechseln des Frequenzbereichs. |
| 10 | „Receive Menu“ | Aufrufen des Radioempfangsmenüs, das die folgenden Optionen enthalten. · „Mono“: Berühren Sie diese Option, um bei schlechtem UKW-Empfang in den monauralen Modus zu wechseln. Um wieder den Stereoempfang einzuschalten, wahren Sie „OFF“. · „Local“: Nur Sender mit starken Signalen werden eingestellt. Wenn auch Sender mit normal starken Signalen eingestellt werden sollen, wahren Sie „OFF“. · „Regional“ (Seite 26) |
| 11 | „Preset List“ | Auflisten gespeicherter Sender oder Speichern von Sendern. (Seite 25) |
| 12 | „PTY List“ | Aufrufen der PTY-Liste. (Seite 26) |
Anzeigen während des Radioempfangs

A Symbol für aktuelle Signalquelle1
Frequenzbereichsnummer, Speichernummer*2, Frequenz*3/Status
Lautstärkepegel4
Einstellstatus (CSO, EQ7, RBE)
1 Erscheint nur, wenn die Bedienelemente angezeigt werden.
2 Erscheint nur, wenn ein gespeicherter Sender eingestellt ist.
3 Wenn das Gerät einen RDS-Sender empfängt, entscheidiert der Programmdienstname. Näheres dazu finden Sie unter „RDS" auf Seite 25.
4 Wenn ATT eingeschaltet ist, wird angezeigt.
Wiedergeben von Discs
Bei bestimmten Discs sind bestimmte Funktionen unter Umständen anders oder eingeschränkt. Schlagen Sieitte in den mit derDiscgeliefertenAnweisungen nach.
XNV-L77BT/770BT
1 Drücken Sie am Hauptgerät.
Die Frontplatte öffnet sich automatisch.
2 Legen Sie eine Disc mit der beschriften Seite nach oben ein.
Die Frontplatte schließt sich automatisch und danach beginnnt die Wiedergabe.
XNV-L66BT/660BT
1 Legen Sie eine Disc mit der beschriften Seite nach oben ein.
Die Wiedergabe beginnt automatisch.
Wenn das DVD-MENU angezeigt wird
Berühren Sie die Option direkt im DVD-Menu.
Sie können auch den Menüsteuerbildschirm verwenden. Diese können Sie aufrufen, indem Sie das Display an einer anderen Stelle als im Menüoptionsbereich berühren. Berühren Sie / / zum Bewegen des Cursor und dann zum Bestätigten „Enter".
Wenn sich der Menüsteuerbildschirm durch Berühren des Displays nicht anzeigen{lsst, verwenden Sie die Kartenfernbedienung.
Hinweis zum DVD-Menu
Eine DVD enthalt Film- oder Tonaufnahmen, die in mehrere Abschnittte eingeteilt sind. Diese Abschnittte nennt man „Titel". Wenn Sie eine DVD abspielen, die mehrere Titel enthalt, können Sie den gewünschten Titel im DVD-Hauptmenu auswahlen. Wenn Sie DVDs abspielen, bei denen Sie Optionen wie die Sprache(n) für Ton und Untertitel auswahlen können, * wahlen Sie diese Optionen im DVD-Menu aus.
Wenn die Disc JPEG-Dateien enthalt
Die Bildpräsentation startet automatisch.
So stoppen Sie die Wiedergabe
Drucken Sie SOURCE/OFF 1 Sekunde lang.
Hinweis
Discs im DTS-Format werden nicht Unterstützung. Wenn Sie das DTS-Format auswahlen, wird kein Ton ausgegeben.
So lessen Sie die Disc auswerfen
XNV-L77BT/770BT
1 Drucken Sie am Hauptgerät.
Die Frontplatte öffnet sich automatisch und die Disc wird ausgeworfen.
2 Drucken Sie am Hauptgerät, um die Frontplatte zu schlieben.
Hinweis
Die Frontplatte schließt sich automatisch, wenn der Warnton ertont.
XNV-L66BT/660BT
Drucken Sie am Hauptgerät.
Bedienelemente für die Wiedergabe
Berühren Sie das Display, wenn die Bedienelemente für die Wiedergabe nicht angezeigt werden.

Bei allen Discs/Formaten gleich

DVD

VCD

JPEG
DivX
MPEG-4

CD
MP3
WMA
AAC
| Nr. | Element | Funktion |
| 1 | „Source List“ | Aufrufen der Quellenliste. (Seite 14) |
| 2 | „ATT“ | Dämpfen des Tons. Zum Beenden der Funktion berühren Sie die Taste erneut. |
| 3 | „TA“ | Einstellen von TA bei einem RDS-Sender. (Seite 26) |
| 4 | „AF“ | Einstellen von AF bei einem RDS-Sender. (Seite 26) |
| 5 | „Navi“ | Wechseln in den Navigationsmodus. (Seite 18) |
| 6 | „Top“ | Aufrufen des Hauptmenüs. (Seite 14) |
| 7 | ↓/→↑ | Überspringen von Kapiteln/Stücken/Szenen/Bildern/Dateien. Berühren Sie these Bedienelement etwas länger, um in einem Video vorwärts/rückwärts zuuchen, und berühren Sie es dann mehrmals, um die Geschwindigkeit zu ändern (×2→×12 →×120→×2...)*1. Zum Beenden der Funktion berühren Sie ➔II. Berühren Sie these Bedienelement eine Zeit lang, um in einem Audiostück vorwärts/rückwärts zuuchen. Berühren Sie ➔I im Pausemodus eine Zeit lang, um ein Video in Zeitlupe abzuspielen. Zum Beenden der Funktion lasen Sie das Bedienelement los. |
| 8 | II | Pause/Wiedergabefortsetzung nach einer Pause. |
| 9 | „Play Menu“ | Aufrufen des Wiedergabemenüs, das die folgenden Optionen enthalt. • „Repeat“/„Shuffle“ (Seite 30) • „Dolby D Level“ (nur DVD VIDEO-Wiedergabe) (Seite 29) • „Stereo“ (nur VCD-/CD-/MP3-/WMA-/AAC-Wiedergabe) (Seite 28) • „Image Turn“ (nur JPEG-Wiedergabe): Berühren Sie diese Option, um das Bild nach links/rechts zu drehen. • „Audio“ (nur DivX-/MPEG-4-Wiedergabe) (Seite 28) • „Subtitle“ (nur DivX-Wiedergabe): Berühren Sie diese Option mehrmals, um die Untertitel auszuschalten/die Untertitelsprache zu wahren.*2*3 |
| 10 | „DVD Control“ | Aufrufen des DVD-Steuermentüs, das die folgenden Optionen enthalt. • „Audio“: Berühren Sie diese Option mehrmals, um die Audiosprache/das Audioformat auszuwählen. (Seite 28)*2 • „Subtitle“: Berühren Sie diese Option mehrmals, um die Untertitel auszuschalten/die Untertitelsprache zu wahren.*2*3 • „Angle“: Berühren Sie diese Option mehrmals, um den Blickwinkel zu wechseln.*2 • „Top Menu“: Berühren Sie diese Option, um das Hauptmenü der DVD aufzurufen.*2 • „Menu“: Berühren Sie diese Option, um das Menü der Disc aufzurufen.*2 |
| 11 | „PBC Panel“ | Aufrufen des Steuerbildschirms für das PBC-Menü. (Seite 27) |
| 12 | „Album“ -/+ | Überspringen eines Albums (Ordners) bei der MP3-/WMA-/ AAC-/JPEG-/DivX-/MPEG-4-Wiedergabe. |
| 18 | „List“ | Auflisten von Stücken/Bildern/Videodateien. (Seite 39) |
| 14 | „ZAP“ | Aufrufen des ZAPPIN-Modus. (Seite 40) |
1 Die Geschwindigkeit hangt vom Format und vom Aufnahmeverfahren ab.
2 Nicht bei allen Discs verfügbar.
*3 Wenn die 4-stellige Eingabeaufforderung erscheint, geben Sie den Sprachcode (Seite 83) der gewündten Sprache ein.
Hinweis
Wenn eine Disc mehrere Dateitypen enthalt, kann nur der ausgewählte Dateityp (Audio/Video/Bild) wiedergegeben werden. Erläuterungen zum Auswahlen des Dateityps finden Sie unter „Auswahlen eines Dateityps" auf Seite 40.
Hinweise zur JPEG-Wiedergabe
- Wenn ein große bis Bild gedreht wird, dauert es länger, bis es angezeigt wird.
- Progressive JPEG-Dateien können nicht angezeigt werden.
Anzeigen während der Wiedergabe
Zum Einblenden der Anzeigen berühren Sie das Display.
Bei Audio-Discs sind während der Wiedergabe immer einige Anzeigen zu sehen.


A Symbol für aktuelle Signalquelle
Lautstärkepegel*1
Format, Wiedergabestatus, Verstrichene Wiedergabedauer*2, Nummer des Kapitals/Titels/ Albums (Ordners)/Stücks*3*4, Audioformat*5, Einstellstatus (CSO, EQ7, RBE)
Wiedergabestatus, Verstrichene Spieldauer*2
Stickname, Albumname, Interpretenname
F Albumcoveranzeige*6
Format, Stucknummer, Albumnummer*7, Einstellstatus (CSO, EQ7, RBE)
1 Wenn ATT eingeschaltet ist, wird ※ angezeigt.
2 Bei der JPEG-Wiedergabe und der VCD-Wiedergabe mit PBC-Funktionen erscheint keine Anzeige.
3 Welche Anzeigen zu sehen sind, hangt von der Disc bzw. vom Format ab.
4 Bei der Wiedergabe von VCDs mit PBC-Funktionen (Seite 27) erscheint keine Anzeige.
5 Nur DVD/DivX.
6 Die empfohlene Grübe beträgt zwischen 240 × 240 und 960 × 960 Pixel.
*7 Nur MP3/WMA/AAC.
Speichern und Empfangen von Sendern
Achtung
Wenn Sie während der Fahrt Sender einstellen, sollenn Sie die BTM-Funktion (Speicherbelegungsautomatik) verwenden. Andernfalls besteht Unfallgefahr.
Automatisches Speichern von Sendern — BTM
1 Berühren Sie „Source List“ und dann „Tuner“.
Zum Wechseln des Frequenzbereichs berühren Sie „Band" und wahlen dann den gewünschten Frequenzbereich („FM1" (UKW1), „FM2" (UKW2), „FM3" (UKW3), „MW" oder „LW").
2 Berühren Sie „Preset List" und dann „BTM".
Das Gerät speichert die Sender in der Reihenfolge der Frenquenzen in der Speicherliste (.P1" bis .P6"). Ein Signalton ist zu horen und die Einstellung wird gespeichert.
Manuelles Speichern von Sendern
1 Während der zu speichernde Sender empfangen wird, berühren Sie „Preset List".
2 Berühren Sie „Memory" und dann die Nummer in der Liste (.P1" bis .P6").
Die Nummer und eine Bestätigungsanzeige erscheinen im Display.
3 Berühren Sie „Yes".
Der Sender wird gespeichert.
Hinweis
Wenn Sie unter der gleichen Nummer einen anderen Sender speichern, wird der zuvor gespeicherte Sender ersetzt.
Tipp
Wenn ein RDS-Sender gespeichert wird, wird auch die AF/TA-Einstellung gespeichert (Seite 26).
Empfangen gespeicherter Sender
1 Wahlen Sie den Frequenzbereich und berühren Sie dann „Preset List".
2 Berühren Sie die gewünschte Nummer (.P1" bis .P6").
Ubersicht
UKW-Sender, die RDS (Radiodatensystem) unterstützt, strahlen zusammen mit den normalen Radioprogrammsignalen nicht hörbare, digitale Informationen aus.
Informationen im Display

A Frequenzbereichsnummer, Speichernummer, Frequenz (Programmdienstname), RDS-Daten, TA*1
Stereo*2, RDS*3, TP*4
Uhrzeitanzeige
1 Während einer Verkehrsdurchsage.
2 Beim UKW-Empfang.
3 Beim RDS-Empfang.
4 Beim Empfang eines Verkehrsfunksenders.
RDS-Funktionen
Mit thisem Gerät stehen folgende RDS-Funktionen automatisch zur Verflügung:
AF (Alternativefrequenzen)
In einem Netzwerk wird der Sender mit den stärksten Signalen ausgewählt und neu eingestellt. So konnen Sie auch bei einer langen Fahrt über eine große Entfernung hinweg ununterbrochen denselben Sender empfangen, ohneihn manuell neu einstehen zu müssen.
TA (Verkehrsdurchsagen)/
TP (Verkehrsfunk sender)
Aktuelle Verkehrsinformationen bzw. Verkehrsfunk sender werden empfangen. Wenn solche Informationen bzw. Sendungen empfangen werden, wird die geeade ausgewählte Signalquelle unterbrochen.
Fortsetzung auf der{nachsten Seite
PTY (Programmtypauswahl) Der gerade empfangene Programtmyp wird angezeigt. Außer dem kann nach dem ausgewählten Programtmyp gesucht werden.
CT (Uhrzeit)
Mit den CT-Daten (Uhrzeitdaten), die von RDS-Sendern ausgestrahlt werden, lässt sich die Uhr einstellen.
Hinweise
- Je nach Land bzw. Region stehen möglicherweise nicht alle RDS-Funktionen zur Verfügung.
- Die RDS-Funktion arbeitet möglicherweise nicht, wenn die Sendesignale zu schwach sind oder wenn der eingestellte Sender keine RDS-Daten ausstrahlt.
Einstellen von AF und TA
1 Berühren Sie während der Wiedergabe/des Empfangs „AF“ oder „TA“, um die Funktion zu aktivieren.
Wenn die Funktion aktiviert ist, wechselt die Tastenfarbe.
Zum Deaktivieren der Funktion berühren Sie die Taste erneut.
Speichern von RDS-Sendern zusammen mit der AF- und TA-Einstellung
Sie können zusammen mit den RDS-Sendern die AF/TA-Einstellung speichern. Mit der BTM-Funktion werden nur RDS-Sender mit derselben AF/TA-Einstellung gespeichert.
Beim manuellen Speichern von Sendern konnen Sie RDS- und Nicht-RDS-Sender mit unterscheidlicher AF/TA-Einstellung speichern.
1 Stellen Sie AF/TA ein und speichern Sie die Sender dann mit BTM oder manuell ab.
Empfangen von Katastrophenwarnungen
Wenn AF oder TA aktiviert ist, unterbrenchen Katastrophenwarnungen automatisch die ausgewählte Signalquelle.
Tipp
Wenn Sie die Lautstärke während einer Verkehrsdurchsage einstehen, wird der eingestellte Pegel für spätere Verkehrsdurchsagen gespeichert, und bzw. unabhängig von der sonst eingestellen Lautstärke.
Unveränderter Empfang eines Regionalsenders - Regional
Wenn die AF-Funktion aktiviert ist, wird der Empfang deses Gerats werkseitig auf eine bestimmte Region beschränkt, so dass nicht zu einem anderen Regionalsender mit einer stärkeren Frenzeweichselt wird.
Wenn Sie den Empfangsbereich des betreffenden Regionalsenders verlassen, deaktivieren Sie während des Empfangs eines UKW-Senders die Regionalsenderfunktion.
Berühren Sie „Receive Menu“ und dann das Feld „Regional“, um „OFF“ einzustellen.
Hinweis
These Funktion steht in Großbritannien und in einigen anderen Regionen nicht zur Verfugung.
Lokalsenderfungtion (nurGroßbritannien)
Mithilfe dieser Funktion konnen Sie andere Lokalsender auswahlen, auch wenn diese zuvor nicht unter einer Nummer gespeichert wurden.
1 Berühren Sie während des UKW-Empfangs „Preset List" und dann eine Nummer („P1" bis „P6”), unter der ein Lokalsender gespeichert ist.
2 Berühren Sie innerhalb von 5 Sekunden erneut die Nummer des Lokalsenders.
Wiederholen Sie diesen Vorgang, bis das Gerät den Lokalsender empfängt.
Auswahlen des Programmtypes (PTY)
1 Berühren Sie während des UKW-Empfangs „PTY List".
Die PTY-Liste erscheint, wenn der Sender PTY-Daten ausstrahlt.
Zum Blättern in der Seite berühren Sie / .
2 Berühren Sie den gewünschten Programmtyp.
Das Gerät sicht nach einem Sender, der den ausgewählten Programmtyp ausstrahlt.
Zum Schlieben der PTY-Liste berühren Sie „PTY List".
"News" (Nachrichten), „Current Affairs" (Aktuelles Zeitgeschehen), „Information" (Informationen), „Sport" (Sport), „Education" (Erziehung und Bildung), „Drama" (Hörspiele), „Cultures" (Kultur), „Science" (Wissenschaft), „Varied Speech" (Verschiedenes), „Pop Music" (Pop-Music), „Rock Music" (Rock-Music), „Easy Listening" (Unterhaltungsmusik), „Light Classics M" (Leichte Klassik), „Serious Classics" (Klassik), „Other Music" (Sonstige Musik), „Weather & Metr" (Wetter), „Finance" (Finanzberchte), „Children's Progs" (Kinderprogramme), „Social Affairs" (Magazinsendungen), „Religion" (Religion), „Phone In" (Höreterlefon), „Travel & Touring" (Reiseinformationen), „Leisure & Hobby" (Freizeitprogramm), „Jazz Music" (Jazz), „Country Music" (Country-Music), „National Music" (Volksmusik), „Oldies Music" (Oldies), „Folk Music" (Folk-Music), „Documentary" (Dokumentarbeiträge)
Hinweis
Sie können diese Funktion in Ländern/Regionen, in denen keine PTY-Daten zur Verfügung stehen, nicht verwenden.
Einstellen der Uhrzeit (CT)
1 Setzen Sie „CT“ bei der Konfiguration auf „ON“ (Seite 60).
Hinweise
Die CT-Funktion steht möglicherweise nicht zur Verflugung, auch wenn ein RDS-Sender empfangen wird.
Die mit der CT-Funktion eingestellte Uhrzeit ist nicht immer korrekt.
Weitere Funktionen - Discs
Verwendend der PBC-Funktionen — Wiedergabsteuerung
VCD
Bei der Wiedergabe einer PBC-kompatiblen VCD können Sie Funktionen über das PBC-MENU interaktiv ausführren.
1 Starten Sie die Wiedergabe einer PBC-kompatiblen VCD. Das PBC-MENU wird angezeigt.
2 Berühren Sie „PBC Panel“. Der Menüsteuerbildschirm wird angezeigt.
3 Berühren Sie die Zahlentasten, um die gewünschte Option auszuwahlen, und dann „Enter".
4 Gehen Sie bei den interaktiven Funktionen wie im Menu erläutert vor. Um zur vorherigen Anzeige zurückzuschalten, drücken Sie . Zum Ausblenden der Bedienelemente berühren Sie „Close".
Wiedergabe ohne PBC-Funktionen
1 Berühren Sie bei ausgeschalteten Gerät „Source List" und dann.
2 Berühren Sie „Visual". Das Wiedergabeeinstellmenu entscheid.
3 Berühren Sie / , um zu blättern, und dann „Video CD PBC“, um die Option auf „OFF“ zu setzen.
4 Starten Sie die Wiedergabe einer VCD. Das PBC-Menu entscheidint während der Wiedergabe nicht.
Hinweise
Die Menüoptionen und die Vorgehensweise variieren je nach Disc.
Während der PBC-Wiedergabe werden Stucknummer, Wiedergabeelement usw. in der Wiedergabeanseige nicht angezeigt.
- Eine Wiedergabefortsetzung ist bei der Wiedergabe ohne PBC nicht möglich.
Konfigurieren der Audioeinstellungen
Hinweis
Discs im DTS-Format werden nicht Unterstützung. Wenn Sie das DTS-Format auswahlen, wird kein Ton ausgegeben.
Wechseln von Audiosprache/ -format DVD DivX
Bei einer DVD können Sie die Audiosprache wechseln, wenn auf der Disc Tonspuren in mehreren Sprachen aufgezeichnet sind. Bei einer DVD/DivX-Disc können Sie das Audioformat wechseln, wenn auf der Disc mehrere Audioformate aufgezeichnet sind (z. B. Dolby Digital).
Bei der DVD-Wiedergabe
1 Berühren Sie während der Wiedergabe „DVD Control".
2 Berühren Sie „Audio“ so oft, bis die gewünschte Audiosprache/das gewünschte Audioformat erscheint.

Audioformat/Kanalanzahl*
Sie können für den Ton eine der verfügbaren Sprachen einstehen.
Wenn die 4-stellige Eingabeaufforderung erscheint, geben Sie den Sprachcode (Seite 83) der gewünschten Sprache ein. Wenn dieselbe Sprache mehrmals angezeigt wird, sind auf der Disc mehrere Audioformate aufgezeichnet.
- Der Name des Formats und die Kanalanzahl werden folgendermaßen angezeigt.
Beispiel: Dolby Digital-5.1-Kanal-Format

Zum Ausblenden des DVD-Steuermenüberschreiben Sie „DVD Control".
BeiderDivX-Wiedergabe
1 Berühren Sie während der Wiedergabe „Play Menu" und dann „Audio" so oft, bis das gewünschte Audioformat erscheint.
Zum Ausblenden des Wiedergabemenüberühren Sie „Play Menu".
Wechseln des Audiokanals

Bei der VCD-/CD-/MP3-/WMA-/AAC-/ MPEG-4-Wiedergabe konnen Sie auswahlen, welche Tonkanäle (rechts oder links) über die Lautsprecher rechts und links ausgegeben werden sollen.
Die Optionen sind im Folgenden angegeben.
2-Ch": Standardstereoton (Standarddeinstellung)
"L-Ch": Ton des linken Kanals (monaural)
"R-Ch": Ton des rechten Kanals (monaural)
Bei der VCD-/CD-/MP3-/WMA-/AAC-Wiedergabe
1 Berühren Sie während der Wiedergabe „Play Menu" und dann „Stereo" so oft, bis der gewünschte Audiokanal erscheint.
Beider MPEG-4-Wiedergabe
1 Berühren Sie während der Wiedergabe „Play Menu" und dann „Audio" so oft, bis der gewünschte Audiokanal erscheint.
Zum Ausblenden des Wiedergabemenü berühren Sie „Play Menu".
Hinweis
Bei manchen Discs halten sich die Audioeinstellungen unter Umständen nicht ändern.
Tipp
Die Verwendung der Kartenfernbedierung (mehrmaliges Drücken von (AUDIO) ist bereits möglich.
Einstellen des Audioausgangspegels — Dolby D-Pegel DVD
Sie können den Audioausgangspiegel einer im Dolby Digital-Format bespielten DVD einstellen, um den Lautstärkeunterschied zwischen Disc und Signalquelle zu verringn.
1 Berühren Sie während der Wiedergabe „Play Menu".
2 Berühren Sie das Feld „Adjust“, um die Option auf „ON“ zu setzen.
3 Berühren Sie mehrmals - / + , um den Ausgangspiegel einzustellen. Der Ausgangspiegel lasst sich schrittweise auf einen Wert zwischen -10 und +10 einstellen.
Zum Ausblenden des Wiedergabemenüberhren Sie „Play Menu".
Sperren von Discs — Kindersicherung
DVD
- Außer bei einer DVD-R/DVD-R DL/DVD-RW im VR-Modus.
Sie können eine Disc sperren oder mithilfe von vordefinierten Kindersicherungsstufen Wiedergabeeinschrankungen festlegen, so dass beispelswise Kinder keine Discs ansehen konnen, die für ihr Alter nicht geeignet sind. Bei der Wiedergabe einer auf diese Weise mit einer Kindersicherung versehenen DVD werden bestimmte Szenen gespert oder durch andere Szenen ersetzt.
Aktivieren der Kindersicherung
1 Berühren Sie bei ausgeschalteten Gerät „Source List" und dann.
2 Berühren Sie „Visual“. Das Wiedergabeeinstellmenu erscheint.
3 Berühren Sie / , um zu blättern, und dann „DVD Parental Control". Die Anzeige zum Definieren des Kennworts erscheint.
4 Berühren Sie die Zahlentasten, um das Kennwort einzugeben, und dann „OK".
5 Berühren Sie die Zahlentasten, um das Kennwort zur Bestätigung erneut einzugeben, und dann „OK". Die Einstellung ist damit abgeschlossen.
Zum Löschen einer eingegebenen Ziffer berühren Sie „Clear". Um zur vorherigen Anzeige zurückzuschalten, berühren Sie „Back".
Deaktivieren der Kindersicherung
1 Gehen Sie wie in Schritt 1 bis 3 oben erlautert vor.
Die Anzeige zum Deaktivieren der Kindersicherung erscheint.
2 Berühren Sie die Zahlentasten, um das aktuelle Kennwort einzugeben.
"Parental Unlocked" erscheint und die Kindersicherung ist deaktiviert.
Ändern des Kennworts
Deaktivieren Sie die Kindersicherung und aktivieren Sie sie dann mit einem neuen Kennwort.
Wechseln des Gebiets und der Altersfreigabestufe
Sie können die Kindersicherungsstufe je nach Gebiet und Altersfreigabe einstehen.
1 Berühren Sie bei ausgeschalteten Gerät „,Source List" und dann
2 Berühren Sie „Visual“. Das Wiedergabeeinstellmenu erscheint.
3 Berühren Sie / , um zu blättern, und dann „DVD Parental Area".
Wenn die Kindersicherung bereits aktiviert ist, erscheint die Anzeige zum Eingeben des Kennworts.
Geben Sie zum Ändern der Einstellung Ihr Kennwort ein.
Die Optionen erscheinen.
4 Berühren Sie das gewünschte Gebiet, um dessen Altersfreigabestufen zu übernehmen.
Wenn Sie „Other“ auswahlen, wahren Sie anschließend mit den Zahlentasten den Gebietscode in der „Gebietscodeliste“ auf Seite 83.
5 Berühren Sie „DVD Parental Rating“.
Die Optionen erschinen.
Je niedriger der Wert, um so strenger ist die Kindersicherungsstufe.
6 Berühren Sie die gewünschte Altersfreigabe.
Die Einstellung ist damit abgeschlossen.
Um zur vorherigen Anzeige zurückzuschalten, berühren Sie „Back".
Repeat und Shuffle Play
| DVD | VCD | C D | MP3 | WMA |
| AAC | JPEG | DivX | MPEG-4 |
1 Berühren Sie während der Wiedergabe „Play Menu" und dann das Feld „Repeat" bzw. „Shuffle" so oft, bis die gewünschte Option angezeigt wird.

Repeat oder Shuffle Play beginnt.
Zum Ausblenden des Wiedergabemenüs berühren Sie „Play Menu".
Im Folgenden sind die Wiederholooptionen und die Umschaltreihenfolge bei Repeat Play für alle Discs und Formate aufgelistet.
| Disc/Format | Optionen |
| DVD | “,OFF”: Das Gerät schaltet wieder in den normalen Wiedergabemodus. „Chapter“: Das aktuelle Kapitel wird wiederholt wiedergegeben. „Title“: Der aktuelle Titel wird wiederholt wiedergegeben. |
| VCD*1 | “,OFF“: Das Gerät schaltet wieder in den normalen Wiedergabemodus. „Track“: Das aktuelle Stück wird wiederholt wiedergegeben. |
| CD | “,OFF“: Das Gerät schaltet wieder in den normalen Wiedergabemodus. „Track“: Das aktuelle Stück wird wiederholt wiedergegeben. „Album“: Das aktuelle Album (Ordner) wird wiederholt wiedergegeben. |
| MP3 | “,OFF“: Das Gerät schaltet wieder in den normalen Wiedergabemodus. „Image“: Das aktuelle Bild wird wiederholt wiedergegeben. „Album“: Das aktuelle Album wird wiederholt wiedergegeben. |
| WMA | |
| AAC | |
| JPEG |
| DivX MPEG-4 | “OFF”: Das Gerät schaltet wieder in den normalen Wiedergabemodus. “Movie”: Die aktuelle Videodatei wird wiederholt wiedergegeben. “Album”: Das aktuelle Album (Ordner) wird wiederholt wiedergegeben. |
Im Folgenden sind die
Zufallswiedergabeoptionen und die
Umschaltkreihenfolge bei Shuffle Play für alle Discs und Formate aufgelistet.
| Disc/Format | Optionen |
| DVD *2 | "OFF": Das Gerät schaltet wieder in den normalen Wiedergabemodus. "Title": Die Kapitel im aktuellen Titel werden in willkürlicher Reihenfolge wiedergegeben. |
| VCD *1 | "OFF": Das Gerät schaltet wieder in den normalen Wiedergabemodus. "Disc": Die Stücke auf der aktuellen Disc werden in willkürlicher Reihenfolge wiedergegeben. |
| MP3 | "OFF": Das Gerät schaltet wieder in den normalen Wiedergabemodus. "Album": Die Stücke/Bilder/ Videodateien im aktuellen Album (Ordner) werden in willkürlicher Reihenfolge wiedergegeben. |
| WMA | |
| AAC | |
| JPEG | |
| DivX | |
| MPEG-4 |
1 Steht nur bei der Wiedergabe von VCDs der Version 1.0/1.1 oder von VCDs der Version 2.0 ohne PBC-Funktionen zur Verflügung.
2 Außer bei einer DVD-R/DVD-R DL/DVD-RW im VR-Modus.
DVD
VCD
CD
MP3
WMA
AAC
JPEG
DivX
MPEG-4
Sie können eine bestimmte Stelle direkt ansteuern, indem Sie die Titelnummer, die Kapitelnummer usw. angehen.
1 Geben Sie während der Wiedergabe mit den Zahlentasten auf der Kartenfernbedienung die Nummer eines Elements (Stück, Titel usw.) ein und drücken Sie dann ENTER.
Die Wiedergabe startet an der ausgewählten Stelle.
Je nach Disc/Format können Sie nach folgenden Elementen suchen.
DVD: Titel oder Kapitel*1
VCD*2/CD/MP3/WMA/AAC:Stuck
JPEG: Bild
DivX/MPEG-4: Datei
1 Welches Element gesucht werden kann, hangt von der Einstellung ab.
2 Steht nur bei der Wiedergabe einer VCD ohne PBC-Funktionen zur Verfügung.
Einstellen des Elements, nach dem gesucht werden kann (nur DVD)
Sie konnen das Element einstellen, nach dem bei der DVD-Wiedergabe gesucht werden kann (Titel oder Kapitel).
1 Berühren Sie „Source List" und dann
2 Berühren Sie „Visual".
Das Wiedergabeeinstellmenu entscheid.
3 Berühren Sie / , um zu blättern, und dann „DVD Direct Search" und setzen Sie die Option auf „Chapter" oder „Title".
Die Einstellung ist damit abgeschlossen.
Um zur vorherigen Anzeige zurückzuschalten, berühren Sie „Back".
Funktionen mit USB-Geräten
Einzelheiten zur Kompatibilität Ihres USB-Gerats finden Sie auf der Support-Website.
Support-Website
http://support.sony-europe.com/
- Sie können USB-Geräte des Typs MSC (Massenspeicherklasse) und MTP (Medientransferprotokoll) verwenden, die dem USB-Standard entsprechen.
- Der entsprechende Codec ist MP3 (.mp3), WMA (.wma), AAC (.m4a), JPEG (.jpg), DivX (.avi) und MPEG-4 (.mp4).
- Es empflicht sich, eine Sicherungskopie der Daten auf dem USB-Gerät zu erstehen.
Hinweise
- Lassen Sie den Motor an, bevor Sie das USB-Gerät anschließen.
Bei manchen USB-Geräten kann es zu Fehlfunktionen und Beschädigungenkommen, wenn Sie zuerst das Gerät anschließen und dann den Motor anlassen. - Bei einer großen Datei kann es etwas dauern, bis die Wiedergabe beginnt.
Wiedergabe mit einem USB-Gerät
1 Nehmen Sie die Kappe vom USB-Anschluss ab und verbinden Sie das USB-Gerät mit dem USB-Anschluss.
Die Wiedergabe beginnnt automatisch.
Wenn ein USB-Gerät angeschlossen ist,
berühren Sie zum Starten der Wiedergabe „Source List" und dann „USB/iPod".
Naheres zur Position des USB-Anschlusses finden Sie in der mitgelieferten Installations-/ Anschlussanleitung.
Hinweis zu den Bedienelementen und Anzeigen während der Wiedergabe
Sie konnen die Wiedergabe mit einem USB Gerat genauso steuern wie die Wiedergabe einer Disc. Näheres dazu finden Sie unter „Bedienelemente für die Wiedergabe" auf Seite 22.
Naheres zu den Anzeigen während der Wiedergabe finden Sie unter „Anzeigen während der Wiedergabe" auf Seite 24.
Fortsetzung auf der nachsten Seite
So stoppen Sie die Wiedergabe
Drucken Sie SOURCE/OFF 1 Sekunde lang.
So trennen Sie das USB-Gerät von thisem Gerät
Stoppen Sie die Wiedergabe und trennen Sie dann das USB-Gerät von diesen Gerät. Trennen Sie das USB-Gerät nicht während der Wiedergabe von diesen Gerät. Andernfalls konnen Daten im USB-Gerät beschädigt werden.
Hinweise zum Gebrauch
- Verwenden Sie keine USB-Geräte, die so groß oder schwer sind, dass sich bei einer Erschüttung der Verbindung losen bzw. das Gerät herunterfällig kann.
- Lassen Sie das USB-Gerät nicht in einem geparkten Fahrzeug liegen, dann andernfalls kann es zu Fehlaktionenkommen.
- Dieses Gerät kann keine USB-Geräte erkennen, die über einen USB-Hub angeschlossen sind.
Hinweise zur Wiedergabe
- Wenn ein USB-Gerät mehrere Dateitypen enthalt, kann nur der ausgewählte Dateityp (Audio/Video/Bild) wiedergegeben werden. Erläuterungen zum Auswahlen des Dateityps finden Sie unter „Auswahlen eines Dateityps" auf Seite 40.
- Je nach USB-Gerät, Aufnahmeformat und Einstellungen werden unterschiedliche Informationen angezeigt. Einzelheiten dazu finden Sie auf der Support-Website.
-
Im Folgenden wird die Höchstzahl an aneigbaren Daten angegeben.
-
Ordner (Alben): 256
-
Dateien (Stücke): 2.000
-
Je nach Menge der aufgezeichneten Daten kann es etwas dauerern, bis die Wiedergabe beginnnt.
- Bei der Wiedergabe einer VBR-MP3/WMA/AAC-Datei (variable Bitrate) bzw. beim Vorwarts/-Rückwartssuchen darin wird die verstrichene Spieldauer möglichereweise nicht richtig angezeigt.
- Die Wiedergabe verlustfrei komprimierter Dateien wird nicht unterstützt.
Repeat und Shuffle Play
1 Berühren Sie während der Wiedergabe „Play Menu" und dann das Feld „Repeat" bzw. „Shuffle" so oft, bis die gewünschte Option angezeigt wird.
Repeat oder Shuffle Play beginnt.
Folgende Wiederholoptionen stehen zur Verfugung.
"OFF": Das Gerät schaltet wieder in den normalen Wiedergabemodus.
„Track“/,„Image“/,„Movie“1: Das aktuelle Element (Stück/Bild/Video datei) wird wiederholt wiedergegeben.
"Album": Das aktuelle Album (Ordner) wird wiederholt wiedergegeben.
"Drive" 2 : Das aktuelle Laufwerk wird wiederholt wiedergegeben.
Folgende Zufallswiedergabeoptionen stehen zur Verfugung.
"OFF": Das Gerät schaltet wieder in den normalen Wiedergabemodus.
"Album": Die Stücke/Bilder/Video dateien im aktuellen Alum (Ordner) werden in willkürlicher Reihenfolge wiedergegeben.
1 Die Optionen hangen vom Dateityp ab.
2 Wenn auf dem USB-Gerät zwei oder mehr Laufwerke angelegt wurden.
Zum Ausblenden des Wiedergabemenüberhren Sie „Play Menu".
Wiedergeben von Musik je nach Stimmung — SensMe™
Mit Sonys neuartigen Funktionen „SensMe™ channels" und „SensMe™ mood" werden Stücke automatisch je nach Stimmung in Channels eingeordnet oder in Gruppen zusammengefasst, so dass Sie die jeweils passende Musik ganz einfach wiedergeben halten können.
Vorbereitungen für die SensMeTM-Funktion
Die folgenden Schritte sind die Grundvoraussetzungen für die Wiedergabe mit der SensMeTM-Funktion auf thism Gerät.
Installieren von „SensMe™ Setup" und „Content Transfer" auf dem Computer Installieren Sie zunachst „SensMe™ Setup" und „Content Transfer" von der mitgelieferten CD-ROM.

2 Registrieren eines USB-Geräts mit „SensMe™ Setup“
Schlieben Sie das USB-Gerät an den Computer an und führen Sie mit „SensMe™ Setup" eine Registrierung aus, um die SensMe™- Funktion auf thism Gerät zu erhögbaren.

Tipp Die Registierung kann während oder nach der Installation ausgeführrt werden.
3 Übertragen von Stücken auf das USB-Gerät mit „Content Transfer“
Damit Stücke nach Stimmung in Channels
eingeordnet werden konnen, müssen die
Klangmuster der Stücke mit 12 TONE
ANALYSIS analysiert werden, das in
„Content Transfer“ geladen wird.
Wenn das USB-Gerät an den Computer
angeschlossen ist, übertragen Sie Stücke per
Drag & Drop aus Windows Explorer oder
iTunes usw. nach „Content Transfer“.
Die Analyse und die Übertragung der Stücke
erfolgt mit „Content Transfer“.

4 Anschlieben des USB-Geräts und Wiedergabe mit der SensMeTM-Funktion auf thisem Gerät
Schlieben Sie dasVBGerat an. Sie konnen die Wiedergabe mit „SensMeTM channels" oder „SensMeTM mood" auf thisem Gerät starten.

Installieren von „SensMe™ Setup“ und „Content Transfer“ auf dem Computer
Sie müssen die mitgelieferte Software (.,SensMeTM Setup" und .,Content Transfer") verwenden, um die SensMeTM-Funktion auf this gemarbeit nutzen zu konnen. Installieren Sie die Software von der mitgelieferten CD-ROM auf dem Computer.
1 Legen Sie die mitgelieferte CD-ROM in den Computer ein.
Der Installationsassistent wird automatisch gestartet.
2 Gehen Sie nach den Anweisungen auf dem Bildschirm vor, um die Installation vorzunehmen.
Registieren eines USB-Geräts mit „SensMe™ Setup“
Die Registierung des USB-Geräts ist erforderlich, um die SensMe™-Funktion auf thism Gerät zu erhögbaren.
Wenn die Registrierung nicht während der Installation ausgeführrt wird, gehen Sie wie im Folgenden erlautert vor.
1 Starten Sie „SensMe™ Setup" auf dem Computer.
2 Schlieben Sie das USB-Gerät an den Computer an.
3 Befolgen Sie für die Registriierung die Anweisungen auf dem Bildschirm.
Tipp
Wenn Sie ein registriertes USB-Gerät mit analysierten Stücken anschlossen, konnen Sie die Registriierung des USB-Gerats wieder aufheben.
Übertragen von Stücken auf das USB-Gerät mit „Content Transfer“
Damit Sie die SensMeTM-Funktion auf thisem Gerät nutzen können, müssen die Stücke mit „Content Transfer“ analysiert und auf das registrierte USB-Gerät übertragen werden.
1 Schlieben Sie das registrierte USB-Gerät an den Computer an.
Einen „WALKMAN“ schreiben Sie im MTP-Modus an.
Andere USB-Geräte als einen „WALKMAN“ schließen Sie im MSC-Modus an.
,Content Transfer" wird automatisch gestartet.
Wenne Meldung angezeigt wird, befolgen Sie zum Fortfahren die Anweisungen auf dem Bildschirm.
2 Übertragen Sie Stücke per Drag & Drop aus Windows Explorer oder iTunes usw. nach „Content Transfer".
Die Analyse und die Übertragung der Stücke wird gestartet.
Nahere Informationen zum Vorgehen finden Sie in der Hilfe zu „Content Transfer".
Hinweis
Die Analyse der Stücke mit 12 TONE ANALYSIS kann je nach Computerumgebung eine Weile dauern.
Tipp
Sie konnen mit „Content Transfer“ nicht nur Audiodateien, sondern auch Bilder oder Videodateien übertragen. Näheres dazu finden Sie in der Hilfe zu „Content Transfer“.
Wiedergeben von Stücken in einem Channel — SensMe™ channels
Mit „SensMe™ channels“ werden Stücke nach dem Klang automatisch in Channels eingeordnet. Sie können einen zu ihrer Stimmung oder Beschäftigung usw. passenden Channel auswahlen und wiedergeben halten.
1 Schlieben Sie ein USB-Gerät, das für die SensMe™-FunktionVBereitet wurde, an these Gerät an.
2 Berühren Sie „Source List“ und dann „SensMeTM“.
3 Berühren Sie „channels“.
Die Channel-Liste wird angezeigt.

4 Berühren Sie / , um durch die Channel-Liste zu blättern.
Die Wiedergabe des ersten Stücks im aktuellen Channel startet mit der melodisch oder rhythmisch am stärksten ausgeprägten Passage*.
- Wird möglichwerse nicht richtig erkannt.
5 Berühren Sie den gewünschten Channel.
Die Wiedergabe der Stücke im ausgewählten Channel beginnt.
Hinweise
- Manche Stücke werden möglicherweise nicht richtig erkannt und in einen Channel eingeordnet, der nicht der Stimmung des Stück's entspricht.
- Wenn das angeschlossene USB-Gerät weitere Stücke enthalt, es es länger dauern, bis die Wiedergabe mit „SensMe™ channels" gestartet wird, daZNachst die Daten eingegeben werden.
Tipp
Die Stücke werden in zufälliger Reihenfolge wiedergegeben. Die Reihenfolge ändert sich jeder Mal, wenn ein Channel ausgewählt wird.
Channel-Liste
Empfohlen, Shuffle All
"Morning" (5:00-9:59)
"Daytime" (10:00 - 15:59)
"Evening" (16:00 - 18:59)
Night" (19:00 - 23:59)
"Midnight" (24:00 - 4:59)
Für bestimmte Tageszeiten empfohlene Stücke.
Stellen Sie die Uhrzeit ein (Seite 68), damit der Channel prazise angezeigt wird.
"Shuffle All": Alle analysierten Stücke werden in zufälliger Reihenfolge wiedergegeben.
Basis-Channels
Die Stücke werden je nach Musikrichtung abgespielt.
"Energetic": Energiegeladene Stücke.
"Relax": Ruhige Stücke.
"Mellow": Sanfte, melancholische Stücke.
"Upbeat": Fröhliche und aufbauende Stücke.
"Emotional": Balladen.
Channels zum Autofahren
Wiedergabe von Stücken, die beim Autofahren passend sind.
"Freeway": Schnelle Gute-Laune-Stücke.
"Chillout Drive": Sanft intonierte, beruhigende Balladen.
"Weekend Trip": Heitere und frohliche Stücke.
"Midnight Cruise": Jazz- oder Pianostücks für vorgerückte Stunden.
"Party Ride": Temporeiche und lebendige Stücke.
"Morning Commute": Heitere und unbeschwerte Stücke.
"Goin' Home": Gefühlvolle und entspannende Stücke.
Bedienelemente und Anzeigen während der Wiedergabe mit „SensMe™ channels“

A Einblenden der Steuertasten: „Source List“, „ATT“, „TA“, „AF“, „Navi“ und „Top“. (Seite 22)
Blättern in der Beste und Auswahlen eines anderen Channels.
Zeigt den aktuellen Channel an.
Zeigt das Albumcover*1 an.
Zeigt die verstrichene Spieldauer, den Stücknamen und den Interpretennamen an.
Pause/Wiedergabefortsetzung nach einer Pause.
G Überspringen eines Sticks.
Aufrufen des ZAPPIN-Modus. (Seite 40)
Während der ZAPPIN-Wiedergabe mit „SensMe™ channels“ werden die melodisch oder rhythmisch am stärksten ausgeprüften Passagen*2 in den Stücken abgeschweit.
1 Die empfehlene Großbe beträgt zwischen 240 × 240 und 960 × 960 Pixel.
2 Wird möglicherweise nicht richtig erkannt.
Wiedergeben von Stücken über das Stimmungsdiagramm — SensMe™ mood
Bei „SensMe™ mood“ werden die Stücke je nach charakteristischen Merkmalen als Punkte auf einem Stimmungsdiagramm mit zwei Achesen verteil.
Wenn Sie einen Ihrer Stimmung entsprechenden Punkt in dem Diagramm berühren, wird ein Kreis um den berühnten Punkt angezeigt und die Stücke innerhalb des Kreises werden abgeschweit.
1 Schlieben Sie ein USB-Gerät, das für die SensMe™-FunktionVBereitet wurde, an these Gerät an.
2 Berühren Sie „Source List" und dann „SensMeTM".
3 Berühren Sie „mood“. Das zweichseite Stimmungsdiagramm erscheint.

4 Berühren Sie den gewünschten Punkt auf dem Diagramm.
Ein Kreis wird um den berühnten Punkt angezeigt und die Wiedergabe der Stücke innerhalb des Kreises beginnt.
Die Wiedergabe des ersten Stücks startet mit der melodisch oder rhythmisch am stärksten ausgeprüften Passage*.
- Wird möglichwerse nicht richtig erkannt.
Hinweise
- Nur die letzten 200 mit „Content Transfer“ übertragenen Stücke werden auf dem Stimmungsdiagramm angeordnet.
- Manche Stücke werden möglicherweise nicht richtig erkannt und an einer Stelle angezeigt, die nicht der Stimmung des Stückes entspricht.
- Wenn das angeschlossene USB-Gerät weitere Stücke enthält, kann es länger dauern, bis die Wiedergabe mit „SensMe™ mood" gestartet wird, da zunachst die Daten eingeleen werden.
Tipps
- Im Stimmungsdiagramm wird das zurzeit wiedergegebene Stück als grüner Punkt dargestellt.
- Die Stücke werden von der Kreismitte her nach außen abgeschwell.
Bedienelemente und Anzeigen während der Wiedergabe mit „SensMe™ mood“

A Einblenden der Steuertasten: „Source List“, „ATT“, „TA“, „AF“, „Navi“ und „Top“. (Seite 22)
B Verschieben des Kreises und erneutes Einordnen von Stücken.
Andern der KreisgroBe: Klein, mittel oder groB.
Zeigt das Albumcover*1 an.
Zeigt die verstrichene Spieldauer, den Stücknamen und den Interpretennamen an.
F Andern von Parametern auf der horizontalen Achse.
Überspringen eines Stücks.
Pause/Wiedergabefortsetzung nach einer Pause.
Aufrufen des ZAPPIN-Modus. (Seite 40)
Während der ZAPPIN-Wiedergabe mit „SensMe™ mood“ werden die melodisch oder rhythmisch am stärksten ausgeprägten Passagen*2 in den Stücken abgespielt.
1 Die empfohlene Großbe beträgt zwischen 240 x 240 und 960 x 960 Pixel.
2 Wird möglicherweise nicht richtig erkannt.
Ändern von Parametern auf der horizontalen Achse
Im Stimmungsdiagramm können Sie Parameter auf der horizontalen Achseändern. Die Stücke werden je nach den Eigenschaften der Parameter neu eingeordnet.
| Berühnte Option | Wechsel zwischen den Parametern |
| „Mood“ | „Sad“ – „Happy“ |
| „Type“ | „Acoustic“ – „Electronic“ |
| „Style“ | „Soft“ – „Hard“ |
| „Time“ | „Morning“ – „Midnight“ |
iPod-Funktionen
Einzelheiten zur Kompatibilität des iPod finden Sie unter „Hinweise zum iPod" auf Seite 73 oder auf der Support-Website.
Support-Website
http://support.sony-europe.com/
In dieser Anleitung wird „iPod“ als allgemeiner Begriff für die iPod-Funktionen bei einem iPod und iPhone verwendet, sofern nicht im Text oder in Abbildungen anders angegeben.
Starten der Wiedergabe an einem iPod
1 Verringern Sie die Lautstärke an thisem Gerät.
2 Nehmen Sie die Kappe vom USB-Anschluss ab und verbinden Sie den iPod mit dem USB-Anschluss.
Es empfeht sich, das gesondert erhältliche USB-Verbindungskabel RC-200IPV zu verwenden.*1
Erläuterungen dazu finden Sie in der mitgelieferten Installations-/ Anschlussanleitung.
Die folgende Anzeige erscheint auf dem iPod-Display*2 und die Wiedergabe startet mit dem zuletzt wiedergegebenen Element.
Wennbereitsein iPodangeschlossenist, berührenSiezumStartenderWiedergabe „SourceList“unddann „USB/iPod“.

1 Zum Wiederergeben von Videos von einem iPod mit Videofunktion ist das RC-200IPV erforderlich.
2 Wird möglicherweise nicht angezeigt, wenn ein iPod touch oder iPhone angeschlossen ist oder wenn die Wiedergabe des iPod zuletzt mit der direkten Steuerung erfolgt.
3 Stellen Sie die Lautstärke an thisem Gerät ein.
Hinweis zu den Bedienelementen und Anzeigen während der Wiedergabe
Sie können die Wiedergabe an einem iPod genauso steuern wie die Wiedergabe einer Disc. Nähres dazu finden Sie unter „Bedienelemente für die Wiedergabe" auf Seite 22.
Naheres zu den Anzeigen während der Wiedergabe finden Sie unter „Anzeigen während der Wiedergabe" auf Seite 24.
So stoppen Sie die Wiedergabe
Drucken Sie SOURCE/OFF 1 Sekunde lang.
So trennen Sie den iPod vom Gerät
Stoppen Sie die Wiedergabe und trennen Sie dann den iPod von dieserm Gerät.
Trennen Sie den iPod nicht während der Wiedergabe von diesen Gerät. Andernfalls konnen Daten im iPod beschädigt werden.
Hinweis zur Wiedergabefortsetzung
Wenn der iPod, an dem gerade die Wiedergabeläuft, an den Dock-Anschluss angeschlossen ist, wird an thisem Gerät als Modus die Wiedergabefortsetzung eingestellt und die Wiedergabe startet in dem am iPod eingestellen Modus.
Be der Wiedergabefortsetzung steht die Einstellung fur die Wiedergabewiederholung bzw. Zufallswiedergabe nicht zur Verfugung.
Vorsicht beim iPhone
Wenn Sie ein iPhone über USB anschlieben, wird die Lautstärke beim Telefonieren vom iPhone selbst gesteuet. Um nach einem Telefonat plottliche laute Gerausche zu vermeiden, erhöhen Sie während des Telefonats nicht die Lautstärke am Gerät.
Hinweis
Dieses Gerät kann keinen iPod erkennen, der über einen USB-Hub angeschlossen ist.
Tipps
- Wenn der Zündschlüssel in der Position ACC oder I steht und das Gerät eingeschaltet ist, wird der iPod geladen.
- Wenn der iPod während der Wiedergabe vom Gerät getrennt wird, entscheid „USB device is not connected." im Display des Geräts.
Einstellen des Wiedergabemodus
Sie konnen einen der folgenden Wiedergabemodie einstehen.
Bei Audiowedergabe "Album", "Track", "Genre", " Playlist", "Artist", "Podcast"*
Bei Videowiedergabe
"Movie", "Rental", "TV Show", "Music Video", " Playlist", " Podcast"*
- Erscheint je nach iPod-Einstellung möglicherweise nicht.
1 Berühren Sie während der Wiedergabe „List".
2 Berühren Sie „MUSIC“ oder „VIDEO“.
3 Berühren Sie den gewünschten Wiedergabemodus. Zum Starten der Wiedergabe berühren Sie die gewünschten Elemente in der(Liste. Zum Blättern in der Listel berühren Sie /
So überspringen Sie Elemente des ausgewählten Wiedergabemodus
Berühren Sie im ausgewählten Wiedergabemodus während der Wiedergabe - / +
Repeat und Shuffle Play
1 Berühren Sie während der Wiedergabe „Play Menu" und dann das Feld „Repeat" bzw. „Shuffle" so oft, bis die gewünschte Option angezeigt wird. Repeat oder Shuffle Play beginnt.
Zum Ausblenden des Wiedergabemenü berühren Sie „Play Menu".
Folgende Wiederholoptionen stehen zur Verfügung.
Bei Audiowiedergabe
,OFF":Das Gerat schaltet wieder in den normalen Wiedergabemodus. Track":Das aktuelle Stuck wird wiederholt wiedergegeben. "Album"/,Podcast"/,Artist"/,Playlist"/,Genre*:Das aktuelle Element des ausgewählten Wiedergabemodus wird wiederholt wiedergegeben.
Bei Videowiedergabe
,OFF": Das Gerät schaltet wieder in den normalen Wiedergabemodus.
"Track": Das aktuelle Video wird wiederholt wiedergegeben.
"Rental"/,TV Show"/,Music Video"/,Playlist"/,Podcast"*: Das aktuelle Element des ausgewählten Wiedergabemodus wird wiederholt wiedergegeben.
Folgende Zufallswiedergabeoptionen stehen zur Verfugung.
Bei Audiowiedergabe
,OFF": Das Gerät schaltet wieder in den
normalen Wiedergabemodus.
,Album"/,Podcast"/,Artist"/,Playlist"/,Genre"*: Die Stücke des ausgewählten
Wiedergabemodus werden in zufälliger
Reihenfolge wiedergegeben.
,Device": Alle Stücke auf einem iPod werden
in zufälliger Reihenfolge wiedergegeben.
- Hangt vom ausgewählten Wiedergabemodus ab.
Hinweis Die angezeigten Optionen entsprehen möglichwerweise nicht der tatsächlichen Funktion.
Direktes Bedieren eines iPod Direkte Steuerung
Sie können einen an diesen Gerät
angeschlossenen iPod direkt steuern.
1 Berühren Sie während der Wiedergabe „Play Menu“ und dann das Feld „Passenger Control“, um „ON“ einzustellen.
Deaktivieren der direkten Steuerung
Berühren Sie das Feld „Passenger Control“, um die Option auf „OFF“ zu setzen. Als Wiedergabemodus wird die Wiedergabefortsetzung eingestellt.
Zum Ausblenden des Wiedergabemenü berühren Sie „Play Menu".
Hinweise
- Wenn Sie ein Video an这点 Gerät ausgegeben, wollen, müssen Sie den Videoausgang am iPod aktivieren.
- Die Lautstärke lässt sich nur mit thisem Gerät einstehen.
- Die Einstellung für die wiederholte Wiedergabe wird deaktiviert, wenn die direkte Steuerung beendet wird.
Weitere nutzliche Funktionen
Aulisten von Stücken/Bildern/ Videodateien — List
Auswahlen eines Stücks/Bildes/ einer Videodatei

Sie können Alben/Ordner/Stücke/Bilder/ Videodateien als Beste anzeigen setzen und das gewünschte Element zur Wiedergabe auswahlen. Diese Funktion eignet sich besonderss bei Discs im MP3-/WMA-/AAC-/JPEG-/DivX-/MPEG-4-Format oder einem USB-Gerät mit zahlreichen Alben/Stücken usw.
1 Berühren Sie während der Wiedergabe „List".
Die Liste der Kategorien bzw. Dateien im gerade abgespielten Datenträger erscheint.

Wenn Sie um eine Ebene nach oben wechseln
wollen, berühren Sie.
Zum Blättern in der Beste berühren Sie / .
Wenn Sie Seitenweise weiterspringen sollen,
berühren Sie die Leiste für die Seitenposition
2 Berühren Sie das gewünschte Element.
Die Wiedergabe beginnt.
Auswahlen eines Dateityps

Wenn eine Disc bzw. ein USB-Gerät mehrere Dateitypen enthalt, kann nur der ausgewählte Datetyp (Audio/Video/Bild) wiedergegeben werden. Die Wiedergabareihenfolge der verschiedenen Dateitypen istwerkseitig auf Audio-, Video- und zuletzt Bilddateien festgelegt. Enthalt eine Disc beispelsweise Videodateien und Bilddateien, werden nur die Videodateien wiedergegeben. Sie konnen den gewünschten Dateotyp auswahlen, so dass die entsprechende Listene angezeigt wird, und wahlen Sie dann die gewünschte Datei aus.
1 Berühren Sie während der Wiedergabe „List".
2 Berühren Sie zum Auswahlen des Dateitypes und dann „Audio“, „Image" oder „Video".
Zum Ausblenden des Optionsmenü berühren Sie „Close".
3 Berühren Sie die gewünschte Datei.
Die Wiedergabe der ausgewählten Datei beginnt.
Suchen nach einem Stück durch Anspielenden Stücke ZAPPINTM
CD
MP3
WMA
AAC
Sie können kurze Passagen der Stücke auf einer Disc oder einem USB-Gerät nacheinander anspielen, um nach dem gewünschten Stück zuuchen.
These Funktion ist nutzlich bei beiselsweise der Stücksuche, wenn die Wiedergabe in willkürlicher Reihenfolge oder die wiederholte Wiedergabe in willkürlicher Reihenfolge lauft.
1 Berühren Sie während der Audiowiedergabe „ZAP".
Die Wiedergabe startet mit einer Passage des nachsten Titels.
Die Passage wird die eingestelle Anzahl an Sekunden lang wiedergegeben, danach ist ein Signalton zu horen und die Wiedergabe der nachsten Passage beginnnt.

2 Berühren Sie „ZAP“, wenn ein Stück wiederergegeben wird, das Sie ganz horen wollen.
Das ausgewählte Stück wird automatisch im normalen Wiedergabemodus ab dem Anfang wiedergegeben.
Wenn Sie im ZAPPIN-Modus ein weiteres Stück suchen wollen, gehen Sie wie in Schritt 1 und 2 erlautert vor.
Bei der Wiedergabe mit „SensMe™ channels“ oder „SensMe™ mood“
Wenn Sie während der Wiedergabe mit „SensMe™ channels“ oder „SensMe™ mood“ in den ZAPPIN-Modus wechseln, werden die melodisch oder rhythmisch am stärksten ausgeprägten Passagen* der Stücke wiedergegeben. Einzelheiten zur SensMe™- Funktion finden Sie unter „Wiedergeben von Musik je nach Stimmung — SensMe™“ auf Seite 33.
- Wir möglicherweise nicht richtig erkannt.
Tipps
- Sie können die Wiedergabedauerändern (Seite 66), aber Sie können nicht ausgehalten, welche Passage des Stücks wiedergegeben wird.
- Sie können den Signatton zwischen den Passagen der Stücke deaktivieren (Seite 66).
Bedienung mit dem Finger
Sie können früig verwendete Funktionen auch ausführten, wenn Sie in der Empfangs-/ Wiedergabeanzeige folgende Fingerbewegung machen.
| Finger-bewegung | Funktion |
| → | Radioempfang: Sendersuche mit aufsteigender Freqenz. (Entspricht▶I.) |
| horizontal | DVD-/VCD-Wiedergabe: Springen zum nachsten Kapitel/Stück. (Entspricht▶I.) |
| (rechts) | |
| JPEG-/DivX-/MPEG-4-/ Audiowiedergabe: Springen zur nachsten Datei bzw. zum nachsten Stück. (Entspricht▶I.) | |
| ← horizontaline Linie (von rechts nach links) | Radioempfang: Sendersuche mit absteigender Freqenz. (Entspricht ↓↓.) |
| DVD-/VCD-Wiedergabe: Springen zum vorherigen Kapitel/Stück. (Entspricht ↓↓.) | |
| JPEG-/DivX-/MPEG-4-/ Audiowiedergabe: Springen zur vorherigen Datei bzw. zum vorherigen Stück. (Entspricht ↓↓.) | |
| vertikale Linie (nach oben) | Radioempfang: Empfangen gespeicherter Sender (vorwärts). |
| DVD-/VCD-/DivX-/MPEG-4- Wiedergabe: Schneller Vorlauf des Videos. | |
| JPEG-/Audiowiedergabe: Springen zum nächsten Album (Ordner). (Entspricht „,Album“ +.) | |
| vertikale Linie (nach unten) | Radioempfang: Empfangen gespeicherter Sender (rückwärts). |
| DVD-/VCD-/DivX-/MPEG-4- Wiedergabe: Schneller Rücklauf des Videos. | |
| JPEG-/Audiowiedergabe: Springen zum vorherigen Album (Ordner). (Entspricht „,Album“ -.) |
So{laffen Sie Anweisungen zur Bedienung mit dem Finger anzeigen
Berühren Sie, wenn das Symbol in der rechten oberen Ecke des Displays angezeigt wird.
| Freisprechanrufe und Audio-Streaming — Bluetooth |
| Vorbereitungen für dieBluetooth-Funktion |
Grundlegende Verfahren bei der Bluetooth-Funktion
1 Pairing
Wenn Sie zum ersten Mal eine Verbindung zwischen Bluetooth-Geräten herstellen wollen, ist eine gegenseitige Registerierung erforderlich. Dies wird als „Pairing“ bezeichnet. Diese Registerung (Pairing) ist nur beim ersten Mal erforderlich, da diese Gerät und die anderen Geräte sich ab dem{nachsten Mal automatisch erkennen.

Hinweis
Wenn Sie an thisem Gerät die Gerätereigstrüterung löschen, müssen Sie das Pairing erneut ausführren.
2 Verbindung
Nach dem Pairing stellen Sie eine Verbindung zwischen diesen Gerät und dem Bluetooth-Gerät her. Bei manchen Geräten wird die Verbindung automatisch beim Pairing hergestellt.

Fortsetzung auf der{nachsten Seite
Freisprechanrufe/Audio-Streaming
Sie können mit dieser Gerät Freisprechanrufe tätigent/entgegenheiten oder Audiosignale wiedergeben halten.

Einzelheiten zur Kompatibilität des Bluetooth-Geräts finden Sie auf der Support-Website.
Support-Website
http://support.sony-europe.com/
Bluetooth-Statusanzeige
XNV-L77BT/770BT

XNV-L66BT/660BT

- Leuchtet, wenn das Bluetooth-Signal aktiviert ist.

| D | Keine:Für das Audio-Streaming ist kein Gerät angeschlossen. Blinkt:Die Verbindung wird hergestellt. Leuchtet:Mit einem Gerät verbunden. |
| E | Keine:Für Freisprechanrufe ist kein Mobiltelefon angeschlossen. Blinkt:Die Verbindung wird hergestellt. Leuchtet:Mit einem Mobiltelefon verbunden. |
| Yull | Signalstarke des verbundenen Mobiltelefons. |
| Akkurestladung des verbundenen Mobiltelefons. | |
Installieren des externen Mikrofons
Damit ihre Stimme bei Freisprechanrufen erfasst werden kann, müssen Sie das externe Mikrofon (mitgeliefert) installieren.
Naheres zum Anschlieben des Mikrofons finden Sie in der mitgelieferten Installations-/ Anschlussanleitung.
Pairing
Das Pairing ist ledigious beim ersten Verbinden eines Bluetooth-Geräts (Mobiletelefon o. Ä.) erforderlich.*1
Wenn Sie ein Pairing zwischen thisem Gerät und einem Bluetooth-Gerät ausführren wollen, müssen Sie an thisem Gerät und am Bluetooth-Gerät desselbe Password*2 eingeben. Das Password kann eine von Ihnen ausgewählte oder vom Bluetooth-Gerät festgelegte Nummer sein. Einzelheiten dazu finding Sie in der Anleitung zum Bluetooth-Gerät.
*2 Das Password wird bei einigen Bluetooth-Geräten auch „Kennwort“, „PIN-Code“, „PIN-Nummer“ oder „Passcode“ genannot.
Tipp
Das Pairing kann mit bis zu 9 Geräten ausgeführrt werden.
Suchen von thisem Gerät aus
Überprüfen Sie zunachst, ob das Bluetooth-Gerät so eingestellt ist, dass es gesucht bzw. erkannt werden kann.
1 Wahlen Sie die Bluetooth-Signalquelle aus.
Zum Auswahlen des Bluetooth-Telefonmodus drücken Sie (TOP) und berühren dann „BT Phone" im Hauptmenü.
Zum Auswahlen des Bluetooth-Audiomodus berühren Sie „Source List" und dann „BT Audio".
2 Berühren Sie „BT Menu".
Bei Bluetooth-Audio berühren Sie „Play Menu" und dann „BT Menu".
Das Bluetooth-Einstellmenu erscheint.

3 Berühren Sie „Search".
Die Suche nach Bluetooth-Geräten, zu denen eine Verbindung hergestellt werden kann, beginnt.*1*2
Wenn die Suche abgeschlossen ist, erscheint eine Liste der erkannten Geräte ^*3 .
1 Wenn das Bluetooth-Signal these Geräts ausgeschaltet ist, wird es zu Beginn der Suche automatisch aktiviert.
2 Die Suchdauer hängt von der Anzahl der Geräte ab, zu denen eine Verbindung hergestellt werden kann.
*3 Der Name bzw. die Adresse (wenn kein Name verfügbar ist) der erkannten Geräte wird angezeigt.
4 Berühren Sie das Gerät, zu dem eine Verbindung hergestellt werden sollen.
5 Wahlen Sie den Verbindungstyp aus.
Berühren Sie „Handsfree Connect“, wenn Sie die Funktion für Freisprechanrufe nutzen wollen.
Berühren Sie „Audio Connect“, wenn Sie die Funktion für Audio-Streaming nutzen wollen.
Das Pairing wird gestartet und die Anzeige zum Eingeben des Passwords wird angezeigt.
6 Berühren Sie die Zahlentasten, um das Password einzugeben, und dann „OK“.
Führn Sie die erforderlichen Schritte auch am Bluetooth-Gerät aus.
Damit ist das Pairing abgeschlossen und eine Verbindung zwischen thisem Gerät und dem Bluetooth-Gerät wird hergestellt.
Wenn die Verbindung erfolgreich hergestellt wurde, erscheint oder unter im Display.
Suchen vom Bluetooth-Gerät aus
Im Folgenden wird erläutert, wie Sie von einem Bluetooth-Gerät aus nach thisem Gerät suchen.
1 Wahlen Sie die Bluetooth-Signalquelle aus.
Zum Auswahlen des Bluetooth-Telefonmodus drücken Sie TOP und berühren dann ,BT Phone" im Hauptmenü. Zum Auswahlen des Bluetooth-Audiomodus berühren Sie „Source List" und dann ,BT Audio".
2 Berühren Sie „BT Menu".
Bei Bluetooth-Audio berühren Sie „Play Menu" und dann „BT Menu".
Das Bluetooth-Einstellmenu erscheint.
3 Berühren Sie „Signal“ und dann „Yes“, um „Signal“ auf „ON“ zu setzen.
Das Bluetooth-Signal an dieser Gerät ist aktiviert.
4 Berühren Sie „Discoverable“, um „Show“ einzustellen.
Das Gerät kann nun vom Bluetooth-Gerät erkannt werden.
5 Starten Sie vom Bluetooth-Gerät aus die Suche nach thisem Gerät.
Wenn die Suche abgeschlossen ist, erscheint desses Gerät als „Sony Automotive“* in der Liste am Bluetooth-Gerät.
- Kann in der Bluetooth-Einstellung geändert werden (Seite 52).

Wenn Sie die erforderlichen Schritte am Bluetooth-Gerät ausgeführten haben, erscheidt die Anzeige zum Eingeben des Passwords an thisem Gerät.
6 Berühren Sie die Zahlentasten, um das Password einzugeben, und dann „OK“. Damit ist das Pairing abgeschlossen und eine Verbindung zwischen diesen Gerät und dem Bluetooth-Gerät wird hergestellt. Wenn die Verbindung erfolgreich hergestellt wurde, erscheidt oder unter im Display.
Hinweise
- Wahlend eine Verbindung zu einem Bluetooth-Gerät besteht, kann diese Gerät von keinem anderen Gerät erkannt werden. Damit diese Gerät erkannt werden kann, trennen Sie die aktuelle Verbindung und halten Sie dann vom anderen Gerät aus nach dieser Gemärät suchen.
- Je nach Gerät ist die Sueche von thisem Gerät aus unter Umständen nicht möglich. Suchen Sie in thisem Fall vom anderen Gerät aus nach thisem Gerät.
- Wenn Sie这点es Gerät und das andere Gerät sich gleichzeitig gegenseitig suchen lessen, erknnet这点es Gerät das andere Gerät nicht.
- DieSuchebzw.dasHerstellen derVerbindungkann etwas dauern.
- Bei einigen Geräten erscheint die Bestätigungsanzeige für die Verbindung vor dem Eingeben des Passwords.
- Das Zeitlimit zum Eingeben des Passwords variiert je nach Gerät.
Von thisem Gerat kann keine Verbindung zu einem Gerat hergestellt werden, das ausschließlich HSP (Head Set Profile) unterstützen.
Verbindung
Wenn das Bluetooth-Signal aktiviert ist und die Zündung des Fahrzeugs eingeschaltet wird, sucht these Gerät das zuletzt verbundene Bluetooth-Gerät und die Verbindung wird, falls möglich, automatisch hergestellt.
In thisem Kapitel wird erlautert, wie Sie manuell eine Verbindung zu registrierten Bluetooth- Geräten herstellen konnen.
Bevor Sie beginnen, müssen Sie unbedingt das Bluetooth-Signal an thisem Gerät (Seite 52) und am Bluetooth-Gerät aktivieren.
1 Wahlen Sie die Bluetooth-Signalquelle aus.
Zum Auswahlen des Bluetooth-Telefonmodus drücken Sie TOP und berühren dann ,BT Phone" im Hauptmenü. Zum Auswahlen des Bluetooth-Audiomodus berühren Sie „Source List" und dann ,BT Audio".
2 Berühren Sie „BT Menu“. Bei Bluetooth-Audio berühren Sie „Play Menu“ und dann „BT Menu“. Das Bluetooth-Einstellmenü erscheint.
3 Berühren Sie „Device List". Die(Liste der registrierten Bluetooth-Geräte erscheint. Zum Blättern in der Liste berühren Sie / .
4 Berühren Sie das Gerät, zu dem eine Verbindung hergestellt werden soll.
5 Wahlen Sie den Verbindungstyp aus. Berühren Sie „Handsfree Connect“, wenn Sie die Funktion für Freisprechanrufe nutzen sollen. Berühren Sie „Audio Connect“, wenn Sie die Funktion für Audio-Streaming nutzen sollen. Die Verbindung wird hergestellt. Wenn die Verbindung erfolgreich hergestellt wurde, erscheidt oder unten im Display. In der Geräteliste wird das zurzeit verbundene Gerät mit einem Symbol am Anfang des Namens gekennzeichnet.
So stellen Sie die Verbindung vom Bluetooth-Gerät aus her
Bedieren Sie das Bluetooth-Gerät, um die Verbindung mit diesen Gerät herzustellen. Wenn die Verbindung erfolgreich hergestellt wurde, erscheidt oder unter im Display.
So trennen Sie die Verbindung
1 Gehen Sie wie in Schritt 1 bis 3 oben erlautert vor.
2 Berühren Sie das zurzeit verbundene Gerät und dann „Handsfree Disconnect“ oder „Audio Disconnect".
So löschen Sie die Registriierung für alle Geräte
1 Gehen Sie wie in Schritt 1 bis 3 oben erlautert vor.
2 Berühren Sie „Delete All" und dann in der Bestätigungsanzeige „Yes".
So löschen Sie die Registriierung für ein Gerät
1 Gehen Sie wie in Schritt 1 bis 3 oben erlautert vor.
2 Berühren Sie das Gerät, für das die Registriierung gelöscht werden soll, und dann „Delete this device from List".
3 Berühren Sie „Yes“ in der Bestätigungsanzeige.
So stellen Sie von thisem Gerät aus eine Verbindung zum zuletzt verbundenen Gerät her (nur Bluetooth-Audio)
Berühren Sie „Source List“, „BT Audio“ und dann „Connect“.
Hinweis
Wenn beim Audio-Streaming eine Verbindung hergestellt wird, kann im Wiedergabeton Störauschen zu horen sein.
Tipp
Sie können für das Audio-Streaming eine Verbindung zu einem Mobilefon herstellen, wenn diese A2DP (Advanced Audio Distribution Profile) unterstützen.
Telefonieren mit Freisprecheinrichtung
Sobald das Gerät mit einem Mobilitelefon verbunden ist, können Sie durch Bedieren dieser Geräts Freisprechanrufe tätigen/ entgegenhalten.
Tätigen von Anrufen
Durch Wahlen einer Telefonnummer
1 Drücken Sie (TOP) und berühren Sie dann „BT Phone" im Hauptmenu.
Die Bluetooth-Telefonanzeige erscheint.

2 Berühren Sie „Call Menu" und dann „Dial".
Die Anzeige zum Eingeben von Ziffern ertscheint.

3 Berühren Sie die Zahlentasten, um die Telefonnummer einzugeben, und dann
Zum Löschen einer eingegebenen Ziffer berühren Sie _X
Der Anruf wird getätig und die Anrufanzeige entscheid, bis der andere Geschäftseinnehmer den Anruf entgegennimmt.

Uber das Telefonbuch
Erläuterungen zum Verwalten der Telefonbuchdaten finden Sie unter „Verwaltendes Telefonbuchs" auf Seite 47.
1 Drücken Sie TOP und berühren Sie dann „BT Phone" im Hauptmenu.
Die Bluetooth-Telefonanzeige erscheint.
2 Berühren Sie „Call Menu“ und dann „Phonebook“.
Das Telefonbuch wird angezeigt.
3 Wahlen Sie den gewünschten Kontakt aus.
1 In der listened mit den Initialen berühren Sie die Initialen des Kontakts.
In der listened mit den Namen berühren Sie den Namen des Kontakts.
3 In der(Liste mit den Telefonnummern berühren Sie die Telefonnummer.
Eine Kontaktbestätigungsanzeige erscheint.
4 Berühren Sie „Call".
Der Anruf wird getätigst und die Anrufanzeige erscheint, bis der andere Geschäftseinnehmer den Anruf entgegennimmt.
Tipp
Sie kann mit dieser Gemät auch das Telefonbuch des verbundenen Mobittelefons durchsuchen und einen Anruf tätig (Seite 49).
Fortsetzung auf der nachsten Seite
Uber die Ruflste
Das Gerät speichert die letzten 20 Anrufe, so dass Sie rasch eine Rufnummer aus der Listeauswahlen können.
1 Drücken Sie TOP und berühren Sie dann „BT Phone" im Hauptmenu.
Die Bluetooth-Telefonanzeige erscheint.
2 Berühren Sie „Call Menu“ und dann „Recent Call“.
Die List der letzten Anrufe erscheint.
Zum Blättern in der Liste berühren Sie .
3 Berühren Sie den gewünschten Eintrag in der Liste.
Eine Kontaktbestätigungsanzeige erscheint.
4 Berühren Sie „Call".
Der Anruf wird getätig und die Anrufanzeige erscheint, bis der andere Geschäftseinnehmer den Anruf entgegennimmt.
Uber die Kurzwahl
Sie können bis zu 6 Kontakte in der Kurzwahl speichern. Erläuterungen zum Speichern der Kontaktdaten finden Sie unter „Kurzwahl" auf Seite 50.
1 Drucken Sie TOP und berühren Sie dann „BT Phone" im Hauptmenu.
Die Bluetooth-Telefonanzeige erscheint.
2 Berühren Sie die Nummer in der Liste (1^ bis 6^ )
Eine Kontaktbestätigungsanzeige erscheint.
3 Berühren Sie „Yes".
Der Anruf wird getätig und die Anrufanzeige erscheint, bis der andere Geschäftseinnehmer den Anruf entgegennimmt.
Uber die Sprachwahlfunktion
Sie können über den im verbundenen Mobiltelefon gespeicherten Namen für die Sprachwahl einen Anruf tätigen.
1 Drücken Sie TOP und berühren Sie dann „BT Phone" im Hauptmenu.
Die Bluetooth-Telefonanzeige erscheint.
2 Berühren Sie „Voice Dial".
3 Sprechen Sie den Name des gewünschten Geschäftseinnehmers laut aus.
Wenn ihre Stimme erkannt wird, wird der Anruf getätig.
Die Anrufanzeige erscheint, bis der andere Geschäftsteilnehmer den Anruf entgegennimmt.
Hinweise
- Sprechen Sie den Namegenauso aus, wie Sieihn beim Speichern auf dem Mobiltelefon gesprochen haben.
- Wenn die Sprachwahlfunktion am verbundenen Mobiletelefon aktiviert ist, Funktioniert die Sprachwahl mit thisem Gerat unter Umständen nicht.
- Deaktivieren Sie die Sprachwahlfunktion am Mobittelefon, solange es mit diesen Gerät verbunden ist.
- Aufgrund von Motorengeräuschen und anderen Nebengeräuschen wird der von Ihnen laut ausgesprochene Name möglicherweise nicht erkannt. Verringern Sie Nebengeräusche so welt wie möglich, um eine gute Erkennung zu gewährleisten.
Die Sprachwahl Funktioniert möglicherweise je nach Erkennungsspezifikation am Mobiletelefon nicht. Einzelheiten dazu finden Sie auf der Support-Website.
So stellen Sie die Lautstärke der Stimme des Geschäftseinherse ein
Drücken Sie während eines Anrufs + / - Die Lautstärke der Stimme des
Gesprachsteilnehmers wird gespeichert, und\ zwar unabhängig von der sonst eingestellen\ Lautstärke.
Entgegennehmen von Anrufen
Wenn das Gerät mit dem Mobiltelefon verbunden ist, können Sie einen Anruf jederzeit entgegenhalten.
Die folgende Anzeige weist zusammen mit dem Rufzeichen auf einen eingehenden Anruf hin.

So behmen Sie den Anruf entgegen Berühren Sie
So stellen Sie die Lautstärke des Rufzeichens ein
Drücken Sie, während der Anruf eingeht, + / -
Die Lautstärke des Rufzeichens wird gespeichert, undzarunabhängig von der sonst eingestillten Lautstärke.
So weisen Sie einen Anruf zurück
Berühren Sie.
Hinweis
Das Ruizeichen und die Stimm des Geschgrsteilnehmers werden nur über die Frontlautspricher ausgegeben.
Tipps
- Sie können das Gerät so einstellen, dass ein Anruf automatisch entgegenommen wird (Seite 52).
- Sie können einstehen, ob das Rufzeichen des Mobittelefons oder diese Geräts verwendet werden soll (Seite 53).
Funktionen während eines Anrufs
Während eines Anrufs erscheint die folgende Anzeige.

So stellen Sie die Lautstärke der Stimme des Geschäftseinhermsein
Drücken Sie während eines Anrufs + / - Die Lautstärke der Stimme des
Gesprachsteilnehmers wird gespeichert, und\ zwar unabhängig von der sonst eingestellten\ Lautstärke.
So senden Sie DTMF-Signale (Doppeltonmehrfrequency)
Berühren Sie „Open Keypad“ und dann die erforderlichen Zahlentasten.
So leiten Sie den aktuellen Anruf and das Mobiltelefon weiter
Berühren Sie „Handsfree OFF".
Wenn Sie den Anruf wieder zugreck auf die Freisprecheinrichtung legen wollen, berühren Sie „Handsfree ON".
Hinweis
Je nach Mobiltelefon wird die Verbindung möglicherweise unterbrochen, wenn Sie versuchen, einen Anruf weiterzuleiten.
So stellen Sie die Lautstärke für den anderen Geschäftseinnehmer ein
1 Berühren Sie „BT Menu".
2 Berühren Sie / , um zu blättern, und dann „MIC Gain".
3 Berühren Sie - / + , um den Pegel einzustellen.
Der Pegel lässt sich schrittweise auf einen Wert zwischen -2 und +2 einstellen.
4 Berühren Sie mehrmals „Back“, um zu den vorherigen Anzeigen zurückzuschalten.
So beenden Sie einen Anruf
Berühren Sie.
Verwalten des Telefonbuchs
Sie können bis zu 300 Kontakte im Telefonbuch speichern und für jeder Kontakt konnen Sie 5 Telefonnummern registrieren.
Hinweise
- Wenn Sie Ihr Fahrzeug entsorgen oder veräußern wollen und diese Gerät noch darin installiert ist, sollen den Sie zuvor unbedingt die Rücksetzstate drücken, um alle Telefonbuchdaten in dieser Gerät zu Löschen und den unberechtigten Zugriff darauf zuverhindern. Wenn Sie das Stromversorgungskabel des Geräts trennen, werden alle Telefonbuchdaten ebenfals gelscht.
- Heruntergeladene Telefonbuchdaten von einem Mobiletelefon können nicht durch nachfolgende Daten überschreiben werden. Das kann dazu führen, dass eine Daten (Namen usw.) doppelten auftreten.
- Die Telefonbuchdaten können verloren geben, wenn diese Gerät beschädigt wird.
- Wenn Sie这点es Gerat entsorgen wollen,nehmen Sie zum Löschen der Telefonbuchdaten eine Initialisierung vor (Seite 53).
Speichern von Telefonbuchdaten
So laden Sie Daten von einem Mobiltelefon herunter
Wenn das verbundene Mobiltelefon PBAP (Phone Book Access Profile) unterstützt, können Sie die Telefonbuchdaten einfach herunterlagen und auf thisem Gerät speichern.
1 Drücken Sie TOP und berühren Sie dann „BT Phone" im Hauptmenu.
Die Bluetooth-Telefonanzeige erscheint.
2 Berühren Sie „PB Access".
Das Menu zum Zugreifen auf das Telefonbuch erscheint.
3 Berühren Sie „Access“, um den Speicher auszuwahlen, in dem Telefonbuchdaten gespeichert sind. Wenn Sie Daten im internen Speicher des Mobiltelefons herunterlagen sollen, stellen Sie „Memory“ ein. Wenn Sie Daten auf einer SIM-Karte herunterlagen sollen, stellen Sie „SIM“ ein.
4 Berühren Sie „Phonebook Download“. Wenn das Herunterlagen abgeschlossen ist, erscheint „Complete“ und die Telefonbuchdaten werden auf thisem Gerät gespeichert.
So empfangen Sie Daten von einem Mobiltelefon
Sie können die Telefonbuchdaten vom verbundenen Mobiltelefon aus senden und auf thism Gerät empfangen.
1 Drücken Sie (TOP) und berühren Sie dann „BT Phone" im Hauptmenu. Die Bluetooth-Telefonanzeige erscheint.
2 Berühren Sie „Call Menu" und dann „Receive Phonebook". Dieses Gerät kann jetzt Telefonbuchdaten empfangen.
3 Senden Sie vom verbundenen Mobiltelefon aus die Telefonbuchdaten.
Wenn das Empfangen der Daten abgeschlossen ist, erscheidt „Complete" und die Telefonbuchdaten werden auf thisem Gerät gespeichert.
So fügen Sie einen Kontakt durch Eingeben von Name und Nummer hinzu
1 Drucken Sie (TOP) und berühren Sie dann „BT Phone" im Hauptmenu. Die Bluetooth-Telefonanzeige erscheint.
2 Berühren Sie „Call Menu“ und dann „Phonebook“. Das Telefonbuch wird angezeigt.
3 Berühren Sie „Add Contact". Die Kontaktregistrierungsanzeige erscheint.

4 Berühren Sie „Empty“ auf der ersten Zeile. Die Anzeige zum Eingeben des Namens erscheint.
5 Berühren Sie die Buchstabentasten, um den Namen einzugeben, und dann „OK“. Einzelheiten zum Verwenden der Tastatur finden Sie unter „Informationen zur Tastatur zum Bearbeitern von Namen“ auf Seite 50. Die Kontaktregistrierungsanzeige erscheidiert erneut.
6 Berühren Sie „Empty“. Die Anzeige zum Eingeben von Ziffern erscheint.
7 Berühren Sie die Zahlentasten, um die Telefonnummer einzugeben, und dann „OK". Die Anzeige zum Auswahlen des Telefonummerntyps erscheint.
8 Berühren Sie den gewünschten Telefonnummertyp. Die Kontaktregistrierungsanzeige erscheint erneut. Wenn Sie weitere Telefonnummern eingeben wollen, gehen Sie nochmals wie in Schritt 6 bis 8 erlautert vor.
9 Berühren Sie „Add to Phonebook?". Der Kontakt wird zum Telefonbuch hinzugeführigt.
So fügen Sie einen Kontakt aus der Rufliste hinzu
1 Drücken Sie (TOP) und berühren Sie dann „BT Phone" im Hauptmenu. Die Bluetooth-Telefonanzeige erscheint.
2 Berühren Sie „Call Menu“ und dann „Recent Call“. Die Liste der letzten Anrufe erscheint. Zum Blättern in der Liste berühren Sie ▲/▼.
3 Berühren Sie den Eintrag, der zum Telefonbuch hinzugefügt werden soll. Eine Kontaktbestätigungsanzeige erscheint.
4 Berühren Sie „Save to Phonebook“. Die Anzeige zum Eingeben des Namens erscheint.
5 Berühren Sie die Buchstabentasten, um den Namen einzugeben, und dann „OK“. Einzelheiten zum Verwenden der Tastatur finden Sie unter „Informationen zur Tastatur zum Bearbeitern von Namen“ auf Seite 50. Der Kontakt wird zum Telefonbuch hinzugefügt.
Durchsuchen eines Telefonbuchs auf einem Mobiltelefon
Wenn das verbundene Mobiltelefon PBAP (Phone Book Access Profile) unterstützen, können Sie die Telefonbuchdaten mit thisem Gerät durchsuchen. Sie können einen Kontakt auch anrufen oder den Kontakt zum Telefonbuch theseis Geräts hinzufügen.
1 Drücken Sie (TOP) und berühren Sie dann „BT Phone" im Hauptmenu. Die Bluetooth-Telefonanzeige erscheint.
2 Berühren Sie „PB Access“. Das Menu zum Zugreifen auf das Telefonbuch erscheint.
3 Berühren Sie „Access“, um den Speicher auszuwahlen, in dem Telefonbuchdaten gespeichert sind. Wenn Sie Daten im internen Speicher des Mobiltelefons durchsuchen sollen, stellen Sie „Memory“ ein. Wenn Sie Daten auf einer SIM-Karte durchsuchen sollen, stellen Sie „SIM“ ein.
4 Berühren Sie „Phonebook Browsing". Das Telefonbuch des verbundenen Mobiltelefons wird angezeigt.
5 Wahlen Sie den gewünschten Kontakt aus.
In der liste mit den Initialen berühren Sie die Initialen des Kontakts.
In der listened mit den Namen berühren Sie den Namen des Kontakts.
3 In der listened mit den Telefonnummern berühren Sie die Telefonnummer.
Eine Kontaktbestätigungsanzeige erscheint.
So rufen Sie den Kontakt an
Berühren Sie die gewünschte Telefonnummer und dann in der Bestätigungsanzeige „Yes".
So fügen Sie den Kontakt zum Telefonbuch theses Geräts hinzu
Berühren Sie „Save to Phonebook“ und dann in der Bestätigungsanzeige „Yes“.
Löschen von Telefonbuchdaten
So löschen Sie alle Telefonbuchdaten auf thism Gerät
1 Drücken Sie TOP und berühren Sie dann „BT Phone" im Hauptmenu. Die Bluetooth-Telefonanzeige erscheint.
2 Berühren Sie „Call Menu“ und dann „Phonebook“. Das Telefonbuch wird angezeigt.
3 Berühren Sie „Delete All". Eine Bestätigungsanzeige erscheint.
4 Berühren Sie „Yes". Alle Telefonbuchdaten werden gelöscht.
So löschen Sie einen einzelnen Kontakt aus dem Telefonbuch
1 Gehen Sie wie in Schritt 1 bis 2 offen erlautert vor.
2 Wahlen Sie den zu Löschenden Kontakt.
In der listened mit den Initialen berühren Sie die Initialen des Kontakts.
2 In der listened mit den Namen berühren Sie den Namen des Kontakts.
3 Berühren Sie „Delete Contact". Eine Bestätigungsanzeige erscheint.
4 Berühren Sie „Yes". Der Kontakt wird aus dem Telefonbuch gelöscht.
BearbeiteneinesKontakts
1 Drücken Sie TOP und berühren Sie dann „BT Phone" im Hauptmenu. Die Bluetooth-Telefonanzeige erscheint.
2 Berühren Sie „Call Menu“ und dann „Phonebook“. Das Telefonbuch wird angezeigt.
3 Wahlen Sie den zubearbeitenden Kontakt.
In der listened mit den Initialen berühren Sie die Initialen des Kontakts.
2 In der liste mit den Namen berühren Sie den Namen des Kontakts.
Fortsetzung auf der{nachsten Seite
4 Berühren Sie die gewünschte Bearbeitungsoption.
| Berühre Option | Funktion |
| „Edit Name“ | Bearbeiten des Namens des Kontaktis. Geben Sie den neuen Namen ein und berühren Sie dann „OK“. |
| „Add Number“ | Hinzufügen einer Telefonnummer zum Kontakt. Geben Sie die Telefonnummer ein und berühren Sie dann „OK“. |
| die Telefonummer in der Listel | Löschen der ausgewählten Telefonnummer. Berühren Sie „Delete Number“ und dann „Yes“. |
Informationen zur Tastatur zum Bearbeiten von Name

| Berühre Option | Funktion |
| „ABC“ oder „abc“ | Wechseln zwischenGroß- /Kleinschreibung. |
| die gewünschteBuchstabentaste | Eingeben desBuchstabens. |
| „123“ | Umschalten zurnumerischen Tastatur. |
| die gewünschteZahlen-/Sonderzeichentaste | Eingeben der Ziffer bzw. desSonderzeichens. |
| „Space“ | Eingeben einesLeerzeichens. |
| ✕ | Löschen einesZeichens. |
| „OK“ | Abschlussen derNamensbearbeitung. |
Verwalten von Anrufdaten
Rufliste
Sie können die Einträge in der Rufliste loschen.
So löschen Sie alle Einträge aus der Rufliste
1 Drücken Sie TOP und berühren Sie dann „BT Phone" im Hauptmenu. Die Bluetooth-Telefonanzeige erscheint.
2 Berühren Sie „Call Menu“ und dann „Recent Call“. Die Liste der letzten Anrufe erscheint.
3 Berühren Sie „Delete All". Eine Bestätigungsanzeige erscheint.
4 Berühren Sie „Yes". Alle Einträge in der Rufliste werden gelöscht.
So löschen Sie einen einzelnen Eintrag aus der Rufliste
1 Gehen Sie wie in Schritt 1 bis 2 offen erlautert vor.
2 Berühren Sie in der Liste den zu loschenden Eintrag. Eine Kontaktbestätigungsanzeige erscheint.
3 Berühren Sie „Delete Number". Eine Bestätigungsanzeige erscheint.
4 Berühren Sie „Yes“. Der ausgewählte Eintrag wird aus der Rufliste gelöscht.
Kurzwahl
Sie konnen Kontakte im Telefonbuch oder der Rufliste unter Kurzwahlnummern speichern.
So speichern Sie einen Kontakt aus dem Telefonbuch
1 Drücken Sie TOP und berühren Sie dann „BT Phone" im Hauptmenu. Die Bluetooth-Telefonanzeige erscheint.
2 Berühren Sie „Call Menu“ und dann „Phonebook“. Das Telefonbuch wird angezeigt.
3 Wahlen Sie den Kontakt aus, der als Kurzwahl gespeichert werden soll.
In der listened mit den Initialen berühren Sie die Initialen des Kontakts.
In der listened mit den Namen berühren Sie den Namen des Kontakts.
3 In der liste mit den Telefonnummern berühren Sie die Telefonnummer.
Eine Kontaktbestätigungsanzeige erscheint.
4 Berühren Sie „Preset Memory“ und dann die gewünschte Kurzwahlnummer (.P1" bis .P6"). Der Kontakt wird unter der ausgewählten Kurzwahlnummer gespeichert.
So speichern Sie einen Kontakt aus der Rufliste
1 Drücken Sie TOP und berühren Sie dann „BT Phone" im Hauptmenu. Die Bluetooth-Telefonanzeige erscheint.
2 Berühren Sie „Call Menu“ und dann „Recent Call“. Die Liste der letzten Anrufe erscheint. Zum Blättern in der Liste berühren Sie ▲/▼.
3 Berühren Sie den gewünschten Eintrag in der Liste. Eine Kontaktbestätigungsanzeige erscheint.
4 Berühren Sie „Preset Memory“ und dann die gewünschte Kurzwahlnummer („P1“ bis „P6“). Der Kontakt wird unter der ausgewählten Kurzwahlnummer gespeichert.
Soändern Sie die Registriierung einer Kurzwahl
Gehen Sie wie oben erlautert vor und überschreiben Sie die registrierte Kurzwahl.
Sperren von persönlichen Daten
Wenn Sie den unberechtigten Zugriff auf personliche Daten verhindern sollen, konnen Sie Anrufdaten mit einem 4-stelligen Code sperren. Sobald die Daten gespeert sind, müssen Sie den Code eingeben, um auf die Optionen im Anrufmenu zugreifen zu konnen.
1 Drücken Sie TOP und berühren Sie dann „BT Phone" im Hauptmenu. Die Bluetooth-Telefonanzeige erscheint.
2 Berühren Sie „Call Menu“ und dann „PIM Security“. Eine Bestätigungsanzeige erscheint.
3 Berühren Sie „Yes“. Die Anzeige zum Einstellen des Codes erscheint.
4 Berühren Sie die Zahlentasten, um den Code einzugeben, und dann „OK".
5 Berühren Sie die Zahlentasten, um den Code zur Bestätigung erneut einzugeben, und dann „OK". Die Einstellung ist damit abgeschlossen.
Zum Löschen einer eingegebenen Ziffer berühren Sie „Clear". Um zur vorherigen Anzeige zurückzuschalten, berühren Sie „Back".
Aufheben der Sperrung der Anrufdaten
1 Gehen Sie wie in Schritt 1 bis 2 oben erläutert vor. Eine Bestätigungsanzeige erscheint.
2 Berühren Sie „Yes“. Die Anzeige zum Aufheben der Sperrung erscheint.
3 Berühren Sie die Zahlentasten, um den Code einzugeben. Complete" ertscheint und die Sperrung der Anrufdaten wird aufgehoben.
Audio-Streaming
Wiedergeben des Tons von einem Bluetooth-Gerät über these Gerät
Wenn das andere Gerät das A2DP-Profil (Advanced Audio Distribution Profile) der Bluetooth-Technologie unterstützt, können Sie den Ton über these Gerät wiedergeben halten.
1 Stellen Sie eine Verbindung zwischen thisem Gerät und dem Bluetooth-Gerät her (Seite 44).
2 Verringern Sie die Lautstärke an thisem Gerät.
3 Berühren Sie „Source List" und dann „BT Audio". Die Bluetooth-Audioanzeige erscheint.
4 Starten Sie am Bluetooth-Gerät die Wiedergabe.
5 Stellen Sie die Lautstärke an thisem Gerät ein.
Steuern des Bluetooth-Geräts mit thisem Gerät
Wenn das andere Gerät das AVRCP-Profil (Audio Video Remote Control Profile) der Bluetooth-Technologie unterstützt, konnen Sie die Wiedergabe mit diesen Gerät steuern.
Mit Ausnahme der folgenden Funktionen halten sich die Funktionen bereits wie bei der Disc-Wiedergabe (Seite 22) ausführren.
| Berühre Option | Funktion |
| „Play Menu“ → „BT Menu“ | Aufrufen des Bluetooth-Einstellmenüs (Seite 52). |
| -/+ im Feld „Level“ | Verringern der Lautstärkeunterschiede zwischen thisem Gerät und dem Bluetooth-Gerät. Der Pegellässt sich schrittweise auf einen Wert zwischen -8 und +18 einstellen. |
| „Connect“ | Herstellen einer Verbindung zu dem zuleztt verbundenen Gerät von thisem Gerät aus. |
Hinweise
- Welche Funktionen zur Verfugung stehen, hangt vom Bluetooth-Gerät ab. Führren Sie Funktionen, die an thisem Gerät nicht zur Verfugung stehen, am Bluetooth-Gerät aus.
- Bei einigen Bluetooth-Geräten müssen Sie▶wzimal berühren, um die Wiedergabe zu starten bzw. zu unterbrechen.
- Beim Audio-Streaming werden einige Angaben, wie z. B. der Stückname usw., an thisem Gerät nicht angezeigt.
Bluetooth-Einstellungen
Die Bluetooth-Einstellungen können Sie über „BT Menu“ konfigurieren.
1 Wahlen Sie die Bluetooth-Signalquelle aus.
Zum Auswahlen des Bluetooth-Telefonmodus drücken Sie TOP und berühren dann ,BT Phone" im Hauptmenü. Zum Auswahlen des Bluetooth-Audiomodus berühren Sie „Source List" und dann ,BT Audio".
2 Berühren Sie „BT Menu".
Bei Bluetooth-Audio berühren Sie „Play Menu" und dann „BT Menu". Das Bluetooth-Einstellmenü erscheint.
3 Berühren Sie die gewünschte Option in der Liste und konfigurieren Sie die Einstellung.
Das Bluetooth-Einstellmenu enthalt folgende Optionen.
"Signal"*1
Zum Aktivieren des Bluetooth-Signals: ,ON",OFF".
"Discoverable"*1 (Seite 43)
Ermöglicht dem Bluetooth-Gerät die Suchen nach thisem Gerät: „Show“, „Hide“.
Device Name\*\*1
Zum Ändern des Namens diesen Geräts, der am verbundenen Gerät angezeigt wird. (Standardeinstellung: „Sony Automotive") Einzelheiten zum Vorgehen beim Verwendend der Tastatur finden Sie unter „Informationen zur Tastatur zum Bearbeiten von Namen" auf Seite 50.
"Search\*\*1 (Seite 43)
Zum Suchen nach Bluetooth-Geräten, zu denen eine Verbindung hergestellt werden kann.
"Device List"*1 (Seite 44)
Zum Aufrufen der Seite mit den registrierten Geräten, zum Herstellen einer Verbindung mit einem registrierten Gerät bzw. zum Löschen der Registierung für alle Geräte.
"Auto Answer"\*1
Zum automatischen Entgegennehmen eines eingehenden Anrufs.
-,Short": Automatische Anrufentgegennahme nach 3 Sekunden.
-,Long": Automatische Anrufentgegennahme nach 10 Sekunden.
- ,OFF": Keine automatische Anrufentgegennahme.
"Ringtone**1*2
Zum Festlegen, ob das Rufzeichen theses Gerats oder des verbundenen Mobiltelefons ertönen soll: „Default“, „Cellular”.
Rauschunterrückungsmodus)
Zum Verringern von Echo bzw. Rauschen bei Telefongesprachen.
Normalerweise sollte hier „Mode 1“ eingestellt sein.
Ist die Tonqualität abgehender
Telefongesprüche unzureichend, stellen Sie „Mode 2“ oder „OFF“ ein.
"MIC Gain" (Seite 47)
Zum Einstellen der Lautstärke für den anderen Geschäftseinnehmer: -2 +2
"Initialize"*1
Zum Initialisieren aller Bluetooth-Einstellungen. Berühren Sie „Yes" in der Bestätigungsanzeige.
1 Lässt sich während eines Freisprechanrufs nicht konfigurieren.
2 Bei manchen Mobtelefonen wird das Rufzeichen与此es Gerats ausgegeben, bzwohl „Cellular“ eingestellt ist.
Hinweis
Einzelheiten zur Einstellung an anderen Bluetooth-Geräten finden Sie in den jeweiligen Anleitungen.
Klangeinstellungen
Auswahlen der Tonqualität — EQ7
Sie können für 7 Musiktypen eine spezielle Equalizer-Kurve auswahlen (.,Xplod", „Vocal", „Edge", „Cruise", „Space", „Gravity", „Custom" oder ,OFF").
1 Berühren Sie während des Empfangs bzw. während der Wiedergabe die Option „Source List" und dann
2 Berühren Sie „Sound". Das Klangeinstellmenü erscheint.
3 Berühren Sie „EQ7". Die Optionen erschinen.
4 Berühren Sie die gewünschte Equalizer-Kurve. Die Einstellung ist damit abgeschlossen.
Wenn Sie die Equalizer-Kurve deaktivieren,.wollen, wahlen Sie .,OFF". Um zur vorherigen Anzeige zurückzuschalten, berühren Sie .,Back".
Individualles Einstellen der Equalizer-Kurve — EQ7 Tune
Mit „Custom“ unter EQ7 konnen Sie ihre individuellen Equalizer-Einstellungen vormehnen. Sie konnen den Pegel für 7 verschiedene Frequenzbereiche einstellen: 62Hz 157Hz 396Hz 1kHz 2,5kHz 6,3kHz und 16kHz .
1 Berühren Sie während des Empfangs bzw. während der Wiedergabe die Option „Source List" und dann
2 Berühren Sie „Sound" und dann „EQ7".
3 Berühren Sie „Custom“ und dann „Tune“. Eine Einstellanzeige erscheint.

4 Berühren Sie +/- für die einzelnen Frequenzbereiche, um den Pegel einzustellen.
Der Pegel lässt sich schrittweise auf einen Wert zwischen -8 und +8 einstehen. Wenn Sie die werkseitig eingestellte Equalizer-Kurve wiederherstellen wollen, berühren Sie „Reset".
5 Berühren Sie „OK“.
Die Einstellung ist damit abgeschlossen.
Um zur vorherigen Anzeige zurückzuschalten, berühren Sie „Back".
Tipp
Andere Equalizer-Typen halten sich ebenfalleinstehen.
Einstellen der Klangeigenschaften
Sie können die Tonbalance zwischen den Lautsprachern links und rechts (, / Balance^) und den Front- und Hecklautsprachern (, / Fader^) nach Belieben einstehen. Sie können auch die Lautstärke des Tiefstoonlautsprachers einstellen, falls einer angeschlossen ist.
1 Berühren Sie während des Empfangs bzw. während der Wiedergabe die Option „Source List" und dann
2 Berühren Sie „Sound".
Das Klangeinstallmenu erscheint.
3 Berühren Sie „Balance/Fader".
EineEinstellanzeigeerscheint.

4 Berühren Sie / / / , um die Balance bzw. den Fader einzustellen.
Der Pegel lassst sich schrittweise auf einen Wert zwischen -15 und +15 (Balance) bzw. -15 und +15 (Fader) einstehen.
5 Berühren Sie + / - , um den Lautstärkepegel des Tiefstonlautsprechers einzustellen.
These Einstellung lassst sich nur vornehmen, wenn ein Tiefstlonlautsprecher angeschlossen ist und „Subwoofer“ auf „ON“ gesetzt ist (Seite 63). Der Pegel lassst sich schrittweise auf einen Wert zwischen -6 und +6 einstellen.
Um zur vorherigen Anzeige zurückzuschalten, berühren Sie „Back".
Optimieren des Klangs für die einzelnen Hörpositionen — Intelligent Time Alignment
Das Gerät kann die räumliche Wirkung des Klangs verändern, indem es die Tonausgabe aus den einzelnen Laufsprechern je nach Hörposition verzögert und ein natürliches Klangfeld simuliert, das Ihnen unabhängig von ihrer tatsächlichen Hörposition im Fahrzeug den Eindruck vermittelt, dass Sie sich in der Mitte des Klangfeldes befinden. Die Optionen für „Listening Position“ sind unter aufgelistet.
"Front L" (1): Vorne links "Front R" (2): Vorne rechts "Front" (3): Vorne in der Mitte
",All" (4): In der Mitte des Fahrzeugs
"Custom": Präzise kalibrierte Position (Seite 55)
OFF":Keine Position eingestellt.

Sie konnen in folgenden Fälle auch die ungefährte Position des Tiefstonlautsprechers im Verhältnis zur Hörposition einstehen:
-Der Tiefstonlautsprecher ist angeschlossen und „Subwoofer“ ist auf „ON“ gesetzt (Seite 63).
Die Hörposition ist auf „Front L“, „Front R“, „Front“ oder „All“ gesetzt.
1 Berühren Sie während des Empfangs bzw. während der Wiedergabe die Option „Source List" und dann
2 Berühren Sie „Sound".
Das Klangeinstellmenu erscheint.
3 Berühren Sie „Listening Position".
Eine Einstellanzeige erscheint.
4 Stellen Sie die Hörposition ein.
Berühren Sie „Front L“, „Front R“, „Front“, „All“ oder „Custom“.
5 Stellen Sie die Position des Tiefstonlautsprechers ein.
Wenn Sie in Schritt 4 offen „Front L“, „Front R“, „Front“ oder „All“ auswahlen, konnen Sie die Position des Tiefstonlautsprechers einstehen.
Berühren Sie „Near“, „Normal“ oder „Far“.
Die Einstellung ist damit abgeschlossen.
Wenn Sie Intelligent Time Alignment deaktivieren wollen, wahren Sie „OFF“.
Um zur vorherigen Anzeige zurückzuschalten, berühren Sie „Back".
Präzise Kalibrierung der Hörposition — Optimieren des Intelligent Time Alignment
Sie können die Hörposition für die einzelnen Lautsprecher prazise kalibrieren, so dass die Verzögerung der Tonausgabe für die gewünschte Hörposition mit higherer Prazision erfolgt.
Messen Sie als Vorbereitung zunachst den Abstand zwischen der Hörposition und den einzelnen Laatsprechern.
1 Berühren Sie während des Empfangs bzw. während der Wiedergabe die Option „Source List" und dann
2 Berühren Sie „Sound“ und dann „Listening Position“.
3 Berühren Sie „Custom“ und dann „Custom Tune“.
Eine Einstellanzeige erscheint.

4 Berühren Sie +/- für die einzelnen Laufsprecher, um den Abstand des Laufsprechers von der Hörposition einzustellen.
Der Abstand lässt sich in Schritten von 2 cm auf einen Wert zwischen 0 und 400 cm einstehen.
Zum Wiederherstellen der
Standardieinstellung berühren Sie „Reset".
5 Berühren Sie „OK“.
Die Einstellung ist damit abgeschlossen.
Um zur vorherigen Anzeige zurückzuschalten, berühren Sie „Back".
Hinweis
Die Einstellung tritt erst in Kraft, wenn Sie „OK" berühren.
Laufsprecherkonfiguration und Einstellen der Lautstärke
Erstellen eines virtuellen mittleren Laufsprechers — CSO
Für ein Raumklangerlebnis in gutter Qualität sollenn 5 normale Lautsprecher (Frontloutsprecher links/rechts, Heckloutsprecher links/rechts, mittlerer Lautsprecher) und 1 Tiefstonloutsprecher vorhanden sein. Mit der Funktion CSO (Center Speaker Organizer) konnen Sie einen virtuellen mittleren Lautsprecher erstehen, ohne einen mittleren Lautsprecher tatsächlich anschlossen zu müssen.
1 Berühren Sie während der Disc- bzw. USB-Wiedergabe die Option „Source List" und dann
2 Berühren Sie „Sound".
Das Klangeinstellmenu erscheint.
3 Berühren Sie „CSO“.
Die Optionen erschinen.
4 Berühren Sie „CSO1“, „CSO2“ oder „CSO3“.
Die Einstellung ist damit abgeschlossen.
Um zur vorherigen Anzeige zurückzuschalten, berühren Sie „Back".
Hinweis
"CSO" ist nur wirksam, wenn „Multi Ch Output" auf „Multi" (Seite 65) gesetzt ist, da die Funktion nur für die Wiedergabe von Mehrkanal-Tonquellen relevant ist.
Verwenden der Hecklautsprecher als Tiefsttonlautsprecher — RBE
Die Funktion RBE (Rear Bass Enhancer) verfürt die Bässe, indem die Einstellung für den Niedrigpassfilter (Seite 63) auf die Hecklautsprecher angewendet wird. Dabei fungieren die Hecklautsprecher als Tiefstonlautsprecher, ohne dass tatsächlich einer angeschlossen ist.
1 Berühren Sie während des Empfangs bzw. während der Wiedergabe die Option „Source List" und dann
2 Berühren Sie „Sound". Das Klangeinstellmenu erscheint.
3 Berühren Sie / , um zu blättern, und dann „RBE". Die Optionen erscheinen.
4 Berühren Sie „RBE1“, „RBE2“ oder „RBE3“. Die Einstellung ist damit abgeschlossen.
Um zur vorherigen Anzeige zurückzuschalten, berühren Sie „Back".
Einstellen der Laatsprecherlaufstärke
Sie können die Lautstärke der angeschlossenen Laufsprecher einzeln einstellen.
Als einstellbare Lautsprecher werden „Front R" (Frontlautsprecher rechts), „Front L" (Frontlautsprecher links), „Surround L" (Heck-Surround-)Lautsprecher links), „Surround R" (Heck-(Surround-)Lautsprecher rechts) und „Subwoofer"" angezeigt.
- Nur einstellbar, wenn ein Tiefstonlautsprecher angeschlossen und „Subwoofer" auf „ON" gesetzt ist (Seite 63).
1 Berühren Sie bei ausgeschalteten Gerät „Source List" und dann.
2 Berühren Sie „Sound“. Das Klangeinstellmenu erscheint.
3 Berühren Sie / , um zu blättern, und dann ,4.1ch Speaker Level". Eine Einstellanzeige erscheint.

4 Berühren Sie den Laufsprecher und dann + / - ,um den Pegel einzustellen.
Stellen Sie wie in thisem Schritt erlautert die Lautstärke für alle Laufsprecher ein.
Zum Wiederherstellen der Standardeinstellung berühren Sie „Reset".
Um zur vorherigen Anzeige zurückzuschalten, berühren Sie „Back".
Monitoreinstellungen
Einstellen des Monitorwinkels (nur XNV-L77BT/770BT)
Der Winkel des Monitors lässt sich nach Bedarf einstellen.
1 Berühren Sie „Source List" und dann
2 Berühren Sie „General".
Das Menu für die allgemeinen Einstellungen erscheint.
3 Berühren Sie / , um zu blättern, und dann „Monitor Angle".
Eine Einstellanzeige erscheint.
4 Berühren Sie - / + , um den Winkel einzustellen.
Die Einstellung wird gespeichert.
Der Monitorwinkel bleibt auch beim Öffnen und Schlieben der Frontplatte eingestellt.
Um zur vorherigen Anzeige zurückzuschalten, berühren Sie „Back".
Touchscreen-Kalibrierung
Die Touchscreen-Kalibrierung ist erforderlich, wenn Sie durch Berührung eines Elements dieser nicht auswahlen konnen.
1 Berühren Sie „Source List" und dann
2 Berühren Sie „General".
Das Menu für die allgemeinen Einstellungen erscheint.
3 Berühren Sie um zu blättern, und dann „Touch Panel Adjust".
Eine Einstellanzeige erscheint.
4 Berühren Sie nacheinander die Zielpositionen.
Die Kalibrierung ist damit abgeschlossen.
Zum Abbrechen der Kalibrierung berühren Sie „Cancel".
Einstellen der Hintergrundanzeige
Sie konnen das Design, die Visualisierung und die Bildhelligkeit für die Hintergrundanzeige nach Belieben auswahlen.
1 Berühren Sie „Source List" und dann
2 Berühren Sie „Screen". Das Einstellmenu für die Anzeige erscheint.
3 Berühren Sie „Screen Select“. Die Optionen erschinen.
4 Wahlen Sie das Design für die Hintergrundanzeige aus. Berühren Sie „,Screen Theme" und dann den gewünschten Typ.
5 Wahlen Sie die Visualisierung aus. Berühren Sie „Visualizer" und dann den gewünschten Typ.
6 Wahlen Sie die Helligkeit der Hintergrundanzeige aus.
Berühren Sie „Day / Night mode“ und dann eine der folgenden Optionen.
"Auto": Die Helligkeit wird automatisch umgeschaltet, wenn Sie die Beleitung einschalten. (Steht nur zur Verfügung, wenn die Steuerleitung für die Beleitung angeschlossen ist.)
"Always Day": Die Anzeige wird fest auf eine passende Helligkeit bei Tageslicht eingestellt.
"Always Night": Die Anzeige wird fest auf eine passende Helligkeit bei Dunkelheit eingestellt.
Um zur vorherigen Anzeige zurückzuschalten, berühren Sie „Back".
Auswahlen der Bildqualität — Picture EQ
Sie können die Bildqualität auswahlen, die für die Helligkeit im Fahrzeuginnenraum geeignet ist.
Die Optionen sind im Folgenden angegeben.
"Dynamic": Lebhaftes Bild mit intensiven, klaren Farben.
"Standard": Standardbildqualität.
"Theater": Der Monitor wird heller;alanders für dunkel ausgeleuchtete Filme geeignet.
"Sepia": Das Bild wird mit Sepiatönen versehen.
"Custom 1", "Custom 2":
Benutzerdefinierbare Einstellungen (Seite 58).
1 Berühren Sie während der Video-bzw. Bildwiedergabe die Option „Source List" und dann
2 Berühren Sie „Screen“.
Das Einstellmenu für die Anzeige erscheint.
3 Berühren Sie „Picture EQ".
Die Optionen erscheinen.
4 Berühren Sie die gewünschte Option.
Um zur vorherigen Anzeige zurückzuschalten, berühren Sie „Back".
Anpassen der Bildqualität
Über die Optionen „Custom 1“ und „Custom 2“ unter Picture EQ können Sie die Bildqualität einstehen, indem Sie die Farbtöne anpassen.
1 Berühren Sie während der Video-bzw. Bildwiedergabe die Option „Source List" und dann
2 Berühren Sie „Screen“ und dann „Picture EQ“.
3 Berühren Sie „Custom 1“ oder „Custom 2“ und dann „Custom Tune“. Eine Einstellanseige erscheint.

4 Berühren Sie „Warm“, „Normal“ oder „Cool“, um „Color Tone“ einzustellen.
5 Berühren Sie + / - für „Brightness" und „Color", um den Pegel einzustellen.
Um zur vorherigen Anzeige zurückzuschalten, berühren Sie „Back".
Hinweis
Die Bildqualität der Rückfahrkamera lässt sich nicht einstehen.
Auswahlen des Bildseitenverhältnisses
Sie konnen das Bildseitenverhältnis ändern. Die Optionen sind im Folgenden angegeben.
Normal: Bilder werden mit einem Bildseitenverhältnis von 4:3 (normales Bild) angezeigt.

"Wide": Bilder mit einem Bildseitenverhältnis von 4:3 werden bis zum linken und rechten Bildschirmrand vergroßert. Am oberen und unteren Rand wird der überstehende Bildteil abgeschritten.

"Full": Bilder werden mit einem Bildseitenverhältnis von 16:9 angezeigt.

"Zoom": Bilder mit einem Bildseitenverhältnis von 4:3 werden bis zum linken und rechten Bildschirmrand vergroßert.

1 Berühren Sie während der Video-bzw. Bildwiedergabe die Option „Source List" und dann
2 Berühren Sie „Screen".
Das Einstellmenu für die Anzeige erscheint.
3 Berühren Sie „Aspect".
Die Optionen erschinen.
4 Berühren Sie die gewünschte Option.
Um zur vorherigen Anzeige zurückzuschalten, berühren Sie „Back".
Hinweis
Das Bildseitenverhältnis der Rückfahrkamera lässt sich nicht ändern.
Einstellungen
Das Einstellmenu besteht aus den folgenden Kategorien.
"General": Allgemeine Einstellungen (Seite 60)
·_i ,Sound":Klangeinstellungen(Seite 62)
"Screen": Einstellungen für die Anzeige (Seite 64)
„Visual“: DVD- und andere Wiedergabeeinstellungen (Seite 64)
Vorgehen beim Vornehmen von Einstellungen
Im Folgenden wird das Verfahren zum Einstellen der Optionen im Menu erlautert.
Beispiel: Einstellen des Demo-Modus
1 Berühren Sie bei ausgeschalteten Gerät „Source List" und dann Berühren Sie im Hauptmenu Das Einstellmenu erscheidt.

2 Berühren Sie „Screen".
Das Einstellmenu für die Anzeige erscheint.

3 Berühren Sie „Demo“, um die Option auf „ON“ oder „OFF“ zu setzen.
Die Einstellung ist damit abgeschlossen.
Um in den Optionen zu blättern (nur bei Bedarf), berühren Sie / .
Um zur vorherigen Anzeige zurückzuschalten, berühren Sie „Back".
Allgemeine Einstellungen
Berühren Sie „General“ das gewünschte Element die gewünschte Option. Erläuterungen zum Vorgehen darauf ein. unter „Vorgehen beim Vornehmen von Einstellungen“ auf Seite 59.ähere Erläuterungen finden Sie auf den angegebenen Seiten. „gibt die Standardeinstellung an.
| Element | Option | Zweck | Gerätestatus |
| Security Control (Seite 68) | - | - | Jeder Status. |
| Clock Adjust (Seite 68) | - | - | Jeder Status. |
| Auto OFFSchaltet das ausgeschalteteGerät nach einer vorgegebenenZeit automatisch vollständigab. | No (●) | Die Ausschaltautomik wird deaktiviert. | Jeder Status. |
| 30sec, 30min,60min | Hier wahren Sie die Zeit bis zum Ausschalten. | ||
| CT (Uhrzeit) (Seite 26, 27) | ON | Die Uhrzeitfunktion (CT) wird aktiviert. | Jeder Status. |
| OFF (●) | Die Uhrzeitfunktion (CT) wird deaktiviert. | ||
| Output Color SystemHier konnen Sie das Farbsystem auf den angeschlossenen Monitor einstellen.(SECAM wird nicht Unterstützung.) | PAL (●) | PAL wird eingestellt. | Ausgeschaltet. |
| NTSC | NTSC wird eingestellt. | ||
| DimmerDient zum Ändern der Display-Helligkeit. | Auto (●) | Das Display wird dunkler, wenn Sie die Beleuchtung einschalten. (Stehn nur zur Verfügung, wenn die Steuerleitung für die Beleuchtung angeschlossen ist.) | Jeder Status. |
| ON | Das Display wird dunkler. | ||
| Dimmer LevelEinstellen desHelligkeitspegels bei aktiviertem Dimmer. | (-5 ~ +5)●: 0 | Hier wahren Sie den Pegel aus. | Jeder Status. |
| Touch Panel Adjust(Seite 57) | - | - | Jeder Status. |
| Beep | ON (●) | Der Signalton wird aktiviert. | Jeder Status. |
| OFF | Der Signalton wird deaktiviert. | ||
| Language | English (●),Spanish, Puescken | Hier wahren Sie die Anzeigesprache aus. | Ausgeschaltet. |
| Key Illumination | ON (●) | Die Tastenbeleuchting wird eingescheltet. | Jeder Status. |
| OFF | Die Tastenbeleuchting wird ausgescheltet. | ||
| Rotary Commander Wechseln der Drehrichtung der Regler am Joystick. | Default (●) | Der Joystick wird in der werkseitig vorgesehen Position angebracht. | Jeder Status. |
| Reverse | Der Joystick wird rechts an der Lenksäule angebracht. | ||
| AUX1 Input (Seite 69) Einstellen des Gerätypes an den Anschlüssen AUX1 IN, so dass die Hintergrundanzeige entsprechend wechselt. | Video (●) | Das Bild vom angeschlossenen Gerät wird angezeigt. | Ausgeschaltet. |
| Audio | Die Hintergrundanzeige diesen Geräts ist zu sehen. | ||
| OFF | Der AUX-Eingang wird deaktiviert. | ||
| AUX2 Input (Seite 69) Einstellen des Gerätypes an den Anschlüssen AUX2 IN, so dass die Hintergrundanzeige entsprechend wechselt. | Video (●) | Das Bild vom angeschlossenen Gerät wird angezeigt. | Ausgeschaltet. |
| Audio | Die Hintergrundanzeige diesen Geräts ist zu sehen. | ||
| OFF | Der AUX-Eingang wird deaktiviert. | ||
| No Signal Wenn kein externes Videosignal erkannt wird, wird die Anzeige automatisch gewechselt. | Through | Wenn kein Signalvorhanden ist, wird ein leerer Bildschirm angezeigt. | Ausgeschaltet. |
| Blank (●) | Der Audiowiedergabe-bildschirm wird mit einer Meldung angezeigt, dass kein Signalvorhanden ist. | ||
| Camera Input Aktivieren des Videogangs von einer angeschlossenen Rückfahrkamera. | OFF | Der Eingang wird deaktiviert. | Jeder Status. |
| ON (●) | Das Bild von der Rückfahrkamera wird angezeigt, sobald der Rückfahrrscheinwerfer aufleuchtet (oder in den Rückwärtsgang geschaltet wird (Schalthelbe in Position R)). | ||
| Rear View Camera Setting (Seite 69) | - | - | Jeder Status. |
| Monitor Angle (nur XNV-L77BT/770BT) (Seite 57) | - | - | Jeder Status. |
Klangeinstellungen
Berühren Sie „Sound“ das gewünschte Element die gewünschte Option. Erläuterungen zum Vorgehen darauf einbecken Sie unter „Vorgehen beim Vornehmen von Einstellungen“ auf Seite 59.
Nahere Erläuterungen finden Sie auf den angegebenen Seiten. „●“ gibt die Standardeinstellung an.
| Element | Option | Zweck | Gerätestatus |
| EQ7 (Seite 53) | OFF (●) | Die Equalizer-Kurve wird deaktiviert. | Bei Empfang/Wiedergabe. |
| Xplod, Vocal, Edge, Cruise, Space, Gravity, Custom | Auswahlen bzw.individuelles Einstellen der Equalizer-Kurve. | ||
| Balance/Fader (Seite 54) | Balance: (-15 ~ +15) Fader: (-15 ~ +15) ●: 0 | Hier stellen Sie den Pegel ein. | Bei Empfang/Wiedergabe. |
| Subwoofer: (-6 ~ +6) ●: 0 | Hier stellen Sie die Lautstärke des Tiefstionlautsprechers ein. (Nur verfügbar, wenn „Subwoofer“ auf „ON“ gesetzt ist.) | ||
| Listening Position (Seite 54) Einstellen der Hörposition und der Position des Tiefstionlautsprechers. | OFF (●) | Die Hörposition wird nicht eingestellt. | |
| Front L | Die Hörposition wird auf vorne links eingestellt. | ||
| Front R | Die Hörposition wird auf vorne rechts eingestellt. | ||
| Front | Die Hörposition wird auf vorne in der Mitte eingestellt. | ||
| All | Die Hörposition wird auf die Mitte des Fahrzeugs eingestellt. | Bei Empfang/Wiedergabe. | |
| Custom | Die Hörposition{lösst sich prazise kalibrieren (Seite 55). | ||
| Subwoofer: Near, Normal (●), Far | Hier wahren Sie die Position des Tiefstionlautsprechers aus. (Nur verfügbar, wenn „Subwoofer“ auf „ON“ gesetzt ist und für die Hörposition „Front L“, „Front R“, „Front“ oder „All“ eingestellt ist.) | ||
| CSO (Center Speaker Organizer) (Seite 55) Einstellen des Modus für einen virtuellen mittleren Laufsprecher. | OFF (●), CS01, CS02, CS03 | Hier wahren Sie den Modus aus. | Bei der Disc-/USB-Wiedergabe. |
| Subwoofer Einstellen, ob ein Tiefstlonlautsprecher angeschlossen ist. | ON (●) | Hiermit stellen Sie ein, dass der Laufsprecher angeschlossen ist. | Ausgeschaltet. |
| OFF | Hiermit stellen Sie ein, dass der Laufsprecher nicht angeschlossen ist. | ||
| RBE (Rear Bass Enhancer) (Seite 56) Verwenden der Hecklautsprecher als Tiefstlonlautsprecher. | OFF (●), RBE1, RBE2, RBE3 | Hier wahren Sie den Modus aus. | Bei Empfang/Wiedergabe. |
| Crossover Filter Einstellen der Grenzfrequency für die Front-/ Hecklautsprecher (HPF) und den Tiefstlonlautsprecher (LPF). | LPF: 50 Hz, 60 Hz, 80 Hz, 100 Hz (●), 120 Hz | Hier wahren Sie die Grenzfrequency aus. (Nur verfügbar, wenn „Subwoofer“ auf „ON“ gesetzt ist.) | Bei Empfang/Wiedergabe. |
| HPF: OFF (●) | Es wird keine Grenzfrequency festgelegt. | ||
| HPF: 50 Hz, 60 Hz, 80 Hz, 100 Hz, 120 Hz | Hier wahren Sie die Grenzfrequency aus. | ||
| Subwoofer Phase: Normal (●), Reverse | Hier wahren Sie die Phase des Tiefstlonlautsprechers aus. (Nur verfügbar, wenn „Subwoofer“ auf „ON“ gesetzt ist.) | ||
| 4.1ch Speaker Level (Seite 56) | - | - | Ausgeschaltet. |
Bildschirmeinstellungen
Berühren Sie „Screen“ das gewünschte Element die gewünschte Option. Erläuterungen zum Vorgehen darauf einbecken Sie unter „Vorgehen beim Vornehmen von Einstellungen“ auf Seite 59.
Nahere Erläuterungen finden Sie auf den angegebenen Seiten. „●“ gibt die Standardeinstellung an.
| Element | Option | Zweck | Gerätestatus |
| Screen Select (Seite 57) | - | - | Jeder Status. |
| Picture EQ (Seite 58) | Dynamic (●), Standard, Theater, Sepia | Hier wahren Sie die Bildqualität aus. | Bei Video-/ Bildwiedergabe. |
| Custom 1, Custom 2 | Hier konnen Sie die Bildqualität individuell einstehen. | ||
| Aspect (Seite 58) | Full (●), Normal, Wide, Zoom | Hier wahren Sie das Bildseitenverhältnis aus. | Bei Video-/ Bildwiedergabe. |
| Clock | ON (●) | Die Uhrzeitanzeige wird eingeblendet. | Jeder Status. |
| Ein-/Ausblenden der Uhrzeitanzeige unter rechts im Display. | OFF | Die Uhrzeitanzeige wird ausgeblendet. | |
| Demo | ON (●) | Der Demo-Modus wird aktiviert. | Ausgeschaltet. |
| OFF | Der Demo-Modus wird deaktiviert. |
DVD- und andere Wiedergabeeinstellungen
Berühren Sie , Visual“ das gewünschte Element die gewünschte Option. Erläuterungen zum Vorgehen darauf ein. „Vorgehen beim Vornehmen von Einstellungen" auf Seite 59.
Nahere Erläuterungen finden Sie auf den angegebenen Seiten. „●“ gibt die Standardeinstellung an.
| Element | Option | Zweck | Gerätestatus |
| DVD Menu Language | - | Hier wechseln Sie die Menüsprache der Disc. | Ausgeschaltet. |
| DVD Audio Language | - | Hier wechseln Sie die Tonspursprache. | Ausgeschaltet. |
| DVD Subtitle Language | - | Hier wechseln Sie die Sprache der auf der Disc aufgezeichneten Untertitel. | Ausgeschaltet. |
| Audio DRC | Standard (●) | Es gilt die Standardeinstellung. | |
| Sorgt für hohe Tonqualität auch bei geringer Lautstärke. Nur bei DVDs* mit Dynamikkontrolle (Audio DRC). | Wide | Sie erhalten den Eindruck, sich live in einer Veranstaltung zu befinden. | Ausgeschaltet. |
| * Außer bei einer DVD-R/DVD-R DL/DVD-RW im VR-Modus. | |||
| Multi Ch Output | Multi (●) | Der Ton wird auf 4.1 Kanälen ausgegeben. | |
| Ändern des Ausgabeverfahrens für Mehrkanal-Signalquellen. | Stereo | Die Signalquellen werden auf 2 Kanäle heruntergemischt. | Ausgeschaltet. |
| DVD Parental Control (Seite 29) | - | Hier sperren Sie eine Disc bzw. haben die Sperrung auf. | Ausgeschaltet. |
| DVD Parental Rating (Seite 29) | - | Hier stellen Sie die Kindersicherungsstufe je nach ausgewähltem Gebiet ein. | Ausgeschaltet. |
| DVD Parental Area (Seite 29) | - | Hier stellen Sie den Einschränkungsstandard eines bestimmten Gebiets ein. | Ausgeschaltet. |
| DVD Playlist Play (nur bei einer DVD-R/DVD-R DL/DVD-RW im VR-Modus) | Original (●) | Originaltitel werden wiedergegeben. | Ausgeschaltet. |
| Playlist | Eine bearbeitete Playlist wird wiedergegeben. | ||
| DVD Direct Search (Seite 31) | Chapter (●) | Es kann nach Kapiteln gesucht werden. | Jeder Status. |
| Einstellen des DVD-Elements, nach dem direkt gesucht werden kann. | Title | Es kann nach Titeln gesucht werden. |
Fortsetzung auf der{nachsten Seite
| Element | Option | Zweck | Gerätestatus |
| Monitor Type Einstellen eines passenden Bildseitenverhältnisses für den angeschlossenen Monitor. (Das Bildseitenverhältnis these Geräts wechselten.) | 16:9 (●) | Das Bild wird im Breitbartdformat angezeigt. Diese Option ist geeignet, wenn Sie einen Breitbartdmonitor oder einen Monitor mit Breitbartmodus anschlieben. | |
| 4:3 Letter Box | Bilder im Breitbartdformat werden mit Balken am oberen und unteren Bildschirmrand angezeigt. Diese Option ist geeignet, wenn Sie einen 4:3-Monitor anschlieben. | Ausgeschaltet. | |
| 4:3 Pan Scan | Bilder im Breitbartdformat werden so angezeigt, dass sie den Bildschirm fullen. Bereiche, die nicht auf den Bildschirm passen, werden automatisch abgeschritten. | ||
| ZAPPIN Time (Seite 40) | 6sec, 15sec (●), 30sec | Hier wahren Sie die Wiedergabedauer für die ZAPPIN-Funktion aus. | Bei der Audiowiedergabe. |
| ZAPPIN Tone (Seite 40) | ON (●) | Zwischen den Passagen der Stücke ist ein Signalton zu horen. | Bei der Audiowiedergabe. |
| OFF | Der Signatlon wird deaktiviert. | ||
| Multi Disc Resume | ON (●) | Die Stellen für die Wiedergabefortsetzung werden für bis zu 5 Video*-Discs gespeichert. | Ausgeschaltet. |
| OFF | Die Stellen für die Wiedergabefortsetzung werden nicht gespeichert. Eine Wiedergabefortsetzung ist nur bei der zurzeit eingelegten Disc möglich. | ||
| USB Resume | ON (●) | Die Stellen für die Wiedergabefortsetzung von DivX-/MPEG-4-Dateien auf einem USB-Gerät werden gespeichert. | Ausgeschaltet. |
| OFF | Die Stellen für die Wiedergabefortsetzung werden nicht gespeichert. | ||
| JPEG Slide Show | 5sec (●), 20sec, 60sec, Fixed | Das Anzeigeintervall für Bildpräsentationen wird festgelegt. | Ausgeschaltet. |
| Video CD PBC (Seite 27) | ON (●) | VCDs werden mit PBC-Funktionen abgespielt. | Ausgeschaltet. |
| OFF | VCDs werden ohne PBC-Funktionen abgespielt. | ||
| DivX VOD Registration Code | Done | Die Anzeige wird ausgeblendet. | Ausgeschaltet. |
| Anzeigen des Registriercodes für diesen Player. Nähres finden Sie auf Seite 72. | |||
| DivX VOD Deactivate Code | Done | Die Anzeige wird ausgeblendet. | Ausgeschaltet. |
| Deaktivieren der Regelierung dieser Geräts für die DivX VOD-Wiedergabe. |
Hinweis
Wenn die Kindersicherung aktiviert ist, funktioniert die Wiedergabefortsetzung nicht. In thisem Fall startet die Wiedergabe nach dem Einlagen der Disc am Anfang.
Einstellen des Sicherheitscodes
Dieses Gerät ist zum Schutz vor Diebstahl mit einer Sicherheitsfunktion ausgestattet. Geben Sie als Sicherheitscode eine 4-stellige Zahl ein. Wenn Sie die Sicherheitsfunktion aktivieren und das Gerät dann in einem anderen Fahrzeug installieren oder die Autobatterie wechseln, lässt sich das Gerät erst wieder einschalten, wenn der Sicherheitscode eingegeben wird.
Aktivieren der Sicherheitsfunktion
1 Berühren Sie „Source List“ und dann
Das Menu für die allgemeinen Einstellungen erscheint. Wenn nicht, berühren Sie „General".
2 Berühren Sie „Security Control“. Die Einstellanzeige für den Sicherheitscode erscheint.
3 Berühren Sie die Zahlentasten, um den Sicherheitscode einzugeben, und dann „OK".
4 Berühren Sie die Zahlentasten, um den Sicherheitscode zur Bestätigung erneut einzugeben, und dann „OK". Die Einstellung ist damit abgeschlossen.
Zum Löschen einer eingegebenen Ziffer berühren Sie „Clear". Um zur vorherigen Anzeige zurückzuschalten, berühren Sie „Back".
Wenn Sie das Gerät in einem anderen Fahrzeug installieren oder die Autobatterie wechseln und das Gerät dann einschalten, erscheidt die 4- stellige Eingabeaufforderung. Berühren Sie die Zahlentasten, um den Sicherheitscode einzugeben.
Deaktivieren der Sicherheitsfunktion
1 Gehen Sie wie in Schritt 1 bis 2 oben erlautert vor. Die Anzeige zum Deaktivieren der Sicherheitsfunktion erscheint.
2 Berühren Sie die Zahlentasten, um den Sicherheitscode einzugeben. „Unlocked" erscheint und die Sicherheitsfunktion wird deaktiviert.
Einstellen der Uhr
Die Uhr zeigt die Uhrzeit im 24-Stunden-Format an.
1 Berühren Sie „Source List“ und dann
Das Menu für die allgemeinen Einstellungen erscheint. Wenn nicht, berühren Sie „General".
2 Berühren Sie „Clock Adjust". Eine Einstellanzeige erscheint.
3 Stellen Sie die Stunden und Minuten ein.
Berühren Sie z. B. ,0830", um 8:30 einzustellen.
4 Berühren Sie „OK“. Die Einstellung ist damit abgeschlossen.
Zum Löschen einer eingegebenen Ziffer berühren Sie „Clear".
Um zur vorherigen Anzeige zurückzuschalten, berühren Sie „Back".
Hinweis
Die Uhrzeit wird nicht mit der Zeitanzeige im Navigationsmodus synchronisiert.
Verwenden gesondert erhäftlicher Geräte
Zusätzliche Audio-/Videogeräte
Sie können bis zu 2 gesondert erhältliche Geräte, wie z. B. einen tragbaren Medienplayer, eine Spielekonsole usw., an die Anschlüsse AUX1 IN und AUX2 IN am Gerät anschließen.
Auswahlen eines zusätzlichen Geräts
1 Berühren Sie „Source List“ und dann „AUX“.
Die AUX-Wiedergabeanzeige erscheint.

2 Berühren Sie „AUX1“ oder „AUX2“, um das Gerät auszuwahlen.
Bedieren Sie das tragbare Gerät.
Einstellen des Lautstärkepegels
Stellen Sie unbedingt vor der Wiedergabe die Lautstärke der einzelnen angeschlossenen Geräte ein.
Der eingestellte Lautstärkepegel gilt für „AUX1" und „AUX2".
1 Verringern Sie die Lautstärke an thisem Gerät.
2 Berühren Sie „Source List" und dann „AUX".
Die AUX-Wiedergabeanzeige erscheint.
3 Starten Sie die Wiedergabe am tragbaren Gerät mit gemäßiger Lautstärke.
4 Stellen Sie die gewohnte Hörluststärke an thisem Gerät ein.
5 Berühren Sie - / + im Feld „Level" mehrmals, um den Pegel einzustellen.
Der Pegel lässt sich schrittweise auf einen Wert zwischen -8 und +18 einstellen.
Einstellen des Geräteypes
Wenn Sie den Typ (Video oder Audio) der angeschlossenen Geräte einstellen, wechselt die Hintergrundanzeige entsprechend.
1 Berühren Sie bei ausgeschalteten Gerät „Source List" und dann.
Das Menu für die allgemeinen Einstellungen erscheint. Wenn nicht, berühren Sie „General".
2 Berühren Sie / , um zu blättern, und dann „AUX1 Input“ oder „AUX2 Input".
3 Berühren Sie „Audio“ oder „Video“. Die Einstellung ist damit abgeschlossen.
Zum Deaktivieren des AUX-Eingangs wahlen Sie ,OFF".
Um zur vorherigen Anzeige zurückzuschalten, berühren Sie „Back".
Rückfahrkamera
Wenn Sie eine gesondert erhältliche Rückfahrkamera an den Anschluss CAMERA IN anschließen, können Sie das Bild von der Rückfahrkamera anzeigen setzen.
Das Bild von der Rückfahrkamera wird angezeigt, sobald der Rückfahrscheinwerfer aufleuchtet (oder in den Rückwärtsgang geschaltet wird (Schalthebel in Position R)).
Hinweise
- Achten Sie aus Sicherheitsgrunden beim Rückwärfsfahren unbedingt auf die Umgebung. Verlassen Sie sich nicht allein auf die Rückfahrkamera.
- Das Bild von einer Rückfahrkamera erscheint nicht im Fondmonitor.
Tipp
Auch wenn eine Rückfahrkamera angeschlossen ist, können Sie das Gerät so einstellen, dass das Bild von der Rückfahrkamera nicht angezeigt wird.
Deaktivieren Sie dazu den Kameraeingang (Seite 61).
Rückfahrkameraeinstellungen
Zur Unterstützung bei der Bedienung konnen Sie Einstelloptionen in das Bild von der Rückfahrkamera einblenden.
These Einstellung steht nur zur Verflugung, wenn: -,Camera Input" auf ,ON" gesetzt ist (Seite 61). -die Parkbremse angezogen ist.
1 Berühren Sie „Source List" und dann
Das Menu für die allgemeinen Einstellungen erscheint. Wenn nicht, berühren Sie „General".
2 Berühren Sie um zu blättern, und dann „Rear View Camera Setting".
Die Einstelloptionen erschinen.

Anzeigen von Markierungslinien
Berühren Sie „Marker".
Berühren Sie „Marker“ erneut, um die Linien auszublenden.
Anzeigen des Bildes als Spiegelbild
Berühren Sie „Mirror".
Das Bild von der Rückfahrkamera wird spiegelverkehrn angezeigt.
BearbeitenderLinien
1 Berühren Sie „Line Edit".

2 Wahlen Sie die Linie, die Sie bearbeiten sollen.
Berühren Sie „1 Edit“, „2 Edit“ oder „3 Edit“, je nachdem, welche Linie Sie bearbeiten wollen.
3 Bearbeiten Sie die Linie.
Zum Verlangern der Linie berühren Sie
Zum Verkürzenden der Linie berühren Sie
Zum Einstellen der Position der Linie berühren Sie oder
Zum Wiederherstellen der Standardeinstellung berühren Sie „Reset".
Um zur vorherigen Anzeige zurückzuschalten, berühren Sie „Back".
Weitere Informationen
Sicherheitsmaßnahmen
- Wenn das Fahrzeug längere Zeit in direktem Sonnenlicht gegart war, setzen Sie das Gerät zunachst etwas abkühlen.
- Motorantennen werden automatisch ausgefahren.
Feuchtgkeitskondensation
Wenn sich im Inneren des Gerats Feuchtigkeit niedergeschlagen hat,kehmen Sie die Disc hersa und warten Sie etwa eine Stunde, bis die Feuchtigkeit verdunst ist, Denn andernfalls Funktioniert das Gerat nicht ordnungsgemäß.
So bewahren Sie die hohe Tonqualität
Achten Sie darauf, dass keine Flüssigkeiten auf das Gerät oder die Discs gelangen.
Hinweise zum LCD-Bildschirm
- Drücken Sie nicht auf den LCD-Bildschirm. Andernfalls kann es zu Bildverzerrungen oder anderen Fehlfunktionenkommen. Das Bild kann verschwommen sein oder der LCD-Bildschirm kann beschädigt werden.
- Berühren Sie den LCD-Bildschirm ausschließlich mit dem Finger. Andernfalls kann er beschädigt werden oder zerbrene.
- Reinigen Sie den LCD-Bildschirm mit einem weichen, trockenen Tuch. Verwenden Sie keine Lösungsmittel wie Benzin oder Verdünner und keine handelsüblichen Reinigungsmittel oder Antistatik-Sprays.
- Verwenden Sie das Gerät nicht außerhalb des zulässigen Temperaturbereichs von 5 - 45^ .
- Wenn Ihr Fahrzeug in sehr warmer oder sehr kalter Umgebung geparkt war, ist das Bild unter Umständen verschwommen. Der Monitor ist jedoch nicht beschädigt und sobald sich die Temperatur im Wagenerinnen normalisiert, wird auch das Bild wieder scharf.
- Auf dem Monitor konnen unbewegliche blaue, rote oder grüne Punkte erschieren. Solche so genannten „Lichtpunkte“ konnen bei allen LCD-Bildschirmen aufreten. Der LCD-Bildschirm wird in einer Hochprüzisionstechnologie hergestellt, so dass über 99,99 % der Segmente korrekt faktionieren. Ein kleiner Prozentsatz der Segmente (in der Regel 0,01 %) leuchtet unter Umständen jedoch nicht ordnungsgemäß. Diese Ausfälle beeinträchtigen die Bildqualität allerdings nicht.
Hinweise zu Discs
-
Setzen Sie Discs[weder direktem Sonnenlicht noch Wärmequellen wie zum Beispiel Warmluftauslüssen aus. Lassen Sie auch nicht in einem in der Sonne geparkten Auto liegen.
-
Reinigen Sie Discs vor dem Abspielen mit einem Reinigungstuch. Wischen Sie damit von der Mitte nach außen. Verwenden Sie keine Lösungsmittel wie Benzin, Verdünner oder andere handelsübliche Reinigungsmittel.
-
Dieses Gerät ist auf die Wiedergabe von Discs ausgelegt, die dem Compact Disc-Standard (CD) entsprechen. DualDiscs und manche Musik-CDs mit Urheberrechtsschutzcodierung entsprechen nicht dem Compact Disc-Standard (CD) und können dazu mit dieser Gewährt nicht wiedergegeben werden.
- Auf diesen Gerät NICHT abspielbare Discs
- Discs mit Etiketten, Aufklebern oder aufgeklebstem Band oder Papier. Wenn Sie solche Discs verwenden, kann es zu einer Fehlfunktion kommt oder die Disc kann beschadigt werden.
- Discs mit außergewöhnlichen Formen (z. B. Herzförmige, quadratische oder sternförmige Discs). Falls Sie es noch versuchen, kann das Gerät beschädigt werden.
-8-cm-Discs.
Hinweis zu Wiedergabefunktionen bei DVDs und VCDs
Einige Wiedergabefunktionen von DVDs und VCDs können von den Software-Herstellern absichtlich eingeschiedt werden. Dieses Gerät gibt DVDs und VCDs so wieder, wie es von den Software-Herstellern vorgesehen ist. Deshalb stehen möglicherweise einige Wiedergabefunktionen nicht zur Verfügung. Lesen Sie dazuitte auch die Anweisungen, die mit den DVDs oder VCDs gefleifert wurden.
Hinweise zu DATA-CDs und DATA-DVDs
- Je nach dem Gerät, mit dem DATA-CDs/DATA-DVDs bespielt wurden, oder dem Zustand der DATA-CDs/DATA-DVDs selbst ist eine Wiedergabe mit thisem Gerät nicht in jeder Fall möglich.
- Bestimmte Discs müssen abgeschlossen werden (Seite 71).
- Das Gerät unterstützen folgende Standards.
Für DATA-CDs - Format ISO 9660, Stufe 1/Stufe 2, erweitertes
Joliet/Romeo-Format - Multisession

Für DATA-DVDs
-
Format UDF Bridge (UDF und ISO 9660 kombiniert)
-Multi-Border -
Hochstzahl an:
-
Ordnern (Alben): 256 (einschließlich Stammordner und leerer Ordner).
- Dateien (Stücken/Bildern/Videos) und Ordnern auf einer Disc: 2.000. Wenn die Ordner-/Dateinamen weitere Zeichen enthalten, ist die maximale Anzahl möglicherweise geringer als 2.000.
-Anzeigbaren Zeichen fur einen Ordner-/ Dateinamen:64 (Joliet/Romeo).
Hinweise zum Abschreiben von Discs
Folgende Disc-Type nemen abgeschlssen werden, bevor sie auf thisem Gerat wiedergegeben werden konnen.
DVD-R/DVD-R DL (im Videomodus/VR-Modus)
DVD-RW im Videomodus
DVD+R/DVD+R DL
CD-R
CD-RW
Folgende Disc-Typen können wiedergegeben werden, ohne abgeschlossen zu sein.
DVD+RW - automatisch abgeschlossen.
DVD-RW im VR-Modus - Abschreiben nicht erforderlich.
Naheres dazu schlagen Sieitte in den mit der Disc gelieferten Anweisungen nach.
Hinweise zu Multisession-CDs/Multi-Border-DVDs
Unter folgenden Voraussetzungen können mit dieser Gemäß Multisession-CDs/Multi-Border-DVDs wiedergegeben werden. Dazu muss die Session geschlossen und die Disc abgeschlossen sein.
- Wenn die ersten Session CD-DA-Aufnahmen (digitales CD-Audiosystem) enthalt: Das Gerät erkennt die Disc als CD-DA-Disc und gibt ausschließlich die CD-DA-Aufnahmen in der ersten Session wieder, selbst wenn in anderen Sessions Aufnahmen in anderen Formaten (z. B. MP3) enthalten sind.
- Wenn andere Sessions als die ersten CD-DA-Aufnahmen enthalten: Das Gerät erkennt die Disc als DATA-CD oder DATA-DVD und alle CD-DA-Sessions werden übersprungen.
- Wenn MP3-/WMA-/AAC-/JPEG-/DivX-/ MPEG-4-Aufnahmenvorhunden sind: Nur die Sessions mit dem ausgewählten Dateotyp (Audio/Video/Bild)* werden wiedergegeben. Wenn andere Sessions CD-DA- oder andere Daten enthalten, werden diese übersprungen.
- Erläuterungen zum Auswahlen des Dateypes finden Sie auf Seite 40.
Wiedergabereihenfolge von MP3-/ WMA-/AAC-/JPEG-/DivX®-MPEG-4-Dateien

Hinweise zu MP3-Dateien
- MP3 steht für MPEG-1 Audio Layer-3. Dabei handelt es sich um einen Formatstandard zum Komprimieren von Musikdateien. Hierbei werden Audio-CD-Daten auf etwa 1/10 ihrer ursprünglichen Großekomprimiert.
- ID3-Tags der Versionen 1.0, 1.1, 2.2, 2.3 und 2.4 stehen nur bei MP3 zur Verfügung. Ein ID3-Tag besteht aus 15/30 Zeichen (1.0 und 1.1) bzw. 63/126 Zeichen (2.2, 2.3 und 2.4).
- Fügen Sie beim Benennen einer MP3-Datei unbedingt die Dateierweiterung „mp3" zum Dateinamen hinzu.
- Bei der Wiedergabe einer VBR-MP3-Datei (variable Bitrate) bzw. beim Vorwarts/- Rückwartssuchen darin wird die verstrichene Spieldauer möglichereweise nicht richtig angezeigt.
Hinweis zu MP3
Wenn Sie eine MP3-Datei mit einer hohen Bitrate, wie z. B. 192 Kbps, wiedergeben, kommt es möglicherweise zu Tonaussetzern.
Hinweise zu WMA-Dateien
- WMA steht für Windows Media Audio. Dabei handelt es sich um einen Formatstandard zum Komprimieren von Musikdateien. Hierbei werden Audio-CD-Daten auf etwa 1 / 22^* ihrer ursprünglichen Großekomprimiert.
WMA-Tags bestehen aus 63 Zeichen. - Fügen Sie beim Benennen einer WMA-Datei unbedingt die Dateierweiterung „wma" zum Dateinamen hinzu.
- Bei der Wiedergabe einer VBR-WMA-Datei (variable Bitrate) bzw. beim Vorwarts-/ Rückwartssuchen darin wird die verstrichene Spieldauer möglichereweise nicht richtig angezeigt.
- nur bei 64 Kbps
Hinweis zu WMA
Die Wiedergabe folgender WMA-Dateien wird nicht Unterstützung:
-Mit verlustfreier Komprimierung erstellte Dateien
- Mit Urheberrechtsschutzsignalen versehene Datenien
Hinweise zu AAC-Dateien
- AAC-Tags bestehen aus 126 Zeichen.
- Fügen Sie beim Benennen einer AAC-Datei unbedingt die Dateierweiterung „m4a" zum Datenamen hinzu.
Hinweise zu JPEG-Dateien
- JPEG steht für „Joint Photographic Experts Group" und bezeichnet einen Formatstandard zum Komprimieren von Bilddateien. Die Standbilder werden auf etwa 1/10 bis 1/100 der Originalgröbe komprimiert.
- Fügen Sie beim Benennen einer JPEG-Datei unbedingt die Dateierweiterung „.jpg“ zum Dateinamen hinzu.
Hinweis zu JPEG
Die Wiedergabe progressiver JPEG-Dateien wird nicht Unterstützung.
Hinweis zu DivX-Video
DivX® ist ein von DivX, Inc., entwickeltes digitales Videoformat. Bei dieser Gerät handelt es sich um ein officielles DivX Certified-Gerät zur Wiedergabe von DivX-Video. Weitere Informationen sowie Software-Tools zum Konvertieren von Dateien in DivX-Videoformat finden Sie unter www.divx.com.
Hinweis zu DivX Video-on-Demand
Dieses DivX Certified Gerät muss registriert werden, damit DivX Video-on-Demand (VOD)-Inhalte wiedergegeben werden konnen. Zum Erzeugen des Registriercodes wechseln Sie zum DivX VOD-Abschnitt im Wiedergabeeinstellmenü. Rufen Sie vod.divx.com auf, führen Sie mit thisem Code die Regelierung aus und erfolhen Sie mehr über DivX VOD.
Hinweise zu MPEG-4-Dateien
MPEG-4-Dateien können wiedergegeben werden, sofern sie den folgenden Anforderungen entsprechen. Die Wiedergabe kann jedoch nicht bei allen MPEG-4-Dateien garantiert werden, auch wenn sie den Anforderungen entsprechen.
- Profil: MPEG-4 Simple Profile
- Bitrate: max. 7 Mbps bei USB FS, 10 Mbps bei DVD, 7 Mbps bei CD
- Bildrate: max. 30 fps (Bilder pro Sekunde)
- Bildgroße: max. 720 × 480 Pixel
Audio: max. 320 Kbps (AAC-LC) - Dateierweiterung:.mp4
Hinweise zum iPod
- Folgende iPod-Modelle können angeschlossen werden. Aktualisieren Sie Ihr iPod-Modell vor dem Gebrauch anhand der neuesten Software.
Made for
-iPod touch (2. Generation)
-iPod touch (1. Generation)
-iPod classic
- iPod mit Videofunktion
-iPod nano (5. Generation)
-iPod nano (4. Generation)
-iPod nano (3. Generation)
- iPod nano (2. Generation)
-iPod nano (1. Generation)
- iPhone 3GS
- iPhone 3G
- iPhone
- Die direkte Steuerung liegt bei einem iPod nano (1. Generation) oder iPod mit Videofunktion nicht zur Verfügung.
made for iPod" und, Made for iPhone" bedeuten, dass elektronisches Zubehör speziell für den Anschluss an einen iPod bzw. ein iPhone konzipiert und vom Entwickler entsprechend der Leistungsstandards von Apple getestet wurde. - Apple übernimmt keine Garantie für die Funktionsfähigkeit这点es Geräts bzw. die Einhaltung von Sicherheitsstandards.
Informationen zur Bluetooth-Kommunikation
Was ist die Bluetooth-Technologie?
- Die Bluetooth-Funktechnologie erhöht eine drahtlose Datenkommunikation über kurze Strecken zwischen digitalen Geräten, wie z. B. Mobiltelefonen und Headsets. Die Reichweite der Bluetooth-Funktechnologie beträgt ca. 10m . In der Regel wird eine Verbindung zwischen zwei Geräten hergestellt, manche Geräte können aber auch gleichzeitig mit mehreren Geräten verbunden werden.
- Für die Verbindung ist kein Kabel erforderlich, da es sich bei Bluetooth um eine Funktechnologie handelt. Außer dem müssen die Geräte nicht aufeinander weisen, wie z. B. bei der Infarottechnologie. Sie können ein solches Gerät beispielsweise auch in einer Tasche verwenden.
- Die Bluetooth-Technologie ist ein internationaler Standard, der von Millionen von Unternehmen auf der ganzen Welt Unterstützung und von zahlreichen Unternehmen weltweit eingesetzt wird.
Bluetooth-Kommunikation
Die Reichweite der Bluetooth-Funktechnologie beträgt ca. 10m Die maximale Kommunikationsreichweite kann je nach Hindernissen (Personen, Metall, Wände usw.) oder elektramagnetischer Umgebung varieren.
Die folgenden Bedingungen konnen die Empfindlichkeit der Bluetooth-Kommunikation beeinträchtigten.
-Zwischen thisem Gerät und dem BluetoothGerät befindet sich ein Hindernis, wie z. B. Personen, Metall oder eine Wand.
-Ein Gerät mit 2,4-GHz-Frequency, wie z. B. ein WLAN-Gerät, ein schunrloses Telefon oder ein Mikrowellenherd, wird in der Höhe dieseres Geräts verwendet.
-
Da Bluetooth-Geräte und WLANs (IEEE802.11b/g) mit derselben Freqenz arbeiten, kann es zu Interferenzen im Mikrowellenbereichkommen.Daher kann sich die Kommunikationsgeschwindigkeit verringnern oder Rauschen und Störungen usw. konnen auftenreten, wenn这点 Gerät in der Höhe eines WLANGeräts verwendet wird. Gehen Sie in einem solchen Fall folgendermaßen vor.
-
Verwenden Sie these Gerät in einem Abstand von mindestens 10m vom WLAN-Gerät.
- Wenn这点 Gerät innerhalb von 10 m Enternung von einem WLAN-Gerät verwendt wird, schalten Sie das WLAN-Gerät aus.
- Stellen Sie these Gerät und das Bluetooth-Gerät möglichst nahe beeinander auf.
Fortsetzung auf der nachsten Seite
Von einem Bluetooth-Gerät ausgehende Mikrowellen konnen den Betrieb von medizinischen Geräten beeinflussen. Schalten Sie these Gerät und andere Bluetooth-Geräte an folgenden Orten aus. Andernfalls besteht Unfallgefahr.
-An Orten mit entzündlichen Gasen, in einem Krankenhaus, Zug, Flugzeug oder an einer Tankstelle
-In der Nähe von automatischen Turen oder Feuermeldern
- Dieses Gerät unterstützt dem Bluetooth-Standard entsprachende Sicherheitsfunktionen, um die Verbindungssicherheit bei Bluetooth-Funkverbindungen zu gewährleisten. Je nach Einstellung bieten diese jedoch möglicherweise keinen ausreichenden Schutz. Seien Sie bei der Kommunikation mit Bluetooth-Funktechnologie also vorsichtig.
- Für Sicherheitslücken bei der Übertragung von Informationen während der Bluetooth-Kommunikation kann keine Haftung übernommen werden.
- Eine Verbindung mit allen Bluetooth-Geräten kann nicht garantiert werden.
-Fur die Authentifizierung bereitsigen Sie ein Gerät mit Bluetooth-Funktion, das dem von Bluetooth SIG spezifizierten Bluetooth-Standard entspricht.
Auch bei Geräten, die dem oben erwähnten Bluetooth-Standard entsprechen, kann es vorkommen, dass je nach Funktionen oder Spezifikationen der Geräte keine Verbindung hergestellt werden kann oder sie nicht einwandfrei funktionieren.
Wenn Sie freiendig Telefonieren, kann je nach Gerat oder Kommunikationsumgebung Storrauschen zu horen sein.
- Je nach dem Gerät, zu dem eine Verbindung hergestellt werden soll, kann es eine Weile dauern, bis die Kommunikation startet.
Sonstiges
- Je nach dem Zustand der Radiowellen und dem Ort, an dem die Geräte verwendet werden, Funktioniert das Bluetooth-Gerät u. U. nicht mit Mobiltelefonen.
- Wenn Sie sich nach dem Verwenden des Bluetooth-Gerats nicht wichtlich führten, verwenden Sie das Bluetooth-Gerät auf keinen Fall weiter. Sollte das Problem bestehen bleiben, wenden Sie sich an ihren Sony-Handler.
Sollten an Ihrm Gerät Probleme auftreten oder sollenn Sie Fragen haben, auf die in dieser Anleitung nicht eingegangen wird, wenden Sie sichitte an ihren Sony-Handler.
Wartung
Austauschen der Lithiumbatterie der Kartenfernbedienung
Unter normalen Bedingungen halt die Batterie etwa 1. Jahr. Die Lebensdauer der Batterie kann je nach Gebrauch des Geräts bereits auch kürzer sein. Wenn die Batterie schwacher wird, verkürzt sich die Reichweite der Kartenfernbedienung. Tauschen Sie die Batterie gegen eine neue CR2025-Lithiumbatterie aus. Bei Verwendung einer anderen Batterie besteht Feuer- oder Explosionsgefahr.

Hinweise zur Lithiumbatterie
- Bewahren Sie die Lithiumbatterie außerhalb der Reichweite von Kindern auf. Sollte eine Lithiumbatterie verschlucht werden, ist umgehend ein Arzt aufzusuchen.
- Wischen Sie die Batterie mit einem trockenen Tuch ab, um einen eigenen Kontakt zwischen den Batteriepolen und -anschlüssen sicherzustellen.
- Achten Sie beim Einlagen der Batterie auf die richtige Polarität.
- Halten Sie die Batterie nicht mit einer Metallpinzette. Dies konnte zu einem Kurzschluss führen.
VORSICHT
Die Batterie kann bei falscher Handhabung explodieren!
Auf keinen Fall darauf sie aufgeladen, auseinandergenommen oder ins Feuer geworfen werden.
Entsorgungshinweis:itte werfen Sie nur entladene Batterien in die Sammelboxen beim Handel oder den Kommunen. Entladen sind Batterien in der Regel dann, wenn das Gerät abschaltet und „Batterie leer“ signalisiert oder nach längerer Gebrauchsdauer der Batterien nicht mehr einwandfrei Funktioniert.
Um sicherzugehen, kleben Sie die Batteriepole z. B. mit einem Klebestreifen ab oder geben Sie die Batterien einzeln in einen Plastikbeutel.
Austauschen der Sicherung
Wenn Sie eine Sicherung
austauschen, achten Sie darauf,
eine Ersatzsicherung mit dem
gleichen Ampere-Wert wie die
Originalsicherung zu
verwenden. Dieser ist auf der
Originalsicherung angegeben.
Wenn die Sicherung
durchbrennt, überprüfen Sie
den Stromanschluss und
tauschen die Sicherung aus. Bre
Sicherung ebenfalls durch, kann
Fehlfunktion vorliegen. Wender
solchen Fall an ihren Sony-Hän

Ausbauendes Geräts
1 Setzen Sie bereits Lösenschlüssel gleichzeitig so ein, dass sie mit einem Klicken einrasten.

Der Haken
muss nach
innen weisen.
2 Ziehen Sie an den Lösenschlusseln, um das Gerät zu lose.

3 Ziehen Sie das Gerät aus der Halterung.

Technische Daten
Monitor
Display-Typ: LCD-Breitbild-Farbmonitor
Abmessungen: XNV-L77BT/770BT: 7,0 Zoll XNV-L66BT/660BT: 6,1 Zoll
System: TFT-Akivmatrix
Anzahl der Pixel: 1.152.000 Pixel
Farbsystem: PAL/NTSC/SECAM/PAL-M mit Auswahlautomatik
Tuner
FM (UKW)
Empfangsbereich: 87,5-108,0 MHz Antennenhanschluss: Anschluss fur AuBenantenne
Zwischenfrequenz: 150kHz
Nutzbare Empfindlichkeit: 10 dBf
Trennscharfe: 75 dB bei 400kHz
Signal-Rauschabstand: 70 dB (mono)
Kanaltrennung: 40 dB bei 1kHz
Frequenzgang: 20 - 15.000Hz
MW/LW
Empfangsbereich: MW:531-1.602 kHz LW:153-279 kHz
Antennenanschluss: Anschluss für Außenantenne Zwischenfrequenz: 25kHz
Empfindlichkeit: MW: 26 V , LW: 45 V
DVD/CD-Player
Signal-Rauschabstand: 120 dB
Frequenzgang: 10 - 20.000Hz
Gleichlaufschwankungen: Unterhalb der Messgrenze
Harmonische Verzerrung: 0.01%
Regionalcode: An der Geräteunterseite
USB-Player
Schnittstelle: USB (Full-Speed)
Maximale Stromärke: 500mA
Drahtlose Kommunikation
Kommunikationssystem: Bluetooth-Standard Version 2.0 + EDR
Sendeleistung: Bluetooth-Standard Leistungsklasse 2 (max. +4 dBm)
Maximale Kommunikationsreichweite: Sichtlinie ca. 10m^*1
Frequenzbereich: 2,4 GHz Frequenzbereich (2,4000 - 2,4835 GHz)
Modulationsverfahren: FHSS
Ko mpatible Bluetooth-Profile*2: A2DP (Advanced Audio Distribution Profile) AVRCP (Audio Video Remote Control Profile) 1.3 HFP (Handsfree Profile) 1.5 PBAP (Phone Book Access Profile) OPP (Object Push Profile)
1 Die tatsächliche Reichweite hangt von verschiedenen Faktoren ab, wie z. B. Hindernissen zwischen Geräten, Magnetfeldern um einen Mikrowellenherd, statischer Elektrizität, Empfangsempfindlichkeit, Leistung der Antenne, Betriebssystem, Softwareanwendung usw.
2 Bluetooth-Standardprofile geben den Zweck der Bluetooth-Kommunikation zwischen den Geräten an.
Endversteller
Ausgänge: Lautsprecherausgänge
Laufsprecherimpedanz: 4-8 Ohm
Maximale Ausgangsleistung: 52W× 4 (an 4 Ohm)
Allgemeines
Ausgänge:
Videoausgang (hinten)
Audioausgänge (vorne/hinten)
Ausgang fur Tiefsttonlautsprecher
Motorantennen-Steueranschluss
Steueranschluss für Endveränderker
Eingänge:
Steueranschluss für Stummschaltung beim
Telefonieren
Steuersanschluss für Beleuchting
Fernbedienungseingang
Antenneneingang
Steueranschluss für Parkbremse
Mikrofoneingang
Rückfahreingang
Kameraeingang
AUX-Audioeingänge
AUX-Videoeingänge
USB-Signaleingang
Externer Eingang
Betriebsspannung: 12 V Gleichstrom, Autobatterie (negative Erdung)
Abmessungen:
XNV-L77BT/770BT:
ca. 178× 100× 189mm (B / H / T)
XNV-L66BT/660BT:
ca. 178× 100× 173mm (B / H / T)
Einbaumae: ca. 182 × 111 × 164 ~mm (B/H/T)
Gewicht:
XNV-L77BT/770BT:
ca. 2,7kg
XNV-L66BT/660BT:
ca. 2,4kg
Mitgeliefertes Zubehör:
Kartenfernbedienung: RM-X170
Montageteile und Anschlusszubehör (1 Satz)
Mikrofon
CD-ROM (Anwendungs-Disc)
GPS-Antenne
Navigationsmodul*
Auto Dockinghalterung*
Kunststoffbolzen (3)*
USB-Kabel*
- bereitgestellt von TomTom
Sonderzubehör/gesondert erhältliche Geräte:
USB-Verbindungskabel für iPod: RC-200IPV
Rückfahrkamera:XA-R800C
Ihr Handl er fuhrt unter Umstanden nicht alle der.
oben genannten Zubehornteile. Fragen Sie Ihren
Handl nach ausfuhrlichen Informationen.
US-amerikanische Patente und Patente anderer Länder lizenziert von Dolby Laboratories.
MPEG Layer-3 Audiocodietechnologie und Patente lizenziert von Fraunhofer IIS und Thomson.
Dieses Produkt ist durch bestimmte gewerbliche Schutz- und Urheberrechte der Microsoft Corporation geschützt. Die Verwendung oder der Vertrieb derartiger Technologie außerhalb dieser Produkte ohne eine Lizenz von Microsoft oder einer autorisierten Microsoft-Niederlassung ist untersagt.
Änderungen, die dem technischen Fortschrift dieren, bleiben vorbehalten.
In bestimmten Leiterplatten werden keine halogenierten Flammschutzmittel verwendet.
- Im Gehäuse werden keine halogenierten Flammschutzmittel verwendet.
- Papier wird als Verpackungsfullmaterial verwendet.
Regionalcode
Das Regionalcodesystem dient dem
Urheberrechtsschutz von Software.
Der Regionalcode befindet sich an der Geräteunterseite. Nur DVDs, die mit dem gleichen Regionalcode wie das Gerät gekennzeichnet sind, konnen mit dieser Gerät wiedergegeben werden.
DVDs mit dem Regionalcode wiedergegeben werden.

konnen ebenfalls
Wenn Sie versuchen, eine andere DVD wiederzugeben, erscheint die Meldung „Playback prohibited by region code." auf dem Monitorschirm. Einige DVDs sind möglicherweise nicht mit einem Regionalcode gekennzeichnet, können aber zugdem nicht auf allen Playern wiedergegeben werden.
Systemvoraussetzungen für die
Software auf der mitgelieferten
CD-ROM
Computer
CPU/RAM
- IBM PC/AT-kompatibel
CPU: Intel Pentium III-Processor mit mindestens 450 MHz - RAM: mindestens 256 MB (bei Windows XP),
mindestens 512 MB (bei Windows Vista oder höher)
CD-ROM-Laufwerk
- USB-Anschluss
Betriebssystem
Windows XP, Windows Vista, Windows 7
Naheres zu kompatiblen Editionen oder zu Service Packs finden Sie auf der folgenden Support-Website: http://support.ory-europe.com/
Bildschirm
Mindestens High Color (16 Bit), mindestens 800 × 600 Punkte
Sonstiges
Internetverbindung
Hinweise
- Die folgenden Systemumgebungen werden nicht unterszt.
- Andere als IBM PC-Computer, wie z. B. Macintosh usw.
- Selfbst zusammengestellte Computer
- Computer mit aufgerüsteten Betriebssystem
- Umgebungen mit mehreren Bildschirmen
- Umgebungen mit mehreren boot-fähigen Betriebssystemen
- Umgebung mit virtuellen Rechnern
- Bei manchen Computern ist der Betrieb unter Umständen auch mit der empfohlenen Umgebung nicht möglich.
Störungsbehebung
Anhand der folgenden Checkliste konnen Sie die meisten Probleme, die möglicherweise an Ihr Gemärat auftreten, selbst beheben.
Bevor Sie die folgende Checkliste durchgehen, überprüfen Sieitte zunachst,ob Sie das Gerät richtig angeschlossen und bedient haben.
Wenn sich das Problem nicht beheben lässt, besuchen Sie folgende Support-Website.
Support-Website
http://support.sony-europe.com/
Allgemeines
Das Gerät wird nicht mit Strom versorgt.
- Prüfen Sie die Verbindung oder Sicherung.
- Wenn Sie das Gerät aussalten und die Anzeige ausgeblendet ist, können Sie es nicht mit der Kartenfernbedierung bedienden.
→Schalten Sie das Gerät ein.
Die Motorantenne wird nicht ausgefahren.
Die Motorantenne hat kein Relaiskästchen.
Kein Signalon ertont.
- Der Signalton ist deaktiviert (Seite 60).
- Ein gesondert erhältlicher Endverträker ist angeschlossen und Sie verwenden nicht den integrierten Verträker.
Der Speicherinhalt wurde gelöscht.
Die Rücksetztaste wurde gedrückt.
Speichern Sie die Einstellungen erneut.
- Das Stromversorgungskabel wurde gelöst, die Verbindung zur Batterie besteht nicht mehr oder das Kabel bzw. die Batterie ist falsch angeschlossen.
Gespeicherte Sender und die korrekte Uhrzeit werden gelöscht.
Die Sicherung ist durchgebrannt.
Störgeräutsche sind zu horen, wenn der Zündschlüssel gedreht wird.
Die Leitungen sind nicht korrekt an den Stromanschluss für Zubehörgeräte im Auto angeschlossen.
Die Anzeige wird ausgeblendet bzw. erscheint nicht auf dem Monitor.
- Der Dimmer ist auf „ON“ eingestellt (Seite 60).
Die Anzeige wird ausgeblendet, wenn Sie
(SOURCE/OFF) gedrück halten.
→ Drücken Sie (SOURCE/OFF) am Gerät, bis die Anzeige eingeblendet wird.
·_· ,· M.OFF"wuhrd berührt und die
Monitorausschaltung ist aktiviert (Seite 14).
Berühren Sie eine beliebige Stelle auf dem Display, um den Monitor wieder einzuschalten.
Das Display reagiert auf Berührung nicht richtig.
- Berühren Sie immer nur eine Stelle auf dem Display. Wenn Sie das Display an zwei oder mehr Stellen gleichzeitig berühren, Funktioniert es nicht richtig.
- Kalibrieren Sie das Display (Seite 57).
Die Ausschaltautomatik Funktioniert nicht.
Das Gerät ist noch eingeschaltet. Die
Ausschaltautomatik Funktioniert erst bei ausgeschalteten Gerät.
→ Schalten Sie das Gerät aus.
Die Kartenfernbedienung funktioniert nicht.
Wenn die Monitorausschaltung aktiviert ist (keine Beleuchting), faktioniert die Kartenfernbedienung nicht (Seite 14).
Menüoptionen können nicht ausgewählten werden.
Nicht verfügbarbare Menüoptionen werden grau angezeigt.
AUX kann nicht als Signalquelle ausgewählt werden.
Alle AUX-Eingänge sind auf „OFF“ eingestellt.
Setzen Sie „AUX1 Input“/„AUX2 Input“ auf „Video“ oder „Audio“ (Seite 69).
Radioempfang
Sender laissen sich nicht empfangen. Der Ton ist stark gestört.
Die Verbindung wurde nicht richtig hergestellt.
→ Schlieben Sie eine Motorantennen-Steuerleitung (blau) oder eine Stromversorgungsleitung für Zubehörgeräte (rot) an die Stromversorgungsleitung für den Antennenverträcker des Fahrzeugs an (nur, wenn das Fahrzeug mit einer in der Heck-/Seitenfensterscheibe integrierten FM (UKW)/ MW/LW-Antenne ausgestattet ist).
Prufen Sie die Verbindung der Autoantenne.
Wenn die Motorantenne nicht automatisch ausgefahren wird, prüfen Sie die Verbindung der Motorantennen-Steuerleitung.
Gespeicherte Sender让他们 nicht einstehen.
- Speichern Sie den/die Sender unter der korrekten Frenzab.
- Das Sendesignal ist zu schwach.
Fortsetzung auf der nachsten Seite
Der automatische Sendersuchlauf Funktioniert nicht.
Die Einstellung fur den lokalen Suchmodus ist nicht korrekt.
Der automatische Sendersuchlauf stoppt zu oft: Setzen Sie „Local“ auf „ON“ (Seite 20).
Der automatische Sendersuchlauf hält bei keinem Sender an: Setzen Sie „Mono“ auf „ON“ (Seite 20).
- Das Sendesignal ist zu schwach.
→Stellen Sie die Sender manuell ein.
Während des UKW-Empfangs blinkt die Anzeige „Stereo".
- Stellen Sie die Frenzgenau ein.
- Das Sendesign ist zu schwach.
Setzen Sie „Mono“ auf „ON“ (Seite 20).
Eine UKW-Stereosendung ist nur monaural zu horen.
Das Gerät ist in den monauralen Empfangsmodus geschaltet.
Setzen Sie „Mono“ auf „OFF“ (Seite 20).
RDS
Der Sendersuchlauf startet nach ein paar Sekunden Radioempfang.
Der Sender ist kein Verkehrsfunksender (TP) oder die Sendesignale sind zu schwach.
Deaktivieren Sie TA (Seite 26).
Es sind keine Verkehrsdurchsagen zu haren.
Aktivieren Sie TA (Seite 26).
- Der Sender sendet keine Verkehrsdurchsagen, obwohl es sich um einen Verkehrsfunksender (TP) handelt.
Stellen Sie einen anderen Sender ein.
Bei der PTY-Funktion wird „None“ angezeigt.
- Der aktuelle Sender ist kein RDS-Sender.
- Es wurden keine RDS-Daten empfangen.
- Der Sender gibt den Programtyp nicht an.
Der Programmdienstname blinkt.
Für den aktuellen Sender gibt es keine Alternativfrequenz.
→ Berühren Sie |▶/▶, während der Programm Dienstname blinkt. „PI Seek“ erscheidn und das Gerät beginn mit der Suche nach einer Frequence mit denselben PI-Daten (ProgrammKennung).
Bild
EsistkeinBildzusehndasBildistverraucht.
- Eine Verbindung wurde nicht richtig vorgenommen.
- Überprüfen Sie die Verbindung zum angeschlossenen Gerät und stellen Sie den Eingangswahlschalter am anderen Gerät auf die Signale von diesen Gerät ein.
Die Disc ist beschädigt oder verschmutzt. - Das Gerät ist nicht richtig installiert. →Installieren Sie das Gerät in einem Winkel von unter 45^ an einem stabilen Teil des Fahrzeugs.
- Die Parkleitung (hellgrün) ist nicht mit der Parkbremsenschaltleitung verbunden oder die Parkbremse wurde nicht betetigt.
Das Bild passt nicht auf den Bildschirm.
Das Bildseitenverhältnis lässt sich bei dieser DVD nicht ändern.
Im Fondmonitor ist kein Bild zu sehen/ist das Bild verausscht.
- Sie haben eine nicht angeschlossene Signalquelle ausgewählt. Wenn kein Eingangssignal vorhanden ist, erscheidt auf dem Fondmonitor ker Bild.
- Das falsche Farbsystem ist eingestellt.
→Stellen Sie je nach angeschlossenem Monitor als Farbsystem „PAL“ oder „NTSC“ ein (Seite 60).
- Das Bild von der Rückfahrkamera wird an thisem Gerät angezeigt.
Wenn das Bild von der Rückfahrkamera an this dem Gerät angezeigt wird, erscheint auf dem Fondmonitor kein Bild.
Ton
Esistkein Ton zu horen/Ton setzt aus/Ton ist gestört.
- Eine Verbindung wurde nicht richtig vorgenommen.
- Überprüfen Sie die Verbindung zum angeschlossenen Gerät und stellen Sie den Eingangswahlschalter am anderen Gerät auf die Signale von dieserem Gerät ein.
Die Disc ist beschädigt oder verschmutzt. - Das Gerät ist nicht richtig installiert.
→Installieren Sie das Gerät in einem Winkel von unter 45^ an einem stabilen Teil des Fahrzeugs.
Die Abtastfrequenz der MP3-Datei betrigt nicht 32, 44,1 oder 48kHz
Die Abstastfrequenz der WMA-Datei beträge nicht 32, 44,1 oder 48kHz
Die Abtastfrequenz der AAC-Datei beträgt nicht 44,1 oder 48kHz
Die Bitrate der MP3-Datei beträgt nicht 48 bis 192 Kbps.
Die Bitrate der WMA-Datei beträgt nicht 64 bis 192 Kbps.
Die Bitrate der AAC-Datei beträgt nicht 40 bis 320 Kbps.
- Das Gerät befindet sich im Pausemodus oder im Modus zum Vorwärts-/Rückwartssuchen.
- Die Einstellungen für die Ausgänge wurden nicht korrekt vorgenommen.
- Der DVD-Ausgangspegel ist zu niedrig (Seite 29).
Die Lautstärke ist zu niedrig.
- Die Funktion zum Dämpfen des Tons oder die Stummschaltfunktion zum Telefonieren (wenn das Schnittstellenkabel eines Autotelefons mit der ATT-Leitung verbunden ist) ist aktiviert.
- Der Fader-Regler „Fader“ ist nicht für ein 2-Lautsprecher-System eingestellt.
- Das Format wird nicht Unterstützung (z. B. DTS). Sehen Sie nach, ob das Format von dieser Gerät unterstützt wird (Seite 11).
Der Ton ist gestört.
Halten Sie die verschiedene Kabel voneinander fern.
Disc-Funktionen
Es lassst sich keine Disc einlagen.
- Es ist bereits eine andere Disc eingelegt.
Die Disc wurde mit Gewalt falsch herum oder falsch eingelegt.
Die Disc lassst sich nicht abspielen.
Die Disc ist beschädigt oder verschmutzt.
Die Disc ist nicht geeignet.
Die DVD kann aufgrund des Regionalcodes nicht wiedergegeben werden.
Die Disc ist nicht abgeschlossen (Seite 71).
- Das Disc-Format und die Dateiversion sind nicht mit thisem Gerät kompatibel (Seite 11, 71).
- Drücken Sie und nehmen Sie die Disc Heraus.
MP3-/WMA-/AAC-/JPEG-/DivX-/MPEG-4-Dateien lessen sich nicht wiedergeben.
Die Aufnahme erfolgte nicht im Format ISO 9660, Stufe 1 oder 2, bzw. im erweiterten Joliet-oder Romeo-Format (DATA-CD) oder im Format UDF Bridge (DATA-DVD) (Seite 71).
Die Dateierweiterung ist falsch (Seite 72).
Die Dateien wurden nicht im MP3-/WMA-/AAC-/ JPEG-/DivX-/MPEG-4-Format gesichert.
- Wenn eine Disc mehrere Dateitypen enthalt, kann nur der ausgewählte Datetype (Audio/Video/Bild) wiedergegeben werden.
Wahlen Sie den passenden Dateotyp aus der Listessaus (Seite 40).
Es dauert länger, bis die Wiedergabe von MP3-/WMA-/AAC-/JPEG-/DivX-/MPEG-4-Dateien beginnnt.
Bei folgenden Discs dauert es länger, bis die Wiedergabe beginnt:
- Discs mit einer komplizierten Datei-/Ordnerstruktur.
- Multisession-/Multi-Border-Discs.
- Discs, zu denen noch Daten hinzugeführst werden können.
Die Disc wird nicht von vorne wiedergegeben.
Die Wiedergabefortsetzung oder die
Wiedergabefortsetzung für mehrere Discs (Seite 66) ist aktiviert.
Bestimmte Funktionen halten sich nicht ausführten.
Bei manchen Discs setzen sich Funktionen wie Stopp, Suchen, Repeat oder Shuffle Play nicht ausführten.
Naheres dazu schlagen Sieitte in den mit der Disc gelieferten Anweisungen nach.
Die Sprache für die Tonspur/Untertitel oder der Blickwinkel{lssst sich nicht ändern.
Versuchen Sie es über das Menu der DVDstatt mit der Direktwahltaste auf der Kartenfernbedienung (Seite 21).
- Auf der betreffenden DVD sind Tonspur oder Untertitel nicht in mehreren Sprachen vorhanden bzw. es gibt nicht mehrere Blickwinkel.
- Bei der DVD ist ein Wechsel nicht zulässig.
Die Funktionstasten Funktionieren nicht.
Die Disc lasst sich nicht auswerfen.
Drücken Sie die Rücksetztaste (Seite 17).
Sie haben das Kennwort für die
Kindersicherung vergessen.
Geben Sie in der Kennworteingabeanzeige die Zahl „5776“ ein, um die Kindersicherung zu deaktivieren (Seite 29).
USB-Wiedergabe
Sie können über einen USB-Hub nichts wiedergeben halten.
Dieses Gerät kann keine USB-Geräte erkennen, die über einen USB-Hub angeschlossen sind.
Die Wiedergabe ist nicht möglich.
Trennen Sie das USB-Gerät von diesen Gerät und schreiben Sie es dann wieder an.
Es dauert longer, bis am USB-Gerat die Wiedergabe beginnt.
Die Dateien auf dem USB-Gerät sind sehr groß oder befinden sich in einer komplizierten Datei-/Ordernstruktur.
Ein Signalion ist zu horen.
Das USB-Gerät wurde während der Wiedergabe von diesen Gerät getrennt.
Vor dem Trennen eines USB-Geräts müssen Sie zuerst die Wiedergabe stoppen, um die Daten zu schützen.
Der Ton setzen aus.
Bei einer hohen Bitrate von über 320 Kbps kommt es möglicherweise zu Tonaussetzern.
Bluetooth-Funktion
Ein Bluetooth-Gerät kann diese Gerät nicht erkennen.
- Setzen Sie „Signal“ auf „ON“ (Seite 52).
-
Setzen Sie „Discoverable" auf „Show" (Seite 52).
-
Während eine Verbindung zu einem Bluetooth-Gerät besteht, kann diese Gerät von einem anderen Gerät nicht erkannt werden. Trennen Sie die aktuelle Verbindung und halten Sie dann vom anderen Gerät aus nach thisem Gerät suchen. Die
Geräteverbindung, die getrennt wurde, lässt sich wieder herstellen, indem Sie das Gerät aus der Listeder registrierten Geräte auswahlen.
Dieses Gerät kann ein Bluetooth-Gerät nicht erkennen.
Überprüfen Sie die Bluetooth-Einstellung am anderen Gerät.
Fortsetzung auf der{nachstenSeite
Es kann keine Verbindung hergestellt werden.
- Je nach dem anderen Gerät ist die Suche von diesen Gerät aus unter Umständen nicht möglich.
Suchen Sie vom anderen Gerät aus nach thisem Gerät. - Je nach dem Status des anderen Geräts ist die Suche von dieser Gemät aus unter Umständen nicht möglich.
Suchen Sie vom anderen Gerät aus nach thisem Gerät. - Schlagen Sie die Erläuterungen zum Pairing und zum Herstellen einer Verbindung im Handbuch zu dem anderen Gerät usw. nach und führen Sie den Vorgang erneut aus.
Der Name des erkannten Geräts wird nicht angezeigt.
Je nach dem Status des anderen Geräts wird der Name möglicherweise nicht angezeigt.
EsistkeinRufzeichenzuhoren.
- Erhöhen Sie die Lautstärke, während ein Anruf eingegt.
- Je nach dem verbundenen Gerät wird das Rufzeichen möglicherweise nicht richtig übertragen.
Setzen Sie „Ringtone“ auf „Default“ (Seite 53).
Die Stimme des Geschäftseinhmers ist sehr leise.
Erhöhen Sie die Lautstärke während eines Telefongesprächs.
Der Geschäftseinheimer teilt Ihnen mit, dass die Lautstärke zu hoch oder zu niedrig ist.
Stellen Sie den Pegel für „MIC Gain“ ein (Seite 47).
Bei Telefongesprächen ist ein Echo oder Rauschen zu horen.
Verringern Sie die Lautstärke.
,EC/NC Mode"ist auf ,OFF" gesetzt. Setten Sie ,EC/NC Mode"auf ,Mode 1" oder ,Mode 2"(Seite 53).
- Wenn Umgebungsgeräusa des Telefongesprach überlagern, versuchen Sie, diese Geräusa zu reduzieren.
Beisiel: Wenn das Fenster geöffnet ist und Straßenlarm usw. hereindringt, schlieben Sie das Fenster. Wenn die Klimaanlage laut ist, drehen Sie diese herunter.
Die Tonqualität beim Telefonieren ist nicht gut.
Die Tonqualität beim Telefonieren hängt von den Empfangsbedingungen des Mobiletelefons ab.
→Fahren Sie bei schlechtem Empfang mit dem Auto an eine Stelle, an der der Empfang für das Mobiletelefon better ist.
Die Lautstärke des verbundenen Bluetooth-Geräts ist zu niedrig oder zu hoch.
Der Lautstärkepegel variiert je nach Bluetooth-Gerät.
Verringern Sie die Lautstärkeunterschiede zwischen thisem Gerät und dem Bluetooth-Gerät (Seite 52).
Beim Audio-Streaming wird kein Ton ausgegeben.
Das verbundene Bluetooth-Gerät ist in den Pausemodus geschaltet.
Beenden Sie den Pausemodus am Bluetooth-Gerät.
Beim Audio-Streaming kommt es zu Tonsprüngen.
Verringern Sie den Abstand zwischen thisem Gerät und dem Bluetooth-Gerät.
- Wenn sich das Bluetooth-Gerät in einem Etui befindet, das die Signalübertragung stört,ephenmen Sie es während des Betriebs aus dem Etui.
- In der Höhe werden einige Bluetooth- oder andere Geräte verwendet, die Radiowellen ausstrahlen.
Schalten Sie die anderen Geräte aus.
Erhöhen Sie den Abstand zu den anderen Geräten.
- Der Wiedergabeton setzen einen Moment lang aus, wenn diese Gerät mit einem Mobiltelefon verbunden wird. Dies ist keine Fehlfunktion.
Sie können das verbundene Bluetooth-Gerät beim Audio-Streaming nicht steuern.
Uberprüfen Sie, ob das verbundene Bluetooth-Gerät das Profil AVRCP unterstützen.
Eine Funktionen stehen nicht zur Verfügung.
Vergewissern Sie sich, dass das verbundene Gerät die betreffenden Funktionen unterstützen.
Der Name des Geschäftseinnehmers wird nicht angezeigt, wenn ein Anruf eingegt.
- Der Geschäftseinnehmer ist nicht im Telefonbuch gespeichert.
Speichern Sieihn im Telefonbuch (Seite 47). - Das anrufende Telefon ist so eingestellt, dass keine Telefonnummer übermittelt wird.
Ein Anruf wird unbeabsichtigt entgegenommen.
- Das verbundene Telefon ist so eingestellt, dass automatisch ein Anruf gestartet wird.
„Auto Answer“ ist an thisem Gerät auf „Short“ oder „Long“ gesetzt (Seite 52).
Das Pairing ist aufgrund einer Zeitüberschreitung fehlgeschlagen.
Je nach dem verbundenen Gerät ist das Zeitlimit für das Pairing sehr kurz. Versuchen Sie, das Pairing in der vorgegebenen Zeit abzuschlieben, indem Sie ein einstelliges Password definiern.
Die Bluetooth-Funktion lasst sich nicht verwenden.
Schalten Sie das Gerät aus, indem Sie SOURCE/OFF
1 Sekunde lang drücken, und schalten Sie das Gerät dann wieder ein.
Bei einem Anruf über die Freisprecheinrichtung wird über die Lautsprecher des Fahrzeugs kein Ton ausgegeben.
Wenn der Ton über das Mobiltelefon ausgegeben wird, stellen Sie these so ein, dass der Ton über die Lautsprecher des Fahrzeugs ausgegeben wird.
Navigationsfunktion
Im Display erscheint keine Anzeige, wenn Sie zur Navigationsanzeige wechseln.
Schalten Sie die Zündung aus und stellen Sie den Schlüssel dann in die Position ACC oder I oder drücken Sie die Rücksetzstate (Seite 17).
Bei Problemen mit der Navigationsfunktion setzen Sieitte das Infoblatt (von TomTom mitgeliefert) zum Navigationsmodul.
Fehleranzeigen/Meldungen
Dieses Gerät kann kein Bluetooth-Gerät erkennen, zum dem eine Verbindung hergestellt werden kann.
Überprüfen Sie die Bluetooth-Einstellung am zu verbindenden Gerät.
Das Gerät ist gerade aktiv.
Warten Sie einen Moment und versuchen Sie es dann noch einmal.
Cannot read.
- Das Gerät kann die Daten aufgrund eines Fehlers nicht einlesen.
Die Daten sind beschädigt.
Die Disc ist beschädigt.
Die Disc ist mit diesen Gerät nicht kompatibel.
Die Disc ist nicht abgeschlossen.
Disc Error
- Die Disc ist verschmutzt oder falsch herum eingelegt. Reinigen Sie die Disc bzw. legen Sie sie korrekt ein.
- Eine leere Disc wurde eingelegt.
Die Disc kann aufgrund eines Problems nicht wiedergegeben werden.
Legen Sie eine andere Disc ein.
Die Disc ist mit diesen Gerät nicht kompatibel.
Legen Sie eine kompatible Disc ein.
- Drücken Sie undnehmen Sie die Disc heraus.
Disc Reading...
Das Gerät liest gerade alle Datei-/Albuminformationen (Ordnerinformationen) von der Disc ein.
Bitte warten Sie, bis das Einlesen abgeschlossen ist.
Die Wiedergabe beginnt danach automatisch. Je nach Disc-Struktur kann das Einlesen länger als eine Minute dauern.
Error
- Das USB-Gerät wurde nicht automatisch erkannt. Schließen Sie das Gerät nochmals an.
- Der Inhalt des Telefonbuchs wird während des Zugriffs auf das Mobiletelefon geändert. Greifen Sie erneut auf das Telefonbuch zu.
- Der Zugriff auf das Telefonbuch wird vom Mobiletelefon aus getrennt.
Greifen Sie erneut auf das Telefonbuch zu.
- Das Herunterlagen des Telefonbuchs vom Mobiletelefon ist aufgrund eines Problems fehlgeschlagen.
Laden Sie das Telefonbuch erneut herunter (Seite 47). - Das Durchsuchen des Telefonbuchs auf dem Mobiletelefon ist aufgrund eines Problems fehlgeschlagen.
Versuchen Sie es erneut (Seite 49). - Das Auflisten der Telefonbucheinträge auf dem Mobiltelefon ist aufgrund eines Problems fehlgeschlagen.
Versuchen Sie es erneut (Seite 49).
Ein Speicherfehler ist aufgetreten.
→Initialisieren Sie die Bluetooth-Einstellung (Seite 53).
EsbestehtkeineVerbindungzueminemMobiletelefon.
→Stellen Sie eine Verbindung zu einem Mobiltelefon her (Seite 44).
Hubs not supported.
Ein USB-Hub wird von diesen Gerät nicht Unterstützung.
Beim automatischen Sendersuchlauf ist der lokale Suchmodus aktiviert.
No AF
Für den aktuellen Sender gibt es keine
Alternativefrequenz.
No device found.
Die Liste der registrierten Bluetooth-Geräte enthalt kein Gerät.
→Führn Sie das Pairing mit einem Bluetooth-Gerät aus (Seite 42).
No playable data.
Die Disc enthalt keine abspielbaren Daten.
No SensMe™ data on device.
Das verbundene USB-Gerät enthalt keine Daten für die SensMe™- Funktion oder die Daten wurden auf dem USB-Gerät an einen ungeeigneten Speicherort verschoben.
No TP
Das Gerätucht weiter nach verfügbar Verkehrsfunksenden (TP).
Offset
Es liegt möglicherweise eine interne Fehlfunktion vor.
→ Überprüfen Sie die Verbindungen. Wenn die Fehleranzeige weiterhin im Display angezeigt wird, wenden Sie sich an einen Sony-Handler.
Die Lautsprecher-/Verändereranschlüsse sind nicht korrekt.
Überprüfen Sie die Verbindungen anhand der mitgelieferten Installations-/Anschlussanleitung.
Das USB-Gerät ist überlastet.
Trennen Sie das USB-Gerät von thisem Gerät und wechseln Sie mit (SOURCE/OFF) die Signalquelle.
→Zeigt an, dass das USB-Gerät nicht einwandfrei Funktioniert oder dass ein nicht Unterstützungtes Gerät angeschlossen ist.
Die Wiedergabe der DVD ist aufgrund des unterschiedlichen Regionalcodes nicht zulässig.
Please push reset.
Das Gerät und das USB-Gerät können wegen einer Störung nicht bedient werden.
Drucken Sie die Rücksetztaste (Seite 17).
Please reset Navi.
Die Funktion ist aufgrund eines Fehlers am Navigationsmodul nicht möglich.
Setzen Sie das Navigationsmodul zurück. Wenn Sie das Navigationsmodul zurücksetzen, halten Sie die Rücksetzstate unbedingt länger als 10 Sekunden gratrück. Anderfalls wird das Navigationsmodul nicht zurückgesetzt.
SensMe™ data Reading...
Dieses Gerät liest gerade alle Daten für die SensMe™- Funktion vom verbundenen USB-Gerät ein.
Warten Sie, bis der Lesevorgang abgeschlossen ist. Je nach Umfang der Daten usw. kann dies eine Weile dauern.
Einzelheiten zur Kompatibilität Ihres USB-Geräts finden Sie auf der Support-Website.
An den Daten für die SensMeTM-Funktion liegt ein Problem vor, wie z. B. ein geänderter Datum, geänderte Informationen usw.
USB ist als Signalquelle ausgewählt, aber es ist kein USB-Gerät angeschlossen. Ein USB-Gerät oder ein USB-Kabel wurde während der Wiedergabe von dieserem Gerät getrennt.
→ Schließen Sie unbedingt USB-Gerät und USB-Kabel an.
USB Reading...
Das Gerät liest fremde alle Datei-/Albuminformationen (Ordnerinformationen) vom angeschlossenen USBGerät ein.
itte warten Sie, bis das Einlesen abgeschlüssen ist. Die Wiedergabe beginnt danach automatisch. Je nach Ordnerstruktur kann der Vorgang eine Weile dauern.
Das Navigationsmodul ist nicht angeschlossen oder wird nicht erkannt.
→ Schlieben Sie das Navigationsmodul an die Auto Dockinghalterung an und warten Sie einen Augenblick.
Trennen Sie das Navigationsmodul von der Auto Dockinghalterung und schlieben Sie es wieder an. Wenn das Problem bestehen bleibt, halten Sie die Rücksetztaste länger als 10 Sekunden gedrückt.
"⊥⊥⊥L"oder,
Sie sind beim Vorwirts- oder Rückwrtssuchen am Anfang bzw. Ende der Disc angelt und können nicht weitersuchen.
一
Das Zeichen kann mit diesen Gerät nicht angezeigt werden.
Wenn sich das Problem mit diesen
Abhilfemaßnahmen nicht beheben{lsst, wenden Sie sich an einen Sony- Handler.
Wenn Sie das Gerät aufgrund einer Störung bei der Disc-Wiedergabe zur Reparatur bringen, bringen Sieitte auch die Disc mit, die eingelegt war, als das Problem zum ersten Mal auftrat.
Die Schreibung der einzelnen Sprachen entspricht der ISO-Norm 639: 1988 (E/F).
Listeder Sprachcodes
| Code | Sprache | Code | Sprache | Code | Sprache | Code | Sprache |
| 1027 | Afar | 1183 | Irish | 1347 | Maori | 1507 | Samoan |
| 1028 | Abkhazian | 1186 | Scots Gaelic | 1349 | Macedonian | 1508 | Shona |
| 1032 | Afrikaans | 1194 | Galician | 1350 | Malayalam | 1509 | Somali |
| 1039 | Amharic | 1196 | Guarani | 1352 | Mongolian | 1511 | Albanian |
| 1044 | Arabic | 1203 | Gujarati | 1353 | Moldavian | 1512 | Serbian |
| 1045 | Assamese | 1209 | Hausa | 1356 | Marathi | 1513 | Siswati |
| 1051 | Aymara | 1217 | Hindi | 1357 | Malay | 1514 | Sesotho |
| 1052 | Azerbaijani | 1226 | Croatian | 1358 | Maltese | 1515 | Sundanese |
| 1053 | Bashkir | 1229 | Hungarian | 1363 | Burmese | 1516 | Swedish |
| 1057 | Byelorussian | 1233 | Armenian | 1365 | Nauru | 1517 | Swahili |
| 1059 | Bulgarian | 1235 | Interlingua | 1369 | Nepali | 1521 | Tamil |
| 1060 | Bihari | 1239 | Interlingue | 1376 | Dutch | 1525 | Telugu |
| 1061 | Bislama | 1245 | Inupiak | 1379 | Norwegian | 1527 | Tajik |
| 1066 | Bengali; | 1248 | Indonesian | 1393 | Occitan | 1528 | Thai |
| Bangla | 1253 | Icelandic | 1403 | (Afan)Oromo | 1529 | Tigrinya | |
| 1067 | Tibetan | 1254 | Italian | 1408 | Oriya | 1531 | Turkmen |
| 1070 | Breton | 1257 | Hebrew | 1417 | Punjabi | 1532 | Tagalog |
| 1079 | Catalan | 1261 | Japanese | 1428 | Polish | 1534 | Setswana |
| 1093 | Corsican | 1269 | Yiddish | 1435 | Pashto; | 1535 | Tonga |
| 1097 | Czech | 1283 | Javanese | Pushto | 1538 | Turkish | |
| 1103 | Welsh | 1287 | Georgian | 1436 | Portuguese | 1539 | Tsonga |
| 1105 | Danish | 1297 | Kazakh | 1463 | Quechua | 1540 | Tatar |
| 1109 | German | 1298 | Greenlandic | 1481 | Rhaeto- | 1543 | Twi |
| 1130 | Bhutani | 1299 | Cambodian | Romance | 1557 | Ukrainian | |
| 1142 | Greek | 1300 | Kannada | 1482 | Kirundi | 1564 | Urdu |
| 1144 | English | 1301 | Korean | 1483 | Romanian | 1572 | Uzbek |
| 1145 | Esperanto | 1305 | Kashmiri | 1489 | Russian | 1581 | Vietnamese |
| 1149 | Spanish | 1307 | Kurdish | 1491 | Kinyarwanda | 1587 | Volapúk |
| 1150 | Estonian | 1311 | Kirghiz | 1495 | Sanskrit | 1613 | Wolof |
| 1151 | Basque | 1313 | Latin | 1498 | Sindhi | 1632 | Xhosa |
| 1157 | Persian | 1326 | Lingala | 1501 | Sangho | 1665 | Yoruba |
| 1165 | Finnish | 1327 | Laothian | 1502 | Serbo- | 1684 | Chinese |
| 1166 | Fiji | 1332 | Lithuanian | Croatian | 1697 | Zulu | |
| 1171 | Faroese | 1334 | Latvian; | 1503 | Singhalese | ||
| 1174 | French | Lettish | 1505 | Slovak | |||
| 1181 | Frisian | 1345 | Malagasy | 1506 | Slovenian | 1703 | Nicht angegeben |
Gebietscodeliste
| Code | Gebiet | Code | Gebiet | Code | Gebiet | Code | Gebiet |
| 2044 | Argentinien | 2174 | Frankreich | 2363 | Malaysia | 2489 | Russland |
| 2047 | Australien | 2184 | Groß- | 2362 | Mexiko | 2499 | Schweden |
| 2057 | Belgien | britannien | 2390 | Neuseeland | 2086 | Schweiz | |
| 2070 | Brasilien | 2248 | Indien | 2376 | Niederlande | 2501 | Singapur |
| 2090 | Chile | 2238 | Indonesien | 2379 | Norwegen | 2149 | Spanien |
| 2092 | China | 2254 | Italien | 2046 | Österreich | 2528 | Thailand |
| 2115 | Dänemark | 2276 | Japan | 2427 | Pakistan | ||
| 2109 | Deutschland | 2079 | Kanada | 2424 | Philippinen | ||
| 2165 | Finnland | 2304 | Korea | 2436 | Portugal |
A
AAC 11, 72
Allgemeine Einstellungen
(General) 60
Alternativfrequenzen
(AF) 25, 26
Anfangseinstellungen
AUX-Eingangseinstellungen
(AUX1 Input, AUX2 Input) 61, 69
B
Balance
Bedienung mit dem Finger 40
Bild drehen (Image Turn) 23
Bildschirmeinstellungen
(Screen) 64
Bildseitenverhältnis
(Aspect) 58, 64
Blickwinkel (Angle) 23
Bluetooth 41
Bluetooth-Einstellungen 52
Bluetooth-Signal
(Signal) 43, 52
C
Demo-Modus (Demo) 64
Dirmereinstellung
(Dimmer) 60
Dimmerpegel
(Dimmer Level) 60
Direkte Steuerung
(Passenger Control) 39
Discs 11
DivX Video-on-Demand 67, 72
DivX 11,72
Dolby Digital 28, 29
Dolby D-Pegel
(Dolby D Level) 29
DVD-Audiosprache (Audio,
DVD Audio Language) 28, 64
DVD-Direktutsche
DVD-Playlistenwiedergabe
Rauschunterrückungsmodus
(EC/NC Mode) 53
EQ7 53,62
F
Fader (Balance/Fader) 54, 62
Farbsystem
(Output Color System) 60
Formate 11
G
Gebietscode 83
Geeignete Discs 11
H
Hintergrundanzeige
(Screen Select) 57
Hochpassfilter (HPF) 63
Hörposition
Initialisieren der Bluetooth
Einstellungen (Initialize) 53
Kindersicherungseinstellungen
(DVD Parental Control) 29, 65
Klangeinstellungen
(Sound) 62
L
Lautsprecherlautstärke
Mikrofonverständlung
(MIC Gain) 47, 53
Monauraler Modus (Mono) 20
Monitortyp (Monitor Type) 66
Monitorwinkel
(Monitor Angle) 57
MP3 11, 72
MPEG-4 11, 73
Multi-Border-DVD 71
Multisession-CD 71
N
Niedrigpassfilter (LPF) 63
NTSC 60
P
PAL 60
Pegel zusammen Geräte
(Level) 69
Picture EQ 58, 64
Programmtypauswahl
(PTY) 26
R
Radiodatensystem (RDS) 25
Radioempfangsmenu
(Receive Menu) 20
Rear Bass Enhancer
(RBE) 56, 63
Rückfahrkameraeingang
(Camera Input) 61
Rückfahrkameraeinstellungen
Rufzeichen (Ringtone) 53
s
SensMe™ 33
Shuffle Play
Speicherbelegungsautomatik
(BTM) 25
Sprachcode 83
T
Tastenbeleuchting
(Key Illumination) 61
Telefonieren mit
Freisprecheinrichtung 45
Tiefstlonlautsprecher
einstellen (Subwoofer) 17, 63
Tiefstlonlautsprecher,
Lautstärke
Tiefstlonlautsprecher,
Position 55
Touchscreen-Kalibrierung
Uhrzeit (CT) 26, 27, 60
Uhrzeitanzeige (Clock) 14, 64
Untertitelsprache (Subtitle,
DVD Subtitle Language)
23,64
USB-Gerat 31
USB-Wiedergabefortsetzung
(USBResume)66
V
Verkehrsdurchsagen
(TA) 25, 26
Verkehrsfunk sender (TP) 25
W
Wiedergabeeinstellungen
(Visual) 64
Wiedergabefortsetzung 23
Wiedergabefortsetzung für
mehrere Discs
Zeitlupenwiedergabe 23
Zurücksetzen 17
Zusätzliche Geräte 69
Technische gegevens 72
Problemen oplossen. 74
Foutmeldingen/berichten 78
Automatisch opslaan - BTM
- Wordt möglich nicht correct gedetecteerd.
Het bevestigingsschem wird weergegeben.
3 Raak "Yes" aan.
Het instelschem wird weergegeben.
Het instelschem wird weergegeben.

Frequentiebereik: 20 - 15.000Hz
MW/LW
Afstembereik:
MW: 531 - 1.602 kHz
LW: 153 - 279kHz
Frequentiebereik: 10 - 20.000Hz
Harmonische vervorming: 0.01%
Kunststoff steuntje (3)^*
USB-kabel*
De elektrische antennene schuift nicht uit.
De menu-items können nicht worden geseleed.
Automatisch beantwoorden
(Auto Answer) 51
Hiermit erklart Sony Corp., dass sich dieser XNV-L77BT/770BT/L66BT/660BT in Übereinstimmung mit den grundlegenden Anforderungen und den anderen relevanten Vorschriften der Richtlinie 1999/5/EG befindet.
Weitere Informationen erhältlich unter: http://www.compliance.sony.de/
Eesti
Registieren Sie Ihr Produkt jetzt bei:
Registreeuw product nu online via:
Bitte kreuzen Sie zunachst die genaue
Modellbezeichnung in dem darauf vorgesehenen Feld an.
Tragen Sie danach die Seriennummer (SERIAL NO.) in dem reservierten Feld ein. Sie finden diese auf einem Aufkleber, der auf dem Gerätegehause angebracht ist. Nehmen Sie den ausgefüllten Geräte-Pass anschließend unbedingt aus der Bedienungsanleitung hersa, falls Sie diese im Fahrzeug aufbewahren möchten.itte bewahren Sie den Geräte-Pass an einem sicheren Ort auf. Er kann im Falle eines Diebstahls zur Identifikation Ihres Eigentums dieren.
caraudio
Geräte-Pass
SONY®
Dieser Geräte-Pass dient als Eigentumsnachweis für Ihr caraudio-Gerät im Falle eines Diebstahls.
Wir empfehlen, den Geräte-Pass nicht im Fahrzeug aufzubewahren, um Missbrauch zu verhindern.
Modellbezeichnung
XNV-L77BT
□XNV-770BT
□XNV-L66BT
□XNV-660BT
Seriennummer (SERIAL NO.)
EinfachAnleitung