PAG7530E-B - Kookplaat PROGRESS - Gratis gebruiksaanwijzing en handleiding
Vind de handleiding van het apparaat gratis PAG7530E-B PROGRESS in PDF-formaat.
Download de handleiding voor uw Kookplaat in PDF-formaat gratis! Vind uw handleiding PAG7530E-B - PROGRESS en neem uw elektronisch apparaat weer in handen. Op deze pagina staan alle documenten die nodig zijn voor het gebruik van uw apparaat. PAG7530E-B van het merk PROGRESS.
GEBRUIKSAANWIJZING PAG7530E-B PROGRESS
Waarschuwingen en adviezen 60
Aanwijzingen voor de gebruiker 62
Optimaal rendement 64
Onderhoud 65
Technische gegevens 67
Elektrische aansluiting 68
Gasaansluiting 69
Ombouw waar vloeijaar gas 71
Inbouw 73
Inbouw en montage 74
Inbouwmogelijkheden 75
Service en originele onderdelen 76
Over deze gebruiksaanwijzing

Aanwijzingen m.b.t. de veiligheid

Aanwijzingen m.b.t. het gebruik

Adviezen en tips

Informatie m.b.t. het milieu

Dit apparatus voldoet aan de EU-richtlijnen: 2006/95 - 89/336 - 90/396 - 93/68
en de waar bij behorende besluiten.
FABRIKANT:
ELECTROLUX HOME PRODUCTS ITALY S.p.A.
VialeBologna,298
47100 FORLI (Italie)
Het is uiterst belangrijk dat het bij het apparaat behorende instructieboekje bewaard blijft. Zou het apparaat door u aan iemand anders gegeven of verkocht worden, of zou het apparaat in hetuis van waaruit u verhuist achechterblijven, dan dient de nieuwe gebruik(st)er over het instuctieboekje en de daarin opgenomen waarschuwingen te konnen beschikken.
Deze instructies gelden alleen voor de landen waarvan het identificatiesymbol is aangebracht op het titelblad van het instructieboekje en het apparaat zich.
Nederland

Waarschuwingen en adviezen
Deze waarschuwingen zijn bedoeld voor uw en andermanseiligheid. U worden geacht zegelezen te hebben, alvorens u het apparaat installeert en/of in gebruik neemt.
Installatie
- Het installeren en aansluiten van het apparaat dient door een erkend installerateur te geschieden.
- Sluit het apparaat aan op het juiste type gas, zoals vermeld op de sticker naast de gasaansluiting van de kookplaat.
- Tijdens het gebruik produeert de kookplaat warmte en vocht. Zekerijdens een langdurig gebruik. Zorg dan voor een goede ventilatie door de afzuigkap in te schakelen of door een raam open te zetten.
- Controller het apparaat na het uitpakken op beschadigingen. Controller ook het aansluitsnoor op beschadigingen. Neem in geval van beschadiging contact op met uw leverancier.
- De fabrikant wijst elke aansprakelijkheid ten aanzien van schade of letsel af, indien bovenstaande veiligheidsmaatregelen Niet zichen getroffen of in acht genomen.
Tijdens het gebruik
- Dit apparaat is bedoeld voor het gebruik door volwassenen. Het is gevaarlijk om kinderen het apparaat te lately bedieren of als spelgoed te lately gebruiken.
- Dit apparat is bedoeld en gemaatkt voor het bereiden van voedsel in het huishouden; gebruik het nergens anders voor.
- Het is gevaarlijk om, in welke vom dan ook, dit apparaat of eigenschappen waarvan te veranderen.
- Om hygienische en veiligheidsredenen要去 het apparaat alsijd schoon worden gehonden. Vet-en/of voedselresten können brand verzoorzaken.
-
Controller altijd de bedieningsknoppen in de "UIT" stand staan, als de kookplaat Niet meer worden gebruikt.
-
Mocht er in de buurt van de kookplaat een stopcontact�, waarop af en toe een ander huishoudelijk apparaat worden aangesloten, zorg er dan voor, dat het snoer Niet in contact komt met hare delen van de kookplaat.
- Als de kookplaat Niet worden gebruikt, trek dan de stekker van de vonkontsteking uit het stopcontact.
- Trek.altijd de stekker van de vonkontsteking uit het stopcontact bij het schoonmaken en onderhoud van de kookplaat.
Zorg alsijd voor voldoende ventilatie. Gebrek aan ventilatie kan gebrek aan zuurstof veroorzaken.
Veiligheid van kinderen
- Houdijdens het in gebruik়n van de kookplaat kinderen uit de buurt. Ook na het uitschaken blijft het apparaat lang heet. Let op dat kinderen de warme delen Niet aanrakenijdens het afkoelen.
- Dit apparaat mag nicht gebruikt worden door kinderen of andere Personen wiens lichamelijke, motorische of geestelijkke gesteldheid of gebrek aan ervaring en kennis die daardoor het apparaat Niet kunnen gebruiken zonder supervisie of instructies van een verantwoordelijk persoon om zeker te zichn van dat het apparaat veilig kan worden gebruikt.
Service
- Reparations aan het apparataat mogen alleendoor vakmensen worden uitgevoerd. Onvakkundige reparations konnen totaanzienlijke risico's leiden.

Informatie m.b.t. het milieu
Houd bij het weggooien van de verpakking rekening met de veiligheid en het milieu.
Als u een oud apparaat afdankt, maak het dan onbruikbaar door het aansluitsnoer af te snijden.
Het symbooop het product of op de verpakking wijst erop dat dit product Niet als huishoudafval mag worden behandeld. Het要去chter maar een plaatss worden gebracht waar elektrische en elektronische apparatuur wordt gerecycled. Als u ervoir zorgt dat dit product op de correcte manier worden verwijderd, voorkomt u mogelijk voor mens en milieu negatieve gevolgen die zich zonden+kunnen voordoen in geval van verkeerde afvalbehandeling. Voormeer details in verband met het recylen van dit product, neemt u het best contact op met de gemeentelijke instanties, het bedrijf of de dienst belast met de verwijdering van huishoudafval of de winkel waar u het product hebt gekocht.
Bedieningsknoppen
De bedieningsknoppen van de branders hebben drie standen:

gesloten -uit

maximale gastroevoer
minimale gastroevoer
Aansteken van de branders

Steek de brander.altijd aan voordat u er een pan opzet.

- Geintegreerde ontsteking
Steek een lucifer aan. Druk de knop van de betreffende brander in en draai hem linksom. Steek de brander direct aan.
Maar houdt verwolgens de knop nog 5 seconden geheel ingedrukt. Dat is nodig om de vlambeveiliging in te schakelen. De vlam beveiliging voorkomt, dat het gas blijft doorstromen, als de vlam uitwaait of uitgaat door een storing in het gasnet. Zet verwolgens de knop in de gewenste stand.
Om de brander uit te schakelen draait u de knop rechtsom op de UIT " ●" stand.
- Het ontstekingsmechanisme mag nicht langer dan 15 seconden ingedrukt worden. Als de brander Niet aan is na 15 seconden, wacht dan minstens 1 minuut voordat u het nogmaals probeert.
- Als de brander per ongeluk dooft, zet dan de knop op UIT en wacht minstens 1 minuut voordat u het nogmaals probeert.

Luciferontsteking
Steek de lucifer aan. Druk de knop van de betreffendebrander in en draai hem linksom. Steek de brander direkt aan.
Zet verwolgens de knop in degewenste stand.


A - Branderdeksel
afb. 1
B-Vlamverdeler
C-Vonkontsteking
D-Vlambeveiliging
- Zet.altijd eerst de branderlager of uit voordat u de pan van de brander neemt.
- Het apparaat is voorzien van regelkranen waardoor een betere vlammenregeling möglichk is.

Waarschuwing
Druk nooit op de knop van de brander als het branderdeksel Niet op de brander ligt. Doet u dat wel, dan kan de ontstekingsunit z'n zeer hoge spanning Niet kwijt hetgeen tot beschadiging van de ontstekingsunit kan leiden.

Belangrijk: Ontsteek eerst de brander en plaats dan de pan boven de brander.
Optimaal rendement
Voor een optimaal rendement要去 de diameter van de pan aangepast zich aan de brander, zodate de vlammen Niet langs de zichkant uitslaan (zie tabel). Wij adviseren ook om de vlam lager te zetten zodra het kookpunt bereikt is.
- Gebruik alleen pannen met een vlakke bodem.

Wees voorzichtig als u olie of andere vetstoffen gezruikt (zoals bij het frituren). Olie en vet ontbranden gemakkelijk bij oververhitting.
Voor een juist gebruik van de kookplaat
Om minder gas te verbruiken en een better rendement te behalen, alleen pannen gebruiken met een platte bodem en met afmetingen die geschikt zich inoor de branders, zoals aangegeven in de tabel onderaan deze pagina. Let er bovendien op dat u, zodra een vloeistof gaat koken, de vlam lager zet op een stand die voldoende is om de vloeistof aan de kook te houden.
Tijdens bereidingsmethoden waar bij vetten of oliën gebruikt worden uw gerechten goed in de gaten houden; deze stoffen können, wanner ze op hove temperatuur gebracht worden, in brand vliegen.
Roestvrij staal kan, als het blootgesteld wordt aan extreme hitte, bruin worden. Daarom raden wij langdurig gebruik van een grillsteen, schaal van ongeglazuurd aardewerk of pan van gietijzer af. Vermijd het gebruik van aluminiumfolie om de kookplaat tijdens het gebruik te beschermen.
Vergewis u ervan dat de pannen nichtuitsteken buiten de randen van de kookplaat en dat ze midden op de branders staanteneinde minder gas te verbruiken.
Zet geen onstabiele of cervormde pannen op de branders: ze zouden om+kunnen vallen of de inhoud zou over de rand+kunnen lopen, waardoor ongelukken+kunnen ontstaan.
Trek voordat u de kookplaat gaat schoonmaken alsijd eerst de stekker uit het stopcontact enaar de kookplaat afkoelen.
Voor het reinigen van de@email delen mag nooit een agressief middel gebruikt worden. Maak een sopje van warm water met afwasmiddel.
Maak zeer regelmatig de branders schoon, verwijder voedselresten, maak de branderringen en -deksels goed droog met een zacht doekje voordat u ze weeer terug zet.
De pannendragers ook met een sopje van afwasmiddel schoonmaken.
Gebruik voor het verwijderen van lastige vlekken nooit een pannenspons van staalwol, een agressief schoonmaakmiddel of een pannenspons met een harde laag. Gebruik voor het verwijderen van hardnekig vuil waarvoor in de handel zijnde schoonmaakmiddelen zonder schurende werkinq.

Kookplaten met gietijzeren pannendragers:plaats na het schoonmaken de pannendragers wee por Hun plaats. Om ze correct terug te plaatsen, plaatst u eerst de zij-pannendragers en daarna de middelste.
De pannendragers van de kookplaat
De kookplaten zijn voorzien van pannendragers van geëmailleerd ijzer, die dun enlichtহn of van gietijzer, die dikker en zwaarderহn.
De pannendragers hunen van de kookplaat verwijderd worden zodat ze beter hunnen worden schoongemaaakt.
Wij adviseren u de gietijzeren pannendragers Niet op de kookplaat neer te zetten om te voorkomen dat deze bekrast worden of beschadigd raakt.
De geëmailleerde roosters können met warm zeepsop worden gereinigd.

Zet de pannendragers, nadat ze gereinigd zich, terug op hun plaats en controllerer of ze goed staan.
Voor een juiste werkung van de branders moet uervoortzorgen dat de pannendragers met de concentrische spaken op de brander staan, zoals afgebeeld in figuur 2.
Vonkontsteking
De vonkontsteking, bestaand uit een elektrode gevat in een keramisch omhulsel, moet vrij worden gehonden van voedselresten en vocht, sondern anders de ontsteking Niet functioneert (afb. 1 - C).
Controleer of de branderring poortenschoon+zijn.

afb. 2

| Vermogen gasbranders | Uitsnjmaat | ||
| Wokbrander | 4,0 kW | Breedte | 560 mm |
| Sterkbrander | Aardgas 3,0 kW | Diepte | 480 mm |
| LPG 2,8 kW | |||
| Normaalbrander | 2,0 kW | Kookplaat | |
| Sudderbrander | 1,0 kW | Breedte | 744 mm |
| Diepte | 510 mm | ||
| Categorie | II2E+3+ | ||
| Voeding gas Aardgas G20/G25 (2E+) 20/25 mbar | |||
| Aansluiting aan | 230 V~50 Hz | ||
| Apparaat classe | 3 | ||
Tabel 1: Inspuiitstukken
| TYPEBRANDER | MAXIMALEWARMTE-AFGIFTEkW | MINIMALEWARMTE-AFGIFTEkW | NOMINALE AFGIFTE | |||||
| AARDGAS | GAS LPG28-30/37 mbar | |||||||
| Sproieres100/mm | m3/h | Sproieres100/mm | g/h | |||||
| G2020 mbar | G2525 mbar | G30 | G31 | |||||
| Sudderbrander | 1,0 | 0,33 | 70 | 0,095 | 0,111 | 50 | 73 | 71 |
| Normaalbrander | 2,0 | 0,45 | 96 | 0,190 | 0,221 | 71 | 145 | 143 |
| Sterkbrander | Aardgas 3,0LPG 2,8 | 0,75 | 119 | 0,286 | 0,332 | 86 | 204 | 200 |
| Wokbrander | 4,0 | 1,2 | 146 | 0,381 | 0,443 | 98 | 291 | 286 |
Tabel 2: Diameters bypass afregelschroeven
| Brander | Ø Bypass 1/100 mm. |
| Sudderbrander | 28 |
| Normaalbrander | 32 |
| Sterkbrander | 42 |
| Wokbrander | 56 |
Elektrische aansluiting
- De aansluiting moet volgens NEN 1010 en eventuele speciale voorschriften van hetplaatselijke energiebedrijf worden uitgevoerd.
- Controller of de zekeringen en de huisinstallatie de belasting van het apparaat+kennenverdragen (zie typeplaatje).
- Het stopcontact要去 geaard zich.
- Het stopcontact of de meerpolige schakelaar要去en makkelijk toegankelijk়.
- Als u het apparaat direct aan het net aansluit, moet+tussen net en apparaat eeneerpolige schakelaar worden aangebracht die tussen de contacten een opening van minimaal 3 mm heeft. De aardleiding mag nooit worden onderbroken (geel/groene draad).
- Het aansluitsnoor要去zadanig worden geinstalleerd dat het Niet heter kan worden dan 90^
De gaskookplaat is voorzien van een 3-aderig aansluitsnoer met randaardestekker. De netspanning moet 230V50Hz zich.
Vervangen van het aansluitsnoer
Het aansluitsnoor mag alleen door een erkend installmenteur worden verrangen.
Voor het verwangen van het snoer mag alleen type H05V2V2-F T9 worden gezebruikt, aangepast aan temperatuur en belasting.
Bovendien moet de groen/gele aardleiding zo'n 2 cm longer waar dan de faseleiding en de nulleiding (afb. 4-a).
Om de klep van het klemmenbord te openen gaat u te werk als in afb. 4-b.

afb. 4-b


De volgende gebruiks-aanwijzingen zijn tot een gekwalificeerd technicus gericht, die de installmentatie uitvoert, zodat hij de installmentatie en de verbindingen op de juiste manier kan uitvoeren, de huidige wetten en normen in acht nemende. Ledere tussenkomst na aansluiting dient te worden uitgevoerd met afgekoppelde of uit-geschakelde stroomtoevoer. De installmentie en de elektrische aansluiting van het apparaat要去en door een erkendvakman gebeuren.
- De zijwanden van de meubels mogen Niet hoger komen dat het werkvlak van het toestel.
- Plaats het toestel Niet in de buurt van ontvlambare materialen (zoals gordijnen, handdoeken enz.).
- De hierna volgende instructies zijn bestemd voor de erkende installateurs, omervoortzorgen dat installmentie en onderhoud optimaal verlopen, volgens de geldende normen. De installmentie要去 conform de norm NBN D 51.003 "Installations gevoed met stoolgasichter dan lucht" worden uitgevoerd.
- Ontkoppel het kookplateau van de stroomtoevoer. Ingeval het plateau op de stroomtoevoer aangesloten要去 blijven,要去 alle nods voorzorgsmaatregelen worden getroffen.
Monteer een afsluitkraan die erkend is door de AGB. Starre aansluitingen verdienen de voorkeur. Bij gebruik van een gasslang要去 een door de AGB erkende slang met metalen omhulsel worden gebruikt.
Bij het gebruiken van flexiebele vaste verbindingen要去 men er op letten dat de pijpen Niet kuren worden geplet of dichtgekneppen en Niet in aanraking komen
met bewegende delen. Let hier ook op wonneer de kookplaat worden gecombineerd met een oven.
Deze kookplateaus können zowel worden gevoed met gas van Slochteren (G25) met een nominale druk van 25 mbar als met aardgas (G20) met een nominale druk van 20 mbar. Om te werken met deze twee soorten gas is geen extra afstelling nodig.
Alvorens de installmentie uit te voeren要去 nagaan of de gastoevoer volstaat voor de correcte voeding van het plateau. Bij maximum verbruik mag de drukdaling maximum 5% bedragen. Deze drukdaling is afhankelijk van volgende factoren:
maximum debiet van de gasmeter;
diameter en lenghte van de leidingen voor en acheter de meter;
- doorgangsopeningen van deverschillende kranen in het circuit;
- diameter van de eventuele tussenstukken.

Belangrijk - Voor een correcte werkung, een zuinig verbruik en een grotere levensduur van het kookplateau moet u ervoor zorgen dat de toevoerduk overeenstemt met de waarden in de tabel.
Gasaansluiting
De verstelbare aansluiting worden door middel van een 1 / 2'' moer vast gezet. Alle componenten zoals weergegeven in de afbeelding zich reeds in de fabriek gemonteerd (afb.5).
Om een optimaal resultaat te garanderen, is het toestel voor vertek uit de fabriek getest.

Belangrijk - Om de installmentie te voltooien, kijk.altijd de perfecte dirchtheid van de verbindingsstukken na door een zeepachtige oplossing te gebruiken, nooit een vlaam.

afb.5
A) Aansluitpijp met wartel
B) Ringetje
C) Haakse fitting
Aanwijzingen m.b.t. de veiligheid
Het ingestelde type gas is aangegeven op een sticker naast de gasaansluiting. Bij ombouw要去ed sticker worden verrangen.
Het ombouwen van gasinstallaties mag alleen door een erkend installereur uitgevoerd worden.
Vór het ombouwen moet het apparaat worden losgekoppeld van gas- en stroomvoorziening: draai de gaskraan zichen schakel dezekeringen in de huisinstallatieuit.
Vervangen van de sproeiers
- Verwijder de roosters.
- Neem het bovenste gedeelte en de gasontstekers.
- Met een steeksleutel van 7 schroeft U de gassproeiers los en neemt U ze weg, om ze te verrangen door diegene die overeenstemmen met het type gas (afb. 6).
- Hermonteer de delen doordezelfde handelingente volgen,in tegengestelde zin.
- Vervang het identificatieplaatje (geplaatst vlakbij de gastoevoerpijp) door hetplaatje dat oveneneenstemt met het neue Gastype. Dit identificatieplaatje vindt u in de verpakking van het inspuitstuk meegeleverd met het toestel. Indien de gasdruk verschillend is (of variabel) van dewelke voorzien, is het moodzakelijk een gespaste drukregelaar teplaatsen op de inlaattube, conform aan de normen.

Regeling gaspitten
- Ontsteek de brander.
- Breng de toets op de positie van dekleinste vlam.
- Verwijder de toets.
Regel de bypass vijs met een dunne schroevendraaier (afb. 7).
In geval van transformatie van aardgas noor flessengas, het by-pass schroofje van de kranen goed vastschroeven.
In geval van transformatie van flessengas noor aardgas, het by-pass schroofje ongeveer 1/4 draai losschroeven, totdat men eenkleine regelmatige vlam verkrijgt.
- Controller tensotte of er geen uitdovingen van de gaspit়n door snel de toets van de maximale stand op de minimum stand te draaien.

bypass afregelschroef

afb. 8
Afmetingen wordenge
gevenin millimeters
Su = sudderbrander
N = normalalbrander
W = wokbrander
St = sterkbrander
Deze kookplaten zijn bestemd om te worden ingebouwd in geschikte werkbladen met een diepte:tussen 550 en 600~mm .De afmetingen van de kookplaat zijn aangegeven in figuur 8.
Inbouw in en bevestiging in het werkblad
De kookplaat kan gemonteerd worden in een werkblad met uitsnijmaten zoals aangegeven in figuur 9. De afstand van de uitsnede tot dechterwand要去 minstens 55mm 着眼。De afstand tussen de uitsnede en een eventuele rechter of linker zijwand die hoger is dan de kookplaat dient minstens 450mm te bedragen.
De bevestiging van de kookplaat in het werkblad dient als volgt te worden uitgevoerd:
- plaats de bijgeleverde afdichting op der rand van de voorkant van de uitsnede op 86 millimeter van de zijkanten en op 10 mm van de achterkant, waar bij u erop let dat de uiteinden elkaar raken zonder elkaar te overlappen (zie fig. 10);
- plaats de kookplaat goed in het midden van de opening in het werkblad;
- bevestig de kookplaat in het werkblad met de waarvoor bestemde bijgeleverde haken (zie fig. 11).
Het uitstekende dichtingsmaterialaal要去en mes van hout of kunststof worden verwijderd om beschadigingen aan de werkplaat te voorkomen.
Om het dichtingsmaterial volledig te kuren verwijderen, dient u het kunststofmes schuin te houden (in een hoek van 45^ houden).
Het aandraaien van de schroeven is voldoende om de afdichting te lately hechten, het teveel aan afdichtingsma- teriaal kan makkelijk worden verwijderd.
De rand van de kookplaat zorgt voor een dubbele afdichting die een absolute garantie biedt gegen het binnendringen van vloeistoffen.



Op een keulenmeubel met deur
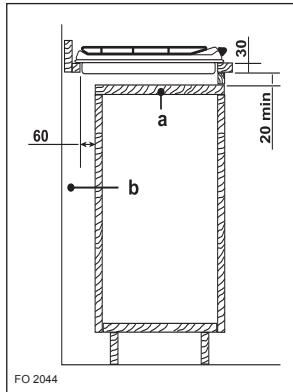
Zorg er altijd voor, dat de onderzijde van de kookplaat minimaal 20 mm verwijderd is van onderliggende kastdelen of voorwerpen.
Een aanbevolen oplossing ziet u in afb. 9. Het paneel onder de kookplaat要去envoudig+kunnen worden verwijderd, zodat bijevt.reparatie de kookplaat kan worden losgekoppeld.
Boven een oven
Voor de inbouwopeningen, zie afb. 9.
Er zijn twee ventilatie-openingen vereist. De afbeeldingen 13 en 14 tonen twee mogelijk oplossingen.
De elektrische aansluitingen voor de oven en de kookplaat要去egankelijk blijven en afzonderlijk gelegd worden.
Zorg ervoor dat de onderzijde van een bovenkast als minimaal 650~mm verwijderd is van de kookplaat (afb. 9).
Indien boven de kookplaat een afzuigkap van 60 cm worden geplaatst, zorg er dan voor, dat de bovenkasten links en rechts van de kap minimaal 550~mm afstand hebben tussen de onderkant van de kasten en het werkblad.
Dit om te voorkomen dat eventuele de afdekplaat Niet geplaatst kan worden.

afb. 12

afb. 13

afb. 14
Service en originele onderdelen
Deze machine is voor het verlaten van de fabriek getest en bestudeerd door experts en specialisten, om u het Beste resultaat te gezven.
Eventuele reparatiewerkzaamheden要去en met de grootste zorg en attentie gedaan worden.
Daarom adviseren wij dat in het geval van problemen u contact opneemt met de血液循环 Service Centre en opgave doet van de aard van het probleem, het model (Mod.), het Produktnummer (Prod.No.) en het serienummer (Ser.No) aangegeven op het typeplaatje in de inspuitsset.
Originele onderdelen, goedgekeurd door de fabrikant en met dit symbool zichen alleen verkrijgbaar bij ons Service Centre en erkende onderdelen winkels.
SimpelGids