TRAVELMATE 5742 - Portatīvais dators ACER - Bezmaksas lietošanas instrukcija
Atrodiet ierīces rokasgrāmatu bez maksas TRAVELMATE 5742 ACER PDF formātā.
Lejupielādējiet instrukcijas savam Portatīvais dators PDF formātā bez maksas! Atrodiet savu rokasgrāmatu TRAVELMATE 5742 - ACER un atgūstiet kontroli pār savu elektronisko ierīci. Šajā lapā ir publicēti visi dokumenti, kas nepieciešami jūsu ierīces lietošanai. TRAVELMATE 5742 zīmola ACER.
LIETOŠANAS INSTRUKCIJA TRAVELMATE 5742 ACER
Visparejs lietotāja celvedis
TravelMate sērijas piezīmjdators
Modela numurs:
Serijas numurs:
Pirkuma datumst:
Pirkuma vieta:
Informacija jusu drošibas un ertibu nodrošināšanai
Drošības norādījumi
Rupigi izlasiet šos noradijumus. Saglabajiet šo dokumentu uzziŋu iegusana i nakotne. leverojet visus brdinajumus un norades, kas atzimetas uz produkta.
Produkta izslęgśana pirms tā tīrīsanas
Pirms tirišanas šo produktu atvienojiet no sienas kontaktligzdas. Neizmantojiet skidros tiriţajus vai aerosola tiriţajus. Tirišanai izmantojiet mitru dranu.
BRIDINAJUMS attiecbā uz spreudni, kad ierice tiek atvienota
Sekojiet šim vadlinijam, kad strāvas nodrošināšanas elementam pieslēdzat strāvu via atsledzat to:
strāvas nodrošinašanas elementu pievienojiet pirms strāvas vada Kievienošanas mainstrāvas adaptera kontaktligzdai.
strāvas vadu atvienojiet pirms strāvas nodrošinašanas elementa atvienošanas nodatora.
ja sistemas darbību nodrośina vairaki strāvas avoti, strāvas padevi atvienojiet, no strāvas avotiem atvienojot visus strāvas vadus.
BRIDINAJUMS attiecbā uz pieklusanu strāvas kontaktligzdai
Pärliecinieties, ka strāvas kontaktligzda, kurī iesspraužat strāvas vadu, ir viegli pieejama un atrodas apríkojuma lietotājam maksimāli tuvu. Kad strāvu no apríkojuma nepieciešams atvienot, pärliecinieties, ka strāvas vads tiek atvienots no strāvas kontaktligzdas.
BRIDINAJUMS par komplekta esošu neistu karti (tikai noteiktiem modeljem)
Jusu dators tika piegadats ar kartes slota ievietotu neistu plastikata karti. Neiastas cartes slotus aizsargna no putekliem, metala prieksmetiem un citiem objektiem. Saglabajiet neiastas cartes izmantoosanai, kad slotos nav karsu.
BRIDINJUMS attiecibā uz klausīsanos
Lai aizsargatu savu dzirdi, sekojiet sim noradem.
- Skalumu palieliniet pakäpeniski, lidz dzirdat skaidri un erti.
- Pēc tam, kad jūsu ausis ir pieradušas, skajumu nepalieliniet.
Neklausieties skalmuziku ilgstoši. - Nepalielinent skalumu, lai nomaktu akartelo troksni.
- Pamaziniet skalumu, ja nevarat dzirdet, ko jums saka blakus esosie cilveki.
iv
Brdinajumi
- Neliotojiet produktu udens tuvumā.
- Nenovietojiet šo produktu uz nestabila statīva vai galda. Ja produits nokrīt, tas var tikt nopietni bojats.
- Ventilacijai ir paredzeti sloti un atveres, lai nodrošinātu produkta drošu daribub un pasargatu to no pärkaršanas. Šīs atveres nedrīkst blokēt vai azsegt.
Atveres nekad nedrikst blokét, produktu novietojot uz gultas, divana, segas vai citas lfdzīgas virmas. Šo produktu nekad nedrikst novietot blakus vai virs radiatora vai siltuma skaititāja, vai iebūvēta siltuma avota, ja vien netiek nodrošinata atbilstoša ventilacija. - Nekad, izmantojot slotus korpusā, produktā neievietojiet nikādus priekšmetus, jo tie var skart bīstamus strāvas savienojumus vai dalas, kas var būt par aizdegšanās vai issavienojuma cēloni. Nekad produktā vai uz tā nepludiniet nikāda veida škidrumu.
- Lai izvairitos no ieksejo componentu bojasanas un noverstu akumulatorusatura noplušanu, nenovietojiet produktu uz vibrejosas virsmas.
- Nekad to nelietojiet sportošanai paredzētā vai jebkurā Citation vibrejosā vide, kas var būt par cēloni negaidītam Issavienojumam vai var bojārrotējosās ierices, cieto disku, optisko diskdžini un pat būt par cēloni litija akumulatora uzliesmošanai.
- Apaksejā virsma, laukumi ap ventilacijas atverēm un mainstrāvas adaptertu var klut karsti. Lai izvairftos no savainojuma, pärliecinieties, ka tie nenonak saskare ar ādu vai kermeni.
Jusu ierice un tās uzlabojumi var saturēt nelielas detalas. Glabajiet tos maziem berniem nepieejama vieta.
Elektriskas strvas lietošana
- So produktu jādarbina, izmantojot tāda veida strāvu, kāda norādīta uz apzīmējuma uzlīmes. Ja neesat parliecināts par pieejamās strāvas veidu, szainieties ar strāvas dīleri vai vietējo elektrōenergijas uznēumu.
- Nejaujiet nekam gulēt uz strāvas vada. Nenovietojiet šo produktu viētā, kur cilveki var uzkāpt strāvas vadam.
- Ja ar produktu izmantojat vada pagarinātāju, pārliecinieties, ka kopejais pagarinātājam pieslēgto ieriču strāvas stiprums neparsniedz tādu, ko uztur pagarinātājs. Tāpat pārliecinieties, ka visu ieriču, kas pieslēgtas vienai sienas kontaktligzdai, kopejais strāvas spriegums neparsniedz tādu, ko uztur drošinātājs.
- Nepārslogojiet strāvas kontaktligzdu, sadalīṭāju, spraudligzdu, tai pieslēdzot par daudz ieriču. Kopejā sistemas noslodze nedrīkst parsniegt 80% no strāvas atzara maksimalās jaudas. Ja tiek izmantoti pagarinātāji, slodze nedrīkst parsniegt 80% no pagarinātāja ieejošās maksimalās jaudas.
- Šī produkta mainstrāvas adapters ir apríkots ar trīs dzīslu spraudni ar zemējumu. Spraudnis der tikai strāvas kontaktligzdai ar zemējumu. Pirms mainstrāvas adaptera pievienošanas pārliecinieties, ka strāvas kontaktligzda ir kārtīgi savietena ar zemējumu. Neievietojet spraudni kontaktligzda, kad tā nav savietena ar zemējumu. Lai jegūt sīkaku informáciju, szainieties ar elektriki.

Bridinajums! Zemejuma kontaktdaksha ir drošibas lidzeklis. Stravas kontaktligzdas izmantošana, kas nav pienacigi savienota ar zemejumu, var but par iemeslu issavienojumam vai/un savainojumam.

Piezime: Zemëjuma kontaktdakšiŋa nodrošina arī labu aizsardzību pret neparedzëtiem traucëjuniem, ko rada CITAS blakus esosās elektroierÇes un kas var ietekmet ŠI produit darbɪbu.
- Sistemai var pievadit stravu, izmantojot plašas amplitudidas voltăz; 100 lidz 120 vai 220 lidz 240 V AC. Elektribas vads, kas ieklauts sistēma, atbilst prasibām izmantoşanai valsti/regiona, kurā sistēma tika iegādāta. Elektribas vadiem lietoşanai CITAS valstīs/ regionos jāatbilst prasibām noteiktai valstij/regionam. Lai iegūtu plašaku informaciju par elektribas vadu prasibām, szainieties ar pilnvarotu tālakpärdevēju vai pakalpojuma nodrošinatäju.
Produkta apkalpošana
Nemēginiet pats apkalpot šo produktu, jo vaku atveršana vai nonemšana var atklāt bīstamus strāvas mezglus vai citrus bīstamus elementus. Visa veida apkalpošanu uzticiet kvalificētam apkalpošanas personālam.
Produktu atvienojiet no sienes kontaktligzdas un nododiet to kvalificetam apkalpošanas personālam, ja:
strāvas vads vai spraudnis ir bojats, sagriezts vai nodilis
produktaticieipludinatskidrums
- produits sabijis lietū vai ādenī
- produits nokritis zeme vai bojats tā korpuss
- manāmas ieverojamas veiktspejas izmairas, kas norāda uz apkalpośanas nepiecesamību
- produits, ieverojot tā darbināsanas norādījumus, vairs nedarbojas, kā paredzēts

Piezime: Regulējiet tikai tos iestatījumus, ko paredz darbināsanas norādījumi, jo nepareiza citu iestatījumu regulēsana var būt par iemeslu bojājumiem, kuru novērsanai, lai produktu atgrieztu parastā stāvoklī, kvalificētam tehniskajam specialistam jāveic sarežgītas darbības.
Droşas akumuladora izmantoşanas vadlinijas
Sis piezimjdators izmanto litja jonu akumulatoru. Nelietojiet to mitra, slapja vai korodejoša vide. Nenovietojiet, neglabajiet vai neatstajiet savu produktu blakus siltuma avotam vai vietā, kur ir augsta temperatura, speçigā, tieša saules gaisma, mikrovilnu krasnī vai konteinerā, kura ir spiediens, nepaklaujiet to temperaturai, kas ir austaka par 60 °C (140 °F). Ja šis vadlinijas netiks ieverotas, var noplust akumulatora esosā skābe, akumulators vuzkarst, eksplodet vai uzliesmot, tādējādi izraisot ivainojumus un/vai radot postjumus. Neurbiet, neatveriet un neizjauciet akumulatoru. Ja akumulators tek un jus pieskaraties iztecējušajam škidrumam, to pilinibā noskalojiet arūdeni un nekavējoties meklējiet medicinisku palidzību. Drošibas apsvērum du un, lai paildzinātu akumulatora kalpošanas laiku, tā lādešanu nevar veikt temperatura, kas zemāka par 0 °C (32 °F) vai augstāka par 40 °C (104 °F).
Pilnu jauna akumulatora jauu var sasniegt tikai péc diviem vai trs pilnas uzlades un izlades cikliem. Akumulatoru var uzladet un izladet simtiem reizu, tomer ar laiku tas nolietosies. Kad tā darbības laiks klust ieverojami tsaks, iegadajieties jaunu akumulatoru. Izmantojiet tikai apstiprinatus akumulatorus, tos ladejiet tikai, izmantojot apstiprinatus ladeṭajus, kas paredzēti šai ierīcei.
Akumulatoru izmantojiet tikai tam paredzētajiem mērkiem. Nekad nelietojiet lādētāju vai akumulatoru, kas ir bojats. Neradiet akumulatora Tssavienojumu. Nejaušs Tssavienojums var rasties, ja metāla priěksmets, piēmēram, monēta, saspraude vai pildspalva savieno akumulatora positivo (+) un negativo (-) spaili. (Tās uz akumulatora izskatās kā metāla svītras.) Tas var notikt, piēmēram, ja rezerves akumulatoru nēsajat kabata vai somā. Spailu Tssavienojums var bojāt akumulatoru vai priěksmetu, kam tas pievienots.
Akumulatora kapacitate un kalpošanas laika ilgums tiks samazinats, ja tas tiks atstats karstumā vai aukstumā, piēmēr, aizvērtā automašīnā vasaras vai ziemas laikā. Vienmēr centieties akumulatoru glabāt temperatūrā starp 15 °C un 25 °C (59 °F un 77 °F). Ierice, kurā ievietots uzkarsis vai atdzis isakumulators, Šlaicīgī var nedarboties, pat tad, ja akumulators ir pilnībā uzlāděts. Akumulatora darbība ir Ṭpaši ierobežota temperatūrā, kas ir stipri zem sasalšanas temperatūras.
Nelieciet akumulatorus ugunī, jo tie var eksplodet. Akumatori ve eksplodet arī tad, ja tie ir bojāti. No akumulatoriem atbrivojieties tā, kā paredz vietjās regulas. Kad vien iespējams, nododiet tos atkārtotai pāstrādei. Neatbrivojieties no tiem kā no mājsaimniecības atkritumiem.
Akumulators var ietekmet bezvadu ieriču darbū, radot traucejumus.
Akumulatora nomainīśana
Piezimjdators izmanto litija akumulatorus. Akumulatoru nomainiet pret tada paša tipa akumulatoru, kads bija komplektă ar jusu produktu. Cita akumulatora izmantošana var radīt aizdegšanās vai eksplozijas risku.
Bridinajums par optiskā draivera ierici (tikai noteiktiem modeliem)
BRIDINAJUMS: Šī ieríce satur lázera systēmu un tiek klasificéta kā “1. KLASES LAZERA PRODUKTS”. Šīs ieríces bojājumu gadījūmā, lūdzu, szainieties ar tuvako PILNVAROTO pakalpojumu punctu. Lai novérstu tiešu paklaušanu lázera staram, nemēginitet avert korpusu.
1. KLASES LAZERA PRODUKTS
BRIDINAJUMS ATVEROT RODAS NEREDZAMA LAZERA RADIACIJA. IZVAIRIETIES NO PAKLAUSANAS IEDARBIBAI.
APPAREIL A LASER DE CLASSE 1 PRODUIT
LASERATTENTION: RADIATION DU FAISCEAU LASER INVISIBLE EN CAS D'OUVERTURE. EVITTER Toute EXPOSITION AUX RAYONS.
LUOKAN 1 LASERLAITE LASER KLASSE 1
Talruña linijas drostba
- Tālruṇa finijas no aprikojuma atvienojiet, kad tās netiek lietotas un/vas pirms apkalpośanas.
Lai izvairftos no netieša tssavienojuma riska saistibā ar zibeni, zibens vai perkona negaisla laikā šim apríkojumam tālruṇa liniju nepievienojiet.

Bridinajums! Droibas apsverum del neizmantojiet nesaderigas detalias, kad pievienojat vai uzladejat componentus. Lai uzzinatu par to iegadasan asiespjam, szainieties ar icerces pardeveju.
Darbošanās vide

Bridinajums! Drošibas apsvērum du dél izslédziet visas bezvadu vai radio ierices, kad klēpjdatoru izmantojat šādos apstáklos. Šīs ierices var būt (un ne tikai): bezvadu tikli (WLAN), Bluetooth un/vai 3G ierices.
Neaizmirstiet ieverot jebkurus ipasus noteikumus, kas attiecas uz kadu noteiktu vietu, vienmér savu ieri izslédziet, kad tās lietosana ir aizliegta vai tā var izraisit traucējumus vai briesmas. leri ci lietojiet tikai tās normalā darba stavokl. Ši ieri, kad tā tiek lietota kā paredzets un tā un tās antenna atrodas vismaz 1,5 centimetrus (5/8 collas) no cilveka kermena, atbilst radioilnu izstarosanas vadlinijam (skatiet attelu zemak). Tai nevajadzētu saturēt metalu, jums to nevajadzētu novietot tuvak par augstak mineto attalumu no sava kermena. Lai veiksmīgi parraiditu datum failus vai zinojumus, šai ieri nepiecišams labas kvalitates savienojums ar tikiu. Dažos gadijumos datum failu vai zinojumu parrraide var tikt aizkaveta, kamr nav pieejams sads savienojums. Pärliecinieties, ka tiek ieveroti augstak mineties atstatumi, kamr parrraide ir pajeigta. lerices dalas ir magnetiskas. lerec var pievilkt metaliskus materialus, cilvekiem, kas lieto dzirdes aparatu, nevajadzētu ieri tirēt pie auss, kurir dzirdes aparats. Blakus ieri nenovietojiet kredtkartes vai citrus magnétiskus datum glabāsanas nesejus, jo tā var tikt izdzěsta tajos glabātā informácia.
Mediciniskas ierices
Jebkura radiovilnus parraidoša apríkojuma darbība, tai skāta bezvadu tālrūnju darbība, var ietekmēt neadekvāti aizsargātu medicinisko ierǐču funkcionalitāti. Sazinieties ar ārstu vai mediciniskas ierīces ražotāju, lai noteiktu, vai tā ir adekvāti aizsargāta pret āreju radioilnu radītu energiaju, vai gadījumā, ja jums ir kādi jautājumi. Izslédziet savu ierīci veselības aprūpes iestādēs, ja to paredz noteikumi, kas izvijetoti šādās viétās. Slimnicās vai veselības aprūpes iestādēs var tikt izmantots apríkojums, kas var but jutīgs pret ārejiem radioilniem.
Elektrokardiostimulatori. Elektrokardiostimulatoru ražotāji iesaka, lái starp bezvadu icerici un elektrokardiostimulatoru tiktu nodrošinats vismaz 15,3 centimetrus (6 collas) liels attalums, lái novérstu iespējamu traucējumu radišanu elektrokardiostimulatora darbībai. Šie ieteikumi atbilst neatkarīgas izpētes rezultātiem un Wireless Technology Research ieteikumiem. Cilvekium ar elektrokardiostimulatoriem järíkojas šadi:
- lerfi ci vienmér jatur vairak kā 15,3 centimetrus (6 collas) talu no elektrokardiostimulatora
- Nedríkst nest ieríci elektrokardiostimulatora tuvumā, kad tā ir ieslēgta. Ja ir aizdomas par to, ka tiek traucēta elektrokardiostimulatora darbība, izslēdziet ieríci un pārvietojiet to citur.
Dzirdes aparati. Dažas ciparu bezvadu ierices var traucēt dažu dzirdes aparātu darbību. Ja tā notiek, szainieties ar pakalpojuma sniedzēju.
Transportlidzekji
Radiosignali motorizetos transportlidzeklos var ietekmet nepareizi uzstaditas vai neadekvati aizsargatas elektroniskas sistemas, piemeram, degvielas iesmidzinanasystems,elektroniskas pretbuksesanas (pretblokeesan) bremzu sistemas, elektroniskas atruma kontroles sistemas um gaisa spilvenu sistemas. Lai iegutu vairak informacijas, szinieties ar transportlidzekla vai uzstadita aprkojuma ražotaju vaita pärstvi. Tikai kvalificets personals var apkalpot sis icerces vai uzstadit tās transportlidzekl. Nepareiza uzstadisana vai apkalposana var but bistama un var but par iemeslu tam, ka vairs nav spekā garantija, kas attiecas uz jusu erici. Regulari pbaraudiet, vai jusu transportlidzekl viss bezvadu aprkojums ir uzstadits un darbojas pareizi. Tajpaşa nodalijumā, kurā glabaj iterici, tās dalas vui uzlabojumus, neglabajiet uzliesmojosus skidrumus, gazes vai materialus, kas var eksplodet. Ar gaisa spilvenu aprikotu transportlidzeklu gadijumā neaizmirstiet, ka spilveni tiek piepusti ar lielu speku. Virs gaisa spilvena vai vietā, kur tam japiepuhas, nenovietojet nikadus prieksmetus, tai skaita uzstaditu vai bezvadu aprkojumu. Ja transportlidzekl esešs bezvadu aprkojums ir nepareizi uzstaditts un gaisa spilvens tiek piepusts, var tikt izraisi nopijetn savainojumi. iterices lietošana, lidojot lidmasinā, ir aizliegta. Izsledziet savu iterici, pirms iekapjat lidmasinā. Bezvadu teileiericu lietošana lidmasinā var but bistama lidmasinas darbībai, var spartraukt bezvadu tālrunu tikla darbību, tā var but nelegāla.
Bistamas eksplozivas vides
Izslédziet ierici, kad atrodaties jebkādos eksplozijas bīstamos apstaklos, ieverojiet visas zīmes un norādījumus. Eksplozijas bīstami apstaklī ir vietas, kur jums parasti iesaka izslettg transportlīdzekla dzineju. Dzirkstelōsana šādās vietas var izraisit eksploziju vai aizdegşanos, kā rezultātā var tikt gūti iveainojumi vai pat iestaties nave. Izslédziet ierici degvielas uzpildes stacijās. leverojiet radio apríkojuma lietoşanas ierobežojumus degvielas uzpildes stacijās, vietas, kur tiek glabata vai izplatīta degviela; kīmiskās rūnpicās; vai, kur tiek veiktas spridzinašanas darbības. Vietas, kas ir eksplozijas bīstamas, parasti, bet ne vienmēr, ir skaidri apzīmetas. To skaitā ir kuŋu noslēgtie klāji, vietas, kur notiek kimikālju pärkrausana vai glabāsana, transportlīdzeklī, kas izmanto škidrinatu gāzi (piēmeram, propanu vai butanu) un vietas, kur gaiss satur kimikālijas vai tādas dalñas kā graudi, puteklī vai metalu pulveri. Neieslédziet piezīmjdatoru vietas, kur ir aizliegts lietot bezvadu tāruni vai, ja tas var radī traucējumus vai briesmas.
Kur zvanīt ārkātas situácijās
Bridinajums: Izmantojot so ierici, arkartas situacijas nevar veikt zvanus. Lai zvanitu arkartas situacija, jums jaizmanto mobilais talrunis vai cita systemdakaredzeta zvanisanaipatalruni.
X
Atbrivosanasnoradijumi
Kad no tās atbrivojaties, šo elektronisko ierici neiemiet eatkritumos. Lai mazinātu piesaŋojuμu un nodrošinatu globālas vides maksimalu aizsardzību, nododiet to atkārtotai pārstradei. Lai iegūtu vairak informacijas par WEEE (Waste from Electrical and Electronics Equipment - braketās elektriskās un elektroniskās iekārta) regulām, apmeklējiet http://www.acer-group.com/public/Sustainability/sustainability01.htm.

Padomi attiecibā uz dzivsudrabu
Projektoriem ar iekšeu spuldzi vai elektroniskiem produktiem, kas satur ne LED aizmugurapgaismojuma LCD/CRT monitoru vai displeuju: Lampa šajos produktos satur dzivsudrabu, tās jānodod atkārtotai pāstrādei vai no tām jāatbrívojas atbilstoši vietējiem, valsts vai federalajiem likumiem.

Lai iegutu vairak informacijas, szinieties ar Electronic Industries Alliance vietne www.eiae.org. Lai iegutu informaciju, kas attiecas uz lampam, par atbrivoesanos no tam, pbaraudiet www.lamprecycle.org.
ENERGY STAR

ENERGY STAR
Acer ENERGY STAR kvalificetie produkti ietaupa jusu naudu, samazinot elektrbas izmaksas un aizsargajot vidi, uz ta rekina neupurejot fungcijas vai kavalitati. Acer ir leps piedavat saviem klientiem produktus ar ENERGY STAR atzimi.
Kasir ENERGY STAR?
Produkti, kasir kvalificeti ENERGY STAR, izmanto mazak energijas
un novér siltumnícas gazes izmešus, atbilstot stingrajám energiajás efektivitätes vadlinijam, ko要考虑kusi Savienoto Valstu Vides aizsardzības ágentüră. Acer ir apnémies piedavat produktus un pakalpojum visa pásaulé, kas palidž klieniem ietaupit naudu, taupit eneríguj un uzlabot mūsu vides kvalitiţi. Jo vairák eneríjas mês varam ietaupit ar lielaku energiaefektivăti, jo vairák mês samazinám siltumnícas gazes un klimata izmainu risku. Lai iegūt u vairák informácijs, skatiet http://www.energystar.gov vai http://www.energystar.gov/powermanagement.
Acer ENERGY STAR kvalificētie produkti: (tikai noteiktiem modeljem)
- Ražo mazāk siltuma un samazina dzesēšanas daudzumu un siltākos klimatus.
- Automātiški ieslédzas "displeja miega" un "datora miega" režīma attieci gī pēc 10 un 30 minūsu bezdarbības.
- Pamodina datoru no miega, nospiéžot tastaturu vai pakustinot peli.
- Datori ietaupīs vairak nekā 80% energijas "mega" režīma.
ENERGY STAR un ENERGY STAR atzime ir registretas Savienoto Valstu zimes
Padomi un informaci, kā erti lietot ierici
Pec ilgstošas lietošanas datora lietotāji var saskarties ar graušanu acīs un galvassāpēm. Tāpat lietotāji pēc ilgas strādāšanas ar datoru riskē gūt fiziskus savainojumus. Ilga strādāšana, slikta poza, slikti darba ieradumi, stress, nepietiekami darba apstākji, veselības stavoklis un citi faktori loti palielina fizisku savainojumu iegūšanas risku.
Nepareiza datoria lietošana var novest pie dažādiem muskulatūras un skeleta darbības traucejumiem. Rokās, plaustkās, plecos, kaklā un mugurā var paradigmīties šādi simptomi:
- tirpums vai dedzinošas sajūtas
smeldze, jelums vai kuslums
sapes, uztukums vai pulseesana
stivums vaiviksana
aukstums vai vajums
Ja del datora lietošanas saskaraties ar šiem simptomiem vai cita veida regularu vai pastāvīgu diskomfortu un/vas kaut ko saistītu ar sapēm, nekavējoties sazinieties ar ārstu un informējiet savas darba vietas veselības un drošības nodalju.
Sajā nodālā ir padomi, kā vēl ertāk lietot datoru.
Komforta zonas atrašana
Savu komforta zonu atrodiet, noregulējot monitora aplūkošanas lenki, izmantojot kāju paliktni vai noregulējot sēdekla augstumu, lai justos maksimāli komfortabli. Nemyit vērā šos padomus:
- izvairieties no ilgstošas atrašanās nemainīgā poza
- izvairieties no noliekšanās uz prieksu un/vai atliekšanās atpakaj
- regulāri piecelieties kājas un pastaigājiet, lai kāju muskulus atbrivotu no saspringuma
- regulārī tsu brīdi atpūtieties, lāi atpūtinātu kaklu un plecus
- izvairieties no muskulu sasprindzinăšanas un plecu raustišanas
- pareizi lietojiet ārējo displepleju, tastatūru un peli, lái tie būtu komfortabli aizsniédzami
- ja monitorā lūkojaties vairak nekā Dokumentos, displeju novietojiet galdam pa vidu, lui mazinātu kakla piepūli
Rüpešanas par redzi
Igka skatišanās, neatbilstošu brillu vai kontaktlēcu nēsāsana, atspīdums, pärmérigs telpas apgaismojums, slikti noregulēts displeješ un mazu fontu lietošana acim rada stresu. Zemāk ir ieteikumi, kā acim mazināt saspringumu.
Acis
- Ik pa laikam acis atpu tinitiet.
- Regulari palukojieties prom no monitora un fokusejiet acis kādā noteiktā punktā.
- Regulari mirskijnet, lai acis pasargatu no izuzusanas.
XII
Displejs
Uzturiet displeju tiru.
Galvai jaatrodas augstak nekä displeja augsejai malai, lai jusu acis raudzitos lejup, kad skataties displeja vidu.
- Displeja košumu un/vai kontrastu noregulējiet, lui tas būtu komfortablā limenī, lui teksts būtu labāk salasāms un attēl skaidrāki.
- Atspidumu un atstarosanos var novérst:
- novietojot displeju tā, ka tā sāns ir vērsts pret logu vai jebkuru citu gaismas avotu
- samazinot telpas apgaismojumu, izmantojot drapējumu, abažūrus vai Žalūzijas
- izmantojot galdalampu
mainot displeja aplukošanas lenki - izmantojot atspiduma mazinăsanas filtru
-
lietojot displeja nagu, pieméram, kartona gabalu, kas ir kā displeja priekšejās augšejās malas pagarinātājs
-
Izvairieties no displeja noregulešanas tā, ka tiek iegüts neërts displeja aplūkošanas lenkis.
- Izvairieties no ilgstošas skatišanās spožas gaismas avotā, piemēram, no skatišanās uz atvērtu logu.
Labu darba ieradumu izveidošana
Attistiet sos eradumus, lai jusu datora lietošana būtu produktivaka un ne tik noslogojosa:
- Regulari un biezi uz tsu brfdi atpuitieties.
Veiciet kādus izstaipīsanās vingrinājumus.
Pec iespejas biezak ieelpojiet svaigu gaisu. - Regulārī veiciet fiziskas aktivatés un rūpējieties par savu veselību.

Bridinajums! Mēs neiesakām izmantot datoru divānā vai gultā.
Ja no tā nevar izvairities, tā strādājiet tikai isus brīzus, regulāri uz
brīdi pārtrauciet strādāt un veiciet izstaipīsanas vingrinājumus.

Piezime: Lai iegutu plašaku informaciju, ludzu, skatiet "Reglamentējosi noteikumi und drošibas pazinojumi" 34 lpp.
Galvenais vispirms
Mēs vēlamies jums pateikties, ka esat izvēlējies Acer piezīmjdatoru, lái nodrošinātu savas mobilās skaitlošanas vajadžības.
Jusu rokasgrāmatas
Lai palidzētu jums lietot Acer piezīmjdatoru, esam sagatavojusi rokasgrāmatu komplektu:
Pirmkart, plakats Tikko sakušajiem... jums palidz uzsakt datora iestatīsanu.
lzdrukats TravelMate serejis visparejs lietotaja celvedis satur noderigu informaciju, kas attiecas uz visiem TravelMate produktu serejias modeljem. Tas aptver pamata tematiku, kā Acer eRecovery Management, izmantojot tastaturu, Audio utt. Lūdzu, saprotiet, ka visparejs lietotaja celvedis, kā arī AcerSystem User Guide (AcerSystem lietotaja celvedis), kas pieminëts turpmak, to būtibas del laiku pa laikam attiecas uz funkcjijām vāi lidzekljem, kas piēit tikai noteiktiem serejjas modeljem, bet ne obligāti modelim, ko esat iegādajies. Šādi gadijumi tekstā ir apzimēti ar vārdiem „tikai noteiktiem modeljem".
Drukātais Ātrais celvedis sniedz ieskatu par jūsu jaunā datora galvenajiem līdzekljem un funkcjām. Lai uzzinatu vairk, kā jūsu dators jums var palīdzēt—but vēl produktīvākam, lūdzu, skatiet AcerSystem User Guide (AcerSystem lietotāja celvedis). Šajā celvedīr detalizēta informacija par tādām tēmām kā sistemas utilisitas, dato atkopśana, paplašināsanas opcjias un problemu novērsana. Bez tam tajā ir ieklauta informacija par garantijām un piezīmjdatora lietošanas vispārīgas regulas un drošibas pazinojumi. Tas ir pieejams PDF (Portable Document Format -portatīvā Dokumenta formāts) formātā un ir iepričěs ielādēts jūsu piezīmjdatorā. Veiciet šīs darbības, lai tam pieklūtu:
1 Noklikskijiet uz Start (Sakt), All Programs (Visas programmas), AcerSystem.
2 Noklikskijnet uz AcerSystem User Guide (AcerSystem lietotaja celvedis).

Piezime: Lai skatitu failu, nepiecesaama programma Adobe Reader.
Ja jusu datora nav instaleta programma Adobe Reader, pirmo reizinoklikskinot uz AcerSystem User Guide (AcerSystem lietotaja celvedis), automatiski tks palaista programmas Adobe Reader instalësana. Lai pajeigtu instalësanu, izpildiet ekranā redzamos noradijumus. Lai iegutu noradijumus, kā lietot programmu Adobe Reader, pieklustiet izvelnei Help and Support (Palidziba un atbalsts).
Padomi datoria lietošanai un pamatrūpēm
Datoria ieslēgšana un izslēgšana
Lai ieslegtu datoru, vienkärsi nospiediet un atlaidiet barošanas pogu zem LCD ekrana, tā atrodas blakus ātrās palaišanas pogam. Lüdu, skatiet "Åtro celvedi", lai uzzinatu barošanas pogas atrašanās vietu.
Lai datoru izslęgtu, veiciet jebkuru no šim darbībām:
- Izmantojiet Windows izslegsanas komandu
Noklikskiniet uz Sakt, pec tam klikskiniet uz Izslegt.
- Izmantojiet barošanas pogu
Varat datoram arı aktivizeti mega reüzumu, nospiéžot iemidzinašanas atro taustiñu

Piezime: Ja datoru nevarat izslēgt parastaja veidā, lái izslēgtu datoru, nospiediet barošanas pogu un turiet to nospiestu ilgak k āctras sekundes. Ja datoru esat izslēdzis un vēlaties to atkal ieslēgt, pagaidiet vismaz divas sekundes, pirms to iesledzat.
Rupeşanaspar datoru
Jusu dators jums kalpos labak, ja par to rupesieties.
- Nenovietojet datoru atklātā saules gaisma. Nenovietojet to blakus karstuma avotiem, piemēram, radiatoram.
- Nenovietojet datoru vietā, kur temperatūrā ir zem 0 °C (32 °F) vai virs 50 °C (122 °F).
- Nepaklaujiet datoru magnetiskajiem laukiem.
- Nenovietojet datoru vietā, kur list vai ir mitrs.
- Nešjakstiet uz datoraūdeni vai citu škidrumu.
- Nepaklaujiet datoru specīgam satricinājumam vai vibracijai.
- Nenovietojiet datoru vietā, kur ir putekji vai netfrumi.
- Nekad uz datoria virmas nenovietojiet priekšmetus.
- Kad aizverat datora displeju, nedariet to ar spēku.
- Nekad nenovietojet datoru uz nelfdzenas virsmas.
Rupeşanas par mainstrāvas adapteru
Seitaprakstiti vairaki veidi, kā rupeties par mainstrāvas adapteru:
Nepievienojiet adapteru citai ierfcei.
- Nekapiet uz strāvas vada, nenovietojet uz tā smagus priekšmetus. Uzmanīgī novietojet strāvas vadu un citrus kabelus viēṭa, kur nestaigā ar kājām.
- Atvienojot strāvas vadu, nevelciet pašu vadu, bet spraudni.
- Ja izmantojat vada pagarinatāju, kopējais pieslēgto ieriču strāvas stiprums nedričkst parsniegt tādu, ko uztur datora strāvas vads. Tāpat visu ieriču, kas pieslēgtas vienai sienas kontaktligzdai, kopējais strāvas spriegums nedričkst parsniegt tādu, ko uztur drošinātajs.
Rüpešanās par akumulatoru
Seitaprakstiti vairaki veidi, kārupeties par akumulatoru:
- Nomainot izmantojiet tada paša veida akumulatorus. Pirms akumulatoru iznemšanas vai nomainīšanas izsledziet barošanu.
- Neizjauciet akumulatorus. Uzglabajiet tos berniem nepieejama vietā.
- Ar izlietotiem akumulatoriem rikojieties tā, kā paredz vietējie noteikumi. Ja iespējams, nododiet tos atkārtotai pāstrādei.
Tirišana unapkopsana
Kad tirāt datoru, veciet šīs darbības:
1 Izslédziet datoru un iznemiet akumulatoru.
2 Atvienojiet mainstrāvas adapteru.
3 Izmantojiet mikstu, mitru dranu. Neizmantojiet skidrumu vai aerosola tiritajus.
Ja:
- dators nokrīt zēmē vai tiek bojāts tā korpuss
- dators vairs nedarbojas, kā paredzëts
Ludzu, skatiet "Biezak uzdotie jautajumi" 30 lpp.
Informacija jusu drošibas un ertibu nodrošināsanai
Drośtbas norādījumi
Bridinajums par optiskā draivera icerici
(tikai noteiktiem modeljem)
Darbošanás vide
Mediciniskas ierices
Transportlfdzekli
Bistamas eksplozivas vides
Kur zvanit arkartasituacijas
Atbrivošanas noradijumi
Padomi attiecba uz dzivsudrabu
ENERGY STAR
Padomi un informacija, kā erti lietot ierici
Galvenais vispirms
Jusu rokasgramatas
Padomi datoria lietošanai un pamatrūpēm
Datoria ieslēgsana un izsllēgsana
Rupesanaspar datoru
Rupesanasparmainstravadapteru
Tirišana unapkopsana
Skärienpanelis
Skärienpanela pamati (ar pirkstu nospiedumu lasitäju)
Skarienpanela pamati (ar divu kliksku pogam)
Tastatūras lietošana
Slega taustini un iegulta cipartastatura*
Windows taustini
Audio
Acer PureZone (tikai noteiktiem modeljem)
Video
16:9 displeje's (tikai noteiktiem modeljem)
Sistemasutilitu lietošana
Acer Bio-Protection (tikai noteiktiem modeliem)
Acer Backup Manager
Barošanas pārvaldība
Dublejumkopiju 1erakstijsana diskos
Restore (Atjaunošana)
Windows atjaunošana no dublëjumkopiju diskiem
Akumulators
Akumulatora ipasibas
Akumulatora kalpošanas laika pagarınašana
Akumulatora ivietosana un iznemsana
iii
iii
vii
viii
viii
ix
ix
ix
X
X
X
xi
XIII
XIII
xiv
xiv
xiv
XV
XV
XV
1
1
2
3
3
4
5
5
5
5
6
6
7
8
9
10
1
2
14
14
14
15
Akumulatora uzlade 16
Akumulatora uzlades limena pbaraudisana 16
Akumulatorakalpošanas laika optimizësana 16
Bridinajums par zemu akumulatora uzlades limeni 17
Piezimjdatora pärvadăšana 18
Atvienošana no darba virsmas 18
Parnesāsana 18
Datorasaqatavošana 18
Kas janem lidz uz sanaksmem 19
Datora nešana uz mājām 19
Datorasa gatavosana 19
Kas jagenlfdz 19
Ipaši apsvērumi 19
Majas biroja aprikošana 20
Datora lidznemšana celā 20
Datorasa gatavosana 20
Kas jagenlfdz 20
Ipaši apsvērumi 20
Datora lidznemšana starptautiskos celojumos 21
Datorasaqatavošana 21
Kas jänem lidz 21
Ipaši apsvērumi 21
Datoradrošiha 21
Datora drośības atslezgas lietošana 21
Parolu lietošana 22
Parolu ivadisana 22
Parolu iestatishana 22
Sistemas paplašinašana, izmantojot papildaprikojumu 23
Savienojamibasiespejas 23
Faksa/datu modems (tikai noteiktiem modeljem) 23
lebuvetais tiklošanas lidzeklis 24
Universälä serialä kopne (USB) 24
IEEE 1394 ports (tikai noteiktiem modeliem) 25
(tikai noteiktiem modeliem) 25
ExpressCard (tikai noteiktiem modeljem) 26
Atminas ievietošana 27
BIOSutilta 28
Sakneesanas seciba 28
Atkopšanas no diska uz disku iespejošana 28
Parole 28
Programmatūras lietošana 29
DVD filmu atskanošana 29
Biežak uzdotie jautajumi 30
Servisa pieprasitsana 32
Starptautiska celotajguarantija (ITW) 32
Pirms zvanat 32
Problenu noveršana 33
Padomi problemu nov\vrsanai 33
Kluduzinojumi 33
Reglamentējosi noteikumi un drošibas pazinojumi 34
FCC zinojums 34
Modema pazinojumi (tikai noteiktiem modeljem) 35
Pazinojums par skidro kristalu displeja pikseliem 37
Normativā informācija par radioierici 37
Vispārīga informācija 37
FCC radiofrekvencu drostibas prastiba 38
Kanada — Mazjaudas radiosakaru ierices, kuram nav
vajadzigas licences (RSS-210) 39
Cilveku paklaušana radiovilju laukam (RSS-102) 39
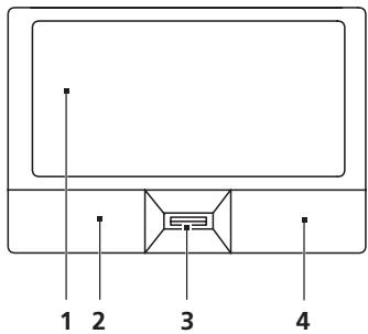
lebūvētais skārienpanelis ir rādīṭajierice, kas fikse kustūba pa tās virsmu.
Tas nozime, ka kursors reage, kad parrietojat savu pirkstu pa skarienpanela virsmu.
Skärienpanelea novietojums plaukstu atbalsta zonas vidū nodrošina optimälu
lietoşanas ertumu un atbalstu.
Skārienpanela pamati (ar pirkstu nospiedumu lasītāju)
Turpmak minetās lietas jums parāda, kā izmantot skārienpaneli ar Acer Bio-Protection pirkstu nospiedumu lasītāju.
- Velciet ar pirkstu pa skarienpaneli (1), lai pärvietotu kursoru.
Lai izveletos un izpilditu funkcjjas, spiediet kreiso (2) un labo (4) pogu, kas atrodas zem skarienpanela. SIs abas pogas ir lidzigas peles kreisajai un labajai pogai. Uzsitot pa skarienpaneli, tiek panakts tads pats rezultats, klikskinot kreiso pogu.

| Funkcija | Kreisā poga (2) | Labā poga (4) | Skārienpanela galvenā daja (1) | Vidējā poga (3) |
| Izpildīt | Âtri noklikškināt divreiz. | Uzsist divreiz (tādā paşa ātrumā, kā veicot dubultklikški ar peles pogu). | ||
| Izvēlēties | Noklikškināt vienreiz. | Uzsist vienreiz. | ||
| Vilkt | Noklikškināt un turēt, tad ar pirkstu vilkt pa skārienpaneli, lai vilitu kursoru. | Uzsist divreiz (tādā paşa ātrumā, kā veicot dubultklikški ar peles pogu); pēc或其他 uzsitienta atstāt pirkstu uz skārienpanela un vilkt kursoru. | ||
| Piekljut kontektizvēlnei | Noklikškināt vienreiz. |
Skarienpanela pamati (ar divu kliksku pogam)
Turpmak paskaidrots, kā lietot skārienpaneli ar divu klikskpu pogam.
- Velciet ar pirkstu pa skarienpaneli, lai parrviototu kursoru.
- Lai izveletos un izpildifu fungcjias, spiediet kreiso un labo pogu, kas atrodas zem skarienpanela. Šīs abas pogas ir lfdzīgas peles kreisajai un labajai pogai. Uzsitot pa skarienpaneli, tiek panakts tāds pats rezultāts, kā klikskinot kreiso pogu.
| Funkcija | Kreisā poga | Labā poga | Galvenais skārienpanelis |
| Izpildīt | Åtri noklikškināt divreiz. | Uzsist divreiz (tādā paşa Ātrumā, kā veicot dubultklikški ar peles pogu). | |
| Izvēlēties | Noklikškināt vienreiz. | Uzsist vienreiz. | |
| Vilkt | Noklikškināt un turēt, tad ar pirkstu vilkt pa skārienpaneli, lai vilktu kursoru. | Uzsist divreiz (tādā paşa Ātrumā, kā veicot dubultklikški ar peles pogu); pēc otrā uzsitienta atstāt pirkstu uz skārienpanela un vilkt kursoru. | |
| Pieklūt kontekstizvēlnei | Noklikškināt vienreiz. |

Tastatūras lietošana
Tastaturi ir pilna izméra taustini un iegulta cipartastatura*, atsevišks kursors, slega taustini, Windows, funkcjju un Tpašie taustini.
Slēga taustişi un iegultā cipartastatūr*
Tastaturi ir trfs slega taustini, kurus var ieslegt un izslegt.
| Slēga taustiš | Apraksts |
| Caps Lock (Burtslēgs) | Kad ir ieslēgts Caps Lock (burtslēgs), visas alfabēta rakstzīmes tiks raksftītas ar lielajiem burtiem. |
| Num Lock (Ciparslēgs) | Kad ir ieslēgts Num Lock (ciparslēgs), iegultā cipartastatūrā darbojas ciparu režīmā. Taustiŋ fuktionē kā kalkulators (ar arritmētiskajemi operatoriem +, -, * un /). Strādājiet šajā režīmā, ja jums jāievada daudz skaitlisku datum. Labāks risinājums būtu ārejas papildṭastatūras pievienošana. |
| Scroll Lock (Ritslēgs) | Kad Scroll Lock (ritslogs) ir ieslēgts, ekrāns pavirzās par vienu rindu augsup vai lejup, ja attieci gni nospiéž augsupvērsto vai lejupvērsto bulttaustiŋu. Dažās lietojumprogrammās Scroll Lock (ritslogs) nedarbojas. |
| <Fn> + <F12> |
legulta cipartastatura Funktionē tāpat kā galdadora cipartastatura. Cipartastatura ir apzīmēta ar mazām raktzīmēm taustiŋu augsējos labajos stūros. Lai vienkārsotu tastatūras apzīmējumus, kursora vadības taustiŋu simboli nav uzdrukāti uz taustiŋiem.
| Vēlamā piekluve | Num Lock (Ciparslēgs) ieslēgts | Num Lock (Ciparslēgs) izslēgts |
| legultās cipartastatūras ciparu taustiņi | levadiet ciparus kā parasti. | |
| legultās cipartastatūras kursora vadības taustiņi | Izmantojot kursora vadības taustiμs, turiet nospiestu taustiŋu <Shift>. | Izmantojot kursora vadības taustiμs, turiet nospiestu taustiŋu <Fn>. |
| Galvenie tastatūras taustiņi | Rakstot burtus ar iegulto tastatūru, turiet nospiestu taustiŋu <Fn>. | levadiet burtus kā parasti. |
- tikai noteiktiem modeljem
Windows taustiŋi
Tastaturi ir divi taustini, kuri izpilda operetājsistēmai Windows raksturīgas funkcijas.
| Taustiš | Apraksts | |
| Windows taustiš | Ja šo taustiūn nospiéž atseviški, tiek panäktis tāds pats rezultāts, kā nokliškjinot uz Windows pogas Start (Sākt) - tiek atvērta izvēlne Start (Sākt). To var izmantot aīr kopā ar citiem taustiŋiem, lái nodrošinatu dažādas funkcijas: | |
| < >: Atvēr tā vai aizvērt izvēlni Start (Sākt) | ||
| < >: + <D>: Parādīt darbvismu | ||
| < >: + <E>: Atvēr t programmu Windows Explorer | ||
| < >: + <F>: Meklēt failu vai mapi | ||
| < >: + <G>: Pārskafīt sānjoslas sīkrīkus | ||
| < >: + <L>: Aizslehget datoru (ja esat pievienots tikla domēnam) vai pārslēgt lietotājus (ja neesat pievienots tikla domēnam) | ||
| < >: + <M>: Minimizēt visus logus | ||
| < >: + <R>: Atvēr dialoglodziūn Run (Palaist) | ||
| < >: + <T>: Pārskafīt uzdevumjoslas programmas | ||
| < >: + <U>: Atvēr Ease of Access Center | ||
| < >: + <X>: Atvēr Windows mobilitātes centru | ||
| < >: + <BREAK>: Parādīt dialoglodziūn System Properties (Sistēmas rekvizīti) | ||
| < >: + <SHIFT+M>: Atjaunot darbvismā minimizētos logus | ||
| < >: + <TAB>: Pārskafīt uzdevumjoslas programmas, izmantojot Windows Flip 3-D | ||
| < >: + <ATSTARPES TAUSTINS>: Izvirzīt visus sīkrīkus priekšplānā un atlasīt Windows sānjoslu | ||
| < CTRL> + < >: Meklēt datorus (ja atrodaties tiklā) | ||
| < CTRL> + < >: Izmantot bultaustinus, lái pārskafītū uzdevumjoslas programmas, izmantojot Windows Flip 3-D | ||
| Piezīme: Atkarībā no jūsu Windows izdevuma, daß i tsinajumtaustiŋi var nefunkcionēt atbilstoši aprkstam. | ||
| Lietojumpro-grammas taustiš | Šim taustiŋam ir tāda pati iedarbība kā nokliškjinot labo peles pogù; tas atver lietojumprogrammas kontektstizvēlni. | |
Audio
Datoram ir ari 32 bitu augstas kvalitates (HD) audio un skalrunis(-ni).
Acer PureZone (tikai noteiktiem modeliem)
Sistema ietver ari plašas, uzlabotas audio iespëjas, ko nodrošina Acer PureZone ar iebūvētiem stereo mikrofoniem, kā ari staru veidošanas un atbalss slapëšanas tehnologijām. Acer PureZone tehnologija atbalsta akustisko atbalss slapešanu, staru veidošanu un trokşnu slapešanu, nodrošinot iespëju erakstīt fīru skʌŋu. Lai iestatītu mikrofonu, palaidiet programmu Acer HD Audio Manager, veicot dubultklikski uz Acer HD Audio Manager ikonas Windows sistemas tekne. Tiks paradīts Acer HD Audio Manager uznirstošais dialoglodzins. Noklikskinet uz cilnes Microphone (Mikrofons) un pēc tam uz cilnes Microphone Effects (Mikrofona efekti). Lai iestatītu mikrofona efektus, atlasiet opcjjas Beam Forming (Staru veidošana) un Acoustic Echo Cancellation (Akustiskā atbalss slapešana).

Piezime: Lai egutu vairaku skanas avotu ivadi, atspejiet staru veidošanu.
Video
16:9 displejejs (tikai noteiktiem modeliem)
16:9 displejs piedāvā pilnekrāna augstas kvalitātes filmas mājās kā vēl nekad ieprieks. Loti augsts krāsu piesatinajums garantē autentisku augstas kvalitātes skatišanās pieredzi. 16:9 kvalitate nozīme, ka ir radīti patiesa mājas teātra uzskates līdzekji piezīmjdatoria izklaides entuziastiem.
Sistemas utilitu lietošana
Acer Bio-Protection (tikai noteiktiem modeljiem)
Acer Bio-Protection Fingerprint Solution ir daudz Funktionala pirkstu nosipiedumu programmatūras pakotne, kas ir integrēta ar operētājsistemmu Microsoft Windows. Izmantojot pirksta nosipiedumu unikalitàti, Acer Bio-Protection Fingerprint Solution ieklauj aizsardzību pret neatlautu piekluvi jusu datoram ar centralizētu paroles vadību caur Password Bank; un ātru lietojumprogrammu/timekla vietnu palaišanu un pieteikšanos ar Acer FingerLaunch.
Izmantojot Acer Bio-Protection Fingerprint Solution, tagad jusu personalajam datoram tiek nodrošinats papildu drošības lmenis, kā arīiespēja erti pieklūt ikdienes uzdevumiem ar vienkārsu pirksta kustūb!
Papildinformatijskatiet Acer Bio-Protection palidzibas failos.

Acer Backup Manager

Piezime: Sis fidzeklis ir pieejams tikai noteiktos modelos.
Acer Backup Manager ir vienkäršs trīs solu process, kas jums lauj izveidot visas sistemas vai atlasītu failu vai mapju dublējuma kopijas saskaṇā ar sarakstu vai kā jums nepieciešams.
Lai palaistu Acer Backup Manager, nospiediet Acer Backup Manager taustiu virs
tastaturas. Jus varat arT iet uz Start (Skt) > All Programs (Visas programmas) >
Acer Backup Manager > Acer Backup Manager. Tas atvers Welcome ekranu; no
sī ekrāna jūs tiksiet izvests caur trīs soljiem, lai uzstādītu paredzēṭas
dublējumkopijas. Noklikskinet Continue (Turpināt), lai dotos uz nakamo ekrānu.
Noklikskinet + pogu un sekojiet uz ekrāna esosajām instrukcjām:
1 Izvēlieties saturu, ko vēlaties dublēt. Jo mazaku saturu izvēlēsieties, jo ātrāks būs process, taču tas paaugstinās informácijas pazaudešanas risku.
2 Izvlieties, kur gribat saglabat dubljumkopijas. Jums bus jazvelas arejais draiveris jusu D: draiveri; Acer Backup Manager nevar saglabat dubljumkopiju avota draiveri.
3 Izvelieties, cik biezi velaties, lai Acer Backup Manager veidotu dubljumkopijas.
Kad pabeigsiet šos trīs solus, dublējumkopijas tiks izveidotas saskaña ar sarakstu. Jus varat arī izveidot dublējumkopijas manuāli, nospiéžot Acer Backup Manager taustiŋu.
Ja vēlaties mainit iestatijumus jebkurā laikā, palaidiet Acer Backup Manager no Start (Sākt) izvēlnes un izpildiet iepriekš izklastītos solus.

Barošanas pārvaldība
Šim datoram ir iebūvēts barošanas pārvaldības elements, kas párrauga sistēmas aktivati. Sistēmas aktivitate ir jebkāda aktivitate, kurī iesaistīta viena vai vairakas no šim iericēm: tastātūrā, pele, cietais disks, datoram pievienotās papildieríces un videoatmina. Ja noteikṭa laikposma netiek konstatēta aktivitate (bezdarbības taimauts), dators aptur džazs vai visas ieríces, lái taupītu enerḍiju.
Sis dators izmanto barošanas parvaldbas shemu, kas atbalsta uzlaboto konfiguracijas un barošanas bloka saskarni (ACPI), kura vienlaikus nodrošina maksimalu energijas ietaupjumu un maksimalu veiktspēju. Windows jusu datorā veic visus energijas taupīsanas darbus.
Acer eRecovery Management ir riks atrai sistemas atjaunošanai. Pastav iespeja dublet/atajanot rupnicas noklusejuma attelu, kā arī pārinstalēt lietojumprogrammas un draiverus.

Piezime: Viss noraditais saturs ir paredzets tikai atsaucei.
Pilibba atjaunot systemu uz rupnicas noklusejumu
Atjaunot operetājsistēmu un saglabat lietotājainformaciju
- Parinstalēt draiverus un lietojumprogrammas
Sajā nodāla āprakstīts katrs no šiem procesiem.

Piezime: Šis līdzeklis ir pieejams tikai noteiktos modelos. Ja jusu systemdā nav iebūvēts optisko disku rakstītājs, pirms utilītas Acer eRecovery Management palaišanas, lai veiktu uzdevumus, kuros tiek lietoti optiskie diski, vispirms pievienojiet ārejo optisko disku rakstītāju.
Lai izmantotu Acer eRecovery Management paroles aizsargfunkciju, jums vispirms jauzstada parole. Paroli uzstada, palaižot Acer eRecovery Management un noklikskinot Settings (lestatijumi).

Dubljumkopiju erakstišana diskos
No Acer eRecovery Management Backup (dubësanas) lapas jus varat icerakstit rūnPīcas noklusejuma attelu vai dublet draiverus un lietojumprogrammas.
1 Noklikskinet uz Start (Sakt) > All Programs (Visas programmas) > Acer > Acer eRecovery Management.
2 Acer eRecovery Management atver Backup (dubleşanas) lapu.

3 Izvelieties dublesanas veidu (rupnicas noklusejuma vai draiveru un lietojumprogrammu), ko velaties ierakstitiska.
4 Lai pabeigtu procesu, izpildiet ekranā redzamos norādījumus.

Piezime: Rupnicas noklusejuma attelu veidojiet, ja velaties ierakstit sāknējamu disku, kurš satur pilnu datora operētājsistemu tadā stavokli, kādā tika jegādata jums no rūnpicas. Ja velaties izveidot disku, kura saturu varēs pārlukot un instalēt no tā atseviškus draiverus un lietojumprogrammas, izveidojiet draiveru un lietojumprogrammu dubléjumkopijas — šis disks nebūs sāknējams.
Restore (Atjaunošana)
Atjaunošanas fungcija jums lauj atjaunot vai atkoti systemu no rupnīcas noklusejuma attela vai no ieprieks izveidota CD un DVD dubléjumkopijam. Varat arī pārinstalē savā Acer systēmā lietojumprogrammas un draiverus.
1 Noklikskinet uz Start (Sakt) > All Programs (Visas programmas) > Acer > Acer eRecovery Management.
2 Parsledzieties uz Restore (atjaunošanas) lapu, noklikskinot Restore (Atjaunot).

3 Jus varat izveleties atjaunot sistemu no rupnicas noklusejuma attela vai pärinstalē lietojumprogrammas un draiverus.
4 Lai pabeigtu procesu, izpildiet ekrānā redzamos norādījumus.
Windows atjaunošana no dublëjumkopiju diskiem

Piezime: Sis lidzeklis ir pieejams tikai noteiktos modelos.
Lai atjaunotu Windows no iepriekš ieriakstitiem dublējumkopiju diskiem, jums bʊs nepiecieśams ievietot pirmo dublējumkopijas disku un iespējot F12 Boot Menu ar BIOS uzstādīsanas pakalpojuma palīdzību.
1 lesledziet datoru un ievietojiet pimo sistemas atkopsanas disku optiskaj diskdzin. Pärstartejiet datoru.
2 Startesanas laikā, kad tiek rādīts Acer logo, nospiediet F2 tausti, lai ieitu BIOS Setup, kur jus varat iestafīs sistemas parametrus.
3 Izmantojiet kreiso un labo bultausti, lai atlasitu Main apaksizveli.
4 Izmantojiet augsjo un apaksejo bultaustiu, lai izveletos F12 Boot Menu.
5 Izmantojiet F5 vai F6 taustu, lai nomaintu F12 Boot Menu uz Enabled.
6 Nospiediet ESC taustu, lai ieetu Exit apaksizvelnē, nospiediet ENTER taustu, lai Exit Saving Changes. Nospiediet ENTER taustu vēlreiz, lai atlasītu Yes. Sistema tiks atsāknēta.
7 Pec atsakneesan, kad tiek radits Acer logo, nospiediet F12 taustiju, lai atvertu Boot Menu. Seit jus varat izveléties, no kuras ierfces saksnet.
8 Izmantojiet bulttautinus, lai atasitu IDE1*, pec tam nospiediet ENTER taustiu. Windows tks instalets noatakpansas diska.
9 levietojiet otro atkopşanas disku, kad tas tiek pieprasits, pec tam sekojiet tam, kas tiek pateikts priekša uz ekråna, lui pabeigtu atjaunošanu.
10 Iznemiet atkopšanas disku no optiskā draivera, kad atjaunošana ir pabeigta. Dariet to pirms datora atsaknešanas.
Ja dodat priekšroku sāknešanas prioritatei ilgtermiña lietošanai, jums jāizvelas Boot apaksizvěne.
1 lesledziet datoru un ivietojiet pimo sistemas atkopsanas disku optiskaj Diskdzin. Pärstartejiet datoru.
2 Startesanas laikā, kad tiek rādīts Acer logo, nospiediet F2 tausti, lai ieitu BIOS Setup, kur jus varat iestafīs sistemas parametrus.
3 Izmantojiet kreiso un labo bultaustingu, lai atlasifu Boot apakszivelnl.
4 Izmantojiet augsejo un apaksejo bultaustiu, lai atasiti IDE1* ieri ci.
5 Izmantojiet F6 taustu, lai parrvietotu IDE1* ieri uz augstako sakneesanas prioriti, vai izmantojiet F5 taustu, lai parrvietotu citas ieri uz zemaku sakneesanas prioriti. Nodrosiniet to, ka IDE1* ieri ir augstaka prioritate.
6 Nospiediet ESC taustu, lai ieetu Exit apaksizvelné, nospiediet ENTER taustu, lai Exit Saving Changes. Nospiediet ENTER taustu vělreiz, lai izvěletos Yes. Sistema tiks atsákneta.
7 Kad atsaknesiet, Windows tiks installets noatakpansas diska.
8 levietojiet otro atkopšanas disku, kad tas tiek pieprasits, pēc tam sekojiet tam, kas tiek pateikts priěkšā uz ekrána, lái pabeigtu atjaunošanu.
9 Iznemiet atkopansanas disku no optiskā draivera, kad atjaunošana ir pabeigta. Dariet to pirms datora atsaknešanas.
Akumulators
Dators izmanto akumulatoru, kurš nodrošina iespēju ilgi lietot datoru lidz nākamajai uzlădei.
Akumuladora ipašības
Akumulatoram ir šadas Tpašibas:
- Atbilstība jaunākajiem akumulatoru tehnologiju standartiem.
Brīdīnājums par zemu akumuladora uzlādes līmeni.
Akumulators tiek uzlădêts, kad datoru pievieno mainstrāvas adapteram. Dators atbalsta uzlădi lietoşanas laikă - akumulatoru var uzlădêt, turpinot lietot datoru. Tomér, ja datoru lădē, kad tas ir izslëgts, ieverojami samazinăs uzlădes laiks.
Akumulators noder celojot vai strvas zuduma gadijumā. letecams rezervei sagatavot pilnīgi uzlādētu papildu akumulatoru. Lai iegūtu informaciju par rezerves akumulatora pasūṭīsanu, szinieties ar vietējo izplatītāju.
Akumulatora kalpošanas laika pagarināšana
Tāpat kā citi akumulatori, ari jūsu datora akumulators laika gaitā tks nolietots. Tas nozīmē, ka ar laiku, lietojot datoru, akumulora veiktspeja mazināsies. Lai palielinātu akumulora kalpošanas laiku, vēlams ieverot turpmāk sniegtos ieteikumus.
Jauna akumulatora sagatavošana lietošanai
Pirms izmantojat akumulatoru pirmo reizi, javeic ipa's sagatavo'sanas process:
1 levietojiet jauno akumulatoru, neiesledzot datoru.
2 Pievienojiet mainstrāvas adapteru un uzlādējiet akumulatoru lidz galam.
3 Atvienojiet mainstrāvas adapteru.
4 lesledziet datoru un lietojiet to, izmantojot akumulatoria nodrošināto stravu.
5 Izlietojiet akumulatoru, lidz paradas brdinajums par zemu uzlades limeni.
6 No jauna pievienojiet mainstrāvas adapteru un vēlreiz uzlādējiet akumulatoru līdz galam.
Atkartojiet šīs darbības, kamēr akumulators ir uzlādēts un atkal izlādēts trīs reizes.
Veiciet so sagatavošanas procesu visiem jauniem akumulatoriem vai arī, ja akumulators nav lietots ilgu laiku. Ja datoru paredzëts nelietot ilgāk par divām nedelām, ieteicams izněmt no tā akumulatoru.

Bridinajums: Nepaklaujiet akumulatoru temperaturai, kas ir zemaka par 0^ (32^) vai augstaka par 45^ (113^) . Galjas temperaturas var nelabviliigi ietekmet akumulatoru.
Veicot akumulatora sagatavošanas procesu, jus nodrošināt, lai akumulatoru būtu iespějams uzlādet lidz maksimalajam limenim.
Ja neveiksiet so proceduru, jus nenodroşināsiet maksimalo akumulatora uzlades limeni, kā ari samazināsiet akumulatora lietderīgās kalpošanas laiku.
Pie tam akumulatora kalpošanas laiku var negativi ietekmēt šadi lietošanas veidi:
- Datora lietosana ar pastavigu mainstrvas barosanu, kad ir ivietots akumulators. Ja velaties pastavigi lietot mainstrvas barosanu, ieteicams pec akumulatora pilngas uzlades to iznemt.
- Akumulatora neizlādēsana un neuzlādēsana lidz galam, kā aprakstīts ieprieks.
- Bieža lietosana; jo vairak lietosiet akumulatoru, jo atrak beigsies tā kalposanas laiks. Standarta datora akumulatora kalposanas laiks pielfdzināms aptuveni 300 uzlades reizēm.
Akumuladora ievietošana un iznemšana

Svarigi! Ja vēlaties turpināt datora lietošanu, pirms akumulatora iznemšanas pievienojiet mainstrāvas adapteru. Pretējā gadījumā vispirms izslēdziet datoru.
Lai ivietotu akumulatoru:
1 Nolieciet akumulatoru vienā limenī ar atverto akumulatora nodalijumu; gādājiet, lai vispirms tiktu ivjetots akumulatora gals, kurā ir kontakti, un lai akumulatora augsējā virsma būt u vērsta uz augsu.
2 lebidiet akumulatoru tā nodalijumā un viegli piespiiediet to, lai tas nostiprinātos savā viēṭa.
Lai iznemtu akumulatoru:
1 Atbidiet akumulatora fiksatoru, lai atrivotu akumulatoru.
2 Izvelciet akumulatoru no tā nodalijuma.
Akumulatora uzlăde
Lai uzlădêtu akumulatoru, vispirms pãrliecinieties, vai tas ir pareizi ivietots akumulatora nodalijumã. lespraudiet datorã mainstrāvas adapteru un pievienojiet to strãvaskontaktligzdai. Akumulatoram uzlădêjoties, varat turpinat lietot datoru, izmantojot mainstrāvas baroşanu. Tomér, ja akumulatoru uzlădê, kad dators ir izslegts, ieverojami samazinãs uzlădes laiks.

Piezime: Pirms beidzat darba dienu, ieteicams uzladet akumulatoru. Akumulatora uzladesana nakti pirms celojuma dod iespeju sakt nakamo dienu ar pilntgi uzladetu akumulatoru.
Akumulatora uzlădes līmena pārbaudīšana
Windows barosanas indicators norada pašreizejo akumulatora uzlades limeni. Lai apskatitu pašreizejo akumulatora uzlades limeni, novietojiet kursoru virs akumulatora/barosanas ikonas uzdevumjosla.
Akumulatora kalpošanas laika optimizëšana
Akumulatora kalpoşanas laika optimizësana palidz nodrošinat maksimalu akumulatora lietderfɡumu, pagarina uzlădes vai atkartotas uzlădes ciklu un uzlabo atkartotas uzlădes efektivitäti. leteicams ieverot turpmak sniegtos noradijumus:
- Noperciet rezerves akumulatoru.
- Kad vien iespējams, lietojiet mainstrāvas barošanu, taupot akumulatoru lietošanai celojumos.
- Iznemiet karti PC Card, ja tā netiek lietota, jo tā Jebkūrā gadījumā izmanto strāvu (atseviškiem modeliem).
- Glabajet akumulatoru vēsā, sausā viēṭa. leteicamā temperatūrā ir no 10 °C (50 °F) lidz 30 °C (86 °F). Augstākās temperatūrās notiek ātrāka akumulatora pašizlāde.
- Pārak bieži pārlādējot akumulatoru, tiek samazināts tā kalposanas laiks.
Rikojieties saudzigi ar mainstravas adapteru un akumulatoru.
Bridinajums par zemu akumuladora uzlades limeni
Ja lietojat akumulatora nodrošināto strāvu, pievērsiet uzmanību Windows barošanas indicatoram.

Bridinajums: Kad paradas bridinajums par zemu akumulatora uzlades limeni, pievienojiet mainstravas adapteru cik atri vien iespejams. Ja akumulators pilnibā izladésies un dators tiks apstadinats, pazudis dati.
Paradoties brīdinājumam par zemu akumulatora uzlādes līmeni, ieteicamā darbību secība ir atkarīga no situácijas:
| Situacija | Iteicamā rīcība |
| Peejams mainstrāvas adapters un strāvaskontaktligzda. | 1. Iespraudiet mainstrāvas adapteri datorā un tad pievienojiet to strāvas kontaktligzdai.2. Saglabājiet visus vajadzīgos failus.3. Turpiniet darbu.Ja vēlaties ātri pārlādēt akumulatoru, izslēdziet datoru. |
| Peejams pilnīgi uzlādēts rezerves akumulators. | 1. Saglabājiet visus vajadzīgos failus.2. Aizveriet visas lietojumprogrammas.3. Apstādiniet operētājsistēmu, lai izslēgtu datoru.4. Nomainiet akumulatoru.5. leslēdziet datoru un turpiniet darbu. |
| Mainstrāvas adapters vai strāvaskontaktligzda nav pieejama. Nav rezerves akumulatora. | 1. Saglabājiet visus vajadzīgos failus.2. Aizveriet visas lietojumprogrammas.3. Apstādiniet operētājsistēmu, lai izslēgtu datoru. |
Piezimjdatora pārvadāsana
Sajā nodāla sniegti padomi un norādījumi, kas jānem vērā, pārnēsājot datoru vai nemot to lidzi celojumā.
Atvienošana no darba virsmas
Lai atvienot datoru no ārējām papildierfcēm, izpildiet sos norādījumus:
1 Saglabajiet visus atvertos failus.
2 Iznemiet no diskzina(iem) jebkadus datu nesejus, disketes vai kompaktdiskus.
3 Izslédziet datoru.
4 Aizveriet displeja vaku.
5 Atvienojiet vadu no mainstrāvas adaptora.
6 Atvienojiettastaturu,raditajierici,prineri,arejo monitoru uncitasarejasierices.
7 Nonemiet Kensingtona atslgu, ja esat ar to nostiprinajs datoru.
Parnesa'sana
Ja parrvietrojaties kaut kur netalu, piemeram, no biroja darbagalda uz sapulcu telpu.
Datora sagatavošana
Pirms datora parvietošanas aizveriet unnofiksejiet displeja vaku, lai aktivizētu miega režimu. Tagad varat drošni nemlfdzi datoru uz jebkuru vietu ekas robežās. Lai datoram deaktivētu meiga režimu, atveriet displeju; pēc tam nospiiediet un atlaidiet barošanas pogu.
Ja nemat datoru lidzi uz klienra biroju vai citu eku, iespejams, labak izslegt datoru:
Noklikskiniet uz Sakt, pec tam klikskiniet uz Izslegt.
Vai ar:
Varat datoram aktivizēt miega režūmù, nospiéžot
Kad atkal būsiet gatavs lietot datoru, attaisiet un atveriet displeju; pēc tam nospiediet un atlaidiet barošanas pogu.

Piezime: Ja miega režima indicatoris ir izslegts, dators atroidas hibernacijas režimā un ir izslegts. Ja barošanas indicatoris ir izslegts, bet miega režima indicatoris ir ieslegts, dators atroidas miega režimā. Abos gadijumos, lai atkal ieslgtu datoru, nospiediet un attaidiet barošanas pogu. Nemyiet vērā, ka dators var pārslegties uz hibernacijas režimu, kad tas noteiktu laikposmu ir atradies miega režimā.
Kas jāem līdz uz sanāksmēm
Ja sanaksme ir relativi tsa, iespejams, ka nav janelm lidz nekas, iznemot datoru.
Ja sanaksme ir garaka vai ari, ja akumulators nav lidz galam uzladets, ieteicams panem lidzi mainstrivas adapteru un pievienot to datoram sapulcu telpa.
Ja sapulcu telpa nav elektribas kontaktligzdas, samaziniet akumulatorastrvas pateriu, parsledzot datoru miega rezmā. Kad aktivi nelietojat datoru, nospiediet <Fn> + <F4> vai aizveriet displeja vaku. Lai atsaktu darbu, atveriet displeju (ja tas ir aizverts) un tad nospiediet un atlaidiet barošanas pogu.
Datora nešana uz mājām
Kad parrietojaties no biroja uz majam vai no majam uz biroju.
Datora sagatavošana
Kad būsiet atvienojis datoru no darba virsmas, izpildiet šos norādījumus, lai sagatavotu datoru mājupceλam:
- Pärbaudiet, vai esat no diskdziña (iem) iznēmis visus dato nesējus un kompaktdiskus. Neiznemot dato nesēju, var sabojāt diskdziña galvinu.
- lelieciet datoru aizsargapvalkā, kas nelauj datoram slidēt un amortize triecienu, ja dators nokrit.

Uzmanibu: Neiepakojiet priekšmetus ltdzās datora augšejam vākam. Spiediens pret augšejo vaku var sabojat ekrānu.
Kas jānem līdz
Ja vien jums mājās jau nav dāzi no tiem, pañemiet līdzi šādus componentus:
- Mainstrāvas adapteru un strāvas vadu
- Izdrukatu Quick start up guide
Ipaši apsvērumi
Lai aizsargatu datoru, dodoties uz darbu un no tā, ieverojiet sos norādijumus:
- Samaziniet temperaturas izmaiyu iedarbibtu, turot datoru pie sevis.
-
Ja jums jaapstājas uz ilgaku laiku un jus nevarat paŋemt datoru sev lidz, atstājiet to automašinas bagāzas nodalfijumā, lui nepaklautu pärmīrga karstuma ietekmei.
-
Temperatūras un mitruma izmainas var izraisīt mitruma kondensāciju. Nogādājiet datoru istabas temperatūrā un pirms datora ieslēgṣanas pārbaudiet, vai uz ekrāna nav mitruma kondensācijas. Ja temperatūras starpība ir lielāka par 10^ (18°F), Jaujiet datoram pamazām piēlagoties istabas temperatūrai. Ja iespejams, 30 minutes atstājiet datoru vide, kur temperatūrā ir starp āra un istabas temperatūru.
Majas biroja aprkošana
Ja biezi stradajat ar datoru majas, ieteicams iegadaties otru mainstrvas adapteru lietoisanai majas. Ja jums bus otrs mainstrvas adapters, varesiet nenest lieku smagumu uz un no majam.
Ja mājās bieži lietojat datoru, var noderē Ṣr ārējā tastātūrā, monitors vai pele.
Datora lidznemšana.cej
Ja dodaties tālākā.cejā, piēmēram, no sava biroja uz klienta biroju vai cellojot valsts robežās.
Datora sagatavošana
Sagatavojiet datoru, tāpat kā nesot to uz mājām. Gādājiet, lái akumulators datorā būtu uzlādēts. Lidostas drośības dienests var palūgt datoru ieslēgt, pirms ienesat to izlidošanas zona.
Kas jānem līdz
Papildus norādījumiem datora pārnešanai uz mājām, ievērojiet arī šos norādījumus, lai aizsargatu datoru celojuma laikā:
Vienmér datoru nemiet lidzi kā rokas bagazu.
- Ja iespējams, laujiet drošības dienestam datoru pārbaudīt ar rokām. Rentgena drošības iekātas lidostās ir drošas, tăcu nelaidiet datoru cauri metālā detektoram.
- Nepaklaujiet disketes rokas metala detektoru iedarbībai.
Datora lidznemšana starptautiskos celojumos
Ja dodaties no vienes valsts uz citu.
Datora sagatavošana
Sagatavojiet datoru tā, kā parasti to sagatavojat celojumam.
Kas jānem līdz
Jānem vērā tādi paši āpašie apsvērumi, kā celojot ar datoru valsts robežās. Bez tam, dodoties starptautiskā celojumā, noder šādi padomi:
- Atrodities celojumā citā valsti, pārbaudiet, vai vietējā mainstrāvas sprieguma un mainstrāvas adapterera strāvas vada specifikacijas ir savstarēji saderīgas. Ja tās nav saderīgas, nopērciet strāvas vadu, kurś ir saderīgs ar vietējo mainstrāvas spriegumu. Datora barošanai nelietojiet mājsaimniecības iericēm paredzētos strāvas pārveidotājus.
- Ja lietojat modemu, pārbaudiet, vai modems un tā savienotājs ir saderīgi ar telekomunikaciju sistēmu valsti, kurā celojat.
Datora drošība
Dators ir vertigs ieguldijums, par kuru ir jarupejas. Uzziniet, kā aizsargat datoru un rupeties par to.
Drošības līdzeklji ietver aparatūras un programmatūras slēdzenes – drošības atslēgu un paroles.
Datora drošības atslēgas lietošana
Dators ir aprikots ar Kensingtona standarta drošibas slotu drošibas atslēgai.
Aplieciet datora drošibas slédzenes vad upnekustigu priekšmetu, piemēram, galdi vai aizslegtas atvilktnes rokturi. lelieciet aizsleggu ierobā un pagrieziet atslegu, lai nofiksêtu slédzeni. Pieejami aràdzimi modelji bez atslegas.
Paroju lietošana
Paroles aizsargā datoru pret nesankcionētu piekluvi. lestatot šīs paroles, tiek izveidoti vairaki atskirigi aizsardzības lmeni datoram un datum:
- Kontroliera parole liedz nesankcionetu piekluvi BIOS utilisei. Ja šī parole ir iestatītā, tā jäevada ikreiz, kad vēlaties pieklut BIOS utilisei. Skatiet nodaju "BIOS utilise" 28 lpp.
- Lietotaja parole novérš nesankcionētu datora lietošanu. Šānkējot systēmu un atsakot darbu pēc hibernácijs, apvienojiet šīs paroles izmantošanu ar parolu kontrolpunktiem, lái gadātu par maksimalu drošūb.
- Sāknēśanas parole novērs nesankcionētu datora lietošanu. Sānkējot systēmu un atsākot darbu pēc hibernácijas, apvienojiet šīs paroles izmantošanu ar parolu kontrolpunktiem, lai gādátu par maksimalu drošibu.

Svarigi! Neaizmirstiet savu kontroliera paroli! Ja aizmirstat savu paroli, ludzu, szainieties ar izplattaju vai pilnvarotu servisa centru.
Parolu ivadisana
Ja ir iestatīta parole, displeja ekrāṇa vidū tiek parādīṭa paroles uzvedne.
- Ja ir iestatīta kontroliera parole, uzvedne tiek parādīta, kad nospiéžat
, laï sāknēsanas laikā ieetu BIOS utilità. - Lai pieklutu BIOS utiltai, uzrakstiet kontroliera paroli un nospiediet taustingu
. Ja parole ievadita nepareizi, tiek paradits bridinajuma pazojojums. Meginiet vrelrez un nospiediet .
Ja ir iestatītla lietotāja parole un iespējots sāknēsanas paroles paramets, uzvedne parādās, sāknējot datoru. - Uzrakstiet lietotāja paroli un nospiediet taustiŋu
, lai lietotu datoru. Ja parole ievadīta nepareizi, tiek paradīts brīdinājuma pazinojums. Mēginit evelreiz un nospiediet .

Svarigi! Paroles ievadišanai tiek doti trīs meginājumi. Ja ar trīs meginājumiem neizdodas pareizi ievadīt paroli, sistēma tiek aptureta. Nospiediet un Četras sekundes turiet nospiestu barošanas pogu, lai izslēgtu datoru. Pēc tam no jauna ieslēdziet datoru un meginiet vělreiz.
Parolu iestat'sana
Paroles var iestatit, izmantojot BIOS utilise.
Sistemas paplašinašana, izmantojot papildaprikojumu
Jusu piezmjdators nodrosina jums pilnu mobilas skaitloesan iespeju klasta.
Savienojamības iespējas
Tāpat kā galddatora gadijumā, pie jusu datora portiem var pievienot papildierices.
Instrukcjjas dažadu ārejo ieriču pieslēgsanai datoram lasiet nakamajā nodāla.
Faksa/datu modems (tikai noteiktiem modeliem)
Datoram ir iebuvets V.92 56 Kbps faktsa/datu modems (tikai noteiktiem modeljem).

Bridinajums! Šis modema ports nav saderigs ar ciparu tālruṇa linijām. Pievienojot šo modemu ciparu tālruṇa linijai, modems tiks sabojāts.
Lai izmantotu faksa/datu modema portu, savienojiet Telefona ligzdu un modema portu, izmantojot tālrūna kabeli.


Bridinajums! Ludzu, gadajiet, lai izmantotais kabelis butu derigs valsti, kuraradajat.
lebūvētais tiklošanas līdzeklis
Iebuvetais tikloanas lidzeklis nodrosina iespju pieslegt datoru Ethernet tiklam.
Lai izmantotu tiklošanas Iridzekli, savienojiet Ethernet (RJ-45) portu uz datora korpusa ar tikla ligzdu vai centrmezglu, izmantojot Ethernet vadu.

Universālā serialā kopne (USB)
USB 2.0 ports ir lielatrma seriala kopne, pie kuras var pieslegt USB papildierices, neizmantojot vertigos sistemas resursus.

IEEE 1394 ports (tikai noteiktiem modeljem)
Datora IEEE 1394 portam var pieslęgt ar standartu IEEE 1394 saderīgu ierfi, piemēram, videokameru vai ciparkameru. Informāciju skatiet savas videokameras vai ciparkameras dokumentācija.

Augstas kvalitätes multivides saskarne (tikai noteiktiem modeljem)
HDMI (augstas kvalitätes multivides saskarne) ir nozares atbalstīta, nesaspiesta visu digitālo audio/video saskarne. HDMI nodrosina saskarni starp jebkuru digitālo audio/video avotu, kā, piēmērām, televizora pierǐce, DVD atskanotājs un audio/video uztveṛejs un savietojams digitalais audio un/vas video monitors, kā, piēmērām, digitālā televizija (DTV) cur vienu vadu.
Izmantojiet datorā esošo HDMI portu, lái savientu ar galejo audio vai video apríkojumu. Viena vada izmantošana nodrošina kärṭigu uzstādīsanu un ātru savienojumu.

ExpressCard (tikai noteiktiem modeljiem)
ExpressCard ir jaunaka PC Card versija. Tā ir mazaka un ātraka saskarne, kas uzlabo datora lietojamūb un paplašināmību.
ExpressCard atbalsta daudz paplašinăjuma opciju, ieskaitot zibatminas karšu adapterus, TV skanotăjus, Bluetooth savienojamību un IEEE 1394B adapterus. ExpressCard atbalsta USB 2.0 un PCI Express ierices.

Svarigi! Pastav divi karšu veidi ar atskirtgām funkcjām - ExpressCard/54 un ExpressCard/34 (54 mm un 34 mm). Ne visi ExpressCard sloti atbalsta abus veidus. Informaciju par kartes ivietošanu un lietošanu, kā ari tās funkcjām, lūdzu, skatiet kartes rokasgrāmata.
ExpressCard ivietošana
levietojet karti slota un viegli uz tās uzspiediet, lidz tā ar klikski nostiprinas savā vieta.

ExpressCard iznem'sana
Pirms ExpressCard iznemşanas:
1 Izejiet no lietojumprogrammas, kas izmanto karti.
2 Noklikskinet ar kreiso pogu uz aparaturas nogemšanas ikonas uzdevumjosla un apturiet kartes darbibu.
3 Viegli uzspiediet uz slota esosas kartes un atlaidiet, lai karti iznemtu. Tad izvelciet karti no slota.
Atminas ivietošana
Lai ivietotu atminu, veiciet sadas daribas:
1 Izslédziet datoru, iznemiet no strāvas mainstrāvas adapteru (ja tas ir pievienots) un iznemiet akumulatoru. Pec tam apgrieziet datoru otradi, lai piekltu tā pamatnei.
2 Izskruvējiet skruves no atminas nodalijuma vaka; pec tam paceliet un nonemiet atminas nodalijuma vaku.
3 (a) Pa diagonali ivirziet atminas moduli slota, pec tam (b) viegli uz ta uzspiediet, lidz tas ar klikski nostiprinas savā viētā.

4 Uzlieciet atpakal atminas nodalijuma vaku un nostiprintiet to ar skruvi.
5 Ielieciet atpakal akumulatoru un no jauna pievienojiet mainstrāvas adapteru.
6 lesledziet datoru.
Dators automatiski nosaka un pärkonfigürē kopējo atmiñas apjomu. Lūdzu, apspriedieties ar kvalificētu tehnisko specialistu vai szinieties ar vietējo Acer izplatītāju.
BIOSutilita
BIOS utilise ir aparatūras konfigurešanas programa, kura ir iebūvēta jusudatoria ievadizvades pamatsistemā (BIOS).
Jusu dators jau ir pareizi konfigurëts un optimizëts, un šo utilṭu nav nepieciešams palaist. Taču, ja rodas problemas ar konfigurăciju, iespějams, utilita bús japalaiž.
Lai aktivizetiú BIOSutilu,ieslēgşanas pašestalaikā,kamérir redzams piezimjdatoralogotips,nospiediettaustiŋu
Saknešanas secība
Lai BIOS utilise iestatitu saknešanas secibu, aktivizējiet BIOS utilise un tad no ekrāna augspuse piedāvatajām kategorijam izvelieties Boot.
Atkopšanas no diska uz disku iespējosana
Lai iespējotu atkopšanu no diska uz disku (cietā diska atkopšanu), aktivizējiet BIOS utilise n tad no ekrāna augspuse piedāvātajām kategorijām izvelieties Main. Ekrāna apakšā atrodiet opcjū D2D Recovery un izmantojiet taustinus
Parole
Lai iestatifu saknešanas paroli, aktivizējiet BIOS utiliseu tan tad no ekrāna augspusei izvētajām kategorijām izvēlieties Security. Atrodiet Password on boot: un izmantojiet taustinus
Programmatūras lietošana
DVD filmu atskanošana

Piezime: Sis lidzeklis ir pieejams tikai noteiktos datora modelos.
Ja optiskā diskdziña sekcijā ir uzstādīts DVD diskdziña modulis, datorā var atskanot DVD filmas.
1 Iznemiet DVD disku.

Svarigi! Pirmo reizi palaižot DVD atskanošanas programmu, tā pieprasa ievadīt regiona kodu. DVD diski tiek iedalīti 6 regionos. Kad DVD diskdzinim ir iestatīts regiona kods, tas atskanos tikai šim regionam paredzētos DVD diskus. Regiona kodu var iestatīt piecas reizes (ieskaitot pirmo reizi): péc tam paliks spekā pēdejais iestatītais regiona kods. Péc cieta diska atkopšanas netiek atiestatīts regiona koda iestatīšanas reizu skaits. Informaciju par DVD filmu regionu kodiem skatiet nākamajā tabulā.
2 DVD filma tiks automatiski atskanota pec dazam sekundem.
| Régiona kods | Valsts vai regions |
| 1 | ASV, Kanāda |
| 2 | Eiropa, Tuvie Austrumi, Dienvidāfrika, Japāna |
| 3 | Dienvidaustrumāzija, Taivāna, Dienvidkoreja |
| 4 | Latīŋamerika, Austrālija, Jaunzēlande |
| 5 | Bijusi PSRS, atseviškas Āfrikas dajas, Indija |
| 6 | Kīnas Tautas Republika |

Piezime: Lai mainitu regiona kodu, ivietojiet DVD diskdzinī DVD filmu, kurai ir cits regions. Papildinformaciju, ludzu, skatiet tiešsaistes palidzība.
Biežāk uzdotie jautājumi
Turpmak snugts saraksts ar situacijam, kas var rasties datora lietošanas laikā.
Katrai no tam noradits vienkäršs risinajums.
Barošana ir ieslēgta, taču dators nestartējas vai nesāknejas.
Apskatiet baroanas indicatoru:
Ja tas nedeg, datoram netiek pievadita strava. Pärbaudiet tālakminēto:
Ja dators darbojas no akumulatora strāvas, iespējams, tam ir zems uzlādes limenis un tas nespēj nodrošināt datora barošanu. Pievienojiet mainstrāvas adapteru, lai atkārtoti uzlādētu akumulatoru.
- Gādājiet, lai mainstrāvas adapters būtu pienācīgi pievienots datoram un strāvas kontaktligzdai.
Ja tas deg, pārbaudiet tālakminētō:
- Vai ārejā USB diskešu dzinī nav ivietots nesāknējams (bez sistemas) disks? lznemiet to vai aizstajiet ar sistemas disku un nospiediet
+ + , lái pārstartētu/systemu.
Ekrānā nekas nav redzams.
Datora barošanas pārvaldības).[s]istema automatiski izslezd ekrāna gaismu, lai taupītu eneróljiu. Nospiediet jebkuru taustiŋu, lai atkal ieslēgtu displeju.
Ja, nospiezot taustiu, displejs neiesledzas, pastav trfs iespjamie problemas celoni:
- lespējams, ir pārak zems spilgtuma līmenis. Nospiediet
+ <▷> (palielināt), lai noregulētu spilgtuma līmeni. - lespējams, ka ārējais monitors iestatīts kā displeja ierie. Nospiediet displeja pārslēgšanas ātro taustɪŋu
+ , lai atkal iestatītu datora displeju. - Ja deg miega režima indikators, dators atrodas miega režimā. Nospiediet un atlaidiet barošanas pogu, lai atsaktu darbu.
No datora nav dzirdama audio.
Pārbaudiet tālakminēto:
- lespējams, ir izslegta skana. Windows uzdevumjosla apskatiet skaluma vadības (skalruṇa) ikonu. Ja ikona ir pársvītrota, noklikskinet uz tās un nonemiet atzimi opcjai Mute all (lzslegt visu skanu).
- lespejams, ir pärak zems skaluma lǐmenis. Windows uzdevumjosla apskatiet skaluma vadības ikonu. Skaluma regulēšanai var izmantot arī skaluma vadības pogas.
Ja datora linijas izejas portam ir pievienotas mikrofonaustinas, austinas vai arëjie skalruni, tad iekësjie skalruni tiek automatiski izslegti.
Vēlos izněmt optiskā diskdžiṇa paliktni, neieslédzot barošanu.
Optiskajam diskdzinim ir mehanisks diska izemansas caurums. Vienkarshi ivietojiet caurumā pildspalvu vai papīra saspraudi un piespiiediet, lai izstumtu paliktni.
Nereagē tastātūrā.
Mēginiet datora USB portam pievient ārejo tastaturu. Ja tā darbojas, szainieties ar izplatītāju vai pilnvarotu servisa centru, jo pastāv iespēja, ka ir vaīgs iekšejās tastatūras vads.
Nedarbojas printeris.
Pärbaudiet talakmineto:
- Pärliecinieties, vai printeris ir pievienots strāvas kontaktligzdai un vai tas ir ieslęgs.
- Pärliecinieties, vai printera vads ir cieši pievienots datora paralējam vai USB portam un attiecīgajam printera portam.
Vēlos atjaunot datora sākotnējos iestatījumus, izmantojot atkopšanas kompaktdiskus.

Piezime: Ja lietojat daudzvalodu sistemas versiju, tad operetajstema un valoda, ko izvelesieties, pirmoreiz iesledzot sistemu, buis vienigais piedavatais izveles variants turpmakajam atkopsanas darbibam.
Sis atkopşanas process palidzés jums atjaunot C: disku ar sakotnejo, originalo programmatüru, kas bija uzinstalëta, kad iegādajaties savu piezimjdatoru. Lai atjaunot savu C: disku, izpildiet turpmak noradītās darības. (Jusu C: disks tiks pärformatëts, un visi dati tiks dzësti.) Ir svarfigi pirms šës opcjjas izmantoşanas dublēt visus dato failus.
Pirms atjaunošanas operacijas, ludzu, pärbaudiet BIOS iestatijumus.
1 Pärbaudiet, vai ir iespējota opcija Acer disk-to-disk recovery (Acer atkopšana no diska uz disku).
2 Pärbaudiet, vai iestatijumam D2D Recovery sadala Main izvēlēta vertība Enabled.
3 Izejiet no BIOS utilities, saglabajot izmainas. Sistema tiks atsakneta.

Piezime: Lai aktivizetu BIOS utilisetu, ieslegsanas pašesto laikā nospiediet taustingu
Lai saktu atkopšanas procesu:
1 Pärstartejiet systemu.
2 Kamér ir redzams Acer logotips, nospiediet vienlaikus taustinus
3 Lai veiktusistemas atkopsanu,izpildiet ekrana redzamas instrukcjas.

Svarigi! Sis lidzeklis aiznem 15 GB diskatminas slepta jusu cieta diska nodalijumā
Servisa pieprasīšana
Starptautiskā cejotāju garantija (ITW)
Jusu datoram ir nodrošinata Starptautiska celotāju garantija (ITW), kas sniedz jums drošibu un miera sajūtu, celojot. Msu vispasaules servisa centru tīkls palīdzēs jums probleμu gadījumā.
Datora komplektacijā irieklauta ITW pase. Šī pase ietver visu nepiecišamo informaciju par ITW programmu. Šajā parocigajā grāmatiā sniegts pieejamo, pilnvaroto servisa centru saraksts. Rūpīgi iepazistieties ar šo pasi.
Lai sanemtu palfdzibu musu atbalsta centros, vienmér glabajiet ITW pasi pa rokai, ipaşi, ja celojat. Ielieciet pirkuma apliecinajumu atloka ITW pases prieksejā vaka iekspuse.
Ja valsti, uz kuru celojat, nav Acer pilvarota ITW servisa dienesta, joprojām varat sazināties ar mūsu birojiem CITAS pasaules valstīs. Lūdzu, meklējiet informaciju vietnē http://global.acer.com.
Pirms zvanat
Lai sanemtu servisu tiešsiaistē, pirms zvanāt korporacijai Acer, lūdzu, sagatavojiet tālakminēto informaciju un zvanot palieciet pie datora. Ar jusu palidzību mēs varam samazināt zvana ilgumu un atrisināt jusu probleμe efektivāk. Ja jusu dators rada klūdu zinojumus vai ja atskan pīkstieni, pierakstiet to Ḥādā veidā, kā tie redzami ekrānā (vai ari pīkstienu gadījūmā to skaitu un secību).
Jasniedz šāda informácija:
Vards un uzvards:
Adrese:
Talruana numurs:
Datora un tã modela tips:
Serijas numurs:
Pirkuma datum:
Problemu novéršana
Sajā nodāla āprakstīts, kā risināt standarta sistēmas problēmas. Problemas gadījumā pirms tehniskāspecialista izsaukšanas, izlasiet šo sadalu. Nopiétrnaku problema risināsnai nepiečiesams atvēr datoru. Nemēginiet atvēr datoru pats; sazinieties ar izplatīṭāju vai pilnvarotu servisa centru, lai sanemu palīdžūb.
Padomi problemu noverşanai
Sis piezimjdators izmanto uzlabotu tehnologiju, kas rada ekranā kūdas zinojumu atskaites, lai palīdzētū risinā problēmas.
Ja sistemas uzrada kIudas zinojumu vai konstatelj kIudas simptomu, skatiet sadalu "Kludu zinojumi" turpmak teksta. Ja problemu nevar atrisinat, szinieties ar izplatitaju. Skatiet nodalu "Servisa pieprasisana" 32 lpp.
Kjūdu ziŋojumi
Ja sanemat kūdas zinojumu, pierakstiet to un veiciet problemas novērsanai nepieciešamās darbības. Šajā tabulā alfabetiskā secība ir norādīti kūdu zinojumi kopā ar ieteicamajām darbībām.
| Klūdu ziŋojumi | Veicamā darbība, lai novērstu problēmu |
| CMOS battery bad | Sazinieties ar izplatītāju vai pilnvarotu servisa centru. |
| CMOS checksum error | Sazinieties ar izplatītāju vai pilnvarotu servisa centru. |
| Disk boot failure | levietojiet diskešu diskdžinī (A:) sistēmas (sāknējamu) disketi un pēc tam nospiediet taustiŋu <Enter>, lai atsāknētu sistēmu. |
| Equipment configuration error | Nospiediet <F2> (ieslēgşanas pašestolaikā), tad nospiediet Exit BIOS utilità, lai atsāknētu sistēmu. |
| Hard disk 0 error | Sazinieties ar izplatītāju vai pilnvarotu servisa centru. |
| Hard disk 0 extended type error | Sazinieties ar izplatītāju vai pilnvarotu servisa centru. |
| I/O parity error | Sazinieties ar izplatītāju vai pilnvarotu servisa centru. |
| Keyboard error or no keyboard connected | Sazinieties ar izplatītāju vai pilnvarotu servisa centru. |
| Keyboard interface error | Sazinieties ar izplatītāju vai pilnvarotu servisa centru. |
| Memory size mismatch | Nospiediet <F2> (ieslēgşanas pašestolaikā), tad nospiediet Exit BIOS utilità, lai atsāknētu sistēmu. |
Ja péc problème nu novéršanas pasakumiem problème joprojām rodas, ludzu, szainieties ar izplatīṭaju vai pilvarotu servisa centru, lai iegūtu palidzību. Dažas problēmas var atrisināt, izmantojot BIOS utilitu.
Reglamentējoši noteikumi undrošības pazinojumi
FCC zinojums
Ši ierice ir pārbaudīta, un konstatets, ka tā atbilst ierobežojumiem, kādi noteikti B klases digitālajām ieričēm saskaṇa ar FCC noteikumu 15. dalu. Šie ierobežojuni nodrośina adekvātu aizsardzību pret kaitigiem traucējuniem dzívojamās telpās. Ši ierice veido, lieto un var izstarot radio frekvences enerɡiju un, ja tā netiek pareizi uzstadīta un izmantota saskaṇa ar instrukcijām, var izraisīt kaitīgus radiosakaru traucējumus.
Taču nav garantijas, ka katra atseviška ierices uzstādīsanas gadījumā nebūs traucejumu. Ja ši ierice izraïsa traucejumus radio vai televizijas raidīsaniak, kurus var noteikt, izslédzot un ieslédzot ierici, lietotājs tiek aicināts noverst traucejumus, veicot vienu vai vairakus no šiem pasākumiem:
- Pagrieziet citā virzienā vai novietojiet citur uztvērēja antenu.
Palieliniet attalumu starp ieri un uztverju. - Pievienojiet ierici kontaktligzdai elektriskajā kēdē, kurai nav pievienots uztvērējs.
Lai iegutu palidzbu, szainieties ar izplatfaju vai pieredzju su radio vai televizijas tehnisko specialistu.
Pazinojums: Ekranizeti kabeli
Visiem savienojumiem ar citam skaitloşanas ieričem jāizmanto ekranizeti kabei, lai nodrošinatu atbilstību FCC noteikumiem.
Pazinojums: Papildierces
Šimapríkojumam var pievienot tikai sertificētas papildierīces (ievadizvades ieriçes, terminālji, printeri utt.), kas atbilst B klases iberožojumiem. Nesertificētu papildierǐcu pievienošana, visticamāk, izraisīs radio un TV uztverśanas traucējumus.
Uzmanibu
Ja lietotajs veic iekartai izmainjas un modifikacijas, ko nav apstiprinjis ražotajs, var tikt anuletas Federalās sakaru komisijas pieškirtas tiesibas lietotājam lietot šo datoru.
Pazinojums: Lietotājiem Kanādā
St B klases digitāla ierice atbilst Kanādas standartam ICES-003.
Atbilst Krievijas tertificesanas noteikumiem

ME61
Modema pazinojumi (tikai noteiktiem modeljem)
Pazirojums lietotajiem ASV
Śs aprikojums atbilst FCC noteikumu 68. dalai. Uz modema ir uzlime, kas papildus citai informacijai satur aprikojuma FCC registracijas numuru un zvanitaja slodzes skaitli (REN). Ja t tiek pieprasita, jums št informacija jasniedz savam telekomunikaciju pakalpojumu operatoram.
Ja jusu tālruṇa aparatura izraisa tālruṇu tīkla traucējumus, telekomunikaciju pakalpojumu operators varīslaicīgī pārtraukt pakalpojumu sniegšanu jums. Ja tas būs iespējams, operators iepriekś par to jūs brīdinās. Taču, ja iepriekšeja brīdināsana nav iespējama, jūs sanemsiet pazirojumu, kad tas būs iespējams. Jūs informēs ari par jūsu tiesibām iesnietg sūdzību FCC.
Jusu telekomunikaciju pakalpojumu operators var veikt izmainas savam iekartam, aprikojumam, procesiem un proceduram, kas var ietekmet jusu aparaturas pareizu funkione sanu. Ja sadas izmainas tiks veiktas, jums ieprieks par to pazinos, lai nodrosinatu iespeju uzturet talaruna pakalpojumus bez pärtraukumiem.
Ja Ši iekārta nedarbojas pareizi, atvienojiet iekārtu no tāruña linijas, lái noteiktu, vaita ir problemas cēlonis. Ja problema izraisa apríkojums, pärtrauciet ekspluataciju un sazinieties ar izstradajuma izplitāju vai pärdevēju.


Uzmanbu: Lai samazinatu ugunsgreka risku, lietojiet tikai AWG standartam Nr. 26, lielakam UL standartam atbilstošu vai CSA certificetu sakaru linjas vadu.
TBR 21
Ši iekārta ir apstiprinata [Padomes Lēmumu 98/482/EK – „TBR 21“] par vienoto gala iekārtu pieslēgumu publishajam komutacijas Telefonu tīklam (PSTN). Tomér sakarā ar to, ka dažādās valstīs starp atseviškiem PSTN pastāv atskirības, apstiprinājums pats par sevi nedod absolutu garantiju tās sekimi gai darbībai katra no PSTN tīkla pieslēgumpunktiem. Problemu gadījūma vispirms szainieties ar iekārtu piegādātāju. Lai iegūtu plāsāku informáciju par valstīm, uz kurām tas attiecas, lūdzu, skatiet "Reglamentējosi noteikumi un drošības pazinojumi" 34 lpp.
Pazinojums lietotajiem Australija
Drošības apsverum dēl pievienojiet tikai mikrofaustinas ar telekomunikaciju ieriču atbilstības uzlimi. Tas attecas ari uz klienta apríkojumu, kas ieprieks markëts kā atlauts vai sertificëts.
Pazinojums lietotajiem Jaunzelande
1 Pievienošanas atlaujas (Telepermit) pieskiršana noteiktam terminalu apríkojuma elementam norada tikai to, ka Telecom apstiprina, ka elements atbilst minimalajiem nosacijumiem, lai to pieslęgtu Telecom tiklam. Atlauja nenorāda uz produkta apstiprinajumu no Telecom puses, kā arī nesniedz nekāda veida garantijas. Bez tam, atlauja negarante, ka noteikts elements visādā zīna darbosies pareizi ar cita rǎžotāja vai modela iekārtu, kurai pieskirta pievienošanas atlauja, kā arī neliecina, ka produits ir saderīgs ar visiem Telecom tikla pakalpojumiem.
2 Šī aparatūrā nevar pie visiem lietošanas apstakliem pareizi darboties maksimalajos ātrumos, kādiem tā ir izstrādāta. Telecom neuznemes nekādu atbildibu par grūtībām, kas var rasties šados gadijumos.
3 Daži parametri, kas nepieciešami, lui nodrošinatu atbilstibu Telecom pievienošanas atlaujas (Telepermit) prasibam, ir atkarigi no apríkojuma (datora), kas saistits ar so icerici. Saistitais apríkojums jäiestata, lui tas darbotos turpmak noraditajās robežās, nodrošinot atbilstibu Telecom specifikacijam:
a Manuali aktivizējot atsevišku zvanu, 30 minūšu laikā nedrīkst veikt vairak nekā 10 zvanu meginājumus uz vienu numuru,
b Starp viena meginajuma beigam un nakama zvana meginajuma sakumu icercei jaatvieno linija uz laiku, ne mazaku par 30 sekundem.
4 Daži parametri, kas nepieciešami, lui nodrošinatu atbilstibu Telecom pievienošanas atlaujas (Telepermit) prasībām, ir atkarīgī no apríkojuma (datora), kas saistīts ar šo ierīci. Lai nodrošinatu darbību atbilstoši Telecom specifikácijām, saistīṭa aparatū răiestata tā, lui veicot automatisku zvantānuz citu numuru, intervās starp viena zvana meginajuma beigām un另一za zvana meginajuma sākumu nebūt u mazāks par 5 sekundēm.
5 Šo ieri ci nedri kst iestatit, lai tā automatiski zvanitu Telecom avarijas dienestam 111.
6 Sai ieriei ir impulsu numura sastadiisanas rezims, bet Telecom standarts ir DTMF tonu numura sastadiisana. Nav garantijas, ka Telecom linijas vienm er atbalstis impulsu numuru sastadiisanas rezimu.
7 Impulsu numura sastadiisanas rezima izmantošana, kad ši erice ir pieslēgta linijai kopā ar citu ieriči, var radīt zvana tinkskëšanu vai troksni, tādējädi izraisot nepareizu atbildes stavokli. Ja rodas šadas problemas, lietotājam NAV jāsazinās ar Telecom avārijas dienestu.
8 lespejams, ka sierce nenodrosinas efektivu zvana nodoanu citai ertcei, kas pieslegta tai pašai linijai.
9 Elektroapgades traucejum gadijumama pastav iespeja, ka siterice nedarbosies. Ludzu gadajiet, laiArkartas lietoisanai butu pieejams atsevisks talrunis, kam barosanu nenodrosina vietjera energosistemca.
Škidro kristālu displeješ tiek ražots, izmantojot augstas precizitätes ražošanas tehnologijas. Neraugoties uz to, var gadīties pikseju kūmes vai pikseji var tikt attēloti kā melni vai sarkani punktiŋ. Tas neietekmē ɪerakstīto attēlu un nav uzskatāms par nepareizu darbību.
Normativā informācija par radioierici

Piezime: Turpmak sniegtā normativā informācija paredzēta tikai modeljiem ar bezvadu LAN un/vai Bluetooth.
Vispārīga informācija
Sis izstrādājums atbilst radiofrekvenču un drošības standartiem valstīs vai regiónos, kuriem tas ir apstiprināts bezvadu lietosanai. Atkarībā no konfiguracijas šim izstrādājumam var but bezvadu raiditāji (piēmeram, bezvadu LAN un/vai Bluetooth moduli) vai arī to var nebūt. Turpmāk sniegtā informacija attecas uz izstrādājumiem, kas apríkoti ar šādām iericem.
Atbilstības deklarācija ES valstīm
Ar šo kompanija Acer deklare, ka šī piezīmvdatoru sěrija atbilst Direktīvas 1999/5/EK fundamentalājām prasībām un citiem spēkā esosiem noteikumiem.
Valstu saraksts, kurās ir spēkā šie noteikumi
ES dalibvalstis, sakot ar 2009. gada julju: Belgija, Dänija, Väcija, Griekija, Spanija, Francija, Tira, Italija, Luksemburga, Niderlande, Austrija, Portugale, Somija, Zviedrij, Apvienotā Karaliste, Igaunija, Latvija, Lietuva, Polija, Ungarija, Čehija, Slovakija, Slovenija, Kipra, Malta, Bulgarija un Rumanija. Lietosana ir atlauta Eiropas Savienības dalibvalstīs, kā ari Norvegijā, Šveicē, Islandē un Litthensteinā. Št iekārta jalieto, stingri ieverojot noteikumus un ierobežojumus valsti, kurā tā tiek lietota. Lai iegūtupapildinformatiću, ludzu, szainieties ar vietējo biroju valsti, kur iekārta tiek lietota. Ludzu, skatiet http://ec.europa.eu/enterprise/rtte/implem.htm, la redzêtu jaunako valstu sarakstu.
FCC radiofrekvenču drošības prasība
Bezvadu LAN Mini PCI karten un Bluetooth karten izstarotă izejas jauda ir ievrojami zemāka par FCC noteiktajiem radiofrekvencu iedarbības ierobežojumiem. Neraugoties uz to, šis sérijas piezimdatori jāizmanto, ierices normalas funkcionësanas laikā péc iespejas samazinot lietotă ja kontaktu:
1 Lietotajiem tiek prasits ieverot bezvadu papildiericu radiofrekvencu lietoisanas drostbas instrukcijas, kas atrodamas katras RF papildierices lietotaja rokasgramata.

Uzmanibu: Lai nodrošinatu atbilstūb FCC radiofrekvenču drošības prasībām, starp integretās, ekrāna dalā iebūvētās bezvadu LAN Mini PCI kartes antenu un tuvumā esosām personām jäievēr o vismaz 20 cm (8 collu) attalums.


Piezime: Bezvadu Mini PCI adapteram ir parrraides daudzveidibas fungcija. Funkcija neizstaro radiofrekvences vienlaikus no abam antenam. Vienu no antenam automatiski vai manuali izvelas lietotajs, lai nodrosinatu labus radiosakarus.
2 Šī iεrice ir paredzēta tikai lietošanai telpās, jo tā darbojas frekvenču diapazonā no 5,15 lɪdʒ 5,25 GHz. FCC pieprasa šo izstradājumu izmantot telpās, frekvenču diapazonā no 5,15 lɪdʒ 5,25 GHz, lái samazinatu kaitigu traučejumu iespējānbu apvienotā kanāla mobilajās satelitu sistēmās.
3 Augstas jaudas radiolokacijas stacijas ir joslu no 5,25 Izd 5,35 GHz un no 5,65 I dz 5,85 GHz primarie lietotaji. Sis radiolokacijas stacijas var izraisit traucjumus un/vai sabojat so ierici.
4 Nepareiza uzstadiisana vai nesankcioneta lieto sana var izraisit kaitigus radiosakaru traucjumus. Tapat, parveidojot ieksejo antenu, tiks anuleta FCC certifikacija un jusu garantija.
Kanāda — Mazjaudas radiosakaru ierīces, kurām nav vajadzīgas licences (RSS-210)
Cilveku paklaušana radiovilnlu laukam (RSS-102)
Piezimjdatora sirija darbina zema pastiprinajuma iebuvetas antenas, kas neizdala radiovilnu lauku, kas parsniedz Kanadas veselibas robezas parastiem iedzivotajiem; ievrojiet 6. droibas noteikumu, ko var iegut Kanadas veselibas timekla vietne www.hc-sc.gc.ca/rpb.
VieglaRokasgrāmata