TRAVELMATE 5742 - Laptop ACER - Ingyenes használati útmutató
Találja meg az eszköz kézikönyvét ingyenesen TRAVELMATE 5742 ACER PDF formátumban.
Töltse le az útmutatót a következőhöz Laptop PDF formátumban ingyenesen! Találja meg kézikönyvét TRAVELMATE 5742 - ACER és vegye vissza elektronikus eszközét a kezébe. Ezen az oldalon közzé van téve az eszköze használatához szükséges összes dokumentum. TRAVELMATE 5742 márka ACER.
HASZNÁLATI ÚTMUTATÓ TRAVELMATE 5742 ACER
Általános felhasznález utmutató
TravelMate sorozatu hordozható szamitógep
Modellszám:
Sorozatszám:
Vásárlás időpontjá:
Vásárlás helye:
Biztonsági és a kényelmes használattal kapcsolatos informácik
Biztonsági tudnivalók
Kérjuk, gondosan tanulmányozza át az alábbi utmutatást. Késöbbi tajékoźdás céljából orizze meg ezt a dokumentumot. A terméken feltüntetét figyelmezteteseket és tudnivalókat mindig vegye figyelermeb.
A keszülék kikapcsolása tiszítías elött
Tisztlatas elott huzza ki a halózati csatlakozót a dugaszolájzataból. Ne használjon folyékony vagy Hajtógázos tisztlítószert. A tisztlíshoz használjon vizzel nedvesitett kendőt.
A keszülk csatlakoztatásával és leválasztásával kapcsolatos figyelmeztéték
A tápegységnek az elektromos halózatra való csatlakoztatása és arról való levalasztása során kövesse az alábbi utmutatást:
A pátegység telepitésés à tápkábelnek az elektromos halózati aljzatba való csatlakoztatása elott végezze el.
A tapegységnek a szamítogepról valé levalasztása elott húzza ki a tákábelt.
Ha a rendszer tobb áramforrással is rendelkezik, akkor a rendszer tapellatásanak megszüntetését az összes pátegység összes pátkábelének lehúzásával végezze el.
A hozzaférhétoséggel capcsolatos figyelmeztetések
Gyözödjön meg arról, hagy a tapkábel csatlakoztatára használt aljzat konnyen hozzaférhétó, és a lehető legközelebb van a készüléket muködtető személyhez. Ha meg kell szakitänia a készülék áramellátását, akkor ezt a tapkábelnek az elektromos aljzatból valo kihúzásával tegy meg.
A mellekelt vakkartyakkal kapcsolatos figyelmeztêtes (csakBizonyos modelelek esetében)
Amikor On kězhez kapja a számítógép, akkor annak kártyafoglataiban egy-egy vakkártya talalhato. A vakkártyák a használaton kívúli foglalatokat védik a portól, a fémes tárgyaktól és az egyé szennyezódéşktól. Örizzeme meg a vakkártyákat, a késöbbiek során meg szüksége lehet rajuk.
ELOVIGYAZATOSSAGa hallgatashoz
Hallása védelme érdekében kövesse ezeket az utmutatásokat.
Fokozatosan növelje a hangerőt, amig tisztan és kényelmesen nem hallja.
- Ne nõvelje a hangerõt, miután fulei hozzaszoktak a hangerhöz.
Hosszabb ideig ne hallgasson nagy hangerővel zenét.
iv
A zajos kornyezet kirekesztésére ne növelje a hangerót.
Csökkentse a hangerőt, ha nem halljá a kölében lévo emberek besédét.
Figyelmeztetések
- Ne használjá a készüléket viz közelében.
- Ne helyezze a keszüléket labilis kocsira, állványra vagy asztalra. A keszülék leeshet és sulyosan megserülhet.
- A rések és nyílások a készülék megbizható muködéséhez szükséges szellőest szolgálák, illetve védik a gépá túlmegedepestő. A nyílásokat nem szabad elzární vagy letakarni. A nyílásokat soha nem szabad a készüléket ágyra, heverőre, takaróra vagy hasonlo félütres helyezve elzární. A készüléket soha nem szabad füto test föle vagy melle helyezni, valamint beepîteni, hacsk nincsBiztosítva a megfelelo szellózese.
- Soha ne dugjon a burkolat résein keresztül tárgyakat a készülékbe, mert veszélyes feszült séget hordoz ponthoz érhet hozza, vagy rovidzárlatot okozhat, ami tuzhöz vagy áramütéshez gezethet. Soha ne öntson folyadékot a készülékre vagy a készülékbe.
- A belso összetevok sérülésenek és az akumulátor szivárgásanak elkerülésé érdekében ne helyezze a keszüléket rezgő felütre.
- Soha ne használja sportolás vagy edzes kozben, illetve barmely más oyan környezetben, ahol a rezgések miatt varatlan rovidzárak akulhatnak ki, megrongálóhatnak a motoros eszközok – merevlemez, optikai meghajtó –, vagy veszélyt jelenthet a litium ionos akkumulator.
- A keszülék also oldala, a halózati adapter és a szelőzonyilások körüli részek felforrosodhatnak. A sérlések elkerülésé érdekében ne érintse meg ezeket a részeket.
- A keszülk és tartozékai kismérető alkatrészeket tartalmazhatnak. Tartsa ezeket távol a kisgyermekektől.
Az elektromos energia használata
- A keszüléketCsak a címkén feltüntetett feszültseggel szabad üzemeltetni. Ha nembiztos abban, hogy milyen feszültseg áll rendelkezsère, lépjen kapcsolatba a kereskedövel vagy a helyi aramszolgaltatóval.
- Ne tegyen semmit a halózati kábelre. Ne tegye a keszüléket oyan helyre, ahol raléphetnek a halózati kábelre.
Ha hosszabbitó kabel hasznal a készülékkel, akkor ellenőrizze, hogy a hosszabbitóba csatlakoztatott berendezesek összesített áramfelvetele nem haladja-e meg a hosszabbitó kabelnevleges teljesitményét. Azt is ellenőrizze, hogy a fali dugaszolájzathoz csatlakoztatott berendezesek összesített áramfelvetele nem haladja-e meg aBiztositéknevleges teljesitményét. -
Az elektramos dugaljat, elosztó vagy csatlakozót ne terhelje tuli tulságosan suk készülék csatlakoztatásával. Az összesíttet aramfelvétel ne haladja meg a mellekáramkor névleges teljesitményenek 80 százalekát. Ha elosztó használ, akkor a terhelés ne haladja meg az elosztó névleges terhelhetőssegenek 80 százalekát.
-
A keszülk halózati adaptere háromerus, foldelt dugóval van elláta. A dugócsak foldelt elektramos aljatba ilieszkedik. A halózati adapter csatlakoztatáse elott győzdjön meg arról, hagy az elektramos dugalj megfeleloen födelve van. Foldeletlen dugaljba ne csatlakoztassa a dugót. Ha tanácsra van szüksége, forduljon villanyszerelóhoz.

Figyelem! A födelö érintkezö aBiztonságot szolgálja. Megfelelo födelés nélküli elektramos dugalj használata áramütéshez és/ vagy sérüléshez gezethet.

Megegyzés: A födelö érintkező a kozeli egyé elektramos eszközok által generaliert, a keszülék teljesítényét esetlegesen rontó zaj Ellen is jo védelmet biztosít.
- A keszülk széles feszültsegztartományiban mücködtethető (100 és 120, illetve 220 és 240 V bözötti feszültsegú váltakoz árnamal). A keszülkhez mellekelt tákábel megfelel a vásárlási országban vagy terülen hatályos előirásoknak. Ha más országban vagy terülen szeretné mücködtetni a keszüléket, akkor használjon az adott helyen érvényes előirásoknak megfelelő tákábelt. A tákábellekapcsolatban további informácít a viszonteladóktól és a szolgátatóktól kaphat.
A készülék szervizelése
Ne kiserleetzzen a termek javitásával, mert a felnyitással vagy a burkolat eltavolitásával vesélyes feszültsegnek vagy más veszélyeknek teheti ki magát. Bízzon minded javitást a szerviz szakképzett munkatársaira.
A következő esetekben húzza ki a készülék halózati csatlakozóját, és forduljon a szerviz szakképztatt munkatársaiho:
Ha a halózati kabel vagy a csatlakozó sérult vagy meghorzsolódt.
Ha folyadekot ontotke a keszulekbe.
Ha a keszüléket esonek vagy viznek tették ki.
Ha a keszüléket leejették vagy a burkolata megsérult.
Ha a keszülk muködésében olyan jalentós valtozas állt be, ami javitás szükségességère utal.
Ha a keszülék - a kezelési utasítás betartása mellett - nem mückodik megfeleloen.

Megegyzés: Csak azokat a beallitásokat modosítsa, amelyeket a kezelési utasítás említ, mivel az egyéb beallitások modosítása károsodáshoz gezehet, és szakképzett technikus szárá is hosszan tartó munkát jelenthet a normál mülödési körülmények visszaállítása.
Utmutatas az akumulatorBiztonsagos hasznalatahoz
A notebook litium ionos akkumulátort tartalmaz. Ne használa jedves vagy korrozióktő környezetben. Ne tegye a keszüléket hófforásra vagy hófforás közelébe, magas hórmárskletú helyre, kozvetlen napfényre, mikrohullámú sütöbe, nagynomású tárolóba, ilètve ne tároljá és ne hagyja ilyen helyen, továbbá ne tegye ki 60^ (140 °F)-nál nagyobb hórmárskletnek. Ha figyelmen kívül hagyja a fenti utmutatást, akkor az akkumulátorból sav szivároghat, az akkumulátor felforósodhat, felrobbanhat vagy meggyulladhat, ami serüléshez és/vagy anyagi kárhoz gezethet. Ne szürjfe, ne nyissa kei és szerelje szét az akkumulátor. Ha az akkumulástor szivárog, és Öl erintkezsésbe kerül a kiszivárgott folyadékkal, akkor gondosan öblitse le vizzell, majd azonnal forduljon orvoshoz. Biztonságik okokból és az akkumulátor élettartamának növelse céljából az akkumulátor csak 0 °C (32 °F) és 40^ (104 °F) közötti hórmárskleten tölthető.
Az uy akumulatorokCsak két-harom teljes feltoltés es lemerités után érik el a maximális teljesitményuket. Az akumulátor tobb száz alkalommal is feltolthetó es lemerithetó, de idövel csökken a teljesitménye. Ha az akumulátoros üzemidō érzekelhetöen rovidebbé valik a megszokottnól, akkor vásároljon uy akumulátort. Kizárólag jováhagyott akumulátor használjon, és kizárólag a készülékhez jováhagyott tölóvel végéze az akumulátor toltését.
Az akkumulátortCsak azeredeti celjára hasznalja.Soha ne hasznaljon serulttolt ot vagy akkumulátort. Ne zárja rovidre az akkumulátort.Rovidzár akkor keletkezhet, ha valamilyen femtárgy,peldául éme,iratkapocs vagy toll rovidre zárja az akkumulator positiv (+) es negativ(-)érintkezójt.(Az akkumulator erintkezöi a fémból késztc síkok.) Erre peldául akkor kerülhet sor,ha zsebben vagy tarcaban visz magával tartalek akkumulátort.A rovidzár miatt megrongálódhat az akkumulator és a róvidzart okozó tírgy.
Az akumulátor élettartama és kapacitása csökkenhet, ha az akumulátor forró vagy hideohelyen, pédául nyáron vagy telen zárrgépkocsiban marad. Mindig的概率já 15^ és 25^ (59°F és 77°F) kozötti homérskleten tartani az akumulárot. A tul forró vagy tuli hideg akumulátor alkalmatlan leht a készülk áramellatasára, meg akkor is, ha teljesen fel van tõltve. Az akumulátor teljesitményét különösen a fagypont alatti homérsklet rontja.
Ne dobja tuzbe az akkumulátort, mert felrobbanhat. Az akkumulator sérulés határsa is felrobbanhat. Az elhasznált akkumulatoroktól a helyi jogszabályokat betartva szabaduljon meg. Ha lehetséges, gondoskodjon az akkumulator ujrahasznositásáról. Ne dobja ki az akkumulátort a házartási hulladékkal együtt.
A verzetek nélkūli keszülékek érzekenyek lehetnek az akkumulator miatt jalentkező interferenciára, amely befolyasolhatja a teljesitményuket.
Az akkumulátor cseréje
A hordozhato szamitogep litium akkumulatorral mukodik. Az akkumulatort kizarolag a keszülekhez mellekeltel azonos típusura cseréle je. Maspajta akkumulator hasznalata tuzveszellyel vagy robbanásveszellyel járhat.
Az optikai meghajtóra vonatkozó figyelmeztétés (csakBizonyos modellek esetében)
Vigyázat: A keszülék lézeres eszközt tartalmaz, és ennek alapján 1-ES OSZTÁLYÜ LÉZERES TERMÉKNEK minősül. Ha rendellenességet észlé a keszülék működésében, forduljon a legközelebbi HIVATALOS szervizközponthoz.
A lézersugárral való közvetlen érintkezés elkerülèse érdekében ne nyissa fel a készülék hazát.
A Telefonvonalakkal Kapcsolatos biztonsagi tudnivalok
- A berendezés javításakor vagy szétsereléskor mindig ki kell húzni Telefoncsatlakozó t fali aljzataból.
- Ne használá jatalefont (hacsak nem vezetek nělkūli típus) villamlas idején. A villamlas miatt fennáll a kozvett elektromos áramütés veszélye.

Figyelem! Az összetevők hozzaadásakor vagy cseréjekorBiztonsági okokból ne használjon nem megfelelo alkatrészeket.AVASárási lehtoségekról kérjen tajékoztatást a viszonteladótl.
Uzemeltetési környezet

Figyelem! Biztonsagi okokból kapcsolja ki az összes gezetek nélkūlī, rádiós Ṭvitelt végzó eszközt, ha a hordozhato számítogépet az alábbi körülmények közöttt használjá. Ilyen eszkötz tòbbek közöttt, de nem kizárólagosan a gezetek nélkūlī halózati csatoló, a Bluetooth-csatoló és a 3G kommunákciós csatoló.
viii
M Mindig tartsa be az adott terülen érvényes elóírasokat, és mindig kapcsolja ki a készüléket, ha a hasznalata tiltott, illetev interferenciát vagy kárt okozhat. A készüléket csak a normal hasznalati helyzetben muködtesse. Normál hasznalat mellett, illetev az antennajat az embari testtól legalább 1,5 cm-re helyezve (lásd az alábbi ábrát) a készülék megfelel a radiófrekvenciás hatásoknak való kitételre vonatkoz elóírasoknak. A készüléket tartsa tívol a fémtárgyaktól, és a testétól mindig tartsa legalább a fent említatt vapolságra. Az adatifjlok és az uzenetek sikeres átviteléhz e az eszköznek jó minóségǔ halózati kapcsolatra van szüksége. Egyes esetakben késlekedhet az adatifjlok és az uzenetek továbbītsa, amig ilyen kapcsolat elérhetové nem valík. Üglyeljenarra, hogy az átvitel befejezeséig betartsa a fenti, a tvolságtartásra vonatkoz elóírasokat. A készülék egyes részei magnesesek. A készülék magához vonzhatja a fémes anyagokat. A halókészüléket viselő személyek ne tartsák a halókészülékker ellatót fulókhöz a készüléket. Ne helyezzen bankkártyat vagy egyeb magneses adattároló eszközt a készülékö konzelébe, mert ezzel a rajta tárolt informácik törlését okozhatja.
Orvosi keszülékek
A rádiós atvitelt végző eszközkö, pédául a gezeték nélküli Telefonok használata miatt zavarok jelentkezhetnek az elégctelen védelemmel ellátott orvosi készülékek mūködesében. Ha barmilyen kérdese van, illeteve meg szerétrne tudni, hogy az adott készülék megfelelo árnyékolással rendelkezik-e a külso rádiofrekvciías energiaíval szemben, akkor forduljon orvoshoz vagy a készülék gyartójához. Az egészsegügyi intézményekben, ha barmilyen erre utaló szabály van érvényben, kapcsolja ki a készüléket. A körházakban és az egyeb egészsegügyi intézményekben suk helyen használnak oyan készülékek, amelyek érzékenyek lehetnek a külso rádiofrekvciías hatásokra.
Szivritmus-szabályozók. A szivritmus-szabályozók gyartoinak ajánlasai szerint a gezeték nélkūli keszulékek és a szivritmus-szabályozók között az esetleges interferenciák elkerülèse érdekében legalább 15,3 cm-es távolságot kell tartani. Ezek az ajánlasok összhangban vannak a gezeték nélkūi technológákkal foglalkozó fuggetlen kutatóintezetak ajánlásaival. A szivritmus-szabályozót használó személyeknek a kovetkezökre kell ügelyniúk:
A keszüléket mindig legalább 15,3 cm-re kell tartani a szivritmus-szabályozóól.
- Bekapcsolt allapotban a keszüléket nem szabad a szivritmus-szabályozó közelében hordozni. Ha interferencia fellopese velelmezhető, akkor ki kell kapcsolni vagy távolabbra kell helyezni a keszüléket.
Halókészülékek. A digitalis gezeték nélkū lészülékek egy része interferenciát okoz egyes halókészülékeknél. Ha interferenciát tapasztal, akkor forduljon a szolgaltatóhoz.
Jármúvek
A radiófrekvciés jelek zavarhatják a helytelenul beszerelt vagy rosszul árnyékolt elektronikus rendszerek, pédául az elektronikus befecskendežǒ rendszerek, az elektronikus blokkolásgatlók, az elektronikus sebességszabályozók és a légzsákrendszerek mūködesét. További informáciot a jarmú vagy az utolagosan beszerelt készülék gyártójától, ilteve annak képviselójétól kaphat. A készülék javitásat vagy jarmübe való beszerelésétCsAK szakképzett személy vegezheti. A helytelen beszerelés vagy javítás veszelyes lehet, és a készülékre vonatkozo garancia érvénytelenné valásat okozhatja. Rendszeresen ellenőrizze, hogy a jarmú minded gezetek nélkuli készüléke helyesen van-e rögzítve, és megfeleloen mūködk-e. A készülékkel és annak reszegységeivel vagy tartozekaival azonos fulkében, rekeszben ne tároljon gyulékony folyadékot, gázzt vagy egyeb robbanékony anyagot. Ha légzsákkal felszerelt jarmüben utazik, akkor ne feledje, hogy a légzsák nagy erövel nyilhat ki. A légzsák föle, ilteve a légzsák kinyilasi teruletere ne helyezzenen semmilyen tárgyat, ideérte v a rögzítétts é a hordozhato gezetek nélkuli készülékek is. A jarmú belterébe hibasan beszerelt gezetek nélkuli készülékek a légzsák kinyilásaker súlyos seruléseket okozhatnak. A készülék repulógépen való használate pilos. Mielott repulógépre szállna, kapcsolja ki a készüléket. A gezetek nélkuli eszközknek a repulógépen való használate veszelyeztetheti a repulógép mūködesét, megzavarhatja a gezetek nélkuli telefonhalózatot, ilteve ütközhet a jogszabályok előirásaival.
Robbanásveszélyes környezetek
Az esetlegesen robbanásveszélyes levegőjǔ helyeken kapcsolja ki a készüléket, és vegye figyembe az összes jelzést és egyeb utasítást. Esetlegesen robbanásveszélyes levegőjǔ helyek mindazok, ahol normal esetben a jarmüvek motorjänak leallitására szolitanák fel. Az ilyen helyeken a szikrák robbanást, illetve személyi sérüléshez, rosszabb esetben halalhoz gezető tüzet okozhatnak. Az üzemanyagtoltő és a szervizállomások teruletén kapcsolja ki a notebookkot. Az üzemanyagraktárakban és az -elosztó létésítményekben, a vegyi üzemekben és a robbantási teruleteken gondosan tanulmányozza a rádiós készülékek hasznalatára vonatkozo előirásokat. Az esetlegesen robbanásveszélyes levegőjǔ teruletek altalaban – de nem minded esetben – jelöléssel látják el. Ideertendők a Hajók fedélközei, a vegyi szallitásí és tároló létésítmények, a cseppolyósított foldgáznt (pédául propán-butánt) használó jarmüvek, illetve azok a helyek, ahol a vegő vegyi anyagokat vagy egyé részecskeket, pédául port, gabonaport vagy fémport tartalmaz. Ne kapcsolja be a notebookkot azokon a helyeken, ahol tilos a mobiltelefonok használata, illetve ahol interferenciát vagy egyé kBART okozhat.
Segélykérő hívasok
Figyelmeztétés: A keszülékkel nem lehet segelykő hívást bonyolítani. Ha segelykő hívást szeretne indítani, akkor mobiltelefonnal vagy egyeb telefonrendszerrel kek deményeznie a hívást.
Hulladékzelési utmutatas
Ha tobbé már nincs szüksége a készülékre, ne dobja a szemétbe.
A környezetszennyezés csökkentése és a globális környezet leheto
legnagyobb mértékü védelme érdekében kérjuk, gondoskodjon a
készülék ürafelhasznalásárol. Az elektramos és elektronikus hulladékok
(Waste from Electrical and Electronics Equipment, WEEE) kezelésével
kapcsolatos szabályokróla http://www.acer-group.com/public/
Sustainability/sustainability01.htm címen talál informácikat.

Higanytartalom
Az izzó tartalmazó kivetítok és a nem LED-es háttérvilagítással ellatott LCD/CRT monitorok és kijelzők esetében: Az ebben a termékben talalható fényforrás/fényforrások higanyt tartalmaznak, és a helyi, állami vagy szövetségi jogszabályok előirásai szerint újra kell hasznosítani öket. További informácikat az Electronic Industries Alliance

www.eiae.org címū webhelyén talál. Ha a fényforrások Újrahasznositásával kapcsolbatan további tajékoztatást szeretne kapni, látogasson el a www.lamprecycle.org webhelyre.
ENERGY STAR

ENERGY STAR
Az Acer ENERGY STAR minősítésell ellatott termékeivel a szolgáltatasok és a teljesítány teren tett lemondások nélkül nyílik lehtőság az energiagetakaritärsa, ezálal a takárékoskodásra és a környezet védelmere. Az Acer büszke arra, hogy termékei ENERGY STAR minősítésell vannak ellatva.
Mi az ENERGY STAR?
Az ENERGY STAR minősítésel ellatott termékek kevesebb energiát fogyasztanak, és az Amerikai Egyesült Államok Környezetvédelmi Hivatala (U.S. Environmental Protection Agency) ölşegtitik az üvegházhatást okozó gázok kibocsatásanak mér séklését. Az Acer elkötelezte magat amellett, hovy világszerte oyan termékek kinaljon a vásárlóknak, amelyek kevesebb energiát fogyasztanak, igy elşegtitik a takarekossagot és a környezet védelmét. Minél több energiát tudunk megtakaritani a magasabb energiahatékonsyság réyen, annál kevesebb üvegházhatást okozó gázct kell kibocsatanunk, ami ölalcsökenthető az eghajlatvaltozások valószinüsege.
További informácio: http://www.energystar.gov vagy http://www.energystar.gov/powermanagement.
Az Acer ENERGY STAR minősítésel ellatott termékei:
Kevesebb hõt allitanak elö, igy kevesebb hütest igenyelnek és melegebb környezetben is üzemeltethetők.
10 és 30 perces késeltetéssel rendez automatikusan átkapcsolnak a képernyő és a szamítógép alvo modjába.
Lehetové teszik a szamitógep alvo módból történő felébresztését a billentyüzet vagy az eger segitségével.
- A szamítogepek tobb mint 80%-kal kevesebb energiaţ fogyasztanak alvo modban
Az ENERGY STAR és az ENERGY STAR jelzés az Amerikai Egyesült Allamokban regisztralt jelzés.
A kényelmes használattal kapcsolatos tanácsok és informácói
A szamitogép-hasnálok hosszasabb munka után Sokszor szem-és fejfájasra panaszkodnak. A tobb orán keresztül szamitogép elott dolgoz szemelyek fizikai sérului veszélyenek is ki vannak tève. A hosszú munkavégzési idöszakok, a helytelen testtartás, a hibás munkavégzési szokások, a stressz, a rossz munkakörulmények, a személyes egészsegi allapot és egyeb tenyezők jelentós mertékben novelik a fizikai sérului veszélyét.
A helytelen szamitogép-hasznalat keztócsatorna szindróma, ingyulladás, inburokgyulladás vagy egyeb mozgásszervi panaszok kialakuláshoz gezethet. A kovetkező tunetak jelentkezhetnek a kézben, a csuklókban, a karokban, a vällban, a nyakban és a hatban:
- zsibbadtság, égő vagy bizsergő érzés
sajgás, fájdalom, nyomásérzékenység
fajas,duzzanat,luktetes
merevség, feszulés - hidegség, gyengeség
Ha a fenti tūneteket tapasztalja, illetve bármilyen más imétlódō vagy folyamatosan jelentkez kényelmetlenséget és/vagy fajdalmat érez a számítogép hasznalata miatt, azonnal forduljon orboshoz, illetve tajékoztassa a vallatának egészségügyi ésBiztonsági részlegét.
Az alábbi részben a szamítogép kényelmesebb hasznalatahoz talál tanácsokat.
A komfortzóna megkeresése
A monitor allását módosítva, lábtó használatával vagy a szék magasságanak beallitásával a lehető legnagyobb kényelemben helyezkedjen el, és keresse meg saját komfortzónaját. Vegye figyembe a következő tanácsokat:
- ne maradjon tól sukáig ugyanabban a poźcióban
lehetoleg ne doljon elore, es ne hajlitsa hatra magat - rendszeresen alljon fel és járkaljon egy kicsit, felszabadítva a combizmait a nyomás aló
- rovid szuneteket tartva pihentesse a nyakát és a vallait
ne fesztse meg az izmait, ne rantsa meg a vallat
a külso kijelzöt, a billentyüzet et és az egeret helyesen, kényelmesen elérhétő módon helyezze el
ha többet tekint a monitorra, mint a nyomtatott dokumentumokra, akkor a nyak terhelésénék csökkentése érdekében helyezze a monitort az asztal közepère
Ugyeljen a látársa!
A monitor tobb oran keresztul tarto nezese, a rossz szemuevg vagy kontaktlencse, a ragyogó fenyek, a helyiség tuli eros megvilagitasa, a gyengén fokuszalt képernyo, a kisméretu betuk hasznalata es az alacsony kontrasztu kijelzok megterhelik a szemet. Az alabbiakban a szem terhelésenek csökkentésere adunk javaslatokat.
XII
Szem
Gyakran pihentesse a szemét.
- A monitorról elève a tekintétét, és egy tívoli pontra nézve rendszeresen tartson szūnetet.
Pislogjon gyakran, ezzel megelözi a szemének kiszáradásat.
Kijelzö
Tartsa tisztan a kijelzot.
- A fejét tartsa a képernyǒ felsǒ élenél magasabban, igy lefelé kell irányítania a tekintétét, amikor a képernyǒ kézepère nez.
- A kijelző fényerejét és/vagy kontrasztját kényelmes, a szöveg olvasható és a grafikák tiszta megjelenítésétBiztosító szintre allitsa be.
A ragyogast es a tukrozodeseket a kovetkezokkel csokkenthi:
- az ablak vagy az egyeb fenyforras felé a képernyő szélet fordítsa
-
fuggönnyel, redönnyel vagy napellenzövel csökkentse a helyiség megvilágítását
hasznaljon iranyitott megvilagitast
modositsa a kijelzobetekintesi szogét
hasznaljon ragyogáscsokkentó szurót
hasznaljon képernyöellenzöt, pédául egy a kijelzö felsö szélevel párhuzamos kartonlapot -
Kerülje a kěpernyő kényelmetlen betekintési szögu beallitásat.
Huzamosabb ideig ne nezzen eros fenyforrasba, peldaul nyitott ablakon kifelé.
A megfelelo munkavégzési szokások kialakítása
A következő munkavégészí szokásokat felveve a számítógp használatát kevésbé megerölteóv és termelékenyebbe teheti:
- Rendszeresen és gyakran tartson szunetet.
Végeznen nyú'tógyakorlatokat.
Gyakran szelőzteussen.
Tornásszon rendszeresen, tartsa karban az egészségét.

Figyelem! A födelő érintkező a biztonságot szolgáljá. Megfelelő födelés né Javasoljuk, hogy ágyró l vagy kanapéról ne használaja a számítógépet. Ha nem tudja az ilyen helyzeteket elkerülni, akkorCsak róvid ideig dolgozzon, rendszeresen tartson szünétet, illetev végezzen nyúftógyakorlatokat.

Megjegyzés: Tóvábbi informaciók: "Jogszabályi és biztonsági tudnivalók" a 37. oldalon.
Az elso lépések
Köszönjuk, hovy mobil szamítástechnikai feladatai elvégzéséhez egy Acer sorozatú hordozható szamítógépet választott!
Utmutatók
Minden segitsseget szeretnénk megadni Önnek üj Acer gépenek hasznalatahoz, ezert a kovetkezo utmutatókat dolgoztuk ki:
Az elso a Kezdok szamara... poszter, amely segitségere lesz a szamitogep uzembe helyezésenél.
A TravelMate sorozat elerhetó Általános felhasználoi utmutató a TravelMate terméksorozat összes tagjára vonatkozó hasznos tudnivalókat tartalmaz. Olyan általános temakörök tárgyal, mint az Acer eRecovery Management, a billentyúzet használata, a hangrendszer stb. Felhívjuk a figyelmét arra, hogy jellegénél fogva az Általános felhasználoi utmutató és az alábbiakban emlitétt AcerSystem User Guide egyes esetakben olyan funkciókra vagy szolgaltatasokra is hivatkozhat, amelyeket csakBizonyos típusok támogatnak, de az On által megvasárolt típus esetében nem feltétlenül erhetök el. Az ilyen esetaket a szövegben a „csak bizonyos modelelek esetében" vagy hasonlo megjegyzés jalöli.
A Róvid utmutató ismerteti új számítogépének alapvető jellemzöit és funkciót.
A számítogép meg hatékonyabb hasznalatával kapcsolbatan az AcerSystem User Guide tartalmaz utmutatást. Ez a kézikönyv részletes informácıkat tartalmaz például az elore telepitét segédprogramokról, az adat-helyreállitársól, a bôvitési lehetosegegról és a hibaelhárítársól. Emellett ismerteti a garanciával kapcsolatos tudnivalókat, valamint a számítogépre vonatkozo általános szabályokat ésBiztonsági elóirásokat. A kézikönyv Portable Document Format (PDF) formátumu, és gyárilag telepíte van a számítogépre. Megnyitásához kõvesse az alábbi lépéseket:
1 Kattintson a következő elementre: Start, Minden program, AcerSystem.
2 Kattintson a kovetkező elemre: AcerSystem User Guide.

Megjegyzés: A fajl megtekintéséhez szükség van az Adobe Reader alkalmazásra. Ha az Adobe Reader nincs telepîte a számítógépre, akkor az AcerSystem User Guide elemre kattintva először az Adobe Reader telepîtôprogramja jelenik meg. A telepîtes elvégzséhéz kövesse a képernyǒn megjelenő utasításokat. Az Adobe Reader használatával kapcsolatban a Súgo és támogatás menüben talál útmutatóst.
xiv
A számítógép gondożása és tippek a használathoz
A számítógp be- és kikapcsolása
A szamitógp bekapcsolásahoz egyszerüen nyomja meg és engedje fel az LCD kijelő alatt, a gyorsindítás gombok mellett elhelyezkedő bekapcsoló gombat. A bekapcsoló gomb helyét ilteðen lásd: Róvid utmutató.
A kikapcsoláshoz az alábbi mûveletek egyíkt kell élvégeznie:
Hasznalja a Windows Kikapcsolás parancsát
Kattintson a Inditas majd a Kikapcsolas gombra.
Hasznalja a bekapcsoló gombat
Az alvás gyorsbillentyüvel (

Megegyzés: Ha a szamítógépet nem tutja a szokásos mádon kikapcsolni, akkor nyomja meg és négy;másodperçnel hosszabb ideig tartsa lenyomva a bekapcsoló gombot. Ha kikapcsolta a szamítógépet és üjra be szeretné kapcsolni, akkor a bekapcsolás elött legalább két masodpercig varjon.
A számítógp gondoźása
Szamítógepe kivalóan fogja Önt szolgánlí, ha vigyáz rá.
- Ne tegye ki a szamitogépet kozvetlen napsugárzásnak. Ne helyezze hóforras, pédául fütötest kozelébe.
- Ne tegye ki a szamitogépet 0^ ( 32^ ) alatti vagy 50^ ( 122^ ) feletti hómér sékletnek.
- Ne tegy ki a szamitogepet magnes mező hatásanak.
- Ne tegye ki a szamitogépet esonek vagy nedvességnek.
- Ne öntson vizet vagy más folyadékot a szamítogepré.
- Ne tegye ki a szamitogépet erös utésnek vagy rázkódasnak.
- Ne tegye ki a szamitógépet pornak és piszoknak.
- Ne tegyen semmilyen tárgyat a számítogepré.
- Ne csapja le a kijelzöt, amikor lehaitja.
- Soha ne tegya szamitogepet egyenetlen felületre.
A halózati adapter gondoźása
Nehany tanács a halózati adapter gondoźásohoz:
Az adaptert semmilyen mas keszulékhez ne csatlakoztassa.
- Ne lépjen rá a halózati kábelre, és tegyen rá súlyos tárgyakat. A halózati kábelt és az egyeb kábeleket úgy helyezze el, hogy ne akadályozzák a környezétében levő személyek mozgását.
- Amikor kihúzza a halózati kábelt, akkor ne a kábelt, hanem magát a csatlakozót húzza.
- Hosszabbíto kábel használatakor a csatlakoztatott berendezésk összesített névleges áramfelvetele nem haladhatja meg a hálózati kábel névleges teljesitményét. Az azonos fali dugaszolájzatba csatlakoztatott berendezésk összesített névleges áramfelvetele nem haladhatja meg aBiztositék névleges teljesitményét.
Az akkumulátor gondoźása
Nehany tanács az akkumulátor gondoźáho:
- Csere esetenCsak azonos tipusu akkumulatort hasznaljon. Az akkumulator eltavolitasa vagy csereje eltoh kapcsolja ki a szamitogepet.
- Ne probálja kibontani az akkumulátort. A glyermekektól tartsa távol.
- Az elhasznált akumulátoroktól a helyi jogszabályokat betartva szabaduljon meg. Ha lehetséges, gondoskodjon az akumulátor Újrahasznosításáráól.
Tiszítás és javítás
A szamitógp tiszttásakor kovesse az alábbi lépéseket:
1 Kapcsolja ki a szamitogepet, es vegye ki az akkumulatorcsomagot.
2 Húzza ki a halózati adaptert.
3 Puha, nedves Kendőt használjon. Ne használjon folyékony vagy Hajtógázos tiszítószert.
Ha az alábbiak valamelyike történik:
- a szamítógépet leejtették vagy a burkolata megserült
- a szamitogep nem mukodik megfeleloen
Lásd: "Gyakran ismetlódó kerdések" a 32. oldalon.
Biztonsági és a kényelmes használattal kapcsolatos informácik
III
Biztonsagi tudinalok
iii
Az optikai meghajtóra vonatkozó figyelmeztetés
vii
(csakbizonyosmodellekesetében)
yj
Uzemeltetési környezet
viii
Orvosi keszülékek
ix
Jarmuvek
ix
Robbanásvezélyes környezetek
ix
Segélykő hivások
X
Hulladékzeleşi utmutatas
X
Higanytartalom
X
ENERGY STAR
A kényelmes hasznalattal kapcsolatos tanácsok és
xi
informaciok
111
Az elso lépések
xiii
Utmutatok
xiv
A szamítógp gondozása és tippek a hasznalathoz
xiv
A szamitogep be- es kikapcsolasa
xiv
A szamítogép gondożása
XV
A halózati adapter gondoźasa
XV
Az akkumulátor gondoźasa
XV
Tisztlatas es javitas
1
Érintópad
Alapvetó tudnivalók az érintopadról (ujjlenyomat-olvasóval)
1
Alapvetó tudnivalok az érintópadrol (két kattintógombbal)
2
A billentyüzet használata
3
Zároló billentyúk és a beépītett numerikus billentyüzet*
3
Windows billentyuk
4
Hang
Acer PureZone (csakBizonyos modelelekesetében)
5
Video
16:9-es kijelz (csakBizonyos modellek esetében)
5
A rendszer segedpro
6
Acer Bio-Protection (csakBizonyos modellek esetében)
6
Acer Backup Manager
7
Energiagazdalkodás
8
A Windows helyreállitása a mentési lemezekrol
12
Akkumulátor
14
Az akkumulátor jellemzöi
14
Az akkumulator elettartamának meghosszabbitása
14
Az akkumulator behelyzese és eltvolitasa 15
Azakkumulator toltese 16
Az akkumulator toltesi szintjenek ellenorzese 16
Az akkumulator elettartamának optimalizálasa 16
Az akkumulator lemerulésere vonatkozó figyelmeztetes 17
A hordozható számítógp szállitása 18
Lekapcsolás az asztali munkahelyröl 18
Mozgatás 18
A számítogép elokészítese 18
Mit vigyen magaval a megbeszelésekre 19
A számítógep hazaszállítása 19
A számítogép elokészítese 19
Mit vigyen magával 20
További óvintézkedések 20
Otthoni iroda felalitasa 20
Utazás a számítógeppel 20
A szamitogep elokeszítese 21
Mit vigyen magával 21
További óvintézkedések 21
Nemzetkozi utazás a számítógeppel 21
A szamitogép elokésztése 21
Mit vigyen magával 22
További ćvintézkedések 22
A számítógpBiztonságba helyezése 23
Szamitogepesbiztonsagi zar hasznalata 23
Jelszavak hasznalata 23
Jelszavak beérása 24
Jelszavak megadása 24
Bóvítés kiegészítökkel 25
Csatlakozásilehetósegek 25
Fax-/adatmodem (csakBizonyos modellek esetében) 25
Beépītett halózati csatoló 26
Universal Serial Bus (USB) 26
IEEE 1394 port (csakBizonyos modellek esetében) 27
Nagy felbontásu multimédias interfész
(csakBizonyosmodellekesetében) 27
ExpressCard (csakBizonyosmodelekeseteben) 28
Memória beszerelése 29
BIOS segédprogram 30
Rendszerinditasi sorrend 30
Disk-to-disk recovery engedélyezése 30
Jelszó 30
Szoftverhasznalat 31
DVD filmek lejatszasa 31
Gyakran ismetlodó kédesek 32
Szervizszolgaltatas kérése 35
Utazók Nemzetkozi Garanciája
Hibaelhárítási tanácsok 36
Hibauzenetek 36
Jogszabályi és biztonsági tudnivalók 37
FCC nyilatkozat 37
A modemre vonatkozó megjegyzések
(csakbizonyosmodelkesetében) 38
Tudnivalok az LCD kijelző képpontjairól 38
Rádiokészülk hatósági engedélyezési megjegyzés 38
Általános tudnivalók 38
Az FCC radiófrekvenciásBiztonsági kovetelmenyei 39
Kanada - alacsony teljesitményu, engedélyre nem koteles
rádiofrekvenciátsátkozlési eszközok (RSS-210) 40
A személyekre ható rádiofrekvenciás mezők (RSS-102) 40
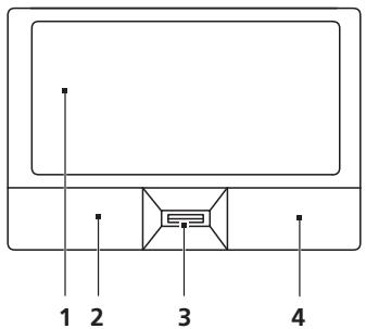
A beépītét érintǒpad egy olyan mutatóeszköz, amely a felületén érzékeli a MOZgást. Ez azt jalenti, hogy a kurzor annak megfeleloen reagál, ahogy Öl an uzuját MOZgatja az érintǒpad felületén. A csuklóṭámasz központi elhelyezésénék köszonhetōen kényelmes, biztonságos hasznalatot tesz lehtövé.
Alapvető tudnivalók az érintópadról (ujjlenyomat-olvasóval)
Az alábbi elementak az Acer Bio-Protection ujjlenyomat-olvasóval ellatott érintópad hasznalatat szemlétetik.
A kurzor mozgatásaḥoz húzza vegig az ujját az érintópadon (1).
A kiválasztási és vegrehajtás miúveleteket az érintopad szélen, a bal (2) és a jobb (4) oldalon talalhato gombot lenyomva vegezheti el. A kéf gomb megfelel az egerek ten talalhato bal és jobb gombnak. Az érintopadon való koppintás megfelel a bal gombbal való kattintásnak.

| Funkcio | Bal gomb (2) | Jobb gomb (4) | Érintǒpad (1) | Középső gomb (3) |
| Végrehajtás | GyorsegymásutánbankattintsonkétSZer. | Koppintson kétSZer(ugyanolyan gyorsan,mintha az egérgombjával kétSZerkattintana). | ||
| Kiválasztás | KattintsonegyszER. | Koppintson egyszER. | ||
| Elhuzás | Kattintson,éstartsa lenyomva a gombot, majdujat azérintópadomozgatvahúzza el akurzort. | Koppintson kétSZer(ugyanolyan gyorsan,mintha az egérgombjával kétSZerkattintana), a másodikkoppintás után tartsaazuját azérintópadon, majdhuzza el akurzort. | ||
| A helyi menuüelérèse | KattintsonegyszER. | |||
Alapvető tudnivalók az érintópadrólt (két kattintógombbbal)
Az alábbi elementek a két kattintógombbal ellatott erintópad hasznalatát szemeltetik.
A kurzor MOZgatasahoz huzza vegig az ujjat az erintopadon.
- A kiválasztási és vegrehajtásmi vexeleteket az érintőpad szélén, a bal és a jobb oldalon található gombot lenyomva vegezheti el. A két gomb megfelel az egerek telálható bal és jobb gombnak. Az érintőpadon való koppintás megfelel a bal gombbal való katmintásnak.
| Funkció | Bal gomb | Jobb gomb | Érintǒpad |
| Végrehajtás | Gyors egymásutánban kattintson kétser. | Koppintson kétser (ugyanolyan gyorsan, mintha az egér gombjával kétser kattintana). | |
| Kívalasztás | Kattintson egyszer. | Koppintson egyszer. | |
| Elhúzás | Kattintson, és tartsa lenyomva a gombot, majd ujját az érintǒpadon mozgatva húzza el a kurzort. | Koppintson kétser (ugyanolyan gyorsan, mintha az egér gombjával kétser kattintana), a második koppintás után tartsa az ujját az érintǒpadon, majd húzza el a kurzort. | |
| A helyi menuü elérése | Kattintson egyszer. |

Megjegyzés: A képek csak illusztrácić. A számítógép pontos konfiguraciónja megvásárolt modell fügvénye.

Megjegyzés: Csak száraz és tiszta ujjal használja érintőpadot. Az érintőpadot is tartsa szárazon és tisztan. Az érintőpad az ujj MOZgására érzekeny. Ezert minél konnyedebb az érintés, annál jobban reagál. Az erösebb érintés nem noveli az érintőpad reagálóképességét.

Megjegyzés: Alapesetben az erintopadon engedelyezve van a vízsintes és a fuggoleges górgetés. A funkciokat a Windows Vezérlopultjának Egér segédprogramjával tilhatja le.
A billentyúzet használata
A billentyüzet teljes méretü billentyükkel, beágyazott numerikus billentyüzettel*, külön kurzorbillentyükkel, zároló (lock) billentyükkel, Windows billentyükkel és különleges billentyükkel rendelkezik.
Zároló billentyúk és a beépített numerikus billentyúzet*
A billentyüzetnek három zároló billentyüje van, ezekkel egy-egy funkciót lehet be- és kikapcsolni.
| Zároló billentyú | Leírás |
| □ | Amikor a be van kapcsolva, minded betükarakter nagybetüként jelenik meg. |
| NumLk <Fn> + <F11>* | Amikor a NumLk be van kapcsolva, a beágyazott billentyüzet numerikus üzemmodban mühödk. A billentyük szamológépkont mühödknek (a számanti mühveletekkel: +, -, * és / együtt). Akkor hasznälja ezt az üzemmodot, ha suk numerikus adatot kiván bevinni. Ennel jobb megoldás a külso numerikus billentyüzet hasznalata. |
| Scr Lk <Fn> + <F12> | Amikor a Scr Lk be van kapcsolva, akkor a képernyő tartalma a felfelé vagy a lefelé mutató nyíllajelölt billentyü megnyomásakor egy sorral feljebb vagy lejbeb görtül. A Scr Lk egyes alkalmazásoknál nem mühödk. |
A beágyazott numerikus billentyüzet úgy muködk, mint egy asztali numerikus billentyüzet. A billentyük funkcióját a jobb felsó sarkukban lévo, kisméretu karakterek jalık. A billentyüzet feliratozásának egyszerésítese érdekében a kurzorvezérlo szimbólumok nincsenek felttunteteve a billentyükon.
| Az eléri n kivistanc fungció | NumLk be | NumLk ki |
| A beágyazott billentyúzet számbillentyú | A számokat a megszokott mádon gépelje be. | |
| A beágyazott billentyúzet kurzorvizérlö billentyú | A kurzorvizérlö billentyúk használata kozben tartsa lenyomva a < > billentyú. | A kurzorvizérlö billentyúk használata kozben tartsa lenyomva az billentyú. |
| A bilentyúzet normál billentyú | Miközben a beágyazott billentyúzeten gépel, az <Fn> billentyú tartsa lenyomva. | A betüket a megszokott mádon gépelje be. |
- csakBizonyos modelelekesetében
Windows billentyuk
A billentyüzetnek két oyan gombja van, amely windowsos funkciokat lát el.
| Billentyü | Leirás |
| Windows billentyü | Ha önmagában nyomja le, akkor a lenyomás hatása ugyanaz, mintha a Windows Start ikonjára kattintana, azaz megnyitja a Start menuüt. Más billentyükkel együtt használva számos további funkciót képes ellátni: |
| <>: A Start menu megnyitása vagy bezárása | |
| <>: +<D>: Az asztal megjelenítese | |
| <>: +<E>: A Windows Intéző megnyitása | |
| <>: +<F>: Fajl vagy mappa keresése | |
| <>: +<G>: Váltás az oldalsáv minialkalmazásai között | |
| <>: +<L>: A számítogép zárolása (ha hálózati tartományhoz csatlakozott) vagy felhasználóváltás (ha nem csatlakozott hálózati tartományhoz) | |
| <>: +<M>: Az összes ablakot kisméretüre állíta. | |
| <>: +<R>: Megnyitja a Futtatás pársbeszédablakot. | |
| <>: +<T>: Váltás a tálcán lévő programok között | |
| <>: +<U>: Az Ease of Access Center megnyitása | |
| <>: +<X>: A Windows Mobility Center megnyitása | |
| <>: +<Break>: A Rendszertulajdonságok pársbeszédpanel megjelenítese | |
| <>: +<+ M>: Alekicsinyítét ablakok visszaállitása az asztalra | |
| <>: +<K->: Váltás a tálcán lévő programok között a Windows térbeli ablakváltóval | |
| <>: +<SZÖKÖZ>: Az összes minialkalmazás elöterbe hoźás és a Windows oldalsáv kiválasztása | |
| <Ctrl> +<>: Számítogép keresésé (ha csatlakozott a hálózatra) | |
| <Ctrl> +<>: Váltás a tálcán lévő programok között a nyíllbillentyükkel és a Windows térbeli ablakváltóval | |
| Megjegyzés: Attól fuggöen, hogy a Windows melyik változatát használá, előfordulhat, hogy egyes gyorsbillentyük nem az itt megadott mádon működnek. | |
| Alkalmazás billentyü | A billentyü lenyomásának ugyanaz a hatása, mint a jobb egérgombbal történy kattintásnak, azaz megnyitja az alkalmazás helyi menüjét. |
Hang
A szamítógpép 32 bites High Definition (HD) Audio hangkártyával és hangszóróval /hangszórókkal van felszerelve.
Acer PureZone (csakBizonyos modellek esetében)
A rendszer egészen Újfajta hangzásbeli lehetösegeket nyújt; az egyik Újdonság az Acer PureZone, amely a beepített, sztereó mikrofonnal tíjoláformálásra és visszhangcsillapítársa is alkalmas. Az Acer PureZone technológica a tiszta hangrögzítés érdekében a visszhangcsillapítást, tíjoláformálást és azejelnyomást egyarant támogatja. A mikrofon beallitásához futtassa a Acer HD Audio Manager alkalmazást; ehvez kattintson duplán a Windows tálcájan lévo Acer HD Audio Manager ikonra. Megjelenik a Acer HD Audio Manager párbeszédpanel. Kattintson a Mikrofon fulre, majd a Mikrofonos effektusok fulre. Szükség szerint jelölje be a Tájoláformálás és az Visszhangcsillapítás jelölónegyzetet.

Megjegyzés: Ha tobb hangforrasos bemenet szeretne, akkor tiltsa le a tajolasformalast.
Video
16:9-es kijelző (csak bizonyos modelelek esétében)
A 16:9-es kijelzón egészen új élményt jalent a teljes HD filmek lejátszása.
A kiemelkedő szinteliétteseg a HD tartalmak megjelenitésekor garantálja az ereditet megidéző látványt. A 16:9-es, minósegi megjelenítésnek koszönhetöven vegre a notebookhasznalók is a hazimozirendszzereket idező minóseget elvezhetnek.
A rendszer segédprogramjainak használata
Acer Bio-Protection (csakBizonyos modellek esetében)
Az Acer Bio-Protection ujjlenyomat-kezelő egy többélu, a Microsoft Windows operációs rendszerrel integrál ujjlenyomat-kezelő megoldás. Kihasznávala azt a tényt, hogy az egyes személyek ujjlenyomata egyedi, az Acer Bio-Protection Fingerprint Solution többféle moledon is segiti a szamítógép védelmét; ilyen a Password Bank (Jelszóbank) segítségével megvalösított kozponti jelszókezelés, az alkalmazások és a webhelyek gyors inditása és megnyitása, illetev az Acer FingerLaunch segítségével vegzett bejentkezes.
Az Acer Bio-Protection ujjlenyomat-kezelő megoldás réyen üabb védelmi vonallal látható el a számítógpé, miközben a napi feladatk kényelmesen, egyetlen ujjmozdulattal hozzaféhétők.
További informácio az Acer Bio-Protection sugójában található.

Acer Backup Manager

Megjegyzés: Ez a szolgáltatás nem mindegyik modellen érhető el.
Az Acer Backup Managerrel harom egyszerú lépésel keszīthető biztonsági másolat a teljes rendszerröl vagyBizonyos fajlokról és mappákrol. A mentések szükség eseten utemezetten is elkészīthetők.
Az Acer Backup Manager a billentyüzet Acer Backup Manager billentyüjével inditható el. Az alkalmazás a Start > Minden program > Acer Backup Manager > Acer Backup Manager elemre kattintva is elinditható. Inditáskor az üdvozlóképernyǒ jelenik meg, innen kiindulva hajtható végre az a harom lépés, amelyek révén bealltható az utemezett mentés. A követkežo képernyőre a Folytatás elemre kattintva léphet tovább. Kattintson a + gombra, majd kõvesse a képernyón megjelenő utmutatást:
1 Valassza ki a menteni kivant tartalmat. Minél kevesebb tartalmat vásasz ti, annál gyorsabb lesz az eljáras, de nagyobb lesz az adatvesztés kockázata.
2 Valassza ki, hovy hova szeretné menteni a biztonsági masolatokat. Külso meghajtó vagy a D: meghajtó kell kivalaszmania; az Acer Backup Manager nem tudja a forrasmeghajtón tárolni a mentést.
3 Adja meg, milyen gyakran szeretne mentest kesziteni az Acer Backup Managerrel.
Miután vegrehajtotta ez t a harom lepést, a megadott utemezés szerint el fognak keszuli n a mentésk. Az Acer Backup Manager billentyu lenyomásával manuálisan is kezdeményezheti mentés vegrehajtását.
A beallitásokat bármikor megváltoztathatja; ehbez futtassa az Acer Backup Manager a Start menüból, majd hajtsa végre a fenti három lépés.

Energiagazdálkodás
A szamítógp beépítét energiagazdálkodó egységgel rendelkezik, amely folyamatosan figyeli a rendszer mūködéset. A rendszer mūködése alatt bármyly oyan tevekenységet értunk, amely érinti a kōvetkező eszközk legalább egyikét: billentyüzet, eger, merevlemez, a szamítógéphez csatlakoztatott perifériák és a videomemória. Ha egyBizonyos idöartam alatt nem észlel aktivíst (inaktivásidōtullépes), a szamítógép az energiaegtakarītas érdekében leállitja ezen eszközk valamelyikét vagy mindegyikét.
A számítógp energiagazdalkodási funkciója támogatja az Advanced Configuration and Power Interface-t (fejlett konfigurációs és energiakezelő felület, ACPI), amitakárés energiahasznalat mellett is maximális teljesítény elérését teszi lehtövé. Az energiaatakárékossaggal kapcsolatos összes feladatot a Windows látja el.
Acer PowerSmart gomb


Megjegyzés: Ez a szolgaltatas nem mindegyik modellen erhető el.
Az Acer PowerSmart gombbal a szamítogép grafikai alrendszerének energiatakarékos funkciói kapcsolhatók be, amelyek révén mér sékelhétő a készülék energiafogyasztása. Amikor lenyomja az Acer PowerSmart gombot, a képernyő fényeròssege lecsökken, a grafikai chip alacsonyabb sebességre kapcsol; a PCI és a WLAN energiatakarékos üzemmodra valt át. A korabbi beallitásokra az Acer PowerSmart gomb ismetelt lenyomásával valthat vissza.
Az Acer eRecovery Management egy oyan segédeszköz, amellyel gyorsan elvegezhető a rendszer helyreállitása. Alkalmas a gyári, alapértelmezett rendszerkép mentésère és helyreállitására, valamint az alkalmazások és az illesztóprogramok úratalepitésére is.

Megjegyzés: Az alábbi informaciók kizarólag általános tajékoztatasul szolgálnak. A tenyleges termékspecifikáciov valtozhatnak.
Az Acer eRecovery Management a követkežo funkciókkal rendelkezik:
1 Biztonsági mentés:
Gyáí allapot szerint lemez késztítese
- Az illesztőprogramokat és az alkalmazásokat tartalmazó lemez késztítése
2 Visszaalitas:
A rendszer teljes visszaallltasa gyarí allapotba
- Operaciós rendszer visssaallitasa és a felhasznalói adatok megörsezese
- Az alkalmazások vagy az illesztőprogramok úratelepítésé
A jelen fejezetben részletesen bemutajuk ezeket a funkciokat.

Megegyzés: Ez a szolgaltatas nim mindegyik modellen érhető el. Ha a rendszerben nincs beépítét connikaiemez-író, akkor az Acer eRecovery Management optikai lemezekkel kapcsolatos funkcióinak használá t elött csatlakoztasson egy külso iró.
Ha igénybe szeretné venni az Acer eRecovery Management jelszavas védelmi szolgáltatasát az adatok védelmére, akkor elóször be kell allítnia az jelszavát. A jelszét oz Acer eRecovery Management elindításával, majd a Beálitások elemre kattintva allítja be.

Mentési lemez irása
Az Acer eRecovery Management alkalmazás Biztonsági mentés lapjáról mentést keszíthet a gyári rendszerképról, az illesztóprogramokrál és az alkalmazásokrál.
1 Kattintson a következő elementre: Start, Minden program, Acer, Acer eRecovery Management.
2 Megnyflik az Acer eRecovery Management alkalmazás Biztonsági mentés lapja.

3 Valassza ki, hogy milyen tipusu mentest (gyar alapallapot, illesztoprogramok vagy alkalmazasok) szeretne kesziteni a lemezre.
4 A muvelet befejezeséhez kövesse a képernyón megjelenő utasításokat.

Megegyzés: A gyári alapértelmezzett rendszerképet akkor kell kiválasztania, ha rendszerinditársa alkalmas lemez tzeretne készîteni, amely a számítogép teljes operációs rendszerét tartalmazza úgy, ahogy azt a gyárból leszállitották. Ha olyan lemez tzeretne készîteni, amelynek talózhato a tartalma, és amelyröl telepíthetök a szükséges illesztöprogramok és alkalmazások, akkor alkalmazásokró lés az illesztöprogramokró l ell mentést készîtenie - ez a lemez nem lesz alkalmas rendszerinditársa.
Visszaállitás
A visszaallitasi fungkóval gyári alapértelmezzett rendszerkép, illetve CD- vagy DVDlemezen levőBiztonsági mentés alapján allithatja helyre a rendszert. A fungkóval az Acer rendszeren futo alkalmazásokat és illesztóprogramokat is ujratelepiñtheti.
1 Kattintson a következő elementre: Start, Minden program, Acer, Acer eRecovery Management.
2 A Visszaallitás elemre kattintva valtson át a Visszaallitás lapra.

3 Válassza ki, hogy a gyári alapételmezett rendszerkép alapján szerétrne visszaállítani a rendszert, vagy Újra szerétrné telepînteni az illesztóprogramokat és az alkalmazásokat.
4 A mvelet befejezeshez kovesse a képernyon megjelenoutasitásokat.
A Windows helyreállítása a mentési lemezekról

Megjegyzés: Ez a szolgáltatas nem mindegyik modellen érhető el.
A Windows operaciós rendszernek a korabban keszített mentési lemezekröl történő helyreallitásahoz be kehl helyeznie az elő mentés lemezt, valamint a BIOS-beallitó programmatici engedélyeznie kell az F12 billentyúvel elérhető indítiási menüt.
1 Kapcsolja be a szamitógépet, és helyezbe be az elso rendszer-helyreállíto lemezt az optikai lemezes meghajóba. Inditsa Újra a szamitógépet.
2 A rendszerindítás folyamán, miközben az Acer logo látható, az F2 billentyüvel lépjen be a rendszerbeállitások megadására szolgáló BIOS-beállitó programba.
3 A balra vagy a jobbra mutató kurzorbillentyüvel valassza ki a Fó almenüt.
4 A felfelé vagy a lefelé mutató kurzorbillentyüvel jelölje ki az F12 billentyüvel elerhetó inditasi menu element.
5 Az F5 vagy az F6 billentyüvel módosítsa az F12 Boot Menu beallitást Engedélyezve értékre.
6 Az ESC billentyúvel lépjen át az Kiléps almenübe, jelölje ki az Kiléps a beallitások mentésével elemet, majd nyomja meg az ENTER billentyút. Jelölje ki a lgen elemet, majd ismét nyomja meg az ENTER billentyút. A rendszer Újraindul.
7 Az uyraindulas után, miközben az Acer logo láthato, az F12 billentyüvel nyissameg a rendszerinditási menüt. A menüból kivalaszthatja, hogy melyik eszkörzl szeretné inditani a rendszert.
8 A kurzorbillentyükkel jelölje ki az IDE1* element, majd nyomja le az ENTER billentyüt. A számítógp telepfti a helyreállíto lemezról a Windows operácios rendszert.
9 Amikor erre utalo felszolitast kap, helyezbe be a masodik helyreallito lemezt, majd a képernyón megjelenoutasitasokat kovetve végezte el a helyreallitast.
10 Miután a helyreallitás befejezóddt, vegye ki a helyreallitó lemezt az optikai meghajtóbl. A lemezt meg a szamítogép ujrainidītása elött ki kell vennie.
Ha a hosszabb távú használatra szeretné beállitani a rendszerbetöltési sorrendet, akkor a Rendszerbetöltés almenüt valassza.
1 Kapcsolja be a szamitógépet, és helyezbe be az elso rendszer-helyreálló lemezt az optikai lemezes meghajtóba. Indítsa Újra a szamitógépet.
2 A rendszerindítás folyamán, miközben az Acer logos lathó, az F2 billentyüvel lépjen be a rendszerbeállitások megadására szolgáló BIOS-beállitó programba.
3 A balra vagy a jobbra mutató kurzorbillentyúvel valassza ki a Rendszerbetöltes almenüt.
4 A felfelé vagy a lefelé mutató kurzorbillentyüvel jelõje ki az IDE1 element.
5 Az F6 billentyüvel helyeze污染防治 az IDE1 elementa legmagasabb rendszerbetoltési prioritäst jalentó helyre. Szükség szerint az egyéb eszközöknek az F5 billentyüvel adhat alacsonyabb prioritást. Győzódjön meg arról, hogy az IDE1* készülék kapta a legmagasabb prioritást.
6 Az ESC billentyüvel lépjen át az Kiléps almenübe, jelölje ki az Kiléps a beallitások mentésével elemet, majd nyomja meg az ENTER billentyút. Jelölje ki a lgen elemet, majd ismét nyomja meg az ENTER billentyút. A rendszer üjraindul.
7 Üjrainditásakor azsámítógep telepíta helyreállíto lemezrol a Windows operácios rendszert.
8 Amikor erre utaló felszólítást kap, helyezze be a masodik helyreállíto lemez, majd a képernyón megjelenő utasításokat kovetve végezze el a helyreállítást.
9 Miután a helyreállítas befejezóddt, vegye ki a helyreállíto lemez t az optikai meghajtóbl. A lemez t meg a szamítogép ujrainditása elött ki kell vennie.
Akkumulátor
A számítógpértarozéka az egyes feltöltések kozott hosszú üzemidôtbiztosító akkumulátor.
Az akkumulátor jellemzői
Az akkumulator jelemzöi a következők:
A jelenlegi akkumulatortechnologiáakra épūl.
Lemerulse elott kapes jelzest adni.
Ha csatlakoztatja a szamítógephez a halózati adaptert, akkor a keszülék üjratölti az akkumulátort. A szamítógep a használat kozbeni toltét est is tamogatja, vagyis On az akkumulátor toltése kozben is folytathatja a munkát. Ugyanakkor a szamítógep kikapcsolt állapota mellett joval gyorsabban végeshető el a toltés.
Az akkumulátor jo szolgálatot tehet az utazások vagy az áramkimaradások során. Javasoljuk, hogy mindig hordjon magával tartalekként egy.masik, teljesen feltoftött akkumulátort is. A tartalek akkumulátor megrendeléséról a viszonteladótl kaphat informaciót.
Az akkumulátor élettartamának meghosszabbítása
Az egyéb akkumulátorokhoz hasonloan idövel a szamítógpakkumulátorának is gyengül a teljesitménye. Az idǒ mulásával és ashasznalattal párhuzamosan tehát romlani fognak az akkumulátor jellemzői. HaBiztosítani szeretné az akkumulátor lehető leghosszabb élettartamát,akkor vegye figyelembe az alábbi javaslatokat.
Az uy akkumulátor kondiconálása
Az uy akkumulatorokkal a hasznalatba vételuk elott érdemes elvegezni az alábbi „kondiconálasi" eljárast:
1 A szamitógep bekapcsolása nélkül helyezze be az új akkumulátort.
2 Csatlakoztassa a halózati adapter, és tõltse fel teljesen az akkumulátort.
3 Húzza ki a halózati adaptert.
4 Kapcsolja be a szamitógépet, és kezdje el akkumulatöról használni.
5 Teljesen merítse le az akkumulátort, amat meg nem jelenik a lemerülésre vonatkoź figyelmeztétés.
6 Csatlakoztassa ismét a halózati adaptert, és tõltse fel teljesen az akkumulárt.
A fenti lépéseket megismételve háromszor toltse fel teljesen, majd merítse le az akkumulátort.
Minden uy vagy hosszabb ideig nem hasznalt akkumulatorial vegezze el a fenti kondcionalasi eljarast. Ha a szamitogepet két hetnel hosszabb ideig fogja taroIni, akkor javasoljuk, hogy tavolitsa el belole az akkumulatort.

Figyelmeztétés: Ne tegye ki az akkumulátort 0^ ( 32^ ) alatti vagy 45^ ( 113^ ) feletti hómér sékletnek. A kūlönösen alacsony vagy magas hómér séklet károsīthatja az akkumulátort.
Az akkumulátor a kondiconalás révén éri el a maximalis toltési capacitásat. Ha nem végzi el az eljárast, akkor elófordulhat, hogy nem tutja igénybe venni az akkumulátor teljes Kapacíasat, illetve az akkumulátor elettartamának lerövidúlsével is számolnia kell.
Az akkumulator élettartamának hosszát az alábbi használati körülmenyek is háranyosan befolyásolják:
- A szamítógep halózati pátellátással valo használata uyg, hogy kozben az akkumulátor a gépben található. Ha folyamatosan halózati pápellátársól használja a szamítógepet, akkor javasoljuk, hogy a teljes feltöltését követően távolítsa el az akkumulárótt.
- A fenti teljes feltoltési és lemerítési müvelet vegrehajtásanak elmulasztása.
- Gyakori hasznalat; minél többet használa az akkumulátort, az annál hamarabb fogja elérià az élettartamának végét. Egy átlagos számítógépes akkumulátor élettartama körülbelül 300 felṭoltés.
Az akkumulátor behelysezése és eltávolításá

Fontos! Az akkumulatornak a szamítógepból valo eltávolitása elott csatlakoztassa a halózati adaptert, amennyiben tovább szerétrne használi na szamítógépet. Egyébként elöbb kapcsolja ki a szamítógépet.
Az akkumulator behelyzese:
1 Igazítsa az akkumulátort az akkumulátorfoglalathoz. Ügyeljen arra, hogy az érintkezők előre nézzenek, az akkumulátor felső oldala pedig felfelé.
2 Csusztassa be az akkumulátort a foglalatba, majd finoman nyomja be, amíg a helyère nem rogzúl.
Az akkumulator eltvolitasa:
1 Az akumulátor kioldógombját elcsúsztatva oldja ki az akumulátort.
2 Húzza ki az akkumulátort a foglalatból.
Az akkumulátor toltése
Ha fel szeretne tolteni az akkumulátort, akkor elször ellenorizze, hogy megfeleloen illeszkedik-e az akkumulátorfoglalatba. Csatlakoztassa a halózati adaptert a szamítogéphez, majd az elektramos halózathoz. A szamítogépet az akkumulátor toltese közben is hasznalhatja. Ugyanakkor az akkumulátor toltese a szamítogép kikapcsolt állapota mellett jóval gyorsabban végezhető el.

Megjegyzés: Javasoljuk, hogy este, mielott lefekszik, toltse fel az akkumulátort. Ha az utazás elotti ejszakán feltölti az akkumulátort, akkor másnap teljesen feltöltött géppel indulhat el.
Az akkumulátor toltési szintjének Ellenőrzése
A Windows telepmröje folyamatosan jerz az akkumulator toltötségi szintjét. A kurzort a talcán levo akkumulator/tapellatas ikon folé huzva megtekintheti az akkumulator pillanatnyi toltötségi szintjét.
Az akkumulátor élettartamának optimalizálasa
Az akkumulator elettartamának optimalizálása az akkumulator minél teljesebb kihasznalására, illetve a toltési/úrataltési ciklusok meghosszabbitsára és az ujrataltés hatékonyságanak javitására irányul. Javasoljuk, hogy kövesse az alábbi ajánlasokat:
Vásároljön egy kiegészítő akkumulátort is.
Ha lehetséges, akkor hasznaljon halózati tapellátast. Az akkumulátortCsak ut kozben vegye igényne.
- A használaton kívúli PC-kártyákat vegye ki a gépból, mert azok továbbra is energiaellátast igényelnek (csakBizonyos modeleleken található meg).
- Az akkumulátort húvós, száraz helyen tírolja. A javasolt hórmérséklettartomány a 10^ ( 50^ ) - 30^ ( 86^ ) közötti. Magasabb hórmérséklen felgyorsul az akkumulátor önkisülésénék folyamata.
A tuli gyakori ujratoltcs csokkenti az akkumulator elettartamat.
- Üglyeljen a halózati adapter és az akkumulátor kezelésére.
Az akkumulator lemerulésère vonatkozó figyelmeztétés
Ha akkumulátorról üzemelteti a számítógépet, akkor figyelje a Windows telepméröjének jelzeseit.

Figyelmeztetes: Ha megjelenik az akkumulátor lemerülésere vonatkozo figyelmeztetes, akkor minél hamarabb csatlakoztassa a halózati adaptert. Ha az akkumulátor teljesen lemerül, és a számítogép kikapcsol, akkor előfordulhat, hogy elvesziti bizonyos adadatait.
Ha megjelenik az akkumulator lemerulésere vonatkozó figyelmeztétés,
akkor a körulményektőf fugg, hogy mit érdemes tennie:
| Helyzet | Javasolt mühvelet |
| Rendelkezésre áll a halózati adapter és egy elektramos aljzat. | 1. Csatlakoztassa a halózati adaptert a számítógépez, majd az elektramos aljzatba. |
| 2. Mentse az összes szükséges fajlt. | |
| 3. Folytassa a munkátt. | |
| Ha gyorsan üjra szeretné tölteni az akkumulártort, akkor kapcsolja ki a számítógépet. | |
| Rendelkezésre áll egy teljesen feltöltött akkumulátor. | 1. Mentse az összes szükséges fajlt. |
| 2. Zárja be az összes alkalmazást. | |
| 3. Állitsa le az operáiós rendszert, és kapcsolja ki a számítógépet. | |
| 4. Cseréljte ki az akkumulártort. | |
| 5. Kapcsolja be a számítógépet, és folytassa a munkátt. | |
| Nem áll rendelkezésre a halózati adapter vagy elektramos aljzat. | 1. Mentse az összes szükséges fajlt. |
| 2. Zárja be az összes alkalmazást. | |
| 3. Állitsa le az operáiós rendszert, és kapcsolja ki a számítógépet. | |
A hordozható számítógp szállitása
Ebben a részben tanácsokat, ötleteket talál azzal kapcsolatban, hogy mire kelli ügyelnie a szamítógp szallitása vagy utazás közben.
Lekapcsolás az asztali munkahelyröl
Ha le szeretné ványasztani a számítógepról a külso tartozékokat, kövesse az alábbi lépéseket:
1 Mentse el a megnyitott fajlokat.
2 Távolítson el(AP) minden adathordozó, hajlékonylemezt és CD-lemezt a meghajtó(k)ból.
3 Aliltsa le a szamitogepet.
4 Hajtsa le a kijelzot.
5 Húzza ki a halózati adaptert.
6 Húzza ki a billentyüzet, a mutatóeszköz, a nyomtató, a külso monitor vagy az egyéb külso eszköz csatlakozóját.
7 Nyissa ki a Kensington zarat, ha ilyennel rogziti a szamitogepet.
Mozgatas
Ha csak rovid tavolsagra viszi a szamitogepet, peldaul az iroasztalatol a targyalóba.
A számítógép előkészítésé
A szamítógp áthelyezése elott hajtsa le és reteszelje a kijelzőt, ezzel a szamítógép alvo üzemmodba lép; igy az épuleten belül akárhova magával viheti. Ha fel szeretné ébreszteni alvo módól a szamítógépet, nyissa fel a kijelzőt, majd röviden nyomja meg a bekapcsoló gombot.
Ha egy ügyfél irodájába, vagy egyesianisizaszamitógépet, érdemes kikapcsolnia:
Kattintson a Inditas majd a Kikapcsolas gombra.
vagy
A szamitógep alvo üzemmódba helyezheti az
Ha übra hasznalni szeretne a szamitógépet, oldja ki és Hajtsa fel a kijelzőt, majd roviden nyomja meg a bekapcsoló gombot.

Megegyzés: Ha az alvás allapotjelző nim világít, a számítógpéh hibernált üzemmodba került és kikapcsolt. Ha az üzemállapot lápàn nem világít, de az alvás allapotjelző igen, a számítógpé alvo üzemmodba lépet. Ha úbjól használni szeretné a számítógépet, mindkét esetben roviden nyomja meg a bekapcsoló gombot. Megegyezzuk, hogy a számítógpé hibernált üzemmodba léphet, haBizonyos ideig alvás üzemmodban volt.
Mit vigyen magával a megbeszlésekre
Ha a megbeszelis viszonylag rovid (két oranol rovidebb), akkar valszinüleg elegCsak a szamítógep vinnie. Ha hosszabb megbeszelreszámít, vagy aszámítógp akkumulátoraincs teljesen feltoltve, akkar érdemes a halózati adaptert is magával vinnie, majd a tárgyalóteremben csatlakoztatnia a géphez.
Ha a tárgyalóteremben nincs fali dugaszolóalzat, az akkumulátor terhelését csökkentheti, ha alvo üzemmodba helyezi a számítógépet. Nyomja meg az
A számítógép hazaszállítása
Ha hazaszállitja a számítógépet az irodábl, illetve otthonról viszi vissza az irodába.
A számítogép előkészítese
Miután levalasztotta a szamítóhép et az asztali munkahelyeról, az alábbi lépéseket követve késztíse elő a gép et a hazaszállitára:
Ellenorizze, hogy minded adathordozót és CD-lemezt kivett-e a meghajto(k)ból. Ennek elmulasztása a meghajto olvasófejének séruléséhez gezethet.
- Csomagolja a szamitógép olyan taskába, amelyben nem tud csúszkálni, illete ki van párnázva, igy elejtés eseten is megfelelo védelmet kap.

Vigyázat: A számítógp fedele melle ne csomagoljon semmit.
A fedérelne hezedő nyomás megrongálhatja a kijelzőt.
Mit vigyen magával
Hacsak nem rendelkezik otthon is egy-egy peldányal az alábbiakból, akkor vigye öket magával:
Hálozati adapter és kabel
- Nyomtatott Rovid utmutató
További óvintézkedesek
A szamítógep védelme érdekében a munkahelye és otthona közötti utazás során vegye figyembe az alábbi tanácsokat:
Tartsa magánal a számítógépet, igy minimálisra csökkentheti a hòmér sékletvaltozások hatásat.
Ha hosszabb idore meg kell allnia, es nim viheti magaval a szamitogepet, akkor hagyja a gekpocsi csomagtartojaban, igy elkerulheti a tulzott felmelegedes veszelyét.
A hórmésklet és relativ páratartalom változásai páralecsapódást okozhatnak agépen. Hagyjön megfelelo időt arra, hogy a számítógep felvegye a szobahórméskletet, és bekapcsolás elött ellenőrizze a kijelzőt, hogy nincs-e rajta páralecsapódás. Ha a hórméskletváltozás tobb mint 10 °C (18 °F), akkor gondskodjon arról, hogy a számítógep lassan vegye fel a szobahórméskletet. Ha lehetséges, hagyja a számítógepet 30 percre olyan helyen, ahol a hórmésklet a kulso és a szobahórmésklet között van.
Otthoni iroda felallitasa
Ha gyakran dolgozik otthon a számítógépén, érdemes egy.masodik hálózati adaptert beszereznie otthoni használatra – igy nem kel tobbletterhet szállitania haza és vissza.
Ha a szamitógépet hosszabb ideig kivanja otthon használni, érdemes külso bilentyüzettel, monitorrall es egérrel bövitenie.
Utazás a számítógeppel
Ha hosszabb ultra indul, peldául a munkahelyeröl egy ügfél munkahelyere, vagy a környéken tesz rövidebb utazást.
A számítógp előkészítése
Ugy keszítse elő a számítógépet, mintha hazavinné. Ellenőrizze, hogy az akkumulatora számítógépben fel van-e tõltve. A repulóteri biztonsági intézkedesek miatt lehetséges, hogy be kell kapcsolnia a számítógépet, mielött a beszállóźónába vinné.
Mit vigyen magával
A következőket vigye magával:
- Hálózati adapter
Teljesen feltoltott tartalek akkumulator(ok) - További nyomtatók illesztőprogramjainak fajljai, ha ésik nyomtató használatát tervezi
További óvintézkedesek
A szamítogép hazaszállitására érvényes utmutatáson tú a készülék védelme érdekében fogadja meg a kővetkež utazással kapcsolatos tanácsokat is:
A szamítogepet mindig személyi poggyászként vigye magával.
Ha lehetséges, a szamítógépet aBiztonságiakkal ellenőriztesse. A repulóteri rontgenberendezesek biztonságosak, de ne vigye á szamítógépet fédetektoron.
- Ne tegye ki a Hajlekonylemezeket kezi fémdetektorok hatásanak.
Nemzetkozi utazás a számítógeppel
Ha másik országba utazik.
A számítógp előkészítése
Ugyanúgy késztse elo a szamítógépet, mint általában az utazáshoz.
Mit vigyen magával
A kōvetkezōket vigye magával:
- Hálózati adapter
- Olyan halózati kábel, amely használtó abban az országban, ahova utazik
Teljesen feltoltott tartalek akkumulatorok - További nyomtatók illesztőprogramjainak fajljai, ha ésik nyomtató használatát tervezi
A vásárlást igazoló Dokumentum,arra az esetre,ha meg kellene mutatnia a vámhatóság tisztviselójének - Az Utazók Nemzetközi Garancia-útlevele (International Travelers Warranty passport)
További óvintézkedesek
Uglyanazokat az oviñézkedeseket kell betartani, mint a szamítogeppel való utazásnál. Mindezeken tól nemzetközi utazásnál a következő tanácsokat is vegye figyemelembe:
Amikor.masik országba utazik,ellenőrizze,hogy a helyi halózati feszültseg és a halózati adapter kabelének specifikácói megegyezők-e. Ha nem, szerezzen be egy oyan halózati kábelt, amelyik hasznalhato a helyi halózati feszültsegen. A szamítógp aramellátásához ne használjon a háztartásigiépekhez áult átalakíto készleteket.
Ha használja a modemet, ellenőrizze, hogy a modem és a csatlakozó kompatibilis-e annak az országnak a távkölési rendszerével, amelybe utazik.
A számítógpBiztonságba helyezése
A számítógp értekes befektétés, amelyre vigyázni kell. Az alábbiakból megtudhatja, hogyan védheti meg számítógpét, illetev hogyan gondoskodhat róla.
A védelmi lehtósegek kozott hardveres és szoftveres megoldásokat egyarant talál, elöbbire aBiztonsági horony, utóbbira a jelszo ad pédát.
Számítógépes biztonsági zár használata
A szamitógep Kensington-kompatibilis biztonsági zárhoronnyal rendelkezik, amely lehetóve tesziBiztonsági zár csatlakoztatását.
Hurkolja a szamitógépes biztonsági zárhoz tartoz drótköelet egy mozdithatatlan tárgy, pédául asztal vagy zárt fiok fogantúja köré. Illessze be a horonyba a zárat, majd a kulcsot elfordíva rögzítse. Kaphatók kulcs nélkuli modellek is.
Jelszavak használata
A jelszavak az illetéktelen hozzaféréstól védik a szamítógépet. Jelszavak megadásával több szinten is védheti a szamítógépet és az adatokat:
- A "felügyelői jelszó" (Supervisor Password) a BIOS segédprogramba való jogosulatlan belépestól és annak hasznalatától védi a számítógépet. Ha engedélyezi, akkor a BIOS segédprogramba való belépeshez be kell irni ezta jelsztó. Lásd: "BIOS segédprogram" a 30. oldalon.
- A "felhasznalói jelszó" (User Password) a jogosulatlan hasznalattól védi a szamítogepet. A maximálisBiztonság érdekében hasznaljon ilyen jelsztó, továbbá rendszertúgy álltsa be, hogy rendszerinditáskor és hibernálásból visszatéréskor is kérijen jelsztó.
- A "rendszerindítási jelszó" (Password on Boot) a jogosulatlan hasznalattól védi a számítogepet. A maximális biztonság érdekében használjon ilyen jelszót, továbbá a rendszert úg yallítsa be, hogy rendszerindításkor és hibernálásból visszatéréskor is kérjen jelszót.

Fontos! Örizze meg gondosan a felügyelőj jelszó! Ha elfelejti EZT a jelszóf, forduljon a kereskedőhővagy valamelyik hivatalos szervizközponthoz.
Jelszavak befrasa
Ha valamilyen jelszót kell megadnia, egy beviteli ablak jelenik meg a kijelző kozepén.
Ha meg van adva felugyelöj jelszó, akkor rendszerinditáskor, az
- Irfa be a felügyelői jelsztó, majd nyomja meg az
- Ha meg van adva felhasznalói jelszó és a rendszerindításjelszó beállítás engedélyezve van, akkor rendszerindítaskor a gép jelszó tér.
- Irja be a felhasznalójelszót, majd nyomja meg az

Fontos! A jelszó megadasát haromszor kísérelheti meg. Három sikertelen probálkozás után a rendszer inaktiválapotba kerül. Ebben az esetben nyomja meg és négy masodperciç tartsa lenyomva a bekapcsoló gombot, ekkor a számítógép kikapcsol. Kapcsolj be ismét a számítógépet, majd probálkozzon üra.
Jelszavak megadása
A jelszavakat a BIOS segédprogrammal lehet megadni.
Bóvítés kiegészítőkkel
Hordozható szamítógepe teljes körü mobil szamítástechnikai megoldást nyujt Önnek.
Csatlakozási lehetósegek
A portok lehtové teszik, hogy ugyanolyan perifériakat csatlakoztasson a szamítogepez, mint egy asztali PC-hez. A kulönféle külso eszközknek a szamítogepre való csatlakoztatasával kapcsolbatan az alábbi részben talál utmutatást.
Fax-/adatmodem (csakBizonyos modellek esetében)
A szamitógepben beépitett, V.92 56 Kbps fax-/adatmodem taláható. (csakBizonyos modellek esétében)

Figyelem! A szamítógep modemportja nem kompatibilis a digitális Telefonvonalakkal. Ha a modemet digitális Telefonvonalhoz csatlakoztatja, a modem megrongálódik.
A modem hasznalatához csatlakoztasson Telefonkábelt a fax-/adatmodem csatlakozáljzata és egy Telefonvonal csatlakozáljzata kóze.


Figyelem! Ellenörizze, hogy az Öl altal használt kábel megfelel-e a helyi elóirásoknak.
Beépītett halózati csatoló
A beépītét hálozati csatoló segítségevel Ethernet alapú hálozatra csatlakoztathatja a szamítógépet.
A halózati kapcsolat létrehozasához csatlakoztasson egy Ethernet kábelt a számítogép bal oldalán lévo halózati csatlakozóaljzat és a halózati aljzat vagy a hub csatlakozója köze.

Universal Serial Bus (USB)
A Universal Serial Bus (univerzális soros busz, USB) 2.0 port egy nagy sebességősoros busz, segütesével az értékes rendszererőforrások lekótésé nélkülcsatlakoztathat USB perifériákat.

IEEE 1394 port (csakBizonyos modellek esetében)
A szamitógep IEEE 1394 portja IEEE 1394 kompatibilis eszközok, például videokamera vagy digitialis fenyképezőgep csatlakoztatásat teszi lehtöve. A részleteket a digitialis fenyképezőgep vagy a camera készikönyvében találja meg.

Nagy felbontásu multimédias interfész (csakBizonyos modelk esetében)
A HDMI (nagy felbontásu multimédias interfész) az iparág által széles körben támogatott, teljes mertékben digitális, hang- és videoátvitelre egyarant alkalmas csatolófelület. A HDMI – egyetlen kabellel – barmely kompatibilis hang-/videoforrás, pédául set-top box, DVD-lejatszó vagy A/V-vevo és digitális hang- és/vagy videovevő keszülék, pédául digitális televizio (DTV) összekötesere alkalmas.
A HDMI porttal felsobb kategoriájú hang-és videokészulekhez csatlakoztathó a számítógp. Mivel a csatlakoztatáshoz egyetlen kábel is elegendo, a kapcsolat gyorsan és zavaró kabelrengeteg kialakulása nélkül hazható látre.

ExpressCard (csakBizonyos modelelekesetében)
Az ExpressCard a PC-kártya szabvány legújabb valtozata. Kisebb méretének és gyorsabb csatolófuletények kösönhetően tovább noveli a szamítógp használati értékét és bövithetősegét.
Az ExpressCard kartyák révén számos kulönbozó bovités lehetöseg kinálkozik, többek kőtz Flash memóriakártya-adapterek, TV-tunerek, Bluetooth-csatolók és IEEE 1394B csatolók használata. Az ExpressCard kartyák az USB 2.0 és a PCI Express alkalmazásokat tamogatják.

Fontos! Kétféle típus létezik, az ExpressCard/54 és az ExpressCard/34 (54 mm-es és 34 mm-es kivitel), ezek eltero feladatokat látnak el. Nem denen ExpressCard foglalat támogatja mindkét típust. A kártya telepítésével, használatával és szolgaltatasaival kapcsolatos informaciókat annak kézikönyhében találja meg.
ExpressCard behelysezése
Illessze be a kártyát a foglalatba, majd finoman nyomja be, amíg a helyère nem pattan.

ExpressCard kiadatása
ExpressCard kiadatása elótt:
1 Lépjen ki a kártyat hasznaló alkalmazásból.
2 A bal oldali egergombbal kattintson a talcán talalható hardver eltávolítasa ikonra, majd álltsa le a kártyat.
3 Finoman nyomja befelé a kártyát a foglalatba, majd engedje fel, ekkor a kártya kiugrik a foglalatból. Húzza ki a kártyát a foglalatból.
Memória beszerelése
Ha memóriát szeretne szerelni a gépbe, kövesse az alábbi lépèseket:
1 Kapcsolja ki a szamitogépet, húzza ki a halózati adaptert (ha be volt dugva), majd vegye ki az akkumulátort. Ezután fordítsa meg a szamitogépet, úgy, hogy hozzáférjen az aljához.
2 Távolítsa el a csavart a memóriarekesz fedeléból, majd emelje fel és távolítsa el a memória fedelét.
3 Átlośan helyezebe be a modult a foglalatba (a), majd ovatosan nyomja le, amíg a helyère nem pattan (b).

4 Helyezze vissza a memóriakesz fedelet, majd rogzítse a csavarral.
5 Tegye vissza az akkumulátort, majd csatlakoztassa a halózati adaptert.
6 Kapcsolja be a szamitogepet.
A szamitógp automatikusan érzékeli és ürakonfiguralja a teljes memória métretét. Ha tanácsra van szüksége, forduljon szakemberhez vagy a legközelebbi Acer forgalmazóhoz.
BIOS segédprogram
A BIOS segédprogram oyan hardverkonfiguraló program, amelyet a számítogép Basic Input/Output System (alapszintü be- és kiviteli rendszer, BIOS) rendszerébe építettek be.
A szamitógep már megfeleloen konfiguralva és optimalizáva van, ezert ezt a segédprogramot nem kell futtatnia. Ha azonban konfigurációs problémák lépnek fel, szükség lehet a hasznalatára.
A BIOS segédprogram elindításához nyomja meg az
Rendszerinditási sorrend
A BIOS segédprogramban a rendszerindítás sorrendjének beállitáshoz lépjen be a BIOS segédprogramba, majd a képernyő felső részén megjelenő elementk kölul valassza a Boot pontot.
Disk-to-disk recovery engedélyezése
A disk-to-disk recovery (hard disk recovery, lemezról lemezre helyreállitas, illetve merevlemezes helyreállitas) funkció engedélyezéséhez lépjen be a BIOS segédprogramba, majd a képernyő felső részén megjelenő elementek közül valassza a Main pontot. A képernyő also részén keresse meg a D2D Recovery pontot, majd az
Jelszó
A rendszerinditási jelszó megadásához lépjen be a BIOS segédprogramba, majd a képernyő felseő részén megjelenő elemek kozül válassza a Security pontot. Keresse meg a Password on boot: elemet, majd az
Szoftverhasználat
DVD filmek lejatszasa

Megjegyzes: Ez a szolgaltatás nem mindegyik modellen érhető el.
Ha DVD-meghajtó modul van beszerelve az optikai meghajtó helyère, akkor DVD filmeket is le tud jatszani a szamitogépen.
1 Nyissa ki a DVD tálcaját, helyezzen be egy DVD filmet tartalmazó lemezt, majd tolja be a DVD tálcaját.

Fontos! Amikor elször indütja el a DVD-lejátszt, a program kéri a régiokód megadását. A DVD-lemezeket hat régiora osztják. Ha eigyszer a DVD-meghajtón beallitottak egy régiokódot. csak annak a régionak a lemezeit fogja lejátszani. A régiokódot legfeliebb ötzör lehet beallitani (beleérte a legelsö alkalmat is), ezután az utolsónak beallitott régiokódalandósul. A merevlemez visszaallitasa nem allitja vissza a régiokódk beallitásanak számát. A jelen szakaszban, az alábbiakban felttuntetét tablázatban megtalálja a DVD filmek régiokódját.
2 A DVD film lejatsza nehany masodperc mulva automatikusan elkezdiodik.
| Régiokód | Ország vagy régio |
| 1 | USA, Kanada |
| 2 | Europa, Közel-Kelet, Dél-Afrika, Japán |
| 3 | Délkelet-Ázsia, Tajvan, Dél-Korea |
| 4 | Latin-America, Ausztrália, Üj-Zéland |
| 5 | Független Ällamok Kőzösége, Afrika egyes részei, India |
| 6 | Kınai Népköztársaság |

Megjegyzés: A régiokód megváltoztatasához helyezzen be a DVD-meghajtóba egy másik régioba tartozó DVD filmet. További informació t sugóban talál.
Gyakran ismétloðó kérdések
Az alábbiakban összefoglaltunk néhány a számítógp használá közben gyakran előfurduló problémát. A problemák leírásához egyszerú válaszokat, megoldásokat is mellekeltűnk.
Megnyomtam a bekapcsoló gombot, de a szamítógpem indul el, illetve nem tölti be az operációs rendszert.
Tekintsen az üzemällapot jelzöfényre:
Ha nem világít, a számítogép nem kap pápellátást. Ellenőrizze a következőket:
Ha a szamítogép akkumulátorról üzemel, akkor lehét séges, hogy az akkumulator lemerült, és nem képes energiaval ellatni a készüléket. Csatlakoztassa a halózati adaptert, és tölte fel az akkumuláort.
Ellenörizze, hogy a halózati adapter megfeleloen csatlakozik-e a számítogepehz és a fali dugaszolóalzatba.
Ha a jelzofeny vilagit, ellenorizze a kovetkezoket:
- Nem rendszerindíto lemez van a kūlso, USB-s hajlékonylemezes meghajtóban? Vegye ki, vagy tegyen be helyette egy rendszerlemezt, majd a
+ + billentyúkombinációm megnyomva indítsa újra a rendszert.
Semmi nem jelenik meg a kijelzón.
A szamitógp teljesitményszabályozó rendszere az energiaatakarekosság érdekében automatikusan kikapcsolta a kijelzöt. A kijelzöt barmelyik billentyu lenyomásával vissakapcsolhatja.
Ha a billentyuk lenyomásával nem leht visszakapsolni a kijelzöt, annak két oka leht:
- A fenyerő nagyon alacsonyra van állíva. Az
+ > billentyúkombináció lenyomva növelje a fenyerőt. - A megjelenítési mod külso monitorra van allytva. A kijelző atkapcsolásának gyorsbillentyüjét
+ lenyomva allytsa vissza kivalasztott megjelenítő eszköznek a számítógpék kijelzöjét.
Ha az alvás allapotjelzó lámpa világít, akkor a számítógép alvás üzemmodban van. Ha fel akarja ébreszteni a számítógépet, roviden nyomja meg a bekapcsoló gombat.
Nem szóla számítoge péhangszórója.
Lehetségés, hogy el van némítva a hangszóró. Tekintsen a Windows tálcán talalható hangerósabályzás ikonra. Ha át van húzva, kattintson az ikonra, majd törólje a jelet az Elnémitás jalolónegyzetbol.
Lehet, hogy a hangerő tül alacsony. Windows alatt használá tálcán lévő hangerőszabályzó ikont, illetve a hangerőt a hangerőszabályzó gombokkal is allythatja.
Ha a szamitogep eloldali panelen talalhato vonali kimenet porthoz fulhalgato, fejhallgato vagy kulso hangszoró van csatlakoztatva, akkor a beepfitett hangszorok automatikusan kikapcsolnak.
A számítogép bekapcsolása nélkül szeretném kinyitni az optikai meghajtó talcaját.
Az optikai meghajtón van egy mechanikus kiadófurat. A fiok kinyitásához egyszerüen illessze a furatba egy toll hegyét vagy egy iratkapcsot, majd finoman nyomja be.
A billentyúzet nem reagál.
Csatlakoztasson egy külso bilentyüzet a szamítógep hatlapján vagy elején talalható USB porthoz. Ha a külso bilentyüzet muködik, akkor lépn kapcsolatba a kereskedövel vagy egy hivatalos szervizköz Ponttal, mert lehetséges, hogy a beépfét t illentyüzet kábele meglazult.
A nyomtató nem muködik.
Ellenörizze a következöket:
Ellenőrizze, hogy a nyomtató csatlakoztatva van-e egy fali dugaszolájzatba valamint be van-e kapcsolva.
Ellenorizze, hogy a nyomtatokabel jol van-e csatlakoztatva szamitogep parhuzamos vagy USB portjahoz es a nyomtató meqfelelo portjahoz.
Helyreálló CD-lemezek nélkül szeretném visszaállitani a számítogép eredeti beálításait.

Megegyzés: Ha a rendszer tobb nyelvet támogat, akkor a késöbbi helyreallitasi muveleteknélCsak a rendszer elso indításakor kiválasztott operaciós rendszer és nyelv hasznalható.
A visszaallitasi folyamat reven visszaallithatja a C: meghajtora mindazokat a szoftvereket, amelyek a szamitogep vasarlasakor eredetileg is fel voltak telepitve. A C: meghajto helyreallitasahoz kovesse az alabbi lepeseket. (A C: meghajtoujraformazasra kerul, es minded rajta lev'o adat trolodik!) Fontos, hogy a muvelet megkezdese elott keszitsen biztonsagi masolatoz adatatllomanyokról.
A visszaallitas megkezdese elott ellenorizze a BIOS beallitatasait.
1 Ellenőrizze, hogy aktivalva van-e az Acer disk-to-disk recovery funkció.
2 Győződjön meg arról, hogy a D2D Recovery beállítás a Main pontban Enabled állapotra van állíva.
3 Mentse el a modositásokat, majd lépjen ki a BIOS segédprogramból. A rendszer úrajindul.

Megjegyzés: A BIOS segédprogram eléréséhz a bekapcsolási önteszt (POST) alatt nyomja meg az
A helyreallitas elinditasa:
1 Inditsa ujra a rendszert.
2 Mikózben az Acer logo láthato, a helyreállitási folyamat elindításához nyomja meg egyszerre az
3 A rendszer helyreallitásat a képernyón megjelenőutasításokat követve hégezheti el.

Fontos! Ez a funkció 15 GB területet foglal a merevlemez rejtett particióján.
Szervizszolgáltatas kérése
Utazók Nemzetközi Garanciája (International Travelers Warranty; ITW)
A szamitógepre érvényes az Utazók Nemzetközi Garanciája (International Travelers Warranty; ITW), amely utasz ákzenBiztonsagot és nyugalm nyüjt Önnek. A szervizközpontok világmete t halózata készséggel all rendelkezsére.
A szamitógephez mellekelve van egy ITW utlevél. Ez az utlevél mindent tartalmaz, amit az ITW programról tudnia kell. A füzetben megtalalható a rendelkezsére alló hivatalos szervízkopontok listája. Kérjuk, gondosan tanulmányozza át az utlevlet.
Legyen mindig keznél az ITW utlevele, kūlōnen utazás kozben, ellenkező esetben nem részesulhet a támogatási kozpontok által nyújtott szolgaltatasok elonyeiból. A vásárlást igazoló Dokumentumokat helyezze az ITW uttlevi borítolapjának belső oldalan kialakitott tasakba.
Ha abban az országban, ahova utazott, nincs az Acer által felhatalmazott szerviz, akkor a világ barmely pontján lévo irodánkkal kapcsolatba léphet. Látogasson el a http://global.acer.com webhelyre.
Mielott Telefonána
Ha Telefonos segitségkérés celjábl felhivja az Acert, kérjuk, készítse elo a kōvetkežo informaciókat, illetve a hívas során legyen a szamítogepe mellett. Az On segitségével csokkenthetjuk a hívashoz szükséges idöt, és hatékonyabban tudjuk megoldani problémàit. Ha a szamítogep hibauzenetet jelenit meg vagy sipol, jegyezze fel a képernyǒn megjelenteket (vagy a hangjelzešek szamát és sorrendjét).
A következő informáciokat kérjúk Öntöl:
Név:
Cim:
Telefonszám:
Gép típusa és modellszám:
Sorozatszám:
A vásárlás időpontja:
Hibaelhárítás
Ebben a fejezetben a gyakrabban elöforduló rendszerhibák elhárításához nyújtunk segítséget. Ha problémába utközik, elször tanulmányozza át az alábbi részeket, ésCsak ezt követően forduljon szakemberhez. A súlyosabb híbák elhárításához szükség lehet a szamítogép felnyitására. Ne kíselé meg a számítógép felnyitását, inkább lépjen kapcsolatba a kereskedövel vagy kérjen segítséget valamelyik hivatalos szervizközpontól.
Hibaelhárítási tanácsok
A hordozhato szamitogep a felmerult problemak megoldasat hibaizeneteknek a képernyön törtenő megjelenítésével segiti.
Ha a rendszer hibaüzenetet ir ki, vagy híbára utaló jelek fordulnak eló, tanulmányozza át à lejebbt talható, "Hibaüzenetek" címú részt. Ha a problema nem oldható meg, lépjen kapcsolatba a kereskedövel. Lásd: "Szervizszolgáltatas kérése" a 35. oldalon.
Hibaüzenetek
Ha a rendszer hibaüzenetet ir ki, jegyezze fel, majd tegye meg a megfelelo javito lépéseket. Az alábbi tablázat - betúrendben - a hibaüzeneteket és a javasolt intézkedéseket tartalmazza.
| Hibauzenetek | Javíto intézkedés |
| CMOS battery bad | Lépjen kapcsolatba a kereskedővel vagy egy hivatalos szervizközponttal. |
| CMOS checksum error | Lépjen kapcsolatba a kereskedővel vagy egy hivatalos szervizközponttal. |
| Disk boot failure | Helyezzen a Hajlékonylemezes meghajtóba (A:) egy rendszerlemezt, majd az <Enter> bilentyú lenyomásával indítsa újra a rendszert. |
| Equipment configuration error | A bekapsolási öntesztt (POST) alatt nyomja meg az <F2> billentyüt, ezzel belép a BIOS segédprogramba; majd a kilépéshez válassza az Exit (Kilépés) parancsot. |
| Hard disk 0 error | Lépjen kapcsolatba a kereskedővel vagy egy hivatalos szervizközponttal. |
| Hard disk 0 extended type error | Lépjen kapcsolatba a kereskedővel vagy egy hivatalos szervizközponttal. |
| I/O parity error | Lépjen kapcsolatba a kereskedővel vagy egy hivatalos szervizközponttal. |
| Keyboard error or no keyboard connected | Lépjen kapcsolatba a kereskedővel vagy egy hivatalos szervizközponttal. |
| Keyboard interface error | Lépjen kapcsolatba a kereskedővel vagy egy hivatalos szervizközponttal. |
| Memory size mismatch | A bekapsolási öntesztt (POST) alatt nyomja meg az <F2> billentyüt, ezzel belép a BIOS segédprogramba; majd a kilépéshez válassza az Exit (Kilépés) parancsot. |
Ha ja vajto intzkedesek megteele elleneire sem szunik meg a problema, kjerjuk,lepjen kapcsolatba a kereskedovel yag valamik yihatalos szvizkozponttal. Bizonyos problemak a BIOS segedprogram segitsegel megoldhatoak.
Jogszabályi és biztonsági tudnivalók
FCC nyilatkozat
A készüléket vizsgálatnak vetéték alá, amelynek során megállapíst nyert, hogy a készülék teljesīt az FCC szabályzatańak 15. pontja szerinti, B osztályú digitális eszközokre vonatkoź határétékeket. Ezeket a határétékeket úgy allapitották meg, hogy a lakópuletekben megfelelo védelmet nyútsanak a káros zavarokkal szemben. A készülék rádiofrekvenciás energiakt kelt, hasznal és sugározhat, és ha nem a hasznalati utasításnak megfeleloen helyezték üzembe és használják, akkor megzavarhatja a rádios távközlást.
Ugyanakkor semmilyen garancia nem vãllhato arra nézve, hogy meghatározott felhasználasnãn nem fordulnak elő zavarok. Ha a készülék zavart kelt a rádiós vagy a televizões vételben, és ezt a készülék be- és kikapcsolásával egyertelmüen meg lehet allapítani, akkor a felhasználó a zavarok megszünçntésére a következő lèpèsek teheti meg:
A vevoantennat allitsa mas iranyba, vagy helyezte at.
Novelje a távolságot a készülék és a vevő kiöztott.
A keszüléket csatlakoztassa más aramköhöz kapcsolófali dugaszolóaljatba, mint amelyhez a vevő csatlakozik.
Kérjen segítseget a kereskedótól vagy egy gyakorlott rádiós/televíos szakembertól.
Megjegyzés: árnyékolt kábelek
Az FCC elóirásainak betartása érdekében a készüléket más szamítastechnikai eszkökhöz kizárólag arnyékolt kabelel szabad csatlakozni.
Megjegyzés: perifériák
A készülékhez kizárólag oyan perifériákat (bemeneti/kimeneti eszközok, terminálok, nyomtatók stb.) szabad csatlakoztatni, amelyek megfelelnek a B osztályu eszközokre elóir hataréntekeknek. A hataréntekeknek nem megfelelo perifériak hasznalata eseten zavar léphet fel a rádiós e a televísiós vételben.
Vigyázat
A gyartó által nem engedélyezett valtoztatásk vagy módosításk miatt a felhasználo elveszitheti a Federal Communications Commission (Szövsetégi Távközlési Bizottság) által a szamítogép muködtétésereBiztositott jogát.
A modemre vona tkozó megjegyzések (csakBizonyos modellek esetében)
TBR 21
A készülék rendelkezik a nyilvános kapcsolt távbeszel-halózattal létesitendő egyvégzódéses cisatlakozásokhoz szükséges jóváhagyással [98/482/EK "TBR 21" tanácsi határozat]. Az egyes nyilvános kapcsolt távbeszel-halózatok köztti különbségek miatt azonban a jóváhagyás önmagában nem jalent feltétel nélkuli garanciátarra, hogy a mukódéns minded nyilvános kapcsolt távbeszel-halózat végpontján sikeres lesz. Problema eseten elösztör a berendezés szallitójaléval lépjen kapcsolatba. Az érintett országokkal kapcsolatos további tudinalókat lásd: "Jogszabályi és biztonsági tudinalók" a 37. oldalon.
Tudnivalók az LCD kijelző képpontjairól
Az LCD egységet nagypontosságú gyártásí eljárásokkal készítik. Ennek Ellenére előfurdulhat, hogy egyes pixelek (képpontok) nem megfeleloben vilagosodnak ki, illetve fekete vagy piros pontként jelennek meg. Ennek nincs hatása a tárol képre, és nem jalent meghibásodást.
Rádiokészülék hatósági engedélyezésimegjegyzés

Megegyzés: Az alábbi hatósági megegyzés csak a vezéték nélküli LAN és / vagy Bluetooth csatolóval felszerelt modellekre vonatkozik.
Általános tudnivalók
A készülék megfelel mindazon országok vagy régió rádiofrekvenciás ésBiztonsági elóirásainak, amelyekben a gezeték nélkúcsiatoló hasznalatat engedélyezték. A konfiguraciótol fuggöen a készülék tartalmazhat gezeték nélkú rádiofrekvenciás eszközoket (mint például a gezeték nélkú LAN és/vagy Bluetooth modul). Az alábbi informácok az ilyen készülékekre vonatkoznak.
Nyilatkozat az EU szabályoknak való megfelelesröl
Az Acer ezúton kijelenti, hogy a jelen hordozhato számítógp terméksorozat megfelel az 1999/5/EK irányel alapvető követelményeinek és egyeb vonatkozó rendelkezeseinek.
Az országok érvényességi kore
2009 juliusaban az EU tagjai a kovetkező országok: Ausztria, Belgium, Bulgaria, Ciprus, Csehország, Dánia, Egyésült Királyság, Észtország, Finnország, Franciaország, Görögország, Hollandia, Irország, Lengyelország, Lettország, Litvánia, Luxemburg, Magyarország, Málta, Németország, Olaszország, Portugalia, Romania, Spanyolország, Szlováka, Szlovensia és Svedország. A hasznalat engedélyezett az Europai Unión orszagaiban, valamint Norvegiaban, Svajcban, Izlandon és Liechtensteinben. A keszüléket az adott orszagban érvényes elófírasok és szabályok szigoru betartásával szabad csak használni. További információktiert lépjen kapcsolatba a használat országaban taláható helyi irodával. Az érintett országok aktuális listaját lásd: http://ec.europa.eu/enterprise/rtte/implem.htm.
Az FCC radiófrekvenciás biztonsági követelményeì
A gezeték nélkūli LAN Mini PCI kártya és a Bluetooth kártya sugárzási teljesítánye messze az FCC által engedélyezett rádiofrekvenciás hatarértek alatt van.
A hordozható szamítógépet ennek Ellenère úgy kell használni, hogy a használat során az emberekre gyakorolt hatás merteke a lehető legkisebb legyen:
1 A felhasznalókat kérjuk, hogy kovessék az FCC gezeték nélküli csatolókal rendelkező berendezések vonatkozóBiztonsági elóirásait, amelyeket minded rádfrekvenciával muködǒcsatolóval rendelkező berendezés használati utasítása tartalmaz.

Vigyázat: Az FCC radiófvenciás sugárzási határétékeinek betartasa érdekében muködés kozben legalább 20 cm távolság legyen a kijelzöbe építét vezeték nélküli LAN Mini PCI kártya és a környezetében tartózkodó személyek között.


Megegyzés: Az gezeték nélkūl Mini PCI kártya diversity-átvitelt alkalmaz. Az ilyen típusú atvitelnél mindigCsak az egyik antenna bocsát ki rádiofrekvenciás sugárzást. A sugárzsára használt antennakiválasztása automatikusan történik, illeteva megfelelo minósegü rádiós atvitel érdekében a felhasználo kézzel is vázaslzthat antennát.
2 A készülék az 5,15 - 5,25 GHz-es frekvenciatartományiban muködik, ezert csak belterben hasznalhato. Az FCC a készülék hasznalatát belterre korlátozza, ugyanis az 5,15 - 5,25 GHz-es frekvenciatartomány hasznalata miatt a kozos csatornát hasznaló mobil müholdas rendszerekkel fellopó interferenciákatCsak igy lehet a minimálisa csökentyeni.
3 Az 5,25 - 5,35 és az 5,65 - 5,85 GHz-es frekvciatartomány elsdleges hasznalói a nagy teljesitményu radarberendezesek. Az ilyen radarallomások zavarhatják és/vagy károsithatják a készüléket.
4 A helytelen üzembe helyezés vagy szakszerütlen hasznalat a radiótvközlésben zavarokat kelthet. A belso antenna barmilyen megvaltoztatasa az FCC engedély és a garancia megvonásával jár.
Kanada - alacsony teljesítményú, engedélyre nem kõteles rádiofrekvenciás távközlési eszközök (RSS-210)
A személyekre ható rádfrekvenciás mezők (RSS-102)
A hordozhato szamítogép kis erősítésü, belso antennákat alkalmaz, amelyek nem bocsatanak ki a Health Canada alta la lakosság számara megadott határétékeket meghaladó rádioffrekvenciás sugárzást. További információkat a 6. biztonsági szabályzatban, a Health Canada honlapján talál: www.hc-sc.gc.ca/rpb.
Optimalizáciaživotnosti batérié 16
Upozornenie na vyčerpanie bátéri 17
Vezmite si svoj prenosny počitač so sebou 18
Optimalizáciaživotnostibatérié
Ked' použírate napájanie z bátérié, venujte pozornost' indikátoru napájania v systémé Windows.

Arvuti koju kaasa vötmine 19
Arvuti ettevalmistamine 19
Mida kaasa votta 19
Tasub silmas pidada 20
Kodukontori üsseadmine 20
Arvutiga reisimine 20
Arvuti ettevalmistamine 20
Mida kaasa votta 20
Tasub silmas pidada 21
KönnyűKézikönyv