TRAVELMATE 5742 - Nešiojamas kompiuteris ACER - Nemokama naudojimo instrukcija
Raskite įrenginio instrukciją nemokamai TRAVELMATE 5742 ACER PDF formatu.
Atsisiųskite instrukciją savo Nešiojamas kompiuteris PDF formatu nemokamai! Raskite savo instrukciją TRAVELMATE 5742 - ACER ir vėl perimkite savo elektroninį įrenginį. Šiame puslapyje skelbiami visi dokumentai, reikalingi jūsų įrenginio naudojimui. TRAVELMATE 5742 prekės ženklo ACER.
NAUDOJIMO INSTRUKCIJA TRAVELMATE 5742 ACER
Piezime: Ilustracijas ir tikai atsaucem. Preciza jusu datora konfiguracija ir atkarifa no iegadatamodela.

Piezime: Izmantojot skarienpaneli, uzturiet to — un savus pirkstus — sausus un tirus. Skarienpanelis uzter pirkstu kustibu; tadel, jo vieglaks pieskariens, jo labak tas reagē. Specigāk uzsitot, skarienpanelis nereagēs labak.

Piezime: Pec noklusejuma skarienpanelim ir iespëjota vertikāla un horizontala ritinəsana. To var atspëjot, Windows Control Panel (Vadības paneli) izvēloties Mouse settings (Peles iestatijumi).
Produkta faktiskas spefikacijas var atskirties.
Utilita Acer eRecovery Management ietver šādas funkcijas:
1 Backup (Dublěšana):
- Create Factory Default Disc (Izveidot rūpīncas noklusejuma disku)
- Create Drivers and Applications Disc (Izveidot draiveru un lietojumprogrammu disku)
2 Restore (Atjaunošana):
Informacija apie sauguma ir komforta
Saugos instrukcijos
Atidžiai perskayky kite šias instrukcjjas. Pasilikite šj dokumenta naudojimui ateityje. Paisykite perspějmu ir instrukcjju, pažymétu ant produkto.
Produkt ijsjungimas pries valyma
Pries valyma isjunkite siktroduktia maitinimo lizdo. Nenaudokite skystu ar aerozoliniu valikliu. Valymui naudokite dregnauadinj.
LSPÉJIMAS produkta jjungiantir isjungiant
Laikykités toliau pateikiamu nurodymu jjungiant ir ijsjungiant maitinima i srovës tiekimo jrengini:
Idékite maitinimo elementa pries jjungiant elektrós laida i AC Rozete.
Išjunkite elektrós laida pries išimant elektrós tiekimo elementa iš kompiuterio.
Jeiguistema maitinama keliais maitinimo šaltiniais, atjunkite srove iš sistemas ištraukdami visus laidus ir maitinimo šaltiniu.
ISPEJIMAS del prieinamumo
Patikrinkite, ar maitinimo lizdas, [kuri] jungiamas maitinimo laidas, yra lengvai pasiekiama ir yra kiek galima jmanoma jrenginio. Jeigu jums reikia atjungti jrenginio maitinima, nepamirskite istraukti jrenginio laido is elektros lizdo.
ATSARGIAI su korteliu pakaitalais (tik tam tikriems modeliams)
Jusk kompiuteris yra pristatomas su korteliu pakaitalais,jdetais korteliu vietas.
Korteliu pakaitalai saugo korteliu vietas nuo dulkiu, metaliniu daiktu arba kitu daleliu.
Neismeskite ju - siu pakaitul priereiks kai nenaudosite korteliu.
ATSARIAI del klausymo
Noredami apsaugoti savo klausa, vadovaukites šiomis instrukcjomis.
Garsinkite palaipsniui, tol kol galite girdeti aiškiai ir patogiai.
Nedinkite garsumo lygio, kai ausys jau priprato.
Neklausy kite muzikos labai garsiai ilga laika.
Nedidinkite garsumotam, kad negirdetumete triuksmingos aplinkos.
Sumazinkite garsuma, jei negalite girdeti zmoniu, kalbanciu salia.
Ispejimai
- Nenaudokite šio produkto netoli vandens.
- Neděkite šio produkto ant nestabilaus vežimělio, stovo ar stalo. Jei produktas nukristu, jis gali būti rimbai apgadintas.
- Plysiair angos yra skirti ventiliacijai tam, kad butu uztikrintas patikimas sio produkto veikimas ir jis butu apsaugotas nuo perdaitimo. Siu angu negalima uzmimsti ar uzdengti. Siu angu negalima uzdengti dedant produkta ant lovos, sofos, uztiesalo ar panaasus pavirsius. Sio produkto niekada negalima statyti salia radiatoriaus ar kito sildymo prietaiso ar uzdaroje vietoje, kur nera pakankamos ventilaciños.
- Niekada nekiškite joku objektu i ši produktu per plysius ir angas, kadangi jie gali prisiliesti prie pavojingu itampos tašku ar sujungimo daliu ir tai gali sukelti gaisra ar elektros šoka. Niekada nepilkite jokio skyscio l produkta ar ant produkto.
- Venkite sugadinti vidines dalis ir apsaugokite baterija nuo protékiu, neděkite produkto ant vibruojancio paviršiaus.
- Niekada nenaudokite aplinkoje, kur sportuojama, mankštinamasi ar vibruojancioje aplinkoje, kur galima netikétai jvykti trumpas jungimas ar sugesti besisukançios detales, HDD, optinis jrenginys, kur ličio baterija gali kenkti sveikatai.
- Apatinis paviršius, vietos aplink ventiliacines angas, AC adapterio paviršius gali jkaisti. Tam, kad nesusižalotumete, stenkités neliesti šiu vietu plikomis rankomis ar kitomis kuno dalimis.
Prietaise ir jo prieduose gali buti smulkiu detaliu. Laikykite jrangmaziems vaikams nepasiekiamoje vietoje.
Elektros sroves naudojimas
- Šis produktas turi būti naudiojamas su tokio tipo srove, kokia nurodyta etiketēje. Jeigu nesate tikri, kokio tipo srové galima, pasikonsultuokite su atstovu ar vietos elektrós kompanija.
- Ant elektrós laidúnedekite joku daiktu. Nedekite ir nejunkite produkto ten, kur gali uzkliuti zmonès.
- Jeigu su šiuo produktu yra naudojamas prailginimo laidas, užtikrinkite, kad bendras, ↓ prailginimo laida pajungtos jrangos amperažas, nevirštu prailginimo laido amperažo. Taip pat patikrinkite, ar bendras prietaisu, jjungtu elektrros maitinima amperažas, neviršija saugiklio amperažo.
- Neperkraukite elektrros maitinimo lizdo i ji pajungdami per daug prietaisu. Bendra sistemas apkrova neturi virsyti 80% atsakos grandines parametru. Jei naudojami kišukai, apkrova neturi virsyti 80% bendruju kišuku parametru.
- AC adapteris turi trišaki jžeminta kištuka. Kištukas tinka tik lizdui su jžeminimu. Isitikinkite, kad elektrós maitinimo lizdas tinkamai jžemuntas prieš iksiant AC adaptoriero kištuka. Nekiskte kištuko j nejžeminta elektrós maitinimo lizda. Susisiekte su elektriku del issamesnés informacjos.

Ispéjimas! Kišukas su ježeminimu skirtas saugumui. Naudojant netinkamai ježeminta elektrós lizda galimas elektrós šokas ir/arba sužalojimas.
Pastaba: Kišukas su jžeminimu taip pat apsaugo nuo nepageidaujamo triukšmo, kuri gali sukelti kiti šalia esantys prietaisai šio produkto naudojimo metu.
- Sistema gali buti maitinama iš ivairiu tampos saltiniu - nuo 100 iki 120 arba nuo 220 iki 240 V AC. Prie sistemas pridétas maitinimo laida atitinka naudojimo standartus Jusu valstybeje/regione, kurioje nusipirkoteSYSTEMA. Maitinimo laidai naudojimui kitose valstybese/regionuose turi atitikti tos valstybes/regiono reikalavimus. Dél issamesnés informacjos apie reikalavimus maitinimo laidui - susisiekite su pardaveju arba paslaugos teikéju.
Produkto aptarnavimas
Nebandykite patys remontuoti šj produkta, kadangi dangciu atidarymas ar nuémimas susijes su pavojingos itampos ir kitokia rizika kelianciomis vietomis. Produktto techninji aptarnavimapatikékite specialistui.
Išjunkite produkti šsieninio maitinimo lizdo ir kreipkitës i specialista, kada:
- elektrós laidas ar kištukas yra pazeistas, nutrauktas ar sutrukinéjes
- ant produkto pateko skyszio
- ant Produkto ar i produkta pateko lietaus ar vandens
- Produktas nukrito arba buvo apgadantas jo korpusas
produkas akivaizdžiai neveikia kaip turetu, del ko yra butinybe ji remontuoti - Produktas neveikia taip, kaip turetu, nors laikomasi visu eksploatavimo instrukciju
Pastaba: Reguliuokite tik tuos valdymo itaisus, kurie nurodyti eksploatavimo instrukcjose, nes netinkamai sureguliavus kitus valdymo itaisus galite apgadinti produkta, o po tokio apgadinimo jo remontas bus sudetingas ir gali buti susijes su didelemis islaidomis.
Saugaus baterijos naudojimo rekomendacijos
Šiame kompiuteryje naudiojamos ličio jonu baterijos. Nenaudokite dregnоJE, šlapioje ar korozinéje aplinkoje. Neděkite, nelaiky kite ir nepalikite savo produkto šalia Šilumos Šaltinio, kur auksta temperatūra, tiesioginiuose saulès spinduliuose, mikrobanginéje krosneléje ar sléginiame inde, nelaiky kite temperaturope virš 60°C (140°F). Jei nesilakysite Šiu nurodymu, iš baterijos gali ištekétī rugstis, ji gali kjaisti, sprogti ar užsidegti, kas gali buti sužalojimu ir/arba jrangos apgadinimo priežastimi. Nebadykite, neatdarinékite ar neardykite baterijos. Jei ant odos patektu iš baterijos išbegusio skyscio, pažeista vietá gerai nuplaukite vandeniu ir nedelsdami kreipkitës medicinines pagalbos. Tiek del saugos, tiek del baterijos tarnavimo laiko prailginimo, ikrovimas nevyks esant temperaturaiŽemiau 0°C (32°F) arba virš 40°C (104°F).
Pilnas baterijos efektyvumas yra pasiekiamas tik po dviejur ar trijupkrovimo ir išeikvojimo ciklu. Baterija gali buti jkrauta ir išeikvota smtus kartu, taiau galiausiaji vis tiek susidévi. Jei baterijos veikimo laikas pastebimai sutrumpétu, jsigykite nauja baterija. Naudokite tik tinkamas baterijas, jas jkraukite tik su joms skirtais ir pritaikytais jkrovikliais.
Baterijas naudokite tik pagal paskirtj. Niekada nenaudokite ap gadinto jkroviklio ar ap gadintos baterijos. Neužtrumpinkite baterijos. Atsititkinis užtrumnimas gali ivykti tuomet, kai metalinis objektas, kaip pavyzdžiu moneta, spaustukas ar rasiklis tiesiogiai sukontaktuoja su teigiamu (+) ir neigiamu (-) baterijos poliais. (Jie atrodo kaip metaliniali baterijos strypeliai). Tai, pavyzdžiu, gali atsitiki jei atsarginé baterija idetä kišene ar krepši. Trumpas jungimas gali ap gadinti baterija ir ja užtrumpinus diakta.
Baterijos parametrai bus prastesni, o baterija tarnaus trumpiau, jei ji bus naudojama karstose arba saltose vietose - pavyzdziui jei ji bus palikta jkaitusiame automatombilyje vasara ar saltoje vietoje ziema. Visada stenkitures laiktyi baterija 15^ ir 25^ (59^ ir 77^) . Prietaiasus perkaitusia ar atsalusia baterija gali laikinai neveikti, nepaisant to, kad baterija pilnai jkrauta. Baterijos veikimui itin didelles itakos turi temperatura zeniau užšalimo laipsnio.
Nemeskite panaudotu bateriju 日 ugni, nes jos gali sprogti. Apgadintos baterijos taip pat gali sprogti. Baterijas iSmeskite pagal vietos rekalavimus. Atiduokite perdirbti, jei imanova. Neismeskite su buitinemis atliekomis.
Baterija gali tureti itakos belaidziu prietaisu veikimui ir ju veikimo kokybei.
Baterijos keitimas
Šiame kompiuteryje naudojama ličio baterija. Jei keistuměte nauja baterija, ji turi būti tokio paties tipo ir atitiki produkta. Jei naudosite kitokia baterija, galimas sprogimas arba gaisras.

Ispéjimas! Jei netinkamai elgsités su baterija, ji gali sprogti. Neardykite ir nemeskite baterijos i ugnj. Laikykite vaikams nepasiekiamoje vietoje. Laikykités vietos reikalavimù del baterijuutilizavimo.
Atsargiai su optiniu 且 renginiu (tik tam tikruose modeliuose)
ATSARGIAI: Siame prietaise yra lazerinéSYSTEMAir jis klasifikuojamas kaip "1 KLASÉS LAZERINIS PRODUKTAS". Jei del prietaiso kiltu kokiu nors problemu, susisiekite su artimiausia [GALIOTA atstovybe. Saugokitës lazerio spindulio, nebandykite atidaryti korpuso dangcio.
1 KLASÉS LAZERINIS PRODUKTAS
ATSARGIAI: NEMATOMA LAZERINÉ RADIACIJA ATIDARIUS. VENKITE SPINDULIO.
APPAREIL A LASER DE CLASSE 1 PRODUIT
LASERATTENTION: RADIATION DU FAISCEAU LASER INVISIBLE EN CAS D'OUVERTURE. EVITTER Toute EXPOSITION AUX RAYONS.
LUOKAN 1 LASERLAITE LASER KLASSE 1
VORSICH: UNSICHTBARE LASERSTRAHLUNG, WENN ABDECKUNG GEÖFFNET
NICT DEM STRAHLL AUSSETZEN
PRODUCTO LÁSER DE LA CLASE I
ADVERTENCIA: RADIACION LÁSER INVISIBLE AL SER ABIERTO. EVITE EXPONERSE A LOS RAYOS.
ADVARSEL: LASERSTRÄLING VEDÄBNING SE IKKE IND I STRÄLEN.
VARO! LAVATTAESSA OLET ALTTINA LASERSATEILLYLLE.
VARNING: LASERSTRÄLNING NÄR DENNA DEL ÅR ÖPPNAD ÅLÅ TUIJOTA SÄTEESEENSTIRRA EJ IN I STRÄLEN.
WARNING: LASERSTRÁLNING NAR DENNA DEL ÅR ÖPPNADSTIRRA EJ IN I STRÄLEN.
ADVARSEL: LASERSTRÄLING NAR DEKSEL ÅPNESSTIRR IKKE INN I STRÄLEN.
Telefoninés linjos sauga
- Atjunkite visas Telefonines linijas nuo i'renginio jei juo nesinaudiojate ir/arba prieš remonta.
Tam, kad išvengtuměte nuotolinée elektrōsoko rizikos nuo zaibo, nejunkite Telefono linjos i šia jrangá jei zaibujoa ar audros metu.

Ispéjimas! Saugos sumetrais nenaudokite nesuderinamu daliu papildant naujomis detalemis ar jas keičiant. Pasikonsultuokite su tiekèju del isigijimo galimbyiu.
Ispéjimas! Saugumo sumetimais, išjunkite visus belaidžius ar radijo bangas perduodancius prietaisus naudodamiesi nešiojamuoju kompiuteriu šiomis aplinkybémis. Šis prietaisas gali turétí, tačiau neapsiribojant: bevieli lan (WLAN), „Bluetooth“ ir/arba 3G.
Nepamirskite laikytis bet kokiu papildomu ar specialiu reikalavimu, taikomu Jus regionui, visada ijsjunkite prietaisa, kai jo naudojimas draudziamas arba jei tai gali sukelt saveikos pavoj. Naudokite sji prietaais tik jprastomis eksploatavimo salygomis. Sis prietaisas atitinka RF spinduliuotes reikalavimus jei jis naudojamas jprastai, o jo antenna yra bent 1,5 centimetru (5/8 coliu) atstumu nuo kuno (zr. paveiksléi zemiau). Jame neturi buti metalo, o Jus privalote laiktyprietaisa nurodytu atstumu nuo savo kuno. Norint sékmingai perduoti duomenu failus arba pranešimus, prietaiso rysys su tinklu turi buti geros kokyès. Tam tikrais atvejais duomenu failu arba pranešimu perdavimas gali buti uzaiakytas tol, kol atsistatys rysys. Uztkrinkite, kad buti laikomasi auksciau nurodytu atskyrimo instrukciju, kol perdavimas bus baigtas. Prietaiso detales yra magnetiskos. Metaliniai daiktai gali buti prisraukti prie prietaiso, o klausos aparatus naudojantys asmenys neturi laiktyprietaiso netoli ausies su klausos aparatu. Nedekite kredito korteliu ar kitu magnetiniu laikmenu salia prietaiso, nes jose esanti informacija gali issitrinti.
Medicininiai prietaisai
Bet kokios radijo dažnius perduodancius jrangos, jskaitant mobiliousius tefonus, veikimas gali tureti itakos ivairems nepakankamai apsaugotiems medicininiams prietaisams. Būtinai pasiteiraukite gydytojo ar gamintojo del naudojamo medicinio prietaiso apsaugos nuo išoriniu RF dažniu, nes tai gali sukelti rimtu pasekmiu. Išjunkite saveriatajsveikatos apsaugosi staigu patalpose ten, kur yra nurodymas, draudžiantis naudoti tokius prietausus. Ligoninëse ir sueikatos priežiūros jstaigose naudojama jranga, kuri gali būti jautri išoriniams RF dažniams.
Sirdies stimulatoriai. Sirdies stimulatori gamintojai rekomenduoja minimalu 15,3 centimetre (6 coli) atstuma nuo belaidzio prietaiso ir sirdies stimulatoriaus tam, kad butu isvengta belaidzio prietaiso poveikio sirdies stimulatorui. Sios rekomendacijos pagrjostos tyrimu rezultatais, kuriuos atliko belaidzio ryso technologiju specialistai. Asmenys su sirdies stimulatoriais turi:
- Visada laikyti prietaisä didesniu nei 15,3 centimetr (6 coli) atstumu nuo sirdies stimulatoriaus.
- Nenešioti prietaiso netoli širdies stimulatoriaus, jei prietaias jungtas. Atsiradus saveikai, kuo skubiau išjungti prietaisa ir padeti jj kuo toliau.
Klausos aparatai. Kai kurie skaitmeniniai belaidziai prietaaisai gali paveiktki klausos aparatus. Jeigu toks poveikis bute, susisiekite su paslaugos teikéju.
Transporto priemonés
RF signalai gali paveiki netinkamai jdiegta ar izoliuota elektronine sistemas motorinese transporte priemonese - elektronine kuro ipurskimoSYSTEMa, elektronine apsaugos nuo slydimo (užsiblokavimo) stabdantSYSTEMa, elektronine greicio controlés系統 a oro pagalviu sistemas. Dél issamesnes informacijos kreipkites i transporte priemonés ar jrangos gamintoja ar jo atstovus. Techniškai aptarnauti iranga, ja montuoti l transporte priemoné gali tik kvalifikuoti specialistai. Del neteisingo jrangos sumontavimo, jdiegimo ar neteisingos prieziūros gali kilti pavojus, nebegalios prietaiso garantija. Reguliariai tikrinkite ar visa sumontuota belaïde Iranga automobilye veikia tinkamai. Tame pačiame skyriuje ar netoliese kartu neläiky kiteirangos, jos daliu ir priedu bei degiu skysciu, duju ar sprogstamuji medziagu. Jei automobilye yra oro pagalviuSYSTEMA, atminkite, kad oro pagalvés išsiskleidžia didele jega. Todél neděkite joku daiktu oro pagalviu ir ju išsiskleidimo zonoje, jskaitant Iranga, jos dalis, priedus ir kitus nešiojamus belaidžius prietaisus. Netinkamai sumontavus ir jdiegus automobilio belaïde Iranga ar laikant ja oro pagalviu išsiskleidimo zonoje, galimi rimti susizalojimai. Naudotis šiuo prietaisu skrendant lektuvu draudžiama. Išjunkite saver prietaisa priesédant I léktvu. Belaidžio prietaiso naudojimas gali sukelti pavojú léktvo irangos veikimui, sutrikdyti ivairiu navigacionis prietaisu darba, tai gali naudotojui sukelti rimtu teisiniu pasekmiu.
Būtinai išjunkite ši prietaisa jei léjote l potencialiai sprogi agmasfera ir laikykitës visu zenklu ir instrukciju. Potencialiai sprogi aplinka dažniausiai buna ta aplinka, kur reikalaujama išjungti transporte priemonës degima. Kibirkstys tokiose vietose gali sukelti sprogima arba gaisra, sunkius ar net mirtinus kuno sužalojimus. Išjunkite prietaisa kuro pildymo vietose, netoliese duju pumpavimo jrangos, benzino kolonelëse. Laikykitës ribojim del radijo jrangos naudojimo kuro sandeliuose, netolitalpu ar distiliavimo vietu, chemijos pramonës gamyklose ar bet kuriose kitose vietose, kur yra sprogimo pavojus. Zonos, kur yra sprogimo pavojus, dažniausiai, táciau ne visada buna pažymétros ar nurodytos. Tokios Vietos gali buti apatiniai laivu deniai, chemikalu perkrovimo jranga, transporte priemonës, kuriose naudojamos suskystintos dujos (propanas ar butanas), vietos, kur ore yra chemijos elementu ar daleliu, tokiu, kaip grudai, dulkës ar metalo milteliai. Nejjunkite ir nelaikykite jjungto belaidžio prietaiso ar mobiliojo Telefono, kur tai draudžiama ar gali sukelti pavoju.
Pirmosios pagalbos skambučiai
Ispejimas: Sis prietaisas nera skirts skambinti i pirmosios pagalbos tarrybas. Norint prisiskambinti pirmosios pagalbos arba avarinems tarryboms, naudokites kitu mobiliouju Telefonu ar kita skaminimoSYSTEMA.
Utilizavimo instrukcijos
Neišmeskite šio elektroninio prietaiso su buitinemis attiekomis. Tam, kad kiekvianas prisidétu prie aplinkos tarşos mažinimo, atiduokite šj prietaisa perdirbti. Išsamesnés informacijos rasite Elektros ir elektronínes jrangos utilizavimo reikalavimuose ("Waste from Electrical and Electronics Equipment", WEEE), Žr. http://www.acer-group.com/ public/Sustainability/sustainability01.htm.

Informacija apiegyvsidabri
Lempinai Projektoriai ar kiti elektroniniai produktai, kuriuose naudojami ne LED ir ne LCD/CRT vaizduokliai ar ekranai: Sio produkto viduje esanciose lempose yra gyvsidabrio, todel jos turi buti utilizuojamos ir perdirbamos pagal vietos, valstijos ar federalinius jstatymus. Dél issamesnés informacijos, susisiekite su „Electronic Industries Alliance" adressu www.eiae.org. Informacijos apiè lempu/utilizavima rasite adressu www.lamprecycle.org.
ENERGY STAR

"Acer" produktai, sertifikuoti pagal „ENERGY STAR“, taupo pinigus, sanaudas, saugo aplinka, táciau del to nenukenchia produktu funkcijos ir veikimo kokybe. „Acer" didžiuojasi galédama savo clientams pristatyti produktus su „ENERGY STAR" Ženklu.
Apie "ENERGY STAR?"
Pagal „ENERGY STAR“ tertifikuoti produktai naudoja mažiau energijos, apsaugo nuo šiltnamio efekta sukeliančiu duju, jie atitinka griežtus reikalavimus, kuriuos nustaté JAV Aplinkos apsaugos agentura. „Acer“ siekia gaminti ir l rinka visame pasaulyje tiekti tik tokius produktus, kurie ne tik padded clientams taupyti pinigus, bet ir neeikvoja energijos, prisida sed prie aplinkos tausojimo. Kuo daugiau energijos suteupysime ja naudodami efektyviai, tuo labiausumažinsime šiltnamio efekta ir klimato kaita sukeliančiu duju emisija. Išsamesnës informacijos rasite adresu http://www.enerqystar.gov arba
http://www.energystar.gov/powermanagement
"Acer" produktai su "ENERGY STAR" zenklu: (tik tam tikriems modeliams)
- Išskiria maziau karšćio, todél reikia maziau aušinti esant šiltam klimatui.
- Ekranaq automatiskai perjungia i „miegojimo" rezina po 10 minuciu ir visiskai ji isjungia po 30 minuciu nenaudojimo.
- "Pažadina" kompiuterì iš „miegojimo" režimo vieninteliu klavišo paspaudimu ar pełès pajudinimu.
Miegojimo rezime kompiuteris taupo virs 80% energijos.
"ENERGY STAR" pavadinimas ir,ENERGY STAR" zenklas - registruoti JAV.
Patarimai ir informacija patogiam naudojimui
Ilgai dirbant kompiuteriu naudotojai dažnai skundžiasi akiu nuovargiu ar galvos skausmu. Ilgai arba nuolatos dirbant kompiuteriu didëja ir fizinës Žalos tikimybë. Ilgas ar nuolatinis darbas kompiuteriu, nepatogi padëtis, netinkami darbo jpročiai, stresas, netinkamos darbo salygos, nesirūpinimas asmenine sveikata ir kiti faktoriai gali būti ligos priežastimi.
Neteisingas kompiuterio vartojimas gali sukelti karpalinio tunelio sindroma, tendonita, tenosinovita ar kitus muskoskeletinius negavimus. Sie simptomai gali atsirasti rankoms, rieams, delnams, peciams, kaklui arugarai:
- tirpimas, deginimas, dilgchiojimas
- skausmai, badymas, minkstumas
- skausmas, tinimas ar virpējimas
- kietumas ar verzimas
salimas ar silpnumas
Jei jaučiate šiuos simptomus ar bet kokj nuolatos pasikartojanti ar varginanti diskomforta ir/arba skausma, kuo skubiau susisiekite su gydytoju, apie tai informuokite saver monés sveikatos ir saugos darbe skyriú.
Šiame skyrelyje pateiksime informacijos kaip geriau ir patogiau naudotis kompiuteriu.
Patogiajsitaisykite
Negailékite laiko reguliodami sédjimo kampa, monitoriu, galite pasidayti atramas pédoms, padidinti kédés aukst – darbo vieta paruokskite taip, kad jaustumétes patogiai. Keli naudingi patarimai:
- stenkités nebuti per ilgai vienoje nejudamoje padétyje
venkite būti pasilenke j priék ir/ar atsiloše
reguliariai atsistokite, pavaikšciokite, kad atpalaidotumete koju raumenis - padarykite trumpas pertraukéles, kad atpalaidotumete kakla ir pečius
stenkités dirbtnejtempe raumenu,nejudindami peciu - kad dirbti butu patogiau, jsigykite didesnji isoriniu monitoriu, patogiai valdoma pele
- jei daugiau ziurite i monitoriu, o ne i dokumentus ant stalo, monitoriu statykite taip, kadjis butu jusu regejimo centre - taip sumazinsite kaklo raumenu itempima
Rūpinimas savo rega
llgos ziurejimo valandos, netinkami akinaiar kontaktinaii lesiai, ekrano blizgesys, per didelis ar per mazas kambario apsvietimas, netinkami vaizdo nustatymai, per mazas sriftas ar netinkamas kontrastas - vagina acos. Pateikiame kelis patarimus api tiei, kaipsumainti akiu nuovargj.
Akys
Leiskite daznai pailsi akims.
Tam reikalingos reguliarios pertraukelès neziūrint i ekranà ir sufokusuojant Žvilgsnj i tolimesnj atstuma.
Dažnai mirksékite, kad akys neisdziūtu.
Ekranas
Ekranas visada turi buti svarus.
Jus galva visada turi buti auksicau uz virsutine vaizduoklio briaunamak akys visada butu nukreiptos j vaizduoklio centra.
- Gerai sureguliuokite ekrano ryskuma ir/arba kontrasta, kad galetumete aiiskiai matyti ir teksta, ir grafika.
- Blizgesj ir atspindzius galite pašalinti:
- pastate ar pasuke vaizduokli taip, kadjis butu i sona nuo lango ar kito ssviesos saltinio
sumazine patalpos apsvietimu uzuolaidomis, zaliuzemis ar kitomis uztamsinimo priemonemis
naudodami tinkamagaline lempa - pakeisdami displéjaus kampa
naudodami atspindj mažinanti filtra - naudodami specialia ekrano apsaugos briauna – pagaminta iš kartono in dengiančia spindesio puse
Venkite nustaty i vaizduokl sunkiu ziurejimui kampu.
Venkite ilgesnj laika tiesiogiai ziureti ryskius sviesos saltinius, tokius kaip atviri langai.
Išsiugdykite gerus darbo jpročius
Išsiugdykite tokius darbo ipročius, kurie leistu naudotis kompiuteriu labiau atsipalaidavus ir produktyviau:
Reguliaria ir daznai darykite pertraukéles.
- Atlikite kelis sanariu atpalaidavimo pratimus.
Kuo dazniau kvépuokite grynu oru.
Reguliariai mankstinkites ir rupinkites kuno fizine bukle.

Ispéjimas! Nerekomenduojame naudotis kompiuteriu ant sofos ar lovos. Jei tai neisvengiama, dirbkite neilgai, daznai darykite pertraukéles ir pratimus.

Pastaba: Del išamesnés informacijos, ziūrekite „Reikalavimai ir su sauga susije ispějimai“ puslapyje 35.
Dalykai, kuriuos reikia atlikti pirmiausia
Leiskite padekoti, kad pasirinkote „Acer" nešiojamaji kompiuterj - tikimës Jusu nenuvilti ir užtikrinti visus nešiojamjo kompiuterio teikiamus privalumus.
Instrukcijos Jums
Tam, kad palengvintume Jums naudojimi „Acer“ kompiuteriu, parengéme kelias instrukcjjas:
Pirmoji vadinasi Pradedantiesiems... - ši informacija padès pirmosiomis kompiuterio naudojimo minutémis.
Spausdintoje TravelMate serijos bendrojoje instrukcijoje naudotojui rasite naudingos informacijos apie visos „TravelMate" produktu serijos modelius. Cia pateikiama informacija apie „Acer eRecovery Management", klaviaturos naudojima, audio sistemas ir t.t. Noretume atkreipti Jus demesi tai, kad Bendrojoje instrukcijoje naudotojui bei AcerSystem User Guide gali buti pateikiama informacija apie tam tikras fungcjias, kurios bus tik tam tikruose sios serijos modeliuose ir gali nebuti Jusisigytame konkreciame modelje. Tokiais atvejs atitinkamose teksto vietose yra prierašais „tik tam tikruose modeliuose".
Spausdintoje Trumpoje instrukcijoe pateikiama informacija apie pagrindines Jusugsigyto kompiuterio savybes ir funkcjjas. Issamesnés informacijos apie tai, kaip padaryti kompiuteri produktyvesniu, rasite AcerSystem User Guide. Sioje instrukcijoe išamiai aprăsoma tokia informacija, kaip sisteminiali failai, duomenutstatymas, kompiuterio galimbyiu praplétimas ir gedimu diagnostika. Be to, sioje instrukcijoe yra ir garanté informacija, bendrieji reikalavimali ir su sauga susijeispëjimal. Si instrukcija yra „Portable Document Format (PDF)" formate ir ji jau bus kompiuteryje. Jei norite peržiūreti šia instrukcija:
1 Spauskite

Start (pradéti), All Programs (visos programos),
AcerSystem.
2 Spauskite AcerSystem User Guide.

Pastaba: Failo perziurai reikës, "Adobe Reader". Jei kompiuteryj néra, "Adobe Reader", paspaudus ant AcerSystem User Guide bus pirmiausai paleistas, "Adobe Reader" idiegimas. Vadovaukitës ekrane esanciomis instrukcijomis idiegimo užbaigimui. Instrukcjù del, "Adobe Reader" naudojimosi iešokite, "Help and Support" [Zinynas ir pagalba] menuiu.
xiv
Pagrindine priežiūra ir patarimai kompiuterio naudojimui
Kompiuterio jungimas ir išjungimas
Jei norite ijungti kompiuteri, tiesiog paspauskite ir atleiskite maitinimo mygtuka, kuris yra apacioje LCD ekrano, šalia lengvo paleidimo mygtuku. Žiurekite „Trumpa instrukcija" del maitinimo mygtuko vietos.
Jei norite ijsjungti kompiuteri:
- Naudokite „Windows“,Shut Down (išjungti)" komanda
Spauskite ant Start (paleisti), tada spauskite ant Shut Down (ijsjungti).
Maitinimo mygtuko naudojimas
Galite „užmigdyti" kompieteri paspaude „Sleep" tiesioginj klaviša

Pastaba: Jei iprastai nepavyksta ijsjungti kompiuterio, paspauskite ir palaikykite maitinimo mygtuka daugiau nei keturias sekundes, kad kompiuteris iissijungtu. Jei ijsjungete kompiuteri ir norite ji vél ijungti, priš ijungiant palaukite bent pora sekundžiu.
Kompiuterio priežūra
Kompiuteris tarnaus puikiai jei bus atitinkamai prižiūrimas.
- Nelaikykite kompiuterio tiesioginiuose saulès spinduliuose. Nedékite šalia Šilumos šaltiniu, tokiu kaip radiatorius.
- Nelaiky kite kompiuterio temperaturoje zemiau 0^ (32^) ar aukšciau 50^ (122^) .
Nelakykite kompiuterio magnetiniuose laukuose. - Nelaiky kite kompiuterio lietuje ar drégmeje.
- Nepilkite vandens ar kokiu kitu skysciu ant kompiuterio.
- Nelaiky kite kompiuterio ten, kurjis gali buti sukrstas, kur didelé vibracija.
Saugokite kompiuterj nuo dulkiy ir purvo. - Niekada nieko nedekite ant kompiuterio virsaus.
Netrenkite kompiuterio ekrano jj uždarydami. - Niekada nedekite kompiuterio ant nelygaus paviršiaus.
ACadapterio prieziura
Pateikiame kelis patarimus del AC adapterio prieziuros:
- Nejunkite adapterio prie jokio kito prietaiso.
- Nelipkite ant maitinimo laido ir ant jo nedekite jokiu sunkiu daiktu. Atsargiai patraukite maitinimo laida ir kitus laidus nuo parjimo tako.
- Ištraukiant maitinimo laida - netraukite viso laido, o traukite adapterio kištuka.
- Bendras pajungtu prietaisu amperazas neturi virsyti maitinimo laido nurodytojo amperazo jei naudojamas prailgintuvas. Be to, visu jjungtu i viena maitinimo lizda prietaisu bendras amperazas neturi virsyti saugiklio amperazo.
Kompiuterio baterijos priežiūra
Pateikiame kelis patarimus, susijusius su baterjos prieziura:
- Vietoje naudojamos baterijos dékite tik tokio paties tipo baterija. lśjunkite maitinimā prieš iśimdami ar keisdami baterijas.
- Nelaužy kite bateriju. Laiky kite vaikams nepasiekiamoje vietoje.
- Utilizuokite panaudotas baterijas pagal vietos reikalavimus. Atiduokite perdirbimui jei tai jmanoma.
Valymas ir techninis aptarnavimas
Valydami kompiuteri, laikykites siu nurodymu:
1 Isjunkite kompiuterir isimkite baterija.
2 Atjunkite AC adapteri.
3 Naudokite minkšta sudrekinta audinj. Nenaudokite skystu ar aerozoliniu valikliu.
Jei netyčia:
- kompiuteris nukristu arba būtu apgadintas jo korpusas;
- kompiuteris tinkamai neveiks
Ziurekite, "Dznaiausiai uzduodami klausimai" puspapye 31.
Informacija apie saugumajir komforta iii
Saugos instrukcijos iii
Atsargiai su optiniirenginiu (tik tam tikruose modeliuose) vi
Pirmosios pagalbos skambučiai ix
Utilizavimo instrukcijos ix
Informacija apie gyvsidabri ix
ENERGY STAR
Patarimai ir informacija patogiam naudojmui x
Dalykai, kuriuos reikia atlikti pirmiausia xili
Instrukcijos Jums xiii
Pagrindine prieziura ir patarimai kompiuterio naudojimui XIV
Kompiuterio jjungimas ir isjungimas XIV
Kompiuterio prieziura xiv
ACadapterio prieziura XV
Kompiuterio baterijos prieziura XV
Valymas ir techninis aptarnavimas XV
Lieciamasis laukelis 1
Pagrindine informacija apie lieciamaji laukeli
(supirsto atspaudunuskaitymu) 1
Lieciamojo laukelio pagrindai
(sudviem paspaudziamaisiais mygtukais) 2
3
Užrakto klavišai ir integruota skaičių klaviatūrast 3
Windows klavišai 4
Garsas 5
Acer PureZone (tik tam tikruose modeliuose) 5
Vaizdas 5
16:9 rodymo santykis (tik tam tikriems modeliams) 5
Sistemas naudmenu naudiojimas 6
Acer Bio-Protection (tik tam tikruose modeliuose) 6
Baterijos charakteristikos 14
Kad baterija tarnautu kiek jmanoma ilgiau 14
Baterijosjdejimasirisemimas 15
Baterijos jkrovimas 16
Baterijos jkrovimo lygio patikrinimas 16
Baterijos tarnavimo laiko optimazivimas 16
Ispejimas apie baterijos isshikrovima 17
Asmeninio kompiuterio pasiémimas su savimi 18
Atsijungimas nuo darbastalio 18
Pernešimas iš vienos vietos i kita 18
Kompiuterio paruosimas 18
Ka pasimi t susitikimus 19
Kompiuterio pasiemimas namo 19
Kompiuterio paruosimas 19
Ka. pasiimi su savimi 19
Pagalaplinkybes 20
Namuy biuro jrengimas 20
Keliavimas su kompiuteriu 20
Kompiuterio paruosimas 20
Ka. pasiimi su savimi 20
Pagalaplinkybes 21
Tarptautinés kelionés su kompiuteriu 21
Kompiuterio paruosimas 21
Ka. pasiimi su savimi 21
Pagalaplinkybes 21
Kompiuterio apsauga 22
Kompiuterio apsaugos užrakto naudiojimas 22
Slaptažodžiu naudojimas 22
Slaptažodžiu ivedimas 23
Slaptažodžiu nustatymas 23
Pasirinkciu parplétimas 24
IEEE 1394 prievas (tik tam tikruose modeliuose) 26
multimedia sasaja) (tik tam tikruose modeliuose) 26
ExpressCard (tik tam tikruose modeliuose) 27
Atminties jdiegimas 28
BIOS naudmena 29
Krovimosi seka 29
junkite atstatym diskas iš disko 29
Slaptažodis 29
Programinés irangos naudojimas 30
DVD filmu leidimas 30
Dažniausiau užduodami klausimai 31
Aptarnavimo užklausa 33
Klaidu pranešimai 34
Reikalavimai ir su sauga susije jspejimai 35
FCC patvirtinimas 35
Su modemu susijusios pastabos (tik tam tikruose modeliuose) 36
LCD pikseliu informacija 38
FCC RF saugumo reikalavimas 39
Kanada - mazos galios radijo jranga, kuriai nereikia
licenziju komunikacijos prietaisai (RSS-210) 40
Zmoniu buvimas RF laukuose (RSS-102) 40
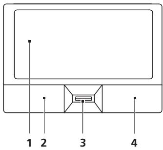
Liečiamasis laukelis
Integruotas lieciamasis laukelis yra valdymo itaisas, kuris reagujoa lo pavirsiaus lietima. Tai reiskia, kad kursorius reagujoa j judesi pirstu lieciant laukelio plota. Centrinedlno atramos vieta uztikrina maksimalu komforta ir patoguma.
Pagrindine informacija apie lieciamajl laukelj (su pirsto atspaudnuskaitymu)
Pateikiame keleta patarimu apie tai, kaip naudotis lieciamuoju laukeliu su „Acer Bio-Protection" pirsto atspaudy nuskaitymu.
Braukite pirstu lieciamuoju laukeliu (1) jei norite valdyti kursoriu.
Spauskite kairiji (2) ir desiniji (4) mygtukus, kurie yra lieciamoyo laukelio apacioje jei norite atlikti pasirinkimo ir vykdymo funkcjjas. Sie du mygtukai veikia analogiiskai kairiajam ir desiniajam kompiuterines pelses mygtukams. Svelnus lieciamoyo laukelio paspaudimas atitinka kompiuterines pelses kairiojo mygtuko paspaudima.

| Funkcija | Kairysis mygtukas (2) | Dešinysis mygtukas (4) | Pagrindinis liečiamasis laukelis (1) | Centrinis mygtukas (3) |
| Vykdtyi | Du kartus greitai paspauskite. | Palieskite du kartus (tokiu pat grečiu, kaip spaudžiate kompiuterines pelès mygtuka). | ||
| Pasirinkti | Spausti viena karta. | Paliesti viena karta. | ||
| Vilki | Paspaskite ir laikykite, tada veskite pirštù liečiamoju laukelii valdydami kursoriu. | Palieskite du kartus (tokiu pat grečiu, kaip spaudžiate kompiuterines pelès mygtuka); paděkite pirštą ant liečiamojo laukelio antrojo lietimo metu ir veskite kursoriu. | ||
| Prieiga prie kontekstinio meniu | Spausti viena karta. |
Liečiamojo laukelio pagrindai (su dviem paspaudžiamaisiais mygtukais)
Siuose punktuose aprasyta, kaip naudotis lieciamuoju laukelio su dviem paspaudziamaisiais mygtukais.
Braukite pirstu lieciamuoju laukeliu jei norite valdyti kursoriu.
Spauskite kairiji ir desiniji mygtukus, esancius lieciamojo laukelio apacioje, jei norite atlikti pasirinkimo ir vykdymo funkcjias. Sie du mygtukai veikia analogiskai kairijam ir desinijam kompiuterines pelis mygtukams. Svelnus lieciamojo laukelio paspaudimas atitinka kompiuterines peles kairiojo mygtuko paspaudima.
| Funkcija | Kairysis mygtukas | Dešinysis mygtukas | Pagrindinis liečiamasis laukelis |
| Vykdyti | Du kartus greitai paspauskite. | Palieskite du kartus (tokiu pat grečiću, kaip spaudžiate kompiuterinès pelès mygtuka). | |
| Pasirinkti | Spausti viena karta. | Paliesti viena karta. | |
| Vilkti | Paspauskite ir laikykite, tada veskite pirštu liečiamoju laukeliu valdydami kursoriu. | Palieskite du kartus (tokiu pat grečiću, kaip spaudžiate kompiuterinès pelès mygtuka); paděkite pirštā ant liečiamojo laukelio antrojó lietimo metu ir veskite kursoriu. | |
| Prieiga prie kontekstinio meniu | Spausti viena karta. |

Pastaba: Iliustracijos skirtos tik informacinians tikslams. Tiksli kompiuterio konfiguracija prikauso nuo jsigyto modelio.

Pastaba: Naudojantis lieciamuoju laukeliu, — pirstai turi buti — sausi ir švarus. Lieciamasis laukelis yra jautrus pirstu judesiams.; tad, kuo švelnesnis lietimas, tuo jautresnis reagavimas. Stiprus spaudimas ar lietimas nepadidins lieciamjo laukeli'o jautrumo.

Pastaba: Pagal pirminius nustatymus, nustatyta vertikalioji ir horizontali lei ciamamo laukelio slinktis. Siuos nustatymus galima pakeisti peles nustatymais „Windows Control Panel“, [Windows“ valdymo skydelyje].
Naudiojimas klaviatūrā
Klaviatura turi pilno dydzio klaviisus ir integruota skaiciu klaviatura*, atskirq kursoriu, uzrakta, "Windows", funkcjiu ir specialius klaviisus.
Užrakto klavišai ir integruota skačiç klaviatūra*
Klaviatura turi tris užraktó klavišus, kurios galite jjungti ir ijsjungti.
| Užrakto klavišas | Aprašymas |
| "Caps Lock" | ljungus „Caps Lock“, abécéliniai simboliai rašosi didžiosiomis raidëmis. |
| "Num Lock" | ljungus „Num Lock“, integruota skaičić klaviatūrā persijungia i skaičić režima. Šie klavišai veikia kaip kalkulatorius (attieka aritmetines operacijas su+, -, *, ir/). Naudokite šj režima kai reikija jvesti daug skaitini μduomenu. Dar geresnis sprendimas būtμ prijungti išorinë klaviatūră. |
| "Scroll Lock" | ljungus „Scroll Lock“, vaizdvas ekrane juda viena linija akustyn arba šemyn spaudžiant, atitinkamai, klaviša su rodykle akustyn arba su rodykle šemyn. „Scroll Lock" su tam tikromis programomis neveikia. |
| "Fn> + <F12> |
Integruota skaiciu klaviatura veikia kaip stalinio kompiuterio skaiciu klaviatura. Ji pazymeta mazais simboliais, esanciais virsutiniame desiniajame klaviu kampe. Tam, kad butu supaprastintas klaviaturos iisdystymas ir naudojimas, ant siu klavius nera kursoriaus valdymo simboliu.
| Norima priega | „Num Lock“ ijungta | „Num Lock“ išjungta |
| Skačić klavišai integruotoje skačić klaviatūroje | „veskite skačićius iprastu būdu. | |
| Kursoriaus valdymo klavišai ant integruotos klaviatūros | Nuspaudę laikykite <Shift> kai naudojate kursoriaus valdymo klavišus. | Nuspaudę laikykite <Fn> kai naudojate kursoriaus valdymo klavišus. |
| Pagrindiniai klaviatūros klavišai | Laikykite nuspadć <Fn> kai spausdinate raides integruota klaviatūra | Spausdinkite raides ijprastu būdu. |
- tik tam tikruose modeliuose
Windows klavišai
Klaviaturoje yra du klavišai, kurie attlieka specialias „Windows“ funkcijas.
| Klavišas | Aprašymas | |
| Windows klavišas | Paspautas vienas, šis klavišas duoda toki pati efekta kaip ir paspaudus „Windows Start“ mygtuka – jis paleidžia „Start“ meniu. Jis taip pat gali būti naudojamas su kitais klavišais jvairioms funkcjijoms: | < ➢>: Atidaryti ar uždaryti „Start“ meniu < ➢> + <D>: Rodyti darbastaj < ➢> + <E>: Atidaryti „Windows Explore“ < ➢> + <F>: leškoti failo arba aplanko < ➢> + <G>: Pereiti per šoninës juostos jtaisus < ➢> + <L>: Užrakinkite savo kompiuterj (jei esate prisijungë prie internetinio adreso) arba pakeiskite naudotojus (jei nesate prisijunge prie internetinio adreso) < ➢> + <M>: Sumažina visus langus < ➢> + <R>: Atidaro „Run“ dialogo langa < ➢> + <T>: Pereina per programas užduočių juostoje < ➢> + <U>: Atidaromas „Ease of Access Center“ < ➢> + <X>: Atidaromas „Windows Mobility Center“ < ➢> + <BREAK>: Rodyti sistemas ypatybių dialogo langa < ➢> + <SHIFT+M>: Atkurtisumažintus langus j darbastaj < ➢> + <TAB>: Eiti per programas užduočių juostoje naudojant „Windows Flip 3-D“ < ➢> + <SPACEBAR>: Iškelti visus jtaisus priešais ir pasirinkti „Windows“ šonine juosta. <CTRL> + < ➢> + <F>: leškoti kompiuterių (jei esate tinkle) <CTRL> + < ➢> + <TAB>: Naudokite rodyklių klavišus norëdami eiti per programas užduočių juostoje naudojant „Windows Flip 3-D“ Pastaba: Priklausomai nuo jdiegtos „Windows“ versijos, kai kurios trumperios kreiptys gali neveikti taip, kaip Čia aprašyta. |
| Funkcinis klavišas | Šis klavišas turi tą pačia Funkcjä, kaip ir dešnio pelës mygtuko paspaudimas; jis atidaro programos kontekstini meniu. | |
Garsas
Kompiuteris taip pat komplektuojamas su 32-ju bitu „High Definition (HD) Audio" plokste ir garsiakalbu (-iais).
Acer PureZone (tik tam tikruose modeliuose)
Si planta užtikrina naujus išskirtiinus garso pojúčius, jskaitant „Acer PureZone“ su integruotais stereo mikrofonais, kurie turi spindulio formavimo ir aido slopinimo technologijas. „Acer PureZone“ technologija palaiko „Acoustic Echo Cancellation“, „Beam Forming“ ir „Noise Suppression“ itin švariam garso jraśymui. Jei norite nustatyti mikrofoná, paleiskite „Acer HD Audio Manager“ du kartus paspausdami ant „Acer HD Audio Manager“ piktogramos, esancios „Windows“ sistemas jrankiu sistemoje. Išsoks „Acer HD Audio Manager“ dialogo langas. Spauskite ant skirtuko „Microphone“, tada spauskite ant „Microphone Effects“ skirtuko. Pasirinkite „Beam Forming“ ir „Acoustic Echo Canellation“ jei norite nustatyti mikrofono efektá.

Pastaba: Išjunkite spindulio formavim jei norite, kad ivestis bute iš keliu garso šaltiniu.
Vaizdas
16:9 rodymo santykis (tik tam tikriems modeliams)
16:9" formato rodymas užtikrina pačios aukšciausios „Full HD“ kokybès filmus kaip niekada iki šiol. Itin aukstos kokybès spalvů pristorinimas garantuoja autentiškus „HD“ Žiūrějimo jspūdžius. „16:9“ kokybě reškia tikra namů kino sistemas vaizduh harmonija, kuria nuo šiol gali naudotis ir nešiojamuju kompiuteriù entuziastai.
Sistemas naudmenu naudiojimas
Acer Bio-Protection (tik tam tikruose modeliuose)
"Acer Bio-Protection Fingerprint Solution" - apsaugos pagal pirstu atspaudus programinês irangos paketas, integruotas [Microsoft Windows] operaciné sistemas. Pasinaudojus pirsto atspaudo unikalumu, Acer Bio-Protection Fingerprint Solution suteikia apsaugau nuo nesankcionuotos prieigos prie jusu kompiuterio su centralizuotu slaptažodžio valdymu per slaptažodžiu banka ir leidžia greitai jkelti programas / interneto puslapius bei prisijungti su Acer FingerLaunch.
Su „Acer Bio-Protection Fingerprint Solution" nuo šiol galèsite turéti papildoma ir patikima savo kompiuterio apsaugau, patogiai atlkiti kasdienes uzduotis, kada daugeluii komandu uzteks vienintelio pirsto pajudinimo!
I'samesnes informacjos rasite „Acer Bio-Protection" pagalbos failucose.

Acer Backup Manager

Pastaba: Ši funkcjja yra tik tam tikruose modeliuose.
"Acer Backup Manager" - paprastas triju pakopu procesas, kuriuo sukuriamos visos sistemas arba pasirinktu aplenku pagal nurodyta grafika ar kitus parametrus, rezervinés duomenu kopijos.
Jei norite paleisti „Acer Backup Manager“, spauskite „Acer Backup Manager“ klaviša, esanti virš klaviatūros. Kitas paleidimo budas – eikite i Start (paleisti) > All Programs (visos programos) > Acer Backup Manager > Acer Backup Manager. Čia atsidarys pasveikinimo ekranas; šiame ekrane bus paaiskinta kaip trimis etapais nustatyti reikiamas užduotis ir funkcjias. Spauskite Continue [Testi] jei norite testi kitame ekrane. Spauskite + mygtuka ir sekite instrukcjias ekrane:
1 Pasirinkite turinj, kurio rezervines kopijas norite daryti. Kuo mazesnis bus pasirinktas turinys, tuo bus greitesnis procesas, taciau išsaugosite maiau duomenu.
2 Pasirinkite vieta, kur norite išsaugoti rezervines duomenu kopijas. Reikés nurodyti arba išorinì diska, arba kompiuterio „D:“ diska; „Acer Backup Manager“ neišsaugos informacijos sistemi面目 diske.
3 Pasirinkite kaip daznai norite naudoti „Acer Backup Manager" rezerviniq kopijug sukūrimui.
Kai atliksite šiuos tris etapus, rezervinës kopijos bus sudaromos pagal nustatyta tvarkarašti. Rezervines kopijas bet kada galite sukurti rankiniu budu paspaude „Acer Backup Manager" klaviša.
Nustatymus pakeisti taip pat galite bet kada - paleiskite „Acer Backup Manager“ iš Start (paleisti) menui ir atlikiteŽemiau nurodytus veiksmus.

Energijos valdymas
Sis kompiuteris turi jdiegta maitinimo valdymo elementa, stebinti sistemos veikima. Sistemas veikimas yra toks procesas, kada veikia vienas ar keli zeniau nurodyti irenginiai: klaviatura, pele, standusis diskas, prie kompiuterio prijungti periferiniai irenginiai ir video atmintis. Nustacius, kad kompiuteris neatlieka jokios veiklos tam tikra laika (neveikimo laikas), kompiuteris isjungia tam tikrus ar visus prietaisus, kad butu taupoma energia.
Šiame kompiuteryje naudiojama energijos valdymoSYSTEMA, kuri palaiko modernia konfiguracija ir maitinimo sasaja (ACPI), kas užtikrina maksimalu energijos taupyma ir maksimalias darbines savybes tuq pat metu. „Windows“ tuq pat metu užtikrina kitus pagrindinius energijos taupymo veiksmus.
Pastaba: Visas toliau pateiktas turinys yra bendrojo povdizio.
Konkrešios produkto specifikacijos gali skirtis.
"Acer eRecovery Management" turi tokias funkcijas:
1 Backup (rezervines kopijos sudarymas):
- Create Factory Default Disc (pirmini gamykliniu parametru diskosukurimas)
- Create Drivers and Applications Disc (tvarkykiu ir programinés jrangos disko sukūrimas)
2 Restore (atstatymas):
- Completely Restore System to Factory Defaults (pilnas sistemas atstatymas pagal pirminius gamyklinius parametrus)
- Restore Operating System and Retain User Data (atstatyti operacinegsystema ir iisaugoti naudotojo duomenis)
- Reinstall Drivers or Applications (peridiegti tvarkykles ir programine iranga)
Šiame skyrelyje pateiksime pagalba kiekvienam iš procesu.

Pastaba: Ši funkcjja galima tik tam tikruose modeliuose. Sistemoms, kuriose néra integruoto optinio disku Šrasymo Žrenginio, reikës prijungti išorini optiniu disku Šrasymo Žrenginii prieš jeinant i „Acer eRecovery Management" su optiniais diskais susijusias užduotis.
Norint naudoti apsaugos slaptažodžiu „Acer eRecovery Management“, pirmiausia reikia nustaty i slaptažodžio reikalavimā. Slaptažodžio reikalavimā ir slaptažodi nustaty i galite paleide „Acer eRecovery Management“ ir pasaude Settings (nustatymai).

Atsarginiu kopiju disku irasymas
Iš „Acer eRecovery Management“, „Backup“ puslapio galite jsirašyti pagrindiniu gamykliniu parametru diska, atstatomasias tvarkykles ir programine jranga.
1 Spauskite Start (paleisti) > All Programs (visos programos) > Acer > Acer eRecovery Management.
2 "Acer eRecovery Management" atsidaro Backup pusplapyje.

3 Pasirinkite rezervinés kopijos tipa (pagrindines gamyklines arba tvarkykes ir programine [ranga), kuria norite iraśytī [diska.
4 Vadovakitës ekrane esančiomis instrukcijomis procesu užbaigimui.

Pastaba: Sukurkite gamykliniu pirminiu nustatymu bloka, kada norite jraśyti paleidimo diska su savo kompiuterio visa operacine sistemas tokia, kokia ji buvo kompiuteryje iš gamyklos. Jei norite tureti diska, kuris suteiktu galimbye narśyti turinì irjdiegti pasirinktas tvarkykles ar programas, sukurkite atstatymo tvarkykles ir programine Iranga — tada diskas nebus paleidžiamas kaip pirminis.
Restore (atstatymas)
Atstatymo fungcija suteikia galimbye atstatyti arba iš naujo paleisti sistemas pagal gamyklinius parametrus ar iš anksciau sukurtu CD arba DVD rezerviniu kopiju. Taip pat galite perdiegti programine iranga ir tvarkykles i „Acer“ sistemas.
1 Spauskite ant Start > All Programs (visos programos) > Acer > Acer eRecovery Management.
2 Persijunkite i Restore (atstatymas) puslapi paspausdami Restore (atstatymas).

3 Galite pasirinkti arba sistemas atstatyma pagal pirminius gamyklinius parametrus, arba perinstaliuoti programine iranga ir tvarkykles.
4 Vadovakitës ekrane esančiomis instrukcjomis procesu užbaigimui.
Windows atstatymas is rezerviniu kopijudisku

Pastaba: Ši funkcjja galima tik tam tikruose modeliuose.
Jei norite atstatyti „Windows“ iš anksciau iraśytu rezerviniu kopiju disku, reikës pirmiausia jdeti rezervinës kopijos diska ir paleisti F12 Boot Menu per „BIOS Setup Utility".
1 ljunkite kompiuterir idekite pirmo sismos atstatymo diska optinio disko Irengini. Perkraukite kompiuteri.
2 Kompiuterio paleidimo metu, kada pasirodo „Acer“ logotipas, spauskite F2 klaviša jei norite jeiti biOS Setup (BIOS nustatymus), kur galite nustatyti sistemas parametrus.
3 Naudokite kairiji ir dešinjj rodyklinius klavišus noredami pasirinkti Main (pagrindini) submeniu.
4 Naudokite rodyklinius klavišus i viršu ir i apacj norédami pasirinkti F12 Boot Menu
5 Naudokite F5 arba F6 klaviša jei norite pakeisti F12 Boot Menu i Enabled (ijungta).
6 Spauskite ESC klaviša, kad jeitumete Exit submeniu, tada ENTER klaviša, kad atliktumete Exit Saving Changes. Spauskite ENTER klaviša tam, kad pasirinktumete Yes (taip). Sistema persikraus.
7 Po perkrovimo, kada pasirodys „Acer“ logotapas, spauskite F12 tam, kad atidarytumete Boot Menu. Čia galésite pasirinkti, iš kurio prietaiso paleisti).[systema.]
8 Naudokite rodyklinius klavišus, kad pasirinktumete IDE1*, tada spauskite ENTER klaviša. „Windows“ bus jdiegti š istatstamojo disko.
9 Kai bus pareikalauta, idekite antra atstatomaji diska, tada sekite instrukcjjas ekrane atstatymui uzbaigti.
10 Išimkite atstatomají diska iš optinio jrenginio kai atstatymas bus užbaigtas. Padarykite tai prieš perkraunant kompiuterj.
Jei pageidaujate, kad pirminis paleidimas bute su ilgalaikio naudojimo efektu, pasirinkite Boot submeniu.
1 Junkite kompiuterir idekite pirmo sismos atstatymo diska optinio disko irengini. Perkraukite kompiuteri.
2 Kompiuterio paleidimo metu, kada pasirodo „Acer“ logotipas, spauskite F2 klaviša jei norite jeiti biOS Setup (BIOS nustatymus), kur galite nustatyti sistemas parametrus.
3 Naudokite kairiji ir dešiniji rdyklinius klavišus norédami pasirinkti Boot submeniu.
4 Naudokite rodyklinius klavišus i viršu ir i apacia noredami pasirinkti IDE1 prietaisa.
5 Naudokite F6 klaviša jei norite pereiti i IDE1 prietaisa ir i aukschiausia pirminio paleidimo prioriteta, arba naudokite F5 klaviša jei norite pereiti i kitus Žemesnio pirminio paleidimo prietaisus. lsitikinkite, kad IDE1* prietaisas yra aukschiausiame prioritete.
6 Spauskite ESC klaviša, kad jeitumete i Exit submeniu, tada ENTER klaviša, kad atliktumete Exit Saving Changes. Spauskite ENTER klaviša tam, kad pasirinktumete Yes (taip). Sistema persikraus.
7 Windows" persikraus ir,Windows" operaciné systemd bus idiegta iš atstatomjo disko.
8 Kai bus pareikalauta, idekite antra atstatomaji diska, tada sekite instrukcjjas ekrane atstatymui uzaigti.
9 Išimkite atstatomají diska iš optinio jrenginio kai atstatymas bus užbaigtas. Padarykite tai prieš perkraunant kompiuteri.
Baterija
Kompiuteris naudoja baterija, kuri uztkrina ilga kompiuterio darba tarp ikrovimu.
Baterijos charakteristikos
Baterija pasizymi šiomis savybémis:
- Naudoja naujausius bateriju technologiju standartus.
Praneša apie išsikraunanci baterija.
Baterija ikrunaama pajungus kompiuteri prie AC adapterio. Jusu kompiuteris taip pat ikrunamas jj naudojant, t.y. galite ir dirbti, ir tuo pa ciu i krauti baterija. Taiau jei baterija kraunama ijsungus kompiuteri, ji isikrauna gerokai greiciau.
Baterija yra labai patogi, kada reikia keliauti, gelbeja tais atvejais, kai dingsta elektra. Tam, kad visada galétumete dirbti, rekomenduojame turéti atsargine baterija. Susisiekite su atstovybès specialistes jei norite užsisakyti papildomà baterija.
Kad baterija tarnautu kiek jmanoma ilgiau
Kaip ir visos baterijos, kompiuterio baterija laikui begant dévisi. Tai reškia, kad baterijos savybès laikui begant ir naudojant bus prastesnés. Jei norite, kad baterija tarnautu kiek imanoma ilgiau, laikykitës Čia pateikiamu rekomendaciju.
Naujos baterijos paruoshimas naudojimui
Pries pirma karta naudiojant baterija, reikia atlikti tam tikrus jos „paruosimo“ veiksmus:
1 ldékite nauja baterija nejungdami kompiuterio.
2 Pajunkite AC adapterir pilnaiikraukite baterija.
3 Atjunkite AC adapterj.
4 Junkite kompiuteri ir dirbkite naudodami iš baterjos maitinimo.
5 Visiškai išeikvokite baterija, kol pasirodys iispéjimas apie jos išsikrovima.
6 Vel prijunkite AC adapterir iki galo is naujo kraukite baterija.
Vadovaukites Šiomis rekomendacijomis tol, kol iki galo baterija tris kartus išsikraus ir bus jkrauta.
Śią pirmine procedūr naudokite su visomis naujomis baterijomis arba jei baterija buvo nenaudota ilgesni laika. Jei kompiuteriu nesinaudosite ilgiau nei dvi savaites, rekomenduojame iš kompiuterio išimi baterija.

Ispéjimas: Nelaikykite bateriju temperaturoje Žemiau 0^ (32^) ar aukšciau 45^ (113^) Ekstremalus temperaturu pouciciali gali apgadinti baterijas.
Atlike pirmine baterijos paruošimo procedūr užsitikrinsite, kad baterija tarnautu maksimaliai ilgla laika. Neatlik šios procedūros, negalësite maksimaliai jkrauti baterijos, sutrumpës akumuliatoriaus, sutrumpinsite baterijos tarnavimo laika.
Be to, neigiamos jtakos baterijos tarnavimo laikui turi šie dalykai:
- Kompiuterio naudojimas su baterija pajungus AC adapteri [ikrovikli]. Jei norite nuolatos naudoti maitinima iš AC, rekomenduojame išimi t baterija iš kompiuterio kai tik ji pilnai jsikraus.
- Stenkites, kad baterija iki galo neišsikraudinétu – Žr. pau pateiktas rekomendacijas.
- Dažnas naudiojimas - kuo dažniau naudosite baterija, tuo greiciu ji susidévès. Standartiné kompiuterio baterija jkraunama apie 300 kartu
Baterijos jdejimas ir isemimas

Svarbu! Pries isimant baterija iš prietaiso, pajunkite AC adapterji jei norite testi darba neisjunge kompiuterio. Kitaip, visu pirma isjunkite kompiuterj.
Baterijos [dèjimas:
1 Sulygiokite baterija su baterijos jdejimo vieta; pirmiausia jdekite puse su kontaktais, o baterijos virsus turi buti isoreje.
2 Jstumkite baterija baterijos vieta ir atsargiai paspauskite, kad ji užsifiksuotu vietoie.
Baterijos iśemimas:
1 Pastumkite baterijos fiksatoriu ir atlaisvinkite baterija.
2 Išimkite baterija iš baterijos jdejimo vietos.
Baterijos ekrovimas
Jei norite krauti baterija, pirmiausia patikrinkite, ar ji teisingai deta vieta. ljknite ACadapteri i kompiuter ir junkite adapteri maitinimo lizda. Galite dirbti kompiuteriu, kol baterija kraunasi per AC adapteri. Taiau jei baterija krausite ijsjunge kompiuterji, ji isikraus zymiai greiciau.

Pastaba: Prieš darbo dienos pabaiga rekomenduojame jkrauti baterija. Jei baterija bus jkraunama per nakti, kitá darbo diena galésite pradétí jau jkrauta baterija.
Baterijos ekrovimo lygio patikrinimas
Windows maitinimo matuoklis rodo esama baterijos ikrovimo lygi. Užveskite kursorič ant baterijos/maitinimo piktogramos, esančios ant darbajuostěs, jei norite pamatyti esama baterijos ikrovima.
Baterijos tarnavimo laiko optimazivimas
Optimizavimas pada kiek jmanoma ilgiau išnaudoti baterija prailginant ikrovimo/pakartotinio ikrovimo ciklár pagerinant pakartotinio ikrovimo efektyvuma. Rekomenduojame vadovautis Žemiau pateiktomis rekomendacijomis:
lsigykite papildomabaterija.
Naudokite AC maitinima kai tik jmanoma, o baterija pasilikite rezervui.
- Išstumkite PC korta jei jos nenaudojate, nes ji taip pat naudioj maitinimā (pasirinktam modelui).
- Laikykite baterija vésioje, sausoje vietoje. Rekomenduojama temperatura yra nuo 10^ ( 50^ ) iki 30^ ( 86^ ). Laikant aukštesnéje temperaturoje, baterija grečiau išsikraus savaime.
Per didelis jkrovimas gali sutrumpinti baterijos tarnavimo laika.
Prižiūrekite AC adapterir baterija.
lspejimas apie baterijos išsikrovima
Naudodami maitinima iš baterijos, steběkite „Windows“ maitinimo matuoklj.

Ispejimas: Kuo greiciau prijunkite AC adapteri, kai pasirodo ispejimas apie isshikraunancia baterija. Jei baterija visiskai isshikraus ir del to issijungs kompiuteris, prasite neissaugotus duomenis.
Atsiradus ispéjimui apie baterijos išsikrovima,rekomenduojame šiuos veiksmus sioje situacijoje.
| Situacija | Rekomenduojamas veiksmas |
| Yra AC adapteris ir maitinimo tinklo lizdas. | 1. Ijunkite AC adapteri i kompiuteri ir tada ijunkite i pagrindini maitinimo lizda. |
| 2. Išsaugokite visus reikiamus failus. | |
| 3. Atnaujinkite darba. | |
| Išjunkite kompiuteri, jei norite, kad baterija jsikrautu grečiau. | |
| Yra papildoma pilnai ikraunama baterija. | 1. Išsaugokite visus reikiamus failus. |
| 2. Uždarykite visas programs. | |
| 3. Išjunkite operacințeșystema tam, kad išjungtumete kompiuteri. | |
| 4. Pakeiskite baterija kita. | |
| 5. Ijunkite kompiuteri ir atnaujinkite darba. | |
| AC adapterio arba pagrindinio maitinimo lizdo nera. Neturite atsarginês baterijos. | 1. Išsaugokite visus reikiamus failus. |
| 2. Uždarykite visas programs. | |
| 3. Išjunkite operacințeșystema tam, kad išjungtumete kompiuteri. |
Asmeninio kompiuterio pasiemimas su savimi
Šiame skyrelyje pateikiame informacijos ir patarimu apie keliavima ir kompiuterio pasiemima.
Atsijungimas nuo darbastalio
Noredami atjungti savo kompiuteri nuo ioriniu priedu, atlikite siuos veiksmus:
1 Issaugokite visas atidarylus failus.
2 Išimkite visus media, minkstuosius arba kompaktinius diskus iš jrenginio (-iu).
3 Isjunkite kompiuteri.
4 Uzdarykite vaizduoklio dangti.
5 Atjunkite maitinimo adapterio AC laida.
6 Atjunkite klaviatura, pele, spausdintuva, išorinj vaizduoklj ir kitus išorinius prietaisus.
7 Atjunkite „Kensington lock“, jei ji naudojate kompiuterio apsaugai.
Pernešimas iš vientos vietos [kita
Jei reikia kompiuteri pernesti netoli, pavyzdziui, iš darbo vietos i susirinkimukabineta.
Kompiuterio paruosimas
Priesperkeliant kompiuteri, uzdarykite ir uzspauskite vaizduoklio dangti kompiuteri perjunge i „Sleep“ rezima. Dabar galite saugiai pernesti kompiuteri bet kuria vieta pastate. Jei norite kompiuteri isjungti iš „Sleep“ rezimo, atidarykite vaizduokli; tada paspauskite ir atleiskite maitinimo mygtuka.
Jei reikia pernešti kompiuteri [ kliento biura ar kita pastata, galite išjungti kompiuteri:
Spauskite ant Start (paleisti), tada spauskite ant Shut Down (ijsjungti).
Arba:
Kompiuteri galite perjungti „Sleep" režima paspausdami
Kai esate pasiruose vél naudoti kompiuterj, atspauskite ir atidarykite vaizduoklj; tuomet spauskite ir atleiskite maitinimo mygtuka.

Pastaba: Jei Sleep indicatorius išsjungses, reškia, kad kompiuteris persijungè l Hibernation režima ir yra išsjungses. Jei maitinimo indicatorius nešviečia, betSleep indicatorius šviečia, reškia, kad kompiuteris persijungè l Sleep režima. Abiem atvejais, paspauskite ir atleiskite maitinimo mygtuka, jei norite, kad kompiuteris vél jsijungtu. Turekite omenyje, kad kompiuteris gali persijungti l Hibernate režima po to, kai sabūna Sleep režime tam tikra laika.
Ka pasiimi i susitikimus
Jeigu susitikimas salyginai trumpas, dažniausiai niekopapildomospasiimi nereikia użtenka pasiimi tik kompiuterj. Jeigu susitikimas ilgesnis, arba jei kompiuterio baterija nepilnai krauta, pasiimkite AC adapterir pajunkite maitinima prie kompiuterio susitikumkabinete.
Jeigu susitikum kabinete nera elektros lizdo,sumažinkite baterijos apkrovimapergungdami kompiuteri „Sleep" režima. Spauskite < Fn> + < F4> arba uždarykitevaizduoklio dangt i tada, kai nasinaudojate kompiuteriu. Noredami paleisti is naujo, atidarykite vaizduokli (jei uzdarytas); tuomet spauskite ir atleiskite maitinimo mygtuka.
Kompiuterio pasiemimas dato
Kai persikeliate iš biuro l namus ir atvirkschiai.
Kompiuterio paruosimas
Atjungus kompiuteri nuo stacionaraus kompiuterio, atlikite šiuos Žingsnius norédami paruosti kompiuteri kelionei namo:
- Patikrinkite ar isēmēte visus media ir kompaktinius diskus iš jrenginio (-iu). To nepadarius, media gali sugadinti jrenginio galvute.
- Supakuokite kompiuteri i apsaugini dékla, kuris gali apsaugoti slystant ir susvelninti kritimo padarinius.

Atsargiai: Venkite pakuoti daiktus prie viršutinio kompiuterio dangcio. Ant kompiuterio užděti sunkesni daiktai gali sugadinti ekrana.
Ka pasiimi su savimi
Jeigu namie nieko neturite, pasiimkite su savimi:
AC adapterir maitinimo laida
- Atspaasdinta Quick start up guide
Pagal aplinkybes
Vadovaukites šiais nurodymais norédami apsaugoti kompiuteri keliaujant i darba ir is darbo:
- Nesiodamiesi kompiuteri ar juo dirbami, saugokite kompiuteri nuo dideliu temperaturos pokyciu.
- Jei reikétu sustoti ilgesniam laikiir negalétumete pasiimi kompiuterio su savimi,rekomenduojame kompiuterj palikti automobilio bagazinéje, kadjis būtupsaugotas nuo karšćio.
- Drégmès ir temperatūros polyciai skatina kondensato susidaryma. Palaukite, kol kompiuteris pabus kambario temperatūroje, o pries jj jungiant kompiuteri, patikrinkite ar ant ekrano néra kondensato. Jeigu temperatūros svyravimai yra virš 10°C (18°F), palaukite, kol kompiuteris pabus kambario temperatūroje. Jei jmanoma, palikite kompiuteri temperatūroje, kuri prilygtu lauko ir kambario temperatūros vidurkiui.
Namu biuro irengimas
Jei savo kompiuteriu daznai dirbate namuose, rekomenduojame jsigyti antra AC adapterj, kur naudotumete tik namie. [sigijus antra AC adapterj, isvengsite papildomo svorio nešiojimo i ir is namu.
Jeigu naudojats kompiuteriu namie labai ilga laika, galite prie jo noreti prijungti papildomaklaviatura,vaizduokli ar pele.
Keliavimas su kompiuteriu
Jei keliaujate dideli atstuma, pavyzdžiui, iš savo biuro pastato [kliento biura] arba daug keliaujate po vieta.
Kompiuterio paruosimas
Paruoskite kompiuteri taip, kaip jj paruosiate gabinemui namus. Nepamirskite ikrauti kompiuterio baterijos. Oro uosto sagos tarnyba gali pareikalauti Jusu jjungti kompiuteri keleviu patikrinimo metu.
Ka pasiimi su savimi
Su savimi pasiimkite:
ACadapterj
- Atsargine, pilnai jkrauta baterija
- Papildomas spausdintuvo tvarkykes jei ketinate naudoti kita spausdintuva
Pagal aplinkybes
Be cia jau paiminétu rekomendaciju dél kompiuterio pasiémimo i namus, pateikiame papildomu rekomendaciju kompiuterio apsaugojimui keliavimo metu:
- Visada kompiuterj imkite kaip rankinj bagaža.
- Jeigu jmanoma, kompiuteris tegul buna tikrinamas rankiniu budu. Oro uosto rentgenoskopinai aparatai kompiuteriui nekenkia, taciau neneškite kompiuterio pro metalo detektoriu.
- Rankinai metalo detektoriai gali apgadinti minkštuosius diskelius.
Tarptautinés kelionés su kompiuteriu
Keliaujant i vienos valstybes i kita.
Kompiuterio paruosimas
Paruoshkite kompiuteri taip, kaip ruosiate paprastai kelionei.
Ka pasiimti su savimi
Su savimi pasiimkite:
ACadapterj
- Maitinimo laidus, kurie tinkami toje šalye, j kuria keliaujate
- Atsargines pilnai jkrautas baterijas
- Papildomas spausdintuvo tvarkykes jei ketinate naudoti kita spausdintuva
Pirkimo dokumenta jei jo pareikalautu mutinines pareigūnai
International Travelers Warranty" garantin'停下
Pagal aplinkybes
Vadovaukitis tomis pačiomis rekomendacijomis, aprašytomis kelionei su kompiuteriu. Papildomi naudingi patarimai tarptautinëse kelioneëse:
- Pries keliaujant i kitä šalj, sužinokite, ar ACadapterio jtampa ir ACadapterio lizdas atitiks tos šalies parametrus. Jei reikétu, jsigykite tos šalies parametrus atitinkanti ACadapteri. Nenaudokite kitoku adapteriu, kurie skirti kitu prietaisuj pajungimui ir nepritaikty kompiuteriui.
- Jei ketinate naudotis modemu, patikrinkite, ar modemas ir jungtys suderinamos su valstybès, kuria vykstate, telekomunikacinémis systemomis.
Kompiuterio apsauga
Kompiuteris yra vertingas daiktas, kuriu roiekia atitinkamai rupintis. Sužinokite tai, kaip apsaugoti savo kompiuteri ir juo tinkamai pasirupinti.
Apsaugos fungcjios skirmtos techninei ir programinei jrangai apsaugoti - tai apsauginis griovelis ir slaptažodžiai.
Kompiuterio apsaugos užrakto naudiojimas
Nešiojamame kompiuteryje yra su „Kensington lock“ suderinama apsaugos niša.
Apvyniokite kompiuterio apsaugos kabel aplink nejudantdaikta, toki, kaip stalas ar uzrakinamo stalciaus rankena. Ikiškite uzrakta i ipjovar pasukite raktelj, kad užsrakintu. Siuloma ir modeliu be rakteliu.
Slaptažodžiç naudiojimas
Slaptažodžiai apsaugo kompiuteri nuo pašaliniu. Slaptažodžiais kompiuteris apsaugomas kelais skirtingais lygmenimis, apsaugomi ir duomenys:
- Pirminis („Supervisor“) slaptažodis apsaugo nuo neleistinos prieigos prie BIOS. Nustacius ši slaptažodi, privalésite jj i vesti norédami jeiti l BIOS. Žr. „BIOS naudmena“ puslapyje 29.
- Naudotojo slaptžodis apsaugo kompiuterj nuo pašalinii naudojinosi. Jei norite maksimalios apsaugos, naudokite abu slaptžodžius, kurie neleis pašaliniams asmenims paleisti kompiuterio, o věliau blokuos prieigä kompiuteriui atsistačius iš „Hibernation" būklés.
- Slaptažodis kompiuterio paleidimo metu patikimai apsaugos nuo pašalinių asmenu. Jei norite maksimalios apsaugos, naudokite abu slaptažodžius, kurie neleis pašaliniamms asmenims paleisti kompiuterio, o véliau blokuos prieigă kompiuteriui atsistačius iš „Hibernation“ būklés.

Svarbu! Neužmirskite pirminio slaptažodžio! Jei pamirstumete ši slaptažodi, susisiekite su kompiuterio pardavéju ar igaliotos atstovybés centru.
Slaptažodžiu jvedimas
Nustacius slaptažodžio reikalavima, ekrano viduryje atsiras slaptažodžio ivedimo langas.
- Nustacius pirminio slaptažodžio reikalavima, paspaudus <F2> bus reikalaujama ivesti slaptažodj norint, kad pasileistu BIOS.
- lveskite pirminí slaptažodí ir spauskite
tam, kad paleistuměte BIOS. - lvedus neteisinga slaptažodí, pasirodys jspéjamasis pranešimas. Pabadykite dar kartá ir paspauskite
. - Nustacius naudotojo slaptazodzio reikalavimā ir slaptazodj paleidimo parametrui, paleidimo metu atsiras langas.
- |veskite naudotojo slaptažodj ir spauskite
jei norite naudotis kompiuteriu. |vedus neteisinga slaptažodj, pasirodys ispëjamasis pranešimas. Pabadykite dar kartā ir paspauskite .

Svarbu! Slaptažodi galite jvesti tik trimis bandymais. Nejvedus slaptažodžio teisingai trečia karta, systemdu uzsblokuos. Nuspauskite ir laiky kite maitinimo mygtuka keturias sekundes, kad išjungtumete kompiuterj. Tuomet věl ijunkite kompiuterj ir bandykite iš naujo.
Slaptažodžiúnustatymas
Slaptzodzius ir ju reikalavimagalite nustatyperi BIOS.
Pasirinkciu parplatimas
Jusu asmeninis nešiojamas kompiuteris užtikrins visapusiškus mobiliojo kompiuterio teikiamus privalumus
Jungčiç paširinktys
Prievadai leidžia prijungti periferinius jrenginius prie šio kompiuterio lygiai taip pat, kaip prie stacionaraus kompiuterio. Instrukcijapie ivairiu isoriniu renginiu prijungimprie kompiuterio rasite sekanciame skyrelyje.
Faksas/duomenu modemas (tik tam tikriems modeliams)
Jusu kompiuteryje yra integruotas V.92 56 Kbps fakso/ duomenu modemas (tik tam tikruose modeliuose).

Ispéjimas! Sis moderno prievadas nasuderinamas su skaitmeninemis Telefono linijomis. Sio moderno ijungimas i skaitmeninē telefono linija sugadintu modema.
Noredami naudotis fakso/ duomenu modemo prievadu, ijunkite Telefono laida j telefono kištuka.


Ispéjimas! Isitikinkite, ar naudiojas Telefono kabelis yra tinkamas tai šalai, kurioje dirbate.
Integruota tinklo funkcija
Integruota tinklo funkcija leidžia prijungti kompiuteri prie eterneto tinklo.
Noredami naudotis eterneto funkcija, prijunkite eterneto kabel iš eterneto. (RJ-45) prievas kompiuterio pagrinde tinklo kištukui ar koncentratoruii jusu tinkle.

Universali nuoseklioji magistralé (USB)
USB 2.0 prievadas yra didelio greicio nuoseklioji magistralé, leidzianti prijungti USB periferinius irenginius nenaudojant systeminiu resursu.

IEEE 1394 prievadas (tik tam tikruose modeliuose)
Kompiuterio IEEE 1394 prievadas leidžia prisijungti prie IEEE 1394 suderinamo prietaiso, tokio kaip vaizdo camera ar skaitmeniné camera. Išsamiau Žr. savo vaizdo ar skaitmenínes kameros dokumentacijoje.

High-Definition Multimedia Interface ("High-Definition" multimedia sasaja) (tik tam tikruose modeliuose)
HDMI ("High-Definition Multimedia Interface") pramonés palaikoma, nesuglaudinta, visiškai skaitmeniné audio/video)sasaja. HDMI suteikia)sasaja tarp bet kurio suderinamo skaitmeninio audio/video šaltinio, tokio, kaip jungčiu déžute, DVD grotugas, A/V imtuvas ir suderinamas skaitmeninis audio ir/ar video vaizduoklis, toks, kaip skaitmeniné televiZija (DTV), vieninteliu kabeliu.
Naudokite HDMI prievada, esanti ant kompiuterio, jei norite prijungti audio ar video iranga. Vieno kabelio sprendimas uztkirina tvarkinga ir greita pajungima.

ExpressCard (tik tam tikruose modeliuose)
"ExpressCard" - naujausia PC kortelès versija. Mažesné ir greitesné sāsaja, pagerinanti kompiuterio naudinguma, praplečia jo galimbyes.
"ExpressCard" kortelés palaiko daugybe plétros pasirinkčiu, jskaitant ir „flash“ atminties kortelés adapterius, TV tiunerius, „Bluetooth“ ryši ir IEEE 1394B adapterius. "ExpressCards" palaiko USB 2.0 ir „PCI Express“ programas.

Svarbu! Yra du tipai, "ExpressCard/54" ir ,ExpressCard/34" (54mm ir 34mm), kiekviena su skirtingomis funkcjomis. Ne visos "ExpressCard" angos palaikys abi rusis. Ziurekite saverkoteles instrukcija, kur rasite ijsamesnés informacjos apie korteles idiegima, naudojima ir jos funkcjjas.
ExpressCard déjimas
Ldekite kortele i angar svelniai pastumkite, kol ji spragteles vietoje.

"ExpressCard" ièmimas
Priesimant,ExpressCard":
1 Iseikite iš programos, naudioanjcios kortele.
2 Kairysis irangos paalinimo piktogramos paspaudimas užduočiu juostoje ir kortos sustabdymas.
3 Švelnai pastumkite kortele l anga ir atleiskite, kad kortele išsoktu. Tada ištraukite kortele iš angos.
Atminties ldiegimas
Atlikite šiuos veiksmus jei norite jdiegti atmintj:
1 Išjunkite kompiuteri, atjunkite AC adapteri (jei prijungtas) ir išimkite baterija. Apverskite kompiuteri, kad galétumete prieiti prie pagrindo.
2 Iš atminties gaubto išsukite visus varžtus; tada pakelkite ir nuimkite atminties dangtelj.
3 (a) ldekite atminties modul jstrizai plysi, tuomet (b) svelniai jj paspauskite zemyn, kol ji spragteles isistatydamas i vieta.

4 Atgal vieta ddekite atminties dangtelir prisukite jvarztu.
5 I's naujo jdekite baterija, vel pajunkite AC adapterj.
6 ljunkite kompiuteri.
Kompiuteris automatiskai aptinka ir iš naujo konfigūrujoa atminties dydj. Pasitarkite su kvalifikuotu technikos specialistu arba su „Acer“ atstovu.
BIOS naudmena
BIOS naudmena yra kompiuterinés irangos programa imontuota i Jusu kompiuterio BIOS.
Jusu kompiuteris jau yra tinkamai konfigurotas ir optimizuotas, tad sios naudmenos Jums paleisti nereikia. Taiau, jeigu patiriate konfiguracijos problemu, gali priirekti ja paleisti.
Noredami aktyvuoti BIOS naudmena, spauskite
Krovimosi seka
Nustatykite krovimosi sekā BIOS naudmenoje, aktyvuokite BIOS naudmena, tuomet spauskite Boot iš isvardintu kategoriju sarašo, ekrano viršuje.
ljunkite atstatymä disksa is disko
Jei norite jjungti igalinti atkurima iš disko j diska (standžiojo disko atstatymaj), aktyvuokite BIOS naudmena, tuomet pasirinkite Main išisvardintu kategoriju sarašo ekrano viršuje. Suraskite D2D Recovery ekrano apacioje ir pasinaudokite
Slaptažodis
Jei norite nustaty slaptažodj paleidimo metu, aktyvuokite BIOS naudmena, tuomet spauskite Security iš išvardintu kategoriju sąaso ekrano viršije. Suraskite Password on boot: ir pasinaudokite
Programinés irangos naudojimas
DVD filmu leidimas
Jei yra iiedgtas DVD irenginys sio irenginio skyriuje, galite leisti DVD filmus savo kompiuteryje.

Pastaba: Ši funkcjja yra tik tam tikruose modeliuose.
1 Išstumkite DVD diska.

Svarbu! Kai paleidžiate DVD leistuvá pirma karta, programa praso jvesti regiono koda. DVD diskai yra suskirstyti 6 regionus. Nustačius DVD regiono koda. DVD irenginys leis tik to regiono DVD. Regiono koda galite nustatyti daugiausiai penkis kartus (jskaitant pirmaji karta), po ko paskutinis regiono kodas taps nuolatiniu. Standžiojo disko atstatymas neanuliuos regiono kodo pakeitimu skáčius. Žiúrekite Žemiau pateikiama lentele apie DVD filmu regionu kodu informacija.
2 DVD filmas automatiskai pasileis po keliu sekundziu.
| Regiono kadas | Valstybè arba regionas |
| 1 | JAV, Kanada |
| 2 | Europa, Artimeci Rytai, Pietu Afrika, Japonija |
| 3 | Pietryči āzija, Taivanis, Pietu Korëja |
| 4 | Lotynu Amerika, Australija, Naujoni Zelandija |
| 5 | Buvusi SSSR, Afrikos dalys, Indija |
| 6 | Kinijos Liaudies Respublika |

Pastaba: Jei norite pakeisti regiono koda, jdékite skirtingo regiono DVD filma | DVD i'renginj. Issamesnés informacjos rasite pagalboje internetu.
Dažniausiai užduodami klausimai
Toliau yra galim situacij srašas, kurios gali iškilti naudojantis kompiuteriu. Kiekvienai iš j yra pateikiami lengvi sprendimai.
jungiau maitinim, taiau kompiuteris nepasileidzia arba nesikrauna.
-
Jeigu nedega, kompiuter netiekiamas maitinimas. Patikrinkite:
-
Jeigu naudojate baterij, jis gali bti iissikrovusi ar nepajgi maitinti kompiuter. Prijunkite AC adapter tam, kad krautumte baterij.
-
Patikrinkite ar AC adapteris tinkamai jungtas kompiuter ir maitinimo lizd.
-
Jei dega, patikrinkite:
-
Ar nra dtas nepaleidžiamas (nesisteminis) diskas išoriniame USB minkštj diskeli renginyje? Išimkite j arba pakeiskite sistemiiu disku ir paspauskite
+ + kad iš naujo startuotSYSTEM.
Ekrane nieko nerodoma.
Kompiuterio maitinimo valdymoSYSTEMA automatiskai ijsjungia ekran taupydama energij. Paspauskite bet kur klaviš, kad ekrane atsirast vaizdas.
Jeigu, paspaudus klaviša, ekranas nieko nerodo, tai gali būti del triju priežasi:
Gali bti per zemas šviesumo lygis. Spauskite
- Ekranas gali bti nustatyas rodymui per išorin monitori. Paspauskite ekrano perjungimo trumposios kreipties klaviš
- Jei „Sleep“ indikatoriaus lemuut dega, reiskia, kad kompiuteris yra „Sleep“ (snaudimo) režime. Paspauskite ir atleiskite maitinimo mygtuk nordami vl jungti.
Nesigirdi garso iš kompiuterio.
Patikrinkite:
Garsumas gali bti ijsjungtas. „Windows“ operacinje sistemoje pasizirkite garsumo valdymo (garsiakalbio) piktogram užduoi juostoje. Jeigu garsiakalbio simbolis perbrauktas, paspauskite piktograma ir ijsjunkite Mute all (nutildyti viska) pasirinktj.
Gali bti per zemas garsumo lygis. "Windows" operacinje sistemoje pasizirkite garsumo valdymo (garsiakalbio) piktogram užduoi juostoje. Tai pat galite naudoti garso regulavimo mygtukus nordami sureguluoti gars.
- Jeigu ausins ar išoriniali garsiakalbiai yra prijungti prie kompiuterio išjimo jungties, vidiniali garsiakalbiai automatiskai išsijungia.
Noriu išstumti optin disk iš disko renginio nejungiant maitinimo.
Yra mechaninio išstmimo skylute ant optinio renginio. Paprasiausiai kiškite rašiklio galiuk ar popieriaus spaustuk skylut ir stumtelkite, kad dklas išsistemt.
Klaviatra nereagujo paspaudimus.
Pabandykite prijunkite išorin klaviatr prie USB prievado kompiuteryje. Jeigu ji veikia, susisiekite su galiotuoju atstovu ar aptarnavimo centru, kadangi gali bti, kad atsilaisvino vidins klaviatros laidas.
Neveikia spausdintuvas.
Patikrinkite:
- sitikinkite ar spausdintuvas yra prijungtas prie maitinimo lizdo ir arjis jungtas.
- Partikrinkite ar spausdintuvo laidas yra gerai prijungtas prie kompiuterio lygiagretaus prievado ar USB prievado, arba atitinkamo spausdintuvo prievado.
Noriu atstatyti originalius kompiuterio pirminius nustatymus be atstatomj CD.

Pastaba: Jeigu jsistema yra daugiakalbs versijos, operacin sistemas ir kalba, kuri pasirinkote pirm kart jung system, bus tik vienintel pasirinktis atstatymo operacijoms ateityje.
Śs istatstymo procesas padać atstatyti C: disk su originaliu programins rangos turiniu, diegtu sigijus savo nešiojamj kompiuter. Atlikite Žemiau nurodytus veiksmus jei norite atstatyti C: disk. (Js C: diskas bus performatuotas ir visa jame esanti informacija bus istrinta.) Todl svarbu, kad pasidarytUME duomen atsargines kopijas pries tai attiekant.
Pries atliekant atstatymo operacij, patikrinkite BIOS nustatymus.
1 Patikrinkite ar Acer disk-to-disk recovery jungta.
2 Patikrinkite ar D2D Recovery nustatymas, esantis Main nustatytas kaip Enabled.
3 Iseikite iš BIOS naudmenos ir išsaugokite pakeitimus. Sistema persikraus.

Pastaba: Nordami aktyvuoti BIOS naudmen, spauskite
Norint pradti atstatymo proces:
1 Perkraukite system (Restart*).
2 Kol rodomas „Acer“ logotipas, paspauskite <Alt> + <F10> tuo paiu metu pradsite atstatymo proces.
3 Vadovaukits ekrane pateikiamomis instrukcijomis atlikdami sistemos atstatym.

Aptarnavimo užklausa
Js kompiuteriui taikoma tarptautin „International Travelers Warranty“ (ITW), kuri suteikia saugumo ir ramybs keliaujant. Ms pasaulinis aptarnavimo centr tinklas skirtas padi Jums.
ITW garantinis pasas atiduodamas kartu su kompiuteriu. Šiame pase yra viskas, k jums reikiaŽinoti apie ITW program. galiot garantinio aptarnavimo centr srašas yra šiame patogiame Buklete. Atidžiai perskaity kite š pas.
Visada turkite savo ITW pas su savimi, ypa tuomet, kai keliaujate, kad galtumte pasinaudoti ms pagalbos centr paslaugomis. sidkite kompiuterio pirkimo dokumentus kišen, esani vidinje ITW paso priekinio viršelio pusje.
Jeigu šalyje, kurioje keliaujate, nra „Acer“ galiotos ITW aptarnavimo vietos, susisiekite su ms biurais visame pasaulyje. Kreipkits http://global.acer.com.
Prieskambinant
Pasiruoškite ši informacij ir bkite prie saver kompiuterio, kai skambinsite „Acer“ tiesiogins pagalbos. Su Js pagalba galsime sutaupyti skaminimo laik ir padti efektyviai išsprasti problemas. Jeigu pasirodo klaidos pranešimai ar kompiuteris pypsı, užrašykte juos, kai jie pasirodo ekrane (ir skaili bei sek tuo atveju jei pypsı).
Jums reikia pateikti toki informacij:
Vardas:
Adresas:
TelefonNumeris:
Aparato modelis ir ruis:
Serijos numeris:
lsigijimo data:
Gedimç diagnostika
Šiame skyrelyje pateikiame informacijos apie tai, kaip spresti dažniausiai pasitaikançias problemas. Perskaltykite ir problema nabandykite išspresti patys ir tik po to kvieskite technika. Rimtesniu problemu spredimui reikia atidaryti kompiuterio korpusa. Kompiuterio korpuso patys neatidarinékite - ši darba turi atlikti pardavejo arba remonto centro specialistai, kurie padès iškilus rimtesnéms problem Moms.
Gedimç diagnostikos patarimai
Sis asmeninis nešiojamasis kompiuteris yra ypatingos konstrukcijos, nes ekrane rodomi klaidu pranešimai, kurie padeda išsprasti problemas.
Jeiistema rodytu klaidos pranešima arba jei atsirastu klaidos simptomas, Žr. „Klaidu pranešimai" Žemiau. Jei problemos išspresti nepavyksta, susisiekite su pardavéjo specialists. Žr. „Aptarnavimo užklausa“ puslapye 33.
Klaidug pranešimai
Jei rodomas klaidos pranešimas, jsidéměkite jo turiní ir imkitës atitinkamu veiksmu. Lentelejé pateikiame klaidos pranešimus abéceline tvarka kartu su rekomenduojamais problemos spremdimo veiksmais.
| Klaidú pranešimai | Problemos sprendimo veiksmas |
| CMOS battery bad | Susisiekite su pardavēju arba igalioto atstovo centru. |
| CMOS checksum error | Susisiekite su pardavēju arba igalioto atstvo centru. |
| Disk boot failure | I dékite sistemiñ (pirminio paleidimo) diská i minkstojo diskelio [irengin] (A:), tada spauskite <Enter> ir perkraukite sistemas. |
| Equipment configuration error | Spaukite <F2> (POST metu), kad jeitumete i BIOS, tada spauskite Exit (iSeiti) ièj e i BIOS naudmena kompiuteriui perkrauti. |
| Hard disk 0 error | Susisiekite su pardavēju arba igalioto atstvo centru. |
| Hard disk 0 extended type error | Susisiekite su pardavēju arba igalioto atstvo centru. |
| I/O parity error | Susisiekite su pardavēju arba igalioto atstvo centru. |
| Keyboard error or no keyboard connected | Susisiekite su pardavēju arba igalioto atstvo centru. |
| Keyboard interface error | Susisiekite su pardavēju arba igalioto atstvo centru. |
| Memory size mismatch | Spaukite <F2> (POST metu), kad jeitumete i BIOS, tada spauskite Exit (iSeiti) ièj e i BIOS naudmena kompiuteriui perkrauti. |
Jei, atlikus šias pirmines gedimu diagnostikos ir šalinimo priemones, problemos pašalinti nepavyko, Susisiekite su pardavéju arba igalioto atstovo centru del išamesnés pagalbos. Tam tikras problemas jmanoma išspresti per BIOS naudmena.
Reikalavimai ir su sauga susijegispëjimal
FCC patvirtinimas
Sis prietaisas buvo išbandytas ir patvirtintas, kaip atitinkantis B klasés skaitmeninio prietaiso reikalavimus pagal FCC taisykiu 15 dalj. Si reikalavimai nustatyti tam, kad būtú užtikrinta jmanoma apsauga del kenksmingu saveiku gyvenamosiose instalaciçijose. Sis prietaisas generuoja, naudoja ir gali sklearnisti radijo dažniu energia, o jeijis nejdiegtas ir nenaudojas pagal instrukcijas, gali sukelti kenksmingas saveikas radijo komunikacijai.
Tačiau něra garantijos, kad kokioje nors konkrecioje instalacićoje tokios saveikos neatsiras. Norint nustatyti ar šis prietaisas nekelia kenksmingú saveiku radijo ir televizijos imtuvams, ta galima nustatyti išjungus ir jjungus prietaisa, o naudotojui rekomenduojama pabandyti pašalinti saveikas vienu š Žemiau nurodytu budu:
Nukreipkite ar perneškite kitur imtuvo antenna.
- Padidinkite atstumātarprietaisoirimtuvo.
Prietaisa junkite i maitinimo lizda skirtingoje grandineje, nei jungtas imtuvas.
Kreipkites pagalbos i atstovybe arba i patyrusi radijo/televizijos specialista.
Pastaba: Izoliuoti kabeliai
Visos jungtys l skaičiavimo prietaisus turi būti iš izoliotu kabeliu, kad būtu palaikoma atitiktis FCC reikalavimams.
Pastaba: Periferiniai prietaisai
Tik periferiniali jrenginiai (ivesties/ivesties prietaisai, terminalai, spausdintuvai, kt.) patvirtinti kaip atitinkantys B klases ribas, gali buti jungiami prie sito jrenginio. Nesertifikuotu jrenginiu naudojimas gali sukelti radijo ir tevizijos priemimo saveikas.
Atsargiai
Dél pakeitimùr modifikaciju, kurioms néra išskirtinio gamintojo sutikimo, gamintojas turi teise atsiriboti nuo atsakomybés, kuria nustate Federaline komunikaciju komisija, susijusios su naudotojo naudojimosi kompiuteriu.
Pastaba: Kanados naudotojai
Sis B klases aparatas atitinka Kanados ICES-003 standarta.
Atitiktis Rusijos sertifikavimo reikalavimams

ME61
Su modemu susijusios pastabos (tik tam tikruose modeliuose)
Pastaba del JAV
Sis irenginys atitinka FCC taisykiu 68 dal. Ant moderno yra etikete, kurioje, be kitos informacijos, yra FCC atitikties registracijos numeris ir „Ringer Equivalence Number" (REN). Pareikalavus, privalote pateikti šia informacija saver telekomunikacijos kompanijai.
Jeigu jusu Telefono i'renginys daro zaletefonu tinklui, Telefonu kompanija gali laikinai nutraukti Jums teikiamas paslaugas. Jeigu bus jmanoma, apie tai bùsite perspét iš anksto. Taiau, jei del practiniu galimbyiu toks jspejimas nejmanomas, bùsite jspét i kiek jmanoma greiciau. Taip pat bùsite informuoti apie teise pateikt skunda FCC.
Jusu Telefonu kompanija turi teise atlikti pakeitimus savo jrangope, jrenginiuose, operacijose ar procedurose, kurie gali sutrikdyti Jusu jrenginio veikima. Jei tokie pakeitim bute atiekami, Jums bus apie tai pranešta iš anksto tam, kad galétumete naudotis Telefonimés paslaugomis be sutrikmu.
Jeigu sis irenginys neveiktu tinkamai, atjunkite iranga nuo Telefono linjos tam, kad galetumete nustaty problemos priezasti. Jei kiltu problemu del irangos naudojimo, josbebenaudokite ir susisiekite su pardaveju arba paslaugos teikeju.

Atsargiai: Tam, kad butu isvengta gaisro rizikos, naudokite tik Nr. 26
AWG ar didesniu UL parametru arba CSA sertifikuota
telekomunikacijos linju laida.
TBR 21
Ši jranga buvo patvirtinta [Tarybos sprendimas 98/482/EB - "TBR 21"] vieno terminalo jungčiai prie visuomeniu perjungiamu Telefonu tinklu (PSTN). Táciau del atskiru PSTN tinklu skirtumu skirtingose valstyběse, šis patvirtinimas savaime nesuteikia besalygiško užtkrinimo, kad jranga veiks sékmingai bet kurame PSTN jungties terminalo taške. Iškilus problemoms, pirmiausia susisiekite su jrangos tiekéju ir bandykite išspresti problema. Del išamesnés informacijos apie susijusias valstybes, Žúrekite „Reikalavimai ir su sauga susije ispějimal“ puslapyje 35.
Pastaba Australijai
Sugos tikslais junkite tik tas ausines, ant kuriy rya telekomunikacijos atitikties etiketé. Sai jrangai priklauso kliento anksciau etiketemis pazymeta leidziama arba sertifikuota jranga.
Pastaba Naujajai Zelandijai
1 „Telepermit" leidimas bet kuriai terminală turințiai jrangai patvirtina tik „Telecom" prietaiso sertifikavima minimioms salygoms del jo jungimo prie šio tiekéjo tinklo. Šis „Telecom" patvirtinimas néra susijes su kokiu hors produkto sertifikavimu ar kokia nors garantija. Galiausiai, toks patvirtinimas néra susijes su užtikrinimu, kad patvirtinta jranga veiks teisingai su bet kokia kita telekomunikacine skirtingo gamintojo ar modelio jranga, be to, tai negarantuoja, kad bet kuris produktas yra suderinamas su „Telecom" tinklo paslaugomis.
2 Šis i'renginys, visomis eksploatavimo salygomis, nebūtinai veiks didele sparta, kuriajisgeba veikti.,"Telecom"jokios atsakomybés iškilus problemmops pagal šias aplinkybes.
3 Kai kurie parametrai, kuriu reikalaujama del atitikties „Telecom Telepermit“, prikauso nuo jrangos (PC), susijusios su šiuo prietaisu. Susijusi jranga turi būti nustatyta eksploatavimui pagal šiuos apribojimus del atitikties „Telecom" specifikacijoms:
a Bandymu prisiskambinti tuo paiciu numeriu skaicius neturi virsyti 10 kartup er 30 minuci jei skaminama rankiniu budur
b Iranga neturi „pakibti" laikotarpiui ilgesniam, nei 30 sekundziu tarp vieno bamdymo pabaigos ir kito bandymo skambinti pradzios.
4 Kai kurie parametrai, kuriu reikalaujama del atitikties „Telecom Telepermit“, prikauso nuo jrangos (PC), susijusios su siuo prietaisu. Tam, kad susijusi jranga veiktu pagal ribas, atitinkancias „Telecom“ specifikacijas, ji turi buti nustatyta taip, kad buti uztikrinta, jog automatinaliai skambuciai i skirtingus numerius vyku ne dažniau, kaip su 5 sekundžiu tarpu tarp vieno skambucio pabaigos ir kito bandymo skambinti pradžios.
5 Ši jrangagenegali buti nustatyta automatiniam skambinimui „Telecom" 111 avarine tarnyba.
6 Prietaias turi pulsinio rinkimo funkcija, tu tarpu „Telecom“ standertas yra DTMF toninis rinkimas. Todél nera jokios garantijos, kad „Telecom“ linjos visada palaikys pulsinj rinkima.
7 Naudojant pulsinj rinkima, kada irenginys yra prijungtas prie tos paicos linjos, gali atsirasti skambejimas ar triuksmas, taip pat gali buti rodoma klaidinga atsakymo bukle. Jei iskiltu kokiu nors problemu, naudotojas NETURI susisiekti su telekomo gedimu tarnyba.
8 Šis irengimas netinka skambučio peradresavimui kitā prietaisa, prijungta prie tos paños linjos.
9 Dingus elektrai, šis prietaisas gali neveikti. Avariniu atveju užsitikrinkite, kad būtu atskiras Telefonas, maitinamas iš autonominio šaltinio.
LCD pikseliç informacija
LCD ekranas pagamantas naudojant aukstos precizijos gamybos technologijas. Nepaisant to, tam tikri pikseliai gali nešviesti, atrodyti kaip juodi arba raudoni taškai. Tai neturi jokio poveikio IRAŠomam vaizdui ir nelaikoma gedimu.
Pastaba: Žemiau yra rekomendaciné informacija tik modeliams sub belaidžiu LAN ir/ar „Bluetooth".
Bendrai
Šis produktas suderinamas su visu šaliu ir regionu radijo dažnio ir saugos standartais, kuriose buvo patvirtantas belaidžiam naudojimui. Priklausomai nuo konfigüracjos, šiame produkte gali ir nebūti belaidžio radijo prietaiso (tokiu, kaip bevielio LAN ir/ ar „Bluetooth“ moduli). Žemiau pateikta informacija skirta produktams, su tokiais prietasais.
Atitikties deklaracija ES valstybëms
Siuo „Acer“ pareiskia, kad šių asmeninių nešiojamuju kompiuteriu serija atitinka visus pagrindinius reikalavimus ir kitus direktyvos 1999/5/EB reikalavimus.
Šaliu, kurioms taikoma, sąas
ES valstybès narés nuo 2009 m. liepos yra šios: Belgija, Danija, Vokietija, Graikija, Ispanija, Prancuzija, Airija, Italija, Liuksemburgas, Nynderlandai, Austrija, Portugalija, Suomija, Švedija, D. Britanija, Estija, Latvija, Lietuva, Lenkija, Vengrijla, Čekija, Slovakija, Slovensija, Kipras, Malta, Bulgarija ir Rumunija. Naudojimas leidžiamas Europos Sajungos valstybëse bei Norwegijoje, Šveicarijoje, Islandjoje ir Lichtenšteine. Šis prietaisas turi būti naudiojamas griežtai laikantis reikalvimu ir apribojmu taikomu šalyje, kurioje naudiojamas. Del išamesnës informacjos susisiekite su vietos biurais valstybëje. Naujausia valstybiu saraša rasite adresu http://ec.europa.eu/enterprise/rtte/implem.htm.
FCC RF saugumo reikalavimas
Belaidzio rysoi, LAN Mini PCI Card" kortelles ir, Bluetooth" kortelles sklearnidziama galia yra gerokai zemiau FCC radijo daznio standartu ribos. Nepaisant to, si neisiojamusameniu kompiuteri serija turi buti naudojama taip, kad nekeltu zaloszmogaus sveikata iprasto naudojimo budu arba kad ta za la bute minimali:
1 Naudotojams rekomenduojame laikytis RF instrukcju dél belaidziu prietaisupasirinkimo, kurios aprasytos naudotojo instrukcjoje su kiekvienu pasirenkamuRF (radijo dazni) prietais.

Atsargiai: Tam, kad bute laikomasi FCC RF dažniu poveikio reikalavimu, turi buti minimalus atstumas, kuris prilygtu bent 20 cm (8 colius) tarp integruoto belaidzio „LAN Mini PCI Card" prietaiso, jmontuoti ekrana, irŽmoniu.


Pastaba: Belaidis „Mini PCI" adapteris atlieka perdavimo diversifikacjos fungcija. Šios fungcijos metu tuo pat metu nespinduliuojas radijo dažnis iš abiej antenu. Viena iš antenu automatiskai arba rankiniu budu pasirenkama (naudotoju) tam, kad būtu uztkrinta kokybiška radijo komunikacija.
2 Šis prietaisas skirtas tik naudiojumui vidaus patalpose del jo veikimo nuo 5,15 iki 5,25 GHz dniu diapazone. FCC reikalauja šj produkta naudoti vidaus patalpose dažniu diapazonui nuo 5,15 iki 5,25 GHz tam, kad būtusumažinta galima kenksmingu saveiku su mobiliojo ryso palydoviniais kanalais rizika.
3 Didelès galios radarai yra skirti pirminiams naudotojams dažniú diapazone nuo 5,25 iki 5,35 GHz ir nuo 5,65 iki 5,85 GHz. Šios radaru stotys gali sukelti trikdžius ir/arba apgadinti prietaisa.
4 Netinkama instalaciça arba neleistinas naudojimas gali kelti trikdžius radijo komunikacijai. Taip pat - bet koks vidinés antenos apgadinimas panaikins FCC certifikavima ir garantija.
Kanada — mažos galios radijo jranga, kuriai nereikia licenziju komunikacijos prietaisai (RSS-210)
Žmoniu buvimas RF laukuose (RSS-102)
Asmeniniuose nešiojamuose kompiuteriuose naudojamos mažos galios vidiës antenos, kurios neskleidžia RF, viršijancio Kanados sueikatos standartus; Žr. Saugos Kodeksa 6, kuri galima atsisiusti iš Kanados sueikatos tinklalapio www.hc-sc.gc.ca/rpb.
LengvasVadovas