TRAVELMATE 5742 - Kannettava tietokone ACER - Ilmainen käyttöohje ja opas
Löydä laitteen käyttöohje ilmaiseksi TRAVELMATE 5742 ACER PDF-muodossa.
Lataa ohjeet laitteellesi Kannettava tietokone PDF-muodossa ilmaiseksi! Löydä käyttöohjeesi TRAVELMATE 5742 - ACER ja ota elektroninen laitteesi takaisin hallintaan. Tällä sivulla julkaistaan kaikki laitteidesi käyttöön tarvittavat asiakirjat. TRAVELMATE 5742 merkiltä ACER.
KÄYTTÖOHJE TRAVELMATE 5742 ACER
TravelMate -sarjan Kannettava tietokone
Mallinumero:
Sarjanumero:
Ostopävämärä:
Ostopaikka:
Tietoja turvallisuuttasi ja mukavuuttasi varten
Tärkeitä turvallisuusohjeita
Lue namä ohjeet huolellisesti. Säästä ohjeet tulevaisuutta varten. Säilytä tämä asiakirjta tulevaa käytöä varten. Noudata kaikkia laitteeseen merkittyjä märäryksiä ja ohjeita.
Tuotteen sammuttaminen ennen puhdistamista
Irrota laite pistorasiasta ennen sen puhdistamista. Alä kaytä puhdustukseen nestemäisiä pesuaineita. Puhdista laite kostealla rievulla.
VAROITUS kytkemisestä irrotettavana laitteena
Huomaa seuraavat ohjeet virtalähteen virran kytkemisestä, sekä irroituksesta:
Aseta virtalähde-yksikkö ennen virtajohdon liittämistä vaitovirtapistorasiaan.
Irroita virtajohto ennen virtalähde-yksikön irroitusta tietokoneesta.
Jos laitteessa on useampia virtalähteita, irroita kaikkien virtalähteiden virtajohdot.
VAROITUS käsiksipäässtä
Varmista, etta virtaliitin, johon liitat virtajohdon, on helposti käsiksi päästavissä, ja sijaitsee mahdollisimman lahellä latteiston käytäjäa. Kun haluat katkaista virran latteistosta, varmista etta irroitat virtajohdon virtaliittimisetä.
VAROITUS mukana toimitetuista taytekortista(-korteista) (vain tietyille malleille)
Tietokoneesi on toimitetu taytekorttien kanssa, jotka on asetetu korttipaikkoihin. Taytekortit suojaavat kayttamattomiä korttipaikkoja polyltä, metalliesineiltä, ja muulta lialta. Sailytä taytekortit, jotta voit kayttäa niitta, kun korttipaikoissa ei ole korteje.
VAROITUS kuuntelemisessa
Suojaa kuuloasi noudattamalla seuraavia ohjeita.
- Korota äenentasoa steittain kunnes kuulet selvästi ja miellyttävästi.
- Älä korota äanentasa oan koryat ovat tottuneet äanentasoon.
- Älä kuuntele musiikkia korkealla äenantasolla pitkä aikoja.
- Älä korota äanentasa meluisan ympäristön äänien peittämiseksi.
Alenna aenantasoa jos et kuule lahell' olevien ihmisten puhetta.
iv
Varoitus
- Äla käytä tata laitetta veden laheisyydessä.
- Älä aseta tātā laitetta epatasaiselle tai épavakaalle alustalle. Laite saattaa pudota ja vahingoittua. Laite saattaa vauroiuitua pudotessaan.
- Laitteen kotelossa olevat aukot on tarkoitetu turvaamaan riittävā ilmankierto ja jäähdytys laitteelle. Aukkoja ei saa peittäa tai tukkia. Laitetta ei saa asettaa pehmeälla pinnalle, kuten sohvalle, matolle tai sangylle, koska aukot saattavat menna tukkoon. Laitetta ei saa asettaa lampöpatterin tai muun kuuman esineen pälle, jos riittävästä tuuletuksesta ei ole huolehdittu.
- Älä työnna laitteen kotelon aukkoihin mitään, koska vieraat esineet saattavat aiheuttaa oikosulun tai tulipalon kotelon sisällä. Älä kaada laiteen pälle nesteitä.
- Sisäisten komponenttien vaurion valttamiseksi ja estaaksesi akun vuotamisen ala aseta laitetta tärisevalle pinnalle.
- Älä milloinkaan käytä sitä urheillessa, liikkuessa, tai missän tärisevassä ympäristössä, joka saattaisi aiheuttaa odottamattoman lyhen sähkövirran tai vahingoittaa mekanisia laitteita, kuten kiintolevyä tai optista asemaa, tai aiheuttaa varaan litium-akusta.
- Pohjapinta, tuuletusaukkojen ympärillä olevat alueet ja AC-adapteri voivat kuumentua. Vahingon välttämiseksi varmista, että ne eivät joudu kosketukseen ihosi tai kehosi kanssa.
- Laitteesi ja sen lisäosat saattavat sisältaä pieniä osia. Pidä ne lasten ulottumattomissa.
Sahkötehon kayttäminen
- Laitteen käyttojännitteen on oltava typpikilven mukainen. Jos et ole varma käyttojännitteestä, varmista asia sahköyhtiölä tai laitteen myyjälta.
- Älä aseta mitään verkkojohdon paälle. Älä aseta johtoa paikkaan, missen yli kavellän.
- Jos käytät jatkojohtoa, varmista, etta jatkojohtokestäa laitteen ottaman virran. Varmista myös, etta viransyöton sulake kestäa kaikkien pistorasiaan kytkettyjen laitteiden ottaman virran.
- Älä ylikuormita virtalähtöä, liitinkiskoai tai pistorasiaa laittamalla kiinni liian monta laitetta. Järestelmän kokonaiskuorma ei saa yiittä 80%haaroitusjohdon nimellisarvosta. Jos liitinkiskoja käytetään, kuorma ei saa yiittä 80% liitinkiskon tulon nimellisarvosta.
Tämä tuotteen AC-adapteri on varustetu kolmejohtimisella maadoitetulla pistotulpalla. Pistotulppa SOPII vain maadoitettuun liiantärasiaan. Varmista, etta liitantärasia on kunnolla maadoitetu ennen AC-adapterin pistotulpan sisään laittamista. Älä laita pistotulppaa sisään maadoittamattomaan liiantärasiaan. Ota yhteys sähkömieheen yksityiskohtaisia neuvoja tarvitessasi.

Varoitus! Maadoituspiikki on varmistus. Käyttämälä liitantärasiaa, jota ei ole oikein maadoitettu, voi johtaa sahköiskuun ja/tai vahinkoon.

Ohje: Maadoituspiikki tarjoaa myös hyvän suoauksen odottamattomalta kohinalta, jota tuottavat muut lahellä olevat sähkölaitteet, jotka saattav hatäritä tamän tuotteen suorituskyvä.
- Järjestelmän virta voidaan syöttäa laajaa jännitealuetta käyttaen; 100 - 120 tai 220 - 240 V AC. Järjestelmän sisälätä mä virtajohto täyttaa vaatimukset käytettväksi siinä maassa/alueella, missä järjestelmä ostettiin. Muissa maissa/alueilla käytettävien virtajohtojen täytyy täyttaa kyseisen maan/ alueen vaatimukset. Halutessasi lisātietoja virtajohdon vaatimuksista ota yhteys valtuutettuun jälleenmyyjaan tai palveluntarjojaan.
Tuotepalvelut
Älä yritä huoltaa laitetta itse, koska kotelonavaaminenpaljastaa jannitteellisia ja helposti vauroituvia osia. Anna huolto aina asiantuntijoiden tehtaväksi.
Irrota laiteen verkkojohto ja toimita se huoltoon seuraavissa tapauksissa:
Verkojohto tai pistotulppa on vialinen tai palanut.
- Jos laitteen pälle on kaatunut nestettä.
- Jos laite on jänty sateeseen tai kastunut.
- Jos laite on pudonnut tai sen kotelo on vaurioitunut.
- Jos laitteen suorituskyk muuttuu huomattavasti osoittaen sen tarvitsevan huohtoa.
Jos laite ei toimi oikein, vaikka kayttöohjeita on noudatetu.

Ohje: Älä yritä tehdä sihen muita kuin käyttohjekirjassa kuvattuja säätöja. Muiden säätöjen muuttaminen saattaa vauroittaa laitetta ja hankaloittaa laitteen huoltoa. Muiden kuin käyttohjekirjassa kuvattujen säätöjen tekimenen saattaa aiheuttaa laitteen yakavan vauroitumisen.
Ohjeet akun turvalliseen käyttoön
Tämä kannettava tietokone käyttaa litium-ioni-akkua. Älä käytä sitä kosteassa, marassa tai syövytävassä ymparistössa. Älä laita, sailyta tai jatä tuotettasi lampolähteen laheisyyteen, korkealampöiseen paikkaan, voimakkaaseen suoraan auringonvaloon, mikroaaltouuniin tai paineistettuun astiaan, alaka altista sitä yli 60^ (140°F) lampötiloille. Virhe näden ohjeiden noudattamisesa saattaa aiheuttaa akun happovuodon, kuumentumisen, rajahtämisen tai sytymisen ja aiheuttaa vamman ja/tai vaurion. Älä pistä terävälla esineellä, avaa tai pura akkua. Jos akku vuotaa ja joudut kosketukseen vuotaneiden nesteiden kanssa, huuhtele kunnolla vedellä ja hakeudu läkarin
hoitoon valittomasti. Turvallisuussyista, ja akun kestoian pidentamiseksi lataamista ei tapahdu alle 0^ (32^) tai yli 40^ (104^) olevissa lampotiloissa.
Uuden akun täysi suorituskyk saavutetaan vain kahden tai kolmen täydellisen lataus- ja purkamisjakson jälkeen. Akkua ei voi ladata ja purkaa satoja kertoja, vaan se mahdolliseti kuluu loppuun. Kun käyttoaika tulee suntuvasti lyhyemmäksi kuin normalaisti, osta uusi akku. Käytä vain hyväksyttyä akkuja, ja lataa akku vain hyväsksytillä latureilla, jotka on tarkoitetu talle laitteelle.
Käytä akkua vain sille suunniteltuun tarkoitukseen. Älä milloinkaan käytä laturia tai akkua, joka on vauroitunut. Älä oikosulje akkua. Vahingossa tapahtuva oikosulkemenin voi tapahtua, kun metalliesine, kuten kolikko, paperiliitin tai kynä, aiheuttaa suoran liittannän akun positivisen (+) ja negatiivisen (-) navan valille. (Nämä nayttvät olevan kuin metalliliuskat akun pällä.) Tämä saattaa tapahtua esimerkiki, kun kannat vara-akkua taskussasi tai rahapussissasi. Napojen oikosulkemenin voi vauroittaa akkua tai liittäväää esinettä.
Akun kapasiteettia ja kestoikää alennetaan, jos akku on jatetty kuimiin tai kylmiin paikkoihin, kuten suljettuun autoon kesällä tai talvella. Yritä aina pitäa akkku lampötiloen 15°C ja 25°C (59°F ja 77°F) valillä. Laite, jossa on kuuma tai kylmä akku, ei voi tilapäisesti toimia, edes akun ollessa tãysin ladattuna. Akun suorituskyk on erityisen rajoittunut selvästi jätäymisen alapuolella olevissa lampötiloissa.
Älä havitta akkuja tuleen, koska ne voivat rajahtaa. Akut voivat myös rajahtaa niitä vauroitettaessa. Havitta akut paikallisten märäysten mukaisesti. Kierratajos mahdollista. Älä havitta kotitalousjatteena.
Langattomat laitteet voivat olla herkkiä akusta tuleville Häiriöille, mika voi vaikuttaa suorituskykyn.
Akkuyksikon vaihtaminen
Notebook PC -sarjassa käytetän litiumakkuja. Vaihda akku samantyyppiseen kuin mikä tuli tuotteen mukana. Muunlaisen akun käytto saattaa aiheuttaa rajahdyksen tai tulipalon.

Varoitus! Akut saattavat rajahtaa, jos niita ei kasetellaoikein.
Alä yritā avata akkua tai polittaa sitā. Pidā akut lasten
ulottumattomissa ja havitā vanhat akut märarysten mukaisesti.
Noudata paikallisia sādöksiā, kun havitā kaytetyjä akkuja.
Varoitus optisen aseman laitteesta (vain tietyille malleille)
Varoitus: Tämä sovellus sisältaa laserjärestelmän, ja se on luokiteltu: "LUOKAN 1 LASER-TUOTE." Jos sinulla on ongelmia tämän laitteen kanssa, ota yhteys lahimpään VALTUUTETTUUN -huoltoasemaan. Estäksesi suoran altistuksen lasersäteellealandyritäavata koteloa.
LUOKAN 1 LASER-TUOTE
VAROITUS: LAITTEEN SISÄLLÄ ON NÄKYMÄTÖNTÄ LASERSÄTEILYÄ. VÄLTÄ SÄTEELLE ALTISTUMISTA.
APPAREIL A LASER DE CLASSE 1 PRODUIT
LASERATTENTION: RADIATION DU FAISCEAU LASER INVISIBLE EN CAS D'OUVERTURE. EVITTER TOUTE EXPOSITION AUX RAYONS.
LUOKAN 1 LASERLAITE LASER KLASSE 1
Puhelinlinjan turvallisuus
- Irrota puhelinkaapelit seinäpistokkeesta aina ennen tämän laitteen huoltamista tai avaamista.
- Älä käytä puhelinta (muuta kuin langallista) ukkosmyrskyn aikana. Korkea jännite saattaa kulkeutua puhelinlinjojen kautta salamoinnista johtuen.

Varoitus! Turvallisuuden vuoksi, alä kayta yhteensopimattomia osia, kun lisaat tai vaihdat componentteja. Neuvottele jalleenmyyjasi kanssa ostomahdollisuksista.
Käyttoympäristö

Varoitus! Sulje turvallisuussysta kaikki langattomat laitteet sekä radiolahettimet, kun kaytät kannettavaa tietokonettasi seuraavissa olosuheissa. Naita latteita ovat, mutta eivat ne yksistän: Langaton verkko (WLAN), Bluetooth ja/tai 3G.
viii
Muista aina noudattaa jokaisen alueen erityissäddöksiä, ja aina sammuttaa laitteesi kun sen käytto on kielletty tai kun se voi aiheuttaa hairiöta tai vaaraa. Käytä laitetta vain sen normaaleissa käyttoasennoisissa. Tämä laite täyttaa RF-altistumisen ohjearvot normaliissa käytössa, ja kun sen antenni on asetettu vähintäänkin 1,5 senttimetrin (5/8 tuumaa) päähan kehostasi (katso alla olevaa kuvaa). Sen ei tulisi sisältaa metallia ja sinun tulisi sjoittaa laite yllamainitun matkan päähan kehostasi. Lähettäaksesi tiedostoja tai viestejä tämä laite tarvitsee hyvalaatuisen verkkoyhteyden. Joissakin tapauksissa tiedostojen lahetyssaattaa viivästyä, kunnes sellainen yhteys on saatavilla. Varmista, ettäyllamainittua ohjetta etäisyydasta noudatetaan, kunnes siirto on suoritettu loppuun sakka. Osat laitteesta ovat magneettisia. Laite saattaa vetä puoleensa metallisia esineita, ja kuulolaitetta käytvävien henkilöiden ei tulisi pitäa laitetta lahellä korvaa, jossa kuulolaite on. Alä sijoita luottokortteja tai muitakaan magneettisia tallennusmedioita laitteen laheisyyteen, koska tallennettu tieto saattaa pyyhkiyvä pois.
Läketieteelliset laitteet
Jokaisen radiolahettimen käytö, mukaan lukien matkapuhelimet, saattavat Häiritä riittämättomästi suojatun läketeellisen laitteen toimintaa. Kysy laakäriltäsi tai läketeellisen laitteen valmistajalta, onko laite suojattu riittävasti ulkopuoliselta RF-säteilyltä, tai jos sinulla on jotain muuta kysytävää. Samuta laitteesi terveydenhoitolaitoksissa, kun aluen säädökset sinua niin kehoittavat tekemään. Sairaalat tai terveydenhoitolaitokset saattavat käytäa laitteita, jotka ovat herkää ulkopuoliselle RF-lähetyksille.
Sydämmentahdistajat. Sydämmentahdistajan valmistajat suosittelevat, etta vähimmäisvalimatka, 15,3 senttimetriä (6 tuumaa), pidetään langattoman laitteen ja sydämmentahdistajan vällä, jotta vältyttäisin sydämmentahdistajan häririöltä. Nämä suositukset ovat yhteneväisia erillisen Langattoman Teknologian Tutkimuksen kanssa. Sydämmentahdistajan omaavien henkilöiden tulisi toimia seuraavasti:
- Pida laite aina vahintäänkin 15,3 senttimetrin (6 tuuman) etäisyydellä sydämmentahdistajasta.
- Alä kanna laitetta paälläolevan sydämmentahdistaja liaheisyydessä. Jos epäilet Häiriöta, sammuta laitteesi, ja siirra sitä.
Kuulolaitteet. Jotkin digitaaliset, langattomat laitteet saattavat aiheuttaa hariotä kuulolaitteissa. Jos hairiöä ilmenee, ota yhteyttä palveluntarjojaasi.
Ajoneuvot
RF-signaalit saattavat aiheuttaa ongelmia virheellisesti asennetuissa tai riittamattomasti suojaattomissa moottoriajoneuvojen laitteissa, kuten polittoainejarjestelmissä, elektronisissa luistonestojarruissa, elektronisissa nopeudensaatimssä sekä turvatyynyjärjestelmissä. Saadaksesi lisātietoja tarkista ajoneuvosi tai lisälatteiston valmistajalta, tai sen edustajalta. Ainoastaan pätevä henkilöstö saa huoltaa, tai asentaa laitteen ajoneuoon. Virheellinen asennus tai huolto voi olla vaarallista ja voi purkaa laitteen takuun. Varmista säännollisesti, etta kaikki langattomat laitteet ajoneuvossasi ovat kiinni sekä toimivat asiallisesti. Älä säilytä tai kanna tulenarkoja nesteitä, kaasuja, tai rajahteita laitteen, sen osien, ja lisäosien kanssa samassa tilassa. Ajoneuvoissa jotka ovat varustettu turvatyynllä, muista ettā turvatyynyt tättyvät suurella voimalla. Älä sijoita esineitä, mukaanlukien asennetut tai siirrettävät langattoamat laiteistot, turvatuunyn ylapuoliselle alueelle, tai toimintaalueelle. Jos ajoneuvossa oleva langaton laite on virheellisesti asennettu, ja turvatyyny lukeea, vakavia vammoja saattaa seurata. Laitteen käytto lentokoneessa on kielletty. Sammuta laitteesi ennen lentokoneseen astumista. Langattomien puhelimien käytto lentokoneessa voi olla vaarallista lentokoneen toiminnalle, hairirita langatonta puhelinverkkoa, sekä olla laitonta.
Potentialisesti räjähdysvaaralliset ympäristö
Sammuta laite ollessasi alueella, jossa on potenialisesti rajahdyvaarallinen ymparistö sekä noudata kaikkia liikennemerkkejä ja ohjeita. Potentialisesti rajahdyvaaralliset ymparistot sisaltavat alueet, missa sinua normalaisti neuvotaan sammuttamaan ajoneuvon moottorin. Kipinat sellaisilla alueilla voivat aiheuttaa rajahdyksen tai tulipalon johtaen ruumiinvammaan tai jopa kuolemaan. Sammuta Kannettava tietokone poltoainepumpppujen laheisyydessa huoltoasemilla. Huomioi radiolaitteiden kayton rajoitukset poltoainevarikoilla, varastossa, ja jakelalueilla; kemian tehtailla; tai missa rajaytystoyot ovat kaynnissa. Alueet, joissa on potentialisesti rajahdyvaarallinen ymparistö, ovat usein, mutta eivat aina, selvasti merkittyja. Ne sisaltavat paikat laivoissa kannen alla, kemian kuljetukset tai varastopaikat, nestekaasua (kuten propaani tai butaani) kayttavat ajoneuvot, ja alueet missa ilma sisaltaa kemikaaleja tai hiukkasia kuten vilja, poly tai metallipolyt. Älakytke Kannettavaa tietokonetta pälle, jos langattoman puhelimen kayttö on kellettyä, tai jos vio aiheuttaa hairion tai vaaran.
Hätäpuhelut
Varoitus: Et voi tehdä hatäpuheluita tämän laitteen väilityksellä. Tehdäksesi hatäpuhelun, sinun tulisi käyttaa matkapuhelintasi tai muuta puhelinta.
Hävittämisohjeet
Havittäessä tämän sahkölaitteen alä heita sitä roskakoriin. Jotta minimoidaan saastuminen ja taataan äärimmilleen viety ympäristonsuojelu, kierrä tse. Saat lisātietaa sahköisten ja elektronisten laitteiden jätteitta (Waste from Electrical and Electronics Equipment, WEEE) koskevista säädöksista web-sivulta http://www.acer-group.com/public/Sustainability/sustainability01.htm.

Elohopeahuomautus
Lampun sisältvät projektorit tai elektroniikkatuotteet, jotka sisältvät ei-LED-taustavalaistun-LCD/CRT monitorin tai nayton: Tämän laitteen sisällä olevat lamput sisältvät elohopeaa ja ne tāytyy kierrattäa tai havittäa paikallisten, osavaltion tai kansallisten lakien mukaisesti. Lisātietoja saat elektroniikkateollisuuden liitosta osoitteesta www.eiae.org. Lamppukohtaista kierratystietoa on osoitteessa www.lamprecycle.org.
ENERGY STAR

ENERGY STAR
Acer'in ENERGY STAR -pätevät tuotteet säästvät rahaasi vähentämällä energiaustannuksia ja suojaavat ympäristöä ilman suorituskyvä tuhlaavia ominaisuuksia. Acer on ylpeä tarjotessaan asiakkaillemme tuotteita, joissa on ENERGY STAR - merkki.
Mikä on ENERGY STAR?
Tuotteet, jotka ovat ENERGY STAR –päteviä, käyttvät vahemman energiaa ja estätvät kasvihuonekaasupästäjä täyttamällä tiukat USA:n
ympäristösojueluviraston (U.S. Environmental Protection Agency) asettamat energiathokkuunden ojecte. Acer on sitoutunut tarjoamaan
maailmanlaajuisesti tuotteita ja palveluita, jotka atttavat asiakkaita
säästämän rahaa, vähentämän energiaskäyttoä ja parantamaan
ympäristömmle laatua. Mitä enemmän energiaa voimme säästää korkeammalla energiathokkuudella, sitä enemmän vähennämme kasvihuonekaasuja ja ilmastomuutoksen vaaraa. Katso lisätietoja osoitteessa
http://www.energystar.gov tai http://www.energystar.gov/powermanagement.
Acer ENERGY STAR -pätevä tuotteet:
- Tuottavat vahemman lampoa ja vahentavat jahdytskuormia sekä ilmaston lammittamista.
- Menevāt automaattisesti "näytön lepo" ja "tietokoneen lepo" -tilaan 10 ja 30 minuutin kuluttua toimettomuudesta tassā järestyksessä.
Herattavat tietokoneen lepotilasta painamalla nappaimistosta tai siitamallha hirta.
Tietokoneet säästvät enamman kuin 80% energiaa "lepo"-tilassa.
ENERGY STAR ja ENERGY STAR -merkki ovatrekisteröityjä U.S.-tuotemerkkejä.
Vihjeitä ja tietoa mukavaa käyttoä varten
Tietokoneiden käytäjät saattavat valittaa silmien rasittumisesta ja päänsärstä liian pitkän käytön jälkeen. Käytäjät altistuvat myös fyvisille vammoille työskenneltyään useita tunteja tietokoneen äressä. Pitkät työajat, huono ryhti, huonot työtavat, stressi, puuttelliset työolosuhteet, oma terveys ja muut tekijät lisaävät suuresti fysisen vamman riskä.
Vääränlainen tietokoneen käytö saattaa johtaa karpaalitunnelioireyhtymään, sidekudostulehdukseen, jännetuppiturehdukseen tai muhin lihasrakenteiden hairiöihin. Seuraavat oiret saattavat ilmetä käsissä, ranteissä, käsiversissä, hartioissa, niskassa tai selässä:
tunnottomuus tai polttava tai kutittava tunne
särky, kipu tai arkuus
- kipu, turvotus tai sykähtely
- jäykyys tai tiukkuus
- kylmyys tai heikkous
Jos sinulla on naita oireita tai muuta toistuvaa tai psvyvaa epamukavuutta ja/tai kipua tietokoneen kaytosta, ota valittomasti yhteys laakariin ja kerro asiasta rityksesi terveys- ja turvallisuusosastolle.
Seuraava osa tarjoaa vihjeita mukavampaa tietokoneen käyttoä varten.
Mukavuusalueen loytäminen
Löydä mukavuusalueesi säätämllä nayton katselukulmaa, käytämllä jalkatelinettä tai nostramalla istumakorkeuttasi saadaksesi mukavimman mahdollisen asennon. Katso seuraavat vihjeet:
välta olemasta liian kauan samassa asennossa
valta eteen- ja/tai taaksepain nojaamista
nouse ylos ja kävele sännölliseti antaaksesi jalkalihastesi levatä
- pidä lyhyitä taukoja rentouttaaksesi niskasi ja hartiasi
valta lihastensai hartioiden jannittamista
- asennaulkoinen näytö, nappäimistö ja hiiri sopivasti mukavalle etäisyydelle
- jos katsot näytöä enemmän kuin papereita, minimoi niskan rasitus asettamalla näytö pöydän keskelle
Näon hoit
Pitkät katseluajat, värärnlaiset silmälasit tai piilolinssit, valonhohto, liallinen huoneenvalaistus, huonosti tarkennetut näytö, hyvin pienet kirjasimet ja matalakontrastiset näytö saattavat rasittaa silmiäsi. Seuraava osa tarjoaa ehdotuksia silmien rasituksen vähentämiseksi.
Silmät
- Lepuata silmiäsi usein.
- Anna silmillesi sānnöllisiä taukoja katsomalla poispäin monitorista ja keskittämälä katse kaukaiseen pisteeseen.
Räpaṭṭa silmiä usein, jotta ne eivāt kuivu.
XII
Näytto
- Pida naytto puhtaana.
- Pida päasi korkeammalla kuin nayton yläreuna, jotta silmat katsovat alaspain, kun katsot nayton keskikohtaa.
- Paranna tekstin luettavuutta ja grafiikan salvyytta saatamalla nayton kirkkaus ja/tai kontrasti mukavalle tasolle.
-
Poista valonhohto ja heijastukset seuraavasti:
-
aseta näytö sivuttain ikkunaan tai muuhun valonlähteeseen
- minimoi huoneen valo käytämälä verhoja tai salekaihtimia
käytä lisälvaloa - vaihda nayton katselukulmaa
kayta kirkasvalosuodatinta - käytä näyttosilmikkoa, kuten pahvinpalaa asetettuna näytönylaetureunasta ulospain
Välta nayton sātāmista omituiseen katselukulmaan.
Välta katsomasta kirkkaita valonlähteita, kuten avoimia ikkunoita, liian pitkiä aikoja.
Hyvien työtapojen kehittäminen
Tee tietokoneen käytöstäsi rennompaa ja tuottavampaa kehittämällä seuraavia työtapoja:
- Pida lyhyita taukoja saannollisesti ja usein.
- Venyttele.
Hengita raitista ilmaa niin usein kuin mahdollista.
Kuntoile sānnöllisesti ja pidä yllä terveyttäsi.

Varoitus! Emme suosittele tietakoneen käytöa sohvala tai sangylla. Jos tāmā on välttamātontā, työskentele vain lyhyitā jaksoja, pida taukoja saannollisesti ja venyttele.

Ohje: Jos haluat lisātietajo, katso "Mārāykset ja turvallisuusilmoitukset" sivulla 35.
Aloitetaan perusasioista
Haluamme kiittäa sinua Acerin kannettavan tietokoneen valitsemisesta liikkuvien tietokonetarpeittesi tayttämisesa.
Ohjeet
Helpottaaksesi sinua Acer-tietokoneen käytämisesss olemme suunnitelleet sarjan ohjekirjoja:
Ensiksin, juliste Aloittelijoille... auttaa sinua tietokoneen käytöönotossa.
TravelMate-sarjan Peruskayttajän opas sisältaa hyödyllisia tietoja, jotka kayvat TravelMate -tuotasarjan kaikille malleille. Se kattaa perusaiheet kuten Acer eRecovery -ohjelman hallinnan, joka kayttäa nappäistöä, äntä, jne. On ymmärretävää, etta luonteestaan johtuen, Peruskayttajän opas sekä alla mainittu AcerSystem User Guide viittaavat ajoittain toimintoinhin tai ominaisuksiin, jotka on sisältyetty vain tietyihin sarjan malleihin, mutta ei valttämätä ostamaasi mallin. Sellaiset tapaukset on merkitty tekstissä kyseisellä kielellä "vain tietyille malleille".
Pikaohje esittelee uuden tietokoneesi perusominaisuudet ja -toiminnot. Lisatietoja siitä, miten tietokoneesi auttaa sinua lisäämään tuottavuutta, on annetu ohjeessa AcerSystem User Guide. Tassā ohjeessa on yksityiskohtaiset ohjeet järestelmätoiminnoista, tietoen palauttamisesta, tietokoneen laajentamisetsta ja ongelmanratkaisusta. Siinä on myös annettu yleisiä ohjeita, tietoja takuusta sekä turvallisuusohjeita. Se on saatavana Portable Document Format (PDF) –muodossa ja se on jo asennetu tietokoneellesi. Voit avata sen noudattamalla seuraavia ohjeita:
1 Napsauta Käynnistä, Kaikki ohjelmat, AcerSystem.
2 Napsauta AcerSystem User Guide.

Ohje: Jotta voit katsella käyttohobjekirjaa, Adobe Readerin on oltava asennettu. Jos Adobe Reader ei ole asennettu, sen asennus käynnistyy ennen AcerSystem User Guide avamista. Noudata näytölle tulevia ohjeita, kunnes asennus on valmis. Saat lisätietoja Adobe Readerin asennuksesta ja käytösta valikosta Ohje ja tukikeskus.
xiv
Tietokoneen peruskäyttoohjeita
Tietokoneen käynnistäminen ja sammuttaminen
Tietokone kytketaan pälle painamalla ja vapauttamalla LCD-nayton alla helppokäynnistyspainikkeiden vieressä olevan virtapainikkeen. Katso lisātietoja "Pikaohje" virtapainikkeen sijainnista.
Tietokone sammutetaan yhdellä seuraavista tavoista:
Käytä Windowsin sammutuskomentoa
Napsauta Käynnistä minkä jälkeen napsauta Sammuta.
Käytä virtapainiketta
Voit myos panna tietokoneen leptotilaan painamalla leptotilan pikanappainta < Fn> + < F4> .

Ohje: Jos tietokone ei sammu normalisti, paina virtapainiketta yli neljan sekunnin ajan ja nain tietokone sammuu. Jos sammutat tietokoneen ja haluat kaynnistaa sen uudelleen, odota sammuttamisen jälkeen vähintään kahden sekunnin ajan ennen virran uudelleenkytkemista.
Tietokoneen hoito
Tietokoneesi toimii hyvin, jos pidat siitä huolta.
- Älä jatā tietokonetta suoraan auringonpaisteeseen. Älä aseta sitā lammonlähteen, kuten lampöpatterin laheisyyteen.
- Älä altista tietokonetta alle 0^ C ( 32^ F ) tai yli 50^ C ( 122^ F ) lampötiloihin.
- Älä altista tietokonetta magneettikentille.
- Älä altista tietokonetta sateelle tai kosteudelle.
- Älä kaada vettä tai muuta nestettä tietokoneen pälle.
- Älä altista tietokonetta tärinälle tai iskuille.
- Älä altista tietokonetta polylle tai liale.
- Älä koskaan aseta esineitä tietokoneen paälle.
- Älä laimaytä tietokoneen kantta kiinn voimakkaasti.
- Äla aseta tietokonetta epatasaiselle pinnalle.
Verkkolaitteen hoito
Tassà on mutamia verkkolaitteen hoitoon liittyvia ohjeita:
- Älä kytke verkkolaitetta mihinkään muuhun laitteseen.
- Älä astu verkkojohdon pälle tai aseta sen pälle painavia esineita. Asenna kaapelit niin, etteivat ne tartu jalkoihin tai altistu kulutukse.
- Irrottaessasi verkkjohohtoa alä vedä johdosta vaan pistotulpasta.
- Jos käytät jatkojohtoa, varmista, etta johtokestää verkkolaitteen ja tietokoneen kuormituksen. Varmista myös, etta kokonaiskuormitus ei ylitä sulakkeen kokoa.
Akun hoitaminen
Seuraavassa on mutamia akun hoitoon liittyvia ohjeita:
Vaihda akut samanlaisin akkuihin niitä vaihtaessasi. Sammuta tietokone ennen akun irrotusta.
- Älä avaa akkua. Pidä se lasten ulottumattomissa.
- Havita vanhat akut märäysten mukaisesti. Kierrätta kaikki kierrätettä materiaali.
Puhdistaminen ja huolto
Noudata seuraavia ohjeita puhdastaessasi tietokonetta:
1 Sammuta tietokone ja poista akkuyksikkö.
2 Irrota verkkolaite.
3 Käytä pehmeaa ja kosteaa pyyhettä. Älä käytä puhdistusaineita.
Jos seuraavia oireita ilmenee:
- tietokone on pudonnut tai sen runko on vauroitunut
- tietokone ei toimi normalisti
Katso lisātietoja kohdasta "Usein kysyttyjä kysmyksiä" sivulta 31.
Tietoja turvallisuuttasi ja mukavuuttasi varten
III
Tärkeitä turvallisuusohjeita
iii
Varoitus optisen aseman laitteesta
vii
(vain tietyille malleille)
vii
Käytömpäristö
viii
Läketeelliset laitteet
ix
Ajoneuvot
ix
Potentialisesti rajahdysvaaralliset ymparistot
ix
Hätäpuhelut
X
Havittamisohjeet
X
Elohepuahuomautus
X
ENERGY STAR
xi
Vihjeita ja tietaoa mukavaa kayttoa varten
XIII
Aloitetaan perusasioista
xiii
Ohjeet
xiv
Tietokoneen peruskäytöohjeita
xiv
Tietokoneen kännistäminen ja sammuttaminen
xiv
Tietokoneen hoit
XV
Verkkolaitteen hoito
XV
Akun hoitaminen
XV
Puhdistaminen ja huolto
Kosketusalusta
1
Perusasiat kosketusalustasta (sorgenjalkilukijan kanssa)
1
Perusasi kat kosketusalustasta
2
(kahden napsautuksen painikkeilla)
Näppäimistön käytto
3
Lukitusnappaimet ja sulautetty numeerinen
nappainryhma*
3
Windows-nappaimet
4
Ääni
5
Acer PureZone (vain tietyille malleille)
5
Video
5
16:9 näytö (vain tietyille malleille)
5
Järejestelmātarvikkeiden käytäminen
6
Acer Bio-Protection (vain tietyille malleille)
6
Acer Backup Manager
7
Virranhallinta
8
Windows palauttaminen varmistuslevyiltä
12
Akku
14
Akun ominaisuudet
14
Akun kestoian pidentaminen 14
Akun irrottaminen ja asettaminen paikalleen 15
Akun lataaminen 16
Akun varaustilan tarkistaminen 16
Akun kestoian optiminti 16
Alhaisen varaustilan varoitus 17
Kannettavan PC:n mukaan ottaminen 18
Tietokoneen irrottaminen poytäitetoneesta 18
Tietokoneen siirtäminen 18
Tietokoneen valmistelu 18
Mitä viedä kokouksiin 19
Tietokoneen vieminen kotiin 19
Tietokoneen valmistelu 19
Mitä ottaa mukaan 19
Erikoista huomioitavaa 20
Kotitoomiston raketaminen 20
Tietokoneen ottaminen mukaan matkalle 20
Tietokoneen valmistelu 20
Mitä ottaa mukaan 20
Erikoista huomioitavaa 21
Tietokoneen ottaminen mukaan kansainväliselle matkalle 21
Tietokoneen valmistelu 21
Mitä ottaa mukaan 21
Erikoista huomioitavaa 21
Tietokoneen suojaaminen 22
Tietokoneen turvalukon kayttäminen 22
Salasanojen kaytto 22
Salasanojen syottaminen 23
Salasanojen asettaminen 23
Tietokoneen laajentaminen 24
Liitettavyys 24
Fax/data-modeemi (vain tietyille malleille) 24
Sisänrakennettu verkkotoiminto 25
USB-väylä 25
IEEE 1394-portti (vain tietyille malleille) 26
Muistin lisääminen 28
BIOS-sovellus 29
Käynnistyssekvenssi 29
Levylta levylle -palautus kaytossa 29
Salasana 29
Ohjelmiston kayttö 30
DVD-elokuvien toistaminen 30
Usein kysyttyjä kysmyksiä 31
Yhteyden ottaminen houltoon 33
Kansainvalinen takuu
Ennen yhteydenottoa 33
Tietokoneen ongelmanratkaisu 34
Ongelmanratkaisuvihjeita 34
Virheilmoitukset 34
Maaraykset ja turvallisuusilmoitukset 35
FCC-lausunto 35
Modeemia koskevia ohjeita (vain tietyille malleille) 36
LCD-näytön pikseleitä koskeva lausunto 36
Radiolaitteeseen liittyvahuomautus 36
Yleistä 36
FCC RF -turvallisuusvaatimus 37
Kanada - Matalatehoiset ilman lupaa kaytettavat
radiolaitteet (RSS-210) 38
Ihmisen altistuminen radiosäteilylle (RSS-102) 38
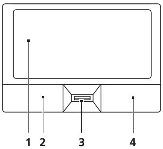
Sisānrakenettu kosketusalusta on osoitinlaite, joka tuntee pinnallaan tapahtuvan liikkeen. Tämä tarkoittaa, etta osoitin vastaa, kun liikutat sormeasi kosketusalustan pinnalla. Kämmentuen keskeinen sisjainti tarjoaa ihanteellisen mukavuuden ja tuen.
Perusasiat kosketusalustasta (sormenjällukijan kanssa)
Seuraavat kohdat nayttavat kuinka kosketusalustaa kaytetaan Acer BioProtection -sormenjalkilukijan kanssa.
- Liikuta sormeasi kosketusalustalla (1) liikuttaaksesi osoitinta.
Paina vasenta (2) ja oikeaa (4) painiketta kosketusalustan alapuolella tehdäksesi valinta- ja suoritustoimintoja. Nämä kaksi painiketta vastaavat hiiren oikeaa ja vasenta painiketta. Kosketuslevyn napauttaminen vastaa vasemman painikkeen napsauttamista.

| Toiminto | Vasen painike (2) | Oikea painike (4) | Pääkosketusalusta (1) | Keskipainike (3) |
| Suorita | Napsauta nopeasti kahdesti. | Napauta kahdesti (samalla nopeudella kuin jos kaksoisnapsauttaisit hiiren painiketta). | ||
| Valitse | Napsauta kerran. | Napauta kerran. | ||
| Vedä | Napsauta ja pidä alhaalla, käytä sitten sornea vetäk- sesi osoitinta kosketuspaini-kkeella. | Napauta kahdesti (samalla nopeudella kuin jos kaksoisnapsauttaisit hiiren painiketta); jätä sitten sormi kosketusalustalle toisella napautuksella ja vedä osoitinta. | ||
| Avaa pikavalikko | Napsauta kerran. |
Perusasiat kosketusalustasta (kahden napsautuksen painikkeilla)
Seuraavat kohdat opettavat, kuinka kosketusalustaa käytetään kahden napsautuksen painikkeilla.
- Liikuta sorneasi kosketusalustalla liikuttaaksesi osoitinta.
- Paina vasenta ja oikeea painiketta kosketusalustan alapuolella tehdäksesi valinta- ja suoritustoinjoja. Nämä kaksi painiketta vastaavat hiiren oikeea ja vasenta painiketta. Kosketuslevyn napauttaminen vastaa vasemman painikkeen napsauttamista.
| Toiminto | Vasen painike | Oikea painike | Pääkosketusalusta |
| Suorita | Napsauta nopeasti kahdesti. | Napauta kahdesti (samalla nopeudella kuin jos kaksoisnapsauttaisit hiiren painiketta). | |
| Valitse | Napsauta kerran. | Napauta kerran. | |
| Vedä | Napsauta ja pidä alhaalla, käytä sitten sormea vetääksesi osoitinta kosketuspainikkeell. | Napauta kahdesti (samalla nopeudella kuin jos kaksoisnapsauttaisit hiiren painiketta); jatä sitten sormi kosketusalustalle toisella napautuksella ja vedä osoitinta. | |
| Avaa pikavalikko | Napsauta kerran. |

Ohje: Kuvat ovat viitteellisia. PC:n tarkka konfigurointi riippuu ostetusta mallista.

Ohje: Pidä sormesi kuivina ja puhtaina kosketusalustaa käyttaëssä. Pidä myös kosketusalusta kuivana ja puhtaana. Kosketusalusta on herkkä sormen liikkeille. Nain Ellen mitä kevyempi kosketus, sen parempi vastaus. Kovempaa napauttaminen ei lisää kosketusalustan vastausherkkyttä.

Ohje: Oletuksena pysty- ja vaakavieritys on sallittua kosketusalustalla. Se voidaan esta hiiriasetuksilla Windowsin ohjauspaneelissa (Windows Control Panel).
Näppäimistön käytto
Nappaimistossa on taysikokoiset nappaimet ja sulautetty numeerin nappainryhma*, erillinen osoitin, lukitus, Windows, toiminto- ja erikoisnpappaimet.
Lukitusnäppäimet ja sulautettu numeerinen nappainryhma*
Nappaimistossa on 3 lukitusnappainta, jotka voi panna paalle ja pois paaltä.
| Lukitusnappäin | Kuvaus |
| Caps Lock | Kun Caps Lock on päälä, kaikki kirjoitetut aakkosmerkit ovat isoja kirjaimia. |
| NumLk <Fn> + <F11>* | Kun NumLk on päälä, sulautettu nappainryhma on numeerissaa tilassa. Nappäimet toimivat laskimena (mukana aritmeettiset operaattorit +, -, * ja /). Käytä tätä tilaa, kun on tarpeen kirjata paljon numeerista tietaoa. Vielä parempi ratkaisu olisi liittää tietakoneeseen ulkoinen nappäimistö. |
| Scr Lk <Fn> + <F12> | Kun Scr Lk on päälä, näytö nuva liikkuu yhden rivin verran ylös tai alas, kun painat ylös- tai alan-nuolinappäimiä. Scr Lk ei toimi joissakin sovelluksissa. |
Sulautettu numeerinen nappainryhma toimii kuten työpydän numeronappainryhma. Numerot on merkitty pieninä nappaimien oikeaan yläkulmaan. Osoittimen ohjaussymboleja ei ole yksinkertaisuuden vuoksi merkitty nappaimiin.
| Haluttu toiminta | NumLk päällä | NumLk pois päältä |
| Sulautetun näppäinryhmän numeronäppäimet | Syötä[numerot normalaillin tapaan. | |
| Sulautetun näppäinryhmän osoittimen ohjaunsäppäimet | Pidä < ➔ > alhaalla osoittimen ohjaunsäppänten käytön ajan. | Pidä <Fn> alhaalla osoittimen ohjaunsäppänten käytön ajan. |
| Näppäimistön päänäppäimet | Pidä <Fn> alhaalla sulautetun näppäinryhmän kirjaimien syöttämisen ajan. | Kirjoita kirjaimet normaaliin tapaan. |
- vain tietyille malleille
Windows-näppäimet
Nappaimistössa on kaksi nappäintä, joilla suoritetaan Windowsille ominousaisia toimintoja.
| Näppäin | Kuvaus | |
| Windows-näppäin | Yksistään poinettuna tälla nappäimellä on sama vaikutus kuin Windowsin Käynnistä-painikkeen napautuksella; se käynnistäa Käynnistä-valikon. Sitä voidaan myö's käytäa muiden nappäinten kanssa tarjoamaan joukon toimintaja: | |
| < ➕>: Avaa tai sulje Käynnistysvalikko | ||
| < ➕> + <D>: Näytä työpytä | ||
| < ➕> + <E>: Avaa Windows Explorer | ||
| < ➕> + <F>: Etsi tiedosto tai kansio | ||
| < ➕> + <G>: Kierrä Sivupalkin laitteiden lapi | ||
| < ➕> + <L>: Lukitse tietokoneesi (jos olet kytkettynä verkko-osoitteeseen), tai vaihda käytäjät (jos et ole kytkettynä verkko-osoitteeseen) | ||
| < ➕> + <M>: Piententäa kaikki ikkunat. | ||
| < ➕> + <R>: Avaa Suorita-valintaruudun. | ||
| < ➕> + <T>: Kierrä tehtäväpalkilla olevien ohjelmien lapi | ||
| < ➕> + <U>: Avaa Ease of Access Center | ||
| < ➕> + <X>: Avaa Windows Mobility Center | ||
| < ➕> + <Break>: Näytä Järestelmäominaisuuudet-valintaruutu | ||
| < ➕> + <M>: Palauta minimoidut ikkunat työpydalle | ||
| < ➕> + <K- ➕>: Kierrä tehtäväpalkilla olevien ohjelmien lapi käytämällä Windows Flip 3-D:tä | ||
| < ➕> + <Vàlilyönti>: Tuo kaikki laitteet etuosaan ja valitse Windows-sivupalkki | ||
| < Ctrl> + < ➕> + <F>: Etsi tietokoneet (jos olet verkossa) | ||
| < Ctrl> + < ➕> + <K- ➕>: Käytä nuolinäppäimiä kierrättämään tehtäväpalkilla olevien ohjelmien lapi käytämällä Windows Flip 3-D:tä | ||
| Ohje: Riippuen Windows:n versiostasi jotkut pikanäppäimet eivät ehkö toimi kuten on kuvattu. | ||
| Sovellus-näppäin | Tälla nappäimellä on sama vaikutus kuin hiiren oikealla nappäimellä; se avaa sovelluskohtaisen valikon. | |
Ääni
Tietokoneen mukana tulee myös 32-bittinen High Definition (HD) ääni ja kaiutin(kaiuttimet).
Acer PureZone (vain tietyille malleille)
Järestelmä tarjoaa sinulle aivan uudenlaisen innostavan änielamyksen, johon kuuluu Acer PureZone ja sisäänräkennettua stereomikrofonia, joissa on ominaisuksina suunnan muodostus ja kaiun peruutus. Acer PureZone - teknoologia tukee kaiun peruutusta, suunnan muodostusa ja kohinanvaimennusta puhtaan änen tallentamiseen. Mikrofonin asentamiseksi suorita Acer HD Audio Manager kaksoisnapsauttamalla Acer HD Audio Manager -kuvaketta Windowsin järestelmatarjottimessa. Acer HD Audio Manager -valintaruutu ponnahtaa esiin. Napsauta Mikrofoni-valilehteä ja napsauta sitten Mikrofonin tehosteel -valilehteä. Valitse Säteenmuodostus ja Akustisen kaiun peruutus mikrofonin tehosteiden asettamiseksi.

Ohje: Ota Sateenmuodostus pois käytösta, jos änilähteita on useita.
Video
16:9 näytö (vain tietyille malleille)
16:9 näytö toimittaa Full HD -elokuvia kotona kuten ei milloinkaan aikaisemmin. Pilviä hipova värikylläsiys takaas aidon HD-katselukokemuksen. 16:9 laatu tarkoittaa, että todelliset kotiteatterinäkmät ovat viimeinkin saapuneet kannettavan tietokoneen vihdeharrastajille.
Järejestelmātarvikkeiden käytäminen
Acer Bio-Protection (vain tietyille malleille)
Acer Bio-Protection Fingerprint Solution on monikäyttoinen sormenjäkiohjelmistopaketti, joka on sisällytety Microsoft Windows - käytöjarestelmaan. Käytäen henkilön sormenjäljen ainutlaatuisuutta Acer Bio-Protection Fingerprint Solution sisältaa suojauksen luvatonta pääsyä tietokoneeseesi vastaan keskitetyllä salasanahallinnalla salasanapankin kautta; ja nopean sovelluksen/web-sivuston käynnistämisen sekä sisän kirjautumisen Acer FingerLaunch.
Acer Bio-Protection Fingerprint Solution -ohjelmistolla voit nauttia lisäkerroksesta suojausta henkilökohtaiselle tietokoneellesi, sekä mukavuudesta paastä käsiksi päivittäisin tehtäviisi yksinkertaisella sormesi huitaisulla!
Jos haluat lisātietoja, katso Acer Bio-Protection -ohjetiedostoja.

Acer Backup Manager

Ohje: Täm ominaisus on vain tietyissa malleissa.
Acer Backup Manager on yksinkertainen kolmivaiheinen prosessi, joka antaa luoda koko järestelmäsi tai valittujen tiedostojen ja kansioiden varmistuskopiot aikataulun mukaan, tai kun tarvitset.
Acer Backup Managerin käynnistämiseksi paina Acer Backup Manager – nappainta nappaimiston ylapuolella. Vaihtoehtoisesti voit mensk oktiin Käynnistä > Kaikki ohjelmat > Acer Backup Manager > Acer Backup Manager. Tämä avaa Tervetuloa-nayttöruudun; tälta nayttöruudulta sinut otetaan kolmen vaiheen kautta asettamaan aikataulutetut varmistukset. Napsauta Jatka edetäkesisi seuraavaan nayttöön. Napsauta + -painiketta ja seuraa ruudun ohjeita:
1 Valitse sisältö, jonka haluat varmistaa. Mitä vähemmän sisältöä valitset, sitä nopeampi prosessi on, mutta se lisää tietojen menettämisen vaaraa.
2 Valitse mihin haluat varmistuskopiot tallennettavan. Sinun tarvitsee valitaulkoinen asema tai D:-asemasi; Acer Backup Manager ei voi tallentaa lahdeasemalle.
3 Valitse kuinka usein haluat Acer Backup Manager -ohjelman luovan varmistukset.
Kun olet lopettanut namä kolme vaihetta, varmistukset luodaan aikatauln mukaisesti. Voit luoda varmistuksia myös manuaalisesti painamalla Acer Backup Manager -nappäintä.
Jos haluat muuttaa asetuksiemi miloin tahansa, suorita Acer Backup Manager -ohjelma Käynistä-valikosta ja mene yllä kuvattujen vaiheiden lapi.

Virranhallinta
Tietokoneessa on sisäinen virranhallintajärestelmä, joka valloo koneen virrankäyttoä. Akun virtaa kuluttavat tietokoneessa nappaimistö, hiiri, kiintolevy, tietokoneeseen liitetyt lisälaitteet ja nayttömuisti. Jos naita laitteita ei käytetä tiettyyn aikaan, tietokone sammuttaa jotkin tai kaikki näistä laitteista automaattisesti virrankäytön vahentämiseksi.
Tietokoneen virranhallintajärestelmä tukee ACPI (Advanced Configuration and Power Interface), joka mahdollistaa tehokkaan virransästön ja suuren suorituskyvyn samanaikaisesti. Windows hoitaa kaikkii tietokoneen virranhallintaan liittyvat tehtävat puolestasi.
Acer PowerSmart -näppäin

Ohje: Täm ominaisuus on vain tietyissä malleissa.
Acer PowerSmart -nappain käyttaa tietokoneesi grafiikan alijärkestelmän virtransästöminaisuksia vähentämän kokonaisvirrankulutusta. Kun painat Acer PowerSmart -nappainta, nayton kirkkautta alennetaan ja grafiikkasiru kytkeytyy alemmalle nopeudelle; PCI ja WLAN kytkevat virtransästötiloihin. Paina Acer PowerSmart -nappainta palatakesi jälleen edellisiin asetuksiisi.
Acer eRecovery Management on tyokalu, jolla voit nopeasti palauttaa jarjestelmän. Voit myos varmistaa/palauttaa tehdasoletuskuvan, ja asentaa uudelleen sovelluksia ja laiteohjaimia.

Ohje: Koko seuraava sisälto on vain yleiseksi tiedoksi. Varsinaiset tuotteen tekniset tiedot voivat vaihdella.
Acer eRecovery Management ssa on seuraavat toiminnot:
1 Varmuuskopio:
Luo tehdasoletuslevy
Luo laiteohjainten ja sovellusten levy
2 Palauta:
Täyspalautusjärestelmä tehdasoletuksiin
Palauta käytöjärestelmä ja sailytä käytäjan tiedot
Asenna laiteohjaimetai sovellukset uudelleen
Tassà luvussa annetaan ohjeet kunkin toiminnon käyttoän.

Ohje: Tämä ominaisuus on vain tietyissä malleissa. Jos järjestelmässä ei ole sisänrakenettua polttavaa optista asemaa, liitä tietokoneeseen ulkoinen polttava asema ennen menoa Acer eRecovery Management -ohjelmaan optiseen levyyn liittyvä tehtäviä varten.
Sinun täytyy ensin asettaa -salasana käyttemän Acer eRecovery Managementin salasanan suojausominaisuutta tietojesi suojaamiseen. Salasana assetaan käynistämällä Acer eRecovery Management ja napsauttamalla Asetukset.

Polta varmistuslevy
Acer eRecovery Managementin varmistussivulta voit polttaa tehdasoletuskuvan tai varmistaa laiteohjaimet ja sovellukset.
1 Napsauta Käynnistä, Kaikki ohjelmat, Acer, Acer eRecovery Management.
2 Acer eRecovery Management avaa Varmistus-sivun.

3 Valitse varmistuksen typpi (tehdasasetus tai laiteohjaimet ja sovellukset), jotka haluat polttaa levylle.
4 Suorita toiminto loppuun noudattamalla näytölle tulevia ohjeita.

Ohje: Luo tehdasoletuskuva, kun haluat polttaa käynnistyslevyn, joka sisältaa tietokoneesi koko käytöjarkestelmän sellaisena kuin se oli sinulle tehtaalta toimitettaessa. Jos haluat saada levyn, joka antaa sinun selata sisältoa ja asentaa valitut laiteohjaimet sekä sovellukset, luo sensijaan laiteohjaimet- ja sovellusvarmistus — tamä levy ei ole käynnistyslevy.
Palauta
Palautusominaisuus salli sinun palauttaa tai parantaa järestelmä tehdasoletuskuvasta, tai aikaisemmin luoduista CDja DVD-verbistuksista. Voit myös asentaa uudestaan sovelluksia ja laiteohjaimia Acer-järestelmääsi varten.
1 Napsauta Käynistä, Kaikki ohjelmat, Acer, Acer eRecovery Management.
2 Kytke Palauta -sivulle napsauttamalla Palauta.

3 Voit valita järestelman palauttamisen tehdasoletuskuvasta tai asentaa uudestaan sovellukset ja laiteohjaimet.
4 Suorita toiminto loppuun noudattamalla näytölle tulevia ohjeita.
Windows palauttaminen varmistuslevyiltä

Ohje: Täm ominaisus on vain tietyissä malleissa.
Jotta voit palauttaa Windows aiemmin poltetuilta varmistuslevyiltä, sinun taytyen ensin laittaa varmistuslevy asemaan ja ottaa käyttoön F12-käynnistysvalikko BIOS-asetusapuohjelman kautta.
1 Käynnistä tietokone ja laita ensimmäinen järjestelmän palautuslevy optiseen levyasemaan. Käynnistä tietokone uudelleen.
2 Käynnistyksen aikana, kun Acerin logo nakyyy, paina F2 -nappainta, niin paaset BIOS-asetukseen, jossa voi asettaa järjestelmän parametrit.
3 Valitse alivalikko Paa vasen- ja oikea-nuolinappainten avulla.
4 Valitse ylos- ja alas-nuolinappainten avulla F12-kaynnistysvalikko.
5 Muuta F5- tai F6-nappäimen avulla F12-käynnistysvalikko arvoon Käytössa.
6 Paina ESC-nappäintä, niin pääset alivalikkoon Lopeta, paina ENTER-nappäintä, niin valitset Poistu tallentamalla muutokset. Paina ENTER-nappäintä uudelleen, niin valitset Kyllä. Tietokone käynnistyy uudelleen.
7 Uudelleenkäynnistyksen jälkeen, kun Acerin logo nakyyy, paina F12-nappainta, niin Käynnistysvalikko avautuu. Täällä voit valita, miltä laitteelta käynnistetään.
8 Valitse nuolinäppäinten avulla IDE1* ja paina sitten ENTER-näppäintä. Windows asennetaan palautuslevyltä.
9 Laita toinen palautuslevy sisään kehotuksen tullessa ja tee sitten palautus loppuun noudattamalla nayton kehotteita.
10 Poista palautuslevy optisesta levyasemasta, kun palautus on valmis. Tee se ennen kuin kaynnistät tietokoneen uudelleen.
Jos haluat asettaa käynnistysjärjestyksen pitkääikaisen käyttoön, valitse Käynnistys-alivalikko.
1 Käynnistä tietokone ja laita ensimmäinen järjestelmän palautuslevy optiseen levyasemaan. Käynnistä tietokone uudelleen.
2 Käynnistyksen aikana, kun Acerin logo nakyyy, paina F2 -nappaintä, niin paaset BIOS-asetukseen, jossa voi asettaa järkestelmän parametrit.
3 Valitse alivalikko Käynnistys vasen- ja oikea-nuolinäppänten avulla.
4 Valitse ylos- ja alas-nuolinappainten avulla laite IDE1*.
5 Siirr F6-nappaimen avulla IDE1* -laite kaynnistysprioriteettiluettelossa ylimmaksi, tai siirra F5-nappaimen avulla muut laitteet kaynnistysprioriteetissa alemmaksi. Varmista, etta IDE1* -laitteen prioriteetti on korkein.
6 Paina ESC-nappäintä, niin pääset alivalikkoon Lopeta, paina ENTER-nappäintä, niin valitset Poistu tallentamalla muutokset. Paina ENTER-nappäintä uudelleen, niin valitset Kyllä. Tietokone käynnistyy uudelleen.
7 Kun käynnistät tietokoneen uudelleen, Windows asennetaan palautuslevyltä.
8 Laita toinen palautuslevy sisään kehotuksen tullessa ja tee sitten palautus loppuun noudattamalla nayton kehotteita.
9 Poista palautuslevy optisesta levyasemasta, kun palautus on valmis. Tee se ennen kuin kaynnistät tietokoneen uudelleen.
Akku
Tietokone käyttaa akkuyksikköä, joka tuottaa pitkäikaisen käytön latauskertojen vällä.
Akun ominaisuudet
Akussa on seuraavat ominaisuudet:
- Akkuteknologia on edistyksellista.
- Akku antaa varoituksen alhaisesta varaustilasta.
Akku ladataan aina kun liitāt tietokoneen AC-adapteriin. Akku latautuu myös tietokoneen käytön aikana. Akku latautuu kuitenkin nopeammin,Jos tietokone on pois pälä ja kyktetty verkkolaitteeseen.
Akku on käteva, kun olet matkoilla tai kun käytettavissä ei ole sahköö. Suosittelemme, etta pidat matkoilla mukanasi täyteen ladattua akkua. Ota yhteyttä tietokoneen myyjän, jos haluat hankkia vara-akun.
Akun kestoän pidentäminen
Kuten muutkin akut, tietokoneesi akku heikkenee ajan myöta. Tämä merkitsee sitä, että akun suorituskyk heikkenee. Seuraavassa on annetu nuvoja akun kestoian pidentämiseksi.
Uuden akun käyttoönnott
Ennen uuden akun käytöä se on otettava käyttoön seuraavien ohjeiden mukaan:
1 Aseta uusi akku paikalleen tietokoneeseen, mutta alä käynistä tietokonetta.
2 Kytke verkkolaite tietokoneeseen ja lataa akku.
3 Irrota verkkolaite.
4 Käynnistä tietokone ja anna sen toimia akulla.
5 Anna akun tyhjentyä, kunnes tietokone antaa varoituksen alhaisesta varaustilasta.
6 Kytke verkkolaite takaisin tietokoneeseen ja anna akun latautua täyteen.
Samoja ohjeita noudattaen lataa ja pura akku kolme kertaa.
Noudata naita ohjeita aina, kun otat kayttoon uuden akun tai kun akku on ollut kayttamatta pitkään. Irrota akku tietokoneesta, jos sitä ei kayteta yli kahteen viikkoon.

Varoitus! Alä altista akkua alle 0^ (32°F) tai yli 45°C (113°F) lampötiloille. Aärimmäiset lampötilat saattavat vahingoittaa akkua.
Noudata akun kestoän pidentämiseen liittyvä ohjeita, jotta akku kestäisi mahdollisimman kauan. Jos akkua käsitetlään vaärin, se ei varaudu täyteen ja kestoikä lyhenee.
Akun kestoikään vaikuttavat myös seuraavat seikat:
- Älä käytä tietokonetta pitkään verkkovirralla, jos akku on paikoillaan. Jos käytät aina verkkovirtaa, irrota akku tietokoneesta sen latauduttua täyteen.
- Akkua ei saa purkaa täysin tyhjäksi.
- Akun jatkuva käytto lyhentäa sen kestoikäa. Tavallinen tietokoneakun kestoikä on noin 300 latauskertaa.
Akun irrottaminen ja asettaminen paikalleen

Tärkeäl Kytke verkkolaite paikalleen ennen akun irrottamista, jos haluat jatkaa tietokoneen käytöä.
Akku asetetaan paikalleen seuraavasti:
1 Aseta akku akkupaikkaan kytkentaliuskat oikeinpain. Varmista, etta akun ylapuoli on ylospain.
2 Liu'uta akku akkupaikkaan ja työnnä sitä varovasti, kunnes akku lukkiutuu paikalleen.
Akku irrotetaan seuraavasti:
1 Liu'uta akun salpaa, kunnes akku irtoaa.
2 Vedä akku ulos alkupaikasta.
Akun lataaminen
Varmista ennen akun lataamista, etta se on oikein paikoillaan tietokoneessa. Kytke verkkolaite tietokoneeseen ja pistorasiaan. Voit jatkaa tietokoneen käytöä akun lataamisen aikana. Akku latautuu nopeammin, jos tietokone on sommutetu latauksen aikana.

Ohje: Suosittelemme, etta lataat akun ennen työpaivän lopettamista. Akun lataaminen yön yli ennen matkustamista mahdollistaa sen kännistämisen seuraavana paivänä tãysin ladatulla akulla.
Akun varaustilan tarkistaminen
Windowsin varaustilamittari nayttäakun varaustilan. Siirr kursori Sovelluspalkin akun kuvakkeen paalle niin naet varaustilan.
Akun kestoän optiminti
Optimoimalla akun kestoikää akku kestäa kauemmin, toimii paremmin ja parantaa latauksen hyötysuhdetta. Suosittelemme, että noudatat seuraavia ohjeita:
Hanki vara-akku.
- Käytä verkkovirtaa aina, kun se on mahdollista. Nain akku säystyy tilanteisiin, jolloin sahköä ei ole.
- Irrota PC Card tietokoneesta, kun et käytä sitä (valituissa malleissa).
- Sälytä akkua kuivassa ja viileässä paikassa. Suositeltu lampötila on +10 °C (+50 °F) ~ +30 °C (+86 °F). Korkeammat lampötilat lisävät akun purkautumisnopeutta.
Liiallinen lataaminen lyhentää akun kestoikää.
- Pida hyvää huolta tietakoneen akusta ja verkkolaitteesta.
Alhaisen varaustilan varoitus
Tarkkaile Windowsin varaustilamittaria akkukayton aikana.

Varoitus! Kytke verkkolaite tietokoneeseen heti kun tietokone antaa alhaisen varaustilan varoituksen. Jos akku loppuu ja tietokone sammuu, menetät tallentamattomat tiedot.
Kun alhaisen varaustilan varoitus tulee, suositeltu toimenpide riippuu tilanteesta:
| Tilanne | Suositelu Toimenpide |
| Verkkolaite ja verkkovirta ovat käytettävissä. | 1. Kytke verkkolaite tietokoneeseen ja pistorasiaan. 2. Tallenna kaikki avoinna olevat tiedostot. 3. Jatka työskentelyä. Sammuta tietokone, jos haluat akun latautuvan nopeasti. |
| Käytettävissä on toinen täyteen ladattu akku. | 1. Tallenna kaikki avoinna olevat tiedostot. 2. Sulje kaikki sovellukset. 3. Sammuta tietokone. 4. Vaihda akku uuteen. 5. Käynnistä tietokone ja jatka työskentelyä. |
| Verkkolaitetta, verkkovirtaa ja uutta täyteen ladattua akkua ei ole käytettävissä. | 1. Tallenna kaikki avoinna olevat tiedostot. 2. Sulje kaikki sovellukset. 3. Sammuta tietokone. |
Kannettavan PC:n mukaan ottaminen
Tässä osassa annetaan tietakoneen kanssa matkustamiseen ja sen matkalla käytämseen liittyvä ohjeita.
Tietokoneen irrottaminen pöytätietoneesta
Noudata naita ohjeita kun irrotat tietakoneeseesi kytketyt ulkoiset lisälaitteet:
1 Tallenna kaikki avoimet tiedostot.
2 Poista tallennusvalineet, kuten levykkeet ja levyt asemista.
3 Sammuta tietokone.
4 Sulje tietokoneen kansi.
5 Irrota kaapeli verkkolaitteesta.
6 Irrota ulkoisen nappaimiston, osoitinlaitteen, tulostimen, nayton ja muiden ulkoisten laitteiden kaapelit.
7 Avaa Kensington-lukko, jos kaytät sellaista tietokoneen lukitsemiseksi.
Tietokoneen siirtäminen
Jos siirryt vain lyhyitā matkoja, esimerkiki si toimistostasi kokoushuoneeseen.
Tietokoneen valmistelu
Anna tietokoneen mennä lepotilaan sulkemalla sen kansi ennen tietokoneen siirtämista. Nyt voit siirtäa koneen mihin takansa turvallisesti. Tietokone heräa lepotilasta, kun avaat sen kannen ja painat virtapainiketta.
Jos viet tietokoneen kauemmaksi, kuten esimerkiki toiseen toimistoon tai toiseen rakennukseen, voit joko sammuttaa tietokoneen:
Napsauta Käynnistä minkä jälkeen napsauta Sammuta.
Tai:
Voit siirtäa sen lepotilaan painamalla <Fn> + <F4> . Lopuksi voit sulkea nayton kannen.
Kun haluat käytää tietokonetta uudelleen, avaa näytö ja paina virtapainiketta.

Ohje: Kun haluat käyttaa tietokonettasi uudelleen avaa nayton kansi ja paina sekä vapauta virtapainike. Jos virran merkkivalo ei pala, on tietokone siirtnyt valmiustilaan. Paina ja vapauta virtapainike kytkeaksesi tietokoneen virran paallee. Huomaa, etta tietokone saattaa siirtya valmiustilaan kun se on ollut lepotilassa tiynet ajan. Kytke virta takaisin paallee herattäaksesi tietokoneen valmiustilasta.
Mita viedä kokouksiin
Jos kokouksesi on suhteellisen lyhyt, todennaköisesti ei tarvise viedä muuta kuin tietokoneesi. Jos kokouksesi on pidempi, tai jos akku ei ole tãysin ladattu, voit ottaa verkkolaitteen mukaasi, jotta voit liittä tietokoneen sähköverkkoon kokoushuoneessa.
Jos kokoushuoneessa ei ole pistorasiaa, voit vahentaa virrankulutasta siirtamalla tietokoneen lepotilaan kun et tarvitse sita. Paina <Fn> + <F4> tai sulje nayton kansi, kun et kayta tietokonetta. Kun haluat jatkaa tietokoneen kayttöa, aava kansi (jos se on kiinni) ja paina virtapainiketta.
Tietokoneen vieminen kotiin
Kun siiryrt toimistostasi kotiin tai takaisin.
Tietokoneen valmistelu
Kun olet irrottanut tietokoneesi ulkoisista lisälaitteista, valmistele tietokoneesi seuraavien ohjeiden mukaan ennen sen siirtämista:
- Varmista, etta olet poistanut kaikki poistettavat levyt ja optiset levyt asemista. Jos nain ei tehdä, asema saattaa vauroitua.
- Pakkaa tietokone suojaavaan pakkauseen estaaksesi sen vauroituminen.

Varoitus: Välta pakkaamasta tietokonetta siten, että jokin painaa sen kancta. Kannen painaminen saattaa vahingoittaa näytöä.
Mitta ottaa mukaan
Jos sinulla ei ole kotona vielä mitään tietokoneen laitteita, muista ottaa seuraavat laitteet mukaasi:
Verkkolaite ja verkkjoho
Pikaohje
Erikoista huomioitavaa
Noudata seuraavia ohjeita suojataksesi tietokonetta matkustamisen aikana:
Pyri välttämään lämpötilanmuutoksia pitämällä tietokone tasaisessa lämpötilassa.
- Jos joudut pysahtymaan pitkaksi aikaa etka voi ottta konetta mukaasi, jatä se auton tavaratilaan, jotta se ei kuumene liikaa.
- Lämpötilan ja kosteuden muutokset saattavat aiheittaa kondensoitumista. Anna tietokoneen taasaantua huoneenlämpötilaan ja tarkista, ettei näytölä ole kondensaatiota ennen koneen virran kytkemistä. Jos lmpötilaero on yli 10^ (18 °F), anna tietokoneen lammetä hitaasti huoneenlmpötilaan. Jos mahdollista, anna tietokoneen lmpötilan tasaantua puolen tunnin ajan tilassa, jonka lmpötila on ulkoilman ja huoneenlmpötilan valillä.
Kotitoimiston rakentaminen
Jos käytät tietokonettasi usein kotona, saattaa olla syytä hankkia kotiin toinen verkkolaite. Nain vältyt verkkolaitteen Kantamiselta kodin ja toimiston vällä.
Jos käytät tietokonettasi pitkä aikoja kotona, haluat ehkä hankkia kotiin myös toisen hiiren, nayton ja nappäimiston.
Tietokoneen ottaminen mukaan matkalle
Kun matkustat pitkä matkoja, esimerkiki toiseen rakennukseen tai toiselle paikkakunnalle.
Tietokoneen valmistelu
Valmistele tietakone, kuin olisit viemässen kotiin. Varmista, etta tietakoneen akku on ladattu. Lentokentän turvallisuushenkilot saattavat vaatia sinun käynnistämän koneen turvatarkastuksessa.
Mitä ottaa mukaan
Ota mukaasi seuraavat laitteet:
Verkkolaite
- Toinen tãysin ladattu akku
Käytettävien tulostimien ajurit
Erikoista huomioitavaa
Tietokoneen kotiin viemistä koskevien ohjeiden lisaksi noudata seuraavia ohjeita matkustaessasi kauemmas:
Kuljeta tietokonetta aina kasilmatkatavarana.
- Jos mahdollista, anna turvatarkastajien tarkastaa kone kasin. Lentokenttien rontgenlaitteet ovat turvallisia, mutta alä laita konetta metallinpaljastimen lápi.
- Älä altista levykettä metallinpaljastimelle.
Tietokoneen ottaminen mukaankansainväliselle matkalle
Kun siiryt maasta toiseen.
Tietokoneen valmistelu
Valmistele tietokoneesi kuten mille takansa muullekin matkalle.
Mitta ottaa mukaan
Ota mukaasi seuraavat laitteet:
Verkkolaite
Verkojohto, joka sopii matkakohteen pistorasioihin
- Toinen tãysin ladattu akku
Käytettävien tulostimien ajurit
- Ostotodistus, jos sinun tulee naytttaa se tullivirkailijoille
Kansainvalinen takuutodistus
Erikoista huomioitavaa
Valmistele tietokoneesi kuten mille tahansa muullekin matkalle. Lisaksi seuraavat ohjeet saattavat ollaulkomaanmatkalla hyödyksi:
- Kun matkustat toiseen maahan, varmista, etta verkkolaite ja verkkjoho
- sopivat matkustuskohteen jannitteelle ja pistorasioille. Jos nain ei ole,
- hanki sopiva verkkolaite ja verkkjoho.
- Alä kaytä tietokoneen
- virransyöttöön sovittimia tai adaptereita.
- Jos käytät modeemia, varmista, etta modeemi ja johto sopivat matkustuskohteen puhelinverkkoon.
Tietokoneen suojaaminen
Tietokoneesi on arvokas hankinta, josta on syyta pitä huolta. Opettele käyttemaan tietokoneesi turvalaitteita.
Laitteisto- ja ohjelmistoturvatoiminnot, lukitukset ja salasanat, suojaavat tietokonettasi.
Tietokoneen turvalukon käytäminen
Kannettava tietokone tulee Kensington-yhteensopivan turvalukon paikan kanssa.
Kierra lukon kaapelijonkin paikoillaan psvyvan esineen, kuten poydan tai laatakion kadensijan ympari. Paina lukko paikalleen ja lukitse se kiertamalla avainta. Saatavana on myos joitakin avaimettomia lukkoja.
Salasanojen käytto
Salasanat suojaavat tietokonettasi luvattomalta käytölta. Voit asettaa salasoilla tietokoneeseesi useita sujaustasoja:
- Valvojan salasana (Supervisor Password)体系建设BIOS:in luvattoman kayton. Kun salasana on annettu, vaaditaan se BIOS:iin pääsemiseksi. lisätietoja "BIOS-sovellus" sivulta 29.
- Käytäjan salasana (User Password) suojaa tietokonettasi luvattomalta käytöltä. Tämän salasan ja käynnistys- sekä lepotilasalasan avulla voit varmistaa tietokoneesi tietoturvallisuuden.
- Käynnistyssalasana (Password on Boot) suojaa tietokonettasi luvattomalta käytöltä. Tämän salasan ja käynnistys- sekä valmiustilasalanan avulla voit varmistaa tietokoneesi tietoturvallisuuden.

Tärkeaal Ålä unohda valvojan salasanaa! Jos unohdat salasanat, ota yhteyttä tietokoneen myyjän tai valtuutettuun huoltoedustajaan.
Salasanojen syöttäminen
Kun salasana on asetettu, ilmestyy naytön vasempaan kulmaan sanaa kysyvä ruutu.
- Kun valvojan salasana on asetetu, ilmestyy ruutu, kun painat
päästäksesi BIOS-sovellukseen. - Kirjoita valvojan salasana ja paina
päästäksesi BIOS-sovellukseen. Jos annat värärän salasanan, ruudulle ilmestyy varoitus. Yritä uudelleen ja paina . - Kun käytäjän salasana on asetetu ja valinta Salasana käynnistettyessä on valittu, ilmestyy ruutu käynistettyessä.
- Kirjoita käytäjan salasana ja paina
aloittaaksesi tietokoneen käytön. Jos annat värän salasanan, ruudulle ilmestyy varoitus. Yritä uudelleen ja paina .

Tärkeäl Voit kirjoittaa salasan kolme kertaa. Jos annat salasan kolme kertaa värin, järestelmä menee lukkoon. Sammuta tietokone liu'uttamalla virtakytkintä ja pitämälla se paikallaan neljan sekunnin ajan. Käynnistä tietokone ja yritä uudelleen.
Salasanojen asettaminen
Voit asettaa salasanat BIOS-sovellusta kayttäen.
Tietokoneen laajentaminen
Notebook PC-tietokoneesi tarjoaa sinulle elamyksiä liikkuvan tietokoneen käytössä.
Liitettävyys
Liittimien avulla voit kytkeä koneeseesi lisälaitteita kuten tavalliseen pöytätietokoneeseen. Lisätietoja ulkoisten laitteiden liittämistä tietokoneeseen saat lukemalla seuraavassa osassa annetur ohjeet.
Fax/data-modeemi (vain tietyille malleille)
Tietokoneessasi on sisäänräkennettu V.92 56 Kbps fax/data -modeemi. (vain tietyille malleille)

Varoitus! Tämä modeemi ei ole yhteensopiva digitaalisten puhelinlinjojen kanssa. Älä kytke modeemia digitaileseen linjaan, koska tällöin se saattaa vaurioitua.
Jos haluat käyttaa faksi- ja datamodeemilitäntä, kytke modeemikaapeli liittimestä puhelinpistokkeeseen.


Varoitus! Varmista, etta kaapeli toimii siinä maassa, jossa haluat käyttaa sitä.
Sisäänrakennettu verkkotoiminto
Sisänrakennetun verkkotoiminnon ansiosta voit liittä tietokoneesi Ethernetpohjaiseen verkkoon.
Kun haluat käyttaa verkkoyhteytta, kytke Ethernet-kaapeli Ethernet (RJ-45)-portista tietokoneen rungossa verkkoliitttimeen tai verkon keskitttimeen.

USB-väylä
USB 2.0 -välyn avulla voit kytkeä useita lisälaitteita tietokoneeseisi käyttramatta järestelmän resurseja.

IEEE 1394 -portti (vain tietyille malleille)
IEEE 1394 -portin avulla voit kytkea tietakoneeseen IEEE 1394 -yhteensopivia laitteita kuten videokameran tai digitaalikameran. Katso tarkemmat ohjeet video- tai digitaalikameran kayttoohjeesta.

High-Definition Multimedia Interface (vain tietyille malleille)
Korkealaatuinen multimedialiitäntä HDMI (High-Definition Multimedia Interface) on teollisuuden tukema, kompressoimaton, tãysin digitaalinen audio/video-liitäntä. HDMI tarjoaa liittannän minkä tabansa yhteensopivan digitaalien audio/video-låhteen valille, kuten lisälaje, DVD-toistin, ja A/V-vastaanotin ja yhteensopiva digitaalinen audio ja/tai videomonitori, kuten digitaalinen television (DTV), yksittäisen kaapelin kautta.
Käytä HDMI-porttia tietokoneessasi kytkemään yhteen korkealuokkainen audio- ja video-laitteisto. Yksittäinen kaapelitoteutus mahdollistaa siistin asetuksen ja nopean liitännän.

ExpressCard (vain tietyille malleille)
ExpressCard on PC-kortin uusin versuso. Se on pienempi ja nopeampi liitantä, joka edistää tietokoneesi käytettäyytta ja laajennettavuutta.
ExpressCardit tukevat laajasti erilaisia laajennusvaihtoehtoja, sisältaen flashmuistikorttiadapterrit, TV-virittimet, Bluetooth-liitetävydyden ja IEEE 1394B -adapterrit. ExpressCardit tukevat USB 2.0- ja PCI Express -sovelluksia.

Tärkeä! On olemassa kahta eri typpiä, ExpressCard/54 ja ExpressCard/34 (54 mm ja 34 mm), kummatkin erilaisilla toiminnoilla. Kaikki ExpressCard-korttipaikat eivät tue molempia typppejä. Tarkista korttisi manuaalista tarkemmat tiedot kortin asentamisesta ja käytösta, sekä sen toiminnoista.
ExpressCardin sijoittaminen
Laita kortti korttipaikkaan ja paina kevyesti, kunnes se napsahtaa paikalleen.

ExpressCardin irroittaminen
Ennen ExpressCardin irroittamista:
1 Sulje korttia kayttava sovellus.
2 Napsauta vasemmalla painikkeella Remove hardware -kuvaketta tehtäväpalkissa ja pysäytä kortin toiminta.
3 Paina korttia kevestyi korttipaikkaan pän ja vapauta kortin poistamiseksi. Sitten vedä kortti vapaasti ulos korttipaikasta.
Muistin lisääminen
Noudata seuraavia ohjeita muistia lisatessasi:
1 Sammuta tietakone, irrota verkkolaite tietakoneesta ja irrota koneen akku. Kännä kone ympäri päästäksesi kasiki si n pohjaan.
2 Irrota muistin kannen ruuvi; ja nosta muistin kansi pois paikoiltaan.
3 Aseta muistimoduuli kulmittain uraan (a) ja paina sitä kunnes se napsahtaa paikalleen (b).

4 Aseta muistin kansi takaisin paikoilleen ja kiinnitä se ruuvilla.
5 Laita akku paikalleen ja kytke virtalähde tietokoneeseen.
6 Käynnistä tietokone.
Tietokone tunnistaa uuden muistikoon ja alkaa käyttaa sitä automaattisesti. Kysy nuvoa asiantuntijalta tai ota yhteyttä Acer-edustajaan.
BIOS-sovellus
BIOS-sovelluksen avulla voit muuttaa ja katsella tietokoneesi BIOS in asetuksia (Basic Input/Output System; BIOS).
Tietokoneesi assetukset on valmiksi märitetty, joten sinun ei ole pakko suorittaa tatā sovellusta. Jos kuitenkin kohtaat ongelmia tai haluat muuttaa assetuksia, on sinun käynnistettävi BIOS-sovellus.
BIOS-sovellus kännistetän painamalla nappäntä
Käynistyssekvenssi
Jos haluat muuttaa käynistyssekvenssä BIOS-sovelluksessa, avaa BIOS-sovellus ja valitse Boot nayton yläreunan valikoista.
Levyltä levylle -palautus käytössä
Jos haluat ottaa Levyltä levylle -palautuksen (Kiintolevyn palautus) käytöän, avaa BIOS-sovellus ja valitse Main näytön yläreunan valikoista. Etsi kohta D2D Recovery ja aseta sen arvoksi Enabled nappaimilla
Salasana
Jos haluat ottaa käynnistyssalasanan käyttoän, avaa BIOS-sovellus ja valitse Security näytön yläreunan valikoista. Etsi kohta Password on boot: ja ota se käyttoän nappaimilla
Ohjelmiston käytto
DVD-elonkuvien toistaminen

Ohje: Täm ominaisus on vain tietyissä malleissa.
Kun tietokoneeseesi on asennettu DVD, voit toistaa tietokoneellasi DVD-elokuvia.
1 Avaa DVD-levykelkka, aseta levy paikoilleen ja sulje DVD-levykelkka.

Tärkeä! Kun kaytät DVD-asemaa ensimmäisen kerran, kysyy tietokone sinulta aluekoodia. DVD-levyt on jaettu kuuteen eri aluekoodiin. Kun DVD-levylle on annettu aluekoodi, toistaa sevain märitetyn aluekoodin DVD-levyjä. Voit asettaa aluekoodin korkeintaan viisi kertaa (ensimmäinen kerta mukaan lukien). Viidennen kerran jälkeen voimaan jää viimeksi annettu aluekoodi. Kiintoleyn formatointi ei nollaa aluekoodin assetuslaskuria. Katso lisātietoja aluekoodeista myöhemmin tassä luvussa olevasta taulukosta.
2 DVD-elokuvan toisto alkaa automaattisesti mutaman sekunnin jälkeen.
| Aluekoodi | Maa tai alue |
| 1 | U.S.A., Kanada |
| 2 | Eurooppa, Keski-Itä, Etelä-Afrikka, Japan |
| 3 | Kaakkois-Aasia, Taiwan, Etelä-Korea |
| 4 | Latinalainen Amerikka, Australia, Uusi-Seelanti |
| 5 | Entinen Neuvostoliitto, jotkin Afrikan osat, Intia |
| 6 | Kiina |

Ohje: Voit vaihtaa aluekoodia asettamalla asemaan toisen aluekoodin DVD-levyn. Katso lisatietoja online-ohjeista.
Usein kysyttyjä kysmyksiä
Seuraavassa on lueteltu ongelmia, joita saatat kohdata tietokonetta kayttäessä. Jokaiseen ongelmaan on annettu helppo ratkaisu.
Painoin virtapainiketta, mutta tietokone ei käynnisty.
Katso virran merkkivaloa:
-
Jos merkkivalo ei pala, ei tietokone saa virtaa. Tarkista seuraavat asi:
-
Jos käytät akkua, se saattaa olla tyhja. Kytke tietokoneeseen verkkolaite ja anna akun latautua.
-
Varmista, etta verkkolaite on kytketty paikoilleen tietokoneeseen ja pistorasiaan.
-
Jos merkkivalo palaa, tarkista seuraavat asi:
-
Onko ulkoissessa USB-levykeasemassa muu kuin käynnistyslyveke? Poista levyke asemasta tai korvaa se käynnistyslevykkeellä ja käynnistä tietokone uudelleen painamalla
+ + .
Näytölle ei tule mitään.
Tietokoneen virranhallinta sammuttaa nayton automaattisesti virransästön takia. Paina mitä tahansa nappäintä ja kuva ilmestyy naytölle.
Jos nappämen painaminen ei tuo kuvaa Näytölle, syitä saattaa olla kolme:
- Kirkkaus on assetetu liian pieneksi. Paina <Fn> + <> (lisää) lisätäkesi nayton kirkkautta.
- Näytöksi on asetettu ulkoinen näytö. Paina pikanäppäintä
+ otaaksesi koneen Oman näytön käytöän. - Jos lepotilan merkkivalo palaa, tietokone on lepotilassa. Voit jatkaa tietokoneen käytöä painamalla ja vapauttamalla virtakytkimen.
Tietokoneesta ei kuulu äntä.
Tarkista seuraavat asi:
- Ääni voi olla vaimennetty. Etsi Windowsin sovelluspalkista kaiuttimen kuvake. Jos sen paällä on rasti, ääni on vaimennetty. Poista Vaimenna kaikkä (Mute all) napsauttamalla kuvaketta.
- Äanenvoimakkuus on liian pieni. Etsi Windowsin äanenvoimakkuuden säätokuvake ja saädä voimakkuus suuremmaksi. Voit saätäa äanenvoimakkuutta myös äanenvoimakkuuden säätopainikkeilla.
- Jos tietokoneen edessa paneelin linjalähtöön on kytketty kuulokkeet tai ulkoiset kaiuttimet, sisäset kaiuttimet ovat automaattisesti pois käytösta.
Haluan työntäü ulos optisen aseman levykelkan tietokonetta käynnistämättä.
Optisessa asemassa on mekaaninen ulostyontoaukko. Tyonnaukoon kynankärki tai paperilittimen karki ja paina levykelkan ulostyontamiseksi.
Nappaimsto ei toimi.
Yritä liittä erillinen ulkoinen nappaimistö tietakoneessasi olevaan USB -portiin. Jos se toimii, ota yhteyttä valtuutettuun huoltoon, koska. tällöin sisäinen nappaimiston kaapeli saattaa olla irti.
Tulostin ei toimi.
Tarkista seuraavat asi:
Varmista, etta tulostin on kytketty pistorasiaan ja että sen virta on paällä.
- Varmista, etta tulostinkaapeli on oikein kytketty tietokoneen rinnakkaislittimeen tai USB-porttiin ja vastaavaan porttiin tulostimessa.
Haluan palauttaa tietakoneeni sen alkuperäisiin asetuksiin ilman palautus-CDitä.

Ohje: Jos järestelmäsi on monikielinen versio, käytöjärestelmä ja kieli,jonka valitset kytkiessävi rirran pälle järestelmän ensimmäisen kerran, on ainut vaihtoehto tuleville palautustoiminnoille.
Voit palauttaa tietokoneen kiintolevyn sihen tilaan, jossa se oli, kun ostit tietokoneesi. Palauttaminen tehdäan seuraavassa annettujen ohjeiden mukaan. (Kiintolevysi C: formatoidaan, ja kaikki sillä oleva tieto katoaa.) On tärkeä, etta varmuuskopioit kiintolevyn ennen palautuksen tekemistä.
Tarkista BIOS-asetukset ennen palautuksen tekemista.
1 Varmista, onko kohta Acer disk-to-disk recovery valittuna.
2 Varmista, etta asetuksen D2D Recovery -asetus kohdassa Main on Enabled-tilassa.
3 Poistu BIOS-asetussovelluksesta ja tallenna muutokset. Tietokone käynnistyy uudelleen.

Ohje: BIOS-asetussovellus avataan painamalla
Palauttamisprossin aloittaminen:
1 Käynnistä tietokone uudelleen.
2 Acer-logon nakyessä paina
3 Katso ruudulta ohjeita järjestelmän palauttamisesta.

Tärkeää! Tämä toiminto vaatii 15 GB kiintolevtyilaa piilotettuna osiona.
Yhteyden ottaminen huoltoon
Kansainvalinen takuu "International Travelers Warranty" (ITW)
Tietokoneellasi on kansainvalinen takuu International Travelers Warranty (ITW), joka antaa sinulle rauhan matkustaessasi. Maailmanlaajuinen huoltoverkostomme auttaa sinua, kun tarvitset apua.
ITW-todistus tulee koneesi mukana. Tassā todistuksessa on annettu kaikki takuutiedot ITW-ohjelmasta. Todistukssaa on myos luettelo valtuutetuista kansainvälisdista huoltoedustajistamme. Lue tamā todistus huolellisesti.
Pidä ITW-takuutodistus aina mukanasi, varsinkin hakiessasi apua huoltoedustajaltamme. Aseta ostokuittisi ITW-todistuksen kannessa olevaan taskuun.
Jos matkakohteeessasi ei ole Acerin valtuuttamaa ITW-huoltoa, voit silti pyytäapua muusta toimipisteestämme. Lisatietoja saat osoitteesta http://global.acer.com.
Ennen yhteydenottoa
Etsi seuraavat tiedot staataville ennen yhteydenottoasi Aceriin ja ole tietokoneen luona yhteydenoton aikana. Avullasi voimme lyhentäyhteydenottoon kuluvaa aikaa ja auttaa sinua ratkaisemaan ongelmat tehokkaasti. Jos tietokoneen naytölle tulee virheilmoituksaia tai kone piippaa, kirjoita virheilmoitukset muistiin (tai piippausten märä ja pituudet).
Tarvitsemme sinulta seuraavat tiedot:
Nimi:
Osoite:
Puhelinnumero:
Tietokoneen malli ja typpi:
Sarjanumero:
Ostopaivamaara:
Tietokoneen ongelmanratkaisu
Tässä luvussa kerrotaan, miten ratkaiset typpillisimmat ongelmat. Lue ohjeet huolellisesti ennen tietokoneen toimittamista huoltoon. Vakavampien ongelmien ratkaiseminen vaatii tietokoneen avaamisen. Älä yritä avata tietokonetta itse. Ota yhteyttä koneen myyjän tai valtuutettuun huoltoliikkeeseen.
Ongelmanratkaisuvihjeita
Tässä notebook-tietokoneessa on edistyksellinen toiminto, joka antaa virheilmoitukset näytölle ja auttaa ongelmanratkaisussa.
Jos järestelma ilmoittaa virheestä tai toimii virheellisesti, katso kohtaa "Virheilmoitukset". Jos ongelma ei ratkea, ota yhteyttä myyään.
Katso lisätietoja "Yhteyden ottaminen huoltoon" sivulta 33.
Virheilmoitukset
Huomioi saamasi virheilmoitus ja tee korjaustoimenpiteet. Seuraavassa taulukossa on lueteltu virheilmoituksen aakkosjärjestyksessä ja kerrottu suositeltavat toimenpiteet.
| Virheilmoitukset | Korjaustoimenpiteet |
| CMOS battery bad | Ota yhteytä myjään tai valtuutettuun huoltopisteeseen. |
| CMOS checksum error | Ota yhteytä myjään tai valtuutettuun huoltopisteeseen. |
| Disk boot failure | Aseta järestelmälevy kevyasemaan (A:) ja käynistä tietokone uudelleen <Enter> -nappäintä painamalla. |
| Equipment configuration error | Siirry Biosin ominaisuuksiin painamalla POST-toiminnon aikana <F2> -nappäintä ja paina sen jälkeen Exit -nappäintä poituaksesi ja määritte teiotokoneen assetukset uudelleen. |
| Hard disk 0 error | Ota yhteytä myjään tai valtuutettuun huoltopisteeseen. |
| Hard disk 0 extended type error | Ota yhteytä myjään tai valtuutettuun huoltopisteeseen. |
| I/O parity error | Ota yhteytä myjään tai valtuutettuun huoltopisteeseen. |
| Keyboard error or no keyboard connected | Ota yhteytä myjään tai valtuutettuun huoltopisteeseen. |
| Keyboard interface error | Ota yhteytä myjään tai valtuutettuun huoltopisteeseen. |
| Memory size mismatch | Siirry Biosin ominaisuuksiin painamalla POST-toiminnon aikana <F2> -nappäintä ja paina sen jälkeen Exit -nappäintä poituaksesi ja määritte teiotokoneen assetukset uudelleen. |
Jos ongelma esiinty viela korjaustoimenpiteiden jalkeen, ota yhteyttä myjään tai valtuutetuun huoltopisteeseen. Jotkut ongelmat voidaan ratkaista BIOS in ominaisuksiesta.
Määräykset ja turvallisuusilmoitukset
FCC-lausunto
Laite on koestetu ja sen on havaittu tayttavän Luokan B digitaaliselle laitteelle FCC-märäysten osan 15 mukaiset märäykset. Nämä raja-arvot on tarkoitetu turvaamaan riittävä Häriösuojaus asutussa ymparistössa. Laite luo, käytää ja saattaa sateillä radiotaajuista energiaa. Jos laitetta ei käyteta ohjeiden mukaisesti, se saattaa hairitta radioliikennettä.
Kuitenkaan mitään takuita ei ole sille, ettei laite aiheuttaisi häiriöitä radion tai television vastaanottamiseen, mika voidaan märittä käntämälla laite paälle ja pois. Jos laite todistettavasti on häriöiden aiheuttaja, opastetaan laitteen käyttagä rhytymään seuraaviin toimiin häriöiden ehkäsemiseksi:
- Aseta vastaanottava antenni eri paikkaan tai asentoon.
- Lisaa laitteen ja vastaanottimen valista etaisyytta.
Kytke laite eri virransyöttoön kuin vastaanottava laite on kytketty.
Kysy nuvoa asiantuntijalta.
Ohje: Suojatut kaapelit
Kaikki kytkennat oheislaitteisiin on tehtäva suojatulla kaapelilla, jotta FCC-märäysten vaatimukset taytettäin.
Ohje: Lisälaitteet
Tāhan laitteseen saa liittä vain sellaisia lisälaitteita (I/O-laitteet, päätteet, tulostimet, jne.), jotka täytävät luokan B vaatimukset. Hyväksymättömien laitteiden käytto saattaa aiheuttaa hairiöitä radio- ja TV-vastaanotolle.
Varoitus
Laitteen muuttaminen ilman valmistajan hyväksyntäa saattaa mitatöidä käytäjan valtuudet käytä tata laitetta.
Modeemia koskevia ohjeita (vain tietyille malleille)
TBR 21
Laite on hyväksytty [Neuvoston päätös 98/482/EC - "TBR 21"] kytkettäväksi julkseen puhelinverkkoon (PSTN). Eri maiden puhelinverkkojen eroaaisuksista johtuen tämä hyväksyntä ei kuitenkaan takaa laitteen toimintaa kaikkialla. Jos havaitset toiminnassa ongelmia, ota yhteyttä laitteen toimittajaan. Halutessasi lisätietoja soveltuvista maista katso "Märäykset ja turvallisuilmoitukset" sivulla 35.
LCD-näytön pikseleitä koskeva lausunto
LCD-näytö on valmistetu erittäin tarkoilla valmistusmenetelmillä. Tästä huolimatta muutamat pikselit saattavat olla toimimattomia tai toimia vaärin. Tällä ei ole merkitystä kuvalle, eikä sitä lasketa viaksi.
Radiolaitteseen liittyvä huomautus

Ohje: Seuraavat rajoitukset koskevat vain malleja joissa on langaton LAN ja/tai Bluetooth.
Yleistä
Tämä tuote tāyttā radiotaajuutta ja turvallisuusstandardeja koskevat sāännokset sillā alueella tai siinä maassa, jossa se on hyväksytty kāytettäväksi. Kokoonpanosta riippuen tuotteessa saattaa olla langattomia radiolaitteita (kuten WLAN- ja/tai Bluetooth-moduleuleja). Alla olevat tiedot koskevat tuotteita, joissa on tällaisia radiolaitteita.
Yhdenmukaisuusvakuutus EU-maissa
Acer vakuuttaa, etta notebook PC -sarja tietokoneet tayttavat direktiivin 1999/5/EC ja sen liitteiden vaatimukset.
Luettelo maista, joissa vakuutus on voimassa
EU:n jasenvaltiot heinakuussa 2009 ovar: Belgia, Tanska, Saksa, Kreikka, Espanja, Ranska, Irlanti, Italia, Luxemburg, Alankomaat, Itavalta, Portugal, Suomi, Ruotsi, Iso-Britannia, Viro, Latvia, Liettua, Puola, Unkari, Tsekki, Slovakia, Slovenia, Kypros, Malta, Bulgaria ja Romania. Laitteen kayttö on sallittua EU-maisa ja Norjassa, Sveitsissä, Islannissa ja Liechtensteinissa. Laitetta on kaytettäva paikallisten märäysten ja ohjeiden mukaisesti. Lisätietoja asiasta saat ottamalla yhteyttä laitteen edustajaan kyseisessä maassa. Katso http://ec.europa.eu/enterprise/rtte/implement.htm uusinta maaluetteloa varten.
FCC RF -turvallisuusvaatimus
LAN Mini-PCI -kortin ja Bluetooth-kortin suurin sateilyteho on FCC-radiotaajuusaltistusrajoen alapuolella. Notebook PC sarja -tietokonetta on kuitenkin kaytettävi niin, etta kayton aikana etäisyys ihmisii on mahdollisimman suuri:
1 Käytäjä pyydetään noudattamaan radiotaajuisten laitteiden käytöohjeissa annettuja turvallisuusohjeita.

Varoitus: FCC:n radiotaajuukulle altistumista koskevien vaatimusten noudattaminen edellyttä, etta sisänrakennetun langattoman LAN Mini-PCI kortin antennin ja nayttöalueen sekä ihmisten valillä on aina oltava vähintäan 20 cm:n etäisyys.


Ohje: Wireless Mini PCI Adapter käyttaa siirron vuorottelua. Toiminto ei laheta radioaltoja molemmista antenneista yhtaaikaa. Yksi antenneista valitaan automaattisesti tai kasin (käytäjan valitsemana), jotta radioyhteys olisi mahdollisimman hyvä.
2 Tämä laite on tarkoitettu ainoastaan sisakäytöön koska se käyttaa 5,15 -5,25 GHz:n taajuusaluetta. FCC edellyttaa, etta tata laitetta käytetaa n 5,15 - 5,25 GHz:n taajuudella sisätiloissa, ettei se hairitsisi viereisten kanavien liikkuvia satelliittjärjestelmia.
3 Korkeatehoiset taajuudet ensisijaisille kayttajille on sijoitetu 5,25 - 5,35 GHz:n ja 5,65 - 5,85 GHz:n kanaville. Namä tutkasemat voivat aiheuttaa hairiöitä ja/tai vahingoittaa tātā laitetta.
4 Vääränlainen asennus tai luvaton käytö saattaa aiheuttaa häiriöitä radiolikenteelle. Sisäisen antennin muuttaminen myös mitatöi FCC-hyväksynnä ja takuun.
Kanada - Matalatehoiset ilman lupaa käytettävät radiolaitteet (RSS-210)
Ihmisen altistuminen radiosäteilylle (RSS-102)
Notebook PC -sarjan tietokoneissa on matalatehoiset sisäiset antennit, jotka eivät lahetä radiotaajuista kenttäa Health Canadian väestölle sallimien rajojen ylitse. Katso turvallisuuskoodi 6 Health Canadian web-sivuilta www.hc-sc.gc.ca/rpb.
Vaadake peatukki "Korduma kippuvad kusimused" lehekuljel 31.
Laiendusvöimalused 24
Uhendusvöimalused 24
Kui parool on seatud, Ilmub ekraani keskele parooliaken.
HelppoOhje