iQ500 VB558C0S0 - Forno da incasso SIEMENS - Manuale utente e istruzioni gratuiti
Trova gratuitamente il manuale del dispositivo iQ500 VB558C0S0 SIEMENS in formato PDF.
Domande frequenti - iQ500 VB558C0S0 SIEMENS
Scarica le istruzioni per il tuo Forno da incasso in formato PDF gratuitamente! Trova il tuo manuale iQ500 VB558C0S0 - SIEMENS e riprendi in mano il tuo dispositivo elettronico. In questa pagina sono pubblicati tutti i documenti necessari per l'utilizzo del tuo dispositivo. iQ500 VB558C0S0 del marchio SIEMENS.
MANUALE UTENTE iQ500 VB558C0S0 SIEMENS
1 Sicurezza 52
2 Prevenzione di danni materiali 54
3 Tutela dell'ambiente e risparmio 55
4 Conoscere l'apparecchio 55
5 Accessori 58
6 Prima del primo utilizzato 60
7 Comandi di base 60
8 Funzioni durata 61
9 Sicurezza bambini 62
10 Impostazioni di base 62
11 Pulizia e cura 63
12 Supporti 66
13 Sportello dell'apparecchio 66
14Sistemazione guasti 68
15 Smaltimento 69
16 Servizio di assistenza clienti 70
17 Funzione cosi 70
18 ISTRUZIONI PER IL MONTAGGIO 73
18.1 Montaggio sicuro 73
Sicurezza
Osservare le seguenti avventenze di sicurezza.
1.1 Avvertenze generali
Leggere attendamente le presenti istruzioni.
- Conservare le istruzioni e le informazioni sul prodotto per il successivo utilizzato o per il futuro proprietario.
Non collegare l'apparecchio se ha subitodanni durante il trasporto.
1.2 Utilizzo conforme all'uso previsto
Questo apparecchio è concepito esclusivamente per l'incasso. Osservare le speciali istruzioni di montaggio.
L'allacciamento degli appearecchi sono l'impiego di spine deve essere eseguito esclusamente da personale specializzato. In caso di danni causati da un allacciamento non corretto, decade il diritto di garanzia.
Utilizzare l'apparecchio sostanto:
per la preparazione di cibi e bevande;
in case private e in locali chiusi in ambito domestico;
- fino a un'altitudine di massimo 4000 m sul livello del mare.
Non usare l'apparecchio:
- con un timer esterno o un telecomando.
1.3 Limitazione di utilizzo
Questo appearecchio più essere utilizzato da bambini di età pari o superiore a 8 anni e da persone con ridotte facoltà fisiche, sensoriali o mentali o prive di sufficiente esperienza e/o
conoscenza se sorvegliati o già istruiti in merito all'utilizzo sicuro dell'apparecchio e se hanno compreso i rischi daesso derivanti. I bambini non devono gliacare con l'apparecchio.
La pulizia e la manutenzione di competenza dell'utente non devono essere eseguite da bambini, a meno che non abbiano un'età di 15 anni o superiore e non siano sorvegliati.
Tenere lontano dall'apparecchio e dal cavo di alimentazione i bambini di età inferioreagli 8 anni.
1.4 Utilizzo sicuro
Inserire sempre correttamente gli accessori nel vano di cottura.
"Accessori", Pagina 58
AVVERTENZA - Pericolo di incendio!
Gli oggetti infiammabili depositati nel vano cotura possono incendiarsi.
Non riporre mai oggetti infiammabili all'interno del vano cottura.
Se si riscontra del fumo, spegnere l'apparecchio o staccare l'interruttore e mantenere lo sportello chiuso per soffocare le fiamme eventualmente presenti.
I residui di cibo, il grasso e il sugo dell'arrosto.
possono prendere fuoco.
- Prima di utilizzato l'apparecchio, eliminare lo sporco più grossolano dal vano cottura, dagli elementi riscaldanti e dagli accessori.
All'apertura dello sportello dell'apparecchio avviene uno spostamento d'aria che può solleva
re la carta da forno. Quest'ultima potrebbe entrare in contatto con gli elementi riscaldanti e prendere fuoco.
- Duringe il preriscaldamento e la cottura non disponre mai la carta da forno sugli accessori se non è ben fissata.
Fermare sempre la carta da forno, che deve essere tagliata in modo idoneo, con una stoviglia o una teglia.
AVVERTENZA - Pericolo di uszioni!
Durante l'utilizzo, l'apparecchio e le sue parti con cui si può entrare a lavoro si surriscaldano.
- É necessario prestare attenzione per evitare di toccare gli elementi riscaldanti.
- Tenere lontano i bambini di età inferiore a 8 anni.
L'accessorio o la stoviglia si surriscalda.
Serviri sempre delle presine per estrarre le stoviglie e gli accessori caldi dal vano di cottura.
I vapori dell'alcol nel vano cottura caldo potrebbero prendere fuoco. Lo sportello dell'apparecchio cui saltare in aria. Potrebbero fuoriuscire vapori molto caldi o fiammate.
Utilizzare esclusivamente piccole quantità di bevande ad alta gradazione alcolica nelle pietanze.
Non riscaldare gli alcolici (≥ 15%) vol.)allo stato non diluito (ad esempio per versarli sopra le pietanzi).
- Aprire con cautela lo sportello dell'apparecchio.
Durante il funzionamento dell'apparecchio, le estensioni telescopiche si scaldano.
- Lasciar raffreddare le estensioni telescopiche calde prima di toccarle.
- Toccare le estensioni telescopiche calde solo con delle presine.
AVVERTENZA - Pericolo di scottature!
Durante il funzionamento le parti scoperte divertano molto calde.
Non toccare mai le parti roventi.
- Tenere lontano i bambini.
Aprendo lo sportello dell'apparecchio potrebbe fuoriuscire del vapore caldo. A certe temperature il vapore non è visible.
- Aprire con cautela lo sportello dell'apparecchio.
- Tenere lontano i bambini.
La presenza di acqua nel vano di cottura caldo.
puo causare la formazione di vapore.
Non versare mai acqua nel vano cottura caldo.
AVVERTENZA - Pericolo di lesioni!
Il vetro graffiato dello sportello dell'apparecchio potrebbe rompersi.
Nonutilizzarealcundetergente abrasivo nereaschietti in metallo taglienti per la pulizia delvetro dello sportello del forno,poiché possono graffiare la superficie.
L'apparecchio e le relative parti di contatto possono essere appuntite.
- Prestare attenzione durante l'utilizzo e la pulizia.
- Indossare guanti protettivi, se possibile.
Aprendo e chiudendo lo sportello dell'apparecchio le cerniere si muovono e posso noblocarsi.
Non toccare mai la zona delle cerniere. I componenti all'interno dello sportello dell'apparecchio possono essere affiliati. - Indossare guanti protettivi.
AVVERTENZA - Pericolo di scosse elettriche!
Gli interventi di riparazione effettuati in modulo non appropriato rappresentano una fonte di pericolo.
- Solo il personale adeguatamente specializzato e formato più eseguire riparazioni sull'apparecchio.
- Per la riparazione dell'apparecchio possono essere impiegati soltanto pezzi di ricambio originali.
Al fine di evitare pericoli, se il cavo di alimentazione di quello appearecchio subisce danni delve essere sostituito dal produttore, dal suo servizio di assistenza clienti o da persona in possesso di simile qualifica.
Un isolamento danneggiato del cavo di allacciamento alla rete costituisce un pericolo.
Non mettere mai il cavo di allacciamento alla rete a contatto con fonti di calore o parti dell'apparecchio calde.
Non mettere mai il cavo di allacciamento alla rete a contatto con spigoli vivi.
Non piegare, schiacciare o modificare mai il cavo di all'acciamento alla rete.
L'infiltrazione di umidità può provocare una scarica elettrica.
Non lavare l'apparecchio con pulitori a vapore o idropulitrici.
Un appearecchio o un cavo di alimentazione danneggiati costituiscono un pericolo.
Non azionare mai un apparecchio danneggiato.
Rivolgersi al servizio di assistenza clienti. Pagina 70
Una volta installato l'apparecchio, le aperture sulla parte posteriore non devono essere accessibili ai bambini.
Osservare le speciali istruzioni di montaggio.
AVVERTENZA - Pericolo di soffocamento!
I bambini potrebbero mettersi in testa il materiale di imballaggio o avvolgersi nella stesso, rimanendo soffocati.
- Tenere lontano il materiale di imballaggio dai bambini.
- Vietare ai bambini di giocare con materiali d'imballaggio.
I bambini possono inspirare o ingoiare le participeccole, rimanendo soffocati.
- Tenere i bambini lontano delle parti piccole.
Non lasciare che i bambini giochino con le parti piccole.
1.5 Lampadina alogena
AVVERTENZA - Pericolo di uszioni!
Le lampadine nel vano di cottura divertano molto calde. Anche un po' di tempo dopo lo spegnimento permane ancora il pericolo di scottature.
Non toccare la copertura in veto.
- Durante la pulizia evitare il contatto con la pelle.
AVVERTENZA - Pericolo di scosse elettriche!
Durante la sostituzione della lampadina i contatti del portalampada sono molto tensione.
- Prima di sostituire la lampadina accertarsi che l'apparecchio sia spento per evitare agli possibile scarica elettrica.
Inoltre disattivare il fusabile nella relativa scatola.
2 Prevenzione di danni materiali
2.1 In generale
ATTENZIONE
I vapori dell'alcol nel vano cottura caldo potrebbero prendere fuoco e causare un danno permanente all'apparecchio. A causa della deflagrazione, lo sportello dell'apparecchio potrebbe saltare in aria ed eventualmente cadere. I pannelli dello sportello sono frantumarsi e scheggiarsi. Il vano cottura può deformarsi notevolmente verso l'interno a causa della depressione che si create.
Non riscaldare gli alcolici (≥ 15%) vol.) allo stato non diluito (ad esempio per versarli sopra le pietanze). L'acqua sul fondo del vano di cottura, durante il funzionamento dell'apparecchio a temperature superiori a 120 ^ C ,puo causare danni alla superficie smaltata.
Non mettere in funzione se sul fondo del vano di cotura è presente dell'acqua.
- Prima della messa in funzione, rimuovere l'acqua presente sul fondo del vano cottura.
In caso di temperatura superiore a 50^ , gli oggetti presenti sul fondo del vano cottura provocano un accumulo di calore. I tempi di cottura non sono più corretti e la superficie smallata viene danneggiata.
- Sul fondo del vano cottura non collocarvi accessori, né carta da forno o pellicola di alcun tipo.
Collocare la stoviglia sul fondo del vano cottura soltanto con temperature inferiori a 50^
La presenza di acqua nel vano cottura caldo può causare la formazione di vapore. A causa della variazione di temperatura possono verificarsi danni.
Non versare mai acqua nel vano cottura caldo.
Non collocare mai la stoviglia con acqua sul fondo del vano cottura.
La presenza di umidità nel vano cottura per lungo tempo causa corrosione.
- Una volta terminata agli fase di cottura, eliminare l'acqua di condensa. Dopo un funzionamento ad alte temperature, il raffreddamento del vano cottura deve avvenire esclusivamente con lo sportello chiuso.
Non conservare alimenti umidi all'interno del vano cottura chiuso per periodi di tempo prolongati.
Non conservare gli alimenti all'interno del vano cottura. - Controllare che nulla resti incastrato nell'apparello dell'apparecchio.
Il succo della frutta che trabocca alla teglia causa la formazione di macchie non più rimovibili.
- Durante la preparazione di dolci alla frutta molto successo, non riempireccessivamente la teglia.
- Se possibile, si consiglia di utilizzato la leccarda più profonda.
Il detergente per forno nel vano cottura caldo danneggia la superficie smaltata.
Non utilizzato mai il detergente per forno nel vano cottura caldo.
- Prima del successivo riscaldamento eliminare completamente i residui dal vano cottura e dallo sportello dell'apparecchio.
Se la guarnizione è molto sporca, durante il funzionamento dell'apparecchio lo sportello non si chiude più correttamente. Le superfici dei mobili adiacenti sono danneggiarsi.
- Mantenere sempre pulita la guarnizione.
Non mettere mai in funzione un appearecchio che presenta una guarnizione danneggiata o che non disponne di una guarnizione.
Lo sportello dell'apparecchio può danneggiarsi se utilizzato come superficie d'appoggio o per sedersi.
Non stare in piedi, sedersi, appendersi o appoggiarsi allo sportello dell'apparecchio.
Non posare stoviglie o accessori sulla porta dell'apparecchio.
A seconda del tipo di apparecchio, gli accessori possono graffiare il pannello durante la chiusura dello sportello.
- Inserire sempre gli accessori nel vano cottura sono all'arresto.
Possono verificarsi variazioni cromatiche permanenti sul pannello dello sportello dovute alla pellicola di alluminio. - Nel vano cottura la pellicola in alluminio non deve mai entrare in contatto con il pannello dello sportello.
3 Tutela dell'ambiente e risparmio
3.1 Smaltimento dell'imballaggio
I materiali dell'imballaggio sono rispettosi dell'ambiente e possono essere riutilizzati.
Smaltire le singole parti distinctamente secondo il tipo di materiale.
3.2 Risparnio energetico
Osservando questo avventenze l'apparecchio consumam\ meno energia elettrica.
Preriscaldare l'apparecchio soltanto se individato alla ricetta o dalle impostazioni consigliate.
"Funzione cosi", Pagina 70
Non preriscaldare l'apparecchio significa risparmiare, fino al 20% di energia.
Utilizzare stampi scuri, con smalto o vernice nera.
Questo tipo di stampi assorbe bene il calore.
Durante la cottura, après il meno possibile lo sportello dell'apparecchio.
- La temperatura all'interno del vano cottura viene manntenuta e un riscaldamento successivo dell'apparecchio non è necessario.
Cuocere molteplici pietanze direttamente una diaestro l'altra o parallelamente.
- Il vano cottura è riscaldato après la prima cottura. In quello modo si riduce il tempo di cottura per il dolce successivo.
In caso di tempi di cottura prolungati, disattivare l'apparecchio 10 minuti prima della fine del tempo di cottura.
Il calore residuo è sufficiente a ultimare la cottura.
Rimuovere gli accessori non utilizzati dal vano cottura.
Non è necessario riscaldare gli accessori inccesso.
Lasciar scongelare le pietanzi surgelate prima della preparazione.
L'energia viene risparmiata per scongelare le pietanze.
Note: In conformità al regolamento UE relative alla progettazione ecocompatibile 2023/826, quello appearecchio si trova in uno stato diverso quando è spento. Di seguito si parla di modo di consumo ridotto.
Anche quando la funzione principale non è attiva, l'ap-parecchio richiede energia:
- Rilevamento dell'azionamento dei comandi touch control
- Monitoraggio dell'apertura sportello
Modifica dell'ora (senza visualizzazione)
Per definizione, quando, non esiste né uno stato "off" né uno stato "standby", motivo per cui si parla di modo di consumo ridotto. Per misurare la modo di consumo ridotto è necessario utilizzato la norma EN IEC 60350-1:2023.
4 Conoscere l'apparecchio
4.1 Pannello di lavoro
Il pannello di dato consente di impostare tutte le funzioni dell'apparecchio e di ottenere informazioni sullo stato di esercizio.
Note: I particolari illustrati nell'imagine possono variare In base al tipo di apparecchio, ad es. colore e forma.

| 1 | Selettore funzioni | Con il selettore funzioni è possibile impostare il tipo di riscaldamento o ulteriori funzioni. Il selettore funzioni può essere ruotato alla posizione zero verso sinistra o verso destra. |
| 2 | Display Il display migliorà i symboli delle funzioni attive e le funzioni durata. |
| 3 | Selettore temperatura | Servendosi del selettore temperatura, impostare la temperatura per il tipo di ri- scaldamento o selezionare l'impostazione per ulteriori funzioni. Il selettore tempera- ratura cui quod assere ruotato versuso destra o versuso sinistra. Non esiste la posizione zero. |
| 4 | Campi touch Con i campi touch è possibile impostare direttamente diverse funzioni. |
Pulsanti
Con i tasti si selezionano direttamente le diverse funzioni.
Note: Se il tasting non ha alcuna funzione viene emesso un segnale acustico.
Simbolo Pulsante Spiegazione
| 0 | Funzioni durata Impostazione del contaminuti, della durata, della fine e dell'ora |
| - | Meno Diminuzione del valore di regolazione |
| + | Più Aumento del valore di regolazione |
| . | Illuminazione Accensione o spegnimento dell'illuminazione interna |
| »|||←3 | Riscaldamento rapido Accensione e spegnimento del riscaldamento rapido |
| »|||←3 | sicurezza bambini Attivazione e disattivazione della sicurezza bambini in modalità di risparmio ener-getico |
Display
Sul display vengono visualizzati i valori di impostazione aggionati o le opzioni di selezione.
Il valore che si desidera impostare al momento vieneioso in evidenza utilizzando il colore bianco su uno sfondo nero.
| Simbolo Spiegazione | |
| Riscaldamento rapido | |
| Contaminuti | |
| Durata |
| Simbolo Spiegazione | |
| →I | Fine |
| © | Ora |
| 88:88dicatione dell'ora | |
| I | Spia del riscaldamento |
| - | Sicurezza bambini |
| 888 | Indicazione della temperatura |
Selettore temperatura
Servendosi del selettore temperatura, impostare la temperatura o il livello grill.
Note: La temperatura sino a 100 C può essere impostata a 1 grado alla volta, per temperature superiorsi si avanzà di 5 gradi alla volta.
Controllo della temperatura
Le barre del controlo della temperatura indica lo fas di riscaldamento o il calore residuo nel vano cottura.
| Fase di riscal-damento | Significato |
| Controllo del ri- scaldamento | Il controllo del riscaldamento alla stra l'auimento della temperatura all'interno del vano cottura. Quando tutte le barre sono piene è il momento giusto per mettere la pietanza in forno. Con i livelli grill le barre sono comple- te. Con il tipo di riscaldamento superiore/ inferiore delicato le barre non si colora- no. |
| Indicatore del calore residuo | Quando l'apparecchio è spento, il con- trollo temperatura indica il calorie resi- duo nel vano cottura. L'indicatore si spagne quando la temperature scende fino a circa 60 °C. |
4.2 Tipi di riscaldamento e funzioni
Affinché sa sempre possibile trovare il tipo di riscaldamento adatto alla pietanza, vi illustrismo qui le differenze e le diverse modalità di cottura.
Note: Per agli tipo di riscaldamento l'apparecchio indica una temperatura o un livello predefiniti che è possibile accettare o modificare nella rispettiva area.
| Simbolo Tipo di riscaldamento o funzione | Temperatura o livello Utilizzato | ||
| Aria calda 3D 50-280 °C Preparare pietanze su 1-2 livelli. La ventola distribuisceuniformmente all'interno del vano cottura il calore generato dall're resistenza circolare collocata sulla parete posteriore del forno.Qesto tipo di riscaldamento serve per definitire il consu-mo di energia in modalità con ricircolo d'aria. | |||
| Ricircolo 50-280 °C Preparare al forno torte e dolci su un livello. La ventola di-sribuisce uniformmente nel vano cottura il calore deglielementi riscaldanti. | |||
| Livello pizza 50-280 °C Preparare la pizza o prodotti surgelati, ad es. patatine frit-te o strudel. Gli elementi riscaldanti e le ventole riscalda-no rapidamente e distribuiscono uniformmente il calore nel vano cottura. | |||
| Scongelamento 30-60 °C Scongelare gli alimenti ad es. carne, pollame, pane e dol-ci. La ventola fa si che l'aria calda avvolga gli alimenti. | |||
| Riscaldamento infe-rione | 50-280 °C Proseguire la cottura. Il calore viene distribuito dal basso. | ||
| Grill, superficie pic-cola | Livelli grill:1 = ridotto2 = medio3 = elevato | Grigliare piccole quantità, come ad es. bistecche, salsic-ce, toast e porzioni di pesce. La parte centrale dell'ele-mento grill si scalda. | |
| Grill, superficie grande | Livelli grill:1 = ridotto2 = medio3 = elevato | Grigliare alimenti sottili, quali ad es. bistecche, salsicce otoast e per gratinare. Si riscalda l'intera superficie al di sotto dell'elemento grill. | |
| Grill ventilato 50-280 °C Cuocere carne, pollame e pesce intero. La ventola fa si che l'aria calda avvolga gli alimenti. | |||
| Riscaldamento su-periore/inferiore de-licato | 50-280 °C Per la cottura | delicata di pietanze selezionate (ad es.carne, verdure) su un livello, senza preriscaldare. Il tipo di ri-scaldamento non è adatto per pietanze che lievitano du-rante la cottura (ad es. pane). Questo tipo di riscaldamen-to viene utilizzato per definitire la classe di efficienza ener-getica e il consumo di energia in modalità tradizionali. | |
| Simbolo Tipo di riscalada-mento o funzione | Temperatura o livello Utilizzato | |
| Riscaldamento sup./inf. | 50-280 °C Preparare morte, sformati e pezzi di arrosto magri. Il calore viene distribuito uniformmente dall'alto e dal basso. | |
4.3 Vano cottura
Alcune funzioni nel vano cottura facilitano il funzionamento dell'apparecchio.
Livelli di inserimento
Il vano cottura è provvisto di 4 livelli di inserimento.
Inserire sempre gli accessori sono all'arresto in modo che non entrino in contatto con il pannello dello sportello. Inserire correttamente gli accessori nel vano cottura.

Superfici autopulenti
La parete posteriore e le pareti laterali nel vano cottura sono autopulenti. Le superfici autopulenti nel vano cottura sono rivestite con uno strato in ceramica opaca e porosa e hanno una superficie ruvida. Quando l'apparecchio è in funzione, le superfici autopulenti assorbono e neutralizzano gli schizzi di grasso prodotti durante la cottura al forno, la cottura arrosto o la cottura alla griglia.
Illuminazione del vano cottura
Quando si après lo sportello dell'apparecchio, l'illuminazione interna si attiva. Se lo sportello rimane aperto, fatto breve tempo l'illuminazione si spegne nuovamente. Per la maggior parte delle modalità di funzionamento, l'illuminazione interna si avvia non appena ilorno inizia a funzionare. Quando il funzionamento è terminato, si spegne.
Note: Con il tipo di funzionamento Riscaldamento Superiore/Inferiore delicato l'illuminazione interna si spegne
automaticamente dopo circa 1 minuto. É possible accendere l'illuminazione interna con
Ventola di raffreddamento
La ventola di raffreddamento si attiva e disattiva quando necessario. L'aria calda fuoriesceattraverso lo sportello dell'apparecchio.
ATTENZIONE
La copertura delle fessure di aerazione causa un surriscaldamento dell'apparecchio.
Non coprirle fessure di aerazione.
Terminato il funzionamento, la ventola di raffreddamento resta attiva per un periodo di tempo prestabilitio, in modo da consentire un raffreddamento più rapido del vano cottura.
Sportello dell'apparecchio
Se durante il funzionamento viene aperto lo sportello dell'apparecchio, quello si arresta immediatamente. Se si chiude lo sportello, l'apparecchio riprende automaticamente a funzionare.
Affinché lo sportello dell'apparecchio non tocchi il mobile a incasso, lo sportello ha un'apertura leggermente inferiore a 90^ .
Formazione della condensa
Qui si impara come si forma la condensa, come la si cui si evitare e come si cui si ridurne la formazione.
Quando si cuociono gli alimenti, all'interno del vano cotura si cui formare molto vapore acqueo. Dato che l'apparecchio ha un'elevata energia energetica, durante il funzionamento emana all'esterno solo una piccola quantita di calore. A causa delle elevate differenze di temperatura tra l'interno e le parti esterne dell'apparecchio.
puo depositarsi condensa sullo sportello, sul pannello di commando o sui pannelli dei mobili vicini. La formazione della condensa rappresenta un evento fisico normale. Per evitare danni, togliere l'accua di condensa. Rimuovere l'accua di condensa raccolta nella canalina di scolo con una spugna. Il mobile a incasso cui quere senneggiato dall'accua che fuoriesce alla canalina di scolo. Far asciugare l'apparecchio lasciando aperto lo sportello.
Se si preriscalda l'apparecchio, si riduce la formazione della condensa.
5 Accessori
Utilizzare gli accessori originali in quanto prodotti appositamente per questo appearecchio.
Note: Quando si surriscaldano, gli accessori sono deformarsi; ciò non influisce in alcun modo sul funzionamento.
Quando l'accessorio si raffredda nuovamente, la deformazione sparisce.
L'accessorio fornito in dotazione cui si sono a seconda del tipo di apparecchio.
| Accessori Utilizzato | |
| Griglia Stoviglie | Stampi per dolciCarne, ad es. arrosti o pezzi da grigliarePietanze surgelate |
| Leccarda Dolci umidi | Prodotti da fornoPietanze surgelateArrosti di grande dimensioniConsiglio: Se si griglia direttamente sulla gri-glia, utilizzare la leccarda per raccogliere il grasso che cola. |
| Teglia Dolci in teglia | Pasticcini |
| Set di guide telescopiche Grazie alle guide di estensione è possibile | estrarre ulteriormente gli accessori. |
| Spine di sicurezza Bloccare le cerniere. | Note: Non buttare via le spine di sicurezza.Conservare le spine di sicurezza in un luogo sicuro. Le spine di sicurezza servono assoluta-mente per rimuovere lo sportello dall'apparec-chio o per pulire i pannelli dello sportello. |
5.1 Altri accessori
Gli altri accessori si possono acquistare presso il servizio clienti, i rivenditori specializzati o su Internet.
Una vasta offerta di accessori per l'apparecchio è reperibile nei nostri cataloghi o su Internet:
Gli accessori sono specifici dell'apparecchio. Al momento dell'acquistoindicare sempre il codice prodotto preciso (cod.E) dell'apparecchio.
Per conoscere gli accessori disponibili per il proprio apparecchio consultare il punto vendita online o il servizio clienti.
| Altri accessori Utilizzato | |
| Griglia Stoviglie | ■ ■ Stampi per dolci ■ Carne, ad es. arrosti o pezzi da grigliare ■ Pietanze surgelate |
| Teglia Dolci in teglia | ■ ■ Pasticcini |
| Leccarda Dolci umidi | ■ ■ Prodotti da forno ■ Pietanze surgelate ■ Arrosti di granidi dimensioni |
| Set di guide telescopiche Set di guide telescopiche per un livello | |
5.2 Funzione di arresto
La funzione d'arresto evita che l'accessorio si ribalti durante l'estrazione.
È possibile estrarre gli accessori per la metà della loro lunghezza, finché non si bloccano in posizione. Inserire gli accessori correttamente nel vano cottura affinché la funzione antiribaltamento sua operativa.
5.3 Inserimento degli accessori nel vano cottura
ATTENZIONE
Se viene inserito involontariamente l'accessorio all'interno del vano cottura, lo smalto cui danneggiarsi.
- Inserire l'accessorio con cautela'utilizzando entrambé le mani.
"Inserimento degli accessori nel vano cottura",
Pagina 59
- Ruotare gli accessori finché la scanalatura non si trova nella parte posteriore e non è rivolta verso il basso.
- Inserire gli accessori tra entrambe le aste guida di un livello di inserimento.
Griglia Il lato aperto deve essere rivolto verso lo sportello dell'apparecchio e la curvatura deve essere rivolta verso il basso

Teglia, ad es. La smussatura degli accessori ede leccarda o teve essere rivolta in avanti verso lo glia perorno sportello dell'apparecchio.

- Per collocare l'accessorio nei livelli di inserimento con guide di estrazione, estrarre le guide.
Griglia o teglia Collocare l'accessorio in modo tale che il suo bordo si trovi dietro la linguetta aulla guida di estrazione.

Nota: Una volta estratte del tutto, le guide di estrazione si innestano. Spingere indietro con una leggera pressione le guide di estrazione nel vano cottura.
- Inserire completeness gli accessori in modo che non tocchino lo sportello dell'apparecchio.
Nota: Togliere dal vano cottura gli accessori che non sono necessari durante il funzionamento.
6 Prima del primo utilizzato
Effettuare le impostazioni per la prima messa in funzione. Pulire l'apparecchio e gli accessori.
6.1 Impostazione dell'ora
Dopo l'allacciamento, sull'indicatore lampeggia 260 si accende il simbolo 念 Impostare I'ora attuale.
- Impostare l'ora servendosi del tasto +o -
- Premere ⑨
Nota: Una volta trascorso il tempo di impostazione, l'ora viene automaticamente salvata.
6.2 Pulizia dell'apparecchio prima del primo utilizzato
Prima di preparare per la prima volta le pietanze nell'apparecchio, pulire il vano cottura e gli accessori.
- Togliere gli accessori dal vano cottura e smontare i supporti. Pagina 66
- Togliere tutti i resti dell'imballaggio, ad es. pezzettini di polistirolo, dal vano cottura.
-
Alcuni componenti sono ricoperti da una pellicola protettiva antigraffio. Rimuovere la pellicola protettiva antigraffio.
-
Pulire l'apparecchio all'esterno con un panno morbido e umido.
- Pulire il vano cottura con una soluzione di lavaggio calda.
- Per eliminare l'odore di nuovo, far riscaldare l'apparecchio vuoto e chiuso.
- Ruotare il selettore funzioni portandolo su
- Impostare la temperatura massima.
Quando si riscalda l'apparecchio per la prima volta, è possibile che si sentano degli scricchioli che proven-gono dal vano cottura. - Arieggiare la cucina durante il riscaldamento dell'apparecchio.
- Spagnere l'apparecchio après 1 ora.
- Lasciar raffreddare l'apparecchio.
- Quando il vano cottura è raffreddato, pulire le superfici lisce con una soluzione di lavaggio.
- Montare i supporti. Pagina 66
- Se necessario, pulire i pannelli dello sportello. →Pagina 66
6.3 Pulizia degli accessori
- Pulire bene gli accessori con una soluzione di lavaggio e con un panno spugna.
7 Comandi di base
7.1 Accensione dell'apparecchio
- Impostare il tipo di riscaldamento servendosi del selettore funzioni.
Per ciascuna funzione è preimpostata una temperatura o un livello grill. - Servendosi del selettore temperatura, selezionare la temperatura o il livello grill.
L'apparecchio inizia a riscaldarsi.
Nota: Il controlo della temperatura在哪的上旬。
7.2 Modifica del tipo di riscaldamento e della temperatura
- Modificare il tipo di riscaldamento con il selettore funzioni.
- Modificare la temperatura o il livello del gill con il selettore della temperatura.
7.3 Spegnimento dell'apparecchio
- Ruotare il selettore funzioni in posizione zero.
7.4 Attivazione del riscaldamento rapido
Per riscaldare il più rapidamente possibile il vano cotura premere il tasto
Note: Il riscaldamento rapido è disponibile con le funzioni: aria calda 3D, ricircolo, funzione pizza e riscaldamento superiore/inferiore.
7.5 Spegnimento automatico
L'apparecchio è dotato di una funzione di spagnimento automatico. Dop o 13 ore l'apparecchio si spegne automaticamente.
8 Funzioni durata
8.1 Panorama delle funzioni durata
Qui è riportata una panoramicà delle funzioni di durata.
| Simbolo Funzione durata Utilizzato | |
| ♀ | Contaminuti Il contaminuti funziona come un timer. Funziona independentemente dal processodi cottura e da altre funzioni durata e non influisce sul funzionamento dell'appa-recchio. |
| ⊙ | Ora Finché non scorre nessun'altra funzione in primo piano, l'apparecchio在哪ia l'ora sul display. |
| |→| | Durata Al termine di una durata impostata l'apparecchio interrompe automaticamente ilfunzionamento. |
| →| | Fine Impostare una durata e un'ora di fine desiderata. L'apparecchio si accende automatically affinché il programma sua terminato all'ora desiderata. |
8.2 Impostazione del contaminuti
Il contaminuti non influisce in alcun modo sulle funzioni del forno.
Note: É possible impostare una durata del contaminuti da 30 secondi a 13 ore. Fino a 10 minuti, l'impostazione è consentita a intervalli di 30 secondi; per un tempo compreso tra 10 minuti e 1 ora, l'impostazione è consentita un minuto alla volta; per tempi superiori l'impostazione è consentita a intervalli di 5 minuti.
- Premere
si accende. - Con +e impostare la durata desiderata.
- Una volta trascorsa la durata viene emesso un segnale acustico.
Note
Per modificare il tempo restante, premere Ce modificare il tempo restante con +o -
- Per interrompere il contaminuti, portare il tempo residuo su zero.
Disattivazione del segnale acustico
- Per spegnere il segnale acustico, premere un tasting qualsiasi o aprirre lo sportello dell'apparecchio.
Nota: Dopo breve tempo il segnale acustico si spagne automaticamente.
8.3 Impostazione dell'ora
Se necessario, è possibile modificare l'ora, ad es. dall'ora legale all'ora solare.
Requisito: L'apparecchio è spento.
- Premere Cfinché non si accende
- Impostare l'ora servendosi del tasting +o .
8.4 Impostazione della durata
Si più impostare sull'apparecchio la durata di cottura per la pietanza. In quello modo la durata di cottura non più essere inavvertamente otreppassata e non è necessario interrompere altri lavori per terminare il funzionamento.
- Impostare il tipo di riscaldamento e la temperatura.
L'apparecchio si avvia. - Premere due voite su 念
- Impostare la durata servendosi di +e .
E possibile impostare una durata compresa tra 30 secondi e 13 ore. E possibile impostare la durata fino a un'ora a intervalli di un minuto, per durate maggiori a intervalli di 5 minuti.
si accende.
Terminate del funzionamento
Una volta trascorsa la durata, viene emesso un segnale acustico. L'apparecchio smette di riscaldare.
- Per spegnere il segnale acustico, premere un tasto qualsiasi o aprire lo sportello dell'apparecchio. Dopo breve tempo il segnale acustico si spegne automaticamente.
- Ruotare il selettore funzioni in posizione zero.
8.5 Impostazione dell'ora di fine
Il funzionamento si avvia per la durata impostata in un secondo momento, scelto dall'utente.
- Impostare il tipo di riscaldamento e la temperatura.
L'apparecchio si avvia. - Premere due voite su
-
Impostare la durata servendosi di +e -
E possible impostare una durata compresa tra 30 secondi e 13 ore. E possible impostare la durata fino a un'ora a intervalli di un minuto, per durate maggiori a intervalli di 5 minuti.
si accende. -
Premere ③
- Impostare l'ora di fine servendosi di +o . Premendo il primo tasto sul display viene visualizzato un valore preimpostato. Il valore preimpostato derives dall'ora attuale e alla durata.
1 si accende.
Il display indica la l'ora di fine cottura. L'apparecchio passa alla modalità di attesa.
Termine del funzionamento
Una volta trascorsa la durata, viene emesso un segnale acustico. L'apparecchio smette di riscaldare.
- Per spegnere il segnale acustico, premere un tasting qualiassi o apriere lo sportello dell'apparecchio. Dopo breve tempo il segnale acustico si spegne automaticamente.
- Ruotare il selettore funzioni in posizione zero.
9 Sicurezza bambini
Per evitare che i bambini possano inavvertamente accendere l'apparecchio o modificare le impostazioni, assicurare il proprio apparecchio.
9.1 Attivazione della sicurezza bambini
Requisito: L'apparecchio è spento.
- Tenere premuto per ca. 4 secondi.
Sullindicatore viene visualizzato
9.2 Disattivazione della sicurezza bambini
- Tenere premuto «per ca. 4 secondi.
- Sull'indicatore -si spegne.
10 Impostazioni di base
É possibile settare le impostazioni di base dell'apparecchio in base alle proprie esigenze.
10.1 Panorama delle impostazioni di base
Qui è riportata una panoramicica delle impostazioni di base e delle impostazioni di fabbrica. Le impostazioni di base dipendono dall'equipaggiamento dell'apparecchio.
Indicatore Impostazione di base Sezione
| c01 | Durata segnale acustico una volta terminato il tempo del contaminuti o del parametro di durata | t = ca. 10 secondi 2 = ca. 30 secondi¹ 3 = ca. 2 minuti |
| c02 | Tempo di attesa prima dell'acquisizione di un'impostazione | t = ca. 3 secondi¹ 2 = ca. 6 secondi 3 = ca. 10 secondi |
| c03 | Tono tasti premendo un tasting = off | 0 t = on¹ |
| c04 | Intensità dell'illuminazione del display = Bassa | t 2 = media¹ 3 = elevata |
| c05 | Indicatore dell'ora = nascondere l'ora | 0 t = visualizzare l'ora¹ |
| c06 | Illuminatione interna durante il funzionamento = no | 0 t = sì¹ |
| c07 | Tempo di postfunzionamento della ventola di raffreddamento | t = breve¹ 2 = medio 3 = lungo |
| Indicatore Impostazione di base Selezione | |
| 4 = molto lungo | |
| c08 | Ripristino di tutte le impostazioni predefinite = no |
10.2 Modifica delle impostazioni di base
Requisito: Il selettore funzioni si trova in posizione zero.
- Tenere premuto ©per ca. 4 secondi.
Sul displayieneindicatla prima impostazione di base,ad es. c01 - Per modificare l'impostazione, ruotare il selettore temperatura.
- Per passare alla prossima impostazione di base, pre-mere +
- Per confirmare le impostazioni, tenere premuto il tasto ① per ca. 4 secondi.
Consiglio: Le impostazioni di base possono essere modificate in qualunque momento.
Note
-
La modalità demo può essere attivata soltanto nei primi 5 minuti dopo il collegamento alla rete elettrica.
-
A seguito di un'interruzione di corrente, le modifiche alle impostazioni di base vengono mantenable.
10.3 Impostazione della modalità di risparmio energetico
É possible risparmiare energia, diminuendo la luminosi-tà del display.
- É possibile impostare la luminosità del display nelle impostazioni di base 04
Note: L'impostazione modifica la luminosità del display durante il funzionamento. In modalità di risparmio energetico, l'apparecchio riduce automaticamente la luminosità del display. Di notte, tra le 22:00 e le 05:59, si attiva la luminosità più scura del display.
11 Pulizia e cura
Per mantenere a lungo l'apparecchio in buone condizioni, sottoporlo a una cura e a una manutenzione scruplo-se.
11.1 Detergenti
Per non danneggiare le diverse superfici dell'apparecchio, non utilizzato detergenti non idonei.
AVVERTENZA - Pericolo di scosse elettriche!
L'infiltrazione di umidità può provocare una scarica elettrica.
Non lavare l'apparecchio con pulitori a vapore o idropulitrici.
ATTENZIONE
I detersivi non appropriati danneggiano le superfici dell'apparecchio.
Nonutilizzare detergenti aggressivi o abrasivi.
Nonutilizzare detergentiaelevato contento alcoI.
Nonutilizzare spugnette dure o abrasive.
Nonutilizzare detergenti speciali per la pulizia a caldo.
Utilizzare detergenti per i vetri, raschietti o prodotti per l'acciaio inox solo se consigliati all'interno delleindicazioni per la pulizia del rispettivo pezzo.
Il detergente per forno nel vano cottura caldo danneggia la superficie smaltata.
Non utilizzare mai il detergente per forn o nel vano cottura caldo.
- Prima del successivo riscaldamento eliminare completamente i residui dal vano cottura e dallo sportello dell'apparecchio.
Il sale contento nei panni di spugna nuovi cui danneggiare le superfici.
- Lavare accuratamente i panni di spugna nuovi prima di utilizzarli.
11.2 Detergenti idonei
Utilizzare solo detergenti adatti per le diverse superfici dell'apparecchio.
Esterno dell'apparecchio
Osservare le istruzioni relative alla pulizia dell'apparecchio.
Zona Detergenti idonei Avverenza
| Frontale in acciaio Soluzione detergente calda Detergenti specifici per acciaio inox per superfici calde | Per evitare punti di corrosione, tagliere subito le macchie di calcare, grasso, amido e albume dalle superfici in ac-ciaio inox. Stendere uno strato sottile di detergente per acciaio inox. |
| Pannello di dato Soluzione detergente calda Pulire con un panno spugna e asciugare con un panno morbido. Non utilizzato detergenti o raschietti per vetro. | |
| Zona Detergenti idonei Avvertenza | |
| Pannelli dello sportello | Soluzione detergente calda Pulire con un panno spugna e asciugare con un panno morbido.Non utilizzato raschietti per vetro o pagliette d'acciaio. |
| Maniglia Soluzione detergente calda Pulire con un panno | spugna e asciugare con un panno morbido.Per evitare che si formino macchie permanenti, rimuovere repentinamente i residui di calcare alla maniglia. |
Internodell'apparecchio
| Zona Detergenti idonei Avvertenza | ||
| Superfici smaltate Soluzione detergente caldaAcqua e acetoDetergente per forno | Pulire con un panno spugna e asciugare con un panno morbido.Eliminare i residiui di cibo bruciati con un panno morbido e umido e una soluzione di lavaggio calda.Nel caso in cui il forno sia molto sporco, utilizzato una paglietta d'acciaio o un apposto detergente.Terminata la pulizia, lasciare aperto il vano cottura per farlo asciugare.Notare: I residui degli alimenti possono causare la formazione di una patina bianca. Le patine non rappresentano al-cun problema per la salute e non interferiscono sul funzionamento dell'apparecchio. è possibile rimuovere le patine con acido citrico. | |
| Superfici autopulenti Osservare le avventenze relative alle superfici del vano cottura annesse alla tabella. → "Pulizia delle superfici autopulenti", Pagina 65 | ||
| Copertura in vetrodell'illuminazione in-terna | Pulire con un panno spugna e asciugare con un panno morbido.In caso di sporco ostinato, si consiglia diutilizzare un detergente per forno. | |
| Pannelli dello sportello | Soluzione detergente calda Pulire con un panno spugna e asciugare con un panno morbido.Non utilizzato raschietti per vetro o pagliette d'acciaio.Consiglio: Sarebbe meglio pulire i pannelli dello sportello insieme al vano cottura. → "Pulizia del vano cottura", Pagina 65 | |
| Guarnizione dello sportello | Soluzione detergente calda Pulire con un panno spugna.Non rimuovere la guarnizione dello sportello e non strofi-narla. | |
| Copertura dello sportello in acciaio inox | Detergente per acciaio inox Osservare le avventenze fornite dal produttore.Non utilizzato detergenti o raschietti per vetro.Non utilizzato prodotti per la cura dell'acciaio inox.Consiglio: Sarebbe meglio tagliere la copertura dello sportello. | |
| Guarnizione dello sportello in plastica | Soluzione detergente calda Non utilizzato detergenti o raschietti per vetro.Non utilizzato prodotti per la cura dell'acciaio inox.Consiglio: Sarebbe meglio tagliere la copertura dello sportello. | |
| Supporti Soluzione detergente calda Lasciare in ammollo e pulire con un panno spugna o una spazzola. | ||
| Sistema di estrazione Soluzione detergente calda Pulire con un panno spugna o una spazzola.Per non rimuoverre il grasso lubrificante, pulire le guide di estensione quando sono inserte.Non lavare in lavastoviglie. | ||
Accessori Soluzione detergente calda Lasciare in ammollo e pulire con un panno spugna o una spazzola.
Zona Detergenti idonei Avvertenza
Se gli accessori sono molto sporchi, pulirli con una paglietta d'acciaio.
Consiglio: É possibile lavare in lavastoviglia gli accessori smaltati.
Note
- Lievi differenze di colore sul lato frontale dell'apparecchio sono dovute a diversi materiali quali vetro, plastica o metallo.
- Ombreggiature sui pannelli dello sportello, simili a striature, sono dovute al riflesso dell'illuminazione interna del vano cottura.
- A temperature moltolevate lo smalto viene marcato a fuoco.Durante甚么processo possono generarsi differenze di colore.Le differenze di colore sono normali e non influscono sul funzionamento.I bordi delle teglie sottili non possono essere smaltati integralmente,pertanto possono essere ruvidi.Qesto non pregiudica la protezione anticorrosione.
11.3 Pulizia dell'apparecchio
Pulire l'apparecchio come indicato, in modo da non danneggiare le diverse superfici e i diversi componenti eseguendo una pulizia errata o utilizzando detergenti non idonei.
AVVERTENZA - Pericolo di uszioni!
Durante l'utilizzo, l'apparecchio e le sue parti con cui si può entrare aicontatto si surriscaldano.
- E necessario prestare attenzione per evitare di toccare gli elementi riscaldanti.
- Tenere lontano i bambini di età inferiore a 8 anni.
AVVERTENZA - Pericolo di incendio!
I residui di cibo, il grasso e il sugo dell'arrosto posso.
prendere fuoco.
- Prima di utilizzato l'apparecchio, eliminare lo sporco più grossolano dal vano cottura, dagli elementi riscaldanti e dagli accessori.
Requisito: Osservare le avventenze relative ai prodotti per la pulizia.
"Detergenti", Pagina 63 - Pulire l'apparecchio con una soluzione di lavaggio calda e un panno spugna. Su alcune superfici si possono utilizzato detergenti alternativi.
"Detergenti idonei", Pagina 63 - Asciugare con un panno morbido.
Consiglio
- Se si pulisce il vano cottura dopo agli utilizzato, si impedisce che i residui brucino.
- Rimuovere subito le macchie di calcare, grasso, amido e albume.
Nota: Cuocere i dolci molto farciti nella leccarda.
Consiglio: Per mantenere pulito il vano cottura, per la cottura arrosto utilizzato stoviglie adatte, ad es. una pirofilia.
11.4 Pulizia del vano cottura
AVVERTENZA - Pericolo di uszioni!
Durante l'utilizzo, l'apparecchio e le sue parti con cui si cui quod entrare a contatto si surriscaldano.
- É necessario prestare attenzione per evitare di toccare gli elementi riscaldanti.
- Tenere lontano i bambini di età inferiore a 8 anni.
Requisito: Il vano cottura è completamente raffreddato.
- Versare 0,4 litri di acqua al centro del fondo del vano cottura.
Nonutilizzareacqua distillata.
- Impostare con il selettore funzioni.
- Servendosi del selettore della temperatura, impostare la temperatura a 50^ .
- Durante la pulizia controllare che non fuoriesca l'acqua che condensa nella canalina di scolo fatto allo sportello dell'apparecchio.
Se necessario, assorbirla con una spugna.
- Dopo 18 minuti spegnere l'apparecchio.
- Lasciar raffreddare l'apparecchio.
- Pulire il vano cottura con un panno.
11.5 Pulizia delle superfici autopulenti
Le superfici autopulenti sono rivestite con uno strato in ceramica opaca e porosa in grado di assorbire e neutralizzare gli spruzzi prodotti durante la cottura, nelle l'apparecchio è in funzione.
Requisito: Il vano cottura è raffreddato.
- I residui di colore scuro o bianro possono essere eliminati con un po' di acqua e una spugna morbida.
Note: Sulle superfici autopulenti si possono formare delle macchie. I residui di zucchero e di albume nelle piETANze non vengono neutralizzati e restano attaccati alle macchie. Le macchie rossicce rappresentano i residui di pietanze contenti sale, non sono ruggine. Questemacchie non sono dannose per la salute. Tali macchie non limitano la capacité di pulizia delle superfici autopulenti.
11.6 Sostituzione della lampadina nel vano cottura
Se l'illuminazione interna è difettosa, sostituire la lampadina nel vano cottura.
Note: Le lampadine alogene resistenti al calore da 230 V, 40 Watt, G9 possono essere acquistate presso il servizio di assistenza clienti o i rivenditori specializzati. Utilizzato soltanto queste lampadine. Afferrare le nuove lampadine alogene soltanto con un panno asciutto e pulito in modo da non comprometterne la durata.
AVVERTENZA - Pericolo di uszioni!
Durante l'utilizzo, l'apparecchio e le sue parti con cui si cui quod entrare a contatto si surriscaldano.
-
E necessario prestare attenzione per evitare di toccare gli elementi riscaldanti.
-
Tenere lontano i bambini di età inferiore a 8 anni.
AVVERTENZA - Pericolo di scosse elettriche!
Durante la sostituzione della lampadina i contatti de
portalampada sono molto tensione.
- Prima di sostituire la lampadina accertarsi che l'apparecchio sia spento per evitare agli possibile scarica elettrica.
Inoltre disattivare il fusibile nella relativa scatola.
Requisiti
L'interrutlore di sicurezza è scattato.
Il vano cottura è raffreddato.
- É disponibile una nuova lampadina alogena per la sostituzione.
- Apire lo sportello dell'apparecchio.
- Stendere un canovaccio nel vano cottura per evitare di danneggiarlo.
- Togliere gli accessori dal vano cottura e smontare i supporti. Pagina 66
-
Rimuovere la copertura in vetro. Se risulta difficile apriere a mano la copertura in vetro alla parte anteriore, aiutarsi con un cucchiaio.
-
Estrarre la lampadina del vano cottura.

- Sostituire la lampadina del vano cottura con una dello stesso modello.
- Riappicare la copertura in vetro della lampadina del forno.
- Montare i supporti. Pagina 66
- Rimuovere nuovamente il canovaccio.
- Attivare di nuovo il fusibile.
- Controllare se l'illuminazione del forno funziona di nuovo.
12 Supporti
Per pulire bene i sostegni e il vano cottura o per sostituire i sostegni, questi si possono sganciare.
12.1 Come sganciare i supporti
I supporti sono fissati rispettivamente in tre puniti alle pa-reti laterali del vano cottura.
-
Afferrare il supporto dal lato anteriore e tirare verso il centro del vano cottura.
Il gancio anteriore del supporto esce dal foro. -
Spostare ancorta in avanti il supporto e sfilarlo anche dai fori posteriori della parete laterale.

- Togliere il supporto dal vano cottura.
12.2 Come agganciare i supporti
- Inserire i ganci del supporto nei fori posteriori della parete laterale.
- Spingere il gancio anteriore del supporto nel foro.
13 Sportello dell'apparecchio
Una cura e manutenzione scrupolosa contribuiscono a mantenere a lungo l'apparecchio in buone condizioni. In quello capitolo viene illustrato come pulire lo sportello dell'apparecchio.
Nota: Affinché lo sportello dell'apparecchio non tocchi il mobile a incasso, lo sportello ha un'apertura leggermente inferiore a 90^ .
13.1 Smontaggio dei pannelli dello sportello
Per una migliorie pulizia è possibile rimuovere i pannelli in vetro dello sportello dell'apparecchio.
AVVERTENZA - Pericolo di lesioni!
Il vetro graffiato dello sportello dell'apparecchio potrebbe rompersi.
Nonutilizzare alcun detergente abrasivo nereaschietti in metallo taglienti per la pulizia del vetro dello sportello del forno,poiché possono graffiare la superficie.
- Aprire completeness lo sportello dell'apparecchio.
- Bloccare le cerniere a sinistra e a destra con le spine di sicurezza.

Le spine di sicurezza devono inserti completamente nei fori delle cerniere.
- Sollevare con entrambé le mani la parte inferiore del pannello interno finché le spine di fissaggio non si sfilano dal supporto. ①
-
ATTENZIONE - Durante il sollevamento del pannello interno è possibile che il pannello centrale resti attaccato al pannello interno.
-
Assicurarsi che il pannello centrale non cada. Sollevare con cautela la parte superiore del pannello interno finché le spine di fissaggio non si sfilano dal supporto. ②

- Estrarre il pannello interno e riporlo con cautela su una superficie pianà.
- Estrarre il pannello intermedio con i loro sostegni.

Il pannello intermedio non è fissato con i perni di fissaggio, ma con i cuscinetti in gomma.
- Per la pulizia dei pannelli dello sportello, utilizzare un detergente per vetri e un panno morbido.
13.2 Montaggio dei pannelli dello sportello
- Inserire il pannello intermedio.
Prestare attentione al corretto posizionamento del pannello intermedio.
- Tutti i supporti devono poggiare in piano sul pannello esterno.
Se sul pannello intermedio è leggibile il symbolo Low-E, significa che è stato inserto correttamente. - Inserire il pannello interno.
Tutte le quattro spine di fissaggio devono innestarsi nei supporti previsti allo scopo.
- Rimuovere le spine di sicurezza e chiudere lo sportello dell'apparecchio.
Note: Non buttare via le spine di sicurezza. Conservare le spine di sicurezza in un luogo sicuro. Le spine di sicurezza servono assolutamente per rimuovere lo sportello dall'apparecchio o per pulire i pannelli dello sportello. Se non si dispone di spine di sicurezza, è possibile ordinare presso il servizio di assistenza clienti.
13.3 Come sganciare lo sportello dell'apparecchio
In caso di sporco particolaremente ostinato, è possibile sganciare lo sportello dell'apparecchio per poterlo pulire meglio.
- Aprire completamente lo sportello dell'apparecchio.
- Bloccare le cerniere a sinistra e a destra con le spine di sicurezza.
Le spine di sicurezza devono insertarsi completamente nei fori delle cerniere.
- Afferrare lateralmente lo sportello dell'apparecchio con entrambe le mani e chiuderlo di circa 30^


Non chiudere completeness lo sportello dell'apparecchio. Le cerniere potrebbero venire piegate causando danni allo smalto.
- Sollevare leggermente lo sportello dell'apparecchio ed estrarlo.
13.4 Come agganciare lo sportello dell'apparecchio
AVVERTENZA - Pericolo di lesions!
Se le cerniere non sono in sicurezza a causa di un bloccaggio incomplete, possono richiudersi con molta forza.
- Se la cerniera, in fase di aggancio o di sgancio dello sportello dell'apparecchio, non si richiude, non afferrare lo sportello dlale cerniere.
Rivolgersi al servizio di assistenza clienti.
Il montaggio non corretto del pannello o dello sportello dell'apparecchio costituisce un pericolo.
- Accertarsi che tutti i pannelli e gli sportelli siano montati correttamente, prima di utilizzare nuovamente l'apparecchio.
- Afferrare lateralmente lo sportello dell'apparecchio con entrambe le mani.
- Inserire le cerniere nelle aperture dell'apparecchio.

La scanalatura in basso sulle cerniere deve innestarsi nel telaio dell'apparecchio.
- Abbassare lo sportello dell'apparecchio verso il basso.
- Rimuovere le spine di sicurezza.
Note: Non buttare via le spine di sicurezza. Conservare le spine di sicurezza in un luogo sicuro. Le spine di sicurezza servono assolutamente per rimuovere lo sportello dall'apparecchio o per pulire i pannelli dello sportello. Se non si disponone di spine di sicurezza, è possibile ordinare presso il servizio di assistenza clienti.
14 Sistemazione guasti
I guasti minori possono essere sistemati autonomamente dall'utente. Utilizzare le informazioni per la sistematiche dei guasti prima di contattare il servizio di assistenza clienti. In quello modo si evitano costi non necessari.
AVVERTENZA - Pericolo di lesions!
Gli interventi di riparazione effettuali in modo non appropriato rappresentano una fonte di pericolò.
Solo il personale adeguatamente specializzato e formato cui seguire riparazioni sull'apparecchio.
Se l'apparecchio presente guasti, rivolgersi al servizio di assistenza clienti.
"Servizio di assistenza clienti", Pagina 70
AVVERTENZA - Pericolo di scosse elettriche!
Gli interventi di riparazione effettuali in modo non appropriato rappresentano una fonte di pericolo.
- Solo il personale adeguatamente specializzato e formato cui seguire riparazioni sull'apparecchio.
- Per la riparazione dell'apparecchio possono essere impiegati soltanto pezzi di ricambio originali.
Al fine di evitare pericoli, se il cavo di alimentazione di quello appearecchio subisce danni che sere sostituito dal produttore, dal suo servizio di assistenza clienti o da persona in possesso di simile qualifica.
14.1 Anomalie di funzionamento
| Guasto Causa e ricerca guasti | |
| L'apparecchio non funziona. La spina non è inserita nella rete elettrica. • Collegare l'apparecchio alla rete elettrica. | |
| Alimentazione di corrente guasta. • Verificare che l'illuminazione interna o altri apparecchi nel locale funzionino cor-rettamente. | |
| Il fusabile nel contatore elettrico si è attivato. • Controllare il fusabile nella scatola correspondente. | |
| Non si riesce ad avviare l'appa-recchio. Lo sportello dell'apparecchio non è completamente chiuso. • Chiudere lo sportello dell'apparecchio. | |
| L'apparecchio non è spento. • Spegnere e riaccendere l'apparecchio. | |
| Sul display lampeggia #2.08almimentazione di corrente guasta. • Impostare l'ora attuale. → "Prima del primo utilizzato", Pagina 60 | |
| Guasto Causa e ricerca guasti | |
| L'appareccchio non scalda. Modalità demo attenuata.1. Staccare brevamente l'apparecchio alla corrente disattivando il fusabile all'in-terno della scatola e riaccendendolo.2. Disattivare infine la modalità Demo entro 5 minuti regolando le impostazioni di base c300l valore . 0→ "Impostazioni di base", Page 62 | |
| L'illuminazione interna non funziona. | Il tipo di funzionamento "Riscaldamento superiore/inferiore delicato" è attivato. • ConQLA: la modality di funzionamento, l'illuminazione interna è spenta. |
| La lampadina nel vano cottura è difettosa. • Sostituire la lampadina nel vano cottura. → "Sostituzione della lampadina nel vano cottura", Page 65 | |
| Le ricette preparate al forno brutciano molto meno. | Il termostato è difettoso. • Rivolgersi al. → "Servizio di assistenza clienti", Page 70 |
| I pannelli dello sportello sono ap-pannati. | Fenomeno normale dovutoagli sbalzi di temperatura. • Riscaldare l'apparecchio a 100 C e spegnerlo dopo 5 minuti. |
| L'apparecchio acceso non potrapiù ricevere comandi. Sul display si accende ≈ | È arrivata la sicurezza bambini. • Disattivare la sicurezza bambini. → "Disattivazione della sicurezza bambini", Page 62 |
| Il display si è bloccato o non rea-gisce. | È arrivata la sicurezza bambini. • Disattivare la sicurezza bambini. → "Disattivazione della sicurezza bambini", Page 62 |
| Anomalia di funzionamento1. Disattivareanche il fusabile nella scatola corrispondente.2. Attivare il fusabile dopo circa 10 secondi.3. Se l'anomalia si manifesta nuovamente, contatterile il servizio di assistenzaclienti. | |
| I pannelli dello sportello sembra-no più caldi rispetto a prima, do-po che i pannelli sono stati smon-tati per essere puliti. | I pannelli dello sportello sono stati inserti all'incontrario. • Controllare se i pannelli dello sportello sono stati inserti correttamente. → "Montaggio dei pannelli dello sportello", Page 67 |
| La ventola di raffreddamento re-sta attiva dopo il funzionamento. | Nessun guasto. La ventola di raffreddamento continua a funzionare finché non viene raggiunta la temperature selezionata nelle impostazioni di base. → "Impostazioni di base", Page 62 |
| Gocciola l'accu di condensa o l'accu di condensa sullo sportel-lo dell'apparecchio. | Lo sportello dell'apparecchio non si chiude correttamente. • Controllare se lo sportello dell'apparecchio si chiude correttamente. → "Sportello dell'apparecchio", Page 66 |
| La guarnizione è sporca.1. Controllare se la guarnizione è sporca, danneggiata o posizionata in modo scorretto.2. Pulire o sostituire la guarnizione oppure accertarsi che sua posizionata corretta-mente. | |
| Formazione della condensa normale. → "Formazione della condensa", Page 58 | |
| Sul display compare un messag-gio con E. | Anomalia di funzionamento • Portare il selettore funzioni in posizione zero. Se il messaggio di erreore compare di nuovo, contatterile il servizio di assistenzaclienti. |
15 Smaltimento
15.1 Rottamazione di un apparecchio dismesso
Un corretto smaltimento nel rispetto dell'ambiente permette di recuperare materie prime preziose.
Smaltire l'apparecchio nel rispetto dell'ambiente. Per informazioni sulle attuali procedure di smaltimento rivolgersi al rivenditore specializzato o al comune di competenza.

Questo apparecchio dispone di contrassegno ai sensi della direttiva europea 2012/19/UE in materia di apparecchi elettrici ed elettronici (waste electrical and electronic equipment - WEEE).
Questa direttiva definisce le norme per la raccolta e il riciclaggio degli apparecchi dismessi valide su tutto il territorio dell'Unione Europea.
16 Servizio di assistenza clienti
I ricambi originali rilevanti per il funzionamento secondo il corrispondente regolamento Ecodesign sono reperibili presso il nostro servizio di assistenza clienti per un periodo di almeno 10 anni a partire alla messa in circolazione dell'apparecchio all'interno dello Spazio economico europeo.
Nota: L'intervento del servizio di assistenza clienti è molto在一enn'ambito delle condizioni di garanzia del produttore.
Informazioni dettagliate sulla durata e sulle condizioni di garanzia in ciascun Paese sono reperibili tramite il codice QR sul documento allegato relative ai contatti di assistenza e alle condizioni di garanzia, presso il nostro servizio di assistenza clienti, il vostro rivenditore o sul nostro sito web.
Quando si contatta il servizio di assistenza clienti sono necessari il codice prodotto (E-Nr.) e il codice di produzione (FD) dell'apparecchio.
I dati di contatto del servizio di assistenza clienti sono reperibili tramite il codice QR sul documento allegato relativivo ai contatti di assistenza e alle condizioni di garanzia o sul loro situ web.
Il prodotto è dotato di sorgenti luminose con classe di efficienza energetica G.
Le informazioni conformi alla normativa (EU) 65/2014, (EU) 66/2014 e (EU) 2023/826 sono disponibili online alla voce siemens-home.bsh-group.com nella pagina del prodotto e nella pagina di assistenza dell'apparecchio nelle istruzioni per l'uso e nei documenti aggiuntivi.
16.1 Codice prodotto (E-Nr.) e codice di produzione (FD)
Il codice prodotto (E-Nr.) e il codice di produzione (FD) sono riportati sulla targhetta identificativa dell'apparecchio.
La targhetta con i numeroi si trovava already done so sportello dell'apparecchio.

Annotare i dati dell'apparecchio e il numero di Telefono del servizio di assistenza clienti per nitrovarli rapidamente.
17 Funzione cosi
Qui di seguito sono riportati dei consigli sulle stoviglie da utilizzare e sulla preparazione delle pietanze.
17.1 Il miglior modo di procedere
ATTENZIONE
Gli alimenti contenenti acidi cui danno neggiare la griglia.
Non disporre alimenti contenti acidi, come la frutta o cibi grigliati conditi con marinature acide, direttamente sulla griglia.
Nota: Indicazioni per soggetti allergici al niche!
In rari casi, piccole trace di nichel possono passare nell'alimento.
- Prima dell'utilizzo, rimuovere dal vano cottura le stoviglie non necessarie.
- Selezionare una pietanza desiderata delle impostazioni consigliate.
- Introduire le pietanze in una stoviglia adatta. Utilizzare gli accessori forniti in dotazione.
- Preriscaldare l'apparecchio sostanto se indicate alla ricetta o dalle impostazioni consigliate. Rivestire gli accessori con la carta forno solo dopo il preriscaldamento.
-
Impostare l'apparecchio in base alle impostazioni consigliate. Impostare prima la durata più breve. Se necessario, prolongare la durata.
-
Durante la cottura tenere chiuso lo sportello dell'apparecchio.
17.2 Consigli per la cottura al forno
Per ottenere un buon risultato di cottura, abbiamo raccolto dei consigli.
Richiesta Consiglio
| Il dolce deve lievitare uniformmente. | • Imburrare solo il fondodello stampo a cerniera.A cottura ultimata, stac-care con attenzione ildolce dallo stampo ser-vendosi di un coltello. |
| I piccoli biscotti non devo-no attaccarsi tra loro du-rante la cottura. | Lasciare una distanza mini-ma di 2 cm intorno a cia-scun biscotto, in modo che abbiano spazio sufficiente per lievitare e dorare su tutti i lati. |
| Sapere se un dolce è ben cotto. | Infilzare un bastoncino dilegno nel punto più alto deldolce. Quando la pasta nonaderisce più allo stecchino, il dolce è pronto. |
Richiesta Consiglio
| Si desidera seguire una propria ricetta. | Fare riferimento a una ricetta simile tra哪些 contenu- te nelle tabelle. |
Richiesta Consiglio
| Utilizzare uno stampo in silicone, in vetro, in plastica o in ceramicica. |
- Lo stampo delve essere reflattario fino a 250^ .
- Quando si utilizesndo quosti stampi, i dolci rimangono piu chiari.
17.3 Tabella delle pietanze
Quisi trovauna panoramaicadel Pietanze.
| Pietanza Peso in kg Livello di inse- rimento | Tipodi riscal- damento | Temperatura in °C/livello grill | Durata in min. | |
| Lasagne 3 - 4 1 220 - 230 | 45 - 50 | |||
| Pasta gratinata 3 - 4 1 220 - 230 | 45 - 50 | |||
| Arrostodi vitello 2 2 180 - 190 | 90 - 100 | |||
| Arrostodi cappa di maiale 1,5 - 2 2 190 - 200 | 90 - 100 | |||
| Arrostodi cappa di maiale 2 2 200 | 2 | 125 | ||
| Salsicce 1,5 3 280 | 1° lato: 102° lato: 7 | |||
| Arrostodi manzo 1 2 200 | 45 - 55 | |||
| Coniglio arrostodi 1,5 2 180 - 190 | 70 - 80 | |||
| Petto di tacchino 2 2 180 - 190 | 110 - 120 | |||
| Arrostodi cappa di maiale 2 - 3 2 180 - 190 | 170 - 180 | |||
| Pollo arrostodi 1,2 2 190 - 200 | 65 - 70 | |||
| Cotolette di maiale 1,5 3 280 | 1° lato: 152° lato: 5 | |||
| Costine | 1,5 3 280 | 1° lato: 152° lato: 10 | ||
| Pancetta | 0,7 4 3 | 1° lato: 102° lato: 8 | ||
| Filetto di maiale | 1,5 3 280 | 1° lato: 122° lato: 5 | ||
| Filetto di manzo 1 4 3 | 1° lato: 72° lato: 4 | |||
| Trotta salmonata | 0,7 - 1,2 | 2 160 - 170 | 35 - 40 | |
| Rana pescatrice | 0,7 - 1,5 | 2 160 | 60 - 65 | |
| Rombo | 1,5 2 160 | 45 - 50 | ||
| Pizza | 1 - 1,5 2 280 | 10 - 12 | ||
| Pane | 1 2 180 - 190 | 25 - 30 | ||
| Focaccia | 1 2 180 - 190 | 20 - 25 | ||
| Gugelhupf (dolce all'uvetta) | 1 2 160 | 55 - 60 | ||
| Torta alla frutta 1 2 160 | 35 - 40 | |||
| Torta di ricotta | 1 2 160 - 170 | 45 - 55 | ||
| Torta di pasta frolla | 1 2 160 - 170 | 35 - 40 | ||
| Torta di pasta frolla | 1 2 170 | 2 | 65 | |
| Torta Paradiso | 1,2 2 160 | 55 - 60 | ||
| Bigné | 0,7 - 1,2 | 2 180 | 55 - 60 | |
| Torta di pan di Spagna | 1 2 150 - 160 | 55 - 60 | ||
| Riso al latte | 1 2 160 | 55 - 60 | ||
| Brioche | 1 - 1,2 2 160 | 30 - 35 | ||
17.4 Consigli per la successiva cottura al forno
Se qualcosa non funziona durante la cottura, qui sono riportati dei consigli.
Richiesta Consiglio
| Il dolce si sgonfia. Rispettare scrupolosa- mente gli ingredienti e le istruzioni per la prepara- zione della ricetta. • Utilizzare meno liquido. Oppure: • ridurre la temperature di 10 °C e prolongare il tempo di cottura. | |
| Il dolce è troppo secco. Aumentare la temperature di 10 °C e ridurre il tempo di cottura. | |
| Il dolce è troppo chiaro. Verificare il livello di inse- rimento e gli accessori. • Aumentare la temperatu- ra di 10 °C. Oppure: • prolongare il tempo di cottura. | |
| Il dolce è troppo scuro. Ridurre la temperature e prolungare il tempo di cot- tura. | |
| Il dolce è troppo chiaro in alto, ma troppo scuro in basso. | Inserire il dolce a un livello più alto. |
| Il dolce è troppo scuro in alto, ma troppo chiaro in basso. | • Inserire il dolce a un livel- lo più basso. • Ridurre la temperature e prolungare il tempo di cottura. |
| Il dolce ha una doratura non uniforme. | • Ridurre la temperature di cottura. • Tagliare in modo ade- guato la carta daorno. • Posizionare al centro lo stampo. • Formare i biscotti in mo- do che abbiano dimen- sioni e spessore uguali. |
| Il dolce è pronto, ma all'in- terno non è ancora cotto bene. | • Ridurre la temperature e prolungare il tempo di cottura. • Aggiungere meno liqui- do. Per dolci con farciturà su- cosa: • precuCere il fondo. • Cospargere con mandor- le o pangrattato il fondo cotto. • Aggiungere la farciturà sul fondo. |
Richiesta Consiglio
| Il dolce non si stacca ca- povolgendolo. | · Una volta ultimata la cot- tura, lasciare raffreddare il dolce per 5 - 10 minuti. · Separarlo con cautela dai bordi con un coltello. · Provarare a rovesciare nuovamente il dolce e copire ripetutamente lo stampa con un panno bagnato e freddo. · La volta successiva un- gere lo stampo e sparge- re del pangrattato. |
17.5 Consiglio per l'arrosto successivo
Se durante la cottura arrosto qualcosa non funziona al primo tentativo, qui sono riportati dei consigli.
Richiesta Consiglio
| L'arrostò è troppo scuro e la crosta è parzialmente bruciata. | • Selezionare una tempera-tura inferiore. • Ridurre la durata di cottu-ra. |
| L'arrostò risulta troppo asciutto. | • Selezionare una tempera-tura inferiore. • Ridurre la durata di cottu-ra. |
| La crosta è troppo sottile. Aumentare la temperatu-ra. Oppure: • Accendere brevamente il grill dopo la fine del tem-po di cottura. | |
| Il suiogo dell'arrostò è bru-ciato. | • Selezionare una stoviglia più piccola. • Aggiungere una quantità maggiore di liquido in cottura. |
| Il suiogo dell'arrostò è trop- po何时 e troppo acquo-so. | • Selezionare una stoviglia più grande per far evapo- rare maggiormente il li-quo. • Aggiungere meno liquido in cottura. |
| La carne dello stufato si attacca. | • Verificare che il coper-chio sia delle stesse di- mensioni della stoviglia e chiuda bene. • Ridurre la temperatura. • Aggiungere liquido allo stufato. |
| L'arrostò non è ancora pronto. | • Tagliare l'arrostò. • Preparare il suiogo nella stoviglia dell'arrostò. • Collocare le fette di arro-sto nel suiog. • Finire la cottura delle fet- te di arrostò con il mi-croonde. |
17.6 Pietanze sperimentate
Queste panoramiciche sono state create per gli enti di controllo, al fine di agevolare le verifiche degli apparecchi secondo EN 60350-1.
Cottura al forno
| Pietanza Accessori | Livello di insei-mentation | Tipodi riscalda-mentation | Temperatura in °C | Durata in min. |
| Shortbread strips | Teglia con carta da forno | 2 160 | 1 | 23 - 25 |
| Shortbread strips, 2 livelli | 2 teglie con carta da forno | 2 + 4 160 | 1 | 28 |
| Cupcake | Teglia con carta da forno | 2 160 | 1 | 21 - 22 |
| Cupcake, 2 livelli | Teglia + griglia con carta da for-no | 2 + 4 160 | 1 | 30 |
| Pan di Spagna all'acqua | Stampo a cernie-ra | 2 160 | 1 | 35 |
| Pan di Spagna all'acqua, 2 livelli | 2 stampi a cernie-ra | 2 + 4 155 - 165 | 1 | 35 - 45 |
| Torta di mele co-perta, 1 pezzo | Stampo a cernie-ra | 2 170 | 1 | 75 - 80 |
| Torta di mele co-perta, 2 pezzo | 2 stampi a cernie-ra | 2 160 | 1 | 75 - 80 |
Grill
Inserire anche la leccarda. La leccarda raccoglie il liquido e consente di mantenere più pulito il vano cottura.
| Pietanza Accessori Livello di | Tipo di ri- scalda- mento | Livello grill | Durata in min. | |
| Pane per toast Griglia 4 3 | 1 | 2 | ||
| Hamburger di manzo, 10 pezzi, diametro 75 mm | Teglia + griglia 3 + 4 3 | 1 | 1° lato: 152° lato: 5 | |
18 Istruzioni per il montaggio
Osservare queste informazioni durante il montaggio dell'apparecchio.


18.1 Montaggio sicuro
Osservare le presentiindicazioni prima di iniziare il montaggio dell'apparecchio.
AVVERTENZA - Pericolo di incendio!
È pericoloso utilizzato un cavo di alimentazione con una prolunga e un adattatore non amesso.
Nonutilizzarepresemultiple.
Utilizzare solo cavi di prolunga certificati, dotati di una sezione minima di 1,5mm^2 e conformi ai relativi requisiti di sicurezza vigenti a livello nazionale.
- Se il cavo di alimentazione è troppo corto e non è disponibile un cavo di alimentazione più lungo, contattare un elettricista per modificare l'installazione domestica.
- Utilizzare esclusivamente gli adattatori e i cavvi di alimentazione approvati dal produttore.
ATTENZIONE
Trasportando l'apparecchio alla maniglia,\ questa più rompersi in quanto non sopporta il\ peso dell'apparecchio.
Non trasportare o reggere l'apparecchio afferrandolo alla maniglia.
L'utilizzo sicuro viene garantito solo se il montaggio è stato effettuato in modo correttto secondo le presenti istruzioni. In caso di danni dovuti a un montaggio scorretto la responsabilità ricade su chi ha montato l'apparecchio.
- Controllare l'apparecchio dopo averlo disimballato. Qualora si fosso verificati danni da trasporto, non collegare l'apparecchio.
Rimuovere il materiale di imballaggio e la pellicola adesiva dal vano cottura e dallo sportello prima della messa in funzione.
- Osservare la guida di montaggio per i componenti degli accessori.
I mobili da incasso devono essere termostabili fino a una temperatura pari a 90 Ce i mobili adjoiningi fino a 70 C.
Non montare l'apparecchio dietro a un panello decorativo o a uno sportello del mobile, Sussiste il pericolò di surriscaldamento.
- Completare i lavori di taglio sul mobile prima dell'inserimento dell'apparecchio. Rimuovere i trucoli in quanto possono pregiudicare il funzionamento dei componenti elettrici.
La presa di collegamento dell'apparecchio deve trovarsi al di fuori dell'area di montaggio.
- Mettere sempre a terra gli apparecchi elettrici.
- Indossare quanti protettivi per evitare di procurarsi ferite da taglio. Parti che restano scoperte durante il montaggio sono essere appuntite.
Nelle figure le misure sono espresse in mm.
18.2 Dimensioni dell'apparecchio
Quisono riportate le dimensioni dell'apparecchio

18.3 Montaggio除去 un piano di lavoro
Per il montaggio sotto un piano di lavoro, osservare le dimensioni e le distance di sicurezza.

Per la ventilazione dell'apparecchio occorre una fessura di ventilazione nel ripiano intermediio.
18.4 Montaggio除去 un piano cottura
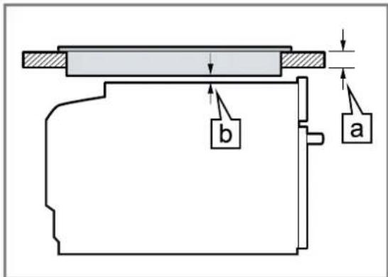
Se l'apparecchio viene incassato sotto un piano cottura, vanno rispetto le seguenti misure minime, eventualmente inclusa sottostruttura.

Lo spessore minimo del piano di lavoro aisulta alla distanza minima necessaria
| Tipodi piasono cottura rialzato in mm a fillo in mm in mm | a | b |
| Piano cottura a induzione 49 50 5 | ||
| Piano cottura conSYSTEMA a induzione sull'intera superficie | 70 70 5 | |
| Piano cottura a gas 39 50 5 | ||
| Piano cottura elettrico 39 42 2 |
Fissare il piano di lavoro al mobile da incasso. Rispertau re le struzioni di montaggio del piano cottura.
18.5 Montaggio in un mobile a colonna
Osservare le misure d'incasso e le distanze di sicurezza nel mobile a colonna.

- Accertarsi di lasciare una fessura tra il ripiano intermedio e il doppiofondo per garantire l'airazione dell'apparecchio.
- Se altre ai pannelli posteriori dell'elemento, il mobile a colonna ha un ulteriore pannello posteriore, quest'ultimo deve essere rimioso.
- Montare l'apparecchio a un'altezza tale da poter prelevare gli accessori alla problema.
18.6 Montaggio di due appearecchi sovrapposti
É possible montare l'apparecchioanche sopra unalto apparecchio.
18.7 Allacciamento elettrico
Per eseguire il collegamento elettrico dell'apparecchio in sicurezza, osservare le presenti avertenze.
- La protezione avviene secondo l'indicazione di potenza sulla targhetta di identificazione e nel rispetto delle disposizioni locali.
- L'apparecchio rientra nella classe di protezione I e cui po funzionare solo se dotato di un conduttore di terra.
- Durante tutte le operazioni di montaggio l'apparecchio deve essereswana tensione.
- La protezione da contatto deve essere garantita tramite il montaggio.
L'allacciamento degli appearecchi senza l'impiego di spine deformere eseguito esclusivamente da personale specializzato che dovrà rispetto le disponzioni dell'azienda regionale erogatrice dell'energia elettrica.
Collegamento elettrico dell'apparecchio alla spina con messa a terra
Nota: L'allacciamento dell'apparecchio deve essere eseguiti escludivamente da personale specializzato. In caso di danni causati da un allacciamento non corretto, decade il diritto di garanzia.
Nell'impiano elettrico fisso deve essere montato un dispositivo di separazione conformmente alle norme di INSTALLazione.
- Nella presa di collegamento, individuare un conduitore di fase e uno neutro ("zero"). Un allacciamento scorretto dell'apparecchio cui comportarne il danneggiamento.
- Allacciare l'apparecchio soltanto a una tensione di re- te compresa tra 220 e 240 V.
-
Collegare i fili di allacciamento alla rete rispettando l'attribuzione dei colori:
-
Verde-giallo = conduttore di terra
- Blu = condutlore neutro ("zero")
Marrone = fase (conduttore esterno)
18.8 Montaggio dell'apparecchio
- Inserire l'apparecchio e centrarlo.
Non comprimere il cavo di allacciamento.
- Se necessario rimuovere la canalina per cavi con un attrezzo.

- Aprire completeness lo sportello del forno.
It Istruzioni per il montaggio
- Rimuovere la copertura di sicurezza.

- Fissare l'apparecchio al mobile.

- Applicare la copertura di protezione.
Note: Non chiudere mai lo spazio tra il piano di lavoro e l'apparecchio con ulteri o listelli.
18.9 Smontaggio dell'apparecchio
- Scollegare l'apparecchio alla rete elettrica.
- Svitare le viti di fissaggio.
- Sollevare leggermente l'apparecchio ed estrarlo.
Notice-Facile