iQ500 VB558C0S0 - Inbouwoven SIEMENS - Gratis gebruiksaanwijzing en handleiding
Vind de handleiding van het apparaat gratis iQ500 VB558C0S0 SIEMENS in PDF-formaat.
Veelgestelde vragen - iQ500 VB558C0S0 SIEMENS
Download de handleiding voor uw Inbouwoven in PDF-formaat gratis! Vind uw handleiding iQ500 VB558C0S0 - SIEMENS en neem uw elektronisch apparaat weer in handen. Op deze pagina staan alle documenten die nodig zijn voor het gebruik van uw apparaat. iQ500 VB558C0S0 van het merk SIEMENS.
GEBRUIKSAANWIJZING iQ500 VB558C0S0 SIEMENS
1 Veiligung 77
2 Materièle schade vermijden 79
3 Milieubescherming en besparing 80
4Uw apparatusl leren kennen 80
5 Accessoires 83
6 Voor het eerste gebruik 85
7 De Bediening in essentie 85
8 Tijdfuncties 85
9 Kinderslot 86
10 Basisinstellungen 87
11 Reiniging en onderhoud 87
12 Rekjes 91
13 Apparaatdeur 91
14 Storingen verhelpen 93
15 Afvoeren 94
16 Servicedienst 94
17 Zo lukt het 95
18 MONTAGEHANDLEIDING 98
18.1 Veilige montage 98
Veiligheid
Neem de volgende veiligheidsvoorschriften in acht.
1.1 Algemene aanwijzingen
Lees deze gebruiksaanwijzing zorgvuldig door.
Bewaar de gebruiksaanwijzing en de productinformatie voor later gebruik of voor volgende eigenaren.
- Sluit het apparaat in geval van transportschade Niet aan.
1.2 Bestemming van het apparatus
Dit apparaat is alleen bestemd voor inbouw.
Houd het speciale installmentevoorschrift aan.
Apparaten zonder stekker moot alleen door geschoold personeel worden aangesloten. Bij schade door een verkeerde aansluiting kut u geen aanspraak makeen op garantie.
Gebruik het apparaat uitsluitend:
om voedsel en dranken te bereiden.
- voor huishoudelijk gebruik en in gesloten ruimtes binnen de huiselijke omgeving.
tot een hoogte van 4000 m boven zeeni-veau.
Gebruik het apparaat Niet:
met een externe schakelklok of een afstandsbediening.
1.3 Inperking van de gebruikers
Dit apparatus kan worden bediend door kinderen vanaf 8aar en door personen met fysieke, sensorische of geestelijkke beperkingen of met
gebrekkige ervaring en/of kennis, indien zich onder toezicht staan of zich geinstrueerd in het veilige gebruik van het apparaat en de waaruitresulterende bevaren hebben begrepen.
Kinderen mogen Niet met het apparaat spelen. Reiniging en gebruikersondoud mogen Niet worden uitgevoerd door kinderen, tenzij ze 15aar of ouder zich en onder toezicht staan.
Zorg ervoor dat kinderen diejonger zichn dan 8\ aar Niet bij het apparaat of de aansluitkabel\ kunnenkommen.
1.4 Veiliger gebruik
Accessoires altijd op de juiste manier in de binnenruimte schuiven.
"Accessoires", Pagina 83
In de binnenruimte bewaarde brandbare voorwerpen können ylam vatten.
Bewaar nooit brandbare materialen in de binnenruimte.
Wanner er rook wordt geproduerd moet het apparaat worden uitgeschakeld of de zekering worden uitgeschakeld en moet de deur gesloten worden gehonden om eventueel optredende vlammen te doven.
Losse voedselresten, vet en vleessap kunnene in brand vliegen.
Voor gebruik dient u de binnenruimte, de verwarmingselementen en de accessoires vrij te make n van grove verontreiniging.
Bij het openen van de apparaatdeur ontstaater een luchtstroom. Het bakpapier kan dan deverwarmingselementen raken en vlam vatten.
- Plaats nooit bakpapier bij het voorverwarmen enijdens het bereiden los op het accessoire.
Bakpapier altijd op maat make n en verzwa- ren met een vorm.
WAARSCHUWING - Kans op brandwon-den!
Tijdens het gebruik worden het apparaat en haar onderdelen die men kan aanraken heet.
Wees voorzichtig om het aanraken van verwarmingselementen te voorkomen.
- Kinderenjonger dan 8aar moetenuit debuurt worden gehonden.
Accessoires of vormen worden zeer heet.
- Neem hete accessoires en vormen alkijd met behulp van een pannenlap uit de binnenruimte.
In de hete binnenruimte kuren alcoholdampen vlam vatten. De apparaatdeur kan openspringen. Er kuren hete dampen en stekvlammen maar buiten treden.
- Gebruik slechts geringe hoeveelheden drank met een hoog alcoholpercentage.
- Geen alcoholhoudende dranken (≥ 15%) vol.) in onverdunde toestand (bijv. voor het opgieten of overgieten van gerechten) verhitten.
- Apparaatdeur voorzichtig openen.
De telescooprails worden heet bij het gebruik van het apparatus.
Laat hete telescopische rails afkoelen voor dat u deze aanraakt.
- Raak de telescopische rails uitsluitend aan met pannenlappen.
WAARSCHUWING-Kans op verbranding!
Tijdens het gebruik worden de toegankelijkke onderdelen heet.
Dehete onderdelen nooit aanraken.
Zorg ervoor dat er geen kinderen in de buurt zijn.
Bij het openen van de apparaatdeur kan hete stoom vrijkomen. Stoom is afhankelijk van de temperatuur Niet altijd zichtaar.
- Apparaatdeur voorzichtig openen.
Zorg ervoor dat er geen kinderen in de buurt zijn.
Door water in de hete binnenruimte kan hete waterdamp ontstaan.
- Nooit water in de hete binnenruimte gieten.
WAARSCHUWING-Kans op letsel!
Wanner er krassen op het glas van de apparaatdeur zitten, kan dit barsten.
- Gebruik geen scherp of schurend reinigings-middel of scherpe metalen schraper voor het reinigen van het glas van de overendur omdat dit het oppervlak kan beschaden.
Het apparaat en de delen ervan die aangerakt können worden können scherpe randen hebben.
Wees voorzichtig bij gebruik en reinigen. - Draag indien möglichkeeiligeidshandschoenen.
Bij het openen en sluiten van de apparaatdeur bewegen de scharnieren zich en+kennen zeklem komen te zitten.
- Kom nicht met uw handen bij de scharnieren. Bepaalde onderdelen in de apparaatdeur kūnen scherpe randen hebben.
Draag veiligheidshandschoenen.
WAARSCHUWING - Kans op elektrischeschok!
Ondeskundige reparations zijn gevaarlijk.
Alleen waarvoor geschoold vakpersoneel mag reparaties aan het apparaat uitvoeren.
Erogen uitsluitend originele reserveonderdelen worden gebruikt voor reparatie van het apparaat.
- Als het netsnoer van dit apparaat beschadigd raakt, moet het ter vermijding van risico's worden verrangen door de fabrikant, de servicedienst of een andere gekwalificeerde person.
Een beschadigde isolatie van het netsnoer is gevaarlijk.
- Nooit het aansluitsnoer met hete apparaatonderdelen of warmtebronnen in contact brengen.
- Nooit het aansluitsnoer met scherpe punten of randen in contact brengen.
- Het aansluitsnoer nooit knikken, knellen of veranderen.
Binnendringend vocht kan een elektrische schok veroorzaken.
- Geen stoomreiniger of hagedrukreiniger gebruiken om het apparaat te reinigen.
Een beschadigd apparaat of een beschadigd netsnoer is gevaarlijk.
- Nooit een beschadigd apparaat gebruiken.
- Neem contact op met de klantenservice.
Pagina 94
Na de installmentie van het apparaat mogen de openings in dechterwand van het apparaat Niet toegankelijk+zijn.
Houd het speciale installmentevoorschrift aan.
WAARSCHUWING-Kans op verstikking!
Kinderen können verpakkingsmaterial over het hoofd trekken en hierin verstrikt raken en stikken.
- Verpakkingsmaterialui de buurt van kinderen honden.
- Laat kinderen nicht met verpakkingsmaterialial spelen.
Kinderen könnenkleine onderdeleninademen ofinslikkenen hierdoor stikken.
- Kleine onderdelen uit de buurt van kinderen honden.
- Kinderen nicht met keine onderdelen latent spelen.
1.5 Halogeneenlamp
WAARSCHUWING-Kans op brandwon-den!
De lampen in de binnenruimte worden heel heet. Ook enigeijd na het uitschakelen bestaat er nog een risico van verbranding.
Glazen kapje nicht aanraken.
Tijdens het schoonmaken contact met de huid vermijden.
WAARSCHUWING - Kans op elektrischeschok!
Bij verranging van de lamp staan de contacten van de lampfitting onder spanning.
Zorg er voor het verrangen van de lamp voor dat het apparaat is uitgeschakeld, om een möglichke elektrische schok te voorkomen.
- Tevens de zekering in de meterkast uitschakelen.
2 Materièle schade vermijden
2.1 Algemeen
LET OP
Alcoholdampen können in de hete binnenruimte ontvlammen en tot een permanente beschadiging van het apparaat leiden. Door de explosieve verbranding kan de apparaatdeur openspringen en er eventueel afvallen. De deurramen können kapot gaan en versplinteren. Door de onderdruk die ontstaat kan de binnenruimte maar binnen sterk verrormen.
- Geen alcoholhoudende dranken (≥ 15%) vol.) in on-verdunde toestand (bijv. voor het opgieten of overgieten van gerechten) verhitten.
Water op de bodem van de binnenruimte bij temperatu- ren boven de 120^ leidt tot schade aan het@email. - Geen programme starten wanner zich water op de bodem van de binnenruimte bevindt.
- Voor gebruik het water van de bodem van de binnenruimte opnemen.
Als de temperatuur hoger is dan 50^ ontstaat er warmteophoping door voorwerpen op de bodem van de binnenruimte. De bak- en braadtijden kloppen Niet meer en het email worden beschadigd.
- Nooit toebehoren, bakpapier of folie, van welke soort dan ook op de bodem van de binnenruimte leggen.
- Uitsluitend een vorm op de bodem van de binnenruimte plaatsen wonneer een temperatuur van minder dan 50^ ingesteld is.
Wanner de hete binnenruimte water bevat, ontstaat er waterdamp. Door de temperatuurverandering kan er schade optreden.
Giet nooit water in de hete binnenruimte.
- Zet nooit servies met water op de bodem van de binnenruimte.
Wanner er langerearend vocht aanwezig is in de binnenruimte ontstaat er corrosie.
Veeg het condenswater na elk bereiding af. Laat na een bereiding met hoge temperatures de binnenruimte uitsluitend met gesloten deur lately afkoelen.
- Bewaar geen vochtige levensmiddelen gedurende langereijd in de gesloten binnenruimte.
Bewaar geen gerechten in de binnenruimte.
Klem niets tussen de apparaatdeur.
Vruchtensap dat van de bakplaat druppelt,That vlekken.
achter die Niet更是kunnen worden verwijderd.
-
De bakplaat bij zeer vochtig vruchtengebak Niet te overvloedig bedekken.
-
Gebruik zo möglichk de diepere braadslede.
Gebruik van ovenreiniger in de warme binnenruimte leidt tot beschadiging van het email.
- Gebruik nooit ovenreiniger in de warme binnenruimte.
- Voör het opnieuw opwarmen de resten uit de binnenruimte en van de apparaatdeur volledig verwijderen. Is de afdichting sterk verruild, dan sluit de deur tijdens het gebruik Niet meer goed. De aangrenzende meubelfronten können dan beschadigd raken.
Zorg ervoor dat de afdichting alsijd schoon is. - Nooit het apparaat met beschadigde afldichting of zonder afldichting gebruiken.
Wanner de apparaatdeur worden gebruikt als vlak om iets op te zetten of te leggen kan de apparaatdeur beschadigd raken.
- Niets op de apparaatdeur zetten, er aan hangen of la-ten steunen.
- Geen vormen of accessoires op de apparaatdeur plaatsen.
Afhankelijk van het apparaatype konnen de accessoires krassen veroorzaken op de ruit dan de apparaatdeur wanner deze gesloten worden.
- Accessoires.altijd op de juiste manier in de binnenruimte leggen.
Door aluminiumfolie aan de deurruit hunnen permanente verkleuringen ontstaan.
Aluminiumfolie in de binnenruimte mag nicht in contact komen met de deurruit.
3 Milieubescherming en besparing
3.1 Afvoeren van de verpakking
De verpakkingsmaterialen zijn milieuvriendelijk en kūnen worden hergebruikt.
- De afzonderlijke componenten op soort gescheden afvoeren.
3.2 Energie bespare
Als u deze aanwijzingen opvolgt, verbruikt uw apparaat minder stroom.
Het apparaat alleen voorverwarmen, wanner het recept of de instellingsadviezen dat aangehen.
"Zolukt het", Pagina 95
- Wonneer u het apparaat Niet voorverwarmt, dan bespaart u tot wel 20% energia.
Gebruik donkere,zwart gelakte of geemailleerde bakvormen.
Deze bakvormen nemen de hitte bijzonder goed op.
Open de apparaatdeur tijdens de bereiding zo weinig möglichk.
- De temperatuur in de binnenruimte blijft constant en het apparaat hoeft nicht na te verwarmen.
Meerdere gerechten direct anschter elkaar of parallel bakken.
De binnenruimte is na de eerste keer bakken opgewärmed. Hierdoor is de baktijd voor het gebak dat vervolgens worden gebakken korter.
Bij langere bereidingsstijden het apparaat 10 Minutes voor het einde van de bereidingsstijd uitschakelen.
- De restwärme is voldoende om het gerecht verder te bereiden.
Verwijder Niet gebruekte accessoires uit de binnenruimte.
Overtollige accessoires hoeven nicht verwarmd te worden.
Laat diepgevroren producten voír de bereiding ontdooi-en.
Hierdoor worden bespaard op de energia om het voedsel te ontdooien.
Opmerking: Volgens de richtig 2023/826 eisen inzake ecologisch ontwerp is er bij dit apparaat inuitgeschakelde toestand sprake van een andere toestand. Deze worden hierna als spaarstand aangeduid.
Ook wanner de hoofdfunctie Niet actief is, heeft het apparaat energie nodig voor:
- Detectie van de bediening van de sensortoetsen
Bewaking van de deuropening
Bewerking van de tijd (zonder display)
Per definitie is er dus noch spreke van een "Uit", nog van een "standby-stand", en waarom worden de aandui-ding Spaarstand gebruikt. Voor de meting van de spaar-stand要去 de norm EN IEC 60350-1:2023 worden gebruikt.
4 Uw apparatusl leren kennen
4.1 Bedieningspaneel
Via het bedieningsveld kut u alle functies van uw apparaat instellen en informatie krijgen over de gebruikstoestand.
Opmerking: Afhankelijk van het apparaatype kutnen detalls op de afbeelding verschillen, bijv. de kleur en de vorm.

Knoppen
Met de knuppen kies je de verschillende functies direct.
Opmerking: Wanner een knop geen functie heeft, dan klinkt een signal.
Symbool Knop Toelichting
| ◎ | Tijdfuncties De timer, de tijsdsduur, het einde en dearend instellen |
| - | Min De instelwaarde verlagen |
| + | Plus De instelwaarde verhogen |
| △ | Verlichting De verlichting van de binnenruimte inschakelen en uitschakelen |
| ×××=3 | Snel voorverwarmen Snel voorverwarmen in- en uitschakelen |
| ×××=3 | Kinderslot Kinderslot in de Spaarstand activeren en deactiveren |
Display
Op het display ziet u de actuèle instelwaarden of keuzemogelijkheden.
De waarde die u kunt instellen staat in de focus. De waarde worden in het wit weergegeven gegen een donke-ere achtergrund.
Symbool Toelichting
| »»» | Snel voorverwarmen |
| ♀ | Timer |
| I→I | Tijdsduur |
| →I | Einde |
| ◎ | Tijd |
Symbool Toelichting
| 88:88jdsweergave | |
| I | Opwarmindicatie |
| ←→ | Kinderslot |
| 888 | Temperatuurindicatie |
Temperatuurknop
Met de temperatuurknop stelt u de temperatuur of de grillstand in.
Opmerking: Tot 100^ kan de temperatuur in stappen van 1 graad worden ingesteld, waarboven in stappen van 5 graden.
Temperatuurregeling
De balken van de temperatuurregeling geven de opwar-mingsfasen of de restwarmte in de binnenruimte aan.
| Opwarmfase Betekenis | |
| Verwarmings-controle | De verwarmingscontrole geeft de tem- peratuurverhoging in de binnenruimte weeR. Wanner alle balken zich gemvuld, is het optimale tijdstip bereikt om het gerecht in het apparaat te schuiven. |
| Opwarmfase Betekenis | |
| Bij de grillstanden zijn de balken ge-vuld. Bij de verwarmingsmethode boven-/onderwarmte worden de balken nichtgevuld. | |
| Restwarmte-in- dicatie | Wanner het apparaatuitgeschakeld is, geeft de temperatuurcontrole de restwarmte in de binnenruimte wee. Deindicatie verdwijnt wanneer de tem-peratuur tot ca. 60°C gedaald is. |
4.2 Verwarmingsmethoden en functies
Om.altijd de passende verwarmingsmethode voor uw gerechten te+kunnen bepalen,geven wij uitleg over de verschilen en toepassingen.
Opmerking: Bij elke verwarmingsmethode geeft het apparaat een voorgestelde temperatuur of stand weer. U kunt deze overnemen of in het betreffende bereik wijzigen.
| Symbool Verwarmingsmethode of functie | Temperatuur of stand Gebruik | |
| 3D-hetelucht 50-280°C Gerechten op 1-2 niveaus bereiden. De ventilatoren ver-delen de warmte van de Ronde verwarmingselementen in dechterwand gelijkmatig in de binnenruimte.Deze verwarmingsmethode worden gezrukt voor het bepa-len van het energieverbruik in de circulatieluchtmodus. | ||
| Circulatielucht 50-280°C Taart en gebak op eeniveau bakken. De ventilatoren verdelen de warmte van de verwarmingselementen gelijk-matig in de binnenruimte. | ||
| Pizzastand 50-280°C Verse pizza of diepvriesproducten bereiden, bijv. patat of strudel. De verwarmingselementen en ventilatoren verdelen de hitte gelijkmatig in de binnenruimte. | ||
| Ontdooien 30-60°C Ontdooien van levensmiddelen, bijv. vlees, gezogelte, brood en gebak. De ventilator wervelt de warme lucht rond het gerecht. | ||
| Onderwarmte 50-280°C Gerechten nagaren. De warmte komt van anderen. | ||
| Grill, Klein Grillstanden:1 = laag2 = gemiddeld3 = hoog | Kleine hoeveelheden grillen, bijv. steaks, worstjes, toast en stukken vis. Het middelste deel van het grillelement wordt heet. | |
| Grill, groot Grillstanden:1 = laag2 = gemiddeld3 = hoog | Platte grillstukken, bijv. steaks, worstjes of toast grillen, of om te gratineren. Het hele oppervlak onder de grill worden heet. | |
| Circulatieluchtgrill 50-280°C Vlees, gezogelte en hele vis braden. De ventilator wervelt de hete lucht rond het gerecht. | ||
| Boven/ onderwarm- te Eco 50-280°C Voor het gezond bereiden van geselecteerde gerechten (bijv. vlees, groente) op eeniveau, zonder voorverwar-men. De verwarmingsmethode is Niet geschikt voor ge-rechten die bij het bakken要去en rijzen (bijv. brood). De-ze verwarmingsmethode worden voor het bepalen van het energieverbruik in de conventionele modus en de energia-efficientiekasse gezrukt. | ||
| Boven- en onder- warmte 50-280°C Gebak, overschotels en magere braadstukken bereiden. De warmte kommt gelijkmatig van boven en van anderen. | ||
4.3 Binnenruimte
Functies voor de binnenruimte vergemakkelijken het gebruik van uw apparaat.
Inschuifhoogtes
De binnenruimte heeft 4 inschuifhoogtes.
Schuif de accessoire altijd tot aan de aanslag er in, zo dat het accessoire de deurruit Niet raakt. Het accessoire op de juiste manier in de binnenruimte schuiven.

Zelfreinigende oppervlakken
De hinterwand en de bijwanden in de binnenruimte zijn zelfreinigend. De zelfreinigende oppervlakken in de binnenruimte zijn voorzien van een laagje poreus, mat keramiek en hebben een ruw oppervlak. Wanner het apparaat in gebruik is, nemen de zelfreinigende oppervlakken vetspetters van het bakken, braden of grillen op en breken deze af.
Verlichting van de binnenruimte
Wanner u de apparaatdeur opent, gaat de verlichting van de binnenruimte aan. Wanner de apparaatdeur geopend blijft, dan schakelt de verlichting na een korte tijd weeer UIT.
Bij de meeste functies schakelt de verlichting van de binnenruimte in zodra het gebruik worden gestart. Wanner de werkig beeindig is, gaat de verlichting UIT.
Opmerking: Bij de functie Eco Boven/ onderwarmte wordt de verlichting van de binnenruimte na ca. 1 minuut automatisch uitgeschakeld. U kunt de verlichting van de binnenruimte met Ainschakelen.
Koelventilator
De koelventilator worden zo nodig in- en uitgeschakeld. De warme lucht ontsnapt via de deur van het apparaat.
LET OP
Door het afdekken van de ventilatiesleuven raakt het apparaat oververhit.
Dek de ventilatiesleuven Niet af.
Omervoortzorgendat na gebruik de binnenruimtesneller afkoelt,loopt de koelventilator een bepaalde tijda.
Apparaatdeur
Wanneru tijdens het gebruik de apparaatdeur opent, wordt de werking stopgezet. Zodra u de deur sluit, wordt de werking hervat.
Om ervoor te zorgen dat de apparaatdeur Niet het inbouwmeubel raakt, opent de apparaatdeur ie's mindenan 90^
Condensvorming
Hier leest u hoe condens ontstaat, hoe u schade kunt voorkomen en hoe u condensvorming kunt reduceren. Bij de bereiding van levensmiddelen kan er veel water-damp ontstaan in de binnenruimte. Omdat het apparaat zeer energie-efficient is, komt erijdens het gebruik slechts weinig warmte maar buiten. Door de hoge temperatuurverschillen:tussen de binnenruimte van het apparaat en de buitenste apparaatonderdelen kan condensvorming optreden bij de apparaatdeur, het bedienningspaneel of aangrenzende meubelfronten. De vorming van condens is een normala naturkundig verschijnsel.
Veeg om schade te voorkomen het condens af. Wanner er zich condenswater in de lekgoot verzameld, het condenswater met een sponsviwijderen. Een overlopende lekgoot kan het inbouwmeubel beschadigen. Laat het apparaat met geopende apparaatdeur drogen. Als u het apparaat voorverwarmt, worden er minder condens gezormd.
5 Accessoires
Gebruik alleen originele accessoires. Deze zijn op het apparaat afgestemd.
Opmerking: Wonneer de accessoires heet worden, kuren deze cervormen. De cervorming hebft geen invloed op de werking. De cervorming verdwijnt wee nadat de accessoires zijn afgekoeld.
De meegeleverde accessoires können variieren, afhankelijk van het type apparaat.
| Accessoires Gebruik | |
| Rooster Servies | Bakvormen Vlees, bijv. braad- of grillstukken Diepvriesgerechten |
| Braadslede Vochtig gebak | Gebak Diepvriesgerechten Grote braadstukken Tip: U=kunt de braadslede gebruiken om vet op te vangen, wanneer u direct op het rooster grillt. |
| Bakplaat Plaatgebak | ● ● Kleine bakwaren |
| Telescopische railset Met de uitschuifrails kunt u de accessoires | verder maar buiten trekken. |
| Veiligheidsspennen Scharnieren blokkerein. | Opmerking: Gooi de veiligheidsspennen nicht weg. Bewaar de veiligheidsspennen op een voeilige plek. U heeft de veiligheidsspennen.altijd nodig, wonneer u de deur van het apparaat verwijdert of de deurruiten reinigt. |
5.1 Meer accessoires
Meer accessoires=kuntukopen bij de serviceddienst,inspecialzakenofophetinternet.
U vindt een uitgebrecht aanbod voor uw apparaat in once folders of op internet:
Voor de verschillende apparaten zijn specifieke accessoires beschikbaar. Geef bij de aankoop algid de precieze aanduiding (E-nr.) van uw apparaat op.
Welke accessoires beschikbaar zijn voor uw apparaat,(Intu zien in de online-shop of navragen bij de klantenservice.
| Overige accessoires Gebruik | |
| Rooster Servies | BakvormenVlees, bijv. braad- of grill-stukkenDiepvriesgerechten |
| Bakplaat Plaatgebak | Kleine bakwaren |
| Braadslede Vochtig gebak | GebakDiepvriesgerechtenGrote braadstukken |
| Telescopische railset Telescopische rails set voor eeniveau | |
5.2 Vergrendelingsfunctie
De vergrendelingsfunctie voorkomt dat de accessoires kantelen wanner ze worden uitgetrokken.
U kurz het toebehoren tot ongeveer de helft uittrekken, tot deze vastklassit. Schuif de accessoire allijd correct in de binnenruimte, zodate de kantelbeveiliging functioneert.
5.3 Accessoire in de binnenruimte schuiven
LET OP
Bij onvoorzichtig inschuiven van accessoires in de binnenruimte kan het@emailbe schadigd raken.
Schuif de accessoires voorzichtig met beiden handen in de oven.
"Accessoire in de binnenruimte schuiven",
Pagina 84
- Het accessoire zo draaien, dat de pal aizich aan de achterkant bevindt en maar beneden wijst.
- De accessoire alltijd tussen de beiden geleidestangen van een inschuifhoogte plaatsen.
Rooster De open kant要去 nad de apparaatdeur en de kromming aan beneden -wijzen.

Plaat, bijv. braadslede of bakplaat
De schuine kant van het accessoire moet aan de voorkant waar de apparaatdeur wijzen.

- Om de accessoires bij inschuifhoogten met telescooprails te plaatsen, de telescooprails uittrekken.
Rooster of plaat
De accessoires zo plaatsen dat derand van de accessoires achefter het lipje abp de telescooprail zit.

Opmerking: Volledig uitgetrokken klikken de telescooprails in. De telescooprails met een lichte druk terugschuiven in de binnenruimte.
- Het toebehoren er volledig inschuiven, zodat het de apparaatdeur nicht raakt.
Opmerking: Haal de accessoires die u Niet nodig hebt bij het gebruik uit de binnenruimte.
6 Voor het eerste gebruik
Stel de opties voor het eerste gebruik in. Reinig het apparaat en de accessoires.
6.1 Tijd instellen
Na het aansluiten knippert op het display 2 het symbool Obrandt. Stel de tijd in.
- Met +of -deijd instellen.
2.Druk op 念
Opmerking: Na het verstreijken van de insteltijd worden de tijd automatisch opgeslagen.
6.2 Apparaat reinigen voordat u het voor deeerste keer gebruikt
Voordat u voor het eerst gerechten klaarmaakt met het apparaat dient u de binnenruimte en de accessoires te reinigen.
- De accessoires en de rekjes uit de binnenruimte nemen. Pagina 91
- Verpakkingsresten zoals stukjes piepschuim vollediguit de binnenruimte verwijderen.
-
Enkele onderdelen zich voorzien van kraswerende folie. Verwijder de kraswerende folie.
-
Reinig de buitenkant van het apparaat met een zachte, vochtige doek.
- Binnenruimte schoonmaken met zeepsop.
- Warm het lege, gesloten apparaat op, om de typische geur van een/New apparaat te verwijden.
- Draai de functiekeuzeknop op
- Maximale temperatuur instellen.
Wanneer u het apparaat voor de eerste keer verwarmd, hunnen knisperende geluiden uit de binnenruimte hoorbaar�. - Ventileer de keuken zolang het apparatusat verwarmt.
- Het apparatusat na 1aar uitschakelen.
11.Laat het apparaat afkoelen. - Reinig wanner de binnenruimte afgekoeld is, de gladde oppervlakken met zeepsop.
13.De rekjes inbouwen. Pagina 91
14.Zo nodig de ruiten van de deur schoonmaken. Pagina 91
6.3 Accessoires reinigen
- Reinig de accessoires grondig met zeepsop en een zacht schoonmaakdoekje.
7 De Bediening in essentie
7.1 Apparaat inschakelen
- Met de functiekeuzeknop de verwarmingsmethode instellen.
Voor elke functie is een standaardtemperatuur of grillstand vooringesteld. - Met de temperatuurknop de temperatuur of grillstand kiezen.
Het apparatus begint op te warmen.
Opmerking: De temperatuurregeling geeft de actuèle status van het opwarmen aan.
7.2 Verwarmingsmethode en temperatuur wijzigen
- Met de functiekeuzeknop het verwarmingsmethode wijzigen.
- Met de temperatuurknop de temperatuur of grillstand wijzigen.
7.3 Uitschakelen van het apparatus
De functiekeuzeknop op de nulstand draaien.
7.4 Snel voorverwarmen inschakelen
Druk op de binnenruimte snel voor te verwar-men.
Opmerking: Snel voorverwarmen is beschikkaar bij 3D-hetelucht, circulatie, pizzastand en boven /onderwarmte.
7.5 Automatische uitschakeling
Het apparaat beschikt over een automatische uitschakeling. Het apparaat schakelt zich na 13 uu r automatischuit.
8 Tijdfuncties
8.1 Overzicht van deijdfuncties
Hier vindt u een overzicht van de tijdfuncties.
| Symbool Tijdfunctie Gebruik | |
| Δ | Timer De timer functioneert als een eierwekker. Deze loopt onafhankelijk van het ge- bruik en andere tijdfuncties en beinvloedt het apparaat Niet. |
| L | Tijd Zolang er geen andere functie op de Voorgrond loopt, worden deijd op het display aangegeven. |
| |→| | Tijdsduur Na het verstreijken van een ingestelde tijdsduurbeeindigt het apparaat de werkung automatisch. |
| →| | Einde Voer de tijdsduur en een gewenste eindtijd in. Het apparaat start automatisch, zo-dat de werkung op het gewenste tijdstip beeindigd is. |
8.2 Timer instellen
De timer heeft geen invloed op de functies van de oven.
Opmerking: U kurz de tijsdsduur van de timer instellen van 30 seconden tot 13 uur instellen. Tot 10 minutes kurz u de tijsdsduur instellen in stappen van 30 Seconden, van 10 minuteu toen een uur in stappen van een minuut, daarna in stappen van 5 minuteu.
- Druk op
brandt. - Met +en -de gewenste tijsdsduur instellen.
Na het verstreijken van de tijdsduur klinkt een signaal.
Opmerkingen
- Om de resterende looptijd te wijzigen, op Drukken en met +of -de resterende looptijd wijzigen.
- Om de timer af te breken de resterende looptijd op nul zetten.
Geluidssignaal uitschakelen
- Om het geluidssignaaluit tschakelen, op een willekeurige knop drukken of de apparaatdeur openen.
Opmerking: Na korteijd eindigt het signal automatisch.
8.3 Tijd instellen
Indien nodig(Int)kunt u de tijd wijzigen, bijv. van zomertijd aan wintertijd.
Vereiste: Het apparatus is uitgeschakeld.
- Druk op Ctotodat Brandt.
- Met +en -e tijd instellen.
8.4 Tijdsduur instellen
U kunt voor uwgerecht op het apparaat de vereidingsduur instellen. Zo worden de vereidingsduur Niet per ongeluk overschreden en hoeft u andere werkzaamheden Niet te onderbreken om de werking te beeindigen.
- De verwarmingsmethode en de temperatuur instellen.
- Het apparaat start.
- Twee keer op Odrukken.
- Met ten de tijdsduur instellen.
U kurz de tijdsduur van 30 seconden tot 13 uur instellen. Tot een uur kurz u de tijdsduur in stappen van
minutes en daarna in stappen van 5 minutes instellen.
- I→brandt.
Werking beeindigen
Wanner de tijdsduur is verstreten, klinkt er een geldssignaal. Het apparaat verwarmt nicht longer.
- Om het geluidssignaaluit te schakelen, op een willekeurige knop drukken of de apparaatdeur openen. Na korteijd eindigt het signaal automatisch.
- De functiekeuzeknop op de nulstand draaien.
8.5 Eindeinstellen
De werkking voor de ingestelde tijsdsduur begint op een door u gekozen, later tijdstip.
- De verwarmingsmethode en de temperatuur instellen.
Het apparatus start. - Twee keer op Drukken.
- Met ten de tijsdsduur instellen. U kurz de tijsdsduur van 30 seconden tot 13 uur instellen. Tot een uur kurz u de tijsdsduur in stappen van minutes en daarna in stappen van 5 minutes instellen.
- I→brandt.
- Druk op
- Met +of -de eindtijd instellen. Zodra de knop worden ingedrukt toont het display een voorstelwaarde. De voorgestelde waarde komt voortuit de actuele tijd en de tijsdsduur.
1 brandt.
Het display toont de eindtijd. Het apparaat schakelt in de wachtmodus.
Werking beeindigen
Wanner de tijdsduur is verstreten, klinkt er een geldssignaal. Het apparaat verwarmt nicht longer.
- Om het geluidssignaaluit te schakelen, op een willekeurige knop drukken of de apparaatdeur openen. Na korteijd eindigt het signaal automatisch.
- De functiekeuzeknop op de nulstand draaien.
9 Kinderslot
Beveilig uw apparaat, zodat kinderen het Niet per ongeluk inschakelen of instellingen wijzigen.
9.1 Kinderslot activeren
Vereiste: Het apparaat is uitgeschakeld.
Druk ca. 4 seconden lang op
Op het display verschijnt
10 Basisinstallingen
U kurz de basisinstellungen van uw apparaat volgens uw wensen instellen.
10.1 Overzicht van de basisinstellungen
Hier vindt u een overzicht van de basis- en fabrieksinstellen. De basisinstellenen zich afhankelijk van deuitvoering van uw apparaat.
| Indicatie Basisinstalling Keuze | |
| c01 | Signaalduur na het verstreijken van een tijdsduur of timer-tijd = ca. 10 seconden2 = ca. 30 seconden13 = ca. 2 minutes |
| c02 | Wachtijd totdat een instelling is overgenomen = ca. 3 secondden12 = ca. 6 seconden3 = ca. 10 seconden |
| c03 | Toetssignaal bij het aanraken van een knop =uit01 = aan1 |
| c04 | Helderheid van de displayverlichting = donker12 = gemiddeld13 =helder |
| c05 | Weergave van de tijd = Tijdsweergave UIT01 = Tijd weergeven1 |
| c06 | Verlichting van de binnenruimte bij gebruik = nee01 = ja1 |
| c07 | Nalooptijd van de koelventilator = kort12 = gemiddeld3 = lang4 = extra lang |
| c08 | Alle waarden maar de fabrieksinstelling terugzetten = nee01= ja |
10.2 Basisinstallingen wijdigen
Vereiste: De functiekeuzeknop staat op de nulstand.
- Druk ca. 4 seconden lang op 念
Het display toont de eerste basisinstelling, bijv. cai t - Draai aan de temperatuurknop om de instelling te wijzigen.
- Druk op +om maar de volgende basisinstelling te gaan.
- Druk ca. 4 seconden lang op om de instelling te bevestigen.
Tip: U kurz de basisinstallingen op elk moment opniew wijzigen.
Opmerkingen
-
De demonstratiemodus kurz uuitsluitend in de eerste 5 minuten na aansluiting op het stroomnet activeren.
-
Na een stroomonderbreking blijven de ingevoerde wijzigingen van de basisinstellungen behouden.
10.3 Energiebesparingsmodus instellen
U kurz energia besparen door de helderheid van het display te verminderen.
- De helderheid van het display instellen in de basisinstelling c^
Opmerking: De instelling wijzigt de helderheid van het displayijdens het gebruik. In de spaarstand worden de helderheid van het display automatisch gereduceerd.'s Nachtsussen 22:00 en 05:59 eer is het display het minst helder.
11 Reiniging en onderhoud
Reinig en onderhoud uw apparaat zorgvuldig om er voor te zorgen dat het lang goed blijft werken.
11.1 Reinigingsmiddelen
Gebruik om de verschillende oppervlakken van het apparaat Niet te beschadigen geen ongeschichte schoonmaakmiddelen.
WAARSCHUWING-Kans op elektrische schok!
Binnendringend�回t kan een elektrische schok veroorzaken.
- Geen stoornreiniger of hagedrukreiniger gebruiken om het apparaat te reinigen.
LET OP
Ongeschikte reinigingsmiddelen beschadigen de oppervlakken van het apparatus.
- Gebruik geen scherpe of schurende reinigingsmidden.
-
Gebruik geen sterk alcoholhoudende reinigingsmiddelen.
-
Gebruik geen harde schuursponsjes of afwassponsies.
- Geen speciale reinigingsmiddelen gebruiken voor de warmtereiniging.
- Glasreinigers, schrapers of onderhoudsmiddelen voor roestvrij staal alleen gebruiken wanner deze in de gebruiksaanwijzing voor het betreffende onderdeel worden aanbevolen.
Gebruik van ovenreiniger in de warme binnenruimte leidt tot beschadiging van het email.
- Gebruik nooit ovenreiniger in de warme binnenruimte.
Voor het opnieuw opwarmen de resten uit de binnenruimte en van de apparaatdeur volledig verwijdenen.
Het zout dat in neue absorberende vaatdoekjes zit kan oppervlakken beschadigen.
- Nieuwe vaatdoekjes voor het gebruik grondig uitwassen.
11.2 Geschekte schoonmaakmiddelen
Gebruik alleen geschiktre reinigingsmiddelen voor de verschillende oppervlakken van uw apparaat.
Buitenzijde apparaat
Houd de handleiding aan voor het reinigen van het apparaat.
| Gebied Geschikte schoonmaakmidde- len | Aanwijzingen | |
| Voorzijde van roest- vaststaal | ·Warm zeepsop ·Speciale RVS-onderhoudsmid- delen voor warme oppervlak- ken | Om corrosie op RVS-oppervlakken te vermijden, kalkvlek- ken, vetvlekken, zeitmeelvlekken en eiwitvlekken onmiddel- lijk verwijderen. Verzorgingsmiddel voor roestvaststaal dun aanbrengen. |
| Bedieningspaneel Warm zeepsop Reinigen met een schoonmaakdoekje en nadrogen met een zachtete doek. Gebruik geen glasreiniger of schraper voor vitrokerami- sche kookplaat. | ||
| Ruiten van de deur Warm zeepsop Reinigen met een schoonmaakdoekje en nadrogen met een zachtete doek. Gebruik geen schraper of rvs-schuursponsje. | ||
| Deurgreep Warm zeepsop Reinigen met een schoonmaakdoekje en nadrogen met een zachtete doek. Om vlekken die nicht meer verwijderd+kennen te voorkomen, het ontkalkingsmiddel direct van de deur- greep verwijderen. | ||
Binnenzijde apparatus
| Gebied Geschikte schoonmaakmidde- len | Aanwijzingen | |
| Emaille oppervlakken Warm zeepsop • Azijnwater • Ovenreiniger | Reinigen met een schoonmaakdoekje en nadrogen met een zachtie doek. Ingebrande etensresten met een zacht, vochtige doek en heet zeepsop losweken. Bij sterke verruiling een schuurresponsje van roestvrij staal of ovenreiniger gebruiken. De binnenruimte na het schoonmaken openlaten om te drogen. Opmerking: Door voedselresten kan een witte aanslag ontstaan. De aanslag is Niet gevaarlijk voor de gezond- heid en beinvloedt de werkung van het apparaat nicht. U kunt de aanslag met citroenzuur verwijderen. | |
| Zelfreinigende opper- vlakken | Houd de aanwijzingen aan voor de oppervlakken van de binnenruimte aan het einde van de tabel. → "Zelfreinigende oppervlakken reinigen", Pagina 90 | |
| Gebied Geschikte schoonmaakmidde- len | Aanwijzingen | |
| Glazen afterscherming van de verlichting van de binnenruimte | Warm zeepsop Ovenreiniger | Reinigen met een schoonmaakdoekje en nadrogen met een zachte doek. Gebruik bij sterke verontreiniging ovenreiniger. |
| Ruiten van de deur Warm zeepsop Reinigen met een schoonmaakdoekje en nadrogen met een zachte doek. Gebruik geen schraper of rvs-schuursponsje. Tip: Reinig de deurruiten het beste samen met de binnen-ruimte. → "Binnenruimte reinigen", Page 90 | ||
| Deurafdichting Warm zeepsop Reinigen met een schoonmaakdoekje. De deurafdichting Niet verwijderen en nicht schuren. | ||
| Deurafscherming van roestvaststaal | RVS-reiniger Neem de aanwijzingen van de fabrikant in acht. Gebruik geen glasreiniger of schraper voor vitrokerami-sche kookplaat. Geen reinigingsmiddelen voor RVS gebruiken. Tip: Het Beste Aunt u de deurafscherming verwijderen. | |
| Deurafscherming van kunststof | Warm zeepsop Gebruik geen glasreiniger of schraper voor vitrokerami-sche kookplaat. Geen reinigingsmiddelen voor RVS gebruiken. Tip: Het Beste Aunt u de deurafscherming verwijderen. | |
| Rekjes Warm zeepsop Inweken en met een schoonmaakdoekje of een borstel reinigen. | ||
| Uittreksystem Warm zeepsop Met een schoonmaakdoekje of borstel schoonmaken. Om het smeervet Niet te verwijden, Aunt u de telescoop-rails het Beste in ingeschoven toestand reinigen. Niet in de vaatwasser reinigen. | ||
| Toebehoren Warm zeepsop Inweken en met een schoonmaakdoekje of een borstel reinigen. Wanner de accessoire sterk verontreinigid is, deze reini-gen met een RVS-spons. Tip: U Aunt geëmailleerde accessoires in de vaatwasser reinigen. | ||
Opmerkingen
- Geringe kleurverschillen op de voorzijde van het apparaat ontstaan door gebruik van verschillende materiaielen, zoals glas, kunststof en metaal.
- Donkere plekken bij de ruiten van de deur, lijkend op vegen, zichlichtreflexen van de verlichting van de binnenruimte.
- Het email wordeningebrand op zeer hoge temperatu- ren. Hierdoor kuren erkleine kleurverschillen ontstaan. De kleurverschillen zijn normal en hebben geen invloed op de werking. De smalle randen van de bakplaten kuren Niet volledig worden geemailleerd en kuren.daarom ruw+zijn.Dit heeft geen invloed op de corrosiebescheming.
11.3 Apparaat reinigen
Maak het apparaat schoon zoals voorgeschreveen, zodate verschillende onderdelen en oppervlakken Niet door een verkeerde reiniging of ongeschikte reinigingsmidden beschadigd raken.

WAARSCHUWING - Kans op brandwonden!
Tijdens het gebruik worden het apparaat enhaar onder-delen die men kan aanraken heet.
- Wees voorzichtig om het aanraken van verwarmings-elementen te voorkomen.
- Kinderenjonger dan 8aar moetenuit de buurt worden gehonden.

Losse voedselresten, vet en vleessap{kunnen in brand vliegen.
- Voor gebruik dient u de binnenruimte, de verwarmingselementen en de accessoires vrij te make n van grove verontreiniging.
Vereiste: De aanwijzingen voor de reinigingsmiddelen in acht nemen.
"Reinigingsmiddelen", Pagina 88
1. Het apparaat met heet zeepsop en een schoonmaakdoekje reinigen.
Voor sommige oppervlakken sunt u alternatieve reingingsmiddelen gebruiken.
"Geschikte schoonmaakmiddelen", Pagina 88
- Drogen met een zachte doek.
Tips
- Wanner u de binnenruimte na elk gebruik reinigt, können verontreinigungen nicht inbranden.
- Verwijder kalkvlekken, vetvlekken, zetmeelvlekken en eiwitvlekken algijd onmiddelijk.
Opmerking: Gebruik voor het bereiden van zeer vochtig gebak de braadslede.
Tip: Gebruik om de binnenruimte schoon te houden bij het braden geschikt gerei, bijvoorbeeld een braadslede.
11.4 Binnenruimte reinigen
WAARSCHUWING-Kans op brandwonden!
Tijdens het gebruik worden het apparaat enhaar onder-delen die men kan aanraken heet.
- Wees voorzichtig om het aanraken van verwarmings-elementen te voorkomen.
- Kinderenjonger dan 8aar moetenuit de buurt worden gehonden.
Vereiste: De binnenruimte is volledig afgekoeld.
- 0,4 I water midden op de bodem van de binnenruimte gieten. Gebruik geen gedestilleerd water.
- Met de functiekeuzeknop instellen.
- Met de temperatuurknop 50^ instellen.
-
Tijdens het reinigen controlleren of het water, dat in de lekgoot onder de apparaatdeur condenseert, Niet overstroomt.
-
Indien nodig met een spons opzuigen.
-
Na 18 minutes het apparaat uitschakelen.
- Laat het apparaat afkoelen.
- De binnenruimte met een doek reinigen.
11.5 Zelfreinigende oppervlakken reinigen
De zelfreinigende oppervlakken zijn voorzien van een laagje poreuze, matte keramiek. Spatten van het bakken en braden worden door deze laag opgezogen en afgebrozen terwijl het apparatus in gebruik is.
Vereiste: De binnenruimte is afgekoeld.
- Bruine of witte resten dan met water en een zachte spons verwijderen.
Opmerking: Op de zelfreinigende oppervlakken können vlekken ontstaan. Resten van suikers en eiwitten in levensmiddelen worden Niet afgeb broken en blijven hechten aan de oppervlakken. Roodachtige vlekken zijn resten van zouthoudende levensmiddelen, de vlekken zich geen roest. De vlekken zijn nicht gevaarlijk voor de gezondheid. De vlekken hebben geen invloed op het reinigende vermogen van de zelfreinigende oppervlakken.
11.6 Lamp van de binnenruimte verrangen
Vervang de lamp van de binnenruimte wanner de binnenruimteverlichting is uitgevallen.
Opmerking: Hittebestendige 230V-halogeenlampen, 40 watt, G9-fitting় bij de klantenservice of in de vakhan-
del verkrijjgbaar. Gebruik alleen deze lampen. Pak neue halogeenlampen alleen met een schone, droge doek vast. Hierdoor worden de levensduur van de lamp ver-lengthd.
WAARSCHUWING-Kans op brandwonden!
Tijdens het gebruik worden het apparaat enhaar onder-delen die men kan aanraken heet.
- Wees voorzichtig om het aanraken van verwarmings-elementen te voorkomen.
- Kinderenjonger dan 8aar moetenuit de buurt worden gehonden.
WAARSCHUWING-Kans op elektrische schok!
Bij verranging van de lamp staan de contacten van de lampfitting onder spanning.
Zorg er voor het verrangen van de lamp voor dat het apparaat is uitgeschakeld, om een möglichke elektrische schok te voorkomen.
- Tevens de zekering in de meterkast uitschakelen.
Vereisten
- De zekering isuitgeschakeld.
- De binnenruimte is afgekoeld.
- Een neue halogeneamp ter vervanging is beschik-baar.
- De apparaatdeur openen.
- Om schade te vermijden een theedoek in de binnenruimte leggen.
- De accessoires en de rekjes uit de binnenruimte nemen. Pagina 91
- De glazen aftscherming verwijderen.
Wanneer de glazen afterscherming slechts moeilijk van de voorkant met de hand kan worden geopend, gebruik dan een lepel als hulpmiddel.
- Lamp van de binnenruimte eruit trekken.

- De lamp van de binnenruimte verrangen door een lamp van hetzelfde type.
- De glazen afterscherming van de ovenlamp wee terugplaatsen.
- De rekjes inbouwen. Pagina 91
- De theedoek weever verwijdersen.
- De zekering weer inschakelen.
- Controlleren of de ovenverlichting weeer functioneert.
12 Rekjes
Om de rekjes en de binnenruimte grondig te reinigen of om de rekjes te wisselen, können de rekjes worden verwijderd.
12.1 Rekjes verwijdenen
De rekjes+zijn steeds op 3 punten aan de zichwanden in de binnenruimte bevestigd.
- Het rekke aan de voorkant beetpakken enaar het midden van de binnenruimte trekken.
De voorste haak van het rekkekomt los uit het gat.
- Het rekje verder opklappen en uit dechterste gaten van de zichwand trekken.

- Het rekke uit de binnenruimte verwijderen.
12.2 Rekjes ophangen
- De haken van het rekke in de onderste gaten van de zijwand steken.
- De voorste haak van het rekje in het gat drukken.
13 Apparaatdeur
Bij zorgvuldig onderhoud en reiniging blijt uw apparaat er lang mootuiitzien en goed functioneren. Hier leggen wij uit hoe u de apparaatdeur reinigt.
Opmerking: Om ervoor te zorgen dat de apparaatdeur Niet het inbouwmeubel raakt, opent de apparaatdeur ie's minder dan 90^ .
13.1 Deurruiten verwijderen
Voor een betere reiniging kut u de ruiten van de deur verwijderen.
WAARSCHUWING-Kans op letsel!
Wanner er krassen op het glas van de apparaatdeur zitten, kan dit barsten.
-
Gebruik geen scherp of schurend reinigingsmiddel of scherpe metalen schraper voor het reinigen van het glas van de ovendeur omdat dit het oppervlak kan beschadigen.
-
De apparaatdeur helemaal openen.
-
De scharnieren links en rechts met de veiligheidspennen blokkeren.

De veiligheidspennen dienen volledig in de gaten van de scharnieren gestoken te zich.
-
Het onderste deel van de binnenste ruit met beiden handen optillen totdat de veiligheidspennen loskomenuit de houder. ①
-
LET OP - Bij het optillen van de binnenste ruit kan de middelste ruit eraan blijven vastzitten.
Zorg ervoor dat de middelste ruit Niet maar beneden valt.
Het bovenste deel van de binnenruit voorzichtig optilien totdat de veiligheidspennen loskomen uit de houder. ②

-
De binnenruit voorzichtig op een vlakke ondergrond leggen.
-
Verwijder de:tussenruit met zich houders.

De tussenruit is nicht met bevestigingspennen bevestigd, maar door een rubberen lager.
- De deurruiten met glasreiniger en een zachte doek reinigen.
13.2 Deurruiten inbouwen
- De tussen fruit plaatsen.
Let op de juiste positiOnering van de tussenruit.
Alle houders要去en vlak gegen de buitenste ruit liggen.
Wanner op de tussenruit het Low-E symbol leesbaar is, dan is de tussenruit correct geplaatst. - De binnenruitplaatsen.
Alle vier de veiligheidspennen要去en in de waarvoorn bestemde houders klikken. - De verilgheidspennen verwijderen en ovendeur sluiten.
Opmerking: Gooi de veriligeidspennen Niet weg. Be-
waar de veriligeidspennen op een veilige plek. U heeft
de veriligeidspennen algijd nodig, wanner u de deur
van het apparaat verwijdert of de deurruiten reinigt.
Wanner u geen veriligeidspennen heeft, dan kunnen
deze bij de klantenservice worden besteld.
13.3 Apparaatdeur verwijderen
Bij bijzonder sterke verontreiniging kunt u de apparaatdeur verwijderen zodat u deleze beter kunt reinigen.
-
De apparaatdeur helemaal openen.
-
De scharnieren links en rechts met de veiligheidspennen blokkeren. De veiligheidspennen dienen volledig in de gaten van de scharnieren gestoken te zich.
-
De apparaatdeur aan de zijkant met beiden handen vastpakken en circa 30 graden sluiten.

De apparaatdeur nicht volledig sluiten. De scharnieren küssen verbogen worden en er kan schade aan het email ontstaan.
- De apparaatdeur ieits optillen en er ui trekken.
13.4 Apparaatdeur inhangen
WAARSCHUWING-Kans op letsel!
Wanneer de scharnieren door Niet volledige borging nicht beveiligd zijn, können de scharnieren met grote kracht dichtklappen.
Wonneer het scharnier bij het verwijderen ofplaatsen van de apparaatdeur dichtklapt, Niet in het scharnier griipen.
Neem contact op met de klantenservice.
Een Niet correct ingebouwde deurruit of apparaatdeur is gevaarlijk.
-
Let erop dat alle deurruiten en de apparaatdeur cor-rect zichin ingebouwd,voordat u het apparaat wee in bedriif neemt.
-
De apparaatdeur aan de zijkant met beiden handen vastpakken.
- De scharnieren in de openingsen van het apparaat schuiven.

De keep aan de onderkant van de scharnieren要去 inklikken in de omlijing van het apparatus.
- De apparaatdeur maar beneden lately zakken.
- De veiligheidspennen verwijderen.
Opmerking: Gooi de veriligeidspennen Niet weg. Be- Waar de veriligeidspennen op een veilige plek. U heeft de veriligeidspennen algid nodig, wonneer u de deur
van het apparaat verwijdert of de deurruiten reinigt. Wanner u geen veiligheidspennen heeft, dan kunnen\ deze bij de klantenservice worden besteld.
14 Storingen verhelpen
Kleinere storingen aan het apparaat kutu zelf verhelpen. Raadpleeg voordat u contact opneemt met de klantenservice de informatie over het verhelpen van storingen. Zo voorkomt u onnodige kosten.
WAARSCHUWING-Kans op letsel!
Ondeskundige reparates zich gevaarlijk.
- Alleen geschoold vakpersoneel mag reparations aan het apparaatuitvoeren.
- Bel de servicedienst als het apparaat defect is.
"Servicedienst",agina 94
WAARSCHUWING-Kans op elektrische schok!
Ondeskundige reparates zich gevaarlijk.
Alleen waarvoor geschoold vakpersoneel mag reparaties aan het apparaatuitvoeren.
- Er mogen uitsluitend originele reserveonderdelen worden gebruikt voor reparatie van het apparaat.
- Als het netsnoer van dit apparaat beschadigd raakt, moet het ter vermijding van risico's worden verrangen door de fabrikant, de servicedienst of een andere gekwalificeerde persoon.
14.1 Functiestoringen
| Storing Oorzaak en probleemoplossing | |
| Apparaat werkstiet nicht. Netstekker van de stroomkabel is Niet ingestoken. • Apparaat aansluiten op het elektriciteitsnet. | |
| Stroomvoorziening is uitgevallen. • Controller of de verlichting van de binnenruimte of andere apparaten functio-neren. | |
| De zekering in de zekeringenkast is in werkig getreden. • Controller de zekering in de meterkast. | |
| Apparaat kan nicht worden gestart Apparaatdeur is Niet—helemaal gesloten. • Sluit de apparaatdeur. | |
| Apparaat is Niet uitgeschakeld. • Schakel het apparaat uit en weein. | |
| Op het display knippert 2.0Stroomvoorziening is uitgevallen. • Stel deijd in. → "Voor het eerste gebruik", Page 85 | |
| Apparaat verwarmt nicht. Demomodus is geactiveerd. 1. Haal de stroom kortstondig van het apparaat door de zekering in de meterkast uit en opnieuw in te schakelen. 2. Deactiveer de demo-modus binnen 5 minuten door de basisinstelling c09 de waarde Ωte wijzigen. → "Basisinstellengen", Page 87 | |
| Verlichting van de binnenruimte werkt nicht. | De functie Boven/ onderwarmte zach ist geactiveerd. • Bij deze functie is de verlichting van de binnenruimte uitgeschakeld. |
| Lamp van de binnenruimte is defect. • Vervang de lamp in de binnenruimte. → "Lamp van de binnenruimte verrangen", Page 90 | |
| In de oven bereide gerechten ver-branden in korteijd. | Thermostat is defect. • Neem contact op met de. → "Servicedienst", Page 94 |
| Deurruiten zijn beslagen Normaal verschijnsel dat is gebaseerd op de temperatuurverschillen die zich voordoen. • Verhit het apparaat op 100°C en schakel het apparaat na 5 minuten uit. | |
| Ingeschakeld apparaat kan nicht worden bediend. Op het display brandt ⇌ | Kinderbeveiliging is geactiveerd. • Deactiveer het kinderslot. → "Kinderslot deactiveren", Page 87 |
| Display is bevoren of reageert Niet. | Kinderbeveiliging is geactiveerd. ► Deactiveer het kinderslot. → "Kinderslot deactiveren", Pagina 87 |
| Storing 1. Schakel waar bij ook de zekering in de meterkast UIT. 2. Schakel de zekering na ca. 10 seconden in. 3. Als de functiestoring opnieuw optreedt, neem dan contact op met de klanten-service. | |
| Deurruiten voelen warmer aan dan voorheen, nadat de deurruiten voor reiniging werden gedemonteerd. | Deurruiten verkeerd op teruggeplaatst. ► Controller of de deurruiten correct+zijn geplaatst. → "Deurruiten inbouwen", Pagina 92 |
| Koelventilator blijdt draaien na gebruik. | Geen storing. De koelventilator blijdt draaien, totdat de in de basisinstelleningen ge-kozen temperatuur is bereikt. → "Basisinstelleningen", Pagina 87 |
| Condenswater op de apparaat-deur of condenswater lekt. | Apparaatdeur sluit Niet goed. ► Controller of de apparaatdeur goed is geinstalleerd en goed sluit. → "Apparaatdeur", Pagina 91 |
| Verontreiniging van de afdichting. 1. Controller of de afdichting is verontreinigd, beschadigd of verkeerd zit. 2. Reinig of verrang de afdichting of let erop dat deze goed zit. | |
| Normale condensvorming. → "Condensvorming", Pagina 83 | |
| Op het display verschijnt een mel-ding met E. | Storing ► Zet de functiekeuzeknop op de nulstand. Wanner de foulmelding wee verschijnt, neem dan contact op met de klanten-service. |
15 Afvoeren
15.1 Afvoeren van uw oude apparaat
Door een milieuvriendelijk afvoer hunnen waardevolle grondstoffen opniewu worden gebrukt.
Voer het apparaat milieuvriendelijk af. Bij uw dealer en uw gemeente- of deelraadskantoor kurz u informatie verkrijgen over de actuèle afvoermethoden.

Dit apparatus is gekenmerkt in overeenstemming met de Europese richtlij 2012/19/EU betreffende afgedankte elektrische en elektronische apparatuur (waste electrical and electronic equipment - WEEE). De richtlij geeft het kader aan voor de in de EU geldige terugneming en verworking van oude apparaten.
16 Servicedienst
Originele verrangende onderdelen die relevantlijk voor de werkung in overeenstemming met de desbetreffende Ecodesign-verordening kut u voor de duur van ten minste 10aar vanaf het moment van in de handel brengen van het apparaat binnen de Europese Economische Ruimte bij once servicedienst verkrijgen.
Opmerking: Het inschakelen van de serviceddienst in het kader van de fabrieksgarantievoorwaarden is Gratis.
Gedetailleerde informatatie over de garantieduur en de garantievoorwaarden in uw land ontvangt u via de QR-code op het meegeleverde document over de servicecontacten en garantievoorwaarden, bij once klantenservice, uw dealer of op once website.
Als u contact opneemt met de servicedienst, hebt u het productnummer (E-Nr.) en het productienummer (FD) van het apparatusaat nodig.
De contactgeveens van de klantenservice vindt u via de QR-code op het meegeleverde document over de servicecontacten en garantievoorwaarden of op once website.
Dit product bevat lichtbronnen van energieklasse G. De informatatie conform verordering (EU) 65/2014, (EU) 66/2014 en (EU) 2023/826 vindt u online op siemens-home.bsh-group.com op de productpageina en de servicepagina van uw apparaat bij de gebruiksaanwijzingen en aanvullende documenten.
16.1 Productnummer (E-nr.) en productienummer (FD)
Het productnummer (E-Nr.) en het productienummer (FD) vindt u op het typeplaatje van het apparaat.
Het typeplaatje met de nummers vindt u wanner u de apparaatdeur opent.

Om uw apparataatgeevens en de servicedienst-telefoon-nummers snel terug te konnen vinden, kurz u de gevevens noteren.
17 Zo lukt het
Hier vindt u vele tips over vormen en de bereiding van gerechten.
17.1 Zo kurz u het best te werk gaan
LET OP
Zuurhoudende levensmiddelen konnen het rooster beschadigen
Leg zuurhoudende levensmiddelen zoals bijv. fruit of met zuurhoudende marinade gekruide grillproducten niedirect op het rooster.
Opmerking: Instructie voor mensen met nikkelallergie In zeldzame gevaln konnen geringe sporen van nikkel worden overgedragen aan levensmiddelen.
- Voor het gebruik Niet benodigde vormen uit de binnenruimte verwijderen.
- Kies een gewenst gerecht uit de insteladviezen.
- Doe het gerecht in een geschikte vorm. Gebruik de meegeleverde accessoires.
- Verwarm het apparaat alleen voor wanner het recept of de insteladviezen dit aangeven. Leg pas na het voorverwarmen bakpapier op de accessoires.
- Stel het apparaat in overeenkomstig het insteladvies.
Eerst de kortste tijsduur instellen. Indien nodig de tijsduur verlungen. - Houd de apparaatdeur tijdens het bereiden gesloten.
17.2 Tips voor het bakken
Voor een goed bakresultaat hebben wij hier tips voor u verzameld.
| Vraag Tip | |
| Uw gebak要去gelijkmatagrijzen. | · Vet alleen de bodem van de springvorm in. · Maak het gebak na het bakken voorzichtig met een mes los UIT de bak-vorm. |
| Klein gebak mag tijdens de bereiding Niet aan el-kaar plakken. | Houd rondon elk stuk een minimale afstand van 2 cm aan. Zo is er voldoende plaats om het gebak goed te soften rijzen en hebemaal bruin te soften worden. |
| Vaststellen of het gebak afgebakken is. | Steen met een houten prik-ker op het hoogste punt plaats in het gebak. Wan-meer er geen deeg aan het hout blijft kleven, dan is het gebak klaar. |
| U wilt bakken volgens uw eigen recept. | Stem het kabken dan af op soortgelijk gebak in de bak-tabellen. |
| Gebruik bakvormen van si-liconen, glas of kunststof. | · De vom moet tot 250°C hittebestendig+zijn. · In deze vormen worden het gebak minder bruin. |
17.3 Tabel met gerechten
Hier vindt u een overzicht van de gerechten.
| Voedingswaar Gewicht in kg Inschuifhoopte Verwarmings- | methode | Temperatuur in °C / Grillstand | Tijdsduur in min. | |
| Lasagne 3 - 4 1 220 - 230 | □ | 1 | 45 - 50 | |
| Pasta gratineren 3 - 4 1 220 - 230 | □ | 1 | 45 - 50 | |
| Gebraden kalfsvlees 2 2 180 - 190 | ◎ | 1 | 90 - 100 | |
| Varkenslende 1,5 - 2 2 190 - 200 | ◎ | 1 | 90 - 100 | |
| Varkenslende 2 2 200 | □ | 2 | 125 | |
| Worstjes 1,5 3 280 | ◎ | 1 | 1e zijde: 10 2e zijde: 7 | |
| Voedingswaar Gewicht in kg Inschuifhoogte Verwarmings- | methode | Temperatuur in °C / Grillstand | Tijdsduur in min. | |
| Gebraden rundvlees 1 2 200 | # | 1 | 45 - 55 | |
| Gebraden konijn 1,5 2 180 - 190 | # | 1 | 70 - 80 | |
| Kalkoenfillet 2 2 180 - 190 | # | 1 | 110 - 120 | |
| Gebraden varkenshals 2 - 3 2 180 - 190 | # | 1 | 170 - 180 | |
| Braadkip 1,2 2 190 - 200 | # | 1 | 65 - 70 | |
| Varkenskoteletten 1,5 3 280 | # | 1 | 1e zijde: 152e zijde: 5 | |
| Spareribs 1,5 3 280 | # | 1 | 1e zijde: 152e zijde: 10 | |
| Spek 0,7 4 3 | # | 1 | 1e zijde: 102e zijde: 8 | |
| Varkensfillet 1,5 3 280 | # | 1 | 1e zijde: 122e zijde: 5 | |
| Runderfillet 1 4 3 | # | 1 | 1e zijde: 72e zijde: 4 | |
| Zalmforel | 0,7 - 1,2 | 2 160 - 170 | # | 35 - 40 |
| Zeeduivel | 0,7 - 1,5 | 2 160 | # | 60 - 65 |
| Tarbot | 1,5 2 160 | # | 45 - 50 | |
| Pizza | 1 - 1,5 | 2 280 | # | 10 - 12 |
| Brood | 1 2 180 - 190 | # | 25 - 30 | |
| Focaccia | 1 2 180 - 190 | # | 20 - 25 | |
| Tulbandcake | 1 2 160 | # | 55 - 60 | |
| Vruchtentaart | 1 2 160 | # | 35 - 40 | |
| Kwarktaart | 1 2 160 - 170 | # | 45 - 55 | |
| Gebak van zanddeeg | 1 2 160 - 170 | # | 35 - 40 | |
| Gebak van zanddeeg | 1 2 170 | # | 65 | |
| Paradjistaart | 1,2 2 160 | # | 55 - 60 | |
| Soesjes | 0,7 - 1,2 | 2 180 | # | 55 - 60 |
| Sponscake | 1 2 150 - 160 | # | 55 - 60 | |
| Rijstepap | 1 2 160 | # | 55 - 60 | |
| Brioche | 1 - 1,2 | 2 160 | # | 30 - 35 |
17.4 Tips voor de volgende keer dat er gebakken worden
Wanner er bij het bakken iets nicht lukt, dan vindt u hier tips.
| Vraag | Tip |
| Uw gebak zakt in. | Houd de opgegeven ingrediënten en berei-dingsaanwijzingen in het recept aan.Gebruik minder vloeistof.Of:Verlaag de baktempera-tuur met 10°C en ver-leng de baktijd. |
| Uw gebak is te droog. | Verhoog de baktempera-tuur met 10°C en verkort de baktijd. |
| Vraag | Tip |
| Uw gebak is over het ge-heel telicht. | • Controller de inschuif-hoogte en de accessoi-res. • Verhoog de baktempera-tuur met 10°C. Of: • Verleng de baktijd. |
| Uw gebak is over het ge-heel te donker. | Verlaag de baktemperatuur en verleng de baktijd. |
| Uw gebak is aan de bo- venkant telicht, maar aan de onderkant te donker. | Plaats het gebak een ni- veau hoger. |
| Uw gebak is aan de bo- venkant te donker, maar aan de onderkant telicht. | • Plaats het gebak een ni- veau lager. • Verlaag de baktempera- tuur en verleng de bak-tijd |
| Vraag Tip | |
| Uw gebak is onregelmatig gebruind. | Verlaag de baktemperaatuur. Knip het bakpapier in de juiste afmetingen. Plaats de bakvorm in het midden. Kleine stukken gebak qua grootte en dikte zo-veel möglich eenvormig makeen. |
| Uw gebak is van buiten gaar, maar van binnen nog Niet goed doorbakken. | Verlaag de baktemperaatuur en verleng de bak-tijd. Minder vloeistof toevoe-gen. Bij gebak met vochtige be-dekking: • De bodem voorbakken. • Bestrooi de gebakken bodem met amandelen of paneermeel. • Leg de bedekking op de bodem. |
| Het gebak LAST Niet los wonneer u het uit de vom wilt storten. | Laat het gebak na het bakken 5 - 10 minutes af-koelen. Maak de rand van het gebak voorzichtig los met een mes. Stort het gebak opnieuw en bedek de vom meer-dere keren met een nat-te, koude doeck. Vet de vom de volgende keer in en bestrooi deze met paneermeel. |
17.5 Tips voor de volgende keer braden
Wanner er bij het braden een keer iets nicht direct lukt, dan vindt u hier tips.
| Vraag Tip | |
| Uw braadstuk is te donker en de korst op sommige plekken verbrand. | Kies een lagere tempera-tuur. Verkort de braadduur. |
| Uw braadstuk is te droog. Kies een lagere tempera-tuur. ■ Verkort de braadduur. | |
| De korst van uw braadstuk is te dun. | Verhoog de temperatuur. Of: Schakel na het einde van de braadduur kort de grill in. |
| Uw braadsaus is aange-brand. | Kies eenkleinere vom. Voeg bij het bradenmeer vloeistof toe. |
| Uw braadsaus is telicht en te waterig. | Kies een grotere vom om ervoor te zorgen dat er meer vloeistof ver-dampt. Voeg bij het braden min-der vloeistof toe. |
| Wanner u vlees stooft, brandt het vlees aan. | Controleer of de braad-vorm en het deksel bij el-kaar passen en goed sluiten. Verlaag de temperatuur. Voeg bij het stoven vloei-stof toe. |
| Uw braadstukken zijn nicht发展格局. | Snij het braadvlees in stukken. Maak de saus in de braadvorm klaar. Leg de braadstukken in de saus. Met de magnetron de braadstukken gaar ma-ken. |
17.6 Testgerechten
Deze overzachten werden voor testinstituten gemaakt, om het testen van het apparatusat conform EN 60350-1 te vergemakkelijken.
Bakken
| Voedingswaar Toebehoren Inschuifhoogte Verwarmingsmethode | Temperatuur in °C | Tijdsduur in min. | ||
| Shortbread-biscuits | Bakplaat met bak-papier | 2 160 | 1 | 23 - 25 |
| Shortbread-biscuits, 2 niveaus | 2 bakplaten met bakpapier | 2 + 4 160 | 1 | 28 |
| Kleine cakejes | Bakplaat met bak-papier | 2 160 | 1 | 21 - 22 |
| Kleine cakejes, 2 niveaus | Bakplaat + roos-ter met bakpapier | 2 + 4 160 | 1 | 30 |
| Biscuitgebak Springvorm 2 | Springvorm 2 160 | 1 | 35 | |
| Biscuitgebak, 2 niveaus | 2 springvormen 2 + 4 155 - 165 | 1 | 35 - 45 | |
| Voedingswaar Toebehoren Inschuifhoogte Verwarmingsmethode | Temperatuur in °C | Tijdsduur in min. | |
| Bedekte appel-taart, 1 stuks | Springvorm 2 170 | 1 | 75 - 80 |
| Bedekte appel-taart, 2 stuks | 2 springvormen 2 160 | 1 | 75 - 80 |
Grillen
Plaats ook de braadslede. De braadslede vangt vloeistof op en de binnenruimte blijft schoner.
| Voedingswaar Toebehoren Inschuif- | hoogte | Verwar-mingsme-thode | Grillstand Tijdsduur in min. | ||
| Geroosterd brood Rooster 4 3 | 1 | 2 | |||
| Rundvleesburger, 10 stuks, dia-meter 75 mm | Bakplaat + rooster 3 + 4 3 | 1 | 1e zijde: 152e zijde: 5 | ||
18 Montagehandleiding
Houd rekening met deze informatie bij de montage van het apparaat.


18.1 Veilige montage
Neem deze aanwijzingen in ache vtoodat u met het inbouwen van het apparaat begint.
Het gebruik van een verlengd netsnoer en niettoegestane adapters is gevaarlijk.
- Gebruik geen meervoudige stekkerdozen.
- Gebruik uitsluitend verlangkabels die zich gecertificerd, een minimale aderdiameter van 1.5mm^2 hebben en die voldoen aan de geldende landelijkke veiligheidsvereisten.
- Wonneer het netsnoer te kort is en er geen langer netsnoer beschikbaar is, neem dan contact op met een elektrospecialzaak om de huisinstallatie aan te passen.
- Alleen door de fabrikant goedgekeurde adapters en netsnoeren gebruiken.
LET OP
Door het apparaat aan de deurgreep te dra-gen kan deze afbreken. De deurgreep houdt het gewicht van het apparaat Niet.
- Het apparaat Niet aan de deurgreep vasthouden of dragen.
Alleen als de inbouw op deskundige wijze en conform dit installmentievoorschrift worden uitgevoerd, is de veiligheid bij het gebruik gegardeerd. De monteur is aansprakelijk voor schade als gevolg van een verkeerde inbouw.
- Controller het apparaat na het uitpakken. Niet aansluiten in geval van transportschade.
Voor het eerste gebruik verpakkingsmaterial en plakfolie verwijderen uit de binnenruimte en van de deur.
Bij de inbouw van accessoires dient u zich te houden aan de beschrijving in de montagebladen.
Inbouwmeubels dienen bestand te zich tergen een temperatuur tot 90^ , aangrenzende voorzijden van meubels gegen een temperatuur tot 70^ .
- Het apparataat Niet inbouwen acheer een decorplaat of meubeldeur. Er bestaat gevaar van oververhitting.
Voer uitsnjiddingswerkzaamheden aan het meubeluit voordat het apparaat worden geplaatst. Spanen verwijderen. Deze kunnen invloed hebben op de werkig van elektrische componenten.
- Het aansluitstopcontact van het apparaat dient buiten de inbouwruimte geplaatst te zichn.
Elektrische apparaten allijd aarden.
Draag werkhandsschoenen ter voorkoming van snijwonden. Onderdelen die tijdens het
inbouwen toegankelijk zijn, können scherpe randen hebben.
Maataanduidingen van de afbeeldingen in mm.
18.2 Afmetingen van het apparatus
Hier vindt u de afmetingen van het apparaat.

18.3 Inbouw onder een werkblad
Neem de inbouwmaten en de veiligheidsafstanden bij de inbouw onder een werkblad in acht.

Met het oog op de luchttoevoer van het apparatusaat dient het tussenschot te beschikken over een ventilatie-opening.
18.4 Inbouw onder een kookplaat
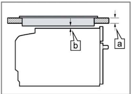
Wordt het apparaat onder een kookplaat ingebouwd, dan要去en de minimale afmetingen in acht worden genomen, eventueel inclusief onderbouw.

De minimale werkbladdikte aVloeit voort uit deoodzakelijkke minimale afstand
| Type kookplaat opbouw in mm vlak gemonteerd in mm in mm | a | b |
| Inductiekookplaat 49 50 5 | ||
| Zoneloze inductiekookplaat 70 70 5 | ||
| Gaskookplaat 39 50 5 | ||
| Elektrische kookplaat 39 42 2 |
Het werkblad bevestigen op het inbouwmeubel. De montagehandleiding van de kookplaat in acht nemen.
18.5 Inbouw in een hoge kast
Neem de inbouwafmetingen en de veiligheidsafstanden in de hoge kast in acht.

Zorg ervoor dat de tussenbodem een spleet heeft tot de opstellingswand, om het apparaat te ventileren.
- Wanner de bovenkast naast de element-achterwanden nog een hinterwand heeft, dient deze verwijderd te worden.
- Het apparaat Niet te hoog inbouwen, zodate de accessoires er zonder probleem uitgenomen konnen worden.
18.6 Inbouw van twee apparaten boven elkaar
Uw apparaat kan ook boven of onder een ander apparaat worden ingebouwd.
18.7 Elektrische aansluiting
Om het apparaat elektrisch veilig te konnen aansluten, dient u deze aanwijzingen in ache te nemen.
- De zekering dient in overeenstemming te zijn met de vermogensopgave op het typeplaatje en de lokale voorschriften.
- Het apparaat voldoet aan beveiligingsklasse I en mag alleen met een geaarde aansluiting worden gebruikt.
- Het apparaat moet bij alle montagewerkzaamheden spanningsloos zich.
- De bescherming gegen aanraking dient door de inbouw te+zijn gewaarborgd.
- Apparaten zonder stekker mogen alleen door geschoold personeel worden aangesloten. Hiervoor gelden de bepalingen van de regionale elektriciteitsmaatschappij.
Apparaat zonder geaarde stekker elektrisch aansluiten
Opmerking: Het apparaat mag alleen door geschoold personeel worden aangesloten. Bij schade door een verkeerde aansluiting kut u geen aanspraak makeen op garantie.
In de vast geplaatste elektrische installmentie moet een scheidingsinrichting volgens de installmentevoorschriften zich ingebouwd.
- Fase- en neutraal- ("nul-") leider in het stopcontact identificeren.
Bij een verkeerde aansluiting kan het apparaat worden beschadigd. - Het apparaat uitsluitend aansluiten op een netspanning tussen de 220 en 240 V.
- De aders van de elektrische aansluitleiding overeenkomstig de kleurcodering aansluiten:
groen-geel = aarddraad
blauw = neutral- ("nul-" ) leiding
bruin = fase (buitendraad)
18.8 Apparaat inbouwen
- Het apparaat inschuiven en centrisch uitlijnen. De aansluitkabel Niet knikken.
- Indien nodig de kabelgeleiding met een gereedschap verwijderen.

- De ovendeur helemaal openen.
- Het veiligheidsdeksel verwijdenen.

- Het apparatus op het meubel vastschroeven.

- Het veiligheidsdekselplaatsen.
Opmerking: Nooit de spreetCUSnen werkblad en het apparaat door extra deklatten afluien.
18.9 Apparaat demonteren
- Maak het apparaat spanningsloos.
- Draai de bevestigingschroeven los.
- Het apparaat iets optillen en er uit trekken.
NL Geproduceerd door BSH Hausgeräte GmbH onder de handelsmerklicentie van Siemens AG
BSH Hausgeräte GmbH
Carl-Wery-StraBe 34
81739 Munchen, GERMANY
Notice-Facile