GW14841 - Termostato Gewiss - Manuale utente e istruzioni gratuiti
Trova gratuitamente il manuale del dispositivo GW14841 Gewiss in formato PDF.
Domande degli utenti su GW14841 Gewiss
0 domanda su questo apparecchio. Rispondi a quelle che conosci o fai la tua.
Fai una nuova domanda su questo apparecchio
Scarica le istruzioni per il tuo Termostato in formato PDF gratuitamente! Trova il tuo manuale GW14841 - Gewiss e riprendi in mano il tuo dispositivo elettronico. In questa pagina sono pubblicati tutti i documenti necessari per l'utilizzo del tuo dispositivo. GW14841 del marchio Gewiss.
MANUALE UTENTE GW14841 Gewiss
Cronotermostato RF da pareteprogramma giornaliero settimanale

RF wall time-thermostat daily-weekly programme Chronothermostat RF mural programme journalier-hebdomadaire Cronotermostat RF de pared programa diario-semanal RF Wandzeithermostat Täglich-wöchentliches Programm

GW 10841 GW 14841
Attenzione - Importante
Attenzione! La sicurezza dell'apparecchio è garantita solo attenendosi alle istruzioni qui riportate. Pertanto è necessario leggerle e conservare.
I prodotti della gamma Chorus devono essere installati conformmente a quanto previsto dalla norma CEI 64-8 per gli appearecchi per uso domestico e similare, in ambienti non polverosi ed ove non sia necessaria una protezione speciale contro la penetrazione di acqua.
L'organizzazione di vendita GEWISS é a disposizione per chiarimenti e informazioni tecniche.
INDICE
ISTRUZIONI D'IMPIEGOPag.
- Descrizione generale 4
- Descrizione comandi 5
-Comunicazione radio frequenza. 6
-Modalità di funzionamento 7
-Selezione riscaldamento/condizionamento 8 - Impostazione parametri 9
- Personalizzazione programma giornaliero 13
-Forzatura temporanea della temperatura. 14
-Funzione party. 15
-Funzione holiday 16 - Copia del programma festivo 17
-Funzionamento manuale 18
-Comando remoto. 18 - Segnalazione batterie in esaurimento 19
- Reset e ripristino valori preimpostati 20
-Programmi preimpostati 21
-Parametri preimpostati 22
ISTRUZIONI D'INSTALLAZIONE
- Montaggio 23
- Descrizione morsetti 26
- Sostituzione batterie 27
CARATTERISTICHE FUNZIONALI/DATI TECNICI 28
ISTRUZIONI D'IMPIEGO
Descrizione generale
Il cronotermostato RF gestisce il controllo della temperatura ambiente ed il lavoro di attuatori della serie CHORUS RF quali:
moduli di uscita 3A,
moduli di uscita 16A.
Tramite l'attivazione dei moduli di uscita abbinati è possibile comandare: caldaie, valvole di zona, condizionatori, fan-coil, ecc.
Il cronotermostato è dotato di un display, di 3 pulsanti di lavoro sempre accessibili e di 7 pulsanti di lavoro accessibili a sportello aperto.

ISTRUZIONI D'IMPIEGO
| PULSANTI DI COMANDO | Simbolo |
| ①Programmazione / impostazione | |
| ②Regolazione tempo | |
| ③Party | |
| ④Holiday | |
| ⑤Selezione riscaldamento / condizionamento | |
| ⑥Copia | |
| ⑦Regolazione temperatura (+) / Sezione parametri | |
| ⑧Selezione modalità funzionamento / conferma | |
| ⑨Regolazione temperatura (-) / Sezione parametri | |
| SEGNALAZIONI A DISPLAY | |
| ⑩Modalità di funzionamento AUTO-MAN-OFF | |
| ⑪Unità di misura temperature ℃ / ℉ | |
| ⑫Temperatura ambiente misurata | |
| ⑬Profilo programma giornaliero | |
| ⑭Attivazione condizionamento | |
| ⑮Attivazione riscaldamento | |
| ⑯Differenziale termico | ΔT |
| ⑰Orologio | |
| ⑱Giorno della settimana | |
| ⑲Attivazione funzione autoapprendimento | T. T. T. |
| ⑳Set-point temperature | |
| ⑳Funzionamento in riscaldamento | |
| ⑳Stato impostazione parametri SET | |
| ⑳Funzionamento in condizionamento | |
| ⑳Stato programmazione PROG | |
| ⑳Funzione holiday | |
| ⑳Batterie in esaurimento | |
| ⑳Funzione copia programma festivo | |
| ⑳Attivazione da combinatori telefonico | |
| ⑳Funzione party | |
| ⑲Trasmissione lavoro radio |
Comunicazione radio frequenza
CONFIGURAZIONE
Per realizzare l'associazione con un modulo di uscita è necessario premere contemporaneamente i tasti e, dello averosto il modulo di uscita in apprendimento configurazione (vedi specifico foglio d'istruzione).
L'avvenuta trasmissione del commando è segnalata sul display dall'accensione temporanea del symbolo, Trasmissione RF.
FUNZIONAMENTO
Il cronotermostato opera in abbinamento con un modulo di uscita 3A o 16A in modalità di funzionamento BISTABILE, inviando i comandi di accensione/ spegnimento in funzione del modo di regolazione della temperatura e del tipo di funzionamento selezionato (riscalda-mentation o condizonamento).
Il cronotermostato ritrasmette periodicamente, agli 5 minuti, il dato all'attuatore abbinato. Se l'attuatore non riceve per 4 volte consecutive il messaggio, comanda l'apertura del relè (OFF) e segnala l'anomalia con il lampeggio del led verde.
SEGNALAZIONI
Trasmissione di un dato
La trasmissione di un dato RF (ON/OFF)iene segnalata sul display con l'accensione temporanea del symbolo
Modalità di funzionamento
Il cronotermostato preve de 3 differenti modalità di funzionamento:
- AUTOMATICO
- MANUALE
- OFF/ANTIGELO
Per commutare da una modalità ad un'altra si utilizes il ta


Nel funzionamento automatico il cronotermostato utilizza un programma che può essere differenziato per agli giorni della settimana.
Sul display appaiano la scritta AUTO, la temperatura ambiente misurata ed il symbolo del set point relativo al quarto d'ora corrente.
Nel profilo orario lampeggia la colonnina relativa all'ora corrente con la rappresentazione del set point attivo.

Nel funzionamento manuale il cronotermostato utilizza permanently un set point di temperatura, che può essere liberamente impostato.
Sul display appaiano la scritta MAN e la temperatura ambiente misurata.

Il funzionamento antigelo è attivo solo in riscaldamento. In quello caso il cronotermostato utilizza il set point di temperatura antigelo impostato.
Sul display appaiano la scritta OFF e la temperatura ambiente misurata.
Modalità di funzionamento
Durante il funzionamento, l'attivazione del riscaldamento o del condizionamento sono segnate nel modo seguente:

Riscaldamento
Il symbolo indica l'accensione del riscaldamento.

Condizionamento
Il significato iudica l'accensione del condizionamento.
Sezione riscaldamento/condizionamento
Premendo il tasto e possibile commutare il tipo di funzionamento tra riscaldamento/ condizionamento e viceversa.

Riscaldamento
Il symbolo identifica il riscaldamento.

Condizionamento
Il symbolo identifica il condizionamento.
Impostazione parametri
Per eseguire l'impostazione dei parametri premere una volta il tasting

Sul display appaiano il symbolo SET e l'orologio, quando la barra del giorno della settimana inizia a lampeggiare.
A Anything pinto è possible modificare, in sequenza:
- giorno della settimana,
- ore,
- minuti,
- unità di misura temperatura,
Temperatureutilizzate nelprogramma riscaldamento o condizionamento,differenziate per tipo di funzionamento.
- valore della temperatura antigelo,
- attivazione autoapprendimento,
- valore differenziale di regolazione.
In alternatively, è possibile scorrere la sequenza premendo il tasting. In sezione a selezionare il parametro che si desidera modificare. Il valore di agli parametro, viene confermato alla pressione del tasting. L'uscita nella fase di impostazione si ottiene premendo nuovamente il tasting. In modo automatico, dopo 30 secondi dall'ultima digitazione.

Impostazione del giorno della settimana
Quando la barra del giorno della settimana lampeggia, selezionare il giorno corrente con i tasti + (lunedi=1, martedi=2 ... domenica=7).
Per confermare il valore impostato, premere il tastingo entro 30 secondi.
ISTRUZIONI D'IMPIEGO
Impostazione parametri

Impostazione dell'ora
Quando le cifre dell'ora lampeggiano, impostare l'ora, con i tasti +
Per confermare il valore impostato, premere il tastingo entro 30 secondi.

Impostazione dei minuti
Quando le cifre dei minuti lampeggiano, impostare i minuti, con i tasti
Per confermare il valore impostato, premere il tasto entro 30 secondi.

Impostazione unità di misura temperatura
Quando il symbolo ^ C o F inizia a lampeggiare, selezionare l'unità di misura con i tasti
Per confermare il valore impostato, premere il tastingo entro 30 secondi.

ISTRUZIONI D'IMPIEGO
Impostazione parametri

Impostazione Set-Point T1
All' apparire del symbolo T'valore di temperatura inizi a lampeggiare. Regolare il valore di T1 con i tasti
Per confermare il valore impostato, premere il tastingo entro 30 secondi.

Impostazione Set-Point T2
All' apparire del symbolo Valore di temperatura inizi a lampeggiare. Regolare il valore di T2 con i tasti
Per confermare il valore impostato, premere il tastingo entro 30 secondi.

Impostazione Set-Point T3
All' apparire del significato T, I valore di temperatura inizi a lampeggiare. Regolare il valore di T3 con i tasti AV.
Per confermare il valore impostato, premere il tastingo entro 30 secondi.

Impostazione valore temperatura antigelo
All' apparire del significolo vale di temperatura inizia a lampegliare. Regolare il vale della temperatura antigelo con i tasti
Per confermare il valore impostato, premere il tastingo entro 30 secondi.
Tra i valori di set point esistono i seguenti vincoli:
Riscaldamento: T antigelo T1 T2 T3
Condizionamento: T1 T2 T3
Impostazione parametri


Attivazione autoapprendimento
All' apparire del symbolo, Attivare (ON) o disattivare (OFF) la funzione con i tasti.
Per confermare il valore impostato, premere il tastingo entro 30 secondi.
L'autoapprendimento permette di ottimizzare l'anticipo (max. 2 ore) sull'attivazione del riscaldamento.
Il cronotermostato gestisce automaticamente l'anticipo, in modo da garantire la temperature impostata all'inizio di anni periodo del profilo programmato.
Questa funzione si attiva in riscaldamento, nella sola modalità di funzionamento automatico.

Impostazione differenziale di regolazione
All'apparire del symbolo mpostare il valore del differenziale di regolazione con i tasti
Per confermare il valore impostato, premere il tastingo entro 30 secondi.
Il differenziale di regolazione è lo scostamento tra il setpoint impostato e la temperature effettiva di attivazione. Salvo situazioni particolari, si consiglia di Maintainere il valore preimpostato.
Personalizzazione programma giornaliero
Per eseguire la personalizzazione del programma giornaliero preimpostato, o apportare una modifica, premere due volte il tasto

Sul display appeare il symbolo PROG nelle la barra del primo giorno della settimana inizia a lampeggiare. Selezionare il giorno desiderato con i tasti + Per confirmare la selezione, premere il tasting entro 30 secondi.

Dopo la conferma del giorno sul display viene visualizzato to il profilo corrente, relativo al giorno scelto. L'orario inizia a lampeggiare.
Selezionare il set-point di temperatura che si desidera impostare a partire dall'ora 00:00,utilizzando i tasti

Sul display appaiano il symbolo T0 Teil T2
valore corrispondente al set point selezionato.
Il set-point viene applicato al profilo orario fino alla prima variazione presente nel programma corrente.

Con i tasti incrementare l'orario fino al momento in cui si desidera modificare il profilo proposto; durante l'incremento sul profilo orario lampeggia la colonnina relativa all'orario selezionato.
Con i tasti selezionare il nuovo set point, che sare applicato fino alla successiva variazione presente nel programma.
Personalizzazione programma giornaliero
L'orario viene decrementato/incrementato con passi di 15 minuti ad agli pressione dei tasti. è perché possibile definire fino a 4 periodi di programmazione per anni ora.
Procedere in modo analogo a quanto sopra indicato, fino al completamento del profilo.
Copia del Programma
Qualora si desideri copiare il programma sul giorno successivo, confermare la programmazione eseguita premendo il tasto entro 30 secondi.
Per confermare la programmazione, alla copiare, premere il tasto entro 30 secondi, automaticamente si passa alla programmazione del giorno successivo.
Al terme della programmazione settimanale premere il tasto, per tornare al funzionamento normale.
Per attivare il programma selezionare la modalità di funzionamento AUTO premendo il tasto fino all'apparire sul display del symbolo AUTO.
Forzatura temporanea della temperatura
In modalità di funzionamento AUTO è possible forzare temporaneamente il set point di temperatura attivo, utilizzando i tasti per impostare il valore desiderato. Confermare il valore premendo il tasto o attendere 5 secondi.

L'attivazione della forzatura viene segnalata sul display dal lampeggio del symbolo AUTO La forzatura resta attiva fino alla prima variazione del profilo presente nel programma.
ISTRUZIONI D'IMPIEGO
Funzione party
In modalità AUTO, la funzione Party permette di escludere temporaneamente il programma impostato inserendo manualmente un set point di temperatura diverso, per un periodo compreso tra 1 e 23 ore. Questa funzione può essere usata, ad esempio, per prolungare il periodo di comfort durante una cena, una festa, ecc.

Per attivare la funzione premere il tasto sul display appeare Il symboloentre lampeggia il valore del set point attivo in quel momento.
Con i tasti impostare il nuovo valore del set point di temperature.
Tramite i tasti impostare il numero delle ore di attivazione, che viene visualizzato sul display.
Premere il tastingo attendere 5 secondi, per confermare l'impostazione eseguita.
Quando la funzione è attiva è ancora possibile modificare il valore del set point e del periodo di attivazione, in maniera identica a quanto descririto.
La funzione può essere attivataanche quando il cronotermostato è nella modalità manua- le (MAN).
La funzione party resta attiva fino allo scadere del periodo impostato.
Durante il funzionamento il conteggio delle ore viene decrementato.
Per una disattivazione anticipata premere il tasto alla disattivazione, il cronotermostato ritorna nella modalità di funzionamento di partenza.
Funzione Holiday
In modalità AUTO, la funzione Holiday permette di escludere temporaneamente il programma settimanale impostato inserendo manually un set point di temperatura diverso, per un periodo compreso tra 1 e 99 giorni.
Questa funzione può essere usata, ad esempio, per programmare un periodo di economia durante una vacanza e la riattivazione del programma il giorno del rientro.

Per attivare la funzione premere il tasting sul display appeare Il significato nelle lampeggia il valore del set point attivo in quel momento.
Con i tasti impostare il nuovo valore del set point di temperatura.
Tramite i tasti Impostare il numero dei giorni di attivazione, che viene visualizzato sul display.
Premere il tastingo attendere 5 secondi, per confermare l'impostazione eseguita.
Quando la funzione è attiva è ancora possibile modificare il valore del set point e del periodo di attivazione, in maniera identica a quanto descririto.
La funzione può essere attivataanche quando il cronotermostato è nella modalità manua-le (MAN).
La funzione holiday resta attiva fino allo scadere del periodo impostato.
Durante il funzionamento il conteggio dei giorni viene decrementato.
Per una disattivazione anticipata premere il tasto alla disattivazione, il cronotermostato ritorna nella modalità di funzionamento di partenza.
Copia del programma festivo
In modalità AUTO, è possibile copiare il profilo del giorno festivo su un qualsiasi giorno della settimana.
Questa funzione è particolaremente utile quando si desidera un regime di comfort temporaneo, ad esempio, in una festività infrasettimanale.

Per attivare la funzione premere il tasto sul display lampeggiano il symbolo la barra del giorno festivo. Tramite i tasti selezionare il giorno delle settimana sul quale copiare il profilo del giorno festivo; premere il tasto attendere 30 secondi per confermare l'impostazione eseguita.

Quando la funzione è attiva, premendo il tasto sui-sualizzza il giorno sul quale è stato copiato il profilo del giorno festivo: sul display la barra corrispondente lampeggia.
Se si desidera disattivare la funzione, premere nuovamente il tasto se si desidera modificare il giorno della settimana, utilizzare i tasti e premere il tasto attendere 30 secondi per confermare la nuova impostazione.

Quando il giorno selezionato per la copia festiva è in corso, il significato accesso fisso. La validità della copia del giorno festivo è temporanea, allo scadere della mezzanotte del giorno selezionato si ritorna al profilo settimanale programmato.
Funzionamento manuale

Per attivare la modalità di funzionamento manuale, pre-mere il tasto finché sul display appara la scritta MAN. Il set point della temperatura appara per circa due secondi.
Con i tasti impostare il valore del set point desiderato, premere il tasting, attendere 5 secondi per confirmare l'impostazione.
Comando remoto
Il cronotermostato è collegabile al remotizzatore GSM GW 90 821, tramite connessione serialle.
E cosi possibile tramite comandi SMS:
- impostare il tipo di funzionamento (condizionamento/riscaldamento)
- impostare la modalità di funzionamento (manuale/automatico/off)
- impostare il set point di funzionamento (solo modalità MAN)
- richiedere lo stato attuale
Ad agli SMS di lavoro inviato al dispositivo corrisponde un SMS di conferma (con testo predefinito non configurable);
il messaggio di richiesta stato precede una risposta che include le seguenti informazioni:
- tipo di funzionamento attuale (riscaldamento/condizionamento)
- modalità di funzionamento attuale (off/auto/man)
- temperatura di set point attualmente impostata
- temperatura ambiente misurata
- stato dell'uscita rele (ON/OFF)
Ogni qualvolta il tipo o la modalità di funzionamento vengono modificate tramite remotizzatore, sul display compare il symbolo.
Segnalazione batterie in esaurimento

Quando le batterie sono in fase di esaurimento, sul display inizia a lampeggiare il symbolo
Il funzionamento del cronotermostato è comunque garantito. In tal caso è necessario procedere quando prima alla sostituzione delle batterie.
Il funzionamento del cronotermostato non è più garantito quando il symbolo èc眩so fisso. In questo caso l'ultima operazione garantita è la disattivazione automatica del riscaldamento/ condizionamento.
Il tempo utile per la sostituzione delle batterie è di circa 2 minuti, trascorso il quale viene persa unicamente l'impostazione dell'orologio/calendario: tutte le altre impostazioni sono mantenute in memoria non volatile.
Reset e ripristino dei valori preimpostati
Premendo contemporaneamente i tasti si effettua un reset completo del cronotermostat.
Attenzione: tutti i parametri impostati ed i programmi personalizzati vengono cancellati.
Alla riaccensione, il cronotermostato utilizza i parametri ed i programmi preimpostati in fabbrica. Il cronotermostato si pone in riscaldamento, nella modalità AUTO. Le funzioni Party e Holiday non sono attive.
Programmi preimpostati
Il cronotermostato dispone di 2 programmi preimpostati, uno per il riscaldamento ed uno per il condizionamento.
Questi programmi preimpostati sono essere modificati e personalizzati, secondo le proprie esigenze. Per eseguire le modifiche atteneri alleindicazioni contenate nel paragrafo "Personalizzazione programma giornaliero".
ISTRUZIONI D'IMPIEGO
Programmi preimpostati
Giorno della settimana 1: lunedi
Ora 00:00
Set point temperatura riscaldamento T1 16 °C
T2 18°C
T3 20°C
T antigelo 5^ C
Set point temperatura condizionamento T1 24 °C
T2 26°C
T3 28°C
Autoapprendimento Funzione disabilitata (OFF)
Differenziale di regolazione Riscaldamento 0.2^
Condizionamento 0.5^
Unità di misura temperatura ^ C
ISTRUZIONI D'INSTALLAZIONE
Montaggio
ATTENZIONE
- Prima dell'installazione assicurarsi che i moduli di uscita associati, ricevano correttamente i comandi.
- Nella fase di installation rispetto il verso di montaggio ( ) riportato sulla base di supporto.
Montaggio con tasselli.

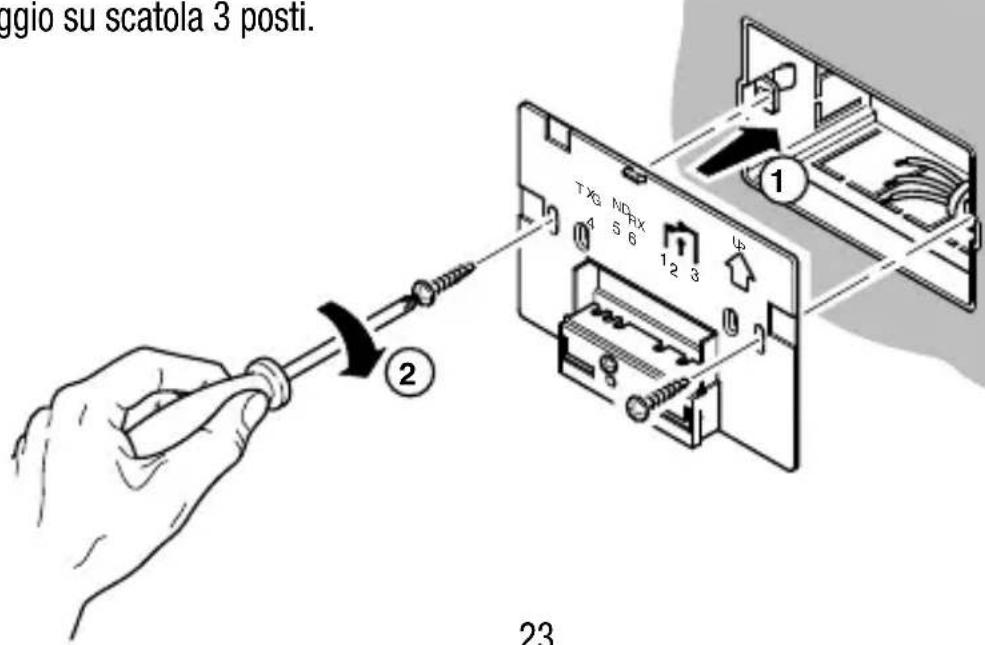
Montaggio su scatola 3 posti.

ISTRUZIONI D'INSTALLAZIONE
Montaggio
Accesso ai morsetti

Collegamento al remotizzatore (3 cavi)

ISTRUZIONI D'INSTALLAZIONE
Montaggio
Fissaggio a scatto del cronotermostato sulla relativa base e bloccaggio con vite.

Per la corretta rilevazione della temperatura dell'ambiente da controllare è importante non installare il cronotermostato in nicchie, dietro porte, vicino a finestre o sorgenti di calore.

ISTRUZIONI D'INSTALLAZIONE
Descrizione morsetti

Collegamento per remotizzatore (linea serialle)
4 - TX (dati in uscita)
5 - GND (comune)
6 - RX (dati in ingresso)
ISTRUZIONI D'INSTALLAZIONE
Sostituzione batterie

Non disperse le batterie scariche nell'ambiente
Tipodi funzionamento: riscaldamento e condizionamento
Modalità di funzionamento: automatico, manuale e antigelo
Temperatura operativa: -5^ ÷ +45^ C
Temperatura misurata: 0 ÷ +45^ C
Sonda di temperatura: NTC, 100KΩa 25°C
Accuratezza della misura: ± 0,5^ a 20^
Programmi preimpostati: n^2 programmi settimanali
(riscaldamento e condizionamento)
Risoluzione programmazione oraria: 15 minuti
N°max. diambi temperatura: 4 all'ora
Livelli di temperatura: n^3 livelli (T1-T2-T3) programmabili
da 5 a 40^ differenziati
tra condizionamento e riscaldamento
Risoluzione set point temperatura: 0,1^
Temperatura antigelo: regolabile da 2 a 7^
Temperatura manuale: regolabile da 5 a 40^
Differenziale di regolazione: regolabile da 0,2 a 2^
Funzione Party:
temporizzata da 1 a 23 ore
Funzione Holiday:
temporizzata da 1 a 99 giorni
Forzatura temporanea temperatura:
impostabile
Autoapprendimento grado termico:
selezionabile, con anticipo max. di 2 ore
Unità di misura:
^ C 0 F
Intervallo tra due misure successive:
1 minute
Comando remoto:
con remotizzatore GSM
cod. GW 90 821 (non incluso)
Segnalazione batterie scariche:
con symbolo a display
Frequenza radio:
868 MHz
Portata radio:
100 m in campo libero
Alimentazione:
a battery, 3x1,5V alkaline tipo AAA
Riserva di carica:
2 minuti per la sostituzione batterie
Dimensioni max.(B x L x H): 120x92x19mm
ENGLISH
Sistema comando e controllo a radiofrequenza
Ai sensi dell'articolo 9 comma 2 della Direttiva Europea 2004/108/CE si informa che responsable delle immissione del prodotto sul mercato Comunitario è: According to article 9 paragraph 2 of the European Directive 2004/108/EC, the responsible for placing the apparatus on the Community market is: GEWISS S.p.A Via A. Volta, 1 - 24069 Cenate Sotto (BG) Italy Tel: +39 035 946 111 Fax: +39 035 945 270 E-mail: qualitymarks@gewiss.com
ManualeFacile