NQ5B6753CAEB - Mikroaaltouunit SAMSUNG - Ilmainen käyttöohje ja opas
Löydä laitteen käyttöohje ilmaiseksi NQ5B6753CAEB SAMSUNG PDF-muodossa.
Lataa ohjeet laitteellesi Mikroaaltouunit PDF-muodossa ilmaiseksi! Löydä käyttöohjeesi NQ5B6753CAEB - SAMSUNG ja ota elektroninen laitteesi takaisin hallintaan. Tällä sivulla julkaistaan kaikki laitteidesi käyttöön tarvittavat asiakirjat. NQ5B6753CAEB merkiltä SAMSUNG.
KÄYTTÖOHJE NQ5B6753CAEB SAMSUNG
Turvallisuusohjeet 3
Tärkeitä turvallisuustietoja 3
Yleinen turvallisus 7
Mikroaaltojen kayttoon liittyviä turvallisuusohjeita 8
Rajoitetti takuu 9
Tuoteryhman mäirittely 9
Tuotteen turvallinen havittäminen (elektroniikka ja sähkölaitte) 9
Asentaminen 10
Pakkaksen sisaltö 10
Asennusohjeet 11
Asentaminen kaappiin 11
Ennenkuin aloitat 14
Käytöpaneeli 14
Alkuasetukset 14
Sivutelineet 15
Tietoja mikroaaltosäteilystä 16
Mikroaaltouuneille tarkoitetut valmistusastiat 16
Toiminnot 18
Uunitilat 18
Mikroaaltouunitilat 20
Erityistoiminto 22
Automaattinen kypsennys 23
Automaattinen sulatus 24
Nopea kypsennys 24
Ajastin 25
Puhdistus 25
Asetukset 26
Lukitus 28
Alykkaat valmistustoiminnot 28
Automaattinen kypsennys 28
Automaattinen sulatus 31
Nopea kypsennys 32
Manuaalinen valmistus 33
Nopea ja helppo 44
Huolto 45
Puhdistaminen 45
Vaihtaminen (korjaaminen) 46
Pitkää käyttämattömanä seisottamista edeltavat suojatoimet 46
Vianmärits 46
Tarkistettavat kohdat 46
Näytökoodit 51
Tekniset tiedot 51
Liite 52
Avoimen lahdekoodin ilmoitus 52
VAROITUS: Jos luukku tai sen tiivisteet ovat vaurioituneet, uunia ei saa käyttaa, ennen kuin ammatihenkilö on korjannut sen.
VAROITUS: Muiden kuin ammattihenkilöiden ei tule tehdä sellaisia huolto- tai korjaustoimenpiteitä, joissa mikroaaltosäteilyltä suojaava kansi on poistettava, sillä tämä on vaarallista.
VAROITUS: Nesteitä ja muita ruokia ei tule lammittä sinetöidyissä säilytysastioissa, sillä ne saattavat rajähtä.
VAROITUS: Anna lapsen käyttaa uunia ilman valvontaa
ainoastaan silloin, jos hanelle on annettu riittävät ohjeet ja jos
han pystyy käyttemaan uunia turvallisesti ja ymmärtaa sen
vaaränlaiseen käyttoön liittyvät vaarat.
Tämä laite on tarkoitettu vain kotitalouskäyttoön ja sitä ei tule käyttaa
kauppojen, toimistojen ja muiden työpaikkojen taukotiloissa
maatiloilla
- hotelleissa, motelleissa ja muissa majorituspaikoissa
majataloissa.
Käytä vain mikroaaltouunikäyttoön soveltuvia keittiövalineità. Pidä uunia silmällä, kun lämmität ruokaa muovi- tai paperiastiassa, sillä astia voi syttyä palamaan.
Mikroaaltouuni on tarkoitettu ruokien ja juomien lammittämseen. Ruokien tai vaatteiden kuivaaminen sekä lampötyynyjen, tossujen, sienien ja puhdistusliinojen ja vastaavien lammittäminen voi aiheuttaa henkilövahinkoja tai tulipalon.
Jos havaitset savua, katkaise laitteesta virta tai irrota virtajohto pistorasiasta ja pidä uunin luukku suljettuna mahdollisten liekkien tukahduttamiseksi.
Ole huolellinen käsitetlessäsi juomien säilytysastiaa lammityksen jälkeen, sillä;neste saattaa räiskyä ja kiehua yli viiveellä.
Palovammojen välttämiseksi tuttipullot ja vauvanruokatölkit on ravistettava tai niiden sisältö on hammennettävä ja vauvanruoan lämpötila on tarkastettava ennen tarjoilua.
Turvallisuusohjeet
Raakoja tai kokonaisia keitettyjä kananmunia ei saa lammittä mikroaaltounissa, sillä ne saattavat räjähtää jopa lammityksen jäldeen.
Uuni on puhdistettava sāännöllisesti ja ruoantähteet on poistettava.
Jos uunia ei pidetä puhtaana, sen pinta saattaa vaurioitua ja tämä saattaa lyhentäa laitteen käyttoikää ja aiheuttaa vaaratilanteita.
Laite on tarkoitettu vain kalustekkäyttoön. Laitetta ei pidä asettaa kaapistoon.
Mikroaaltounissa ei saa käyttaa metallisia astioita ruoalle eikä juomille.
Uunilautasen paikoiltaan siirtymistä on valtettävä, kun astioita poistetaan laitteesta. (Vain uunilautasen sisälätvät mallit.)
Laitetta ei saa puhdistaa hóryrpuhdistimella.
Laitetta ei saa puhdistaa vesisuihkulla.
Laitetta ei ole tarkoitetu asennettavaksi ajoneuvoihin,
asuntovaunuihin tai muihin näden kaltaisiin kulkuneuvoihin.
Tätä laitetta ei ole tarkoitettu fyysisesti tai psyykkisesti rajoittuneiden eikä kokemattomien henkilöiden (esim. lasten) käytettäväksi, ellei heidän turvallisuustaaan vastaava henkilö ole läsna tai opastanutheit käyttemaan laitetta oikein. Lasten ei saa antaa leikkä laitteella.
Tātā laitetta saavat kāyttāa yli 8-vuotiaat lapset sekā fysisesti tai psyykkisesti rajoittuneet ja kokemattomat henkilöt, jos kāyttöa valvotaan tai jos heille on annettu ojheit laitteen turvalliseen kāyttöän ja he ymmärtāvāt kāyttöän liittyvat vaarat. Lapset eivāt saa leikkja laitteella. Lapset eivāt saa puhdistaa tai yllapitāa laitetta ilman valvontaa.
Laite tulee voida irrottaa pistorasiasta asennuksen jälkeen. Irrottaminen voidaan varmistaa huolehtimalla pistokkeen luokse paäystä tai liittämällä kiinteään johdotukseen kytkin sähkömaäräysten mukaisesti.
Jos laitteen virtajohdossa ei ole pistoketta, kiinteään johdotukseen on lisattāvā mahdollisuus irrottaa laite sähköverkosta johdotusmaäräysten mukaisesti.
Jos laiteen virtajohto on vaurioitunut, se tulee
vaihdattaa valmistajalla, valtuutetussa huoltolikkeessä tai
ammattaitoisella asentajalla, jotta vaaratilanteilta voitaisin
vältyä.
Johtoja ei saa kiinnittää liimalla, sillä liimaus ei ole luotettava kiinnitystapa.
Uuni on asetettava sellaiseen asentoon ja sellaiselle korkeudelle, etta sen sisatiloja ja saatimiä on helppo käyttaa.
Ennen kuin käytät uunia ensimmaista kertaa, lammitä siinä vetta 10 minuuttia ja käytä sita vasta sen jälkeen.
Jos uunista tulee outoa äntä, palaneen käryä tai savua, irrota virtajohto valittömästi ja ota yhteyttä lahimpään huoltolikkeeseen.
VAROITUS: Jos laitetta käytetaän yhdistelmätilassa, lapset saavat käyttaa uunia vain aikuisten valvonnassa uunin korkean lampötilan vuoksi.
Laite kuumenee kayton aikana. Uunin sisallä oleviin vastuksiin ei saa koskea.
Jos laitteessa on puhdistustoiminto, laitteen pinnat saattavat kuumentua puhdistamisen aikana tavallista enemmän.
Lapset on pidettävā turvallisella etäisyydellā laitteesta.
Puhdistustoiminto on mallikohtainen.
VAROITUS: Laitteen nakyvillä olevat osat voivat kuumeta kayton aikana. Pienet lapset on pidettävā turvallisella etäisyydellä laitteesta.
Älä puhdista uunin luukun lasia hankausaineilla tai terävillä metallilastoilla, sillä ne voivat naarmuttaa lasipintaa, mikä puolestaan saattaa johtaa lasin rikkoutumiseen.
Höryrpuhdistusta ei saa käyttaa.
VAROITUS: Varmista, etta laite on sammutetu, ennen kuin vaihdat sen lampun, jotta et saisi sahköiskua.
Laitetta ei saa asentaa koristeoven taakse, ettei se ylikuumene.
Turvallisuusohjeet
VAROITUS: Laite ja sen nakyvillä olevat osat kuumenevat kayton aikana.
Laitteen lampovastuksiin ei saa koskea.
Alle 8-vuotiaat lapset on pidettävä poissa laitteen lahettyviltä, jollei heita valvota jatkuvasti.
HUOMIO: Kuumennusprosessia on valvottava. Lyhytaikaista kuumennusprosessia on valvottava jatkuvasti.
Laitteen luukku ja ulkopinta voivat kuumentua kaytön aikana. Laitteen ulkopinta voi kuumentua kaytön aikana.
Laitteen pinnat todennäöisesti kuumenevat kayton aikana.
Laitetta ei ole tarkoitetu käytettäväksi ulkoisen ajastimen tai erillisen kauko-ohjausjärkestelmän kanssa.
Tātā laitetta saavat kāyttāa yli 8-vuotiaat lapset sekā fyysisesti tai psyykkisesti rajoittuneet ja kokemattomat henkilöt, jos kāyttoa valvotaan taiJos heille on annettu ohjeet laitteen turvalliseen kāyttoon ja he ymmärtāvāt kāyttoön liittyvät vaarat. Lapset eivāt saa leikkiä laitteella. Lasten ei saa antaa puhdistaa laitetta tai tehdà muita sen ravalliseen yllapitoon liittyvià toimia. Yli 8-vuotiaat lapset saavat puhdistaa tai yllapitāa laitetta valvotusti.
Pidä laite ja sen sähköjohto alle 8-vuotiaiden lasten ulottumattomissa.

Aseta ylos taivutetu sivu taakse tukemaan painavaa kuormaa. (Mallikohtainen)
Yleinen turvallisuus
Vain pätevä sahköteknikko saa korjata tai muuttaa laitetta.
Ruokaa tait nesteita e saa lammitttta sinetoidyiss astioissa mikroaltotoiminnolla.
Alä kaytä unin puhdastamiseen bentseeni, ohentimia, alkoholia tai hóry- ja painepesureita.
Alä asenna uunia epatasaiselle alustalle, lammittimien tai herkästi syttyvien aineiden lahelle, koskeisin, oljysiin tai polyisiin tiloihin, suoraan auringonvaloon, veden lahelle tai sellaisin paikkoihin, joissa voi esiintyä kaasuvuotoja.
Uuni on maadoitettava paikallisten ja kansallisten saadosten mukaisesti.
Poista pistokkee liittimista ja kosketuskohdista saannollisesti kuivalla liinalla kaikki niihin kuulumattomat aineet.
Alā vedā tāi taivuta virtajtoa liikaa alakā aseta sen paallee mitäan painavia esineita.
Jos tiloissa tapahtuu kaasuvuoto (esim. propaani- tai nestekaausuvuoto), tuuleta tilat valittomasti. Alä koske virtajohtoon.
Alä kosketa virtajohtoa marillä käsillä.
Alä sammuta unia irrottamalla virtajohtoa silloin, kun uuni on käytössa.
Alä laita sormiasi tai mitaän laitteeseen kuulumattomia aineita sen sisalle. Jos uuniin paasee sinne kuulumattomia aineita, irrota virtajohto pistorasiasta ja ota yhteyttä lahimpaan Samsur houoltoon.
Alä altista uunia kovalle paineelle tai iskuille.
Alā pida uunia herkasti sarkyvien esineiden paallä.
Varmista, etta virtalahteen jannite, taajuus ja virta vastaavat laitteen teknisia ominaisuksia.
Kytke pistoke tiiviisti pistorasiaan. Ålä käytä jakarasoioita, jatkojohtoja tai muuntajia.
Alä ripusta virtajohtoa mihinkān metalliesineeseen. Varmista, etta johto on turvallisesti esineiden valissä tai uunin takana.
Alä kaytā vauroitunutta pistoketta, virtajohtoa tai lóysää pistorasiaa. Jos pistoke tai johto on vauroitunut, ota yhteyttä lahimpään Samsungin huoltoon.
Alä kaada tai suihkuta vetta suoraan uunin paalle.
Aä aseta mitään esineitä unin paälle, sisälte tai luukun eteen.
Alä ruiskuta unin paälle mitään tulenarkoja aineita, esimerkiki shyonteismyrkkya.
Alä sailyta unnissa mitaän palavia aineita. Ole varovainen, kun lammität alkoholipitoisia ruokia tai juomia, sillä alkoholin höyryt saattavat osua unun kuumiin osiin.
Lapset voivat satutta itsensä unin luukkuun tai heidän sormensa voivat jaäda luukun vällin.
Pida lapset etaallä, kun avaat tai suljet luukkua.
Mikroaaltoja koskeva varoitus
Ole varovainen käsitetlessävi juomien sälytysastiaa lammityksen jälkeen, sillä nestsaataa räiskyä ja kiehua yli viiveellä. Anna lammitetyjen juomien aina seisoa vähintaan 20 sekuntia, ennen kuin käsittelet niitä. Hämnnä tarvittaessa lammityksen aikana. Hämnnä aina lammityksen jälkeen.
Jos poltat itsesi, noudata seuraavia ensiapuohjeita:
- Kasta palanut alue kylmaan veteen vahintaan 10 minuutiki.
- Peita puhtaalla ja kuivalla kaareella.
- Älä käytä voiteita, öljyjä tai kosteusemulsioita.
Ala laita pelti tai ritol a veteen heti ruoanlaiton jalkeen, sill ne voivat vauroitua.
Alä kaytä uunia uppopaistamseen, sillä ruokaölyn lampötilaa ei ole mahdollista hallita. Tällöin kuuma öljy saattaa yhtäkkä kiehua yli.
Mikroaaltouniin liittyvi turvallisusohjeita
Käytä vain mikrouunikäyttoön soveltuvia välineitä. Älå käytä metalliastioita tai astioita, joissa on kulta- tai hopeareunukset, vartaita tms.
Irrota metalliset kierresulkijat. Ne voivat aiheuttaa valokaaria.
Alä käytä uunia paperin tai vaatteiden kuivaamiseen.
Käytä lyhytä lämmitysaikoja pienille ruoka-annoksille, jottei ruoka ylikuemenisi tai palaisi.
Pida virtajho to ja pistoke etaalla vedestaa lammonlahteista.
Alä lammita kuorellisia tai kovaksi keitettyjkanammunia, sillä ne voivat rajähtä. Alä lammita ilmativiitā tai tyhjiopakattuja astioita, pahkinoitä, tomaatteja tms.
Ala peita laitteen ilmanvaithoaukkjoa liinoilla tai papereilla. Tamai heuttaa tulipalon vaaran.
Uuni saattaa ylikuumentua ja sommaa automaattisesti. Täloin se pysyy smmutettuna niin kauan, kunnes se on jähtynyt riittävästi.
Käytä aina grillikintaita, kun otat ruokaa uunista.
Sekoita{nesteitta lammityksen puolivalissa tai sen jälkeen, ja anna nesteiden seisoa lammityksen jälkeen vähintaan 20 sekuntia, jotta ne eivat kiehuisi ja räiskyisi.
Seiso käsivarren etäisyydellä uunista sen luukkua avatessasi, jotta kuuma ilma tai hóry ei paàsisi polttamaan ihoasi.
Alä kāytä unua tyhjänä. Uuni sammutetaan turvallisuussyistä automaattisesti 30 minuutin ajaksi. Suosittelemme pitämään unissa aina vesilasillista, jotta mikroaltosäeily kohdistuisi sihen, jos uuni kāynnistetään vahingossa.
Asenna uni tassoppaassa annettuken turvavaliohjeiden mukaisesti. (Ks. kohtaa
"Mikroaaltouun asentaminen".
Ole varovainen käyttaessäi uunin lahelløolevia pistorasoita.
Mikroaaltojen kayttoön liittyviä turvallisuusohjeita
Seuraavien turvallisuusohjeiden noudattamatta jattaminen saattaa johtaa altistumiseen vaaralliselle mikroaaltosateilylle.
- Älä käytä uunia luukun ollessa auki. Älä muuntele turvalukitusta (luukun salpoja). Älä tuki turvalukituskoloja.
- Ää laita mitään uunin luukun ja uuniaukon valiin aläkä anna ruoan ja puhistusainejäämien kertyä tiivistepinnoille. Pida luukku ja sen tiivistepinnat puhtaina pyyhkimällä pinnat aina käytön jälkeen ensin kostealla ja sitten kuivalla, pehmeällä liinalla.
- Älä käytä uunia, jos se on vauroitunut. Käytä uunia vasta sitten, kun pätevä teknikko on korjannut sen.
Tärkeä: Luukku on voitava sulkea kunnolla. Luukkua ei saa vaantä, sen saranat eivat saa olla rikkai tai lösallä, ja luukun tiivisteiden ja tiivistepintojen on oltava ehjä.
Kaikki saatö- ja korjaustyö on annettava patevalle teknikolle.
Rajoitetu takuu
Samsung veloittaa korjaumaksun lisātarvikkeiden vaihtamisesta ja kosmeettisten vauroienden korjaamisesta, jos laitteen tai lisātarvikkeiden vauriot ovat asiakkaan aiheuttamia. Täm ehto koskee seuraavia:
Kolhiintunut, naarmuntunut tai rikkoutunut luukku, kahva, ulkopaneeli tai kayttopaneeli.
Rikkoutunut tai kadonnut uunipelti, ohjaintela, sovitin tai rtilä.
Käytä uunia ainoastaan sihen tarkoitukseen, johon se on suunnitelu ja noudata tassä käyttooppaassa annettuja ohjeita. Tämän oppaan varoitukset ja turvaohjeet eivat kata kaikkia mahdollisia olosuheita ja tilanteita. On omalla vastuullasi käyttaa tervettä järkeä ja toimia varovasti ja huolellisesti, kun asennat, yllapidat ja käytät uunia.
Koska names kayttöohjeet koskevat useita eri malleja, oman mikroaaltounisi ominaisuudet saattavat poiketa oppaassa kuvatuista, ja jotkin varoitusmerkit eivat välttamatta koske kayttäämäsi laitetta. Jos sinulla on jotakin kysyttävää, ota yhteytta lahimpaaan Samsungin huoltoon tai etsi ohjeita ja muita tietoja osoitteesta www.samsung.com.
Käytä uunia ainoastaan ruoan lammittamiseen. Laite on tarkoitettu vain kotitalouskäyttoön. Äla lammita unnissa mita'an tekstiilituotteita tai jyvillä taytetyjä tyynyjä. Valmistaja ei ole vastuussa mistaan sellaisista vahingoista, jotka johtuvat uunin vaaränlaisesta käytösta.
Pida uni aina puhtaana ja hyvass kayttokunnossa, jotta unin pinta ei vauroituis eikvaaratilanteita syntisi.
Tuoteryhman määrittely
Tämä tuote on ryhman 2 luokkaan B kuuluva ISM-laite. Ryhma 2 käsittäa kaikki
sellaiset ISM-laitteistot, jotka tarkoituksellisesti synnyttavat tai kayttavat radiotaajuista energiaa sahkomagneettisen sateilyn muodossa jonkin aineen kasittelyyn, sekä EDM- ja kaarihitsauslaitteet.
Luokan B laitteet soveltuvat käytettäviksi kotitalouksissa ja tiloissa, jotka on kytketty suoraan asuinrakennusten sähkonjakelussa käytettävään pienjänniteverkkoon.
Tuotteen turvallinen havittäminen (elektroniikka ja sahkolaitteet)


(Jatteiden lajittelua kayttavat maat)
Oheinen merkintä tuotteessa, lisāvarusteissa tai kāyttohjessa
merkitsee, ṏtā tuotetta tai lisāvarusteina toimitettavia sāhkolaitteita (esim. laturia, kuulokkeita tai USB kaepelia) ei saa havittä
kotitialusjätteen mukana niiden kāyttoiān pāatyttya. Virheellisetä
jätteenkäsittelysta ympristölle ja terveydelle aiheutuvien haittojen
välttamiseksi tuote ja lisāvarusteet on eroteltava muusta jätteestä ja
kierratettvä kestavan kehityksen mukaista uusiokayttöä varten.
Kotikāyttajāt savat lisātietaja tuotteen ja lisāvarusteiden turvallisetsta
kierratyksetä ottamalla yhteyttä tuotteen myyneeseen jällenmyyjaar
tai paikalliseen ympristoviranomaisieen.
Yrityskäytäjien tulee ottaa yhteytta tavarantoimittaajan ja selvittä hankantasopimuksen ehdot. Tuotetta tai sen lisāvarusteita ei saa havittä muun kaupallisen jätteen seassa.
Lisātietajo Samsungin ymprāristōsitoumuksista ja tuotekohtaisista viranomaisvelvoitteista, kuten REACH, WEEE ja paristot, saat osoitteesta:
Varmista, etta kaikki osat ja lisātarvikkeet ovat tuotepakkauksessa. Jos sinulla on jokin uuniin tai sen lisātarvikkeisiin liittyvä ongelma, ota yhteyttä paikalliseen Samsungin asiakaspalveluun tai jälleenmyyjään.

Uunin esittely
01 Kayttopaneeli
02 Sivutelineet
03 Luukun turvalukko
04 Luukku
05 Luukun kahva
Lisātarvikkeet
Uunin mukana toimitetaan lisātarvikkeita, joiden avulla erilaisten ruokien valmistaminen on helpompaa.

Keraaminen alusta (Soveltuu erityisesti mikroaaltounitilaan.)

Johdinlokeron lisäosa
(Soveltuu erityisesti pikakypennykseen ja grillaustilaan.)

Air Fry teline (Hyödyllinen Air Fry tilassa.)

Uunipelti (Älä käytä mikroaaltounilassa.)

Uiniteline (Älä käytä mikroaaltounitilassa.)

Pro Steamer -hörykeitin (Hyödyllinen mikroaaltotilassa hörykypsennystä varten.)



3 ruuvia (M4 L25)

Katso Ålykkeit valmistuostoinnot sivulla 28- märittäksesi sopivan lisavarusteen ruuillesi.
Asennusohjeet
Yleiset tekniset tiedot
| Virtälhde | 230 V ~ 50 Hz | |
| Mitat (L × K × S) | Ulkomitat | 595 x 456 x 570 mm |
| Uunin sisämitat, netto | 560 x 446 x 549 mm | |
Tämlaite noudattaa EU-maärayksiä.
Pakkausen ja laitteen havittaminen
Pakkaismateriaalin voi kierrattaa.
Pakkaismateriaialeihin vois sisältya seuraavia aineita:
- pahvi
polyteeenikalvo (PE)
freoniton polystyrenei (PS, jäykkä vaahtouvi).
Havita namamateriaalit ymparistoystavlliseti paikallisten märäysten mukaisesti.
Saat paikallsilta viranomaisila ja jätehuollosta lisātietoja vanhojen kodinkoneiden havittämisesä asianmukaisesti.
Turvallisuus
Laitteen saa kytkea vain ammattitaitoinen asentaja.
Uunia El ole tarkoitettu ravintolakeittiokayttoon.
Se on tarkoitettu ainoastaan ruoanvalmistukseen kotikeittiöissä.
Laite on kuuma kayton aikana ja sen jalkeen.
Toimi varovasti lasten lasn ollessa.
Sahköytkennat
Sahköverkon, johon laite kytketaan, on olta vaka kansallisten ja paikallisten märäysten mukainen. Laite tulisi asentaa siten, etta se on mahdolista irrottaa sahköverkosta. Irrottaminen voidaan varmistaa huolehtimalla pistokkeen luokse pääysta tai liittamällä kiinteän johdotukseen kytkin sahkomääräysten mukaisesti.
Asentaminen kaappiin
Uunin kanssa kosketuksissa olevien keittiokaappien on kestettä lampöä 100 °C asti. Samsung e i ota vastuuta kaappien vauroitumisesta kuumuuden vaikutuksesta.
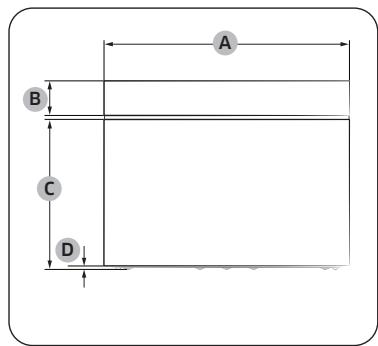
Asennukseen tarvittavat mitat (Tämä tuote on tarkoitettu sisäänrakennettaviin tuotteisiin.)

Uuni (mm)
| A | 560 | F | 595 |
| B | 446 | G | 354 |
| C | 549 | H | 85 |
| D | 21 | I | 456 |
| E | 341 | ||

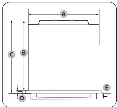
Uuni (mm)
| A | 595 |
| B | 85 |
| C | 360 |
| D | 6 |

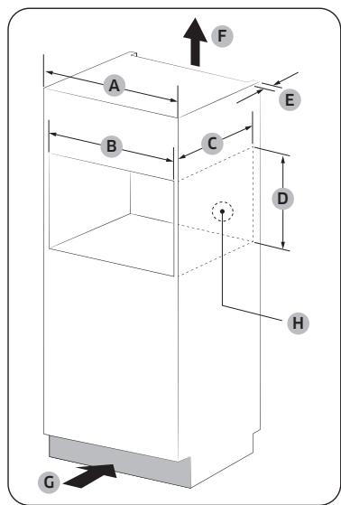
Uuni (mm)
| A | 549 | E | 10 |
| B | 233 | F | 456 |
| C | 316 | G | 6 |
| D | 21 | H | 446 |

Uuni (mm)
| A | 560 | D | 21 |
| B | 549 | E | 45 |
| C | 570 | ||

Kaapisto (mm)
| A | 600 |
| B | Väh. 564-568 |
| C | Väh. 550 |
| D | Väh. 446 / Enint. 450 |
| E | Väh. 50 |
| F | 200 cm2 |
| G | 200 cm2 |
| H | Tilaa pistorasiale (aukko: 30 Ø) |

Allaskaappi (mm)
| A | Väh. 550 |
| B | Väh. 564 / Enint. 568 |
| C | Väh. 446 / Enint. 450 |
| D | 50 |
| E | 200 cm² |
HUOM.
Vahimmäskorkeusvaatimus (C) koskee ainoastaan uunin asennusta.

Uunin asentaminen
Asennus lieden kanssa
Jos haluat asentaa keittotason uunin pälle, tarkista asennustilan tarve keittotason asennusohjeesta () .

- Liu'uta uuni osittain syvennykseen. Kytke johto virtalahteeseen.

- Liu'uta uuni kokonaan syvennykseen.

- Kiinnita uuni kahdella mukana toimitetulla ruuvilla (4× 25mm)

- Tee sahköytkennat. Tarkista, etta laite toimii.

Kun purat laitteen pakkauksesta, pida kiinni laitteen kahdesta sivukahvasta ja luukun kahvasta.
Kun asennus on valmis, poista suojakalvo, teippi ja muu pakkaumateriaali ja ota mukana toimitetut lisavarusteet ulos uunin sisälta. Jos haluat irrottaa uunin kaapista, katkaise ensin uunista virta ja irrota 2 ruuvia uunin molemmilta puolilta.
Käytöpaneeli
Uunin ohjauspaneelissa on näytö (ei kosketusnäyttoä), saätönuppi ja kosketusnappäimet uunin käyttoa varten. Lue seuraavat tiedot perehtyäksesi unin käyttopaneelin toimintaan.

| 01 | Näytö | Näytää valikon, tiedot ja valmistuksen edistymisen. |
| 02 | Vaihtoehdot | Näytä Valinnat-luettelo napauttamalla. |
| 03 | Valo | Kytke uunin valo pääle tai pois päältä napauttamalla. |
| 04 | Smart Control | Aseta Smart Control -toiminto pääle tai pois päältä. HUOM. Helppo liitäntä on asetettava ennen tämän toiminnon käytöä. |
| 05 | Takaisin | Siirry edelliseen näytöön napauttamalla. |
| 06 | Teho | Kytke näytö pääle tai pois päältä napauttamalla. |
| 07 | Valitsin | Kännä vasemmalle ja oikealle navigoidaksesi valikoissa ja luetteloissa. Kohde on alleviivattu osoittamaan, missä kohtaa näytöä olet. Valitse alleviivattu kohde painamalla. |
Alkuasetukset
Kun kytket uunin paälle ensimmaista kertaan, nakyviin tulee Tervetuloa-naytto, jossa on Samsunglogo. Suorita alkuasetukset loppuun noudattamalla nayton ohjeita. Voit muuttaa alkuasetuksia myohemmin valitsemalla Asetukset-naytto.
- Valitse aloitusnaytossa Start setup, ja paina sitten Dial Knob.
- Aseta kieli.
a. Valitse kieli ja paina sitten Dial Knob.
b. Valitse Seuraava, ja paina sitten Dial Knob.
- Hyväksyn "Ehdot ja edellytykset" ja "Privacy Policy".
- Yhdistā laitteesi SmartThings-sovellukseen.
a. Valitse Mobile Experience-näytössa Seuraava, ja paina sitten Dial Knob.
b. Skannaa naytollə oleva QR-koodi alypuhelimellasi ja noudata puhelimen naytolla nakyviña ohjeita yhteyden muodostamiseksi.
- Jos et halua jatkaa tātā vaihetta, valitse Ohita, ja paina sitten Dial Knob ja jatka seuravaan vaiheeseen.
c. Kun saat viestin, etta yhteys on muodostetu onnistuneesti, valitse OK, ja paina Dial Knob.
- Aseta aikavyohyke.
a. Valitse akavyohyke ja paina sitten Dial Knob.
b. Valitse Seuraava, ja paina sitten Dial Knob.
- Aseta paivamara.
a. Valitse paivä, kuukausi ja vuosi. Paina Dial Knob kunkin kohteen valinnan jälkeen.
b. Valitse Seuraava, ja paina sitten Dial Knob.
HUOM.
Ohita tāmā vaihe, jos olet liittänyt laitteen SmartThings-sovellukseen.
- Valitse aika.
a. Aseta tunti ja minuutti. Paina Dial Knob kunkin kohteen valinnan jälkeen.
b. Valitse Seuraava, ja paina sitten Dial Knob.
HUOM.
Ohita tāmā vaihe, jos olet liittānyt laitteen SmartThings-sovellukseen.
-
Valitse Valmis, ja paina sitten Dial Knob asetusten loppuunsaattamiseksi.
-
Ensimmäisen käytön opas -näytö tulee nakyviin. Voit valita LISÄTIETOJA, ja paina sitten Dial Knob nähdäkesi oppaan tai valitse MYÖHEMMIN, ja paina sitten Dial Knob ohittaaksesi tamän vaiheen.
Sivutelineet

- Aseta lisātarvike sille tarkoitettuun paikkaan uunin sisāllä.
- Ole varovainen, kun otat astiat ja/tai lisātarvikkeet uunista. Kuuma ruoka tai lisātarvikkeet voivat aiheuttaa palovammoja.
| 01 | Taso 1 | Mikroaaltotoiminto |
| 02 | Taso 2 | Uunin toiminto |
| 03 | Taso 3 | |
| 04 | Taso 4 | |
| 05 | Taso 5 |
Tietoja mikroaaltosäeilystä
Mikroaallot ovat korkeataajuisia sähkömagneettisia aaltoja. Uuni kayttä sisäistä magnetroniainen mikroaaltojen muostamiseen, ja mikroaalloilla ruokaa lammitetään tai valmistetaan muuttamatta sen rakennetta tai värä.

- Magnetronin luomat mikroaallot jakaantuvat tasaisesti uunissa uunin pyorivan hajautsjarkestelm'anansiosta. Tasta systarauoka kypsyy tasaisesti.
- Mikroaallot uppoavat ruoassa n. 2,5 cm:n syvyyteen ja hajoavat ruoan sisallā valmistuksen jatkuessa.
- Valmistusaikaan vaikuttavat ruoan
Maarajtiheys
- kosteus
alkuperainen lampottila (erityisesti pakasteiden tapauksessa).
HUOM.
Kypsennetyn ruoan sisalampotila pysyy muuttumattomana jonkin aikaa valmistuksen jälkeen. Tast syysta on tärkea noudattaa tassoppaassa mainittuja seisotusaikoja. Nain varmistat, ettau ruoka kypsyy tasaisesti sekä pinnalta ettsisaltä.
Mikroaaltouuneille tarkoitetut valmistusastiat
Mikroaaltouuneille tarkoitettujen valmistusastioiden tulee lapäistä mikroaallot. Metallit, kuten ruostumaton teras, alumiini ja kupari, heijastavat mikroaltoja. Åla siis käytä valmistusastioita, joissa on metallia. Mikroaaltouuninkestäviki merkityt astiat ovat aina turvallisia käyttaa. Lisatietoja sopivista keittoastioista on seuraavassa oppaassa.
Vaatimukset:
tasainen pohja ja suorat reunat
tiivis kansi
tasapainossa pysyvä astia, jossa on kahvat, jotka painavat vahemmän kuin itse astia.
| Materiali | Soveltuvus mikroaaltouni käytöön | Kuvaus | |
| Alumiinifolio | Δ | Käytä pienille annokulle, jottei ruoka kypsysi liikaa. Valmistuksen aikana voi esiintyä valokaaria, jos folio on liian lähellä uunin seinämä tai jos foliota on liikaa. | |
| Ruskistuslautanen | Ο | Αλι λ lammitä yli 8 minuuttia. | |
| Posliini- ja keramiikka-astiat | Ο | Posliini, saviastiat, lasitettu keramiikka ja luuposiini soveltuvat yleensä mikroaaltounissa käytettäviki, paitsi jo nsissä on metallikoristeita. | |
| Kertakëytöiset polyesteri-kartonkiastiat | Ο | Jotkin pakasteruoat pakataan tällaisin astioihin. | |
| Materiali | Soveltuvuus mikroaaltouni käytöön | Kuvaus | |
| Pikaruokien pakkaukset | Vaahtomuvokupit ja -astiat | ○ | Ylikuumentuminen saattaa sulattaa tällaiset astiat. |
| Paperipussit tai sanomalehti | × | Nämä saattavat syttyä palamaan. | |
| Uusiopaperi tai metallikoristelut | × | Nämä saattavat aiheuttaa valokaaria. | |
| Lasitavara | Uninkestävät astiat | ○ | Nämä soveltuvat yleensä mikroaaltounissa käytettäviksi, paitsi jos niissä on metallikoristeita. |
| Hauraat lasiastiat | ○ | Ohut lasi saattaa särkyä tai haljeta äkillisen kuumenemisen seurauksena. | |
| Lasitölkit | ○ | Ainoastaan lämmityksen Poista kansi ennen valmistusta. | |
| Metalli | Astiat | × | Nämä saattavat aiheuttaa valokaaria tai tulipalon. |
| Pakastepussi, jossa on kierresulkija | × | ||
| Paperi | Lautaset, kupit, lautasliinat ja talouspaperi | ○ | Vain lyhytaikaineen valmistukseen. Nämä imevät konteuttta. |
| Uusiopaperi | × | Aiheuttaa valokaaria. | |
| Materiali | Soveltuvuus mikroaaltouni käytöön | Kuvaus | |
| Muovi | Rasiat | ○ | Käytä vain lampömuvisia astioita. Jotkin muovit saattavat väntyä tai muuttaa variaän korkeissa lämpötiloissa. |
| Muovikelmu | ○ | Käytä kosteuden säilytämseen ruoanvalmistuksen jälleen. | |
| Pakastepussit | △ | Käytä vain uunissa paistamisen ja keittämisenkestäviä pusseja. | |
| Vahapaperi tai rasvankestäväpaperi | ○ | Käytä kosteuden säilytämseen ja roiskumisen estämseen. | |
: Soveltuu mikroaaltouunikaytöän
Ole varovainen
X: Ei sovellu mikroaaltouunikaytöän
Uunitilat
12:00
Kiertoilma
160^
Kypsennysaika
KAYNNISTA
12:00
Puhallin perinteinen
180°C
Kypsennysaika
KAYNNISTA
12:00
Puhallin perinteinen
200°C
Kypsennysaika
KÄYNNISTÄ
- Valitse paanaytoska Kiertoilma, ja paina sitten Dial Knob.
-
Valitse haluamasi kypsennystila ja paina sitten painiketta Dial Knob. (Yksityiskohtaiset tiedot kustakin tilasta, katso "Uunitilan kuvaukset" osio sivulla 19.)
-
Aseta haluttu lampötila.
-
Oletuslampotila ja lampotila-alue vaihtelevat kypsennystilan mukaan.
-
Valitse Kypsennysaika, ja paina sitten Dial Knob ja aseta haluttu kypsennysaika.
Kypsennyaika on enintaan 10 tuntia.
- Kun olet asettanut kypsennysajan, valitse vaihtoehto, jota haluat kayttä kypsennyksen lopussa, ja paina sitten Dial Knob.
Voit valita Uuni pois paalta, Pida Iampot., tai Limpimanapito.
Suuri grilli -tila ei tue Lampimanapito-vaithtoehtoa.

HUOM.
Jos aloitat kypsennyksen asettamatta
kypsennysaikaa tai asettamatta Pida lampot.-vaiahtoehtoa, uuni on sommutettava manuaalisesti.
12:00
Puhallin perinteinen
200°C
Puhallin perinteinen
200°C
1hr30min | Uuni pais päärlä
Valmis13:30
KAYNNISTA
- Valitse Valmis, ja paina sitten Dial Knob ja aseta haluttu päättymisaika.
Kun asetat kypsennysajan, uuni nayttaaajan, joloin kypsennys paattyy. (Esim.
Valmis 13:30)
-
Valitse KAYNNISTA, ja paina sitten Dial Knob.
-
Jos et ole muuttanut Iopetusajankohtaa, uuni aloittaa kypsennyksen valittomasti.
- Jos olet muuttanut paattymisaikaa, uuni sataa automaattisesti aloitusajan niin, etta kypsennys paattyy asetetuun aikaan.

HUOM.
Voit muuttaa lampötila ja kypsennyaikaa kypsennyksen aikana.
Kypsennyksen aikana, valitse Tauko, ja paina sitten Dial Knob taukoa varten. Kun keskeytākypsennyksen, voit joko lopettaa tai jatkaa kypsennysta.
- Valitse Off, ja paina sitten Dial Knob ja lopeta kypsennys.
- Valitse Jatka, ja paina sitten Dial Knob ja jatka kypsennysta.
Kun kypsennys on valmis, +5 mins tulee nakyviin naytossa.
Voit valita +5 mins, ja paina sitten Dial Knob ja lisää 5 minuuttia kypsennysaikaa.
Uunitilan kuvaukset
| Tila | Lämpõtila-alue (°C) | Oletuslämpõtila (°C) |
| Kiertoilma | 40-250 | 160 |
| Uunin vastukset tuottavat lämpää ja kiertoilmapuhallin jakaa lammö n tasaisesti uunin sisälle. Käytä tätä tilaa paistamiseen ja paahtamiseen eri tasoilla samanaikaisesti. | ||
| Puhallin perinteinen | 40-250 | 180 |
| Lämpö tuotetaan ylhäällä ja alhaalla olevista lammityselementeistä, joissa on puhaltimet. Tämä asetus sopii paistamiseen ja paahtamiseen. | ||
| Iso grilli | 150-250 | 220 |
| Suurikokoinen grilli sateilee lämpää. Käytä tätä toimintatilaa ruoan (esimerkiki sihan, lasagnen tai gratinin) pinnan ruskistamiseen. | ||
| Puhallin grilli | 40-250 | 180 |
| Kaksi päällimmäistä lammityselementtiä tuottavat lämpää, jota puhallin jakaa. Käytä tätä tilaa lihan tai kalan grilleamiseen. | ||
| Ylälämpö + konvektio | 40-250 | 180 |
| Ylin lammityselementti tuottaa lämpää, joka jakautuu tasaisesti konvektiupuhaltimen avulla. Käytä tätä toimintatilaa paistamiseen, joka vaatii rapeaa pintaa (esimerkiki siha tai lasagne). | ||
| Tila | Lämpõtila-alue (°C) | Oletuslämpõtila (°C) |
| Pohjalampõ + konvektio | 40-250 | 200 |
| Pohjalämmityselementti tuottaa lämpõ, joka jakautuu tasaisesti konvektiotuulettimen avulla. Käytä tätä tilaa pizzalle, leivälle tai kakulle. | ||
| Intensiivinen ruoanlaitto | 40-250 | 220 |
| Intensiivinen kypsennys aktivi kaikkä lämpmityselementit vuorotellen, jotta lämpõ jakautuu tasaisesti unin sisällä. Käytä tätä tilaa suurille resepteille, kuten suurille gratiineille tai pirakoille. | ||
| Pro-paahto | 80-200 | 160 |
| Pro-Roasting suorittaa automaattisen esilämmitysjakson, kunnes uunin lämpõtila on 220 °C. Sen jälkeen ylin lämpmityselementti ja konvektiotuuletin käynnistvät paistamaan ruokaa, kuten lihaa. Paistamisen jälkeen liha kypsennetaän alhaisissa lämpõiloissa. Käytä tätä tilaa naudanlihalle, siipikarjalle tai kalalle. | ||
| Air Fry | 150-250 | 220 |
| Air Fry käyttaa kuumaa ilmaa ja tuottaa rapeampia ja terveellisempiä pakastettuja tai tuoreita ruoka ilman öljä tai vähemmälä öljyllä kuin ravalliset konvektiotilat. Saat parhaan tuloksen käyttämällä tätä tilaa Air fry -alustalla. Noudata reseptin tai pakkauksen ohjeita lämpõtilan, ajan ja märärän asettamiseksi. | ||
Mikroaaltounutilat

- Valitse paanaytossa Kiertoilma, ja paina sitten Dial Knob.
- Valitse haluamasi kypsennystila ja paina sitten painiketta Dial Knob. (Yksityiskohtaiset tiedot kustakin tilasta, katso "Mikroaaltouunitilan kuvaukset" osio sivulla 21.)

- Aseta haluttu lamptila.
MWO-tila ei vaadi lampötilan asettamista.
- Oletuslampotila ja lampotila-alue vaihtelevat kypsennystilan mukaan.

-
Aseta tehtaso.
-
Oletustehotosa ja tehtasoalue vaihtelevat kypsennystilan mukaan.


- Valitse Kypsennysaika, ja paina sitten Dial Knob ja aseta haluttu kypsennysaika.
Kypssennysaika on enintaan 1 tunti ja 30 minuuttia.
Voit valita +30 sek, ja paina sitten Dial Knob ja lisaa 30 sekuntia kypsennysaikaa.
- Valitse KAYNNISTA, ja paina sitten Dial Knob.
Uuni alkaa kypsentamisen valittomasti.

HUOM.
Voit muttaa lampttilaa j kypsennysaikaa kypsennyksen aikana.
Kypsennyksen aikana, valitse Tauko, ja paina sitten Dial Knob taukoa varten. Kun keskeytākypsennyksen, voit joko lopettaa tai jatkaa kypsennysta.
- Valitse OK, ja paina sitten Dial Knob ja lopeta kypsennys.
- Valitse Jatka, ja paina sitten Dial Knob ja jatka kypsennysta.
Kun kypsennys on valmis, +30 sek tulee nakyviin naytossa. (+30 sek ei tule nakyviin, jos kypsennysaika on asetetu alle 5 sekunnin ajalle).
Voit valita +30 sek, ja paina sitten Dial Knob ja lisaa 30 sekuntia kypsennysaikaa.
Mikroaaltoununitilan kuvaukset
| Tila | Lämpõtila (℃) / teho (W) alue | Oletuslämpõtila (℃) / Teho (W) |
| MWO | - / 100-850 | 850 |
| Mikroaaltosäeily kypsentää tai lämittää ruoan muuttamatta sen muotoa tai värä. | ||
| MWO + Grilli | 40-200 / 100-600 | 200 / 300 |
| Vastukset tuottavat lämpää mikroaltosäeilyn avustamana. | ||
| MWO + Konvektio | 40-200 / 100-600 | 180 / 300 |
| Vastukset tuottavat lämpää ja kiertoilmapuhallin jakaa lammön unin sisälle mikroaltosäeilyn avustamana. | ||
| MWO + Paaho | 40-200 / 100-600 | 180 / 300 |
| Tämä tila yhdistää puhallinggrillin ja mikroaltounin ja lyhentää siten kypsennysaikaa samalla kun ruoka saa ruskean ja rapean pinnan. | ||
Teho
| Taso | Prosentimäärä (%) | Lähtöteho (W) | Kuvaus |
| SUURI TEHO | 100 | 850 | Käytä tata nesteiden lämmitämseen. |
| ALEMPI SUURI TEHO | 82 | 700 | Käytä tata lämmitämseen ja kypsentämseen. |
| YLEMPI KESKITEHO | 71 | 600 | |
| KESKITEHO | 53 | 450 | Käytä tata lihan kypsentämseen ja vihannesten lämmitämseen. |
| ALEMPI KESKITEHO | 35 | 300 | |
| SULATUS | 21 | 180 | Käytä tata pakasteiden sulattamseen ennen valmistusta. |
| PIENI TEHO | 12 | 100 | Käytä tata vihannesten sulattamseen. |
Pro Steamer hóryrkeittimen kāytto
Voit hóryttä ruokaa manuailisesti Pro Steamer -höryrkeittimella.

01 Horyralusta / Ruskistusalista
02 Hóryrystin
03 Kansi ruostumatona terästa
- Kaada 500 ml kylmää vettä höryralustaan. Aseta höryralusta hörrylevyille, lisää ruoka alustalle ja sulje sitten ruostumaton teräskansi. Aseta Pro Steamer uunilautasen keskelle.
- Noudata kohdan Mikroaaltouni vaiheita 2-4 muiden keittoasetusten maarittamiseksi.
Yksityiskohtaiset ruoanvalmistusohjeet loytyvat Pro Steamer -hörykeitin sivulla 40.
HUOM.
Tarkista mikroaaltounin atusetukset aina, ennen kuin jatat sen ilman valvontaa.

HUOMIO
Varmista, etta suljet Pro-höryrlaitteen kannen niin, etta se sopii hóryralustaan/ruskistusalustaan. Kananmunat tai kastanjat voivat rajahtä, jos kanta ei suljeta kunnolla.
HUOMIO
- Älä koskaan käytä tātä Pro Steamer -höyrystintä toisen tuotteen tai mallin kanssa. Se voi aiheuttaa tulipalon tai vauroiittaa tuotetta tuhoisasti.
- Älä käytä Pro Steameria ilman vetta tai ruokaa sen sisällä. Kun käytä tata Pro Steameria, kaada vähintään 500 ml vetta ennen käytto. Jos veden märä on alle 500 ml, kypsennys voi jaädä kesken, tai se voi aiheuttaa tulipalon tai vahingoittaa tuotetta vakavasti.
- Varovaisuutta on noudatettava, kun astia poistetaan Pro Steamerin sisälä kypsennyksen jälkeen, sillä se on erittäin kuuma.
Erityistoiminto
12:00
Kiertoilma
160^
Kypsennysaika
KAYNNISTA
12:00
Erityistoiminto
Monitasoinen ruoanlaitto
Lampimanapito
- Valitse paanaytossa Kiertoilma, ja paina sitten Dial Knob.
-
Valitse Erityistoiminto, ja paina sitten Dial Knob.
-
Valitse haluttu toiminto ja paina sitten painiketta Dial Knob. (Yksityiskohtaiset tiedot kustakin tilasta, katso "Erityistoimtojen kuvaukset" osio sivulla 23.)
12:00
180°C
1hr 30min | Uuni pais päärtä
Valmis 13:30
KAYNNISTA
- Valitse Valmis, ja paina sitten Dial Knob ja aseta haluttu päättymisaika.
Kunasetat kypsennysajan, uuni nayttaa jan, joloin kypsennys paattyy. (Esim.
Valmis 13:30)
-
Valitse KAYNNISTA, ja paina sitten Dial Knob.
-
Jos et ole muuttanut Iopetusajankohtaa, uuni aloittaa kypsennyksen valittomasti.
- Jos olet muuttanut paattymisaikaa, uuni saataa automaattisesti aloitusajan niin, etta kypsennys paattyy asetetuun aikaan.
12:00
<Monitasoinenruoanlaitto
160^
Kypsennyaika
KÄYNNISTÄ
12:00
<Monitasoinenruoanlaitto
180°C
Kypssennysaika
KÄYNNISTÄ
-
Aseta halutt lampotila.
-
Oletuslampotila ja lampotila vaihtelevat kypsennystilan mukaan.
-
Valitse Kypsennysaika, ja paina sitten Dial Knob ja aseta haluttu kypsennysaika.
Kypsennysaika on enintaan 10 tuntia.
Erityistoimintojen kuvaukset
| Tila | Lämpõtila-alue (℃) | Oletuslämpõtila (℃) |
| Monitasoinen ruoanlaitto | 40-250 | 160 |
| Käytä tätä kahden monitasoisen ruoan valmistukseen samanaikaisesti. | ||
| Lämpimänäpito | 60-100 | 60 |
| Käytä tätä vain juuri valmistettujen ruokien lämpimänä pitämiseen. | ||
Automaattinen kypsennys
Uunissa on 31 automaattista kypsennysohjelmaa. Hyödynnä tata ominaisuutta saaastaaksesi aikaa tai lyhentäaksesi oppimisprossia. Kypsennysaika, teho ja lampötila saatyvat valitun ohjelman mukaan.

- Valitse paanaytossa Kiertoilma, ja paina sitten Dial Knob.
- Valitse Automaattinen kypsennys, ja paina sitten Dial Knob.

- Valitse haluttu ohjelma ja paina sitten Dial Knob.
Yksityiskohtaiset tiedot kustakin ohjelmasta, katso "Automaattinen kypsennys" kohdan "Alykkaat valmistustoimnot" osio sivulla 28.
- Lue vihje ja valitse Seuraava, ja paina sitten Dial Knob.
- Valitse paino ja paina sitten Dial Knob.
Käytettävissa oleva paino vaihtelee valitun ohjelman mukaan.
Tata vaihetta ei valttamatta tarvita joissakin ohjelmissa.
-
Valmistele ruoka ja lisātarvikkeet nayton ohjeiden mukaan, valitse Seuraava, ja paina sitten Dial Knob.
-
Valitse KAYNNISTA, ja paina sitten Dial Knob.
Automaattinen sulatus
Uunissa on 5 automaattista sulatusohjelmaa. Hyödynnä tata toimintoa sulattamaan tuotteita kätevästi. Kypssennysaika, teho ja lampötila saatyvat valitun ohjelman mukaan.

- Valitse päänäytössa Kiertoilma, ja paina sitten Dial Knob.
- Valitse Automaattinen sulatus, ja paina sitten Dial Knob.

- Valitse haluttu ohjelma ja paina sitten Dial Knob.
Yksityiskohtaiset tiedot kustakin ohjelmasta, katso "Automaattinen sulatus" kohdan "Alykkaat valmistustoiminnot" osio sivulla 31.

- Valitse paino ja paina sitten Dial Knob.
Käytettävissä oleva paino vaihtelee valitun ohjelman mukaan. - Valmistele ruoka ja lisātarvikkeet nayton ohjeiden mukaan, valitse Seuraava, ja paina sitten Dial Knob.
- Valitse KÄYNNISTÄ, ja paina sitten Dial Knob.
Nopea kypsennys
Uunissa on Speed Cook -ohjelmat. Hyödynnä tata toimintaoa sulattamaan tuotteita kätevästi. Kysennysaika, teho ja lampötila säatyvat valitun ohjelman mukaan.



- Valitse paanaytossa Kiertoilma, ja paina sitten Dial Knob.
-
Valitse Noopea kypsennys, ja paina sitten Dial Knob.
-
Valitse haluttu ohjelma ja paina sitten Dial Knob.
Yksityiskohtaiset tiedot kustakin ohjelmasta, katso "Nopea kypsennys" kohdan "Alykkaat valmistuoiminnot" osio sivulla 32.
Lue vihje ja valitse Seuraava, ja paina sitten Dial Knob.
- Valitse paino ja paina sitten Dial Knob.
Käytettävissa oleva paino vaihtelee valitun ohjelman mukaan. - Valmistele ruoka ja lisātarvikkeet nayton ohjeiden mukaan, valitse Seuraava, ja paina sitten Dial Knob.
- Valitse KAYNNISTA, ja paina sitten Dial Knob.
Ajastin
Uuden ajastimen lisäminen
- Kosketa - painiketta kayttopaneelissa.
- Valitse Ajastin, ja paina sitten Dial Knob.
- Timer (Ajastin) naytössä, valitse +, ja paina sitten Dial Knob.
Ohita tāmā vaihe,Jos lisaāt ajastimen ensimmaista kertaa.
- Aseta aika.
Käytössä olevan ajastimen editointi
- Kosketa - painiketta kayttopaneelissa.
- Valitse Ajastin, ja paina sitten Dial Knob.
- Valitse Ajastin-naytossa ajastin, jota haluat muokata, ja paina sitten painiketta Dial Knob.
- Muuta aika.
Ajastimen poisto
- Kosketa - painiketta kayttopaneelissa.
- Valitse Ajastin, ja paina sitten Dial Knob.
- Timer (Ajastin) naytossa, valitse 1, ja paina sitten Dial Knob.
- Valitse Poista sen ajastimen oikealla puolella, jonka haluat poistaa, ja paina sitten Dial Knob.
- Valitse Valmis, ja paina sitten Dial Knob.
Ajastimen käytö
- Kosketa - painiketta kayttopaneelissa.
- Valitse Ajastin, ja paina sitten Dial Knob.
- Valitse KÄYNNISTÄ sen ajastimen oikealla puolella, jota haluat käyttaa, ja paina sitten Dial Knob.
Kun olet kännistányt ajastimen, voit keskeyttäa tai peru.uttaa ajastimen.
HUOM.
Kun aika on kulunut asetettuun hetkeen, näytöän tulee viesti "Aika on loppu." ja sihen liittyy melodia. Valitse OK, ja paina sitten Dial Knob viestin poistamiseksi.
Puhdistus
Höryrpuhdistus
Tämä toiminto on tarkoitettu pienen likamärän puhdistamiseen hoýryllä.
Tämä automaattinen toiminto saastä aikaa, koska saannöllinen manuaalinen puhdistus ei ole enää tarpeen.
- Kosketa - painiketta kayttöpaneelissa.
- Valitse Puhdistus, ja paina sitten Dial Knob.
- Valitse Höryrpuhdistus, ja paina sitten Dial Knob.
- Seuraa naytossa olevaa ohjetta, valitse Seuraava, ja paina sitten Dial Knob.
- Valitse KAYNNISTA, ja paina sitten Dial Knob.
VAROITUS
Älä avaa luukkua, ennen kuin ohjelma on paattynyt. Unin sisällä oleva vesi on erittäin kuumaa ja voi aiheuttaa palovammoja.
HUOM.
- Jos uuni on voimakkaasti rasvan likaama esimerkiki paahtamisen tai grillaamisen jälkeen, on suositeltavaa poistaa pinttynyt lika käsin puhistusaineella ennen Höyrypuhdistuksen aktivoimista.
- Jatā unin luukku raolleen, kun sykli on paattynyt. Nain sisāpinnan emalipinta paasekuivumaan taysin.
- Jos uuni on kuuma, automaattista puhdistusta ei käynnistetä. Odota uunin jähtymistä ja yritä uudelleen.
- Älä kaada vetta uunin pohjalle liian akillisesti. Tee se varovasti. Muuten vesi voi vuotaa yli uunin etuosasta.
Toiminnot
Hajunpoisto
Tämä toiminto on hyödyllinen uunin hajunpoistoon. Käytä tata toimintoa saannollisesti poistaaksesi mahdolliset epamiellyttāvāt Hajut uunista.
- Kosketa = painiketta käytöpaneelissa.
- Valitse Puhdistus, ja paina sitten Dial Knob.
- Valitse Hajunpoisto, ja paina sitten Dial Knob.
- Aseta aika.
Voit asettaa enintaan 15 minuuttia.
- Valitse KAYNNISTA, ja paina sitten Dial Knob.
Asetukset
Kosketa —— painiketta käytöpaneelissa, valitse Asetukset, ja paina sitten Dial Knob, ja voit muuttaa uunin eri asetuksia.
Katso yksityiskohtaiset kuvaukset seuraavasta taulukosta.
| Valikko | Alivalikko | Kuvaus |
| Liitännät | Wi-Fi | Voit ottaa Wi-Fi-yhteyden käytöön tai poistaa sen käytõstä. |
| Helppo liitäntä | Voit yhdistää unin SmartThings- palvelimeen Wi-Fi-yhteyden kautta. Kun uuni on kytketty, SmartThings- sovelluksella voit tarkistaa unin tilan ja/tai ohjata sitä mobililaitteella. | |
| Etäohjaus | Valitse Aktiviö, ja paina sitten Dial Knob antaaksesi puhelinpalvelun käytää unia etänä sisäisten tietojen tarkistamista varten. | |
| Näytö | Kirkkaus | Voit muuttaa näytön kirkkautta. |
| Näytönsäästäjä | Voit kytkeä näytönsäästäjän päälle tai pois päältä. | |
| HUOM. Näytönsäästäjä on toiminto, joka näytäa paivämärän ja kallonajan näytössä, Jos ei ole annetu mitään tietao tiystä ajasta valmiustilassa. Ota näytönsäästäjä käytöön ja aktivi Ka I Kello-teema ja Aikakatkaisu. | ||
| Kelloteema | Voit valita Kelloteeman. | |
| Aikakatkaisu | Voit märittäa ajan, ennenkuin näytönsäästäjä kytkeytyy päälle. HUOM. Energiankulutus voi lisäantyä asetuksista riippuen. Kun aikakatkaisuasetukseksi on asetetu "Aina pääll", LCD-näytön kirkkaus vaihtuu automaattisesti tasolle 2, Jos mitään ei tapahdu 3 minuuttiin. |
| Valikko | Alivalikko | Kuvaus |
| Päivämärä ja kellonaika | Automaattinen päävämärä ja kellonaika | Voit ottaa käytöön tai poistaa käytõstä ajan päävittämisen Internetista. Sinun on oltava kytkettnä Wi-Fi-verkloon. |
| Valitse aikavyöhyke | Voit valita aikavyöhykkee. (Automaattinen päävämärä ja kellonaika on poistettava käytõstä.) | |
| Aseta päävämärä | Voit asettaa päävämäärän manuailisesti. (Automaattinen päävämärä ja kellonaika on poistettava käytõstä.) | |
| Aika-asetus | Voit asettaa ajan manuailisesti. (Automaattinen päävämärä ja kellonaika on poistettava käytõstä.) | |
| Valitse aikamuoto | Voit valita aikamuodoksi 12-tunnin tai 24-tunnin muodon. | |
| Kieli | Voit valita kielen. | |
| Tilavuus | Voit säätä uunin voimakkuutta. | |
| Ohje | Vianmäririts | Voit katsoa vianmärityksen. |
| Opas ensimmäistä käytövärten | Voit tarkista yksinkertaiset ohjeet uunin peruskäytõstä. | |
| Tietoa laitteesta | Mallinimi | Voit tarkistaa uunimme mallinimen. |
| SW-versio | Voit tarkistaa laiteohjelmiston tämänhetkisen version.Kun uusi ohjelmisto on saatavilla, SW-päivitys -painike tulee nakyviin tähän valikkoon. | |
| Oikeudellisia tietoja | Voit tarkistaa oikeudelliset tiedot. | |
Lukitus
Voit Iukita ohjauspaneelin tahattoman kayton estamiseksi.
Aktivoi Lukitus-toiminto, koskettamalla — ohjauspaneelin painiketta, valitsemalla Lukitus, ja painamalla sitten Dial Knob.
Voit poistaa Lukitus-toiminnon kaytostä, koskettamalla ja pitamälla painettuna -painiketta kunnes nayttöön tulee viesti "Ohjaus on vapautettu".
Alykkäät valmistustoiminnot
Automaattinen kypsennys
Seuraavassa taulukossa esitelläan 31 automaattiohjelmaa, mukaan lukien uudelleenlammitys, kypsennys, paahtaminen ja leivonta. Se sisaltaaen mararat, seisonta-ajat ja asianmukaiset suositukset. Namā automaattiset ohjelmat sisaltavat erityisi kypsennystoimintoja, jotka on kehitetty helpottamaan käytöä.
| Ruoka | Annoskoko (kg) | Lisātarvike | Taso |
| 1. Juoma | 0,250,5 | Keraaminen alusta | 1 |
| Kaada neste keraamiin mukeihin ja lämmitä kattamattomana. Aseta yksi muki keskelle, aseta 2 mukia vierekkäin keraamiselle alustalle. Anna niiden olla mikroaltounissa. Sekoita hyvin 1-2 minuutin kuluttua.SEISOTUKSESTA.Ole varovainen ottaessasi kuppeja uunista (katso nesteitä koskevat turvallisuusohjeet). | |||
| 2. Ruoka-annos | 0,3-0,40,4-0,5 | Keraaminen alusta | 1 |
| Aseta ruoka keramiikkalautaselle ja peitä se mikroaltounikäytöön soveltuvalla kelmulla.Tämä ohjelma soveltuu kolmesta osasta koostuville aterioille (esim.lihaa kastikkeen ja vihannesten tai lisukkeiden, kuten perunan, riisin tai pastan kera). Anna seistä 3 minuuttia valmistuksen jälkeen. | |||
| 3. Pakastettu ruoka-annos | 0,3-0,40,4-0,5 | Keraaminen alusta | 1 |
| Ota pakastettu valmisruoka ja tarkista, soveltuuko se mikroaltouniin.Lävistä pakastetun valmisaterian kalvo. Laita pakastettu valmisateria keskelle.Tämä ohjelma soveltuu kolmesta osasta koostuvien pakastettujen valmisaterioiden lämmityseen (esim.lihaa kastikkeen kera, vihanneska sekä lisukkeita, kuten peruna, riisä tai pastaa). Anna seistä 3 minuuttia valmistuksen jälkeen. | |||
| 4. Keitto | 0,2-0,30,4-0,5 | Keraaminen alusta | 1 |
| Kaada syvään keraamiseen lautaseen tai kulhoon ja peitä muovikannella kuumentamisen ajaksi. Laita keitto keraamisen alustan keskelle. Sekoita huolellisesti ennen 2-3 minuutin seisottamista ja sen jälkeen. | |||
| 5. Muhennos | 0,2-0,30,4-0,5 | Keraaminen alusta | 1 |
| Kaada syvään keraamiseen lautaseen tai kulhoon ja peitä muovikannella kuumentamisen ajaksi. Laita keitto keraamisen alustan keskelle. Sekoita huolellisesti ennen 2-3 minuutin seisottamasta ja sen jälkeen. | |||
| 6. Pakastettukalagratiini | 0,4-0,6 | Grillausrilä + Keraaminen alusta | 3 |
| Aseta pakastettukalagratiini sopivaan lasiseen pyrex-astiaan tai keraamisen astiaan. Anna seistä 2-3 minuuttia valmistuksen jälleen. Tämä ohjelma soveltuupakastetuille valmiille tuotteille, jotka koostuvat kasviksilla ja kastikkeellä päällystetyistä fileistä. | |||
| 7. Pakastelasagne | 0,4-0,6 | Grillausrilä + Keraaminen alusta | 3 |
| Aseta pakastettuklasagne sopivaan lasiseen pyrex-astiaan tai keraamisen astiaan. Anna seistä 2-3 minuuttia lämmityksen jälleen. | |||
| 8. Pakastetut uunisipsit | 0,4-0,5 | Uunipelti | 3 |
| Levitä pakastetut ranskalaiset tasaisesti metalliselle uunipellille. | |||
| 9. Pakastettupizza | 0,3-0,40,4-0,5 | Uuniteline | 2 |
| Laita pakastepizza uunipellille. | |||
| Ruoka | Annoskoko (kg) | Lisātarvike | Taso |
| 10. Pakastetut krokétit | 0,4-0,6 | Uunipelti | 3 |
| Laita pakastetut perunakroketit tasaisesti metalliselle pellille. | |||
| 11. Pakastevihannekset | 0,3-0,4 | Keraaminen alusta | 1 |
| 0,4-0,5 | |||
| Laita pakastevihannekset, kuten parsakaali, porkkanaviipaleet, kikkakaalin palat ja herneet kannelliseen lasikulhoon. Lisää 1-2 rkl vettä. Laita kulho keraamisen alustan keskelle. Kypsennä kannen alla. Anna seistä 2-3 minuuttia ja sekoita kypsennyksen jälleen. | |||
| 12. Omenapiirakka | 1,2-1,4 | Uuniteline | 1 |
| Aseta omenapiirakka pyöreään metalliastian. Laita uuniritilälle. Paino sisältaa omenan ja muta ainesosat. | |||
| 13. Hedelmäpiirakan pohja | 0,3-0,5 | Uuniteline | 3 |
| Laita taikina metallipohjaiseen vuokaan uuniritilälle. | |||
| 14. Brownies | 0,5-0,7 | Uuniteline | 3 |
| Laita taikina pyöreään lasiseen pyrex- ja keraamisen vuokaan uuniritilälle. | |||
| 15. Kroissantit | 0,2-0,4 | Uuniteline | 3 |
| Käytä leivinpaperia. Aseta croissantit vierekkäin uuniritilälle. | |||
| 16. Hollantilainen voipiirakka | 0,5-0,7 | Uuniteline | 2 |
| Laita tuore taikina 22 cm:n pyöreään metallivuokaan. Laita uuniritilälle. | |||
| 17. Hollantilainen kuivakakku | 0,7-0,8 | Uuniteline | 3 |
| Kaada taikina sopivan kokoiseen, suorakulmaiseen metallivuokaan (pituus 25 cm). Laita astia pituussuunnassa luukkua vasten uuniritilälle. | |||
Alykkäät valmistustoiminnot
| Ruoka | Annoskoko (kg) | Lisātarvike | Taso |
| 18. Muffinsit | 0,5-0,6 | Uuniteline | 2 |
| Laita muffinssitaikina metalliseen muffinssivuokaan, joka sopii 12 muffinssille. Aseta astia unirilän keskelle. | |||
| 19. Kohoava hiivataikina | 0,3-0,6 | Uuniteline | 3 |
| Valmista hiivataikina pizzaa, kakka tai leipää varten. Laita suureen pyöreään kuumuuttakestävään astiaan ja peitä se kelmulla. | |||
| 20. Sokerikakku | 0,3-0,6 | Uuniteline | 2 |
| Laita 300 g taikinaa, jotka ovat 18 cm, 400 g 24 cm ja 500 g 26 cm halkaisijaltaan pyöreään mustaan metallivuokaan. Aseta astia uunirilän keskelle. | |||
| 21. Valkoinen leipä | 0,7-0,8 | Uuniteline | 2 |
| Kaada taikina sopivankokoiseen, suorakulmaiseen metallivuokaan (jonka pituus on 25 cm). Laita astia pituussunnassa luukkua vasten uunirilälle. | |||
| 22. Omena-lehtitaikina | 0,3-0,5 | Uunipelti | 2 |
| Käytä leivinpaperia. Aseta 4 kpl vierekkäin leivinpellille. | |||
| 23. Kalafilee, 2 cm | 0,3-0,6 | Uuniteline + Uunipelti | 5+2 |
| Marino kalafleet (2 cm) ja aseta ne vierekkäin unirilälle ja leivinpellile. Käännä ruokaa, kun ilmoitus tulee nakyviin, valitse OK, ja paina sitten Dial Knob. Valitse sitten Jatka, ja paina sitten Dial Knob ja jatka valmistusta. | |||
| Ruoka | Annoskoko (kg) | Lisātarvike | Taso |
| 24. Lohipihvi | 0,3-0,6 | Uuniteline + Uunipelti | 5+2 |
| Marinoi lohifleet ja aseta ne vierekkäin uunirilälde ja leivinpellille.Käännä ruokaa, kun ilmoitus tulee näkyviin, valitse OK, ja paina sitten Dial Knob. Valitse sitten Jatka, ja paina sitten Dial Knob ja jatka valmistusta. | |||
| 25. Katkaravut | 0,3-0,40,4-0,5 | Uuniteline + Uunipelti | 5+2 |
| Laita raa'at katkaravut tasaisesti uunirilälde ja pellille. Käännä ruokaa, kun ilmoitus tulee näkyviin, valitse OK, ja paina sitten Dial Knob. Valitse sitten Jatka, ja paina sitten Dial Knob ja jatka valmistusta. | |||
| 26. Naudanlihapihvi, ohut | 0,3-0,6 | Uuniteline + Uunipelti | 5+2 |
| Laita naudanlihapihvit vierekkäin uunirilän ja pellin keskelle.Käännä ruokaa, kun ilmoitus tulee näkyviin, valitse OK, ja paina sitten Dial Knob. Valitse sitten Jatka, ja paina sitten Dial Knob ja jatka valmistusta. | |||
| 27. Lampaankyljykset | 0,3-0,6 | Uuniteline + Uunipelti | 5+2 |
| Marinoi lampaankyljykset. Laita lampaankyljykset uunirilälde ja pellille. Käännä ruokaa, kun ilmoitus tulee näkyviin, valitse OK, ja paina sitten Dial Knob. Valitse sitten Jatka, ja paina sitten Dial Knob ja jatka valmistusta. | |||
| 28. Tuoreet vihannesket | 0,3-0,40,5-0,6 | Keraaminen alusta | 1 |
| Pese, puhdista ja paloittele vihannesket samankokoisiki ja punnitse ne. Aseta ne kannelliseen lasikulhoon. Lisää 45 ml (3 rkl) vettä. Laita kulho keraamisen alustan keskelle. Kypsennä kannen alla. Anna seistä 2-3 minuuttia ja sekoita kypsennyksen jälleen. | |||
| 29. Kuorittu peruna | 0,5-0,60,7-0,8 | Keraaminen alusta | 1 |
| Pese, kuori ja paloittele perunat samankokoisiki ja punnitse ne. Aseta ne kannelliseen lasikulhoon. Lisää 45-60 ml (3-4 rkl) vettä. Laita kulho keraamisen alustan keskelle. Anna seistä 2-3 minuuttia ja sekoita kypsennyksen jälleen. | |||
| 30. Valkoinen riisi | 0,3-0,4 | Keraaminen alusta | 1 |
| Punnitse esikeitetty valkoinen riisi ja lisää kaksinkertainen määrä kylmää vettä. Esimerkiki: kun keitä 0,3 kg riisä, lisää 600 ml kylmää vettä. Käytä kannellista pyrex-lasikulhoa. Laita kulho keraamisen alustan keskelle. Kypsennä kannen alla. Anna seistä 5 minuuttia ja sekoita kypsennyksen jälleen. | |||
| 31. Kotitekoinen pizza | 0,6-1,0 | Uunipelti | 1 |
| Laita pizza pellille. Painovälit sisälätvät lisukkeita, kuten kastiketta, vihanneska, kikkua ja juustoa. | |||
Automaattinen sulatus
Seuraavassa taulukossa esitetään Auto Defrost eri automaattisen sulatuksen ohjelmat, märät, seisonta-ajat ja asianmukaiset suositukset. Nämä ohjelmat käytävat ainoastaan mikroaaltoenergiaa. Poista kaikki pakkausmaterial iten annen sulattamista. Aseta liha, siipikarja, kala, leipä, kakku ja hedelmät keraamiselle alustalle.
| Ruoka | Annoskoko (kg) | Lisātarvike | Taso | Seisotusaika (minuuteissa) |
| Liha | 0,2-2,0 | Keraaminen alusta | 1 | 10-30 |
| Suojaa reunat alumiinifoliolla. Käännä ruokaa, kun ilmoitus tuee näkyviin, valitse OK, ja paina sitten Dial Knob. Valitse sitten Jatka, ja paina sitten Dial Knob ja jatka valmistusta. Tämä ohjelma soveltuu käytettäväksi naudan-, karitsan- ja sianlihan sekä pihvien, kyljysten ja jauhelihan kanssa. | ||||
| Linnunliha | 0,2-2,0 | Keraaminen alusta | 1 | 10-30 |
| Suojaa koivet ja siipien kärjet alumiinifoliolla. Käännä ruokaa, kun ilmoitus tuee näkyviin, valitse OK, ja paina sitten Dial Knob. Valitse sitten Jatka, ja paina sitten Dial Knob ja jatka valmistusta. Tämä ohjelma soveltuu käytettäväksi sekä kokonaisen että paloitellun kanan kanssa. | ||||
| Kala | 0,2-2,0 | Keraaminen alusta | 1 | 10-30 |
| Suojaa kokonaisen kalan pyrstö alumiinifoliolla. Käännä ruokaa, kun ilmoitus tuee näkyviin, valitse OK, ja paina sitten Dial Knob. Valitse sitten Jatka, ja paina sitten Dial Knob ja jatka valmistusta. Tämä ohjelma soveltuu käytettäväksi sekä kokonaisen kalan että kalafileiden kanssa. | ||||
Alykkäät valmistustoiminnot
| Ruoka | Annoskoko (kg) | Lisātarvike | Taso | Seisotusaika (minuuteissa) |
| Leipä / Kakku | 0,1-1,0 | Keraaminen alusta | 1 | 5-10 |
| Laita leipä paperipyhkeen pälle. Kännä ruokaa, kun ilmoitus tuee näkyviin, valitse OK, ja paina sitten Dial Knob. Valitse sitten Jatka, ja paina sitten Dial Knob ja jatka valmistusta. Uuni jatkaa toimintaansa, kunnes avaat luukun ruoan käantämistä varten. Tämä ohjelma soveltuu käytettväksi kaikenlaisten viipaloitujen ja kokonaisten leiipien sekä sampylöiden ja patonkien kanssa. Asettele sampylät ympyrän muatoon. Tämä ohjelma soveltuu käytettväksi kaikenlaisten hiivalla kohotettuken kakkujen, keksien, juustokakkujen ja lehtitaikinaleivonnaisten kanssa. Sitä ei voi käytää murotaikina- ja taikinakuorellisten leivonnaisten, hedelmä- ja kermakakkujen tai suklaakuorrutteisten kakkujen kanssa. | ||||
| Hedelmät | 0,1-0,8 | Keraaminen alusta | 1 | 5-10 |
| Levitä pakastetut hedelmät tasaisesti keraamiselle alustalle. Tämä ohjelma soveltuu esimerkiki si vadelmille, marjasekoituktisille ja trooppisille hedelmille. | ||||
Nopea kypsennys
Seuraavassa taulukossa esitelläan 4 automaattista ohjelmaa nopeaa kypsennysta ja paahtamista varten.
Seisaltaaen maraat,seisonta-ajat ja asiannukaiset suositukset.
Nämä automaattiset ohjelmat sisälätvät erityisiä kypsennystoimintoja, jotka on kehitetty helpottamaan käytöä.
| Ruoka-aine | Paino | Lisātarvike | Hyllytasō |
| Uuniperunapuolikkaat | 400-600 g600-800 g | Grillausritilä + Keraaminen alusta | 3 |
| Halkaise perunat kahtia. Aseta ne ritolälle leikattu puoli kohti grilliä. Anna seistä 2-3 minuuttia valmistuksen jälkeen. | |||
| Ruoka-aine | Paino | Lisātarvike | Hyllytasō |
| Paahdettu sianliha | 0,8-1,0 kg | Grillausritilä + Keraaminen alusta | 3 |
| Laita marinoitu porsaanpaisti keraamisella tarjottimella varustetulle grillirilitälle. Käännä ruokaa, kun ilmoitus tulee nakyviin, valitse OK, ja painsitten Dial Knob. Valitse sitten Jatka, ja painsitten Dial Knob ja jatka valmistusta. | |||
| Kananpalat | 0,5-0,7 kg 1,0-1,2 kg | Grillausritilä + Keraaminen alusta | 5 |
| Sivele kylmille kananpaloille öljä ja mausteita. Aseta ne grillausritiläle keraamiselle alustalle nahkapuoli alaspäin. Käännä ruokaa, kun ilmoitus tulee nakyviin, valitse OK, ja painsitten Dial Knob. Valitse sitten Jatka, ja painsitten Dial Knob ja jatka valmistusta. Anna seistä 2-3 minuuttia valmistuksen jälkeen. | |||
| Kana, kokonainen | 1,0-1,1 kg 1,2-1,3 kg | Grillausritilä + Keraaminen alusta | 3 |
| Sivele kylmän kanan pinnalle öljy-mausteseosta. Aseta rintapuoli alaspäin grillastelineen keskelle, jossa on keraaminen alusta, hyllytasolle 3. Käännä ruokaa, kun ilmoitus tulee nakyviin, valitse OK, ja painsitten Dial Knob. Valitse sitten Jatka, ja painsitten Dial Knob ja jatka valmistusta. Anna seistä 5 minuuttia valmistuksen jälkeen. | |||
*Speed Cook -tila käyttaa mikroaaltoenergiaa ruoan lämmitämisen. Tämän vuoksi keittoastioita koskevia ohjeita ja muita mikroaaltonuin turvallisuutta koskevia varotoimia on noudatettava tiukasti tata toimintatilaa käytettaessä.
Manuaalinen valmistus
Opas mikroaalloista ruoanvalmistuksessa
- Älä käytä metallisia astioita mikroaaltouunitilassa. Laita ruokapakkaukset aina syvennykseen.
Suosittelemme ruoan peittamista, jotta tulokset olisivat mahdollisimman hyvat.
Kun ruoka on valmista, anna sen asettua omassa hóryssään.
Pakastevihannekset
Käytä kannellista pyrex-lasikulhoa.
Hammennä vihannesia kaksi kertaa valmistuksen aikana ja kerran sen jälkeen.
Mausta valmistuksen jälkeen.
| Ruoka | Annoskoko (g) | Teho (W) | Valmistusaika (minuuteissa) | Seisotusaika (minuuteissa) |
| Pinaatti | 150 | 600 | 5-6 | 2-3 |
| Lisää 15 ml (1 rkl) kylmää vettä. | ||||
| Parsakaali | 300 | 600 | 8-9 | 2-3 |
| Lisää 30 ml (2 rkl) kylmää vettä. | ||||
| Herneet | 300 | 600 | 7-8 | 2-3 |
| Lisää 15 ml (1 rkl) kylmää vettä. | ||||
| Vihreät pavut | 300 | 600 | 7½-8½ | 2-3 |
| Lisää 30 ml (2 rkl) kylmää vettä. | ||||
| Sekavihannekset (porkkanat/herneet/ maissi) | 300 | 600 | 7-8 | 2-3 |
| Lisää 15 ml (1 rkl) kylmää vettä. | ||||
| Sekavihannekset (kiinalaisittain) | 300 | 600 | 7½-8½ | 2-3 |
| Lisää 15 ml (1 rkl) kylmää vettä. | ||||
Tuoreet vihannekset
Käytä kannellista pyrex-lasikulhoa.
Lisaa 30-45 ml kylmaa vetta 250 grammaa kohden.
Hammenna kerran valmistuksen aikana ja kerran sen jälkeen.
Mausta valmistuksen jälkeen.
Suosittelemme pilkkomaan vihannekset pieniki, samankokoisiki paloiksi, jotta ne kypsyisivat nopeammin.
Kypsennä tuoreet vihannekset taydella mikroaalto Teholla (850 W).
| Ruoka | Annoskoko (g) | Valmistusaika (minuuteissa) | Seisotusaika (minuuteissa) |
| Parsakaali | 250 | 4-5 | 3 |
| 500 | 5-6 | ||
| Leikkaa kukinnot samankokoisiki. Asettele ne kannat keskelleppäin. | |||
| Ruusukaali | 250 | 5-6 | 3 |
| 500 | 7-8 | ||
| Lisää 60-75 ml (4-5 rkl) vettä. | |||
| Porkkanat | 250 | 5-6 | 3 |
| Leikkaa porkkanat samankokoisiki viipaleiksi. | |||
| Kukkakaali | 250 | 5-6 | 3 |
| 500 | 7-8 | ||
| Leikkaa kukinnot samankokoisiki. Halkaise isot kukinnot kahtia. Asettele ne kannat keskelleppäin. | |||
| Kesäkurpitsat | 250 | 3-4 | 3 |
| Leikkaa kesäurpitsat viipaleiksi. Lisää 30 ml (2 rkl) vettä tai nokare voita. Valmista, kunnes ne ovat pehmenneet. | |||
| Munakoisot | 250 | 3-4 | 3 |
| Leikkaa munakoisot pieniki siivuiki ja pirskota niiden pääle 1 rkl sitruunamehua. | |||
| Purjosipulit | 250 | 3-4 | 3 |
| Leikkaa purjosipulit paksuiki viipaleiksi. | |||
Alykkäät valmistustoiminnot
| Ruoka | Annoskoko (g) | Valmistusaika (minuuteissa) | Seisotusaika (minuuteissa) |
| Sienet | 125 250 | 1-2 2-3 | 3 |
| Valmista pienet sienet kokonaisina tai viipaloituina. Älä lisää vettä. Pirskota sitruanamehulla. Mausta suolalla ja pippurilla. Kuiivaa ennen tarjoilua. | |||
| Sipulit | 250 | 4-5 | 3 |
| Leikkaa sipulit viipaleiksi tai puolikkaiski. Lisää ainoastaan 15 ml (1 rkl) vettä. | |||
| Paprikat | 250 | 4-5 | 3 |
| Leikkaa paprika pieniki viipaleiksi. | |||
| Perunat | 250 500 | 4-5 7-8 | 3 |
| Punnitse kuorut perunat ja leikkaa ne samankokoisiki puolikkaiski tai neljäneksiki. | |||
| Kyssäkaali | 250 | 5-6 | 3 |
| Leikkaa kyssäkaali pieniki kuutioiki. | |||
Riisi ja pasta
Sekoita toisinaan valmistuksen aikana ja sen jälkeen.
Kypsennä peittämattä ja peita kannella, kun annat ruoan asettua valmistuksen jälkeen. Huuhtele lopuksi huolellisesti.
- Riisi: Käytä suurikokoista, kannellsta pyrex-lasiastiaa, sillä kypsä riisi vie kaksinkertaisen tilan.
- Pasta: Käytä suurikokoista pyrex-lasiastiaa.
| Ruoka | Annoskoko (g) | Teho (W) | Valmistusaika (minuuteissa) | Seisotusaika (minuuteissa) | Ohjeet |
| Valkoinen riisi (esikeitetty) | 250 | 850 | 17-18 | 5 | Lisää 500 ml kylmää vettä. |
| 375 | 18-20 | Lisää 750 ml kylmää vettä. | |||
| Ruskaa riisi (esikeitetty) | 250 | 850 | 20-22 | 5 | Lisää 500 ml kylmää vettä. |
| 375 | 22-24 | Lisää 750 ml kylmää vettä. | |||
| Sekariiisi (riisi ja villirisi) | 250 | 850 | 17-19 | 5 | Lisää 500 ml kylmää vettä. |
| Sekamaissi (riisi ja maissinjyvä) | 250 | 850 | 18-20 | 5 | Lisää 400 ml kylmää vettä. |
| Pasta | 250 | 850 | 10-11 | 5 | Lisää 1000 ml kuumaa vettä. |
Lammittaminen
- Älå lammita suurikokoista ruokaa, esimerkiki isoja lihakimpaleita, sillä ne ylikypsvät helposti.
Lammittamiseen on parempi kayttaa alhaista tehoa.
Sekoita hyvin tai kännä valmistuksen aikana ja sen jälkeen. - Ole varovainen nesteiden ja vauvanruokien kanssa. Sekoita ne hyvin ennen valmistusta, sen aikana ja sen jälkeen joko muovilusikalla tai lasisella sekoitustikulla, jotta ruoka e kiehuisi ja roiskuisi yli. Seisota tällaiset ruoat uunin sisallä. Käytä pitempää lammitysaikaa kuin muille ruoille.
Suositeltu seisotusaika lammityksen jälkeen on 2-4 minuuttia. Käytä apuna alla olevaa taulukkoa.
Nesteet ja ruoka
| Ruoka | Annoskoko | Teho (W) | Valmistusaika (minuuteissa) | Seisotusaika (minuuteissa) |
| Juoma | 250 ml (1 muki) 500 ml (2 mukia) | 850 | 1½-2 2-3 | 1-2 |
| Kaada keraamiseen kuppiin ja kuumenna peittämättä. Laita kuppi keraamisen alustan keskelle. Hämmenä huolellisesti ennen seisotusta ja sen jälkeen. | ||||
| Keitto (Kylmä) | 250 g | 850 | 3-4 | 2-3 |
| Kaada syvälle keramiikkalautaselle. Peitä muovikuvulla. Hämmenä hyvin lämmityksen jälkeen. Hämmenä vielä kerran ennen tarjoilua. | ||||
| Muhennos (Kylmä) | 350 g | 600 | 5-6 | 2-3 |
| Kaada syvälle keramiikkalautaselle. Peitä muovikuvulla. Hämmenä hyvin lämmityksen jälkeen. Hämmenä vielä kerran ennen tarjoilua. | ||||
| Pastaa kastikkeen kera (kylmä) | 350 g | 600 | 5-6 | 2-3 |
| Kaada syvälle keramiikkalautaselle. Peitä muovikuvulla. Hämmenä hyvin lämmityksen jälkeen. Hämmenä vielä kerran ennen tarjoilua. | ||||
| Valmisateria (kylmä) | 350 g 450 g | 600 | 5-6 6-7 | 3 |
| Aseta 2-3 kylmästä osasta koostuva ruoka-annos keramiikkalautaselle. Peitä mikroaaltounikäytöön soveltuvalla kelmulla. | ||||
Vauvanruoat ja maito
| Ruoka | Annoskoko | Teho (W) | Valmistusaika(sekunneissa) | Seisotusaika(minuuteissa) |
| Vauvanruoka(Vihanneska ja lihaa) | 190 g | 600 | 30-40 | 2-3 |
| Kaada syvälle keramiikkalautaselle. Kypsennä kannen alla. Hämnnävalmistuksen jälkeen. Anna seistä 2-3 minuuttia. Hämnnä hyvinennen tarjoilua ja tarkista lämpötila huolellisesti. | ||||
| Vauvanpuuro (Viljaa, Maitoa ja Hedelmiä) | 190 g | 600 | 20-30 | 2-3 |
| Kaada syvälle keramiikkalautaselle. Kypsennä kannen alla. Hämnnävalmistuksen jälkeen. Anna seistä 2-3 minuuttia. Hämnnä hyvinennen tarjoilua ja tarkista lämpötila huolellisesti. | ||||
| Vauvanmaito | 100 ml200 ml | 300 | 30-4050-60 | 2-3 |
| Hämnnä tai ravista hyvin ja kaada steriloituun lasipulloon. Laita keraamisen alustan keskelle. Kypsennä peittämättä. Ravista hyvin jaanna seistä vähintään 3 minuuttia. Ravista hyvinennen tarjoilua ja tarkista lämpötila huolellisesti. | ||||
Sulatus
Laita pakastetut ruoat kannettomaan, mikroaaltouuninkestävään astiaan. Kaannruoka sulatuksen aikana, ja kaada sulatuksen jälkeen ylimäräinenesto ja muut jaänteet pois. Ruoka sulaa nopeammin,Jos paloittelet sen pieniki palasiksi ja kärit palaset alumiinifolioon ennen sulatusta. Kun pakasteiden pinta alkaa sulaa, lopeta sulatus ja anna ruoan seisoa alla olevassa taulukossa mainitun ajan.
Alä muuta sulatuksen oletustehoa (180 W).
Aseta ruoka keraamiselle alustalle ja aseta keraaminen alusta tasolle 1.
Alykkäät valmistustoiminnot
| Ruoka | Annoskoko (g) | Sulatusaika (minuuteissa) | Seisotusaika (minuuteissa) | |
| Liha | Jauheliha | 250 | 6-7 | 15-30 |
| 500 | 8-12 | |||
| Sianlihapihvit | 250 | 7-8 | ||
| Laita liha keramiikkalautaselle. Suojaa ohuet reunat alumiinifoliolla. Käännä ne sulatuksen puolenvälin jälleen. | ||||
| Linnunliha | Kananpalat | 500 (2 kpl) | 12-14 | 15-60 |
| Kana, kokonainen | 1200 | 28-32 | ||
| Laita ensin kananpalat nahkapuoli alaspäin, koko kana rintapuoli alaspäin keraamiselle alustalle. Suojaa ohuet osat, kuten siivet ja pääät, alumiinifoliolla. Käännä ne sulatuksen puolenvälin jälleen. | ||||
| Kala | Kalafleet | 200 | 6-7 | 10-25 |
| Kokonainen kala | 400 | 11-13 | ||
| Laita pakastettu kala keraamisen lautasen keskelle. Aseta ohuemmat osat paksumpien osien alle. Suojaa fileiden kaepaää ja kokonaisen kalan pyrstö alumiinifoliolla. Käännä ne sulatuksen puolenvälin jälleen. | ||||
| Hedelmät | Marjat | 300 | 6-7 | 5-10 |
| Levitä hedelmät matalalle ja pyöreälle lasiastiale, jolla on suuri halkaisija. | ||||
| Leipä | Sampylät (à n. 50 g) | 2 kpl | 1-1½ | 5-20 |
| 4 kpl | 2½-3 | |||
| Paahtoleipä/ voileipä | 250 | 4-4½ | ||
| 500 | 7-9 | |||
| Asettele smpylät ympyrään tai leipä vaakasuuntaisesti leivinpaperille keraamiselle tasolle. Käännä ne sulatuksen puolenvälin jälleen. | ||||
Kiertoilmatoiminnon opas
Kiertoilma
Käytä tassā taulukossa esitettyjä lampötiloja ja aikoja ohjeena paistamista varten.
Suosittelemme esilammittamaan uunin Konvektio-tilassa.
| Ruoka | Lämpöt. (°C) | Lisātarvike | Taso | Valmistusaika (minuuteissa) |
| Hasselpähkinäkakku suorakaiteen muotoisesa vuoassa | 160-170 | Uuniteline | 2 | 60-70 |
| Sitruunakakku rengas-tai kulhovuoassa | 150-160 | Uuniteline | 2 | 50-60 |
| Sokerikakku | 150-160 | Uuniteline | 2 | 25-35 |
| Hedelmäpiirakan pohja | 150-170 | Uuniteline | 2 | 25-35 |
| Matala murukuorrutettu hedelmäorttu (hiivataikina) | 150-170 | Uunipelti | 3 | 30-40 |
| Kroissantit | 170-180 | Uunipelti | 2 | 10-15 |
| Sämpylät | 180-190 | Uunipelti | 2 | 10-15 |
| Keksit | 160-180 | Uunipelti | 3 | 10-20 |
| Ranskalaiset perunat | 200-220 | Uunipelti | 3 | 15-20 |
Yalampo + konvektio
Käytä tassā taulukossa esitettyjä lampötiloja ja aikoja ohjeena paahtamista varten.
Suosittelemme esilammittamaan uunin Ylalampo ^+ Konvektio -tilassa.
Laita liha uunirilalle, noudata taulukossa annettuja hyllytasoja ja käytä leivinpeltia öljypannuna tasolla 2.
| Ruoka | Lämpöt. (°C) | Lisātarvike | Taso | Valmistusaika (minuuteissa) |
| Naudanlihapaisti (1 kg / keskikokoinen) | 170-190 | Uuniteline + Uunipelti | 3+2 | 60-90 |
| Sianlapa / Rulla (1 kg) | 180-200 | Uuniteline + Uunipelti | 3+2 | 90-120 |
| Lampaanpaisti / lampaanreisi (0,8 kg) | 190-210 | Uuniteline + Uunipelti | 3+2 | 50-80 |
| Kokonainen kana (1,2 kg) | 200-220 | Uuniteline + Uunipelti | 3+2 | 50-70 |
| Kala, kokonaiset taimenet (2 kpl / 0,5 kg) | 180-200 | Uuniteline + Uunipelti | 3+2 | 30-40 |
| Ankanrinta (0,3 kg) | 180-200 | Uuniteline + Uunipelti | 3+2 | 25-35 |
Pohjalmpo + konvektio
Käytä tassä taulukossa esitettyjä lampötiloja ja aikoja ohjeena paistamista varten.
Suosittelemme esilammittamaaunuin Alalampo + Konvektio -tilassa.
| Ruoka | Lämpöt. (°C) | Lisātarvike | Taso | Valmistusaika (minuuteissa) |
| Kotitekoinen pizza | 180-200 | Uunipelti | 1 | 20-30 |
| Jäähdytety esipaistetti quiche / piirakka | 180-200 | Uuniteline | 2 | 10-15 |
| Pakastetti itsekohoava pizza | 180-200 | Uunipelti | 2 | 15-20 |
| Pakastetti pizza | 180-200 | Uunipelti | 2 | 15-25 |
| Jäähdytety pizza | 180-200 | Uunipelti | 2 | 8-15 |
| Omenapiirakka | 160-180 | Uuniteline | 1 | 60-70 |
| Leivonnainen, omenatäyte | 180-200 | Uunipelti | 2 | 10-15 |
Alykkäät valmistustoiminnot
Grillausopas
Iso grilli
Käytä tassā taulukossa esitettyjä lampötiloja ja aikoja ohjeena grillausta varten.
Aseta grillauslampotilaksi 220 ^ C ja esilammita 5 minuuttia.
| Ruoka | Lisātarvike | Taso | Kypsennysaika 1. puoli (min.) | Kypsennysaika 2. puoli (min.) |
| Kebabvartaat | Uuniteline + Uunipelti | 5+2 | 8-10 | 6-8 |
| Sianlihapihvit | Uuniteline + Uunipelti | 5+2 | 7-9 | 5-7 |
| Makkarat | Uuniteline | 5+2 | 6-8 | 6-8 |
| Kananpalat | Uuniteline + Uunipelti | 5+2 | 20-25 | 15-20 |
| Lohimedaljongit | Uuniteline + Uunipelti | 5+2 | 8-12 | 6-10 |
| Viipaloidut vihannekset | Uunipelti | 5 | 15-20 | - |
| Pahtoleipä | Uuniteline | 5 | 2-3 | 1-2 |
| Juustokuorrutteiset pahtoleivät | Uuniteline | 5 | 3-5 | - |
Puhallin grilli
Käytä tassā taulukossa esitettyjä lampötiloja ja aikoja ohjeena grillausta varten.
Aseta grillauslampotilaksi 220 ^ C ja esilammita 5 minuttia.
| Ruoka | Lisātarvike | Taso | Valmistusaika (minuuteissa) |
| Makkarat | Uuniteline | 4 | 8-10 |
| Perunalohkot | Uuniteline | 4 | 20-25 |
| Pakastut uunisipsit | Uunipelti | 4 | 15-20 |
| Pakastut kroketit | Uunipelti | 4 | 20-25 |
| Pakastut nugetit | Uunipelti | 4 | 15-20 |
| Lohipihvi | Uuniteline + Uunipelti | 4+2 | 15-20 |
| Kalafiee | Uuniteline + Uunipelti | 4+2 | 12-17 |
| Kokonainen kala | Uuniteline + Uunipelti | 4+2 | 15-20 |
| Kananpalat | Uuniteline + Uunipelti | 4+2 | 30-40 |
Yhdistetynruoanvalmistuksen opas
- Älä käytä metallisia astioita mikroaaltouunitilassa. Laita ruokapakkaukset aina syvennykseen.
Suosittelemme ruoan peittamista, jotta tulokset olisivat mahdollisimman hyvat.
Kun ruoka on valmista, anna sen asettua omassa hóryssään.
Mikroaalto + grilli
Käytä tassā taulukossa esitettyjā tehtasoja, lampötiloja ja aikoja ohjeina kypsennysta varten.
Eslammitys ei ole tarpeen.
| Ruoka | Teho (W) | Lämpöt. (°C) | Lisātarvike | Taso | Kypsennysaika 1. puoli (min.) | Kypsennysaika 2. puoli (min.) |
| Uuniperunat | 600 | 180-200 | Keraaminen alusta + Grillausritilä | 4 | 10-15 | - |
| Grillatut tomaatit | 300 | 160-180 | Keraaminen alusta + Grillausritilä | 4 | 05-10 | - |
| Vihannesgratiini | 450 | 180-200 | Keraaminen alusta + Grillausritilä | 4 | 10-20 | - |
| Paistettu kala | 300 | 180-200 | Keraaminen alusta + Grillausritilä | 4 | 04-08 | 04-06 |
| Kananpalat | 300 | 180-200 | Keraaminen alusta + Grillausritilä | 4 | 10-15 | 10-15 |
Mikroaaltouni + Kiertoilma
Käytä tassā taulukossa esitettyjā tehtasoja, lampötiloja ja aikoja ohjeina kypsennysta varten.
Esilämmitys ei ole tarpeen.
| Ruoka | Teho (W) | Lämpôt. (°C) | Lisātarvike | Taso | Kypsennysaika 1. puoli (min.) | Kypsennysaika 2. puoli (min.) |
| Kokonainen kana (1,2 kg) | 450 | 180-200 | Keraaminen alusta + Grillausritilä | 3 | 25-30 | 15-25 |
| Naudanpaisti/ lammas (medium) | 300 | 180-200 | Keraaminen alusta + Grillausritilä | 3 | 15-20 | 15-20 |
| Pakastettu lasagne / pastagatiini | 450 | 180-200 | Keraaminen alusta + Grillausritilä | 3 | 20-25 | - |
| Perunagratiini | 450 | 180-200 | Keraaminen alusta + Grillausritilä | 3 | 10-15 | - |
| Hedelmätorttu | 100 | 160-180 | Keraaminen alusta | 3 | 40-50 | - |
Alykkäät valmistustoiminnot
Mikroaaltouuni + paahtaminen
Käytä tassā taulukossa esitettyjä tehtasoja, lampötiloja ja aikoja ohjeina kypsennysta varten.
Esilammitys ei ole tarpeen.
| Ruoka | Teho (W) | Lämpüt. (°C) | Lisātarvike | Taso | Valmistusaika (minuuteissa) |
| Kananpalat | 300 | 180-200 | Keraaminen alusta + Grillausrilä | 4 | 20-30 |
| Perunalohkot | 300 | 180-200 | Keraaminen alusta + Grillausrilä | 4 | 15-20 |
| Kokonainen kala | 300 | 180-200 | Keraaminen alusta + Grillausrilä | 4 | 15-20 |
| Kalaflee | 300 | 180-200 | Keraaminen alusta + Grillausrilä | 4 | 10-15 |
| Pakastut nugetit | 450 | 180-200 | Keraaminen alusta + Grillausrilä | 4 | 10-15 |
| Pakastut kevätkäryleet | 300 | 180-200 | Keraaminen alusta + Grillausrilä | 4 | 05-10 |
| Pakastetu kalapuikko | 300 | 180-200 | Keraaminen alusta + Grillausrilä | 4 | 15-20 |
Pro Steamer -hörykeitin
Kypsennysaika riippuu ruoan koosta, koostumuksesta ja tyypista. Kun hórytát ohuita viipaleita tai pienia paloja, suosittelemme lyhentàaan aikaa. Paksuja
viipaleita tai isoja paloja hórytetyttaessä, aikaa voidaan lisā. Káytä tassā taulukossa esitettyjā tehtasoja ja aikoja hórykyspennyksen ohjeena.
| Ruoka | annos (g) | Kylmävesi (ml) | Teho (W) | Aika (min) | Ohje |
| Parsakaalin kukinnot | 400 | 500 | 850 | 12-18 | Huuhtele ja puhdista parsakaali. Leikkaa kukinto samankokoisiki si paloiki. Laita kukinnot tasaisesti hórytysalustalle. |
| Porkkanat | 400 | 500 | 850 | 15-20 | Pese ja puhdista porkkanat ja leikkaa ne samankokoisiki siivuiki. Aseta siivut hórytysalustalle. |
| Kukkakaali kokonainen | 600 | 500 | 850 | 20-25 | Puhdista kokonainen kukkakaali ja aseta se hórytysalustalle. |
| Maissintähkät | 400 (2 kpl) | 500 | 850 | 23-28 | Huuhtele ja puhdasta maissinvarret. Laita maissintähkät vierekkäin hórytysalustalle. |
| Kesäkurpitsat | 400 | 500 | 850 | 15-20 | Huuhtele kesäkurpitsat ja leikkaa ne samankokoisiki viipaleiksi. Aseta tasaisesti hórytysalustalle. |
| Pakastetut sekavihannekset | 400 | 500 | 850 | 18-22 | Aseta pakastetut sekavihannekset (-18 °C), esim. parsakaali, kukkakaali, viipaloidut porkkanat, tasaisesti hórytysalustalle. |
| Perunat (pieni) | 500 | 500 | 850 | 25-30 | Huuhtele ja puhdista perunat ja lväistä kuorihaarukalla. Aseta kokonaiset perunat tasaisesti hórytysalustalle. |
| Omenat | 800 (8 omenaa) | 500 | 850 | 15-20 | Huuhtele ja kuori omenat. Laita omenat pystyasentoon vierekkäin hörytysalustalle. |
| Kananmunat | 4-6 kananmunaa | 500 | 850 | 15-20 | Lävistä 4-6 tuoretta kananmunaa (kokoa M) ja aseta ne höyrystysastian pieniin onteloihin. Pida hörytyksen jälleen peitetynä 2-5 minuuttia. |
| Siniset katkaravut | 250 (5-6 kpl) | 500 | 850 | 10-15 | Pirskota sinikatkarapujen päälle 1-2 rkl sitruunamehua. Laita ne tasaisesti hörytysalustalle. |
| Kalafleet (Turskakala, ruusukala) | 500 (2-3 kpl) | 500 | 850 | 15-20 | Ripottele kalafileiden päälle 1-2 rkl sitruunamehua ja lisää yrntejä ja mausteita (esim. rosmariinia). Laita fileet tasaisesti hörytysalustalle. |
| Kananrintafileet | 400 (2 fileetä) | 500 | 850 | 20-25 | Huuhtele ja puhdista kananrintafileet. Laita kananrintafileet vierekkäin hörytysalustalle. |

HUOM.
Pro Steamerin puhdistaminen.
- Puhdista Pro Steamer lampimällä vedellä ja pesuaineella ja huuhtele puhtaalla vedellä.
- Älä käytä hankaavaa harjaai tai kovaa sienta, koska pintakerros voi vaurioitua.
Pro Steamer ei sovellu kaytettavaksi astianpesukoneessa.
Puhallin perinteinen opas
Käytä tassä taulukossa esitettyjä lampötiloja ja aikoja ohjeena paistamista varten.
Suosittelemme esilammittamän uunin perinteisella puhaltimella.
| Ruoka | Lamppöt. (°C) | Lisātarvike | Taso | Valmistusaika (minuuteissa) |
| Lasagne | 200-220 | Uuniteline | 3 | 20-25 |
| Vihannesgratiini | 180-200 | Uuniteline | 3 | 20-30 |
| Perunagratiini | 180-200 | Uuniteline | 3 | 40-60 |
| Pakastepizza patongit | 160-180 | Uunipelti | 3 | 10-15 |
| Marmorikakku | 160-180 | Uuniteline | 2 | 50-70 |
| Kakku | 150-170 | Uuniteline | 2 | 50-60 |
| Muffinsit | 180-200 | Uuniteline | 2 | 20-30 |
| Keksit | 180-200 | Uunipelti | 3 | 10-20 |
Intensiivisen ruoanvalmistuksen opas
Käytä tassā taulukossa esitettyjä lampötiloja ja aikoja ohjeena paahamista varten. Suosittelemme esilämmittāmaan uunin intensivitilassa (ylä + ala + konvektio).
| Ruoka | Lämpôt. (°C) | Lisātarvike | Taso | Valmistusaika (minuuteissa) |
| Lasagne (2 kg) | 180-200 | Uuniteline | 2 | 20-30 |
| Vihannesgratiini (2 kg) | 160-180 | Uuniteline | 2 | 40-60 |
| Perunagratiini (2 kg) | 160-180 | Uuniteline | 2 | 60-90 |
| Paahtopaisti (2 kg) | 160-180 | Uuniteline + Uunipelti | 3+2 | 60-90 |
| Kokonainen ankka (2 kg) | 180-200 | Uuniteline + Uunipelti | 3+2 | 60-90 |
| 2 kokonaista kanaa (1,2 kg kukin) | 200-220 | Uuniteline + Uunipelti | 3+2 | 60-90 |
Alykkäät valmistustoiminnot
Pro-pahto
Täm tilasisaltaa automaattisen lammitysjakson yli 200 ^ C n lampotilaan.
Yalammitin ja konvektiupahllin toimivat lihan pahtamisen aikana. Taman vaiheen jalkeen ruoka kypsennetaan hellavaraisesti alhaisessa esivalntalampotilassa.
Täm prosessi tehdaan yla- ja alalammittimien ollessa toiminnassa.
Täm tilasopii lihapaistille, siipikarjalle ja kalalle.
Kaytataassauulukossa esitettyj lamptiloja ja aikoja ohjeena paahtamista varten.
| Ruoka | Lamppö. (°C) | Lisātarvike | Taso | Valmistusaika (tuntia) |
| Paahtopaisti | 80-100 | Uuniteline + Uunipelti | 3+2 | 3:30-4:30 |
| Paahdettu sianliha | 80-110 | Uuniteline + Uunipelti | 3+2 | 3:30-4:00 |
| Ankka rinta | 80-100 | Uuniteline + Uunipelti | 3+2 | 1.30-2:00 |
| Naudan ulkofilee | 80-110 | Uuniteline + Uunipelti | 3+2 | 1.30-2:00 |
| Porsaanfilee | 80-110 | Uuniteline + Uunipelti | 3+2 | 1.30-2:00 |
Air Fry
Käytä tassā taulukossa esitettyjä lampötiloja ja aikoja ohjeina ilman avulla tapahtuvaa paistamista varten. Esilammitystä ei tarvita.
| Ruoka | Annoskoko (g) | Lämpät. (°C) | Taso | Valmistusaika (minuuteissa) |
| Perunat | ||||
| Pakasteranskalaiset | 500-1000 | 210-220 | 4 | 20-25 |
| Pakastetut uunisipsit, maustetut | 500-1000 | 210-220 | 4 | 15-20 |
| Pakastetut Tater Tots | 500-1000 | 210-220 | 4 | 15-20 |
| Pakastetu Hash Brown* | 500-1000 | 210-220 | 4 | 15-20 |
| Pakastetut perunalohkot | 500-1000 | 210-220 | 4 | 15-20 |
| Kotitekoiset uunisipsit | 500-1000 | 190-200 | 4 | 20-25 |
| Kotitekoiset perunaviipaleet* | 500-1000 | 200-210 | 4 | 20-25 |
| Pakastettu | ||||
| Pakastetut broilerinugetit | 300-500 | 210-220 | 4 | 15-20 |
| Pakastetut broilerinsivet* | 500-1000 | 210-220 | 4 | 25-30 |
| Pakastetut sipulirenkaat | 300-500 | 210-220 | 4 | 10-15 |
| Pakastetut kalapuikot | 300-500 | 210-220 | 4 | 15-20 |
| Pakastetut broilerin suikaleet | 500-1000 | 210-220 | 4 | 20-25 |
| Jäädytetyt Churros | 300-500 | 190-200 | 4 | 10-15 |
| Linnunliha | ||||
| Tuoreet rintavartaat* | 500-1000 | 200-210 | 4 | 30-35 |
| Tuoreet broilerinsivet* | 300-500 | 200-210 | 4 | 27-32 |
| Kananrinta, leivitetty* | 300-500 | 200-210 | 4 | 25-30 |
| Ruoka | Annoskoko (g) | Lämpöt. (°C) | Taso | Valmistusaika (minuuteissa) |
| Vihannekset | ||||
| Parsa, leivitetty | 100-300 | 200 | 4 | 15-20 |
| Munakoisot, leivitetyt | 200-400 | 200 | 4 | 15-20 |
| Sieni, leivitetty | 100-300 | 200 | 4 | 15-20 |
| Sipuli, leivitetty | 100-300 | 200 | 4 | 15-20 |
| Kukkakaali, leivitetty | 300-500 | 190-200 | 4 | 15-20 |
| Vihannessekoitus, leivitetty | 300-500 | 200 | 4 | 15-20 |
- Kännä se 2/3 kypsennysajan jälkeen.

HUOM.
- Aseta leivinpelti tai alusta Air fry -alustan alla olevalle telineelle, jotta mahdolliset valumat saadaan talteen. Tämä auttaa vahentämään raskymistä ja savua.
- Ennen kuin kaytät leivinpaperia, tarkista leivinpaperin suurin salitttu lampötila.
Tuoreiden tai kotitekoisten ruokien kypsennyksessä voit levittä öljyä laajemmalle alueelle tasaisemmin, jolloin ruoka rapeutuu tehokkaammin.
Monitasoen ruoanlaitto (Erikoisohjelma)
Käytä tassā taulukossa esitettyjä lampötiloja ja aikoja ohjeena paistamista varten. Suosittelemme esilämmtāmān uunin monitasaissesa kypsennystilassa.
| Ruoka | Lämpöt. (°C) | Lisātarvike | Taso | Valmistusaika (minuuteissa) |
| Pienet kakut | 150-160 | 2 uunipeltiä | 2+4 | 20-30 |
| Minipiirakat | 160-180 | 2 uunipeltiä | 2+4 | 20-30 |
| Kroissantit | 160-180 | 2 uunipeltiä | 2+4 | 20-30 |
| Leivonnainen | 180-200 | 2 uunipeltiä | 2+4 | 30-40 |
| Keksit | 170-190 | 2 uunipeltiä | 2+4 | 15-20 |
| Lasagne | 160-180 | Uuniteline + Uunipelti | 2+4 | 30-45 |
| Pakastutuunisipsit | 180-200 | 2 uunipeltiä | 2+4 | 30-50 |
| Pakastutungetit | 180-200 | 2 uunipeltiä | 2+4 | 20-30 |
| Pakastettupizza | 200-220 | Uuniteline + Uunipelti | 2+4 | 20-30 |
Alykkäät valmistustoiminnot
Nopea ja helppo
Voin sulattaminen
Laita 50 g voita pieneen, mutta syvään lasiastiaan. Peita muovikuvulla. Lämmitä 30-40 sekuntia, kunnes voi sulaa.
Suklaan sulattaminen
Laita 100 g suklaata pienneen, mutta syvään lasiastian. Lämmitä 450 W:n teholla 3-5 minuuttia, kunnes suklaa sulaa. Hämmenä sulatuksen aikana kerran tai kaksi kertaa. Käytä grillikintaita, kun otat ruokaa uunista.
Kiteytyneen hunajan sulattaminen
Laita 20 g kiteytynytta hunajaa pienceen, mutta syvään lasiastian. Lämmitä 300 W:n teholla 20-30 sekuntia, kunnes hunaja sulaa.
Liivatteen sulatus
Liota kuivia liivatelehtiä (10 g) 5 minuuttia kylmässä vedessä. Laita valutettu liivate pieneen pyrex-lasikulhoon. Lammita 300 W:n teholla 1 minuutti. Hammennä sulatuksen jälkeen.
Kuorrutuksen ja sokerikuorrutuksen valmistaminen (kakuille)
Sekoita keskenäan valmiskuorrutusaineket (n. 14 g), 40 g sokeria ja 250 ml kylmaa vetta. Valmista peittamattä pyrex-lasikulhossa 850 W:n teholla 312 - 412 minuuttia, kunnes kuorrutus tai sokerikuorrutus on lapikuultavaa. Hammennä valmistuksen aikana kaksi kertaa.
Hilton valmistus
Aseta 600 g hedelmiä (esimerkiksi sekamarjoja) sopivankokoiseen, kannellisen pyrexlasikulhoon. Lisää 300 g säilontäsokeria ja hammennä hyvin. Kypsennä kannen alla 10-12 minuuttia 850 W:n teholla. Sekoita usein valmistuksen aikana. Kaada suoraan pieniin, kierrekannellisiin hillopurkkeihin. Anna seistä kannen alla 5 minuuttia.
Vanukkaan valmistus
Sekoita vanukasajuhe sokerin ja maidon (500 ml) kanssa valmistajan ohjeiden mukaisesti ja hammennä hyvin. Käytä soveltuva, kannellista pyrex-lasikulhoa. Kypsennä kannen alla 612 - 712 minuuttia 850 W:n teholla. Hammennä saannollisesti hyvin valmistuksen aikana.
Mantelisiivujen ruskistaminen
Levita 30g mantelipalasia keskikokoiselle keramiikkalauteselle tasaisesti. Hammenna saannollisesti ruskistuksen aikana (ruskista 600 W:n teholla 312 - 412 minuuttia). Anna seista 2-3 minuuttia uunissa. Käytä grillikintaita, kun otat ruokaa unista.
Puhdistaminen
Puhdista uuni saannollisesti, jotta sen sisä- ja ulkopuolelle ei paësisi kertymaan likaa. Kiinnitä erityistà huomiota myös luukkuun ja luukun tiivistykseen (vain soveltuvat mallit).
Jos luukku ei avaudu tai sulkeudu kunnolla, tarkista ensin, onko sen tiivisteisiin paassyt kertymaan likaa. Kayta saippuavedelläkestutettua pehmea liinaa uunin sisä- ja ulkopintojen puhidistamiseen. Huhhte ja kuivaa hyvin.
Jos laitteen ulkopinnalla (kuten oven pinnalla, kahvassa tai naytossa) on sormenjalkia, rasvaa tai tahroja, puhdista se pehmealla liinalla lasinpuhdistusaineella tai neutraalilla pesuaineella ja pyyhi sitten kuivaksi pehmealla, puhtaalla ja kuivalla liinalla.
Puhdista mikroaaltouunin sisälta kaikki vaikea ja haiseva lika.
- Kun uuni on tyhjä, laita kupillinen laimennettua sitruanamehua univivoan keskelle.
- Kuumenna unia 10 minuuttia uunitilan enimmäislampötilassa.
- Kun ohjelma on paattynyt, odota uunin jahtymista. Avaa taman jalkeen luukku ja puhdasta uunin sisatilat.

HUOMIO
- Pidä luukku ja sen tiiviste puhtaina ja varmista, etä luukku avautuu ja sulkeutuu kunnolla. Muutoin uunin käytöikä saattaa lyhetä.
Varo laikytta masta vetta uunin ilmanvaihtoaukkoihin.
Alä käytä puhistamiseen mitaān hankaavia tai kemialisia aineita. - Puhdista uuni kunkin käytökerran jälkeen miedolla pesuaineella, kun olet ensin antanut uunin jahtiya.
Sivutelineet (vain soveltuvat mallit)

- Nosta telineen etuosaa ylos, jotta se irtoa pidikkeestä.

- Irrota teline vetamalla site teeenpain.
- Irrota toinen sivuteline samalla tavalla.
- Puhdista molemmat sivutelineet.
- Kun olet valmis, noudata vaiheita 1-2 känteisessä järjestyksessä niiden kokoamiseksi.

HUOM.
Uuni toimii ilman paikallaan olevia sivutelineita ja telineita.
Vaihtaminen (korjaaminen)
VAROITUS
Uunissa ei ole kaytajan vaihdettavissa olevia osia. Alä vaihda tai korjaa unia itse.
- Jos uunin saranoissa, tiivisteissä ja/tai luukussa esiintyy ongelmia, ota yhteyttä patevään asentajaan tai lahimpään Samsungin huoltoon.
Jos haluat vaihtaa uunin valon, ota yhteyttä lahimpään Samsungin huoltoon. Älä vaihda osaa itse. - Jos havaitset ongelmia unin ulkorungossa, irrota virtajohto pistorasiasta ja ota yhteyttä lahimpään Samsungin huoltoon.
Pitkä käytämattömanä seisottamista edeltävät suojatoimet
Jos et käytä uunia pitkään aikaan, irrota virtajohto pistorasiasta ja sailytä uunia jossakin kuivassa, polyttömässä tilassa. Jos uunin sisälle paäsee kertymään polyä ja kosuetta, uunin suorituskykya saattaa kärsiä.
Vianmääritys
Uunin kayton aikana saattaa esintyä ongelmia. Jos nain kay, tutustu alla olevaan taulukkoon ja cokeile siina ehdotettuja ratkaisuja. Jos ongelma jatkuu taiJos jokin nayttkoodi ilmestyy toistuvasti nayttoon, ota yhtetytta lahimpaan Samsungin huoltoon.
Tarkistettavat kohdat
Jos uunin käytössä on ongelmia, tarkista ensin alla olevan taulukon tiedot ja cokeile siinä annettuja ratkaisuehdotuksia.
| Ongelma | Syy | Toimenpide |
| Yleistä | ||
| Painikkeita ei voi painaa kunnolla. | Painikkeiden väleissä saattaa olla likaa. | Puhdista lika ja yritä uudelleen. |
| Kosketusnäytölliset mallit: Pinnalla on kosutta. | Pyyhi kosteus pois laitteen pinnalta. | |
| Lapsilukko on käytössä. | Ota lapsilukko pois käytõstä. | |
| Aikaa ei näytetä. | Virtaa ei tule. | Varmista, että virransyöttö toimii. |
| Näytövaihtohto on pois päältä. | Kytke näytövaihtohto päälle. On normalia, että tämänhetkinen kallonäika katoaa muutaman minuutin kuluttua siitä, kun näytö on kytketty päälle. | |
| Uuni ei toimi. | Virtaa ei tule. | Varmista, ettã virransyöttö toimii. |
| Luukku on auki. | Sulje luukku ja yritã uudelleen. | |
| Luukun avauksen turvamekanismissa saattaa olla likaa. | Puhdista lika ja yritã uudelleen. | |
| Uuni lakkaa toimimasta kesken käytön. | Käytäjã on avannut luukun ruoan käantämiseksi. | Kun olet käantãnyt ruoan, valitse Jatka, ja paina sitten Dial Knob. |
| Uuni sammuu käytön aikana. | Uuni on ollut käynissä pitkãn aikaa. | Anna unin jähtyã, jos se on ollut käynissä pitkãnn. |
| Puhallin ei toimi. | Kuntele, onko puhallin käynissä. | |
| Uunia yritetãän käyttaa tyhjanã. | Laita ruoka uuniin. | |
| Unin ilmanvaihtoon ei ole riittāvãsti tilaa. | Unin edessã ja takana on ilmanvaihtoaukot. Jatã laitteen ympärille asennusoppaassa mainitut ilmanvaihtoraot. | |
| Samassa pistorasiassa on useita pistokkeita. | Käytã pistorasiaa pelkãstãnn uunille. | |
| Uuniin ei tule virtaa. | Virtaa ei tule. | Varmista, ettã viransyöttö toimii. |
| Ongelma | Syy | Toimenpide |
| Uuni pokshtelee käytön aikana tai ei toimi. | Sinetöidyissä pakkauksissa tai kannen alla olevien ruokien valmistuksen aikana saattaa kuulua pokshtelua. | Älä käytä sinetöityjä pakkauksia, sillä ne voivat räjähtää valmistuksen aikana, kun pakkauksen sisälto laajenee. |
| Uunin ulkopinta kuumenee liikaa käytön aikana. | Uunin ilmanvaihtoon ei ole riittävästi tilaa. | Uunin edessä ja takana on ilmanvaihtoakot. Jätä laitteen ympärille asennusoppaassa mainitut ilmanvaihtoraot. |
| Uunin päällä on esineitä. | Poista kaikki uunin päällä olevat esineet. | |
| Luukku ei aukea kunnolla. | Luukun ja uunin sisäosan vällin on päässyt ruokaa. | Puhdista uuni ja avaa luukku. |
| Uuni ei kuumene. | Uuni ei saata toimia, ruokaa on liikaa tai valmistusastiat ovat vaäränlaisia. | Aseta kupillinen vettä mikroaltouninkestävään astiaan ja käytä uunia 1-2 minuuttia. Tarkista, lämpenikö vesi. Vähennä ruokamäärää ja käynnistä toiminto uudelleen. Käytä tasapohjaista valmistusastiaa. |
Vianmääritys
| Ongelma | Syy | Toimenpide |
| Lämmitäminen ei ole sehokasta tai se on hidasta. | Uuni ei saata toimia, ruokaa on liikaa tai valmistusastiat ovat vääränlaisia. | Aseta kupillinen vettä mikroaltouninkestävään astian ja kääytä uunia 1-2 minuuttia.Tarkista, lämpenö vesi.Vähennä ruokamäärää ja käynistä toiminto uudelleen.Kääytä tasapohjaista valmistusastiaa. |
| Lämmitystoiminto ei toimi. | Uuni ei saata toimia, ruokaa on liikaa tai valmistusastiat ovat vääränlaisia. | Aseta kupillinen vettä mikroaltouninkestävään astian ja kääytä uunia 1-2 minuuttia.Tarkista, lämpenö vesi.Vähennä ruokamäärää ja käynistä toIMTO uudelleen.Kääytä tasapohjaista valmistusastiaa. |
| Ongelma | Syy | Toimenpide |
| Sulatustoiminto ei toimi. | Uuni ei saata toimia, ruokaa on liikaa tai valmistusastiat ovat vääränlaisia. | Aseta kupillinen vettä mikroaltouninkestävään astiaan ja kääytä uunia 1-2 minuuttia. Tarkista, lämpenikö vesi. Vähennä ruokamäärää ja käynistä toiminto uudelleen. Kääytä tasapohjaista valmistusastiaa. |
| Sisävalo on himmeä tai se ei pala lainkaan. | Luukku on jätetty auki pitkäksi aikaa. | Sisävalo saattaa sammua automaattisesti, kun luukku on pitkään auki. Sulje ovi ja avaa se uudelleen tai paina "Valo"-painiketta. |
| Sisävalo on likainen. | Puhdista unin sisātilat ja tarkista, ratkesiko ongelma. | |
| Valmistuksen aikana kuuluu äänimerkki. | Jos kääytössä on Automaattinen kypsennys tai Automaattinen sulatus -toiminto, tämä merkkiäni tarkoittaa, etta on aika kääntä ruka sulatuksen aikana. | Kännä ruokaa, kun ilmoitus tulee näkyviin, valitse OK, ja paina sitten Dial Knob. Valitse sitten Jatka, ja paina sitten Dial Knob ja jatka valmistusta. |
| Uuni ei ole tasapainossa. | Uuni on asennettu epātasaiselle pinnalle. | Varmista, että uuni on tasaisella ja liikkumattomalla alustalla. |
| Valmistuksen aikana nakyk ykipinöitä. | Metalliastiaa käytetäänvalmistuksen tai sulatuksenaikana. | Älä käytä metalliastioita. |
| Kun virta kytketään, uuni käynnistyy valittömästi. | Luukkua ei ole suljettu kunnolla. | Sulje luukku ja tarkista, ratkesiko ongelma. |
| Uunista vuotaa sähkoä. | Sähkoliitäntäa tai pistorasiaaei ole maadoitetu oikein. | Varmista, että sähkoliitänta ja pistorasia on maadoitetu asianmukaisesti. |
| Laitteesta tippuu vettä. | Laitteseen saattaa valmistettavasta ruoasta riippuen kertyä nestettä tai höryä.Tämä ei ole vika. | Anna uunin jähtyä ja pyyhiesto pois kuivalla tiskipyyhkeellä. |
| Luukusta tulee höryä. | Laitteseen saattaa valmistettavasta ruoasta riippuen kertyä nestettä tai höryä.Tämä ei ole vika. | Anna uunin jähtyä ja pyyhiesto pois kuivalla tiskipyyhkeellä. |
| Uuniin jää vettä. | Laitteseen saattaa valmistettavasta ruoasta riippuen kertyä nestettä tai höryä.Tämä ei ole vika. | Anna uunin jähtyä ja pyyhiesto pois kuivalla tiskipyyhkeellä. |
| Kirkkaus uunin sisällä vaihtelee. | Kirkkaus vaihteel eri toimintojen ja niissä tehtävien tehonmuutosten mukaisesti. | Valmistuksen aikana tapahtuvat tehonmuutokset eivätole toimintahäiriöitä.Tämä ei ole vika. |
| Ongelma | Syy | Toimenpide |
| Valmistus on päättynyt, mutta puhallin toimii edelleen. | Puhallin toimii n. 5 minuuttia valmistuksen jälkeen uunin jäähydtämiseksi. | Tämä ei ole vika. |
| +30 sek -painikkeen painaminen käynistää uunin. | Näin käy, kun uuni ei ole käynnissä. | Mikroaaltouni on suunnitelu käynistymään +30 sek -painikkeen painalluksesta silloin, kun se ei ole käynissä. |
| Grilli | ||
| Uunista tulee savua käytö n aikana. | Vastuksista saattaa tulla aluksi savua uunin ensimmäisellä käytökerralla. | Tämä ei ole toimintahäiriö, ja nän ei tulisi käydä enää 2-3 käytökerran jälkeen. |
| Vastuksissa on ruokaa. | Anna uunin jäähtyä ja poista vastuksiin tarttunut ruoka. | |
| Ruoka on liian lähellä grillä. | Aseta ruoka riittävülle etäisydelle valmistuksen ajaksi. | |
| Ruokaa ei ole valmistelu ja/ tai asetetu uuniin oikein. | Varmista, etta ruoka on valmistelu ja asetetu oikein. | |
Vianmääritys
| Ongelma | Syy | Toimenpide |
| Uuni | ||
| Uuni ei kuumene. | Luukku on auki. | Sulje luukku ja yritä uudelleen. |
| Uunista tulee savua esilämmityksen aikana. | Vastuksista saattaa tulla aluksi savua unin ensimmäisellä käytökerralla. | Tämä ei ole toimintahāiriö, ja nän ei tulisi käydä enää 2-3 käytökerran jälleen. |
| Vastuksissa on ruokaa. | Anna unin jähtyä ja poista vastuksiin tarttunut ruoka. | |
| Uunin käytön aikana suntuu palaneen muovin Hajua. | Käytetty astia on muovinen tai eikestä kuumuutta. | Käytä korkeisiin lämpötiloihin tarkoitettuja lasiastioita. |
| Uunista tulee pahaa Hajua. | Uunin sisälle on tarttunut ruokaa tai sulanutta muovia. | Käytä hórytoimintoa ja pyyhi uni puhtaaksi kuivalla liinalla. Haju halvenee nopeammin, jos laitat unin sisälle palan sitruunaa ja käynnistät uunin. |
| Ongelma | Syy | Toimenpide |
| Uuni ei kypsennä ruokaa kunnolla. | Luukku on avatu usein uunin käytön aikana. | Älä avaa luukkua liian usein, paitsi jos valmistat sellaista ruokaa, jota on käännettävä. Jos availet luukkua usein, uunin sisälämpötila laskee ja tämä voi vaikuttaa lopputulokseen. |
| Uunin asetuktia ei ole tehty oikein. | Tee asetukset oikein ja yritä uudelleen. | |
| Grilli tai jokin muu lisātarvike ei ole kunnolla paikoillaan. | Aseta lisātarvikkeet uuniin oikein. | |
| Valmistusastia on vääränkokoinen tai -typpinen. | Nollaa uunin asetukset tai käytä oikeanlaisia, litteäpohjaisia astioita. |
Tekniset tiedot
Näytökooodit
Jos uuni ei toimi oikein, nayttöpaneelissa saatetaan nyyttä jokin koodi. Tarkista alla olevan taulukon tiedot ja cokeile siña annettuja ratkaisuehdotuksia.
| Koodi | Kuvaus | Toimenpide |
| C-20 | Lämpötila-anturi on auki. | Irrota uunin virtajho topistorasiasta ja ota yhteytä lähimpään Samsungin huoltoon. |
| Lämpötila-anturissa on oikosulku. | ||
| C-F0 | Jos pääasialisen ja alemman MICOM-järjestelmän valillä ei ole yhteyttä. | |
| C-F1 | Tapahtuu vain silloin, kun EEPROM Read tai Write ei ole käytössä. | |
| C-21 | Tämä koodi näytetään, kun uunin lämpötila on korkea.Koodi näytetään, Jos lmpötila kohoaay iу enimmäislampötilarajan eri toimintojen käytön aikana. (Tultahavaittu.) | Irrota virtajho topistorasiasta, annu unin jäähtyä riittävän pitkään ja käynnistä se sitten uudelleen. |
| C-F2 | Kosketuspainike toimii väärin. | Pysäytä uuni ja yritä sitten uudelleen. |
| C-d0 | Irrota virtajho topistorasiasta, annu unin jäähtyä riittävän pitkään ja puhdista painike. (Polyä tai vettä.)Jos ongelma ilmenee uudelleen, ota yhteytä lähimpään Samsungin huoltoon. |
SAMSUNG pyrkii kehittāmān tuotteitaan jatkuvasti. Siksi laitteen tekniset tiedot ja namā kāyttoohjeet saattavat muuttua ilman ennakkoilmoitusta.
| Virtalähde | 230 V ~ 50 Hz | |
| Tehonkulutus | Enimmäisteho | 2800 W |
| Mikroaalto | 1650 W | |
| Grilli | 2550 W | |
| Kiertoilma | 2500 W | |
| Teho | 100 W / 850 W (IEC-705) | |
| Käytötajuus | 2450 MHz | |
| Magnetroni | OM75P (21) | |
| Jäähdytysmenetelmä | Puhallinmoottori | |
| Mitat(L x K x S) | Pääyksikkö | 595 X 456 X 570 mm |
| Kalusteuuni | 560 X 446 X 549 mm | |
| Tilavuus | 50 litraa | |
| Paino | Netto | 39,9 kg |
| Kuljetuspaino | 48,8 kg | |
- Tāmā tuote sisältaa valonlähteen, jonka energiatehokkuusluokka on
.
| Kokonaisvalmiustilan virrankulutus (W) (Kaikki verkkoportit päälä) | 1,9 W | |
| Virranhallinta-aika (min) | 20 min. | |
| WiFi | Valmiustilan virrankulutus (W) | 1,9 W |
| Virranhallinta-aika (min) | 20 min. | |
| Pois päältä -tila | Virrankulutus | 0,5 W |
| Virranhallinta-aika (min) | 30 min. | |
Tiedot märitetty standardin EN 50564 ja asetuksen (EY) Nro 1275/2008 mukaisesti.
HUOM.
Samsung vakuuttaa taten, etta tämä radiolaite on direktivin 2014/53/EU ja Ison-Brittannian asia koskevien lakisäateisten vaatimusten mukainen.
EU:n vaatimustenmukaisuusvakuutuksen ja Yhdistyneen kuningaskunnan vaatimustenmukaisuusvakuutuksen taydellenTeksti on saatavilla seuraavassa Internet-osoitteessa: Virallinen vaatimustenmukaisuusvakuutus loytyy osoitteesta http://www.samsung. com. Valitse Support > Search Product Support ja kirjoita mallin nimi.
HUOMIO
Tämän laitteen 5 GHz:n WLAN-toimintoa saa käytää vain sisätiloissa kaikissa EU-maisa ja Yhdistyneessä kuningaskunnassa.
| Wi-Fi | Taajuusalue | Lähettimen teho (enintään) |
| 2400-2484 MHz | 20 dBm | |
| 5150-5250 MHz | 23 dBm | |
| 5250-5350 MHz | 23 dBm | |
| 5470-5725 MHz | 23 dBm |
Avoimen lahdekoodin ilmoitus
Tāmān tuotteen sisāltāmā ohjelmisto sisāltāa avoimen lahdekoodin ohjelmistoba. Voit saada tāydellisen vastaavan lahdekoodin kolmen vuoden ajan tāmān tuotteen viimeisen toimituksen jälkeen ottamalla yhteyttä tukitiimimme osoitteessa http://opensource.samsung.com (kāytä "Inquiry"-valikkoa).
Täydellinen lahdekoodi on myös mahdollsta saada fyxisellä välineellä, kuten CD-ROM-levylla; siitä peritàän pieni maksu.
Seuraava URL-osoite http://opensource.samsung.com/opensource/Common_R18_TZ4_0/seq/0 johtaa tähän tuotteseen liittyviin avoimen lahdekoodin lisenssitietaihin. Tarjous on voimassa kaikille, jotka ovat saaneet nämä tiedot.

Huomaathan, etta Samsungin takuu El kata laitteen kayton, asennuksen, huollon tai puhdistuksen neuvontaa.
HelppoOhje