NQ5B6753CAEB - Magnetrons SAMSUNG - Gratis gebruiksaanwijzing en handleiding
Vind de handleiding van het apparaat gratis NQ5B6753CAEB SAMSUNG in PDF-formaat.
Download de handleiding voor uw Magnetrons in PDF-formaat gratis! Vind uw handleiding NQ5B6753CAEB - SAMSUNG en neem uw elektronisch apparaat weer in handen. Op deze pagina staan alle documenten die nodig zijn voor het gebruik van uw apparaat. NQ5B6753CAEB van het merk SAMSUNG.
GEBRUIKSAANWIJZING NQ5B6753CAEB SAMSUNG
Gebruikershandleiding
NQ5B6753C**
Inhoud
Veiligheidsinstructies 3
Belangrijke veiligheidsinstructures 3
Algemeneveiligheid 7
Voorzorgsmaatregelen voor werkig van de magnetron 8
Beperkte garantie 9
Definitie van de productgroep 9
Correcte verwijdering van dit product (elektrische & elektronische afvalapparatuur) 9
Installatie 10
Geleverde onderdelen 10
Installatie-instructures 11
Installatie in de kast 11
Voor u begint 14
Bedieningspaneel 14
Initielleinstellingen 14
Zijrekken 15
Over microgolfenergie 16
Kookgerei voor de magnetron 16
Gebruik 18
Ovenstanden 18
Magnetronstanden 20
Speciale functie 22
Automatischkoken 23
Snel en eenvoudig 44
Onderhoud 45
Reinigen 45
Onderdelen verrangen (reparatie) 46
Voorzorgsmaatregelen bij een langereperiode zonder gebruik 46
Probleemoplossing 46
Controlepunter 46
Informatiecodes 51
Technische specificaties 51
Bijlage 52
Aankondig met betrekking tot open source 52
BELANGRIJKE VEILIGHEIDSINSTRUCTIES
LEES DE AANWIJZINGEN ZORGVULDIG DOOR EN BEWAAR DEZE ZODAT U ZE IN DE TOEKOMST KUNT RAADPLEGEN.
WAARSCHUWING: Als de deur of de afsluitstrippen zijn beschadigd, mag u de oven Niet gebruiken voordat deze is gerepareerd door een gekwalificeerde monteur.
WAARSCHUWING: Onderhoud en reparaties waar bij de behuizing, die bescherming besteht gegen blootstelling aan microgolven, worden verwijderd, mogen alleen worden uitgevoerd door een gekwalificierde monteur. Voor anderen is dit levensgevaarlijk.
WAARSCHUWING: Vloeistoffen en andere gerechten mogen nicht worden verwarmd in een afgesloten verpakking, aangezien deze kan exploderen.
WAARSCHUWING: Laat de oven alleen zonder toezicht door kinderen gebruiken nadat u duidelijkke instructies hebt gegeven en u ervan overtuigd bent dat het kind in staat is de oven op een veilige manier te bedieren en begrijpt wat de bevaren zijn van onjuist gebruik.
Dit apparaat is uitsluitend bedoeld voor huishoudelijk gebruik en Niet voor:
-
kantines in winkels, kantoren en andere werkomgevingen;
boerderijen; -
door gasten in hotels, motels en andere overnachtingsgelegenheden;
B&B-achtige omgevingen.
Gebruik alleen kookmaterialen die geschikt zich voor gebruik in magnetronovens.
Vanwege het risico op ontbranding raden wij u aan de oven in het oog te honden wonneer u voedsel verwarmt dat in plastic of papier is verpakt.
De magnetronoven is bedoeld voor het verwarmen van voedsel en dranken. Het drogen van voedsel of kleding en het verwarmen van warmtekussens, pantoffels, sponzen, vochtige doeken endergelijkke kan leiden tot risico op letsel, ontbranding of brand.
Als er rook uit de magnetronoven komt, schakelt u het apparaat uit of haalt u de stekker uit het stopcontact, en LAST u de deur dicht om eventuele vlammen te doven.
Omdat gerechten en vloeistoffen die u met de magnetron hebt verwarmd, buiten de magnetron alsnog plotseling aan de kook konnen raken enaar buiten spatten, moet u bijzonder voorzichtig zichon wanner u ze uit de magnetron haalt.
De inhoud van zuigflessen en potjes met babyvoeding要去en worden geroerd of geschud, en de temperatuur要去 voor gebruik worden gecontroleerd om brandwonden te voorkomen.
Veiligheidsinstructies
Ongepelde eieren en—hele hardgekooke eieren mogen nicht in de magnetonoven worden verwarmd, ermög at ze kunnen exploderen, zichs nadat de magneton Nieteer verwarmt.
U要去 de oven regelmatig reinigen en voedselresten verwijderen.
Als de oven nicht worden schoongehonden, kan het oppervlak beschadigd raken. Hierdoor kan de levensduur van het apparaat nudelig worden beinvloed en+kunnen möglich gevaarlijke situatuies ontstaan.
Dit apparaat is bedoeld om ingebouwd te worden. Het apparaat mag Niet in een kast worden geplaatst.
Het gebruik van metalen containers voor voedsel en dranken is nicht toegestaan in de magnetron.
Let erop dat u het draaiplateau Niet verplaatst als u een schaal/ container UIT het apparaat pakt. (Alleen draaiplateaumodellen)
Gebruik geen stoomreiniger om het producte reinigen.
Het apparaat mag nicht te nat worden schoongemaaakt.
Het apparaat is Niet bedoeld voor installmentie in mobiele voertuigen, caravans en soortgelijke voertuigen.
Dit apparaat is nicht bedoeld voor gebruik door Personen (inclusief kinderen) met een verminderd fysiek, zintuiglijk of mental vermogen, of met onvoldoende ervaring en kennis, tenzijdezete toestemming of instructies met betrekking tot het gebruik van het apparaat hebben gekreten van een persoon die verantwoordelijk is voor hun veriligheid.
Kinderen dieren onder toezicht te worden gehonden om te voorkomen dat ze met het apparaat gaan spelen.
Dit apparaat kan door kinderen vanaf acht waar en door personen met een verminderd fysiek, zintuiglijk of mentala vermogen, of gebrek aan ervaring en kennis, worden gebruikt als ze onder toezicht staan of instructies hebben gekregen omtrent het veilige gebruik van het apparaat en ze de risico's begrijpen. Kinderen mogen Niet met het apparaat spelen. Kinderen mogen alleen onder toezicht reinigings- en onderhoudswerkzaamhedenuitvoeren.
Dit apparaat moet na de installmentie losgekoppeld+kennen worden van het stroomnet. Deze uitschakeling kan gebeuren door de stekker bereikbaar te houden of door een schakelaar in de vaste bedrading op te nemen conform de bedrangingsvoorschriften.
Indien aan het apparaat een aanvoersnoer zonder stekker is geinstalleerd,要去 het middel tot ontkoppeling in de vaste bedrading worden opgenomen, overeenkomstig de bedrangssvoorschriften.
Als het netsnoer is beschadigd, moet u het latentervangen doorde fabrikant of de onderhoudsdienst van de leverancier, of door een andere gekwalificierde monteur, om gevaarlijke situatives tevoorkomen.
De aangegeven bevestigingsmethode mag nicht afhankelijk zijn van het gebruik van kleefstoffen, aangezien deze nicht als een betrouwbaar bevestigingsmiddel worden beschouwd.
Deze oven要去 in de juiste richting en op de juiste hoogte worden geplaatst, zodate gemakkelijk bij de opening en het bedieningsgedeelte=kunt.
Voordat u de oven voor het eerst gebruikt, LASTU DEZE gedurende 10 minuten werkken met water.
Als de oven vreme de geluiden maakt of als er een brandlucht of rook uit komt,要去 onmiddelijk de stroom uitschakelen en contact opnemen met het dichtst bijzijnde servicecentrum.
WAARSCHUWING: Als het apparaat in de combistand worden gebruikt, mogen kinderen vanwege de gebruikte temperatuur de magnetron alleen onder toezicht van een volwassene gebruiken. Het apparaat wordenijdens het gebruik heet. Er要去 voor worden gezorgd dat de verwarmingselementen in de magnetron Niet worden aangeraakt.
Dit apparaat heeft een reinigingsfunctie,ijdens de reiniging kuren de oppervlakken heter dan normal worden en kinderen moet uit de buurt worden gehouden. De reinigingsfunctie hangt af van het model.
WAARSCHUWING: De toegankelijke delen könnenijdens het gebruik heet worden. Jonge kinderen要去en uit de buurt worden gehonden.
Gebruik geen grove schuurmiddelen of scherpe metalen schrapers om het glas van de deur te reinigen, waar dat dit krassen op het oppervlak kan veroorzaken die verbrijzeling van het glas konnen veroorzaken.
Er mag geen stoomreiniger worden gebruikt.
WAARSCHUWING: Zorg ervoor dat het apparaat uitgeschakeld is voordat de lamp worden verrangen, zodate er geen elektrische schok kan optreden.
Het apparaat mag nicht darüber een sierdeur geinstalleerd worden, om oververhitting te voorkomen.
Veiligheidsinstructies
WAARSCHUWING: Het apparaat en de toegankelijke delen worden heet bij gebruik.
Er moet voor worden gezorgd dat de verwarmingselementen nicht worden aangeraakt.
Kinderenjonger dan 8aar moeten uit de buurt worden gehonden,tenzij er voortdurend toezicht is.
OPGELET: Het kookproces要去 onder toezicht gebeuren. Een kookproces van korte duur要去 voortdurend onder toezicht gebeuren.
De deur of de buitenkant kan, bij gebruik van het apparaat, heet worden.
De temperatuur van toegankelijk oppervlakken kan, bij gebruik van het apparaat, hoog worden.
De oppervlakken konnenijdens het gebruik heet worden.
Het is Niet de bedoeling om het apparaat met een externe timer of除去 of bedienden.
Dit apparaat kan door kinderen vanaf achtaar en door personen met een verminderd fysiek, zintuiglijk of mentalaal vermogen, of gebrek aan ervaring en kennis, worden gebruikt als ze onder toezicht staan of instructies hebben gekregen omtrent het veilige gebruik van het apparaat en ze de risico's begrijpen.
Kinderenmightnetmethetapparaatspelen.De reingiringenhet gebruikersonderhoudvanhetappaattmagnietdoorkinderen wordenuitgevoerd,behalancelseouderzijndan8enondertoezicht.
Houd het apparaat en het snoer buiten het bereik van kinderenjonger dan 8aar.

Zet het omhoog gebogen frame aanarcheren,om de ruststand te ondersteunen bij het bereiden van grote hoeveelheden.Afhangelijk van het model)
Algemene veiligheid
Wijzigingen of reparaties mogen uitsluitend door gekwalificierde monteurs worden uitgevoerd.
Verwarm geen voedsel en vloeistoffen in een afgesloten verpakking voor de magnetronfunctie.
Gebruik geen wasbenzine, thinner, alcohol, stoom of hagedrukreinigers om de oven te reinigen.
De oven mag nicht worden geinstalleerd: in de buurt van een verwarming of brandbaar materiaal; opplaatsen die vochtig, olieachtig of stoffig zich, of aan direct zonlicht worden blootgesteld; waar er gas kan lekken; op een oneffen oppervlak.
Deze oven要去ed worden geaard in overeenstemming metplaatselijke en landelijk voorschriften.
Verwijder vreeimde stoffen regelmatig met een droge doek uit de klemmen en contacten van de stekker.
Trek Niet te hard aan het netsnoer, buig het Niet overmatig enplaats er geen zware voorwerpen op.
Ventileer onmiddelijk als er spreke van een gaslek is (propaan, LP, enz.). Raak de stroomkabel Niet aan.
Raak de stroomkabel Niet met natte handen aan.
Schakel de oven Niet uit door de stekker uit het stopcontact te halen wanner.Deze in bedrijf is.
Steek geen vingers of vreemde stoffen in het apparaat. Als er vreemde stoffen in de oven komen, haal dan de stekkeruit het stopcontact en neem contact op met een lokaal servicecentrum van Samsung.
Oefen geen buitensporige druk op de oven UIT.
Plaats de oven Niet op breekbare voorwerpen.
Controller of de spanning, frequentie en stroom overeenkomen met de productspecificities. Steek de stekker stevig in het stopcontact. Gebruik geen stekkeradapters, verlengsnoeren of elektrische transformators.
Bevestig de stroomkabel Niet aan metalen voorwerpen. Zorg dat de kabel zich:tussen voorwerpen of awhile de oven bevindt.
Gebruik geen beschadigde stekker, stroomkabel of los stopcontact. Neem voor beschadigde stekkers of stroomkabels contact op met een lokaal servicecentrum van Samsung.
Giet geen water op de oven en spuit geen water rechtstreeks op de oven.
Plaats geen objcten op de oven, in de oven of op de ovendeur.
Spuit geen vluchtige materialen zoals insecticiden op de oven.
Bewaar geen brandbare materialen in de oven. Wees voorzichtig wanner u voedsel of dranken met alcohol verwarmt waar dat alcoholdampen met hete onderden van de oven in contact+kennen.
Kinderen können zich aan de deur stoten of er met hun vingers tussenkomen. Houd kinderenuit de buurt bij het openen/sluiten van de deur.
Waarschuwing magnetron
Omdat gerechten en vloeistoffen die u met de magnetron hebt verwarmd, buten de magnetron alsnog plotseling aan de kook konnen raken enaar buiten spatten, moet u bijzonder voorzichtig zich wonneer u ze uit de magnetron haalt. Laat dranken altijd minstens 20 seconden staan voordat u ze vastpakt. Tijdens het verwarmen kut u eventueel roeren. Roer altiijd na het verwarmen.
Bij brandwonden moet u de volgende aanwijzingen voor Eerste hulp opvolgen:
- Houd de brandplek minimaal 10 Minutes ondergedompeld in koud water.
- Dek af met droog, schoon verband.
- Breng geen zalf, olie of lotion aan op de brandwond.
Voorkom schade aan deplaat of het rooster door deze Niet net na het koken onder water te honden.
Gebruik de oven Niet voor frituren want de oliettemperatuur kan Niet worden geregeld.
Hierdoor zou de hete olie plotseling können overkoken.
Voorzorgsmaatregelen voor magnetronoven
Gebruik alleen magnetronbestendige kookmaterialen. Gebruik geen metalen containers, serviezen met gouden of silveren randjes, spiezen, enz.
Gebruik de oven Niet voor het drogen van papier of kleren.
Hanteer kortere tiemens voorkleine hoeveelheden voedsel om oververhitting te voorkomen en om te voorkomen dat voedsel gaat branden.
Houd de stroomkabel en de stekker uit de buurt van water en warmtebronnen.
Verwarm geen eieren in de schil of hardgekooke te eieren om explosions te voorkomen. Verwarm geen luchtdichte of vacuum afgesloten containers, noten, tomaten, enz.
Bedek de ventilatieopeningen nicht met textiel of papier. Dit is een brandgevaar. De oven kan ook oververhit raken en zichzelf automatisch uitschakelen. De oven blijft dan uit totdat.Deze voloende is afgekoeld.
Gebruik.altijdovenwanten wonneer ueen gerecht verwijdert.
Roer vloeistoffen halverwegeijdens de verhitting of na afloop van de verhitting door en LAST de vloeistof na verhitting ten minste 20 seconden rusten om overkoken te voorkomen.
Ga tijdens het openen van de overendeur op armlengte afstand van de oven staan zodat u zich Niet=kunt branden aan ontsnappende heterlucht of stoom.
Start de oven Niet wonneer deze leeg is. De oven worden om redenen van veiligheid
automatisch 30 minutes uitgeschakeld. Het worden aanbevolen alsijd een glas water in de oven te latent staan om microgolven te absorberen als de oven per ongeluk worden ingeschakeld.
Plaats de oven met voldoende vrij ruimte rondon Zoals in deze handleiding worden vermeld.
(Zie De magnetronoven installeren.)
Wees voorzichtig bij het aansluiten van elektrische apparaten op stopcontacten in de buurt van de oven.
Voorzorgsmaatregelen voor werking van de magnetron
Het Niet navolgen van de volgende verilgheidsvoorschriften kan leiden tot schadelijke blootstelling aan microgolven.
- Start de oven Niet wanner de deur open is. Knoei Niet met de veiligheidsvergrendelingen (deursluitingen). Steek niets in de gaten van de veiligheidsvergrendeling.
- Plaats geen voorwerpen:tussen de deur en de Voorplaat.Voorkom dat resten van voedsel of reinigingsmiddel zich op de afsluitstrippen verzamelen.Houd de deur en de afsluitstrippen altiid schoon door deze eerst met een vochtige doek en daarna met een droge doek te reinigen.
- Start de oven nicht wonneer deze beschadigd is. Start de oven alleen nadat deze door een gekwalificeerde monteur is gerepareerd.
Belangrijk: de overdeur moet goed sluiten. De deur mag nicht gebogen zich; de scharnieren mogen Niet gebroeken zich on los zitten; de aflsuitstrippen en -oppervlakken mogen zichonthen beschadigd.
Alle aanpassingen of reparaties要去en worden uitgevoerd door een gekwalificeerde monteur.
Beperkte garantie
Samsung brengt reparatiekosten in rekening voor het verrangen van een onderdeel of het repareren van een cosmetisch defect als de beschadiging van het apparaat of het onderdeel is veroorzaakt door de klant. Onderdelen die hieronder vallen zijn onder andere:
Deur, hendels, buitenpaneel of bedieningspaneel die zich ingedeukt, bekrast of gebroken.
Een kapotte of ontbrekende plaat, geleiderol, koppeling of rooster.
Gebruik deze oven alleen voor de doeleinden waaroor这家伙 is ontworpen, zoals beschreiben in这家伙 te gebruikshandleiding. In de waarschuwingen en veiligheidsvoorschriften in这家伙 handleiding worden Niet alle möglichke omstandigheden en situaties besproken. Het is uw eigen verantwoordelijkheid om uw gezond verstand te gebruiken en voorzichtig te zijn bij de installmentie, de bediening en het onderhoud van de oven.
Omdat de hier volgende bedieningsinstrumenties voor diverse modellen gelden, hunnen de kenmerken van uw magnetronoven soms afwijken van die welke in deze gebruiksaanwijzing worden beschreiben en zich möglichnest alle waarschuwingen voor u van toepassing. Als u vragen of opmerkingen hebt, neemt u contact op met een lokaal servicecentrum van Samsung of的那一 www.samsung.com voor ondersteuning en informatie.
Gebruik deze oven alleen voor het verwarmen van voedsel. De oven is alleen bedoeld voor huishoudelijk gebruik. Verhit geen textiel of kussens die met korrels zich gezuld. De fabrikant is Niet verantwoordelijk voor schade door verkeerd of onjuist gebruik van de oven. Houd de oven altiijd schoon en goed onderhonden om schade aan het oppervlak en gevaarlijke situatuies te voorkomen.
Definitie van de productgroep
Dit product is Groep 2 Klasse B ISM-apparatuur. In Groep 2 is alle ISM-apparatuur ondergebracht waarmee opzettelijk radiofrequente energia worden gegenereerd en/of gebruikt in de vorm van elektromagnetische straling voor de behandeling van materiaal, alsmede EDMen booglasapparatuur.
Klasse B-apparatuur is apparatuur die geschikt is voor gebruik in huishoudelijkke omgevingen en in omgevingen die rechtstreeks zijn aangesloten op het stroomnet met laag voltage dat geleverd worden aan gebouwen die voor huishoudelijk gebruik+zijn bedoeld.
Correcte verwijdering van dit product (elektrische & elektronische afvalapparatuur)


(Van toepassing in landen waar afval gescheden worden ingezameld) Dit merkteken op het product, de accessoires of het informatiematerialiaal duidt erop dat het product en+zijn elektronische accessoires (bv. lader, headset, USB-kabel) Niet met ander huishoudelijk afval verwijderd mogen worden aan het einde van hun gebruiksduur. Om möglichke schade aan het milieu of de menselijk gezondheid door ongecontroleerde afvalverwijdering te voorkomen, moet u deze artikelen van andere soorten afval scheiden en op een verantwoorde manier recyclen, zodat het duurzame hergebruik van materiaalbronnen worden bevorderd.
Huishoudelijk gebruikers要去 contact opnemen met de winkkel waar ze dit product hebben gekocht of met de gemeente waar ze waren om te vernemen waar en hoe ze deze artikelen milieuvriendelijk kannen lately recyclen.
Zakelijkke gebruikers要去en contact opnemen met hun leverancier en de algemene voorwaarden van de koopovereenkomst nalezen. Dit product en zijn elektronische accessoires mogen Niet met ander bedrijfsafval voor verwijdering worden gemengd.
Ga voor informatie over de milieuverbintenissen en productspecifieke wettelijkke
verpflichtingen van Samsung; zoals REACH, WEEE, Batterijen, maar:
Geleverde onderdelen
Controller of alle onderdelen en accessoires in de productverpakking aanwezig zich. Als u een probleem hebt met de oven of accessoires, kurz u contact opnemen met eenplaatselijke klantenservice van Samsung of met de winkel.

Overzicht van de oven
01 Bedieningspaneel
02 Zijrekken
03 Veiligheidsvergrendeling deur
04 Deur
05 Deurhandgreep
Accessoires
De oven worden geleverd met verschillende accessoires voor de bereiding van verschillende soorten voedsel.

Keramische plaat (Nuttig voor de magnetronstand.)

Roosterinzetstuk (Nuttig voor de snelmenu- en grillstand.)

Air Fryrek (Nuttig voor de Air Fry stand.)

Bakplaat (Niet gezruiken voor de magnetronstand.)

Ovenrek (Niet gebruiken voor de magnetronstand.)

Pro Steamer (Handig voor de magnetronstand voor stoomkoken.)



3 schroeven (M4 L25)

OPMERKING
Raadpleeg Slim koken op pagina 28 om het juiste accessoire voor uw gerecht te bepalen.
Installatie-instructies
Algemene technische gegevens
| Stroomtoevoer | 230 V ~ 50 Hz | |
| Afmetingen (B x H x D) | Formaat | 595 x 456 x 570 mm |
| Formaat bij inbouw | 560 x 446 x 549 mm | |
Dit apparaat voldoet aan de voorschriften van de EU.
Het verwijderen van de verpakking en het apparatus.
De verpakking is te recyclen.
De verpakking kan de volgende materialen bevatten:
U dient zich op een verantwoordelijke manier en in overeenstemming met de voorschriften van de overheid van deze materialen te ontdoen.
De overheid kan u meer informatie verschaffen over de manier waarop u zich op een verantwoordelijkke manier kurz ontdoen van uw huishoudelijkke apparaten.
Veiligheid
- Dit apparaat dient te worden aangesloten door een gekwalificeerde technicus.
- De oven is NIET bedoeld voor gebruik in een omgeving waar voedsel worden bereid voor commerciele doeleinden.
- Deze is uitsluitend bedoeld voor huishoudelijk gebruik.
Tijdens en na het gebruik is het apparaat heet.
Ga voorzichtig te werk wonneer erkleine kinderen in de buurt+zijn.
Elektrische aansluiting
Het hoofdcircuit waarop het apparaat is aangesloten, dient te voldoen aan de nationale en lokale voorschriften.
De voeding van het apparaat要去 installatie hunnen worden uitgeschakeld. Deze uitschakeling kan gebeuren door de stekker bereikbaar te honden of door een schakelaar in de vaste bedrading op te nemen conform de bedrangsdvoorschriften.
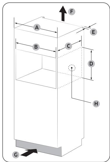
Installatie in de kast
Keukenkastjes die in contact komen met de oven moeten hittebestendig+zijn tot 100^. Samsung neemt geen verantwoordelijkheid voor schade aan de kasten door de hitte.
Vereiste afmetingen voor de installmentie (Dit product is bestemd voor inbouwproducten.)

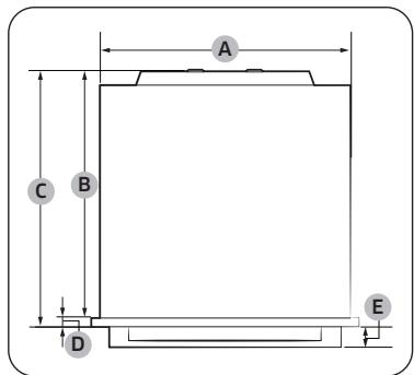
Oven (mm)
| A | 560 | F | 595 |
| B | 446 | G | 354 |
| C | 549 | H | 85 |
| D | 21 | I | 456 |
| E | 341 | ||

Oven (mm)
| A | 595 |
| B | 85 |
| C | 360 |
| D | 6 |

Oven (mm)
| A | 549 | E | 10 |
| B | 233 | F | 456 |
| C | 316 | G | 6 |
| D | 21 | H | 446 |

Oven (mm)
| A | 560 | D | 21 |
| B | 549 | E | 45 |
| C | 570 | ||

Inbouwkast (mm)
| A | 600 |
| B | Min. 564-568 |
| C | Min. 550 |
| D | Min. 446 / Max. 450 |
| E | Min. 50 |
| F | 200 cm² |
| G | 200 cm² |
| H | Ruimte voor wandcontactdoos (diameter 30 cm) |

Gootsteenkast (mm)
| A | Min. 550 |
| B | Min. 564 / Max. 568 |
| C | Min. 446 / Max. 450 |
| D | 50 |
| E | 200 cm² |

OPMERKING
De minimumhoogte (C) is alleen vereist voor de oveninstallatie.

Installeren met een kookplaat
Om een kookplaat bovenop de oven te installereren, contrôleert u de installmentegids van de kookplaat op de benodigde installmentuimte ()
De oven monteren

- Schuif de oven gedeeltelijk in de uitsparing. Leid de aansluitingskabel maar de stroombron.

- Schuif de oven volledig in de uitsparing.

- Bevestig de oven met de twee meegeleverde schroeven (4× 25mm)

- Maak de elektrische verbinding. Controller of het apparaat werkt.

Houd het apparaat aan de tweet ijgrepen en de deurgreep vast bij het uitpakken van het product.
01 Deurhandgreep
02 Zijgreep
Verwijder na de installment het beschermfolie, de tape en het andere verpakkingsmaterial en haal de meegeleverde accessoires uit de oven. Als u de oven uit de kast wilt halen, ontkoppelt u eerst de stroomtoevoer en verwijdert u de 2 schroeven aan beiden kanten van de oven.
Bedieningspaneel
Het bedieningspaneel van de oven is voorzien van een display (niet-aanraak), een Instelknop en aanraaktoetsen om de oven te bedieren. Lees de volgende informatie om meer te weten te komen over het bedieningspaneel van de oven.

| 01 | Scherm | Geeft het menu, de informatie en de voortgang van de bereiding waar. |
| 02 | Opties | Tik hierop om de lijst Opties te zich. |
| 03 | Licht | Tik hierop om het Licht in de oven in of uit te schakelen. |
| 04 | Smart Control | Tik om de functie Smart Control in of uit te schakelen. OPMERKING Easy Connection要去 worden ingesteld voordat u deze functie gebruikt. |
| 05 | Terug | Tik omশ het vorige scherm te.gaan. |
| 06 | Aan/uit | Tik hierop om het scherm in of uit te schakelen. |
| 07 | Instelknop | Draaiশ links en rechts om door de menu's en lijsten te navigeren. Een item worden onderstreep om aan te gehen waar u zich op het scherm bevindt. Druk om het onderstreepte item te selecteren. |
Initièleinstallingen
Wanneer u de oven voor de eerste keer aanzet, verschijnt het welkomstschemmet het Samsung logo. Volg de instructies op het scherm op om de initiele installmentatie uit te voeren. U kunt de initiele installingen later wijzigelen door maar het scherm Instellingen te gaan.
- Kies op het welkomstscherm Set-up starten, en druk dan op de Instelknop.
- De taal instellen.
a. Selecteer de taal, en druk daarna op de Instelknop.
b. Selecteer Volgende, en druk daarna op de Instelknop.
- Ga akkoord met de "Algemene Voorwaarden" en het "Privacybeleid".
- Laat uw apparaat verbinding makes met de SmartThings-app.
a. Op het scherm Mobiele ervaring, selecteer Volgende, en druk op de Instelknop.
b. Scan de QR-code op het scherm met uw smartphone en volg de instructies op het scherm van uw telefoon om de verbinding te voltooien.
- Indien u deze stap nicht wenst uit te voeren, kies dan Overslaan, en druk dan op de Instelknop om de volgende stap uit te voeren.
c. Zodra u de melding krijgt dat u verbonden bent, selekteert u OK, en drukt u op de Instelknop.
- De tijdzone instellen.
a. Selecteer uw tijdzone, en druk daarna op de Instelknop.
b. Selecteer Volgende, en druk daarna op de Instelknop.
- De datum instellen.
a. Selecteer de dag, de maand en het jaar. Druk op de Instelknop nadat u elk item geselecteerd hebt.
b. Selecteer Volgende, en druk daarna op de Instelknop.
OPMERKING
Slacke stap over als u uw apparaat met de SmartThings-app hebts verbonden.
- De tijd selecteren.
a. Uren en minuten instellen. Druk op de Instelknop nadat u elk item geselecteerd hebt.
b. Selecteer Volgende, en druk daarna op de Instelknop.
OPMERKING
Slacke stap over als u uw apparaat met de SmartThings-app hebts verbonden.
-
Selecteer Klaar, en druk daarna op de Instelknop om de instelling te voltooien.
-
Het scherm Gids voor het eerste gebruik verschijnt. U(Inteer INFORMATIE) kiezen, en druk dan op de Instelknop om de gids te zien, of LATER kiezen, en druk dan op de Instelknop om deze stap over te slaan.
Zijrekken

- Steek het accessoire tot aan de geéigende positie in de oven.
Wees uiterst voorzichtig wonneer u schalen en/of accessoiresuit de oven neemt.U zou zich aan hare gerechten en accessoires konnen branden.
| 01 | Niveau 1 | Magnetronfunctie |
| 02 | Niveau 2 | Ovenfunctie |
| 03 | Niveau 3 | |
| 04 | Niveau 4 | |
| 05 | Niveau 5 |
Over microgolfenergie
Microgolven zijn elektromagnetische golven met een hove freiorentie. De oven gebruikt de ingebouwde magnetron om microgolven te genereren die ervoor zorgen dat de gerechten waar worden of worden opgewarmd zonder dat de vomf of kleur ervan verandert.

-
De microgolven die door de magnetron worden gegenereerd, worden gelijkmatig verdoeffd door middel van het werveldistributiesystem. Hierdoor wordt het voedsel gelijkmatig verwarmd.
-
De microgolven worden tot op een diepte van ongeveer 2,5 cm door het voedsel geabsorbeerd. Daarna worden de microgolven in het voedsel afgevoerd verwijl de bereiding doorgaat.
-
De bereidingstijd van het voedsel s afhankelijk van de volgende factoren.
Hoeveelheid en dichtheid
Vochtgehalte
- Begintemperatuur (met name bij bevroren voedsel)

OPMERKING
Het verwarmde voedsel houdt de warmte in de Kern vast nadat de bereiding is voltooid. Daarom moet u de gespecifieerde standtijd in deze handleiding in acht nemen om het voedsel gelijkmatig tot in de Kern te verwarmen.
Kookgerei voor de magnetron
Kookgerei dat de magnetronstand worden gebruikt,要去 microgolven doorlaten zodate ze in het voedsel konnen dringen. Metalen zoals roestvrij staal, aluminium en koper werkkaatsen microgolven. Gebruik waarom geen kookgerei van dat is vervaardigd metaal. Kookgerei dat als magnetronbestendig is gemarkeerd, kan altijd veilig worden gebruikt. Voor meer informatie over geschicht kookgerei verwijzen wij u� de volgende documenten:
Vereisten:
- Platte bodem en rechte zijkanten
Nauwsluitende deksel - Goed uitgebalanceerde pan met handvatten die minder wegen dan de pan zichl
| Material | Magnetronbestendig | Beschrijving | |
| Aluminiumfolie | Δ | Kan worden gebruikt om te voorkomen datkleine porties te gaar worden. Als te veel folie worden gebruikt of de folie te zichbij de ovenwand komt,{kunnen darüber vonden ontstaan. | |
| Bruineerbord | Ο | Niet langer dan 8 minutes voorverwarmen. | |
| Porselein en aardewerk | Ο | Porselein, aardewerk en geglauurd aardewerk�n doorgaans magnetronbestendig, tenzij er een metalensierrand op is aangebracht. | |
| Wegwerpborden van polyester en karton | Ο | Sommige diepvriesmaaltijden,zijn verpak in deze materialen. | |
| Material | Magnetronbestendig | Beschrijving | |
| Fast-foodverpakkingen | Polystyrene bekers of containers | ○ | Deze{kunnen door oververhitting smelten.} |
| Papieren zakken en kranten | × | Kunnen vlam vatten. | |
| Kringlooppapier en metalen garneringen | × | Deze{kunnen vonden verzoorzaken} | |
| Glas | Ovengerei voor op tafel | ○ | Magnetronbestendig, tenzij gedecoreerd met een metalen rand. |
| Fijn glaswerk | ○ | Fijn glaswerk kan als gevolg van een snelle verhitting breken of scheuren. | |
| Glazen potten | ○ | Alleen geschikt voor opwarmen. Verwijder het deksel voordat u de bereiding begint. | |
| Metaal | Schalen | × | Dezen{kunnen vonden of brand veroorzaken.} |
| Diepvrieszakken met binddraadjes | × | ||
| Papier | Borden, bekers, servettes en keukenrol | ○ | Gebruik om kortstondig te koken. Deze absorberen overtollig voucht. |
| Kringlooppapier | × | Veroorzaakt vonden. | |
| Material | Magnetronbestendig | Beschrijving | |
| Plastic | Containers | ○ | Gebruik alleen thermoplastische containers. Sommige soorten plastic konnen verrormen of verkleuren bij hove temperaturen. |
| Plasticfolie | ○ | Kan worden gebruikt om vocht vast te houden na de bereiding. | |
| Diepvrieszakken | △ | Gebruik alleen kookvaste of ovenbestendige zakken. | |
| Vetvrij papier | ○ | Kan worden gebruikt om vocht vast te houden en spatten te voorkomen. | |
: Magnetronbestendig
: Wees voorzichtig
X: Niet geschikt voor magnetron
Ovenstanden
12:00 aur
Hetelucht
160°C
Bereidingsstijd
START
12:00 yuan
Hete lucht, onder- en bovenwarmte
180℃
Bereidingsstijd
START
12:00 ur
Hete lucht, onder- en bovenwarmte
200°C
Bereidingstijd
START
-
Selecteer op het hoofdschem Hetelucht, druk verwolgens op de Instelknop.
-
Selecteer de gewenste kookstand, en druk daarna op de Instelknop.
(Voor gedetailleerde informatie over elke modus,zie "Beschrijving van ovenfuncties" op pagina 19.)
-
Stel de gewenste temperatuur in.
-
De standard temperatuur en het temperatuurbereik verschellen naargelang de kookstand.
-
Selecteer Bereidingsstijd, en druk daarna op de Instelknop om de gewenste bereidingsstijd in te stellen.
-
De maximale bereidingstijd is 10 uur.
-
Nadat u de bereidingstijd hebt ingesteld, kiest u de optie die u aan het einde van de bereiding wilt laden lopen, en drukt u verwolgens op de Instelknop.
U kunt kiezen uit Oven Uit, Temp. honden., of Warm honden.
- De Grote Grill-stand ondersteunt de optie Warm houden nicht.

OPMERKING
Als u begint te koken zonder de bereidingsstijd in te stellen of Temp. houden als optie instelt, moet u de oven handmatig stoppen.
12:00 uur
Hete lucht, onder- en bovenwarmte
200°C
1 ur 30 min | Oven Uit
Klaar om 13:30
START
12:00 uur
Hete lucht, onder- en bovenwarmte
200°C
1 ur 30 min | Oven Uit
Klaar om 13:30
START
-
Selecteer Klaar om, en druk daarna op de Instelknop om de gewenste eindhoven in te stellen.
-
Wanner u de bereidingstijd instelt, geeft de oven de tijd aan waarop de bereiding zal eindhoven. (Bijv. Klaar om 13:30)
-
Selecteer START, en druk daarna op de Instelknop.
-
Als u de eindtijd Niet veranderd hebt, begint de oven onmiddelijk met de bereiding.
- Als u de eindtijd veranderd hebts, za de oven automatisch de starttijd aanpassen om de bereiding op de ingestelde tijd tebeeindigen.

OPMERKING
U kunt de temperatuur en de bereidingsstijd tijdens het koken veranderen.
Tijdens het koken selecteert u Pauze, en drukt u verzolgens op de Instelknop om te pauzeren. Zodra u de bereiding pauzeert, kurz u deze beeindigen of doorgaan met de bereiding.
- Selecteer Uit, en druk daarna op de Instelknop om de bereiding te beeindigen.
-
Selecteer Doorgaan, en druk daarna op de Instelknop om door te gaan met de bereiding.
-
Wonneer de bereiding is voltooid, verschijnt +5 min op het scherm.
- U kunt +5 min selecteren, en dan op de Instelknop drukken om de bereiding met 5 minutes te verlungen.
Beschrijving van ovenfuncties
| Modus | Temperatuurbereik (°C) | Standaard temperatuur (°C) |
| Hetelucht | 40-250 | 160 |
| Het verwarmingselement achefter in de oven genereert hitte die gelijkmatig door de heteluchtventilator worden verspreid. Gebruik deze stand voor het bakken en grillen op verschillende niveaus tegelijk. | ||
| Hete lucht, onder- en bovenwarmte | 40-250 | 180 |
| De warmte worden afgeveen door de verwarmingselementen en ventilatoren aan de boven- en onderkant. Deze instelling is geschikt voor bakken en roosteren. | ||
| Grote grill | 150-250 | 220 |
| De grote grill straalhitte uit. Gebruik deze stand voor het bruinen van de bovenkant van gerechten (bijvoorbeeld vlees, lasagne of gegratineerde gerechten). | ||
| Ventilatorgrill | 40-250 | 180 |
| Twee verwarmingselementen boven in de oven genereren hitte die gelijkmatig door de ventilator worden verspreid. Gebruik deze stand voor het grillen van vlees of vis. | ||
| Bovenwarmte + hetelucht | 40-250 | 180 |
| Het verwarmingselement bovenaan de oven genereert hitte die gelijkmatig door de heteluchtventilator worden verspreid. Gebruik deze stand voor braadstukken die een knapperige bovenkant vereisen (bijvoorbeeld vlees of lasagne). | ||
| Modus | Temperatuurbereik (°C) | Standaard temperatur (°C) |
| Onderwarmte + hetelucht | 40-250 | 200 |
| Het verwarmingselement onderaan de oven genereert把它 die gelijkmatig door de heteluchtventilator wordenverspreid. Gebruik deze stand voor pizza, brood, of cake. | ||
| Intensief koken | 40-250 | 220 |
| Intensief koken activeert alle verwarmingselementen afwisseledom de warmte gelijkmatig in de oven te verdelen. Gebruik deze stand voor große gerechten, zoalsgrote gratins of taarten. | ||
| Pro-roosteren | 80-200 | 160 |
| Pro-roosteren voert een automatischevoorverwarmingscylus uit tot de oventemperatuur 220 °Cbereikt. Dan beginnen het bovenste verwarmingselementen de convectieventilator te werken om voedsel zoalsvlees dicht te schroeien. Na het zichtschroeien worden hetvlees op lage temperatuur gegaard. Gebruik deze standvoor vlees, gezogelte of vis. | ||
| Air Fry | 150-250 | 220 |
| Air Fry gebruikt hete lucht voor knapperiger en gezonderdiepvries- of vers voedsel zonder, of met minder olie,dan de normale convectiemodi. Voor de Beste resultatengebruikt u deze stand op een Air fry-bak. Volg deaanwijzingen van het recept of de vergakking voor de ingestelde temperatuur,tijd en hoeveelheid. | ||
Magnetronstanden
12:00 uur
Hetelucht
160°C
Bereidingsstijd
START
12:00 uur
MWO + grill
200℃
300W
Bereidingsstijd
+30 sec
START
12:00 uur
MWO + grill
200°C
300W
Bereidingstijd
+30 sec
START
-
Selecteer op het hoofdschem Hetelucht, druk verwolgens op de Instelknop.
-
Selecteer de gewenste kookstand, en druk daarna op de Instelknop.
(Voor gedetailleerde informatie over elke modus, zie "Beschrijving van magnetronstanden" op pagina 21.)
- Stel de gewenste temperatuur in.
In de MWO-stand hoeft de temperatuur nicht ingesteld te worden.
- De standardattemperatuur en het temperatuurbereik verschellen naargelang de kookstand.
-
Het vermogen instellen.
-
De standard Vermogen en het vermogenbereik verschillen naargelang de kookstand.
12:00 aur
MWO + grill
200°C
300W
Bereidingstijd
+30 sec
START
12:00eur
MWO + grill
200℃
300W
1 aur 30 min 00 sec
+30 sec
START
-
Selecteer Bereidingsstijd, en druk daarna op de Instelknop om de gewenste bereidingsstijd in te stellen.
-
De maximale kookduur is 1aar 30 minutes.
U kurz +30 sec selectoren, en dan op de Instelknop drukken om de bereiding met 30 seconde te verlungen. -
Selecteer START, en druk daarna op de Instelknop.
De oven begint onmiddelijk te koken.

OPMERKING
U kunt de temperatuur en de bereidingstijd tijdens het koken veranderen.
Tijdens het koken selecteert u Pauze, en drukt u verzolgens op de Instelknop om te pauzeren. Zodra u de bereiding pauzeert, kurz u deze beeindigen of doorgaan met de bereiding.
- Selecteer OK, en druk daarna op de Instelknop om de bereiding te.beeindigen.
-
Selecteer Doorgaan, en druk daarna op de Instelknop om door te gaan met de bereiding.
-
Wonneer de bereiding is voltooid, verschijnt +30 sec op het scherm. (+30 sec verschijnt nicht als de kooktijd op minder dan 5 seconden was ingesteld).
-
U kurz +30 sec selecteren, en dan op de Instelknop drukken om de bereiding met 30 seconden te verlungen.
Beschrijving van magnetronstanden
| Modus | Temperatuur (℃) / Vermogensniveau (W) | Standaardtemperatuur (℃) / Vermogensniveau (W) |
| MWO | - / 100-850 | 850 |
| De energia die deze microgolven genereren, zorgt ervoor dat de gerechten.gaar worden of worden opgewarmd+zonder dat de vorm of kleur ervan verandert. | ||
| MWO + grill | 40-200 / 100-600 | 200/300 |
| De verwarmingselementen genereren warmte, die nog worden versterkt door microgolven. | ||
| MWO + hete lucht | 40-200 / 100-600 | 180/300 |
| De verwarmingselementen genereren warmte en deheteluchtventilator verspreidt de warmte door de oven,waarbij de warmte nog worden versterkt door microgolven. | ||
| MWO + braden | 40-200 / 100-600 | 180/300 |
| Deze stand combineert ventilatorgrill en magnetron enverkort dus de kooktijd, terwijl het voedsel een bruin enknapperig oppervlak krijgt. | ||
Vermogensniveau
| Niveau | Percentage (%) | Uitgangsvermögen (W) | Beschrijving |
| HOOG | 100 | 850 | Verwarmen van vloeistoffen. |
| HOOG/LAAG | 82 | 700 | Verwarmen en bereiden. |
| MIDDELHOOG | 71 | 600 | |
| GEMIDDELD | 53 | 450 | Bereiden van vlees en verwarmen van groenten. |
| MIDDELLAAG | 35 | 300 | |
| ONTDOOION | 21 | 180 | Ontdooien. |
| LAAG | 12 | 100 | Ontdooien van groenten. |
De Pro Steamer gebruiken
U kunt uw voedsel handmatig stomen met de Pro Steamer.

01 Stoomplaat / Bruineerbord
02 Stoombak
03 Roestvrij stalen deksel
- Giet 500 ml koud water op de stoomplaat. Zet de stoombak op de stoomplaat, doe er voedsel op, en sluit dan het roestvrijstalen deksel. Plaats de Pro Steamer midden in de holte.
- Volg de stappen 2-4 in het hoofdstuk Magnetron voor de rest van de kookinstelleningen.
Voor gedetailleerde instructies, zie de Pro Steamer op pagina 40.

OPMERKING
Controller als tijd de oveninstelleningen voordat u de oven onbeheerd blijartlaat.

OPGELET
Zorg ervoor dat u het deksel op de Pro steamer sluit, zodate het op de stoomplaat/bruineerbord past. Eieren of de kastanjes+kennen ontploffen als het deksel Niet goed gesloten is.
OPGELET
- Gebruik deze Pro Steamer nooit met een ander product of model. Dat kan brand of schade aan het product veroorzaken.
- Gebruik de Pro Steamer Niet zonder water of voedsel erin. Wanner u deze Pro Steamer gebruikt, giet er dan voor gebruik minstens 500ml water in. Als de hoeveelheid water minder dan 500ml is, kan het koken onvolledig zijn, of brand of schade aan het productveroorzaken.
Voorzichtigheid is geboden wonneer u het bakje na het koken uit de Pro Steamer haalt, want het zal zeer heet+zijn.
Speciale functie
12:00eur
Hetelucht
160°C
Bereidingsstijd
START
12:00 ur
Speciale functie
Koken op meerdere niveaus
Warm houden
12:00 uur
< Koken op meerdere niveaus
160°C
Bereidingsstijd
START
12:00 uur
< Koken op meerdere niveaus
180℃
Bereidingstijd
START
-
Selecteer op het hoofdschem Hetelucht, druk verwolgens op de Instelknop.
-
Selecteer Speciale functie, en druk daarna op de Instelknop.
-
Selecteer de gewenste functie, en druk daarna op de Instelknop. (Voor gedetailleerde informatie over elke functie, zich "Beschrijving speciale functies" op pagina 23.)
-
Stel de gewenste temperatuur in.
-
De standard temperatuur en temperatuur verschillen naargelang de kookstand.
-
Selecteer Bereidingsstijd, en druk daarna op de Instelknop om de gewenste bereidingsstijd in te stellen.
-
De maximale bereidingsstijd is 10 uur.
12:00 ur
< Koken op meerdere niveaus
180℃
1 aur 30 min | Oven Uit
Klaar om 13:30
START
12:00 uur
< Koken op meerdere niveaus
180℃
1 uur 30 min | Oven Uit
Klaar om 13:30
START
-
Selecteer Klaar om, en druk daarna op de Instelknop om de gewenste eindhoven in te stellen.
-
Wanner u de bereidingstijd instelt, geeft de oven de tijd aan waarop de bereiding zal eindhoven. (Bijv. Klaar om 13:30)
-
Selecteer START, en druk daarna op de Instelknop.
-
Als u de eindtijd Niet veranderd hebt, begint de oven onmiddelijk met de bereiding.
- Als u de eindtijd veranderd hebts, za de oven automatisch de starttijd aanpassen om de bereiding op de ingestelde tijd tebeeindigen.
Beschrijving speciale functies
| Modus | Temperatuurbereik (°C) | Standaard temperatuur (°C) |
| Koken op meertere niveaus | 40-250 | 160 |
| Gebruik dit om op twee niveaus tegelijk te koken. | ||
| Warm houden | 60-100 | 60 |
| Gebruik dit alleen om gerechten warm te houden die zojuist+zijn bereid. | ||
Automatisch koken
De oven bildet 31 Automatische kookprogramma's. Profiteer van deze functies om vrij te besparen en uw leercurve te verkleinen. De bereidingstijd, -temperatuur en het vermogen worden automatisch ingesteld op basis van het geselecteerde programma.

- Selecteer op het hoofdschemm Hetelucht, druk cervolgens op de Instelknop.
- Selecteer Automatische koken, en druk daarna op de Instelknop.

-
Selecteer het gewenste programme, en druk daarna op de Instelknop.
-
Voor gedetailleerde informatie over elk programme, zich "Automatisch koken" in "Slim koken" op pagina 28.
-
Lees de tip, selecteer Volgende, en druk op de Instelknop.
-
Selecteer het gewicht, en druk daarna op de Instelknop.
-
Het beschikbare gewicht verschlutt waar gelang het gekozen programma.
-
Deze stap is voor sommige programme's misschien Niet van toepassing.
-
Bereid het voedsel en de accessoires volgens de aanwijzingen op het scherm, selecteer Volgende, en druk dan op de Instelknop.
- Selecteer START, en druk daarna op de Instelknop.
De oven besteht 5 Automatische ontdooiprogramma's. Profiteer van deze functie om voedingsmiddelen gemakkelijk te ontdooien. De bereidingsstijd, -temperatuur en het vermogen worden automatisch ingesteld op basis van het geselecteerde programma.

- Selecteer op het hoofdschem Hetelucht, druk cervolgens op de Instelknop.
- Selecteer Automatisch ontdooien, en druk daarna op de Instelknop.

-
Selecteer het gewenste programme, en druk daarna op de Instelknop.
-
Voor gedetailleerde informatie over elk programme, zich "Automatisch ontdooien" in "Slim koken" op pagina 31.

-
Selecteer het gewicht, en druk daarna op de Instelknop.
-
Het beschikbare gewicht verschit maar gelang het gekozen programma.
- Bereid het voedsel en de accessoires volgens de aanwijzingen op het scherm, selecteer Volgende, en druk dan op de Instelknop.
- Selecteer START, en druk daarna op de Instelknop.
Snel bereiden
De oven besteht Snel bereidenprogramma's. Profiteer van deze functie om voedingsmiddelen gemakkelijk te ontdooien. De bereidingstijd, -temperatuur en het vermogen worden automatisch ingesteld op basis van het geselecteerde programma.

- Selecteer op het hoofdschem Hetelucht, druk cervolgens op de Instelknop.
- Selecteer Snel bereiden, en druk daarna op de Instelknop.

-
Selecteer het gewenste programme, en druk daarna op de Instelknop.
-
Voor gedetailleerde informatie over elk programme, zich "Snel bereiden" in "Slim koken" op pagina 32.
- Lees de tip, selecteer Volgende, en druk op de Instelknop.
- Selecteer het gewicht, en druk daarna op de Instelknop.
- Het beschikbare gewicht verschlutt waar gelang het gekozen programma.
- Bereid het voedsel en de accessoires volgens de aanwijzingen op het scherm, selecteer Volgende, en druk dan op de Instelknop.
- Selecteer START, en druk daarna op de Instelknop.
Timer
Een neue timer toevoegen
- Tik op de knop = op het bedieningspaneel.
- Selecteer Timer, en druk daarna op de Instelknop.
- Selecteer op het timerschem + druk verzolgens op de Instelknop.
Sla deze stap over als u de timer voor de eerste keer toevoegt.
- Stel de tijd in.
Een bestaande timer bewerken
- Tik op de knop = op het bedieningspaneel.
- Selecteer Timer, en druk daarna op de Instelknop.
- Selecteer op het timerschem de timer die u wilt bewerken, druk verwolgens op de Instelknop.
- Deijd wijzigen.
Een timer verwijderen
- Tik op de knop = op het bedieningspaneel.
- Selecteer Timer, en druk daarna op de Instelknop.
- Selecteer op het timerschemm drukervolgens op de Instelknop.
- Selecteer Verwijderen rechts van de timer die u wilt verwijdenen, drukervolgens op de Instelknop.
- Selecteer Klaar, en druk daarna op de Instelknop.
De timer gebruiken
- Tik op de knop = op het bedieningspaneel.
- Selecteer Timer, en druk daarna op de Instelknop.
- Selecteer START rechts van de timer die u wilt gebruiken, druk verzolgens op de Instelknop.
Zodra u de timer start, kunt u hem pauzeren of annuleren.
OPMERKING
Wonneer de tijd tot een ingesteld punt verstreken is, verschijnt een bericht "Tijd verstreten" met een melodietje. Selecteer OK, en druk daarna op de Instelknop om deinstilling te volttooien.
Reinigen
Stoomreinigen
Dit is handig voor het reinigen van lichte verontreinigingen met stoom.
Deze automatische functie bespaart uijd, sondern u het apparaat Niet regelmatig met de hand hoeft schoon te make.
- Tik op de knop = op het bedieningspaneel.
- Selecteer Reinigen, en druk daarna op de Instelknop.
- Selecteer Stoomreinigen, en druk daarna op de Instelknop.
- Volg de instructies op het scherm, selecteer Volgende, en druk dan op de Instelknop.
- Selecteer START, en druk daarna op de Instelknop.
WAARSCHUWING
Open de deur Niet voordat de cyclus is voltooid. Het water binnen in de oven is zeer heet en kan brandplekken veroorzaken.
OPMERKING
- Als de oven sterk verruild is met vet, bijvoorbeeld na braden of grillen, worden het aanbevolen hardnekkig vuil met de hand te verwijderen met een reinigingsmiddel, voordat u de stoomreiniging activeert.
Laat de ovendeur op een kier staan als de cyclus voltooid is. Dit is nodig om de binnenzijde van het@emaille goed te lately drogen. - Als de oven heet is, worden de automatisch reiniging Niet geactiveerd. Wacht tot de oven is aufgekoeld en probeer het opniew.
Giet Niet veel water ineens op de bodem. Doe dit voorzichtig. Anders loopt het water aan de voorkant over.
Gebruik
Ontgeuren
Dit is handig voor het ontgeuren van de oven. Gebruik deze functie regelmatig om ongewenste geuren in uw oven te verwijderen.
- Tik op de knop op het bedieningspaneel.
- Selecteer Reinigen, en druk daarna op de Instelknop.
- Selecteer Ontgeuren, en druk daarna op de Instelknop
- Stel deijd in.
Ukunt tot 15 minuten instellen.
- Selecteer START, en druk daarna op de Instelknop.
Installingen
Raak de toets op het bedieningspaneel aan, selecteer Instellenen, en druk dan op de Instelknop om verschillende instellenen van uw oven te veranderen.
Raadpleeg de volgende tabel voor gedetailleerde beschrijvingen.
| Menu | Submenu | Beschrijving |
| Verbindungen | Wifi | U kurz de Wifi in- of uitschakelen. |
| Eenvoudige verbinding | U kurz de oven via een Wifi-verbinding met de SmartThings-server verbinden. Wanner de oven verbonden is, kurz u de SmartThings-app gelebruiken om de status van de oven te controlleren en/ of deze vanaf een mobiel apparaat te bedieren. | |
| Extern beheer | Selecteer Activeren, druk dan op de Instelknop om het Call Center op afstand toegang te gehen tot uw oven om interne informatie te controlleren. | |
| Display | Helderheid | U kunt de helderheid van het display wijzigen. |
| Schermbeveiliging | U kunt de Screensaver in- of uitschakelen. | |
| OPMERKING | ||
| • De screensaver is een functie die de datum enijd op uw scherm weergeeft als er gedurende een bepaaldeijd geen invoor is in de standby-status. | ||
| • Zet de screensaver aan om het Klokthema en de Time-out te activeren. | ||
| Klokthema | U kunt het klokthema kiezen. | |
| Time-out | U kunt instellen hoelang het duurt voordat de screensaver worden ingeschakeld. | |
| OPMERKING | ||
| • Het energieverbruik kan toenemen, afhankelijk van uw instelling. | ||
| • Wanner de time-out-insteling op "Altijd aan" staat,.gaat de helderheid van het LCD automatisch maar niveau 2 als er gedurende 3 minuten geen actie is. |
| Menu | Submenu | Beschrijving |
| Datum enijd | Automatische datum enijd | U kurz het bijwerken van deijd vanaf het Internet aan- of uitzetten. U要去 verbonden zijn met het wifi-network. |
| Selecteerijdzone | U kurz deijdzone kiezen. (U要去 Automatische datum enijd uitschaken) | |
| Set date | U kurz handmatig een datum instellen. (U要去 Automatische datum enijd uitschaken.) | |
| Tijd instellen | U kurz deijd handmatig instellen. (U要去 Automatische datum enijd uitschaken.) | |
| Selecteer tijsdsindeling | U kurz voor deijd de 12-uors of 24-uursindeling selecteren. | |
| Taal | U kurz een taal selecteren. | |
| Volume | U kurz het volume van de oven aanpassen. | |
| Help | Probleemoplossing | U kurz de probleemoplossing raadplegen. |
| Gids voor eerste gebruik | U kurz de eenvoudige instructies voor het basisgebruik van de oven raadplegen. | |
Gebruik
| Menu | Submenu | Beschrijving |
| Over het apparaat | Modelnaam | U kunt de modelnaam van onsze oven controleren. |
| SW-versie | U kunt de huidige versie van de firmware controleren. Als er/Newe software beschikbaar is, verschijnt in dit menu de knop SW update. | |
| Juridische informatie | U kunt de juridische informatie controleren. |
Vergrendelen
U kunt het bedieningspaneel vergrendelen om onbedoelde bediening te voorkomen.
- Om de functie Vergrendelen te activeren, raakt u de knop = op het bedieningspaneel aan, selecteert u Vergrendelen, en drukt u verzolgens op de Instelknop.
- Om de functie Vergrendelen uit te schakelen, raakt u de knop —aan en houdt u deze ingedrukt tot u de boodschap "Bediening is ontgrendeld" ziet.
Slim koken
Automatisch koken
In de volgende babel vindt u 31 automatische programma's, waaronder opwarmen, koken, braden en bakken. Het bevat de hoeveelheden, nagaartijden en passende aanbevelingen. Deze automatische programma's bevatten speciale kookprogramma's, die voor uw gemak ontwikkeld+zijn.
| Gerecht | Portiegrootte (kg) | Onderdeel | Niveau |
| 1. Drinken | 0,250,5 | Keramische plaat | 1 |
| Giet de vloeistof in keramische mokken en verwarm onafgedekt.Plaats eén mok in het midden en 2 mokken naast elkaar op dekeramische plaat. Laat ze in de magnetronoven staan. Na 1 tot2 Minutes nagaren goed doorroeren. Wees voorzichtig wanneru de mokken uit de oven haalt. (zie veiligheidsinstructies vooropwarmen van vloeistoffen.) | |||
| 2. Schotel | 0,3-0,40,4-0,5 | Keramische plaat | 1 |
| De maaltijd op een ovenvast bord plaatsen en afdekken metmagnetronfolie. Dit programma is geschikt voor maaltijden dieuit 3 componenten bestaan (bijvoorbeeld vlees met jus, groentennen aardappelen, rijst of pasta). Laat het gerecht na het bereidengedurende 3 min. nagaren. | |||
| 3. Bevroren schotel | 0,3-0,40,4-0,5 | Keramische plaat | 1 |
| Controler of de verpakking van de diepvriesmaaltijd geschikt isvoor gebruik in de magnetron. Maak enkele gaten in de folie vande diepvriesmaaltijd. Plaats de diepvriesmaaltijd midden op hetdraaiplateau. Dit programma is geschikt voor diepvriesmaaltijndieniut 3 componenten bestaan (bijvoorbeeld vlees met jus, groentennen aardappelen, rijst of pasta). Laat het gerecht na hetbereiden gedurende 3 min. nagaren. | |||
| 4. Soep | 0,2-0,30,4-0,5 | Keramische plaat | 1 |
| Giet in een diep keramisch(e) bord of schaal endek het gerecht tijdens het opwarmen af met een plastic deksel. De soep in het midden van de keramische plaat zetten. Voor en na het nagaren 2-3 min. roeren. | |||
| 5. Stoofpot | 0,2-0,30,4-0,5 | Keramische plaat | 1 |
| Giet in een diep keramisch(e) bord of schaal endek het gerecht tijdens het opwarmen af met een plastic deksel. De soep in het midden van de keramische plaat zetten. Voor en na het nagaren 2-3 min. roeren. | |||
| Stoofpot | |||
| 6. Bevroren visgratin | 0,4-0,6 | Roosterinzetstuk + keramische plaat | 3 |
| Leg de diepgevroren visgratin in een geschikte vuurvaste glazen of keramische schaal. Na de bereiding 2-3 minutes latenten staan. Dit programme is geschikt voor diepgevroren kant-en-kaarproducten bestaande uit fillets belegd met groenten en saus. | |||
| 7. Bevroren lasagne | 0,4-0,6 | Roosterinzetstuk + keramische plaat | 3 |
| Leg de diepgevroren lasagne in een geschikte vuurvaste glazen of keramische schaal. Laat het gerecht na het verwarmen gedurende 2-3 minutes nagaren. | |||
| 8. Bevroren ovenfriet | 0,4-0,5 | Bakplaat | 3 |
| Verdeel de diepgevroren ovenfrites over de metalen bakplaat. | |||
| 9. Bevroren pizza | 0,3-0,40,4-0,5 | Ovenrek | 2 |
| Leg de bevroren pizza op het ovenrek. | |||
| Gerecht | Portiegrootte (kg) | Onderdeel | Niveau |
| 10. Diepgevroren aardappelkrokreten | 0,4-0,6 | Bakplaat | 3 |
| Leg de bevroren kroketen gelijkmatig op de bakplaat. | |||
| 11. Diepvriesgroente | 0,3-0,40,4-0,5 | Keramischeplaat | 1 |
| Plaat bevroren groenten, zoals broccoli, in stukken gesneden wortel, bloemkoolroosjes en erwten in een glazen kom met deksel. Voeg 1-2 eetlepels water toe. Plaats de kom in het midden van de keramischeplaat. Afdekken. 2-3 minutes latenten staan en doorroeren na de bereiding. | |||
| 12. Appeltaart | 1,2-1,4 | Ovenrek | 1 |
| Doe de appeltaart in een Ronde metalen vom. Zet op het ovenrek. Het gewicht varieert afhankelijk van de hoeveelheid appelen. | |||
| 13. Basis voor vruchtentaart | 0,3-0,5 | Ovenrek | 3 |
| Doe het beslag in de metalen bodemschaal op het ovenrek. | |||
| 14. Brownies | 0,5-0,7 | Ovenrek | 3 |
| Doe het deeg in een Ronde glazen pyrex of keramische schaal op het ovenrek. | |||
| 15. Croissants | 0,2-0,4 | Ovenrek | 3 |
| Gebruik bakpapier. Leg de croissants naast elkaar op het ovenrek. | |||
| 16. Nederlandse botertaart | 0,5-0,7 | Ovenrek | 2 |
| Doe vers deeg in een Ronde metalen overschaal van 22 cm. Zet op hetrek. | |||
| 17. NederlandseCakebrood | 0,7-0,8 | Ovenrek | 3 |
| Doe het verse deeg in een geschikte rechthoekige metalen vom (lengte 25 cm). Zet de schaal in de lengte maar de deur op het ovenrek. | |||
| 18. Muffins | 0,5-0,6 | Ovenrek | 2 |
| Doe het muffindeeg in een metalen muffinschaal, geschikt voor 12 muffins. Zet de schaal in het midden van het ovenrooster. | |||
| 19. Gistdeeg latent rijzen | 0,3-0,6 | Ovenrek | 3 |
| Bereid gistdeeg voor pizza, cake of brood. Doe in een grote ronde hittebestendige schaal endek af met huishoudfolie. | |||
| 20. Biscuitgebak | 0,3-0,6 | Ovenrek | 2 |
| Doe 300 g deeg in een 18 cm, 400 g in een 24 cm en 500 g in een 26 cm diameter ronde zwart metalen overschaal. Zet de schaal in het midden van het ovenrooster. | |||
| 21. Witbrood | 0,7-0,8 | Ovenrek | 2 |
| Doe het verse deeg in een geschikte rechthoekige metalen vorm (lengte 25 cm). Zet de schaal in de lengte maar de deur op het ovenrek. | |||
| 22. Appel bladerdeeg | 0,3-0,5 | Bakplaat | 2 |
| Gebruik bakpapier. Leg 4 stuks naast elkaar op de bakplaat. | |||
| 23. Visfilet, 2 cm | 0,3-0,6 | Ovenrek + Bakplaat | 5+2 |
| Marineer de visfilet (2 cm) en leg ze naast elkaar op het ovenrek en de bakplaat. Draai het voedsel om wanner de melding verschijnt, selecteer OK, en druk dan op de Instelknop. Selecteer verwolgens Doorgaan, druk verwolgens op de Instelknop om het proces te hervatten. | |||
| Gerecht | Portiegrootte (kg) | Onderdeel | Niveau |
| 24. Zalmoot | 0,3-0,6 | Ovenrek + Bakplaat | 5+2 |
| Marineer de zalmmoten en leg ze naast elkaar op het ovenrek en de bakplaat. Draai het voedsel om wanner de melding verschijnt, selecteer OK, en druk dan op de Instelknop. Selecteer cervolgens Doorgaan, druk cervolgens op de Instelknop om het proces te hervatten. | |||
| 25. Gamba's | 0,3-0,40,4-0,5 | Ovenrek + Bakplaat | 5+2 |
| Leg de rauwe gamba op het ovenrek en de bakplaat. Draai het voedsel om wanner de melding verschijnt, selecteer OK, en druk dan op de Instelknop. Selecteer cervolgens Doorgaan, druk cervolgens op de Instelknop om het proces te hervatten. | |||
| 26. Runderbiefstuk, dun | 0,3-0,6 | Ovenrek + Bakplaat | 5+2 |
| Leg de biefstukken naast elkaar in het midden van het ovenrek en de bakplaat. Draai het voedsel om wanner de melding verschijnt, selecteer OK, en druk dan op de Instelknop. Selecteer cervolgens Doorgaan, druk cervolgens op de Instelknop om het proces te hervatten. | |||
| 27. Lamsbout | 0,3-0,6 | Ovenrek + Bakplaat | 5+2 |
| Marineer de lamskoteletjes. Leg de lamskoteletjes op het ovenrek en de bakplaat. Draai het voedsel om wanner de melding verschijnt, selecteer OK, en druk dan op de Instelknop. Selecteer cervolgens Doorgaan, druk cervolgens op de Instelknop om het proces te hervatten. | |||
| 28. Verse groente | 0,3-0,40,5-0,6 | Keramische plaat | 1 |
| Weeg de groente nadat u deze hebt gewassen, hebtschoongemaakt en in gelijke stukken hebt gesneden. Doe ze ineen glazen schaal met deksel. Voeg 45 ml (3 eetlepels) water toe.Plaats de kom in het midden van de keramische plaat. Afdekken.2-3 minuten latent staan en doorroeren na de bereiding. | |||
| 29. Geschildeaardappel | 0,5-0,60,7-0,8 | Keramische plaat | 1 |
| Weeg de aardappelen nadat u deze hebt geschild, gewassen en ingelijke stukken hebt gesneden. Doe ze in een glazen schaal metdeksel. Voeg 45-60 ml (3-4 eetlepels) water toe. Plaats de kom inhet midden van de keramische plaat. 2-3 minutes latent staan endoorroeren na de bereiding. | |||
| 30. Witter rijst | 0,3-0,4 | Keramische plaat | 1 |
| Weeg witte snelkookrijst af en voeg een dubbele hoeveelheidkoud water toe. Voeg voor de bereiding van 0,3 kg rijtbijvoorbeeld 600 ml koud water toe. Gebruik een ovenvasteglazen schaal met deksel. Plaats de kom in het midden van dekeramische plaat. Afdekken. 5 minutes latent staan en doorroerenna de bereiding. | |||
| 31. Zelfgemaaktepizza | 0,6-1,0 | Bakplaat | 1 |
| Leg de pizza op de bakplaat. De gewichtsklassen omvattentopping zoals saus, groenten, ham en kaas. | |||
Hieronder vindt u een lijst met de verschillende programma's voor Automatisch ontdooien, inclusief de bijbehorende porties, nagaartijden en instructies. Deze programma's gebruiken alleen microgolfenergie. Verwijder al het verpakkingsmaterial voor u met het ontdooien begint. Leg vlees, gezogelte, vis, brood, cake en fruit op de keramische plaat.
| Gerecht | Portiegrootte (kg) | Onderdeel | Niveau | Nagaartijd (min.) |
| Vlees | 0,2-2,0 | Keramische plaat | 1 | 10-30 |
| De randen afterschermen met aluminiumfolie. Draai het voedsel om wonneer de melding verschijnt, selecteer OK, en druk dan op de Instelknop. Selecteer verrolgens Doorgaan, druk verrolgens op de Instelknop om het proces te hervatten. Dit programme is geschikt voor rundvlees, lamsvlees, varkensvlees, biefstuk, karbonades en gehakt. | ||||
| Gevogelte | 0,2-2,0 | Keramische plaat | 1 | 10-30 |
| Het uiteinde van de poten en vleugels afterschermen met aluminiumfolie. Draai het voedsel om wonneer de melding verschijnt, selecteer OK, en druk dan op de Instelknop. Selecteer verrolgens Doorgaan, druk verrolgens op de Instelknop om het proces te hervatten. Dit programme is zowel geschikt voor een helekip als voor kipdelen. | ||||
| Vis | 0,2-2,0 | Keramische plaat | 1 | 10-30 |
| Scherm de staat van een hele vis af met aluminiumfolie. Draai het voedsel om wonneer de melding verschijnt, selecteer OK, en druk dan op de Instelknop. Selecteer verrolgens Doorgaan, druk verrolgens op de Instelknop om het proces te hervatten. Dit programme is zowel geschikt voor een hele vis als voor visfillet. | ||||
| Brood/Cake | 0,1-1,0 | Keramische plaat | 1 | 5-10 |
| Leg het brood op een stuk keukenrol. Draai het voedsel om wanner de melding verschijnt, selecteer OK, en druk dan op de Instelknop. Selecteer verwolgens Doorgaan, druk verrolgens op de Instelknop om het proces te hervatten. De oven blijft werken tot u de deur opent om het voedsel om te draaien. Dit programme is geschikt voor alle soorten brood, heel of gesneden, evenals broodjes en stokbroodjes. Leg de broodjes in een cirkel. Dit programme is geschikt voor alle soorten gistgebak, koekjes, kwarktaart en bladerdeeg. Het is Niet geschikt voor zandgebak, fruit- en slagroomtaart en cake met chocoladegarnering. | ||||
| Fruit | 0,1-0,8 | Keramische plaat | 1 | 5-10 |
| Verdeel het diepgevroren fruit gelijkmatig over de keramische plaat. Dit programma is geschikt voor vruchten, zoals frambozen, gemengde)bessen en tropischevruchten. | ||||
Snel bereiden
In de volgende babel vindt u 4 automatische programma's voor snel bereiden en roosteren. Het bevat de hoeveelheden, nagaartijden en passende aanbevelingen.
Deze automatische programma's bevatten speciale kookprogramma's, die voor uw gemak ontwikkeld zijn.
| Voedingsproduct | Gewicht | Onderdeel | Rekstand |
| Gebakken halve aardappel | 400-600 g600-800 g | Roosterinzetstuk + keramische plaat | 3 |
| Aardappelen doormidden snijden. Leg ze op het rek met de gesneden kant maar de grill. Laat het gerecht na het bereiden gedurende 2-3 Minutes nagaren. | |||
| Voedingsproduct | Gewicht | Onderdeel | Rekstand |
| Varkensbraadstuk | 0,8-1,0 kg | Roosterinzetstuk + keramische plaat | 3 |
| Leg het gemarineerde varkensvlees op het roosterinzetstuk met keramische plaat. Draai het voedsel om wanner de melding verschijnt, selecteer OK, en druk dan op de Instelknop. Selecteer verrolgens Doorgaan, druk verrolgens op de Instelknop om het proces te hervatten. | |||
| Stukjeskip | 0,5-0,7 kg1,0-1,2 kg | Roosterinzetstuk + keramische plaat | 5 |
| Smeer de gekoelde kipdelen in met olie en kruiden. Leg ze op het roosterinzetstuk met keramische plaat met het vel maar beneden. Draai het voedsel om wanner de melding verschijnt, selecteer OK, en druk dan op de Instelknop. Selecteer verrolgens Doorgaan, druk verrolgens op de Instelknop om het proces te hervatten. Laat het gerecht na het bereiden gedurende 2-3 minutes nagaren. | |||
| Helekip | 1,0-1,1 kg1,2-1,3 kg | Roosterinzetstuk + keramische plaat | 3 |
| Smeer de gekoelde kip in met olie en kruiden. Leg de kip met de borst�<|im_start|>den in het midden van het roosterinzetstuk met keramische plaat op niveau 3. Draai het voedsel om wanner de melding verschijnt, selecteer OK, en druk dan op de Instelknop. Selecteer verrolgens Doorgaan, druk verrolgens op de Instelknop om het proces te hervatten. Laat het gerecht na het bereiden gedurende 5 minutes nagaren. | |||
- In de stand Automatisch bereiden worden microgolven gebruikt om het voedse te verhitten. U moet dan ook de richtlijnen voor kookmaterialen en andere veiligheidsvoorschriften voor het gebruik van microgolven strikt volgen wanner u de magnetronfunctie gebruikt.
Richtlijnen voor Magnetron
- Gebruik in de magnetronstand geen metalen kookgerei. Zet voedselcontainer altijd in de holte.
Voor de beste resultaten adviseren we het voedsel af te Dekken.
Laat het voedsel na de bereiding rusten in de eigen stoom.
Diepvriesgroente
- Gebruik een ovenvaste container met deksel.
Roer de groenten tijdens de bereiding twee ker en na de bereiding een keer door.
Breng het geheel na de bereiding op smaak met kruiden.
| Gerecht | Portiegrootte (g) | Vermogen (W) | Bereidingstijd (min.) | Nagaartijd (min.) |
| Spinazie | 150 | 600 | 5-6 | 2-3 |
| Voeg 15 ml (1 eetlepels) koud water toe. | ||||
| Broccoli | 300 | 600 | 8-9 | 2-3 |
| Voeg 30 ml (2 eetlepels) koud water toe. | ||||
| Erwten | 300 | 600 | 7-8 | 2-3 |
| Voeg 15 ml (1 eetlepels) koud water toe. | ||||
| Sperziebonen | 300 | 600 | 7½-8½ | 2-3 |
| Voeg 30 ml (2 eetlepels) koud water toe. | ||||
| Gemengde groente (Wortelen/Erwten/Maïs) | 300 | 600 | 7-8 | 2-3 |
| Voeg 15 ml (1 eetlepels) koud water toe. | ||||
| Gemengde groente (Chinees) | 300 | 600 | 7½-8½ | 2-3 |
| Voeg 15 ml (1 eetlepels) koud water toe. | ||||
Verse groente
- Gebruik een ovenvaste container met deksel.
Voeg voor elke 250 g 30-45 ml koud water toe.
Roer het gerechtijdens de bereiding een keer door en na afloop nog een keer.
Breng het geheel na de bereiding op smaak met kruiden.
Voor een snellere bereiding adviseren we Kleinere gelijkmatige stukken snijden.
Bereid alle verse groenten op het volle vermogen van de magnetron (850 W).
| Gerecht | Portiegrootte (g) | Bereidingstijd (min.) | Nagaartijd (min.) |
| Broccoli | 250 | 4-5 | 3 |
| 500 | 5-6 | ||
| Verdelen in roosjes van gelijke grootte. Leg deze met de steeltjes waar het midden. | |||
| Spruitjes | 250 | 5-6 | 3 |
| 500 | 7-8 | ||
| Voeg 60-75 ml (4-5 eetlepels) water toe. | |||
| Wortels | 250 | 5-6 | 3 |
| Snijd de wortels in stukken van gelijke grootte. | |||
| Bloemkool | 250 | 5-6 | 3 |
| 500 | 7-8 | ||
| Verdelen in roosjes van gelijke grootte. Grote roosjes doormidden snijden. Leg ze met de steeltjes waar het midden. | |||
| Courgette | 250 | 3-4 | 3 |
| Snijd de courgettes in plakken. Voeg 30 ml (2 eetlepels) water of een klontje boter toe. Koken tot ze net.gaar zijn. | |||
| Aubergine | 250 | 3-4 | 3 |
| Snijd de aubergines in dunne plakjes en sprekel er 1 eetlepel citroensap over. | |||
| Prei | 250 | 3-4 | 3 |
| Snijd de prei in dikke plakken. | |||
| Gerecht | Portiegrootte (g) | Bereidingsstijd (min.) | Nagaartijd (min.) |
| Championons | 125 | 1-2 | 3 |
| 250 | 2-3 | ||
| De championons heel of in plakjes bereiden. Geen water toevoegen. Besprenkelen met citroensap. Kruiden met peper en zout. Voor het serveren uit lately lekken. | |||
| Uien | 250 | 4-5 | 3 |
| Uien doormidden of in plakjes snijden. Voeg slechts 15 ml (1 eetlepel) water toe. | |||
| Paprika | 250 | 4-5 | 3 |
| Snijd de paprika in reepjes. | |||
| Aardappelen | 250 | 4-5 | 3 |
| 500 | 7-8 | ||
| Weeg de aardappelen en snijd ze doormidden of in vieren in stukken van ongeveer gelijke grootte. | |||
| Koolraap | 250 | 5-6 | 3 |
| Snijd de koolraap inkleine blokjes. | |||
Rijst en pasta
Tijdens en na de bereiding af en toe doorroeren.
Onafgedekt bereiden en met deksel erop laten rusten. Giet het water goed af.
Rijst: Gebruik een grote ovenvaste glazen schaal met deksel - rijst verdubbelt in omvang tijdens de bereiding.
- Pasta: Gebruik een grote ovenvaste schaal.
| Gerecht | Portiegrootte (g) | Vermogen (W) | Bereidingsstijd (min.) | Nagaartijd (min.) | Aanwijzingen |
| Witte rijst (snelkook) | 250 | 850 | 17-18 | 5 | Voeg 500 ml koud water toe. |
| 375 | 18-20 | Voeg 750 ml koud water toe. | |||
| Bruine rijst (snelkook) | 250 | 850 | 20-22 | 5 | Voeg 500 ml koud water toe. |
| 375 | 22-24 | Voeg 750 ml koud water toe. | |||
| Gemengde rijst (rijst en wilde rijst) | 250 | 850 | 17-19 | 5 | Voeg 500 ml koud water toe. |
| Gemengde granen (rijst en graan) | 250 | 850 | 18-20 | 5 | Voeg 400 ml koud water toe. |
| Pasta | 250 | 850 | 10-11 | 5 | Voeg 1000 ml warm water toe. |
Opwarmen
Warm geen grote producten op, zoals große stukken vlees, aangezien makkelijk te gaar hun den worden gekoekt.
- Het is veiliger om voor het opwarmen van voedsel een lager vermogensniveau te gebruiken.
Tijdens en na de bereiding af en toe doorroeren en omkeren.
Wees voorzichtig met vloeistoffen en babyvoeding. Zowel voor,ijdens en na het bereidingsproces goed doorroeren met een plastic lepel of glazen roerstok om overkoken en verbranden te voorkomen. Laat de vloeistoffenijdens de standtijd in de oven staan. Gebruik een langere opwarmtijd dan bij andere soorten voedsel.
- De aanbevolen standtijd na het opwarmen is 2 tot 4 minutes. Zie de onderstaande tabel ter referentie.
Vloeistoffen en gerechten
| Gerecht | Portie | Vermogen (W) | Bereidingstijd (min.) | Nagaartijd (min.) |
| Drinken | 250 ml (1 mok) 500 ml (2 mokken) | 850 | 1½-2 2-3 | 1-2 |
| Giet de drank in een ovenvaste kom endek deze Niet af. Kom midden op de keramischeplaat zetten. Voor en na het nagaren zorgvuldig doorroeren. | ||||
| Soep (Gekoeld) | 250 g | 850 | 3-4 | 2-3 |
| Gebruik een diep keramisch bord. Dek het af met een plastic deksel. Roer alles goed door na het opwarmen. Voor het serveren nogmaals doorroeren. | ||||
| Stoofschotel (Gekoeld) | 350 g | 600 | 5-6 | 2-3 |
| Gebruik een diep keramisch bord. Dek het af met een plastic deksel. Roer alles goed door na het opwarmen. Voor het serveren nogmaals doorroeren. | ||||
| Pasta met saus (Gekoeld) | 350 g | 600 | 5-6 | 2-3 |
| Gebruik een diep keramisch bord. Dek het af met een plastic deksel. Roer alles goed door na het opwarmen. Voor het serveren nogmaals doorroeren. | ||||
| Schotel (Gekoeld) | 350 g 450 g | 600 | 5-6 6-7 | 3 |
| Leg de bestanddelen (2-3) waaruit de maaltijd bestaat, op een keramische schotel. Afdekken met plastic magnetronfolie. | ||||
Babyvoeding en -melk
| Gerecht | Portie | Vermogen (W) | Bereid ingstijd (sec.) | Nagaartijd (min.) |
| Babyvoeding (Groenten en vlees) | 190 g | 600 | 30-40 | 2-3 |
| Op een diep keramisch bord gieten. Afdekken. Na de bereiding doorroeren. 2-3 minuten latent staan. Nogmaals goed doorroeren en de temperatuur controlleren voor u het aan de baby geeft. | ||||
| Babypap (Graan + Melk + Fruit) | 190 g | 600 | 20-30 | 2-3 |
| Op een diep keramisch bord gieten. Afdekken. Na de bereiding doorroeren. 2-3 minuten latent staan. Nogmaals goed doorroeren en de temperatuur controlleren voor u het aan de baby geeft. | ||||
| Babymelk | 100 ml. 200 ml. | 300 | 30-40 50-60 | 2-3 |
| Goed roeren of schudden en in een gesteriliseerde glazen fles gieten. Midden op de keramische plaat zetten. Niet afdekken. Goed doorroeren en minstens 3 minuten latent staan. Nogmaals goed schudden en de temperatuur controlleren voor u het aan de baby geeft. | ||||
Ontdooien
Gebruik voor bevroren etenswaren een magnetronbestendige container zonder deksel. Keer de etenswarenijdens het ontdooien om, giet het vocht af en verwijder na het ontdooien eventueel afval. Om sneller te ontdooien,kest u de etenswaren inkleine stukken snijden en ze in aluminiumfolie wikkelen. Wanner de buitenkant van bevroren voedsel begint te smelten, stopt u met ontdooien en LAST u de etenswaren rusten, zoals aangegeven in de onderstaande tabel.
Wijzig het standard vermogensniveau (180 W) voor het ontdooveniet.
Doe voedsel op de keramischeplaat en plaats verwolgens de keramischeplaat opplaatniveau 1 in de oven.
| Gerecht | Portiegrootte (g) | Ontdooitijd (min.) | Nagaartijd (min.) | |
| Vlees | Gehakt | 250 | 6-7 | 15-30 |
| 500 | 8-12 | |||
| Varkenslapjes | 250 | 7-8 | ||
| Leg het vlees op de keramische plaat. Dunne randen afschermen met aluminiumfolie. Halverwege de ontdooitijd omkeren. | ||||
| Gevogelte | Stukjeskip | 500 (2 stuks) | 12-14 | 15-60 |
| Helekip | 1200 | 28-32 | ||
| Leg de kipdelen met het vel্তরen, de hele kip met de borst maar beneden op de keramische plaat. De dunnere delen, zoals de vleugels en uiteinden, afdekken met aluminiumfolie. Halverwege de ontdooitijd omkeren. | ||||
| Vis | Visfilet | 200 | 6-7 | 10-25 |
| Hele vis | 400 | 11-13 | ||
| De diepgevroyen vis midden op de keramische plaat leggen. Dunnere delen onder de dikkere delen leggen. Dunne uiteinden afschermen met aluminiumfolie, evenals de staart van de hele vis. Halverwege de ontdooitijd omkeren. | ||||
| Fruit | Bessen | 300 | 6-7 | 5-10 |
| Het fruit uitspreiden op een grote, ronde glazen schotel. | ||||
| Brood | Broodjes (elk ca. 50 g) | 2 stuks | 1-1½ | 5-20 |
| 4 stuks | 2½-3 | |||
| Boterhammen | 250 | 4-4½ | ||
| 500 | 7-9 | |||
| Broodjes in een cirkel en heel brood horizontally op keukenpapier op de keramische plaat leggen. Halverwege de ontdooitijd omkeren. | ||||
Richtlijnen voor hete lucht
Hetelucht
Gebruik de temperaturen en tijden in deze tabel als richtlijn voor het bakken.
Wij raden u aan de oven voor te verwarmen met de convectiestand.
| Gerecht | Temp. (°C) | Onderdeel | Niveau | Bereidigungstijd (min.) |
| Vierkante vom hazelnotentaart | 160-170 | Ovenrek | 2 | 60-70 |
| Ringvormige of bolvormige bakvorm citroentaart | 150-160 | Ovenrek | 2 | 50-60 |
| Biscuitgebak | 150-160 | Ovenrek | 2 | 25-35 |
| Vruchtenvlaibodem | 150-170 | Ovenrek | 2 | 25-35 |
| Platvruchtenkruimelgebak (gistdeeg) | 150-170 | Bakplaat | 3 | 30-40 |
| Croissants | 170-180 | Bakplaat | 2 | 10-15 |
| Broodjes | 180-190 | Bakplaat | 2 | 10-15 |
| Koekjes | 160-180 | Bakplaat | 3 | 10-20 |
| Ovenfrites | 200-220 | Bakplaat | 3 | 15-20 |
Bovenwarmte + hetelucht
Gebruik de temperaturen enijdden in deze tabel als richtlijn voor het roosteren.
Wij raden u aan de oven voor te verwarmen met de Bovenwarmte + convectiestand.
Leg het vlees op het ovenrek, volg de adviezen voor het niveau van de schappen in de tabel en gebruik bakplaat als oliepan op niveau 2.
| Gerecht | Temp. (°C) | Onderdeel | Niveau | Bereidigungstijd (min.) |
| Rosbief (1 kg / medium) | 170-190 | Ovenrek + Bakplaat | 3+2 | 60-90 |
| Varkensschouder / Roll (1 kg) | 180-200 | Ovenrek + Bakplaat | 3+2 | 90-120 |
| Lamsbout / Iamsbraadstuk (0,8 kg) | 190-210 | Ovenrek + Bakplaat | 3+2 | 50-80 |
| Helekip (1,2 kg) | 200-220 | Ovenrek + Bakplaat | 3+2 | 50-70 |
| Vis hele forellen (2 stuks / 0,5 kg) | 180-200 | Ovenrek + Bakplaat | 3+2 | 30-40 |
| Eendenborst (0,3 kg) | 180-200 | Ovenrek + Bakplaat | 3+2 | 25-35 |
Onderwarmte + hetelucht
Gebruik de temperaturen enijdden in deze tabel als richtlijn voor het bakken.
Wij raden u aan de oven voor te verwarmen met de Onderwarmte + convectiestand.
| Gerecht | Temp. (°C) | Onderdeel | Niveau | Bereidigungstijd (min.) |
| Zelfgemaakte pizza | 180-200 | Bakplaat | 1 | 20-30 |
| Gekoelde voorgebakken quiche / Taart | 180-200 | Ovenrek | 2 | 10-15 |
| Bevroren zelfrijzende pizza | 180-200 | Bakplaat | 2 | 15-20 |
| Bevroren pizza | 180-200 | Bakplaat | 2 | 15-25 |
| Gekoelde pizza | 180-200 | Bakplaat | 2 | 8-15 |
| Appeltaart | 160-180 | Ovenrek | 1 | 60-70 |
| Bladerdeeg met appelvulling | 180-200 | Bakplaat | 2 | 10-15 |
Richtlij voor Grillen
Grote grill
Gebruik de temperaturen enijdden in deze tabel als richtlijn voor het grillen.
Stel de grilltemperatuur in op 220^ en LAST de oven gedurende 5 minuten voorverwarmen.
| Gerecht | Onderdeel | Niveau | Bereidigungstijd 1e zijde (min.) | Bereidigungstijd 2e zijde (min.) |
| Kebabvleespennen | Ovenrek + Bakplaat | 5+2 | 8-10 | 6-8 |
| Varkenslapjes | Ovenrek + Bakplaat | 5+2 | 7-9 | 5-7 |
| Worstjes | Ovenrek | 5+2 | 6-8 | 6-8 |
| Stukjeskip | Ovenrek + Bakplaat | 5+2 | 20-25 | 15-20 |
| Zalmmoten | Ovenrek + Bakplaat | 5+2 | 8-12 | 6-10 |
| Schijfjes groenten | Bakplaat | 5 | 15-20 | - |
| Geroosterd brood | Ovenrek | 5 | 2-3 | 1-2 |
| Kaastosti's | Ovenrek | 5 | 3-5 | - |
Ventilatorgrill
Gebruik de temperaturen enijdden in deze tabel als richtlijn voor het grillen.
Stel de grilltemperatuur in op 220^ en LAST de oven gedurende 5 minuten voorverwarmen.
| Gerecht | Onderdeel | Niveau | Bereidingstijd (min.) |
| Worstjes | Ovenrek | 4 | 8-10 |
| Aardappelpartjes | Ovenrek | 4 | 20-25 |
| Bevroren ovenfriet | Bakplaat | 4 | 15-20 |
| Diepgevroyen aardappelkrokten | Bakplaat | 4 | 20-25 |
| Bevroren nuggets | Bakplaat | 4 | 15-20 |
| Zalmoot | Ovenrek + Bakplaat | 4+2 | 15-20 |
| Visfilets | Ovenrek + Bakplaat | 4+2 | 12-17 |
| Hele vis | Ovenrek + Bakplaat | 4+2 | 15-20 |
| Stukjeskip | Ovenrek + Bakplaat | 4+2 | 30-40 |
Combinatiebereidingsgids
- Gebruik in de magnetronstand geen metalen kookgerei. Zet voedselcontainer altijd in de holte.
Voor de beste resultaten adviseren we het voedsel af te Dekken.
Laat het voedsel na de bereiding rusten in de eigen stoom.
Magnetron + grill
Gebruik de vermogensniveauaus met temperatureen enijdden in deze tabel als richtlijn voor het grillen. Voorverwarmen is Niet nodig.
| Gerecht | Vermogensniveau (W) | Temp. (°C) | Onderdeel | Niveau | Bereidigungstijd 1e zijde (min.) | Bereidigungstijd 2e zijde (min.) |
| In de schil gebakken aardappelen | 600 | 180-200 | Keramische plaat + Roosterinzetstuk | 4 | 10-15 | - |
| Gegrilde tomaat | 300 | 160-180 | Keramische plaat + Roosterinzetstuk | 4 | 05-10 | - |
| Gegratineerde groenten | 450 | 180-200 | Keramische plaat + Roosterinzetstuk | 4 | 10-20 | - |
| Geroosterde vis | 300 | 180-200 | Keramische plaat + Roosterinzetstuk | 4 | 04-08 | 04-06 |
| Stukjeskip | 300 | 180-200 | Keramische plaat + Roosterinzetstuk | 4 | 10-15 | 10-15 |
Magnetron + hetelucht
Gebruik de vermogensniveauaus met temperatureen enijdden in deze tabel als richtlijn voor het grillen. Voorverwarmen is Niet nodig.
| Gerecht | Vermogensniveau (W) | Temp. (°C) | Onderdeel | Niveau | Bereidigungstijd 1e zijde (min.) | Bereidigungstijd 2e zijde (min.) |
| Helekip (1,2 kg) | 450 | 180-200 | Keramischeplaat + Roosterinzetstuk | 3 | 25-30 | 15-25 |
| Geroosterd rundvlees / Lamsvlees (Medium) | 300 | 180-200 | Keramischeplaat + Roosterinzetstuk | 3 | 15-20 | 15-20 |
| Gegratineerde pasta / lasagne uit de diepvries | 450 | 180-200 | Keramischeplaat + Roosterinzetstuk | 3 | 20-25 | - |
| Aardappelgratin | 450 | 180-200 | Keramischeplaat + Roosterinzetstuk | 3 | 10-15 | - |
| Versevruchtenvlaai | 100 | 160-180 | Keramischeplaat | 3 | 40-50 | - |
Magnetron + Braden
Gebruik de vermogensniveaus met temperaturen en tiarden in deze tabel als richtlijn voor het grillen. Voorverwarmen is Niet nodig.
| Gerecht | Vermogensniveau (W) | Temp. (℃) | Onderdeel | Niveau | Bereidingstijd (min.) |
| Stukjeskip | 300 | 180-200 | Keramischeplaat + Roosterinzetstuk | 4 | 20-30 |
| Aardappelpartjes | 300 | 180-200 | Keramischeplaat + Roosterinzetstuk | 4 | 15-20 |
| Hele vis | 300 | 180-200 | Keramischeplaat + Roosterinzetstuk | 4 | 15-20 |
| Visfilets | 300 | 180-200 | Keramischeplaat + Roosterinzetstuk | 4 | 10-15 |
| Bevroen nuggets | 450 | 180-200 | Keramischeplaat + Roosterinzetstuk | 4 | 10-15 |
| Bevroen loempiä's | 300 | 180-200 | Keramischeplaat + Roosterinzetstuk | 4 | 05-10 |
| Bevroen fishsticks | 300 | 180-200 | Keramischeplaat + Roosterinzetstuk | 4 | 15-20 |
Pro Steamer
De bereidingstijd hangt af van de grootte, dikte en het soort voedsel. Bij het stomen van dunne plankjes ofkleine stukjes raden wij aan de tijd te verkorten. Wanner dikke plankjes of groete stukken voedsel worden gestoomd,kest u tijd toevoegen. Gebruik de vermogens en tijden uit de tabel als richtlijn voor de bereiding.
| Gerecht | portie (g) | Koud water (ml) | Vermogen (W) | Tijd (min) | Instructie |
| Broccoli, roosjes | 400 | 500 | 850 | 12-18 | Spoel de broccoli af en kaak.Deze schoon. Snij in roosjes van gelijke grotte. Leg de roosjesgelijkmatig op de stoombak. |
| Wortels | 400 | 500 | 850 | 15-20 | Spoel de wortelen af,maak ze schoon en snijd ze in gelijke plankjes. Verdeel de plankjes over de stoombak. |
| Bloemkool, heel | 600 | 500 | 850 | 20-25 | Maak de hele bloemkool schoon en leg deze op de stoomschaal. |
| Maisikolven | 400 (2 st.) | 500 | 850 | 23-28 | Spoel de mais en kaak.Deze schoon. Leg de maiskolven naast elkaar op de stoombak. |
| Courgette | 400 | 500 | 850 | 15-20 | Spoel de courgettes af en snijd ze in gelijke plankjes. Verdeel de plankjes over de stoombak. |
| Diepvriesgroenten | 400 | 500 | 850 | 18-22 | Verdeel de diepvriesgroenten (-18 °C) bijv. broccoli, bloemkool, in plankjes gesneden wortelengelijkmatig over de stoombak. |
| Aardappelen (Klein) | 500 | 500 | 850 | 25-30 | Spoel de aardappelen af en maak met een vork kerfjes in de schil. Leg de hele aardappelen gelijkmatig op de stoomschaal. |
| Appels | 800 (8 appels) | 500 | 850 | 15-20 | Spoel de appels en verwijder het klokhuis. Leg de appels naast elkaar op de stoombak. |
| Eieren | 4-6 eieren | 500 | 850 | 15-20 | Prik 4-6 verse eieren (maat M) in en leg ze in dekleine holtes van de stoombak. Laat ze na het bereiden gedurende 2-5 minuten nagaren. |
| Blauwe garnalen | 250 (5-6 stuks) | 500 | 850 | 10-15 | Besprenkel de blauwe garnalen met 1-2 eetleps citroensap. Leg ze gelijkmatig op de stoombak. |
| Visfilet (Kabeljauw, roosvis) | 500 (2-3 stuks) | 500 | 850 | 15-20 | Besprenkel de visfilets met 1-2 eetleps citroensap en voeg kruiden en specerijen (bijv. Rozemarijn) toe. Leg ze gelijkmatig op de stoombak. |
| Kippenborst, filet | 400 (2 files) | 500 | 850 | 20-25 | Spoel dekipfilets af en maak ze schoon. Leg de filts naast elkaar op de stoombak. |

OPMERKING
De Pro Steamer reinigen.
Maak de Pro Steamer schoon met warm water en afwasmiddel en spoel deze af met schoon water.
- Gebruik geen schrobbber of een harde spons, anders worden de toplaag beschadigd.
De Pro Steamer is nicht vaatwasmachinebestendig.
Gids hete lustcht, onder- en bovenwarmte
Gebruik de temperaturen en tielden in deze tabel als richtlijn voor het bakken.
Wij raden u aan de oven voor te verwarmen met de stand Hete lucht, onder- en bovenwarmte.
| Gerecht | Temp. (°C) | Onderdeel | Niveau | Bereidigungstijd (min.) |
| Lasagne | 200-220 | Ovenrek | 3 | 20-25 |
| Gegratineerde groenten | 180-200 | Ovenrek | 3 | 20-30 |
| Aardappelgratin | 180-200 | Ovenrek | 3 | 40-60 |
| Bevroren pizzabroodjes | 160-180 | Bakplaat | 3 | 10-15 |
| Marmercake | 160-180 | Ovenrek | 2 | 50-70 |
| Cake | 150-170 | Ovenrek | 2 | 50-60 |
| Muffins | 180-200 | Ovenrek | 2 | 20-30 |
| Koekjes | 180-200 | Bakplaat | 3 | 10-20 |
Gids Intensief koken
Gebruik de temperaturen en tiijden in deze tabel als richtig voor het roosteren. Wij raden u aan de oven voor te verwarmen met de stand Intensief (Boven- + Onderwarmte + Convectiestand).
| Gerecht | Temp. (°C) | Onderdeel | Niveau | Bereidigungstijd (min.) |
| Lasagne (2 kg) | 180-200 | Ovenrek | 2 | 20-30 |
| Groentengratin (2 kg) | 160-180 | Ovenrek | 2 | 40-60 |
| Aardappelgratin (2 kg) | 160-180 | Ovenrek | 2 | 60-90 |
| Rosbief (2 kg) | 160-180 | Ovenrek + Bakplaat | 3+2 | 60-90 |
| Hele eend (2 kg) | 180-200 | Ovenrek + Bakplaat | 3+2 | 60-90 |
| 2 hele kippen (1,2 kg elk) | 200-220 | Ovenrek + Bakplaat | 3+2 | 60-90 |
Pro-roosteren
Deze stand omvat een automatische opwarmingscylus boven 200^ .
Het bovenste verwarmingselement en de convectieventilator werkenijdens het
dichtschroeien van het vlees. Na deze fase worden het voedsel zachtjes gekookt door de lage temperatuur van de voorselectie.
Dit proces worden UITgevoerd verwijl de bovenste en de onderste verwarmingselementen in werkigল.
Deze stand is geschikt voor gebraad, gezogelte en vis.
Gebruik de temperaturen enijdden in deze tabel als richtlijn voor het roosteren.
| Gerecht | Temp. (°C) | Onderdeel | Niveau | Bereidigungstijd (uren) |
| Rosbief | 80-100 | Ovenrek + Bakplaat | 3+2 | 3:30-4:30 |
| Varkensbraadstuk | 80-110 | Ovenrek + Bakplaat | 3+2 | 3:30-4:00 |
| Eendenfillet | 80-100 | Ovenrek + Bakplaat | 3+2 | 01:30-2:00 |
| Runderbiefstuk | 80-110 | Ovenrek + Bakplaat | 3+2 | 01:30-2:00 |
| Varkenshaas | 80-110 | Ovenrek + Bakplaat | 3+2 | 01:30-2:00 |
Air Fry
Gebruik de temperaturen enijdden in deze tabel als rechtlijk voor het luchtfrituren.
| Gerecht | Portiegrootte (g) | Temp. (°C) | Niveau | Bereidingstijd (min.) |
| Aardappelen | ||||
| Diepvriesovenfriet | 500-1000 | 210-220 | 4 | 20-25 |
| Diepvriesovenfriet, met kruiden | 500-1000 | 210-220 | 4 | 15-20 |
| Bevroen Tater Tots | 500-1000 | 210-220 | 4 | 15-20 |
| Bevroen rösties* | 500-1000 | 210-220 | 4 | 15-20 |
| Patat, partjes | 500-1000 | 210-220 | 4 | 15-20 |
| Zelfgemaaakte ovenfriet | 500-1000 | 190-200 | 4 | 20-25 |
| Zelfgemaaakte aardappelpartjes* | 500-1000 | 200-210 | 4 | 20-25 |
| Bevroen | ||||
| Bevroen kipnuggets | 300-500 | 210-220 | 4 | 15-20 |
| Bevroen kipnuggets* | 500-1000 | 210-220 | 4 | 25-30 |
| Bevroen uienringen | 300-500 | 210-220 | 4 | 10-15 |
| Bevroen fishsticks | 300-500 | 210-220 | 4 | 15-20 |
| Bevroenkipreepjes | 500-1000 | 210-220 | 4 | 20-25 |
| Bevroen churros | 300-500 | 190-200 | 4 | 10-15 |
| Gevogelte | ||||
| Verse drumsticks* | 500-1000 | 200-210 | 4 | 30-35 |
| Versekipveugels* | 300-500 | 200-210 | 4 | 27-32 |
| Kippenborst, gepaneerd* | 300-500 | 200-210 | 4 | 25-30 |
| Gerecht | Portiegrootte (g) | Temp. (°C) | Niveau | Bereidigungstijd (min.) |
| Groenten | ||||
| Asperges, gepaneerd | 100-300 | 200 | 4 | 15-20 |
| Aubergine, gepaneerd | 200-400 | 200 | 4 | 15-20 |
| Championon, gepaneerd | 100-300 | 200 | 4 | 15-20 |
| Uien, gepaneerd | 100-300 | 200 | 4 | 15-20 |
| Bloemkool, gepaneerd | 300-500 | 190-200 | 4 | 15-20 |
| Groentenmix, gepaneerd | 300-500 | 200 | 4 | 15-20 |
- Omdraaien na 2/3 van de bereidingstijd.

OPMERKING
Leg een bakplaat of schaal op het rek onder de Air Fryplaat om eventuele druppels op te vangen. Dit zal helpen om spatten en rook te verminderen.
Voordat u een bakplaat gezruikt, moet u de maximaal toegestane temperatuur van de bakplaat controleren.
- Voor het bereiden van verse of zelfgemaakte spijzen(Int)kunt u de olie gelijkmatiger over een groter oppervlak verdelen, zoat het voedsel better knapperig worden.
Koken op meertere niveaus (Special)
Gebruik de temperaturen en tielden in deze tabel als richtlijn voor het bakken.
Wij raden u aan de oven voor te verwarmen met de stand voor het koken op meerere niveaus.
| Gerecht | Temp. (°C) | Onderdeel | Niveau | Bereidigungstijd (min.) |
| Kleine cakes | 150-160 | 2 bakplaten | 2+4 | 20-30 |
| Mini taartjes | 160-180 | 2 bakplaten | 2+4 | 20-30 |
| Croissants | 160-180 | 2 bakplaten | 2+4 | 20-30 |
| Bladerdeeg | 180-200 | 2 bakplaten | 2+4 | 30-40 |
| Koekjes | 170-190 | 2 bakplaten | 2+4 | 15-20 |
| Lasagne | 160-180 | Ovenrek + Bakplaat | 2+4 | 30-45 |
| Bevroren ovenfriet | 180-200 | 2 bakplaten | 2+4 | 30-50 |
| Bevroren nuggets | 180-200 | 2 bakplaten | 2+4 | 20-30 |
| Bevroren pizza | 200-220 | Ovenrek + Bakplaat | 2+4 | 20-30 |
Snel en eenvoudig
Boter smelten
Doe 50g boter in een glazen schaaltje. Dek het af met een plastic deksel. Verwarm gedurende 30-40 seconden bij een vermogen van 850 W, totdat de boter is gesmolten.
Chocolade smelten
Doe 100 g chocolade in een glazen schaaltje. Gedurende 3-5 minuteen bij een vermogen van 450 W verwarmen totdat de chocolade is gesmolten. Tijdens het smelten een of twee koer doorroeren. Gebruik ovenwanten om het gerecht uit de oven te halen.
Gekristalliseerde honing smelten
Doe 20 g gekristalliseerde honing in een glazen schaaltje. Verwarm gedurende 20-30 seconden bij een vermogen van 300 W totdat de honing is gesmolten.
Gelatine smelten
Laat droge gelatineblaadjes (10 g) gedurende 5 minuten in koud water weken. Leg de uitgelekte gelatine in een vuurvast glazen schaaltje. Gedurende 1 minuut bij een vermogen van 300 W. Roeren na het smelten.
Glazuur bereiden (voor cake en taarten)
Meng instantglauur (ongeveer 14 g) met 40 g suiker en 250 ml koud water. Verhit onafgedekt in een vuurvaste glazen schaal bij een vermogen van 850 W tot het glazuur doorzichtig worden (ongeveer 3 12 tot 4 12 minuit). Tijdens de bereiding tweemaal dorroeren.
Jam make
Doe 600 g fruit (bijvoorbeeld gemengde bessen) in een vuurvaste, glazen schaal met deksel. Voeg 300 g geleisuiker toe en roer het geheel goed door. Laat afgedekt 10-12 minutes koken op op 850 W. Roerijdens het koken enkele malen om. Direct in jampotjes met draideksel gieten. 5 minutes op het deksel latent staan.
Pudding make
Meng het puddingpoeder met suiker en mLk (500 ml) volgens de instructies van de fabrikant en roer het geheel goed door. Gebruik een geschikte ovenvaste glazen schaal met deksel. Laat afgedekt 612 tot 712 minutes koken op 850 W. Roerijdens het koken enkele malen goed om.
Geschaafde amandel bruinen
Verspreid 30 g amandelsnippers over een keramisch bord. Roer enkele malen om tijdens het bruinen, gedurende 3 12 tot 4 12 minutes met 600 W. Laat het 2-3 minutes in de oven staan. Gebruik ovenwanten om het gerechtuit de oven te halen.
Reinigen
Reinig uw oven regelmatig om te voorkomen dat het vuil zich op of in de magnetron ophoopt. Besteed hierbij ook speciale aandacht de deur, de afluitstrippen (alleen voor modellen waar dit van toepassing is).
Wanner de deur Niet soepel opent of sluit, controeert u de strippen eerste op vuilophoping. Gebruik een zachte doek en een sopje om zowel de binnen- als buitenkant van de magnetron te reinigen. Afspoelen en goed afdrogen.
Als er vingerafdrukken, vet of vlekken op de buitenkant zitten (zoals het oppervlak van de deur, de handgreep of het display), reinigt u deze met een zachte doek met een glasreiniger of een neutraal schoonmaakmiddel, en veegt u deze verrolgens droog met een zachte, schone, droge doek.
Hardnekrig vuil en nare geurtjes uit de oven verwijderen
- Zorg dat de oven leeg is enplaats een kopje verdund citroensap in het midden van de opening.
- Verwarm de oven 10 Minutes voor op max vermogen.
- Zodra de hijd is verstreken, wacht u totdat de oven is afgekoeld. Open verrolgens de deur en reinig de ovenkamer.

OPGELET
Houd de deur en de aflsuitstrippen schoon, zodat de deur soepel opent en sluit. Als u dit nicht doet, kan dit de levensduur van de oven verkorten.
Zorg dat u geen water in de ventilatieopengingen van de oven morst.
- Gebruik geen schuurmiddelen of chemische substanties.
- Reinig de ovenruimte direct na elk gebruik met een mild reinigingsmiddel, maar LAST DE OVEN eerst afkoelen om verwondingen te voorkomen.
Zijrekjes (alleen voor modellen waar dit van toepassing is)

- Til de Voorkant van het rek op om het uit de houder los te make.

- Trek het rek maar voren om het te verwijderen.
- Verwijder het andere zijrek opdezelfdemanier.
- Maak beiden zijrekken schoon.
- Als u klaar bent, volgt u de stappen 1 tot en met 2 in omgekeerde volgorde om ze in elkaar te zetten.

OPMERKING
De oven werkt zonder dat de zijrekken enrekken op hun plaats zitten.
Onderdelen verrangen (reparatie)

WAARSCHUWING
Deze oven bevat geen onderdelen die door de gebruiker können worden verwijderd. Probeer de onderdelen Niet zich te verrangen of te repareren.
- Als u problemen ondvindt met de scharnieren, de aflsuitstrippen en/of de deur, neemt u contact op met een gekwalificierde monteur of meteen lokaal servicecentrum van Samsung voor technische ondersteuning.
- Als u de lamp wilt verrangen, neemt u contact op met een lokaal servicecentrum van Samsung. Vervang de lamp Niet zich.
- Als u problemen ondvindt met de behuizing van de oven, trekt u eerst de stekker uith het stopcontact en neemt u contact op met een lokaal servicecentrum van Samsung.
Voorzorgsmaatregelen bij een langereperiode zondergebruik
Als de oven gedurende langere tijd Niet worden gebruikt, trekt u de stekker uit het stopcontact en bewaart u de oven op een droge, stofvrije locatie. Het stof en vocht dat zich in de oven ophoopt, kan ten kosten gaan van de prestaties van de oven.
Probleemoplossing
Er kan zich een probleem voordoen bij het gebruik van de oven. Raadpleeg de onderstaande babel en probeer de aanbevelingen. Als het probleem aanhoudt, of als er steeds een informatiecode op het display verschijnt, neem dan contact op met eenplaatselijk Samsung servicecentrum.
Controlepunter
Als u een probleem met de oven ondvindt, kijk dan eerst in de tabel hieronder en probeer de aanbevelingen.
| Probleem | Oorzaak | Actie |
| Algemeen | ||
| De toetsen können nicht goed worden ingedrukt. | Mogelijk dat er vuil:tussen de toetsen zit. | Verwijder het vuil en probeer het nogmaals. |
| Voor modellen met tiptoetsen: Er bevindt zich voucht op de behuizing. | Veeg het vocht van de behuizing. | |
| Het kinderslot is geactiveerd. | Deactiveer het kinderslot. | |
| Deijd worden nicht weergegeven. | De stroomtoevoer is onderbroken. | Zorg dat de stroomtoevoer is ingeschakeld. |
| De weergave-optie staat UIT. | Schakelt de weergave-optie in. Het is normal dat de huidigearende enkele Minutes na het aanzetten van de display-optie verdwijnt. | |
| De oven werkt nicht. | De stroomtoevoer is onderbroken. | Zorg dat de stroomtoevoer is ingeschakeld. |
| De deur is open. | Sluit de deur en probeer het nogmaals. | |
| Het veiligheidsmechanismen van de door+zijn bedekt met vuil. | Verwijder het vuil en probeer het nogmaals. | |
| De oven stoptijdens het gebruik. | De gebruiker heeft de deur geopend om het voedsel om te draaien. | Nadat u het voedsel hebt omgedraaid, selecteert u Doorgaan, en drukt uervolgens op de Instelknop. |
| De stroom worden onderbrokenijdens het gebruik. | De oven is langdurig acheterelkaar gebruikt. | Laat de oven na langdurig gebruik afkoelen. |
| De koelventilator werkt nicht. | Luister of u de koelventilator hoogt. | |
| U probeert de oven in te schakelen zonder dat er etenswaren in oven+zijn geplaatst. | Plaats etenswaren in de oven. | |
| Er is onvoldoende ventilatieruimte voor de oven. | Voor de ventilatie is de oven aan de voor- en achterkant voorzien van luchtinlaten en -uitlaten.Zorg voor voldoende rujmite, zoals aangegeven in de installmentegids. | |
| Er zijn meerere stekkers aangesloten opdezelfde contactdoos. | Gebruik de contactdoosuitsluitend voor de oven. | |
| Het apparaat krijgt geen stroom. | De stroomtoevoer is onderbroken. | Zorg dat de stroomtoevoer is ingeschakeld. |
| Probleem | Oorzaak | Actie |
| Ik voor een ploppend geluid wonneer de oven is ingeschakeld en de oven werkst Niet. | Wonneer u gesealde etenswaren bereidt of een container met een deksel gebruikt, is het möglichk dat u een ploppend geluid hoor. | Gebruik geen afgesloten containers, aangezien deze+kunnen barsten door het uitzetten van de inhoud. |
| De behuizing van de oven worden te heetijdens het vereidingsproces. | Er is onvoldoende ventilatieruimte voor de oven. | Voor de ventilatie is de oven aan de voor- en achechterkant voorzien van luchtinlaten en -uitlaten.Zorg voor voldoende ruimte,zoals aangegeven in de installmentgids. |
| Er staan objecten boven op de oven. | Verwijder alle objcten op de oven. | |
| De deur kan nicht goed worden geopend. | Er bevinden zich voedselresten:tussen de deur en de binnenkant van de oven. | Reinig de oven en openervolgens de deur. |
| De oven worden Niet warm. | De oven werkt möglichk Niet, er worden te veel voedsel bereid of er worden ongeschikt kookgerei gebruikt. | Vul een magnetronbestendige container met een kopje water schakel de magnetron 1-2 minuten om te controleren of het water worden verwarmd.Plaats minder etenswaren in de oven en start de functie opnieuw.Gebruik een container met een platte bodem. |
Probleemoplossing
| Probleem | Oorzaak | Actie |
| De verwarming is zwak of traag. | De oven werkt möglichniet, er worden te veelvoedsel bereid of er worden ongeschikt kookgereigebruikt. | Vul een magnetronbestendige container met een kopje water schakel de magnetron 1-2 minutes om te controleren of het water wordt verwarmd. Plaats minder etenswaren in de oven en start de functie opnieuw. Gebruik een container met een platte bodem. |
| De opwarmfunctie werkt Niet. | De oven werkt möglichniet, er worden te veelvoedsel bereid of er worden ongeschikt kookgereigebruikt. | Vul een magnetronbestendige container met een kopje water schakel de magnetron 1-2 minutes om te controleren of het water wordt verwarmd. Plaats minder etenswaren in de oven en start de functie opnieuw. Gebruik een container meet een platte bodem. |
| Probleem | Oorzaak | Actie |
| De ontdooifunctie werkt nicht. | De oven werkt möglichniet, er worden te veilevoedsel bereid of er wordtongeschikt kookgereigebruikt. | Vul een magnetronbestendige container met een kopjewater schakel de magnetron 1-2 minutes om te controleren of het water wordt verwarmd.Plaats minder etenswaren inde oven en start de functie opnieuw.Gebruik een container meteen platte bodem. |
| De binnenverlichting schijntzwak of.gaat nicht aan. | De deur heeft langdurigopengestaan. | De binnenverlichtingkan automatisch uitgaan wanneer de deur lange tijdopen blijft. Sluit en open de deur opnieuw of druk op de toets "Lamp". |
| De binnenverlichting isbedekt met vuil. | Reinig de oven van bennen controlleren nogmaals. | |
| Er klinkt een piepsignaal:tijden het vereidingsproces. | Als de Automatischebereiding- of ontdooifunctiewordt gebruikt, betekent ditpiepend dat het tijd is omhet voedsel om te draaien:tijdens het ontdooien. | Draai het voedsel om wanneer de meldingverschijnt, selecteer OK, endruk dan op deInstelknop.Selecteer verrolgendsDoorgaan, druk verrolgensop de Instelknop om hetproces te hervatten. |
| De oven staat nicht waterpas. | De oven staat op eenongeeljmatig oppervlak. | Zorg dat de oven op eenvlak, stabel oppervlak staat. |
| Er ontstaan vonden tijdens de bereiding. | Er worden metalen containersarenden de oven-/ontdooifuncties gezruikt. | Gebruik geen metalen containers. |
| Zodra de voeding is aangesloten, worden de oven meteen ingeschakeld. | De deur is Niet goed gesloten. | Sluit de deur en controllerer nogmaals. |
| Er staat stroom op de oven. | De voeding of het stopcontact is Niet goed geaard. | Zorg dat de voeding en het stopcontact goed+zijn geaard. |
| Er druppelt water. | Er kan afhankelijk van het gerecht in bepaalde gezallen water of stoom vrijkomen. Dit duidt Niet op een defecete oven. | Laat de oven afkoelen en veeg deze verrolgens droog met een droge vaatdoek. |
| Er lekt stoom uit de deur. | Er kan afhankelijk van het gerecht in bepaalde gezallen water of stoom vrijkomen. Dit duidt Niet op een defecete oven. | Laat de oven afkoelen en veeg deze verrolgens droog met een droge vaatdoek. |
| Er ligt water in de oven. | Er kan afhankelijk van het gerecht in bepaalde gezallen water of stoom vrijkomen. Dit duidt Niet op een defecete oven. | Laat de oven afkoelen en veeg deze verrolgens droog met een droge vaatdoek. |
| De holderheid in de oven varieert. | De holderheid varieert afhankelijk van het vermogen dat op basis van de functie worden ingesteld. | Wanner het vermogen tijdens de bereiding worden gewijzigd, duidt dit Niet op een defect. Dit duidt Niet op een defecte oven. |
| Probleem | Oorzaak | Actie |
| De bereidingsstijd is verstreten, maar de koelventilator draait nog. | Om de oven te ventileren, blijft de koelventilator ongeveer nog 5 minuten draaien nadat de bereidingsstijd is verstreten. | Dit duidt nicht op een defecte oven. |
| Als u op de knop +30 sec. drukt, worden de oven in werkung gesteld. | Dit gebeurt wanner de oven Niet in werkung was. | De microgolfoven is ontworpen om te werken door op de knop +30 sec. te drukken wanner.Deze nicht in werkung was. |
| Grill | ||
| Er komt rook uit tijdens de werkung. | Tijdens de eerste werkung kan er rook uit de verwarmingselementen komen, wanner u de oven voor het eerst gezruikt. | Dit is geen storing, en als u de oven 2-3 deedaarien,zou het moeten ophouden. |
| Er ligt voedsel op de verwarmingselementen. | Laat de oven afkoelen en verwijder dan het voedsel van de verwarmingselementen. | |
| Voedsel ligt te dicht bij de grill. | Plaats het voedsel op gespaste afstand tijdens de bereiding. | |
| Het voedsel is Niet goed bereid en/of geplaatst. | Zorg ervoor dat het voedsel goed bereid en geplaatst is. | |
Probleemoplossing
| Probleem | Oorzaak | Actie |
| Oven | ||
| De oven worden nicht warm. | De deur is open. | Sluit de deur en probeer het nogmaals. |
| Er komt rook uitijdens het voorverwarmen. | Tijdens de eerste werkking kan er rook uit de verwarmingselementen komen, wanner u de oven voor het eerst gebruikt. | Dit is geen storing, en als u de oven 2-3 koer maar draaien, zou het要去en ophouden. |
| Er ligt voedsel op de verwarmingselementen. | Laat de oven afkoelen en verwijder dan het voedsel van de verwarmingselementen. | |
| Er is een brandgeur of plasticgeur wanneer u de oven gebruikt. | Er worden plastic of Niet hittebestendig kookgerei gebruikt. | Gebruik glazen kookgerei dat geschikt is voor hoch temperaturen. |
| Er komt een slechte geur uit de oven. | Etensresten of plastic is gesmolten en aan de binnenkant blijven kleven. | Gebruik de stoomfunctie en veeg dieze daarna af met een droge doeck. U kunt er een schijfje citroen in de ovenplaatsen en de oven latent draaien om de geur sneller te verwijderen. |
| Probleem | Oorzaak | Actie |
| De oven werkt nicht goed. | De ovendeur wordt regelmatig geopendijdens de bereiding. | Doe de deur nicht vaak open, tenzij u dingen kookt die omgedraaid moeten worden. Als u de deur vaak opent, zar de binnentemperatuur dalen, en dat kan het resultaat van de bereiding beinvloeden. |
| De oven is nicht juist ingesteld. | Stel de oven juist in en probeer het opnieuw. | |
| De grill of andere accessoires zijn nicht correct geplaatst. | Plaats de accessoires op de juiste manier. | |
| Het verkeerde soort of formaat kookgerei worden gelebruikt. | Stel de oven opnieuw in of gebruik geschikt kookgerei met een vlakke bodem. |
Technische specificaties
Informatiecodes
Als de oven nicht werkt, verschijt er möglichk een informatiecode op het display. Raadpleeg de onderstaande tabel en probeer de suggesties.
| Code | Beschrijving | Actie |
| C-20 | De temperatuursensor is open. | Trek de stekker UIT het stopcontact en neem contact op met een lokaal servicecentrum van Samsung. |
| De temperatuursensor maakt kortsluiting. | ||
| C-F0 | Als er geen Communicatie isussen de hoofd- en sub-MICOM. | |
| C-F1 | Komt alleen voor wanner lezen/schrijven van/naar de EEPROM nicht werkt. | |
| C-21 | Deze code worden weergegeven wanner de temperatuur in de oven te hoog is.Als de temperatuurijdens het gebruik van een bepaalde stand de maximale temperatuur overschrijdt.(Brand gedetecteerd.) | Trek de stekker UIT het stopcontact en LAST de oven afkoelen. Schakel de ovenervolgens opnieuw in. |
| C-F2 | De aanraaktoets is defect. | Stop de oven en probeer het opnieuw. |
| C-d0 | Trek de stekker UIT het stopcontact, LAST de oven afkoelen en reinig de toets.(Stof, Water)Wanner hetzelfde probleem zich opnieuw voordoet, neemt u contact op met een lokaal servicecentrum van Samsung. |
SAMSUNG streett continu waar productverbetering. Zowel de technische specifieaties als de instructies voor de gebruiker konnen darom zonder voorafgaande kennisgeving worden gewijzigd.
| Voedingsbron | 230 V ~ 50 Hz | |
| Opgenomen vermogen | Maximaal vermogen | 2800 W |
| Magnetron | 1650 W | |
| Grill | 2550 W | |
| Hetelucht | 2500 W | |
| Afgegeben vermogen | 100 W / 850 W (IEC-705) | |
| Frequentie | 2450 MHz | |
| Magnetron | OM75P (21) | |
| Koelmethode | Ventilator met motor | |
| Afmetingen (B x H x D) | Hoofdeenheid | 595 X 456 X 570 mm |
| Inbouw | 560 X 446 X 549 mm | |
| Volume | 50 liter | |
| Gewicht | Netto | 39,9 kg |
| Bruto | 48,8 kg | |
- Dit product heeft een Lichtbron met een energie-efficientieklasse < G>
| Algeheel stroomverbruik in stand-bystand (W) (Alle netwerkpoorten op stand "aan") | 1,9 W | |
| Tijd tot activering energiebeheerfunctie (min) | 20 min. | |
| Wifi | Energieverbruik in stand-bystand (W) | 1,9 W |
| Tijd tot activering energiebeheerfunctie (min) | 20 min. | |
| Uitstand | Energieverbruik | 0,5 W |
| Tijd tot activering energiebeheerfunctie (min) | 30 min. | |
Gegevens bepaald in overeenstemming met norm EN 50564 en Verordening (EC) Nr. 1275/2008.

OPMERKING
Hierbij verklaart Samsung dat deze radioapparatuur voldoet aan de bepalingen van Richtlijn 2014/53/EU en de relevante wettelijkke vereisten in het VK.
De volledige tekst van deze conformiteitsverklaring voor de EU en het VK is beschikkaar op het volgende internetadres: De officièle Conformiteitsverklaring is te vinden op http://www.samsung.com. Ga waar vooraar Support > Search Product Support en geef de modelnaam op.

OPGELET
De 5 GHz WLAN-functie van dit apparaat mag in alle EU-landen en in het Verenigd Koninklijk alleen binnenshuis gelebruikt worden.
| Wifi | Frequentiebereik | Zendersterkte (Max) |
| 2400-2484 MHz | 20 dBm | |
| 5150-5250 MHz | 23 dBm | |
| 5250-5350 MHz | 23 dBm | |
| 5470-5725 MHz | 23 dBm |
Aankondiging met betrekking tot open source
De in dit product geleverde software bevat opensourcesoftware. U=kunt de volledige bijbehorende bronze codurende een periode van drie maar na de LASTe verzending van dit product door contact op te nemen met ons ondersteuningsteam via http://opensource.samsung.com (Gebruik het menu "Inlichtingen").
Het is ook möglichk om de volledige bijbehorende broncode op een fysiek medium Zoals een CD-ROM te verkrijgen; hiervoor worden eenkleine vergoeding bevraagd.
Viacke URL http://opensource.samsung.com/opensource/CommonR18_TZ4_0/seq/0 kunt u informatatie over de opensourcelicentie vinden die verband houdt met dit product. Dit aanbod is geldig voor iedereen die deze informatatie ontvangt.

Houd er rekening mee dat servicebezoeken voor uitleg over het product, herstel van onjuiste installmentie of het uitvoeren van normale schoonmaak- of onderhoudswerkzaamheden NIET onder de Samsung-garantie vallen.
VRAGEN OF OPMERKINGEN?
| LAND | BEL | OF BEZOEK ONS ONLINE OP |
| AUSTRIA | 0800 72 67 864 (0800-SAMSUNG) | www.samsung.com/at/support |
| BELGIUM | 02-201-24-18 | www.samsung.com/be/support (Dutch) www.samsung.com/be_fr/support (French) |
| DENMARK | 707 019 70 | www.samsung.com/dk/support |
| FINLAND | 030-6227 515 | www.samsung.com/fi/support |
| FRANCE | 01 48 63 00 00 | www.samsung.com/fr/support |
| GERMANY | 06196 77 555 77 | www.samsung.com/de/support |
| ITALIA | 800-SAMSUNG (800.7267864) | www.samsung.com/it/support |
| CYPRUS | 8009 4000 only from landline, toll free | www.samsung.com/gr/support |
| GREECE | 80111-SAMSUNG (80111 726 7864) only from land line (+30) 210 6897691 from mobile and land line | www.samsung.com/gr/support |
| LUXEMBURG | 261 03 710 | www.samsung.com/be_fr/support |
| NETHERLANDS | 088 90 90 100 | www.samsung.com/nl/support |
| NORWAY | 21629099 | www.samsung.com/no/support |
| PORTUGAL | 210 608 098 Chamada para a rede fixa nacional Dias úteis das 9h às 20h | www.samsung.com/pt/support |
| SPAIN | 91 175 00 15 | www.samsung.com/es/support |
| SWEDEN | 0771-400 300 | www.samsung.com/se/support |
| SWITZERLAND | 0800 726 786 | www.samsung.com/ch/support (German) www.samsung.com/ch_fr/support (French) |
| UK | 0333 000 0333 | www.samsung.com/uk/support |
| IRELAND (EIRE) | 0818 717100 | www.samsung.com/ie/support |
Mikrowellengerät
Benutzerhandbuch
NQ5B6753C**
Notice-Facile