KMFD264TEW - Mikrolaineahjud ELECTROLUX - Tasuta kasutusjuhend
Leidke seadme juhend tasuta KMFD264TEW ELECTROLUX PDF-formaadis.
Kasutajate küsimused teemal KMFD264TEW ELECTROLUX
0 küsimus selle seadme kohta. Vastake nendele, mida teate, või esitage oma.
Esita uus küsimus selle seadme kohta
Laadige alla juhend oma Mikrolaineahjud PDF-formaadis tasuta! Leidke oma juhend KMFD264TEW - ELECTROLUX ja võtke oma elektrooniline seade uuesti kätte. Sellel lehel on avaldatud kõik teie seadme kasutamiseks vajalikud dokumendid. KMFD264TEW kaubamärgi ELECTROLUX.
KASUTUSJUHEND KMFD264TEW ELECTROLUX
Täname Teid selle Electroluxi seadme ostmise eest. Olete valinud toote, mille loomisel on rakendatud pikaaegset professionaalset kogemust ja innovatsiooni. Nutika ja stilse disaini korval ei ole unustatud ka Teid. Üsköik, millal Te seda ka ei kasuta - suurepärastes tulemustes voite Te alati alati kindel olla. Teretulemast Electroluxi.
Kulastage meie veebisaiti:

Leiate nōuandeid, brošüre, veaotsingu, teavet teeninduse kohta: www.electrolux.com

Võite registreerida omä toote parema teeninduse saamiseks: www.electrolux.com/productregistration

Soovitame alati kasutada originaalvaruosi.
Teenindusse poordumisel peaksid teil olema varuks jargmised andmed.
Andmed leiate andmesildilt. Mudel, tootenumber (PNC), seerianumber.

Hoiatus / oluline ohutusinfo

Jäetakse öigus teha muutusi.
1. OLULISED OHUTUSNOUDED
Üle 8-aastased lapsed ja keha-, meele- või vaimupuudega inimesed või kogemusteta ja teadmisteta inimesed võivad toodet kasutada, kui neid juhendatakse või nad on saanud juhiseid toote ohutu kasutamise ja kasutamisega seotud ohtude kohta. Lapsi tuleks jälgida tagamaks, et nad e i mangi seadmega. Lapsed võivad toodet puhastada ja hooldada ainult siis, kui nad on vähemalt 8-aastased ja kui neid selle juures juhendatakse.
Seade ei ole ette nähtud kasutamiseks körgemal kui 2000 m.
OLULINE! OLULISED OHUTUSNOUDED: LugeGE TÄHELEPANELIKULT JA HOIDKE EDASPIDISEKS KASUTAMISEKS ALLES.
HOIATUS! Arge kasutage seadet ilma poordaluse ja poordaluse toeta. Arge kasutage seadet tuhjalt.
HOIATUS! Kui uks voi uksetihendid on kahjustatud, ei tohi ahju kasutada kuni see on kompetentse isiku poolt ara parandatud.
HOIATUS!
Köikidele teistele, peale asjatundjatest isikute, on igasugused hooldus- ja remonditööd, millised hõlmavad mikrolainete eest kaitset pakkuva katte eemaldamist, ohtlikud.
HOIATUS!
Vedelikke ja teisi toite ei tohi kuumutada suletud anumates, kuna need voivad lohkeda.
Antud seade on moeldud kasutamiseks majapidamistes ja muudes sarnastes kohtades, naiteks: poodide, kontorite ja muude tokkohtade tootajate kogiruumides; talumajapidamistes; hotellide, motellide ja muude eluruumide klientidele; kodumajutuse tuupi ettevotetes.
Kasutage ainult mikrolainea-hjus kasutamiseks sobivaid nõusid.
Mikrolainetega toiduvalmistamise ajal ei ole lubatud kasutada metallist toidu- voi jooginóusid.
Ärge jätke ahju järevalveta, kui kasutate ühekordseid plast-, paber- vöi muid suttivaid nõusid.
Mikrolaineahi on mõeldud toidu ja jookide soojendamiseks. Toidu või riete kuivatamine ning soojenduspatjade, susside, pesukäsnade, margade lappide ja muu sarnase soojendamine võib tekitada vigastusi või põhjustada suttimist või tulekahju.
Kui soojendatav toit hakkab suitsema, ARGE AVAGE AHJU UST. Lulitage ahi valja, tommake juheseinast ja oodake, kuni toit enam ei suitse. Ahju ukse avamine toidusuitsemise ajal tekitab tuleohu.
Jookide soojendamisel mikrolaineahjus voib toimuda hilinenud plahvatuslik keemine, seega peab anuma käsitsemisel ettevaatlik olema.
Pöletuste vältimiseks tuleb lutipudelite ja lastetoidupurkide sisu enne tarbimist segada voi loksutada ning temperatuur üle kontrollida.
Ärge keetke mikrolaineahjus koorega mune ega kuumutage terveid kovakskeedetud mune, kuna need voivad lohkeda isegi pärast kuumutamist.
Kui toitejuhe on kahjustatud, peab selle voimalike ohtude vältimiseks vahetama välja tootja, tootja hooldusesindus vōi sama kvalifikatsioniga isik.
1.1 Hooldamine ja puhastamine
Uks:
Kogu mustuse eemaldamiseks puhistage regulaarselt mõlemat ukse külge, ukse kinnitusi ja kinnituspindasid pehme ja niiske lapiga. Ahju ukse klaasi puhistamiseks ärge kasutage karedaid abrisiivseid puhistusvahendeidega metallist abivahendeid, kuna need voivad pinda kriimustada, mille tagajärjel võib klaas puruneda.
Ahju sisepind:
Puhastamiseks puhkige parast iga kasutuskorda koik toidujäätmed pehme ja niiske lapi vöi käsnaga, kuni ahi on veel soe. Suuremate plekkide puhul kasutage veidi seepi ja puhkige mitu korda niiske lapiga, kuni jäätmed on eemaldatud. Arge eemaldage lainejuhi katet. Veenduge, et seep ega vesi ei siseneks seintes olevatesse väikestesse öhauukudesse, kuna see vöib ahju kahjustada. Ahju sisepinna puhastamisel arge kasutage aerosool-puhastusvahendeid. Kuumutage omahjru regulaarselt grilli kasutades. Toidujäänused vöirasvaplekid vöivad tekitada suitsu vöi pöhjustada halba löhna. Pärast kasutamist puhastage lainejuhi kate, ahju sisemus, poördalus ja poördaluse tugi. Need peavad olema kuivad ja rasvavabad. Kogunenud rasv vöib üle kuumeneda ja hakata suitsema vöi suttida.
Ahju välispind:
Ahju välispinda vöib hölpsasti puhastada pehme seebi ja veega. Veenduge, et pühite seebi ára niiske lapiga ja kuivatate välispinna pehme rätiga.
Juhtpaneel:
Juhtpaneeli deaktiveerimiseks avage enne puhastamist ahju uks. Juhtpaneeli puhastamisel tuleks olla hoolikas. Puhkke paneeli vees niisutatud lapiga, kuni paneel on puhas. Valtige liigse vee kasutamist. Arge kasutage
keemilisi voi abrasiivseid puhastusvahendeid.
Pördalus ja selle tugi:
Eemaldage poördalus ja selle tugi ahjust. Peske need kerges seebivees. Kuivatage pehme lapiga. Nii poördalust kui ka selle tuge voib pesta nõudepesumasinas.
Rest:
See tuleks pesta lahjas pesuvedeliku lahuses ja seejärel kuivatada. Rest voib pesta nõudepesumasinas.

OLULINE!
Puhastage ahju regulaarselt ja eemaldage koik toidujäätmed. Kui te ei hoia ahju puhtana, vöib ahju pinna seisukord halveneda, mis vöib omakorda lühendada seadme toöiga ja tekitada ohtlikke olukordi.
Seadmest toidunöusid välja vöttes arge eemaldage poördalust omakohalt.

OLULINE!
Kasutada ei tohi aurupuhastit.
Mikrolaineahi on ettenähtud integreeritult kasutamiseks.
Seadet ei tohi paigaldada moöbli sisse.
Toode ja selle ligipäasetavad osad muutuvad kasutamise ajal kuumaks. Välttige kütteke-hade puudutamist.

HOIATUS!
Hoidke lapsed eemal ahju uksest ja ligipäasetavatest osadest, mis vöivad grilli kasutamisel kuumaks minna. Lapsed tuleks eemal hoida nende körvetamise vältimiseks.

OLULINE!
Ärge kasutage ühegi mikrolaineahju osa puhastamisel Müügilolevaid küürimislappe vöi ahju puhastusvahendeid, aurupuhasteid, abrasivseid ja karedaid puhastusvahendeid, mis tahes vahendeid, mis sisaldavad naatriumhüdroksiidi.
2. PAIGALDAMINE


Mikrolaineahju voib paigaldada asukohta A voi B:

| Asend | Niši suurus | |
| L | S K | |
| A 562 x 550 x 450 | ||
| B 562 x 500 x 450 | ||
Möltmed (mm)
2.1 Seadme paigaldus




- Eemaldage pakendi koik osad ja kontrollige, kas seade on terve.
- Paigaldage kinnitushaagid koggikappi, juhindudes lisatud opetusest ja mallist.
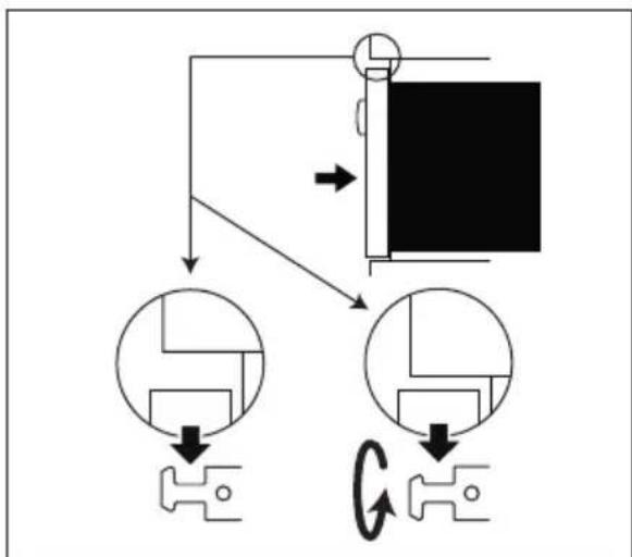
- Asetage seade aeglaselt ja joudu kasutamata koggikappi. Seade tuleb tosta kinnitushaakidele ja seejarel omakohale alla lasta. Kui seade paika ei lahe, saab selle kinnitushaagi umber poorata. Ahju eesmine raam peab minema vastu kapi eesmistava.
- Veenduge, et seade oleks stabilne ega oleks kaldu. Veenduge, et seinakapi ukse ja ahju esikulje ülemise serva vahel oleks 4 mm vahe (vt diagrammi).
2.2 Seadme ühendamine toiteallikaga

- Elektripistikupesa peab alati olemajuurdepaaasetav, et seadme saakshadaolukorras holpsasti pistikust lahtiuhendada. Teine voimalus on ahtoiteallikast isoleerida, uhendadesluti juhtmete uhendamise eeskirjade kohaselt pusijuhtmistikku.
Toitejuhet tohib vahetada vaid elektrik.
Kui toitejuhe on kahjustatud, peab selle voimalike ohtude valtimiseks vahetama valja tootja, tootja hooldusesindus voisama kvalifikatsioniga isik. - Seinakontakt ei tohi olla seinakapi taga.
- Kõige parem asukoht onseinakapi kohal, vt (A).
- Ühendage seade ühefaasilisse 220-240 V/50 Hz vahelduvvooluvörku öigesti paigaldatud maandusega pistiku kaudu. Pistikupesa peab olemasulatatud 16 A kaitsmega.
- Enne paigaldamist siduge toitejuhtme külge noörjupp, mis hölbastaks ühendamist asukohaga (A), kui seadet paigaldatakse.
Kui paigaldate seadme korge servaga seinakappi, ARGE vigastage toitejuhet. - Arge kastke toitejuhet voi pistikut vette voi muu vedeliku sisse.
- Arge jatke toitejuhet kuuma voi terava servaga pinnale, nagu kuuma ohu ventilatsiooniava ahju ulaosa tagapool.
2.3 Lisanouanne
Arge kasutage mikrolaineahju oli kuumutamiseks. Temperatuuri ei saa kontrollida ja oli voib suttida. Popkorni tegemiseks kasutage ainult spetsiaalselt mikrolaineahjus kasutamiseks moeldud popkorni valmistamise vahendeid.
SUDAMESTIMULAATORIGA inimesed peaksid mikrolaineahjuga seotud ettevaatusabinoude kohta kusima omarstilt voi sudamestimulatori tootjalt.
Arge kunagi kallake voi sisestage midagi ukse lukustite avadesse voi ventilatsiooniavadesse. Kui toit maha laheb, lulitage ahi kohe valja ja lahutage vooluvorgust ning vohtke uhendust ELECTROLUX-i ametliku teenindusesindajaga.
Kasutage ainult selle ahju jaoks moeldud poordalust ja poordaluse tuge. Arge kasutage ahju ilma poordaluseta.
Pördaluse katkimineku valtimine:
Arge kasutage mikrolainetega sobivaid plastnousid, kui ahi on GRILL-reziimi voi TOPELTGRILL-reziimi kasutamisest veel kuum, kuna noud voivad hakata sulama. Plastikanumaid ei tohi eelmainitud reziimide puhul kasutada, v.a kui anuma tootja seda lubab.
Tootja ega edasimüju ei vastuta vale elektrühenduse loomisest tulenevate ahju kahjustuste voi kehaliste vigastuste eest. Ahju seintele voi uksetihendite ja tihenduspindade umber voib aeg-ajalt moodustuda veeauru voi -tilku. See on normalne nähtus ega ole mark mikrolaineahju lekkimisest voi forgetest.
Teave selles seadmes olevate lampide ja eraldi muudavate varulampide kohta: Need lambid taluvad ka koduste majapidamisseadmete aarmuslikumaid tingimusi, naiteks temperatuuri, vibratsioni, niiskust voi on moeldud edastama infot seadme tooleku kohta. Need pole moeldud kasutamiseks muudes rakendustes ega sobi ruumide valgustamiseks.
3. SEADME ÜLEVAADE
3.1 Mikrolaineahi

1 Grilli soojenduselement
■ Esikülg
3 Ahju valgusti
4 Juhtpanel
5 Ukse avamise nupp
6 Lainejuhi kate (arge eemaldage)
7 Ahju sisemus
8 Tihend
9 Uksetihendid ja tihenduspinnad
3.2 Lisaseadmed


Veenduge, et jargmised lisaseadmed on ahjuga kaasas:
1 Pórdalus
2 Pórdaluse tugi
3 Rest
- Asetage poordaluse tugi ahju sisse porandale.
- Seejärel asetage poördalus poördaluse toele.
- Pördaluse kahjustuste vältimiseks veenduge, et tõstate anuma ahjust valjavötmisel poordaluse servast üle.

Tarvikuid tellides öelge omadasimüjale vöi ELECTROLUX-i ametlikule teenindusesindajalevajaliku detaili nimi ja mudelinimi.
HOIATUS!
Arge kaitage mikrolaineahju, kui neid osi pole paigaldatud.
3.3 Juhtpaneel

1 Digitaalse ekraani näidikud:

2 Voimsustasemetenupud
3 Lemmikute nupud
4 Grillinupp
5 Automaatsulatuse nupp
6 Taimeri nupp
7 Rohkem/vahem-nupud
8 Start/Kinnita/ Quick nupp
9 Stop-nupp
10 Ukse avamise nupp
4. ENNE ESIMEST KASUTAMIST
4.1 Vooluvörku ühendamine
Ahju esmakordsel vooluvorku ühendamisel pakutakse teile voimalust seadistada kella. Ahjul on 24-tunni kell.
- Ahjust kostab piiks ja displei ikoonid lulituvad pooleks sekundiks sisse.
2a. Kella valjalulitamiseks vajutage ROHKEMVAHEM-nuppu, kuni kuvatakse,off" (valjas) ja vajutage seejarel START-nuppu. Ahi on kasutamiseks valmis.

Kui olete kella valja lulitanud ja soovite seda uesti sisse lulitada, siis vajutage
nuppu TAIMER kaks korda ja jargige punktis 2b nimetatud protseduuri.
2b. Kella sisselulitamiseks vajutage ROHKEMVAHEM-nuppu, kuni kuvatakse "on" (sees) ja vajutage seejarel START-nuppu.
Näide: Kella seadistamine ajale 18:45.
- Muutke ROHKEMVAHEM-nuppu vajutades tunde.
- Vajutage kinnitamiseks nuppu START.
- Muutke ROHKEMVAHEM-nuppu vajutades minuteid.
- Vajutage kinnitamiseks nuppu START.

Kui ahju ei ole 5 minuti vältel kasutatud,
lūtub ahi automaatsett ooterežimi.
Näide: Kui kella ei ole seadistatud: Displei lulitub valja.
Ootereziimist valjumiseks vajutage suvalist nuppu voi avage uks.
Näide: Kui kell on seadistatud:
Peale 5-minutilist periodoi, kuvatakse aega.
4.3 Juba seadistatud kellaaja muutmine
Näide: Kellaaja 18.45 seadistamine ajale 19.50.
- Vajutage nppu TAIMER kaks korda.
- Vajutage nuppu START.
- Vajutage ROHKEMVAHEM-nuppu, kuni kuvatakse,19".
- Vajutage nuppu START.
- Vajutage ROHKEMVAHEM-nuppu, kuni kuvatakse ,50".
- Vajutage nuppu START.
4.4 Kella tühistamine ja ootele seadmine (Säasturežiim)
- Vajutage nuppu TAIMER kaks korda.
- Vajutage ROHKEM/VAHEM-nuppu kuni kuvatakse,off" (valjas).
- Vajutage kinnitamiseks nuppu START.
4.5 Lapselukk
Ahjul on kaitseseade, mis ei lase lastel ahju juhuslikult kaivitada. Kui lukk on aktiveeritud, ei ole mikrolaineahju ühtegi osa voimalik kaitada enne, kui lukustus on maha voetud. Luku pealepanemine ja mahavotmine on voimalik ainult siis, kui ahi ei tota.
Näide: Luku pealepanemine.
Vajutage ja hoidke nuppu STOP kuni "lapseluku" sumbol hakkab vilkuma.
Näide: Luku mahavötmine.
Kui lapselukk on sisse lulitatud, ei toimikski nupp peale nupu STOP.
5. KASUTAMINE
5.1 Mikrolaineahjus toidu valmistamine
Näide: Supi kuumutamine 2 minutit ja 30 sekundit mikrolaineahju voïmsusel 630 W.
- Vajutage kolmnurgast parental asuvat nuppu VOIMSUSTASE, kuni kuvatakse ,630 W".
- Sisestage ROHKEMVAHEM-nuppu vajutades aeg.
- Vajutage nuppu START.

Mikrolinetega toiduvalmistamise
Jimis saate otse vajaliku
distuse all asuvat nuppu
utades muuta ahju voimsustaset.
Ahju tootamise ajal voimsustaseme muutmiseks vajutage ja hoidke soovitud VOIMSUSE nuppu uus voimsustase on displeile kuvatud. Liiga suure voimsuse voi liiga pika toiduvalmistusaja tottu voib toit ule kuumeneda ja tuleohu tekitada.
Kui on valitud 900 W, on maksimaalnesisestatav tootamisaja pikkus 15 minutit.
Kui ahi tootab uskkok, millises reziimis 3 minutit voi kauem, jaa b ventilator peale valmistamise loppu veel 2 minutiks tole. Ukse avamisel see seiskub, ukse sulgemisel algab uesti kuni 2 minutit on moodunud (koos ukse avatud olemise ajaga). Kui ahi tootab vahem kui 3 minutit, ventilator ei kaivitu.
Pärast toiduvalmistamist jätkab poordalus poörlemist, kuni kūpsetusnōu naaseb omal gasendisse. Ahju sisevalgustus jaäb pōlema kuni poörlemise lopuni voi 5 siis sekundiks (olenevalt, kumb on suurem). Lopule jōudmisel dostub ahjust piks. Kui uks protsessi käigus avada, poörlemine seiskub.
5.2 Voimsustasemed
| Vöimsuse seade | Soovitatav kasutus |
| 900 W/KÖRGE | Kasutatakse kiireks kūpsetamiseks või ülessoojendamiseks, nt supid, pajaroad, konsvrtoidud, kuumad joogid, juurviljad, kala jne. |
| 630 W Kasutatakse tihedate toitude, nt praadide, pikkpoisi ja valmistoidu pikemaks kūpsetamiseks, samuti ùrnade roogade, nt juustukastme ja keeksı valmistamiseks. Vähendatud vöimsusel ei kee kaste üle ja toit kūpseb ühtlaselt, kūpsemata külgedel üle. | |
| 450 W Tihedate toitude korral, mille valmistamiseks on vaja pikka kūpsetusaega, nt loomaliharoad, on soovitatav kasutada seda vöimsust, et liha jäiks òn. | |
| 270 W/SULATUS | Sulatamiseks valige see vöimsus, et toit sulaks ühtlaselt. See vöimsus sobib suurepäraselt ka riisi, pasta ja klimpide madalal temperatuuril kuumutamiseks ning vanillikastme valmistamiseks. |
| 90 W See sobib òrnaks sulatamiseks, nt kreemikoogi või lehttaigna valmistamiseks. | |
| 0 W Kasutuset sealadme mittetöötamise/köögitämeri kasutamise ajal. | |
W = VATT
5.3 Vähendatud voiimsus
| Küpsetusrežiim Tavapärane aeg Vähendatud voïmsus | |
| Mikrolained 900 W 15 minutit Mikrolained 630 W | |
| Grill | 10 minutit Grill 500 W |
| Topeltgrill 10 minutit Grill 500 W | |
5.4 Valmistamisaja muutmine toiduvalmistamise ajal
Valmistamise kestust saab muuta ka toiduvalmistamise ajal.
Näide: 2 minuti (120 sekundit) lisamine, kasutades nuppu START.
- Vajutage neli korda nuppu START. Valmistamisaeg pikeneb 120 sekundi vorra.
5.5 Stop-nupu kasutamine
Pausirežiimi sisenemiseks vajutage uks kord nuppu STOP.
Valmistamisaja tuhistamiseks vajutage veel kord nuppu STOP.
5.6 Tainer
Taimeri seadistamine.
- Vajutage nuppu TAIMER.
- Sisestage ROHKEMVAHEM-nuppu vajutades aeg.
- Vajutage nuppu START. Taimer käivitub automaatsetl.
Aega on voimalik taimeri tootamise ajal pikendada, vajutades selleks START-nuppu.
Tainerit saab kasutada ainult siis, kui ahi ei tota.
5.7 Kiirkäivitamine
Teil on voimalik alustada toiduvalmistamist otse reziimis 900 W/KÖRGE 30 sekundit, vajutades nuppu START.
Aja juurde lisamiseks vajutage nuppu START.
5.8 Summutamine
Heli valjalulitamine.
- Vajutage 3 korda nuppu TAIMER, kuni displeile kuvatakse kirje „Soun".
- Vajutage ROHKEM/VAHEM-nuppu kuni kuvatakse,off" (valjas).
- Vajutage nuppu START.
Heli sisselulitamine.
- Vajutage 3 korda nuppu TAIMER, kuni displeile kuvatakse kirje „Soun".
- Vajutage ROHKEM/VAHEM-nuppu kuni kuvatakse „on“ (sees).
- Vajutage nuppu START.
5.9 Paus
Mikrolainetega toiduvalmistamise ajutiseks peatamiseks.
- Vajutage nuppu STOP voi avage uks.
- Ahju too peatub 5 minutiks.
- Toiduvalmistamise jatkamiseks vajutage START.
5.10 Grill ja topeltgrill
Sellel mikrolaineahjul on kaks grilli kappa setusreziimi:
Ainult grill
Topeltgrill (grill mikrolaineahjuga)

OLULINE! Grillimiseks soovitatakse resti Grilli esmakordsel kasutamisel voite naha suitsu voi tunda polemise lohna. See on normalne ega tahenda, et ahi oleks rikkis. Selle probleemi valtimiseks laske grillil esmakordsel kasutusel 20 minutit tootada ilma toiduta.
- Pöördnuppu poörates sisestage valmistamisaeg.
- Reziimi Topeltgrill jaoks vajutage uks kord nuppu GRILL (Grill + Mikrolained) ja vajutage nuppu START.
Ainult grilli valimiseks vajutage veel kord nuppu GRILL.
- Vajutage nuppu START.
Reziimis Topeltgrill ei ole mikrolainete
vimsustasemeid 90 W ja 900 W
voimalik kasutada. Reziimist Topelt
grill voi Grill valjumiseks vajutage
nuppu GRILL kuni displeil pa
mikro lainete��bol.
5.11 Lemmikud
Ahjul on kolm Lemmkretsepti.

Tōi pehmendamine.

Sokolaadi sulatamine

opsikook
Valmistamise jätkamiseks vajutage nuppu START. Automaatsulatamisaja loppedes peatub programm automaatsalt.
Korraga saab valmistada
1-4 topsikooki.

10 sekundit. Olge šokolaadiga
ettevaatlik, kuna see voib üle
kuumeneda ja pöhjustada poletusi.
Lemmikute ülekirjutamine teie enda retseptidega.
- Vajutage nuppu VOIMSUSE ja valige vajalik voimsus.
- Sisestage ROHKEMVAHEM-nuppu vajutades aeg.
- Vajutage ja hoidke nuppu LEMMIK, mille alla soovite uut retsepti salvestada, kuni kuulete uksikut piiksu ja kuvatakse lemmiku taht.
Lemmikute lahestamine tehaseseadetele.
- Vajutage nuppu STOP.
- Vajutage ja hoidke nuppe VOIMSUSTASE 450 W kolm sekundit.
Ahi taastab Lemmikute algsed tehaseseaded.
Automatsulatus arvestab toidu kaalu alusel automaatsetl valja oige valmistamisreziimi ja -aja.
Teil on voimalik valida 2 automaatse sulatamise menuu vahel.
- Automaatsulatus: Liha/kala/linnuliha
- Automaatsulatus: Leib
Näide: 0,2 kg steigi sulatamine.
- Valige uks kord nuppu AUTOMAATSULATUS, vajutades automaatsulatuse menuu.
- Valige ROHKEM/VAHEM-nuppu vajutades kaal.
- Vajutage nuppu START.
Displeisegmendid hakkavad
pörlema, năidates, et toitu tuleb
segada voi ümber pörata.
Valmistamise jätkamiseks vajutage
nuppu START.
Automaatsulamisaja loppedes peatub programm automaatelt. Automaatse sulatamise ajal ei ole aega/voimsust voimalik reguleerida.
6. TOIDUVALMISTAMISE TABELID
6.1 Lemmikud
| Lemmikud Kaal Nupp Protseduur | ||
| Või pehmendamine 0,05-0,25 kg | ☆1 Asetage või pyrex-nõusse. Segage korralikult pärast valmistamise lõppu. | |
| Šokolaadi sulatamine 0,1-0,2 kg | ☆2 Murdke šokolaad väikesteks tükkideks. Asetage šokolaad pyrex-nõusse. Helisignaali kõlamisel segage. Segage korralikult pärast valmistamise lõppu. HOIATUS: Šokolaad või olla väga kuum! Kui šokolaad vajab pikemat valmistamisaega, lisage juurde 10 sekundit. Olge šokolaadiga ettevaatlik, kuna see võib üle kuumeneda ja põhjustada põletusi. | |
| Topsikook 1-4 topsi | ☆3 Valmistage koogid vastavalt retseptile. Asetage tops põördaluse servälähedale. Laske valmistamise järel seista veel 30 sekundit. | |
6.2 Topsikoogi retseptid
| Sokolaadi topsikook |
| Koostisained 1 topsi kohta: |
| 2½spl (25 g) nisujahu |
| 2spl (12 g) kookospulbrit |
| 2½spl (30 g) kristallsuhkrut |
| ¼tl küpsetuspulbrit |
| 1½spl (15 g) taimeöli |
| ¼tl vanilliekstrakti |
| 1keskmine muna |
Valmistamine:
- Pange kõik kuivained topsi ja segage kahvliga LABI.
- Lisage taimeoli, vanilliekstrakt ja muna. Segage labi.
- Asetage tops poordaluse tsentrist eemaile.
- Valmistage, kasutades Kook kerkib valmistamise ajal topsist valja. PArast valmistamist laske seista veel 30 sekundit.
Kaunistage šokolaadivahuga.
Nouanne: Šokolaadi-apelsini topsikoogi
valmistamiseks asendage vanilliekstrakt
1/2 tl apelsiniekstraktiga.
| Vaarika topsikook |
| Koostisained 1 topsi kohta: |
| 2½spl (25 g) nisujahu |
| 2½spl (30 g) kristallsuhkrut |
| ¼ tl küpsetuspulbrit |
| 1½spl (15 g) taimeðli |
| ½ tl vanilliekstrakti |
| 1 keskmine muna |
| 1½spl ilma seemneteta vaarikamoosi |
| Ouna-puru topsikook |
| Koostisained 1 topsi kohta: |
| 2½spl (25 g) nisujahu |
| 2spl (30 g) pehmet pruuni suhrkrut |
| ¼ tl küpsetuspulbrit |
| ¼ tl jahvatatud kaneeli |
| 1½spl (15 g) taimeðli |
| 1keskmine muna |
| 1½spl (30 g) ðunakastet |
| pool (7 g) küpsist, purustatud |
Valmistamine:
- Pange kõik kuivained topsi ja segage kahvliga LABi.
- Lisage taimeoli, vanilliekstrakt ja muna. Segage labi.
- Lisage lusikaga moosi, nii et segule tekivad triibud.
- Asetage tops poordaluse tsentrist eemaile.
- Valmistage, kasutades Kook kerkib valmistamise ajal topsist valja. PArast valmistamist laske seista veel 30 sekundit.
Kaunistage vanillikreemiga.
Valmistamine:
- Pange kõik kuivained (valja arvatud kūpsis) topsi ja segage kahvliga LABI.
- Lisage taimeoli ja muna. Segage Iabi.
- Lisage lusikaga ettevaatlikult ounakaste, nii et segule tekivad triibud.
- Kaunistage pealt küpsisetükkidega.
- Asetage tops poordaluse tsentrist eemaile.
- Valmistage, kasutades . Kook kerkib valmistamise ajal topsist valja. Pärast valmistamist laske seista veel 30 sekundit.
Lisage peale lusikatais vanilljäatist.

HOIATUS! Ounakaste saab olematuline.
| Pähklivöi topsikook |
| Koostisained 1 topsi kohta: |
| 2½spl (25 g) nisujahu |
| 2spl (30 g) pehmet pruuni suhkrut |
| ¼ tl küpsetuspulbrit |
| 1½spl (15 g) taimeðli |
| ¼ tl vanilliekstrakti |
| 2spl (30 g) pähklivöid |
| 1keskmine muna |
Valmistamine:
- Pange kõik kuivained topsi ja segage kahvliga LABi.
- Lisage taimeoli, vanilliekstrakt, pahklivoi ja muna. Segage labi.
- Asetage tops poordaluse tsentrist eemaile.
- Valmistage, kasutades Kook kerkib valmistamise ajal topsist valja.
Parast valmistamist laske seista veel 30 sekundit.
Lisage peale šokolaadikreem.
Nõuanne: Kui eelistate, võite kasutada
krömpsuvat pähklivõid.
| Porgandi topsikook | |
| Koostisained 1 topsi kohta: | |
| 2 spl (20 g) nisujahu | |
| 2½ spl (30 g) pehmet pruuni suhkrut | |
| ¼ tl küpsetuspulbrit | |
| ¼ tl jahvatatud Kaneeli | |
| ¼ tl riivitud muskaati | |
| 1 spl riivitud mandleid | |
| 1½ spl (15 g) | päevalilleõli |
| ½ apelsini koor | |
| 30 g riivitud porgandit | |
| 1 keskmine muna | |
| Kreemine pealiskiht: 15 g pehmendatud võid, 40 g tuhksuhkrut, 40 g kõrge rasvasisaldusega koorejuustu, ½ tl apelsinimahla | |
Valmistamine:
- Pange kõik kuivained topsi ja segage kahvliga LABi.
- Lisage paevallilleoli, apelsinikoor, riivitud porgand ja muna. Segage labi.
- Asetage tops poordaluse tsentrist eemaile.
- Valmistage, kasutades Kook kerkib valmistamise ajal topsist valja.
- Pealiskihi valmistamiseks segage kokku voi, tuhksuhkur, koorejuust ja apelsinimahl.
Pärast valmistamist laske seista veel 30 sekundit.
Laske koogil jahtuda ja lisage seejärel pealiskate.
| Sidrunipiiskadega topsikook |
| Koostisained 1 topsi kohta: |
| 2½spl (25 g) nisujahu |
| 2½spl (30 g) kristallsuhkrut |
| ¼ tl küpsetuspulbrit |
| 1½spl (15 g) taimeðli |
| 1 tl sidrunikoort |
| 1 keskmine muna |
| Pealiskate: 1 spl sidrunimahla, millesse on segatud 2 spl kristallsuhkrut |
Valmistamine:
- Pange kõik kuivained topsi ja segage kahvliga LABI.
- Lisage taimeoli, sidrunikoor ja muna. Segage Iabi.
- Asetage tops poordaluse tsentrist eemaile.
- Valmistage, kasutades Kook kerkib valmistamise ajal topsist valja.
- Piserdage pealt kristallsuhkruga segatud sidrunimahlaga.
- Kupsetamise järel vabastage kook, labistage pealmine osa praevardaga, piserdage pealiskate üle koogi ja laske seista 30 sekundit.
6.3 Automaatsulatus
| Automaatsulatus Kaal Nupp Protseduur | ||
| Liha/kala/linnuliha | 0,2-1,0 kg | Pange toit madalias küpsetusvormis pöördaluse keskele. Pärast kellahelinat keerake toit ümber, paigutage ümer ja eraldage üksteisest. Katke öhukesed osad ja soojad kohad aluminiumfooliumiga. Pärast sulatamist keerake 15-45 minutiks aluminiumfooliumisse, kuni sulatatav toiduaine on täesti sulanud. Hakkliha: Pärast kellahelinat keerake toit ümer. Eemaldage voimalusel sulanud osad. Ei sobi terve linnu sulatamiseks. |
| (Terve kala, kala- löigud, kalafileed, kanakoivad, kanarind, hakkliha, lihalöigud, lihatükid, kotletid, vorstid) | ||
| Leib 0,1-1,0 kg | Jaotage madalale küpsetusvormile pöördaluse keskel. 1,0 kg korral jaotage otse pöördalusele. Pärast kellahelinat keerake ja paigutage viile ümer ning eemaldage sulanud vilud. Pärast sulatamist keerake almiuniumfooliumisse ja laske 5-15 minutit seista, kuni see on täesti sulanud. | |

Sisestage ainult toidu kaal. Arge arvake nou kaalu sisse.
Tabelis toodud kaaludest/kogustest rohkem voi vahem kaaluva toidu puhul kasutage kaisiti sisestamist.
Löpptemperatuur vöib erineda. See soltub algtemperatuurist.
Praelöigud ja karbonaaditükid peaksid ühe kihina kulmutatud olema.
Hakkliha peaks ohukese kihina kulmutatud olema.
6.4 Toidu ja joogi kuumutamine
| Toit/jook Kogus -g/ml- | Säte Vöimsus tase | Aeg -min- | Meetod | ||
| Piim, 1 tass 150 Mikro 900 W 1 ärge katke | |||||
| Vesi, 1 tass | 150 | Mikro | 900 W | 2 | ärge katke |
| 6 tassi | 900 | Mikro | 900 W | 8-10 | ärge katke |
| 1 nõu | 1000 | Mikro | 900 W | 9-11 | ärge katke |
| Üks taldrikutäis 400 Mikro 900 W 4-6 piserdage kastmele natuke | vett, katke kinni, segagekuumutamise vahepeal | ||||
| Supp/hautis 200 Mikro 900 W 1-2 katke kinni, segage pärast | kuumutamist | ||||
| Köögiljad 500 Mikro 900 W 3-5 vajadusel lisage natuke | vett, katke kinni, segagekuumutamise vahepeal | ||||
| Liha, 1 viil 1) | 200 Mikro 900 W 3 kallake peale ùhuke kiht | kastet, katke kinni | |||
| Kalaflee 1) | 200 Mikro 900 W 3-5 katke kinni | ||||
| Kook, 1 tükk 150 Mikro 450 W 1/2-1 pange madalasse | kūpsetusvormi | ||||
| Beebitoit, 1 purk 190 Mikro 450 W 1/2-1 kallake sobivasse | mikrolaineahjuskasutatavasse nõusse,pärast kuumutamist segagkorralikult ja kontrollige temperatuuri | ||||
| Margarini/võisulatamine 1) | 50 | Mikro | 900 W | 1/2 | katke kinni |
| Šokolaadi sulatamine | 100 Mikro 450 W 3-4 segage aeg-ajalt | ||||
1) jahutatud kujul
6.5 Sulatamine
| Toit | Kogus -g- | Säte | Vöimsus tase | Aeg -min- | Meetod | Seisuaeg -min- |
| Guljašš | 500 | Mikro | 270 W | 8-9 | segage sulatamise vahepeal | 10-30 |
| Kook, 1 tükk | 150 | Mikro | 90 W | 1-3 | pange madalasse kūpsetusvormi | 5 |
| Puuviljad | 250 | Mikro | 270 W | 3-5 | laotage ühtlaselt, põörake poole sulatuse ajal ümber | 5 |
6.6 Külmutatud olekust küpsetamine
| Toit Kogus | Säte Vöimsus | Aeg | Meetod Seisuaeg | - min- |
| -g- | tase | -min- | ||
| Kalaflee 300 Mikro 900 W 9-11 katke kinni 2 | ||||
| Ühe taldriku | 400 Mikro 900 W 8-10 katke, segage 6 min | 2 | ||
| eine | pärast | |||
6.7 Kupsetamine ja grillimine
| Toit Kogus | Säte Vöimsus tase | Aeg -min- | Meetod Seisuaeg | |||
| -g- | -min- | |||||
| Spargelkap-sas/Herned | 500 | Mikro | 900 W | 6-8 | lisage 4-5 spl vett, katke, segage poole küpsetuse ajal | - |
| Porgandid | 500 | Mikro | 900 W | 9-11 | lõigake rõngasteks, lisage 4-5 spl vett, katke, segage poole küpsetuse ajal | - |
| Röstimine | 1000 Mikro | 450 W | 16-17 | maitsestage, asetage põördketas, hiljem | 10 | |
| Topeltgrill | 450 W | 9-10 1) | ||||
| Mikro | 450 W | 9-10 | ||||
| Grill | 9-10 | |||||
| Romsteek | 400 Grill | 10-11 1) | asetage rest, hiljem | 10 | ||
| 2 tk | Grill | 10-11 | põörake ümber 1), maitsestage pärast grillimist | |||
| Ülekūpsetatud ahjuroogade pruunistamine | Grill | 12-15 | asetage nõu rest | |||
| Juustuga rõstsai | 1 tükk | Grill | 450 W 4-5 | 1) | asetage 2 viilu leiba rest, katke üks viil juustuga, küpsetage 1), asetage rõstitud viil rõstleival oleva juustupeale, põörake ümber ja küpsetage 2) | |
| Grill | 3-4 2) | |||||
| Külmutatud pitsa | 400 Mikro | 450 W | 4-5 1) | asetage põördlauale 1) | ||
| Topeltgrill | 450 W | 5-6 2) | asetage roog rest 2) | |||

Kui ahi tootab ukskoi, millises reziimis 3 minutit voi kauem, jaab ventilator peale valmistamise loppu veel 2 minutiks tole. Avage ahju uks ja see seiskub. Sulgege ahju uks ja see kaivitub uuesti kuni 2 minutit (koos ukse avatud oleku ajaga) on lopuni joudnud. Kui ahi tootab vahem kui 3 minutit, ventilator ei kaivitu.
7. NÜUANDED
7.1 Mikrolaineahjus kasutamiseks sobivad kööginõud
| Kööginõud Mikrolain- eahjus kasutamiseks sobiv | Kommentaarid | |
| Alumiiniumfoolium/ fooliumnõud | ✓ / X | Väikeseid alumiiniumfooliumi tükke saab kasutada toidu katmisesk, et vältila ülekūpsetamist. Hoidke foolium vähemalt 2 cm kaugusel ahju seintest, sest võib tekkida kaarlahendus. Fooliumnõusid ei soovitata kasutada, kui totja pole teisiti määranud. Järgige hoolega juhiseid. |
| Portselan ja keraamika | ✓ / X | Portselan, keraamika, glasuuritud savinõud ja luuportselan sobivad tavaliselt kasutamiseks, kui neil pole metallkaunistusi. |
| Klaasnõud, nt Pyrex® | ✓ | Önu klaasnõusid kasutades tuleb olla ettevaatlik, kuna need võivad äkilisel kuumutamisel katki minna või mõraneda. |
| Metall | X | Mikrolaineahjus ei ole soovitatav kasutada metallnõusid, kuna need tekitavad elektrihenduse, mis põhjustab tuleohu. |
| Plast/polüstüreen, nt kiirtoidupakendid | ✓ | Tuleb olla ettevaatlik, kuna osad nõud moonduvad, sulavad või muudavad kõrgel temperatuuril värvi. |
| Külmutus-/ kūpsetuskotid | ✓ | Nendesse tuleb teha augud, et aur pääseks välja. Veenduge, et kotid sobivad mikrolaineahjus kasutamiseks. Ärge kasutage plast- või metallkinnitusi, kuna need võivad sulada või suttida metalli kaarlahenduse tõttu. |
| Papptaldrikud, -topsid ja kõögipaber | ✓ | Kasutage neid ainult soojendamiseks või niiskuse imamiseks. Tuleb olla ettevaatlik, kuna ülekuumenemeine võib tekitada tuleohu. |
| Vitstest ja puidust nõud | ✓ | Nende materjalide kasutamisel valvake alati ahju, kuna ülekuumenemeine võib põhjustada tuleohu. |
| Ümbertöedeldud paber ja ajalehed | X | Need võivad sisaldada metallosakesi, mis tekitavad kaarlahenduse, mis võib põhjustada tuleohu. |
7.2 Nōuanded mikrolaineahjus toidu valmistamiseks
| Nöuanded mikrolaineahjus toidu valmistamiseks | |
| Koostis Suure rasva- või suhkrusisdusega toite (nt jõulupuding, puuviljapirukad) on vaja lühemat aega soojendada. Tuleb olla ettevaatlik, kuna ülekuumutamine võib tekitada tuleohu. | |
| Suurus Ühtlaseks kūpsetamiseks tehke kõik tükid ühesuuruseks. | |
| Toidu temperatuur | Toidu algne temperatuur mõjutab vajalikku kūpsetusaega. Lõigake tãidisega toidud kuumuse või auru vãjalaskmiseslahti. |
| Paigutamine Asetage toidu paksem osa (nt kanakoivad) nõu vãlisserva poole. | |
| Katmine Kasutage ëhuavadega mikrolaineahjus kasutatavat toidukilet või sobivat kaant. | |
| Läbitorkamine Koore või nahaga toitudele tuleb enne kūpsetamist või ülessoojendamist mitmes kohas augud sisse torgata, kuna muidu võib aur koguneda ja panna toidu lõhkema (nt kartulid, kala, kana, vorstid).OLULINE! Mune ei tohiks mikrolaineahjus kuumutada, sest need võivad lõhkeda, isegi pärast kūpsetamise lõppu (nt koireta keedetud, kõvaks keedetud munad). | |
| Segamine, keeramine ja ümberpaigut-amine | Uhtlaseks kūpsetamiseks on ololine toitu kūpsetamise ajal segada, keerata ja ümber paigutada. Segage ja paigutage toitu ümber alati vãlisservalt keskosa poole. |
| Seismine Pärast kūpsetamist on ololine toidul natuke seista lasta, et võimaldada kuumusel ühtlaselt toidus jaotuda. | |
| Varjamine Soojeesimal saab varjata väikeste fooliumitükkidega, mis peegeldavad mikrolaineid (nt kanakoivad ja -tiivad). | |

Pöletuste vältmiseks kasutage toidu ahjust väljatostmiseks pajalappe või -kindaid.
Aurupōletuste vältimiseks avage anumaid, popkornipakke, ahju kūpsetuskotte jms neid naost ja katest eemal hoides.
Ahju ukse avamisel hoidke alati sellest eemale, et valtida vabanevast aurust ja kuumusest tekkida voivaid poletusi. Lorigake taidisega toidud parast kuumutamist lahti, et lasta aur valja ja valtida poletusi.
8. MIDA TEHA, KUI
| Probleem Kontrollige . . . | |
| Mikrolaineahi ei tööta korralikult? | ·Kas kaitsmed kaitsmekarbis töötavad. ·Kas on esinenud voolukatkestusi. ·Kui kaitsmed põevad pidevalt LABi, põörduge kvalitseeritud elektriku poole. |
| Mikrolainerežiim ei tööta? | ·Kas uks on korralikult suletud. ·Kas ukse kinnitused ja nende pinnad on puhtad. ·Vajutadud on nuppu START. |
| Põördalus ei põörle? | ·Kas põördaluse tugii on korralikult ajamiga ühendatud. ·Ega ahjunõu ei ulatu üle põördaluse servade. ·Ega toit ei ulatu üle põördaluse servade ega takista salle põörlemist. ·Ega põördaluse all olevas suvikus ei ole takistusi. |
| Mikrolaineahju ei saa välja lūlitada? | ·Ühendage seade kaitsmekarbist lahti. ·Võtke ühendust ametliku ELECTROLUX-i teenindusesindajaga. |
| Sisevalgustus ei tööta? | ·Võtke ühendust omå ametliku ELECTROLUX-i teenindusesindajaga. Sisevalgustust võib vahetada ainult väljaöppinud ja volitatud ELECTROLUX-i teenindusesindaja. |
| Toidu soojendamine ja kūpsetamine võtabauem aega kui varem? | ·Seadke pikem kūpsetusaag (topeltkogus = peaaegu topeltaag). ·Kui toit on tavapärasest kūlmem, põörake toitu aeg-ajalt või. ·Suurendage seadme võimsust. |
| Ahju uks ei tule voolukat-kestuse tõttu lahti? | ·Avage uks ukseklaasi alt parempoolsest nurgast ettevaatlikult väljapoole tõmmates. |
9. TEHNILISED ANDMED
| Vahelduvvoolu liini pinge 220-240 V, 50 Hz, ühefaasiline | ||
| Jaotus Süūtenöör/vöimsuslüliti Minimaalne 16 A | ||
| Nõutav vahelduvvoolupinge: Mikrolaine | 1.4 kW | |
| Grill | 0.85 kW | |
| Mikrolained/grill | 2.20 kW | |
| Väljundpinge: Mikrolaine | 900 W (IEC 60705) | |
| Grill | 800 W | |
| Mikrolaine sagedus 2450 MHz | 1) (II rühm / klassi B) | |
| Välismõötmed: KMFD264TE 596 mm (L) x 459 mm (K) x 404 mm (S) | ||
| Ava mõötmed 342 mm (L) x 207 mm (K) x 368 mm (S) | 2) | |
| Ahju mahutavirus 26 liitrit | 2) | |
| Põördalus ø 325 mm, klaas | ||
| Kaal umbes 19,5 kg | ||
1) See toode vastab Euroopa standardi EN55011 nouetele.
Standardi kohaselt liigitub see seade II ruhm B-klassi seadmete hulka.
II ruhm tahendab, et seade on elle naitud raadiosagedusenergia genereerimiseks elektromagnetkiirgusena toidu kuumtoötlemiseks.
Klassi B seade tähendab, et seade on moeldud kasutamiseks koduses majapidamises.
2) Sisevoiimsus on arvutad maksimaalse laiuse, sugavuse ja korguse pohjal. Tegelik toidu mahutavirus on väiksem.
10. ENERGIATÖHUSUS
Toote teave võimsustarbe ja asjakohase madala võimsuse režiimi saavutamiseks kuluva maksimaalse aja kohta
| Vöimsustarve ooterežiimis koos tõötava displeiga | 0.8 W |
| Vöimsustarve ooterežiimis koos välja lülitatud displeiga | 0.5 W |
| Seadmel asjakohase madala vöimsuse režiimi automaatselt saavutamiseks kuluv maksimaalne aeg | 5 min |
11. KESKKONNATEAVE
Toode sisaldab energiatohususklassi F valgusallikat.
Sumboliga tahistatud materjalid voib ringlusse suunata. Selleks viige pakendid vastavatesse konteineritesse.
Aidake hoida keskkonda ja inimeste tervist ja suunake elektri- ja elektroonilised jaatmed ringlusse.

Arge visake sumboliga tāhistatud seadmeid muude majapidamisjätmete hulka. Viige seade kohalikku ringluspunktti voi poorduge abi saamiseks kohalikku omavalit-susse.
SOMMAIRE
- AVERTISSEMENTS IMPORTANTS DE SECURITE 129
- INSTALLATION 134
- VUE D'ENSEMBLE DE L'APPAREIL 139
- AVANT LA MISE EN SERVICE 140
- FONCTIONNEMENT 141
- ILLUSTRATIONS DE CUISSON 145
7.ASTUCES ET CONSEILS 152 - EN CAS D'ANOMALIE DE FONCTIONNEMENT 154
- CARACTERISTIQUES TECHNIQUES 155
10.EFFICACITE ENERGETIQUE 155 - INFORMATIONS ENVIRONNEMENTALES 156
LihtneJuhend