FRS 1270 USB - Ecouteur Trevi - Manual de uso y guía de instrucciones gratis
Encuentra gratis el manual del aparato FRS 1270 USB Trevi en formato PDF.
Preguntas de los usuarios sobre FRS 1270 USB Trevi
0 pregunta sobre este aparato. Responde a las que conoces o haz la tuya.
Hacer una nueva pregunta sobre este aparato
Descarga las instrucciones para tu Ecouteur en formato PDF gratis! Encuentra tus instrucciones FRS 1270 USB - Trevi y toma tu dispositivo electrónico nuevamente en la mano. En esta página están publicados todos los documentos necesarios para el uso de su dispositivo. FRS 1270 USB de la marca Trevi.
MANUAL DE USUARIO FRS 1270 USB Trevi
LE FELICITAMOS por haber comprado los auriculares inalámbricos de alta的技术ología TREVI FRSI270USB
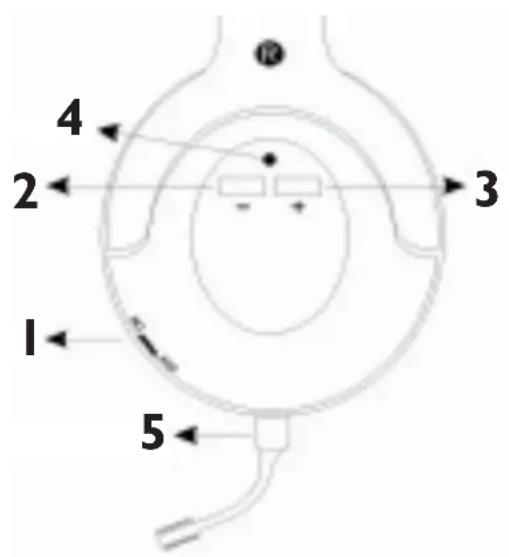
DESCRIPCION DE LOS MANDOS Y DE LOS ACCESORIOS

AURICULARESY MICróFONO


Microfono
I. Interruptor On/Off para encender/apagar los auriculas
2. Botón volumen -
3. Botón volumen +
4. Led indicator de funciona
5. Jack conexión microfondo
6. Compartimiento de baterías de los auriculares
Nota: el interruptor rotativo (I) sirve únicamente para encender/apagar los auriculares y no para ajustar el volumen; el volumen de escucha de los auriculares se ajusta con los botones + (3) y - (2).
PC DONGLE Y ADAPTADOR AUDIO


- Adaptador audio
- PC dongle USB
- Indicador de estado/funcionamento del PC dongle USB
- Indicador de funciona del adaptor audio
I I. Interruptor On/Off para encender/apagar el adaptor audio - Line in / Entrada audio
- Entrada de alimentación DC 5 V
- Compartimiento de baterías del adaptor audio
ALIMENTADOR Y CABLE DE ALIMENTACION

Alimentador

Cable de alimentacion
COLOCACION DE LAS BATERIAS
Auriculares: abra el compartmentimiento de baterías (6) de los auriculares extrayendolo en la direccion indicada por la flecha impresa en el compartmentimiento y colque dos baterías tipo AAA I,5 V (respete lasindicaciones sobre la polaridad).
Adaptador audio: abra el compartmentimiento de baterías del adaptador (14) extrayendolo en la direccion indicada por la flecha impresa en el compartmentimiento y colque dos baterías tipo AAA I,5 V (respete lasindicaciones sobre la polaridad).
CONEXION DE LOS AURICULARES A UN ORDENADOR
Instalar el PC dongle USB
Conecte el PC dongle USB (8) suministrado a un puerto USB del ordinador/ordenador portátil y espere a que el ordinador reconozca e instale los controladores你需要os (opération automática); la instalación termina cuando el ordinador muestra el mensaje "Su nuevo hardware está instalado y lista para usarse".
Nota: es possible que después de instalar los controladores se deba reinecer elordenador;onga en cuenta los mensajes de solicitud delsystema operativoutilizzato.
El PC dongle USB suministrado con los auriculares
FRSI 270USB es compatible con los sistemas operativos
Windows 2000/XP/Vista/Win7.
Uso de los auriculares
Encienda los auriculares con el interruptor rotativo On/Off (I). Espere algunossegundos para que los auriculares enganchen la seals de radio del PC dongle USB (el led de funcionaimiento (4) parpadeará durante unoossegundos ydesquéspermanecera siempreencendido).A partir de este momento se podran utilizing los auriculares para escuchar videos oarchivosdemusica delordenador.
Si los auriculares no logran enganchar la seals de radio del PC dongle USB (led de funciona parpadeante), realice el procedimiento manual:
pulse simultaneamente los botones + (3) y - (2) duranteunos 5 segundos, hasta que el led de funcionaimiento (4) permanece tiempo encendido.
Nota: las operaciones para enganchar la seals deben realizar a una distancia de aproximamente 30 cm entre los auriculares y el PC dongle USB.
Ajuste del volumen: el volumen de escucha de los auriculares se sueceajustar con los botones ^+ (3)y-(2);al pulsar repetidamente el boton+(3) sube el nivel de escucha y al presionar repetidamente el boton-(2)baja.
Uso del micrófono: los auriculas FRS1270USB se pueda usar con los másconocidosprogramas de comunicación de video. Conecte el micrófono suministrado en el jack (5) situado al bajo del interruptor rotativo de encendido (I). Una vez efectuado el procedimiento de uso de los auriculas, el micrófono está activo y se puedaunarizar la conversación mediante los differentes software de videollamada (para podercer los procedimientos sobre como efectuar una videollamada, consulte las instrucciones del softwareutilizzato).
Nota: para una buena recepción del microfono, mantengalo aunos 5 cm de la Boca.
Función standby: para proteger el consumo de las baterías, los auriculares FRS1270USB poseen un circuito que los coloca en modo standby una vez que hayan transcurrido 3 horas sin haber recibido ninguna señal de audio del dongle USB; de todos modos, los auriculares igualmente se colocan en modo standby si salen del radio de acción del dongle USB (aproximamente 10 metros). El led de funciona bajo (4) apagado significía que los auriculares se encuentran en estado de standby. Para reactivarlos use el interruptor On/Off (I), colóquelo en Off y a continua en On.
Para apagar los auriculas: Coloque el interruptor rotativo (I) en posicion Off.
CONEXION DE LOS AURICULARES A UN DISPOSITIVO AUDIO
Para usar los auriculares con un dispositivo audio/video (Tv,DVD,Hi-Fi,Multimedia player) se debe utiliser el adaptor audio (7) incluido en la caja.
-
Conecte el PC dongle USB (8) en la toma del adaptor audio (7).
-
Utilice el cable audio Jack- Jack y el alargador Jack-RCA si fuera necesario, para conectar el dispositivo audio/video (Tv, HiFi, Multimedia player) al adaptor (7); conecte una toma Jack en la entrada audio LINE IN (12) del adaptor (7), conecte el除外 extremo del cable (Jack o RCA) en la toma de los auriculares o a la calidad audio del dispositivo audio/video (Tv, HiFi, Multimedia player).
-
Asegúrese de haber colocado correctamente las baterías en el adaptor audio (7) o utilizes el alimentador y el cable incluido en la caja, conectándolo a la toma DC 5 V, entrada de alimentación (15).
Nota: si se utilizes el alimentador y las baterías simultáneamente, estas ultimas son excluidas automatistically del circuito de alimentación para protegerlas.
- Encienda el adaptor audio llevando el interruptor (I I) situado al lado del compartmento de baterías a la posición ON.
Para el uso de los auriculares, ajuste del volumen y apagado, consulta alApartado anterior.
CHARACTERISTICAS TECNicas
Frecuencia de transmisión: 2,4 GHz
Modulación: GFSK
Audio sampling rate: 44,1 KHz
Relación S/R (señal/ruido): >70 db
Respuesta en Frequencia: 20-20 KHz
Speaker Power: 2 × 10 ~mW
Alimentación auriculares: 2 bacterias AAA
Alimentación adaptador audio: 2 baterías AAA
DC 5 V 400 mA
Radio de transmisión: inferior a los 10 metros
en espacio abierto
Peso: 165 g

INTRODUÇÃO
AUSCULTADORES E MICROFONE

CONEXXÉO DOS AUSCULTADORES A UM DISPOSITIVO DE AUDIO
Advertencias para la correcta eliminacion del producto.
El的概率 que aparece en el aparato indica que el residuo de ser objeto de "recogida selectiva" por tanto el producto no se debe eliminar jusqu'à resonados urbanos.
El usuario debenregar el producto a los "centros de recogida selectiva" 创建os por las administraciones Municipales o bien al distribuidor cuando adquiera un nuevo producto.
La recogida selectiva del residuo y las sucesivas operaciones de tratamiento, recuperacion y eliminacion favorecen la fabricacion de aparatos con materiales reciclados y limitan los efectos negativos en el medio ambiente y la salute causados por una gestion incorrecta del residuo.
La eliminacion abusiva del producto da lugar a la aplicacion de saniones administrativas.

ManualFácil