ECMU02CS - Soporte para pantalla plana Peerless-AV - Manual de uso y guía de instrucciones gratis
Encuentra gratis el manual del aparato ECMU02CS Peerless-AV en formato PDF.
Questions des utilisateurs sur ECMU02CS Peerless-AV
0 question sur cet appareil. Repondez a celles que vous connaissez ou posez la votre.
Poser une nouvelle question sur cet appareil
Descarga las instrucciones para tu Soporte para pantalla plana en formato PDF gratis! Encuentra tus instrucciones ECMU02CS - Peerless-AV y toma tu dispositivo electrónico nuevamente en la mano. En esta página están publicados todos los documentos necesarios para el uso de su dispositivo. ECMU02CS de la marca Peerless-AV.
MANUAL DE USUARIO ECMU02CS Peerless-AV
Instalación y Ensamblaje:
Viento clasifi cado inclinación del techo de hormigón de montaje para 32" - 65" Muestra al aire libre de pantalla plana
Modelos: ECMU-01-C, ECMU-01-C-S, ECMU-02-C, ECMU-02-C-S, ECMU-03-C, ECMU-03-C-S, ECMU-04-C, ECMU-04-C-S

Capacidad de Carga Máxima por UL: 200 lb (90.7 kg)
Clasifi cación máxima de viento: 90 mph, elevación 200 ft (60m), Categoría "D"
ADVERTENCIA
- No comience a instalar su producto de Peerless hasta haber leído y entendido las instrucciones y las advertencias contenidas en la Hoja de Instalación. Si tiene alguna pregunta acerca de cualquiera de las instrucciones o las advertencias, por favor, llame a Servicio al Cliente de Peerless al 1-800-865-2112 si está en EE. UU. Si es un cliente internacional, por favor, comuníquese con su distribuidor local.
- Este producto sólo debe ser instalado por una persona que tenga una buena aptitud mecánica, que tenga experiencia en construcción básica de edificios y que entienda estas instrucciones en su totalidad.
- Debido a las condiciones ambientales de exteriores como fuertes ráfagas de viento, nieve intensa, granizo, lluvia, etc. La caja ecológica, junto con su soporte, tubo de extensión y tornillería, se deben inspeccionar cuando menos una vez al año e inmediatamente después de cualquier ocasión en que los vientos excedan de 90 mph. Un instalador o inspector califi cada deberá revisar que no haya signos de corrosión, fi jadores sueltos, metal doblado, etc. Si hay señales de desgaste excesivo, deterioro o cualquier condición insegura, inmediatamente deberá de retirar de servicio este producto. Si tiene alguna pregunta, diríjase al servicio a clientes.
- Asegúrese de que la superficie de apoyo sostendrá, con seguridad, la carga combinada del equipo y todos los fi jadores y componentes.
- Nunca sobrepase la capacidad máxima de soportar carga por UL. Vea la página 8.
- Si va a instalar el producto en una pared con montantes de madera, asegúrese de que los tornillos de montaje estén anclados en el centro de los montantes. Se recomienda utilizar un localizador de montantes de "borde a borde".
- Siempre cuente con la ayuda de un asistente o utilice un equipo mecánico de izar para levantar y colocar el equipo con más seguridad.
- Apriete los tornillos con firmeza, pero no en exceso. Apretarlos en exceso puede dañar los artículos y puede disminuir signifi cativamente su fuerza de fi jación.
- Este producto fue diseñado para su uso con otros productos al aire libre.
- Este producto fue diseñado para ser instalado en paredes con la siguiente construcción solamente:
CONSTRUCCIÓN DE LA PARED ACCESORIOS NECESARIOS
- Concreto macizo Incluido
- ¿Otra superfi cie o no está seguro? Comuníquese con un profesional califi cado
Herramientas necesarias para el ensamblaje
- destornillador phillips, Ilave Allen de 3/16"
- taladro
- broca de 3/8" (10 mm) para paredes de concreto y de bloque de hormigón de escorias
- nivel
Contenido
Lista de piezas....10
Instalación en una pared de concreto macizo....11
Instalación de los soportes adaptadores.... 13
Instalación y desinstalación de la pantalla plana 14
Antes de comenzar, asegúrese de que su producto contiene todas las piezas que se muestran.
| Lista de piezas | ECMU-01-C | ECMU-01-C-S | |
| ECMU-02-C | ECMU-02-C-S | ||
| ECMU-03-C | ECMU-03-C-S | ||
| ECMU-04-C | ECMU-04-C-S | ||
| Descripción Cant. N° de pieza N° de pieza N° de Modelo N° de pieza | |||
| A | placa de techo | 1 | 061-T1306 061-7306 |
| B | columna de apoyo | 1 | see chart see chart |
| C | expansión para concreto | 8 | 5M9-381-H03 5M9-381-H03 |
| D | caja adaptadora | 1 | 061-T1264 061-7264 ECMU-02-C-S |
| E | tornillos de cabeza hueca de 1" | 4 | 520-5035 520-5035 |
| F | pernos de 7/16" x 4" | 3 | 520-5014 520-5014 |
| G | tuercas de 7/16" | 3 | 530-5003 530-5003 |
| H | placa adaptadora | 1 | 061-T125 8 061-7258 |
| I | tornillos de cabeza hueca de 3/4" | 8 | 520-5034 520-5034 |
| J | soportes adaptadores izquierda | 1 | 061-T1383 061-7383 |
| K | soportes adaptadores derecho | 1 | 061-T1382 061-7382 |
| L | llave Allen de 4 mm | 1 | 560-9646 560-9646 |
| M | tornillos de M6 x 12 mm | 4 | 520-5023 520-5023 |
| N | tornillos de M6 x 25 mm | 4 | 520-5024 520-5024 |
| O | tornillos de M8 x 15 mm | 4 | 520-5026 520-5026 |
| P | tornillos de M6 x 20 mm | 4 | 520-502_5 520-5025 |
| Q | tornillos de M8 x 25 mm | 4 | 520-5027 520-5027 |
| R | arandela | 4 | 540-501 4 540-5014 |
| Columna de Apoyo (B) | |
| ECMU-01-C 061-T1266 | |
| ECMU-01-C-S 061-7266 | |
| ECMU-02-C 061-T1267 | |
| $1-7267 | |
| ECMU-03-C 061-T1268 | |
| ECMU-03-C-S 061-7268 | |
| ECMU-04-C 061-T1269 | |
| ECMU-04-C-S 061-726 | 9 |
Las piezas pueden verse un poco distintas a la ilustración.

Instalación en una pared de Concreto Macizo
ADVERTENCIA
- Solo para fi jación en concreto macizo. Se deben usar los ocho anclajes de expansión para concreto.
- El instalador deberá verifi car que la superfi cie de apoyo soporte con seguridad la carga combinada del equipo y de toda la tornillería y componentes adjuntos.
- Apriete a un máximo de 35 pies-lb (47 N·m) de par torsor.

Use la placa de techo (A) como plantilla para marcar ocho agujeros de montaje en el techo de concreto. Taladre ocho agujeros piloto de 3/8" (10 mm) de diámetro y mínimo 3" (76 mm) de profundidad. Coloque la placa de techo sobre los agujeros de montaje y fíjela con ocho anclajes de expansión para concreto (C), como se muestra más adelante. Apriete todos los fi jadores.
ADVERTENCIA
- Siempre fi je los anclajes de expansión para concreto directamente en la pared que sostiene la carga.
- Nunca fi je los anclajes de expansión para concreto a una pared de concreto recubierta con yeso, yesocartón u otro material de acabado.

text_image
VISTA EN CORTE
text_image
techo de concreto A C
Taladre agujeros de 3/8" (10 mm) de diámetro.

text_image
2 A CColoque la placa de techo (A) sobre los agujeros y fijela con anclajes de expansión para concreto (C)

text_image
3Apriete todos los fi jadores. Apriete a un máximo de 35 pies-lb (47 N·m) de par torsor.
Español
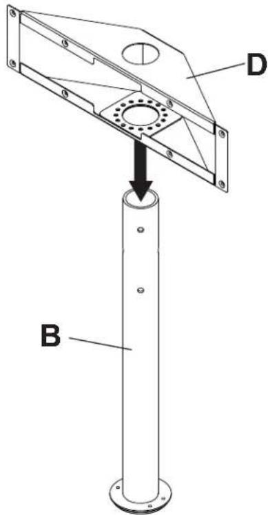
2 Coloque la caja adaptadora (D) en la columna de apoyo (B) como se muestra.

text_image
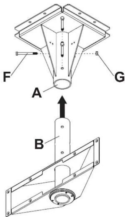
D B3 Inserte la columna de apoyo (B) en la unidad de techo (A). Alinee los agujeros de la columna de apoyo con los agujeros de la unidad de techo y fijela con tres pernos de 7/16" x 4" (F) y tres tuercas de 7/16" (G) como se muestra.

text_image
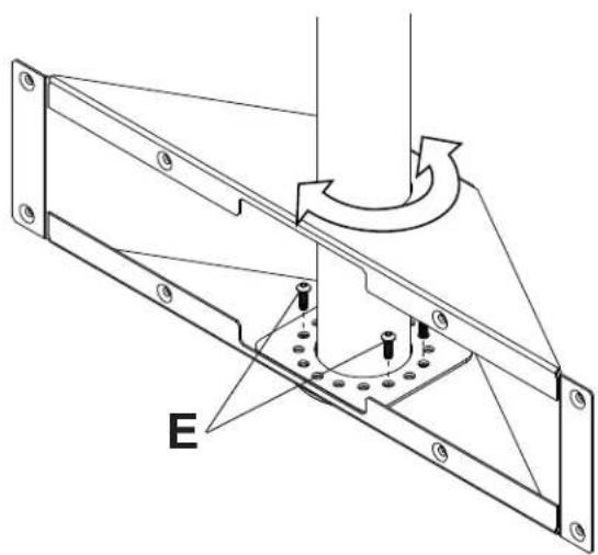
F A G B4 Ajuste el giro a la posición deseada, como se muestra. Fije la caja adaptadora a la columna de apoyo con cuatro tornillos de cabeza hueca de 1" (E) con una llave Allen de 3/16", como se muestra.

text_image
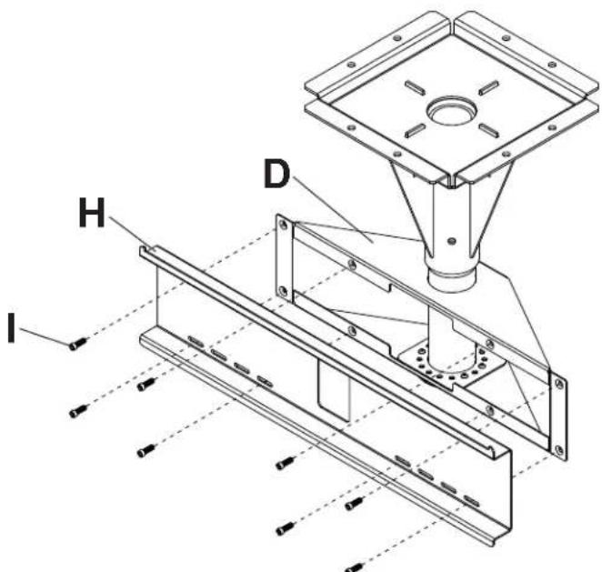
E5 Fije la placa adaptadora (H) a la caja adaptadora (D) con ocho tornillos de 3/4" (I) usando una llave Allen de 5/32", como se muestra.

text_image
H D IADVERTENCIA
- Apriete los tornillos de manera que los soportes adaptadores se fijen con firmeza. No los apriete con fuerza excesiva. Apretar los tornillos en exceso puede causarles daño por forzarlos y puede disminuir signifi cativamente su fuerza de fi jación y podría causar el desprendimiento de las cabezas de los tornillos. Apriete los tornillos a un máximo de 40 pulg-lb (4.5 N•m) de par torsor.
- Si no se les da tres vueltas completas a los tornillos en los insertos de la pantalla o si los tornillos topan fondo y el soporte todavía no está fi rme, se podría dañar la pantalla o el producto podría no funcionar bien.

Para no rayar la pantalla, coloque un trapo sobre una superficie plana y nivelada que sostenga el peso de la pantalla. Coloque la pantalla boca abajo. Si la pantalla tiene perillas en la parte trasera, quíteselas para poder fi jar los soportes adaptadores. Fije los soportes adaptadores (J,K) en la parte trasera de la pantalla utilizando la combinación adecuada de tornillos, arandelas múltiples y espaciadores, como se muestra en el paso 6-1.
NOTA: Siempre se tienen que usar los agujeros superiores y los inferiores.
NOTE: Asegúrese de fijar los soportes inclinables con los tornillos de ajuste de inclinación hacia afuera como se muestra abajo.
Verifi que que todos los agujeros estén debidamente alineados y luego apriete los tornillos usando una llave Allen de 4 mm (L).

text_image
NOTA: Las dimensiones "X" deben ser iguales. CENTRE LOS SOPORTES VERTICALMENTE EN LA PARTE TRASERA DE LA PANTALLA TORNILLO DE AJUSTE DE INCLINACIÓN K J X X
Comience con uno de los tornillos más cortos, enrósquelo, con la mano, a través de la arandela y el soporte adaptador a la parte posterior de la pantalla, como se muestra abajo. El tornillo debe dar, por lo menos, tres vueltas completas dentro del agujero de instalación y debe quedar ajustado en su lugar. No apriete los tornillos en exceso. Si el tornillo no puede dar tres vueltas completas al entrar en la parte posterior de la pantalla, seleccione un tornillo más largo de los sujetadores identifi cados y clasifi cados en las divisiones del empaque plástico. Siga el mismo procedimiento con los agujeros de instalación restantes, nivele los soportes y apriete los tornillos.

text_image
PANTALLA ARANDELA TORNILLO SOPORTE INCLINABLE (J,K)Instalación y desinstalación de la pantalla plana
Español
ADVERTENCIA
- Siempre cuente con un asistente o con un equipo mecánico de izar para levantar y colocar los televisores de pantalla plana con más seguridad.
- No apriete los tornillos con fuerza excesiva. Apretarlos en exceso puede dañar el soporte. Apriete los tornillos a un máximo de 40 pulg-lb (4.5 N•m) de par torsor.
- Tenga cuidado de no pincharse los dedos cuando empuje palanca de la pantalla por la parte inferior.

Montaje de la pantalla: Enganche los soportes inclinables (J,K) en la placa adaptadora (H) y gire la pantalla hacia dentro, como se muestra en la fi gura 7.1. NOTA: Si el clip de seguridad no libra la parte inferior de la placa adaptadora, afl oje el tornillo de seguridad con la llave Allen (L). Los ganchos de los soportes inclinables deben entrar completamente en la placa adaptadora, como se muestra en el detalle 1. Apriete fi rmemente el tornillo usando una llave Allen (L) hasta que el clip de seguridad asiente fi rmemente contra la parte inferior de la placa adaptadora.
NOTA: Asegúrese de que el clip de seguridad quede fi jo a la parte inferior de la placa adaptadora, como se muestra en el detalle 2.
Retirar la pantalla: Afl oje el tornillo de seguridad del clip de seguridad hasta que la pantalla pueda girar libremente y levante la pantalla para sacarla del soporte.
Ajuste de la pantalla: La pantalla se puede ajustar horizontalmente afl ojando el tornillo de seguridad tres vueltas completas, con una llave Allen (L). Ajuste la pantalla como se muestra en la fi gura 7.2. Apriete el tornillo de seguridad.
Ajustar el Ángulo de Inclinación de la Pantalla

NOTA: Seleccionar y fi jar la posición de inclinación puede ser más fácil antes de colocar la pantalla en el soporte de pared.
INCRELOK™: Se puede trabar la pantalla en una posición predeterminada de inclinación de -5°, 0°, 5°, 10° o 15°. Use el agujero localizador para encontrar el agujero de inclinación e incline la pantalla para alinear los agujeros. Apriete los tornillos de inclinación IncreLok™ en ambos soportes de inclinación, como se muestra en el detalle 3.
Apriete el tornillo de fi jación para trabar la posición de inclinación.

text_image
J,K DETALLE 1 H fi g 7.1 TORNILLO DE SEGURIDAD CLIP DE SEGURIDAD DETALLE 2
text_image
IncreLok™ TORNILLO DE INCLINACIÓN AGUJERO LOCALIZADOR AGUJEROS DE POSICIÓN DE INCLINACIÓN TORNILLO DE FIJACIÓN SCREW DETALLE 3 fi g 8.1Limitada de un año de garantía sobre los componentes de la corrosión.

Peerless Industries, Inc. establece un período de garantía de cinco años para los productos fabricados o suministrados por Peerless. Este período empieza en la fecha de venta del producto al consumidor original, pero en ningún caso durará más de seis años después de la fecha de fabricación del producto. Durante la vigencia de la garantía, dichos productos se encontrarán libres de defectos en sus materiales y fabricación, siempre que se instalen y usen de conformidad con las instrucciones establecidas por Peerless Industries, Inc. Sujeto a los requisitos legales pertinentes, durante la vigencia de la garantía Peerless reparará o reemplazará un producto que no cumpla con la presente garantía o reembolsará el precio de compra del mismo.
Cualquier otra garantía exigida por ley que podría ser aplicable con respecto a dichos productos también tendrá una vigencia limitada al período de garantía especifiado en la presente Garantía Limitada de Cinco Años.
La presente garantía no abarca los daños causados por (a) trabajos de servicio, mantenimiento o reparación hechos por el cliente o una persona que no está autorizada por Peerless Industries, Inc. para realizar esos trabajos, (b) no utilizar un embalaje apropiado al devolver el producto, (c) una instalación incorrecta o no seguir las instrucciones o advertencias de Peerless al instalar, usar o almacenar el producto, o (d) uso indebido o accidente, en tránsito o de otro modo, incluso si se trata de acciones atribuibles a terceros o de casos de fuerza mayor.
Peerless en ningún caso será responsable de daños incidentales o indirectos o daños que surjan del robo de un producto, esté o no protegido por un dispositivo de seguridad incluido con el producto.
La presente Garantía Limitada de Cinco Años reemplaza cualquier otra garantía expresa o implicita, y es la única reparación con respecto a defectos en el producto. Ningún comerciante minorista, agente, distribuidor, instalador u otra persona, está autorizado para modificar o prolongar la presente garantía ni para imponer una obligación a Peerless en relación con la venta de un producto fabricado o suministrado por Peerless.
La presente garantía otorga derechos legales específicos, y usted también podría tener otros derechos en virtud de la legislación nacional del país donde usted compró el producto.

ManualFácil