ECMU02CS - Flachbildschirmhalterung Peerless-AV - Kostenlose Bedienungsanleitung
Finden Sie kostenlos die Bedienungsanleitung des Geräts ECMU02CS Peerless-AV als PDF.
Questions des utilisateurs sur ECMU02CS Peerless-AV
0 question sur cet appareil. Repondez a celles que vous connaissez ou posez la votre.
Poser une nouvelle question sur cet appareil
Laden Sie die Anleitung für Ihr Flachbildschirmhalterung kostenlos im PDF-Format! Finden Sie Ihr Handbuch ECMU02CS - Peerless-AV und nehmen Sie Ihr elektronisches Gerät wieder in die Hand. Auf dieser Seite sind alle Dokumente veröffentlicht, die für die Verwendung Ihres Geräts notwendig sind. ECMU02CS von der Marke Peerless-AV.
BEDIENUNGSANLEITUNG ECMU02CS Peerless-AV
Anbringung und Zusammenbau:
Beurteilung von konkreten Deckenmontage Wind Neigung für 32 "- 65" Flachbildschirm im Freien
Modelle: ECMU-01-C, ECMU-01-C-S, ECMU-02-C, ECMU-02-C-S ECMU-03-C, ECMU-03-C-S, ECMU-04-C, ECMU-04-C-S

Maximale Tragfähigkeit pro UL: 200 lb (90.7 kg)
Maximale Windbelastbarkeit: 90 mph, Höhe 200 ft (60m), Kategorie "D"
HINWEIS: Lesen Sie die gesamte Anleitung, bevor Sie mit der Anbringung und dem Zusammenbau beginnen.
⚠️ ACHTUNG
- Beginnen Sie mit der Anbringung Ihres Peerless-Produkts erst, nachdem Sie die in dieser Montageanleitung enthaltenen Anleitungen und Achtungshinweise gelesen und sich gründlich mit ihnen vertraut gemacht haben. Falls Sie Fragen hinsichtlich irgendeiner der Anleitungen oder Achtungshinweise haben, wenden Sie sich in den USA bitte an den Peerless-Kundendienst unter der Rufnummer 1-800-865-2112. Kunden im Ausland wenden sich bitte an den örtlichen Vertragshändler.
- Dieses Produkt darf nur von Personen mit guten mechanischen Fähigkeiten montiert werden, die über Erfahrung in den Grundlagen der Baukonstruktion verfügen und diese Anleitungen vollkommen verstehen.
- Aufgrund der im Freien herrschenden Bedingungen wie Windböen, starker Schneefall, Hagel, Regen, usw. müssen das Schutzgehäuse und die zugehörigen Teile wie Halter, Verlängerungsrohr und Befestigungsteile mindestens einmal im Jahr sowie unmittelbar nach dem Auftreten von Windgeschwindigkeiten über 145 km/h (90 Meilen/Stunde) untersucht werden. Ein qualifi zierter Monteur oder Prüfer muss die Teile auf Anzeichen von Rost, losen Befestigungsteilen, verbogenem Metall usw. untersuchen. Werden übermäßiger Verschleiß, Abnutzung oder unsichere Bedingungen festgestellt, muss dieses Produkt sofort außer Betrieb genommen werden. Bitte wenden Sie sich bei Fragen an den Kundendienst.
- Vergewissern Sie sich, dass die tragende Fläche das Gesamtgewicht der Geräte und allen daran angebrachten Befestigungsteilen und Komponenten sicher tragen kann.
• Die maximale Tragfähigkeit pro UL darf niemals überschritten werden. Siehe Seite 22. - Achten Sie bei der Anbringung an Holzständern darauf, dass die Befestigungsschrauben jeweils in der Mitte der Holzständer verankert sind. Am besten eignet sich ein Balkenfi nder mit genauer Kantenanzeige.
- Ziehen Sie immer eine zusätzliche Person heran oder verwenden Sie mechanische Hebegeräte, um Geräte sicher zu heben und zu positionieren.
- Ziehen Sie die Schrauben fest an, ohne sie zu überdrehen. Durch Überdrehen können die Teile beschädigt werden, wodurch ihr Haltevermögen stark reduziert wird.
- Dieses Produkt wurde für den Einsatz mit anderen im Freien-Produkten konzipiert.
- Dieses Produkt wurde nur für die Anbringung an den folgenden Wandkonstruktionen ausgelegt:
WANDKONSTRUKTION
- Massivbeton
- Andere oder nicht sicher? Qualifi zierten fachmann konsultieren
ERFORDERLICHE
Inbegriffen
Qualifi zierten fachmann konsultieren
BEFESTIGUNGSTEILE
Für den Zusammenbau erforderliche Werkzeuge
- Kreuzschlitzschraubendreher, Inbusschlüssel 3/16"
- Bohrer
• 3/8 Zoll (10 mm) Bit für Beton- und Porenbetonsteinwand - Wasserwaage
Inhaltsverzeichnis
Teileliste....24
Anbringung an Massivbeton 25
Anbringung von Adapterhalterungen 27
Anbringung des Flachbildschirms an der Adapterplatte 28
Vergewissern Sie sich vor Beginn der Arbeiten, dass alle dargestellten Teile mit Ihrem Produkt mitgeliefert wurden.
| Teileliste | ECMU-01-C | ECMU-01-C-S | |
| ECMU-02-C | ECMU-02-C-S | ||
| ECMU-03-C | ECMU-03-C-S | ||
| ECMU-04-C | ECMU-04-C-S | ||
| Beschreibung Anz. Teile Nr. Teile Nr. Modelle Nr. Teile Nr. | |||
| A | Deckenplatte | 1 | 061-T1306 061-7306 |
| B | Stützsäule | 1 | see chart see chart |
| C | Betonspreizdübeln | 8 | 5M9-381-H03 5M9-381-H03 |
| D | Adaptergehäuse | 1 | 061-T1264 061-7264 ECMU-02-C-S |
| E | 1 Zoll Inbusschrauben 4 520-5035 520-5035 | ECMU-03-C | 061-T1268 |
| F | 7/16 x 4 Zoll Schrauben 3 | 520-5014 | 520-5014 |
| G | 7/16 Zoll Muttern | 3 | 530-5003 530-5003 |
| H | Adapterplatte | 1 | 061-T125 8 061-7258 |
| I | 3/4 Zoll Inbusschrauben | 8 | 520-5034 520-5034 |
| J | Kipphalterungen links | 1 | 061-T1383 061-7383 |
| K | Kipphalterungen recht | 1 | 061-T1382 061-7382 |
| L | Inbusschlüssel 4 mm | 1 | 560-9646 560-9646 |
| M | Schrauben M6 x 12 mm | 4 | 520-5023 520-5023 |
| N | Schrauben M6 x 25 mm | 4 | 520-5024 520-5024 |
| O | Schrauben M8 x 15 mm | 4 | 520-5026 520-5026 |
| P | Schrauben M6 x 20 mm | 4 | 520-5025 520-5025 |
| Q | Schrauben M8 x 25 mm | 4 | 520-5027 520-5027 |
| R | Scheibe | 4 | 540-501 4 540-5014 |
| Stützsäule (B) | |
| ECMU-01-C 061-T1266 | |
| ECMU-01-C-S 061-7266 | |
| ECMU-02-C 061-T1267 | |
| 61-7267 | |
| ECMU-03-C-S 061-7268 | |
| ECMU-04-C 061-T1269 | |
| ECMU-04-C-S 061-726 | 9 |
Die Teile können etwas anders als in der Abbildung aussehen.

• Die Betondruckfestigkeit muss mindestens 3000 psi betragen. In Beton mit geringerer Druckfestigkeit kann der Betondübel u. U. nicht halten.
- Falls ein Sicherheitsseilsatz verwendet wird, muss er zu diesem Zeitpunkt installiert werden. Die Betondübel dürfen nicht entfernt und wieder eingesetzt werden. Hierdurch kann sich ihr Haltevermögen stark reduzieren.
• Das Drehmoment darf auf keinen Fall 47 Nm (35 ft. • lb) überschreiten.

Verwenden Sie die Deckenplatte (A) als Schablone, um acht Montagebohrungen an der Betondecke zu markieren. Bohren Sie acht Führungslöcher mit einem Durchmesser von 10 mm (3/8 Zoll) und einer Mindesttiefe von 76 mm (3 Zoll). Setzen Sie die Deckenplatte über die Montagebohrungen und befestigen Sie sie mit acht Betonspreizdübeln (C) wie unten dargestellt. Ziehen Sie alle Befestigungsteile an.
⚠️ ACHTUNG
- Betonspreizdübel müssen stets direkt am tragenden Beton angebracht werden.
- Betonspreizdübel dürfen auf keinen Fall an Beton befestigt werden, der mit Verputz, Trockenwandmaterial oder anderem Deckschichtmaterial bedeckt ist.

text_image
SCHNITTANSICHT
Bohren Sie Löcher mit einem Durchmesser von 10 mm (3/8 Zoll).

text_image
2 A CSetzen Sie die Deckenplatte (A) über die Bohrungen und befestigen Sie sie mit Betonspreizdübeln (C).

text_image
3Ziehen Sie alle Befestigungsteile an. Das maximale Drehmoment darf 47 Nm (40 ft. • lb) nicht überschreiten.
2
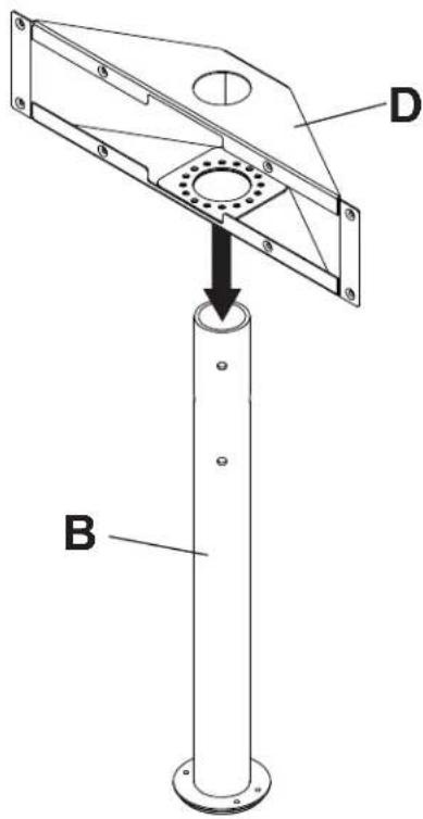
Setzen Sie die Adaptergehäuse (D) wie dargestellt auf die Stützsäule (B).

text_image
D B3
Deutsch
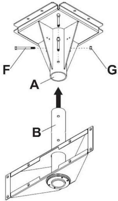
Führen Sie die Stützsäule (B) in die Deckeneinheit (A) ein. Richten Sie die Bohrungen der Stützsäule an den Bohrungen der Deckeneinheit aus und befestigen Sie die Säule mit drei 7/16 x 4 Zoll Schrauben (F) und drei 7/16 Zoll Muttern (G) wie dargestellt.

text_image
F A G B4
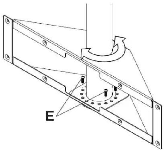
Stellen Sie die Kippvorrichtung wie dargestellt auf die gewünschte Stellung ein. Befestigen Sie die Adaptergehäuse mithilfe eines 3/16 Zoll Inbusschlüssels wie dargestellt mit vier 1 Zoll Inbusschrauben (E) an der Stützsäule.

text_image
E5
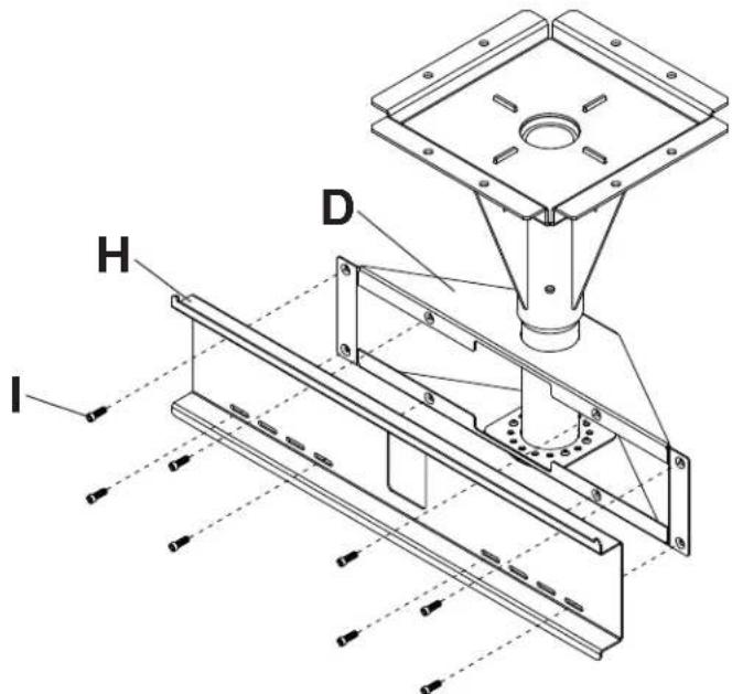
Bringen Sie die Adapterplatte (H) wie dargestellt mithilfe eines 5/32 Zoll Inbusschlüssels mit acht 3/4 Zoll Schrauben (I) an der Adaptergehäuse (D) an.

Anbringung von Adapterhalterungen
⚠️ ACHTUNG
- Ziehen Sie die Schrauben so an, dass die Adapterhalterungen sicher befestigt sind. Ziehen Sie die Schrauben nicht zu fest an. Durch die beim Überdrehen entstehende Spannung können die Schrauben beschädigt werden, was ihr Haltevermögen stark reduziert und möglicherweise dazu führen kann, dass die Schraubenköpfe sich lösen. Das maximale Drehmoment zum Festziehen der Schrauben darf 40 in • lb (4,5 Nm) nicht überschreiten.
- Sind die Schrauben nicht um drei volle Umdrehungen in die Löcher des Bildschirms eingeschraubt oder stoßen sie unten an und die Halterung ist noch immer nicht sicher befestigt, kann der Bildschirm beschädigt werden oder das Produkt kann versagen.

Legen Sie ein Tuch auf eine flache, ebene Oberfläche, die das Gewicht des Bildschirms tragen kann, damit der Bildschirm nicht zerkratzt wird. Legen Sie den Bildschirm mit der Vorderseite nach unten ab. Falls der Bildschirm über Knöpfe auf der Rückseite verfügt, so müssen diese entfernt werden, damit die Adapterhaltungen befestigt werden können. Befestigen Sie die Adapterhalterungen (J,K) unter Verwendung der entsprechenden in Rückseite mit Schritt 6-1 fort dargestellten Kombination aus Schrauben, Mehrlochschrauben und Abstandhalter an der Bildschirmrückseite.
HINWEIS: Es müssen stets die oberen und unteren Bohrungen am Bildschirm verwendet werden.
HINWEIS: Achten Sie darauf, dass die Kipphalterungen wie unten dargestellt mit der Neigungseinstellungsschraube nach außen weisend angebracht werden. Achten Sie darauf, dass alle Bohrungen korrekt ausgerichtet sind und ziehen Sie dann die Schrauben mit einem Inbusschlüssel 4 mm (L) an.

text_image
HINWEIS: Die "X"-abstände müssen identisch sein ZENTRUM KLAMMERN SENKRECHT AUF DER RÜCKSEITE DES BILDSCHIRMS NEIGUNGSEINSTEL- LUNGSSCHRAUBE J K X X
Beginnen Sie mit der längeren Schraube und schrauben Sie diese in der unten abgebildeten Reihenfolge von Hand durch die scheibe, die Adapterhalterung und den Abstandhalter in den Bildschirm. Die Schraube muss sich um mindestens drei volle Umdrehungen in die Montagebohrung drehen lassen und gut festsitzen. Nicht zu stark anziehen. Wählen Sie eine längere Schraube aus dem Befestigungsteilesortiment, wenn sich die Schraube nicht um drei volle Umdrehungen in den Bildschirm schrauben lässt. Wiederholen Sie diesen Schritt bei den übrigen Montagebohrungen, richten Sie die Halterungen waagerecht aus und ziehen Sie die Schrauben an.

text_image
BILDSCHIRM SCHEIBE SCHRAUBE KIPPHALTERUNG (J,K)Anbringung und Abnahme des Flachbildschirms
Deutsch
⚠️ ACHTUNG
- Ziehen Sie immer eine zusätzliche Person heran oder verwenden Sie mechanische Hebegeräte, um den Flachbildschirm sicher zu heben und zu positionieren.
- Ziehen Sie die Schrauben so an, dass die Adapterhalterungen sicher befestigt sind. Ziehen Sie die Schrauben nicht zu fest an. Durch die beim Überdrehen entstehende Spannung können die Schrauben beschädigt werden, was ihr Haltevermögen stark reduziert und möglicherweise dazu führen kann, dass die Schraubenköpfe sich lösen. Das maximale Drehmoment zum Festziehen der Schrauben darf 40 in • Ib (4,5 Nm) nicht überschreiten.
- Achten Sie darauf, dass Sie die Finger nicht einklemmen, wenn der Halter von der Wand weg gezogen bzw. zu ihr hin geschoben wird.

Anbringung des Bildschirms: Haken Sie die Kipphalterungen (J,K) an der Adapterplatte (H) ein und schwenken Sie den Bildschirm wie in Abbildung 7.1 dargestellt nach innen. HINWEIS: Falls sich die Sicherheitsklemme nicht an der Adapterplattenunterseite vorbeiführen lässt, lösen Sie die Sicherheitsschraube mit einem Inbusschlüssel (L). Die Haken der Kipphalterungen müssen ganz in die Adapterplatte eingreifen wie in Detailansicht 1 dargestellt. Ziehen Sie die Sicherheitsschraube mit einem Inbusschlüssel (L) an, bis die Sicherheitsklemme fest an der Unterseite der Adapterplatte anliegt.
HINWEIS: Vergewissern Sie sich, dass die Sicherheitsklemme sicher an der Adapterplattenunterseite befestigt ist wie in Detailansicht 2 dargestellt.
Entfernung des Bildschirms: Lösen Sie die Sicherheitsschraube von der Sicherheitsklemme, bis der Bildschirm sich ungehindert schwenken lässt, und heben Sie den Bildschirm vom Halter ab.
Bildschirmeinstellung: Der Bildschirm kann horizontal verstellt werden, indem die Sicherheitsschraube mit einem Inbusschlüssel (L) um drei volle Umdrehungen gelöst wird. Stellen Sie den Bildschirm wie in Abbildung 7.2 dargestellt ein. Ziehen Sie die Sicherheitsschraube an.
Einstellung des Neigungswinkels des Flachbildschirms

HINWEIS: Auswahl und Einstellung der Neigungsstellung sind möglicherweise einfacher, wenn sie vor der Anbringung des Bildschirms am Wandhalter erfolgen.
INCRELOK™: Der Bildschirm kann in voreingestellten Neigungsstellungen von -5°, 0°, 5°, 10° oder 15° arretiert werden. Machen Sie die Neigungsstellungsbohrung mit Hilfe der Fixierungsbohrung ausfi ndig und neigen Sie den Bildschirm, um die Bohrungen aneinander auszurichten. Ziehen Sie die IncreLok™-Neigungsschrauben an beiden Kipphalterungen an wie in Detailansicht 3 dargestellt.
Ziehen Sie die Sicherungsschraube an, um die Neigungsstellung zu arretieren.

text_image
J,K DETAILANSICHT 1 H SICHERHEITS- SCHRAUBE SICHERHEITS- KLEMME DETAILANSICHT 2 Abbildung 7.1
text_image
Abbildung 7.2 INCRELOK™- NEIGUNGSSCHRAUBEN FIXIERUNGS- BOHRUNG NEIGUNGSSTEL- RATSCHENGRIFF LUNGSBOHRUNGEN SICHERUNGS- SCHRAUBE DETAILANSICHT 3 Abbildung 8.1LIMITED FIVE-YEAR WARRANTY
Peerless Industries Inc. gewährleistet auf Produkte, die von Peerless hergestellt oder geliefert werden, eine Garantiefrist von fünf Jahren. Die Frist beginnt mit dem Datum des Produktverkaufs an den ursprünglichen Verbraucher; sie gilt jedoch in keinem Fall länger als sechs Jahre nach Herstellungsdatum des Produkts. Während der Garantiefrist weisen solche Produkte keine Material- oder Verarbeitungsfehler auf, vorausgesetzt, sie werden gemäß den Anweisungen von Peerless Industries Inc. installiert und verwendet. Vorbehaltlich der einschlägigen rechtlichen Verpflichtungen repariert oder ersetzt Peerless während der Garantiefrist ein Produkt, das dieser Garantie nicht entspricht, oder erstattet den Kaufpreis dafür.
Andere gesetzlich vorgeschriebene Garantien, die auf solche Produkte zutreffen können, sind in ihrer Dauer ebenfalls auf die Frist beschränkt, die in dieser beschränkten fünfjährigen Garantie festgelegt ist.
Diese Garantie gilt nicht bei Schäden, die aufgrund folgender Ursachen entstanden: (a) Wartung oder Reparatur durch den Kunden oder einer Person, die nicht von Peerless Industries Inc. für die Durchführung solcher Wartungs- oder Reparaturarbeiten autorisiert wurde, (b) Nichtverwendung von geeigneter Verpackung bei der Rücksendung des Produkts, (c) falsche Installation oder Nichtbefolgung bzw. Nichtbeachtung von Peerless-Anweisungen oder -Warnhinweisen bei der Installation, Verwendung oder Lagerung des Produkts oder (d) Missbrauch oder Unfall, während des Transports oder anderweitig, einschließlich Handlungen Dritter und höherer Gewalt.
Auf keinen Fall haftet Peerless für Neben- oder Folgeschäden oder für Schäden, die aus dem Diebstahl eines Produkts entstehen, unabhängig davon, ob das Produkt durch eine mitgelieferte Sicherheitsvorrichtung gesichert war oder nicht.
Diese beschränkte fünfjährige Garantie gilt anstelle von allen anderen ausdrücklichen oder stillschweigenden Garantien und ist das alleinige Rechtsmittel bei Produktdefekten. Kein Einzel-, Vertrags- oder Vertriebshändler und keine mit der Installation beauftragte oder sonstige Person ist befugt, diese Garantie zu ändern oder zu verlängern oder Peerless irgendwelche Verpflichtungen in Zusammenhang mit einem von Peerless hergestellten oder gelieferten Produkt aufzuerlegen.
Diese Garantie verleiht Ihnen bestimmte gesetzliche Rechte, und Sie verfügen u. U. über weitere Rechte unter der nationalen Gesetzgebung des Landes, in dem dieses Produkt erworben wurde.

Ein Jahr begrenzte Garantie auf Korrosion.

EinfachAnleitung