ECMU02C - Flachbildschirmhalterung Peerless-AV - Kostenlose Bedienungsanleitung
Finden Sie kostenlos die Bedienungsanleitung des Geräts ECMU02C Peerless-AV als PDF.
Benutzerfragen zu ECMU02C Peerless-AV
0 Frage zu diesem Gerät. Beantworten Sie die, die Sie kennen, oder stellen Sie Ihre eigene.
Eine neue Frage zu diesem Gerät stellen
Laden Sie die Anleitung für Ihr Flachbildschirmhalterung kostenlos im PDF-Format! Finden Sie Ihr Handbuch ECMU02C - Peerless-AV und nehmen Sie Ihr elektronisches Gerät wieder in die Hand. Auf dieser Seite sind alle Dokumente veröffentlicht, die für die Verwendung Ihres Geräts notwendig sind. ECMU02C von der Marke Peerless-AV.
BEDIENUNGSANLEITUNG ECMU02C Peerless-AV
Anbringung und Zusammenbau:
Beurteilung von konkreten Deckenmontage Wind Neigung für 32 "- 65" Flachbildschirm im Freien
Modelle: ECMU-01-C, ECMU-01-C-S, ECMU-02-C, ECMU-02-C-S
ECMU-03-C, ECMU-03-C-S, ECMU-04-C, ECMU-04-C-S



Maximale Tragfähigkeit pro UL: 200 lb (90.7 kg)
Maximale Windbelastbarkeit: 90 mph, Höhe 200 ft (60m), Kategorie "D"
HINWEIS: Lesen Sie die gesamte Anleitung, bevor Sie mit der Anbringung und dem Zusammenbau beginnen.
ACHTUNG
- Beginnen Sie mit der Anbringung Ihres Peerless-Produkst erst, nachdem Sie die in dieser Montageanleitung enthaltenen Anleitungen und Achtungshinweise gelesen und sich gründlich mit ihren vertraut gemacht haben. Falls Sie Fragen hinsichtlich irgendereiner der Anleitungen oder Achtungshinweise haben, wenden Sie sich in den USAitte an den Peerless-Kundendienst unter der Rufnummer 1-800-865-2112. Kunden im Ausland wenden sichitte an den ortlichen Vertragshandler.
- Dieses Produktarfur von Personen mit gutemechanischen Fähigkeiten montiert werden, die über Erfahrung in den Grundlagen der Baukonstruktion verfugten und diese Anleitungen vollkommen verstehen.
- Aufgrund der im Freien herrschenden Bedingungen wie Windboen, starker Schneefall, Hagel, Regen, usw. müssen das Schutzgehäuse und die zugehörigen Teile wie Halter, Verlängerungsrohr und Befestigungsteile mindestensomal im Jahr sowie unmittelbar nach dem Auftreten von Windgeschwindigkeiten über 145km / h (90 Meilen/Stunde) untersucht werden. Ein quali zierner Monteur oder Prüfer muss die Teile auf Anzeichen von Rost, losen Befestigungsteilen, verbogenem Metall usw. untersuchen. Werden übermäßiger Verschleif, Abnutzung oder unsichere Bedingungen festgestellt, muss diese Produkt sofort außer Betrieb genommen werden.itte wenden Sie sich bei Fragen an den Kundendienst.
- Vergewissern Sie sich, dass die tragende Fläche das Gesamtgewicht der Geräte und allen daran angebrachten Befestigungsteilen und Komponenten safer tragen kann.
Die maximale Tragfähigkeit pro UL darf niemals überschritten werden. Siehe Seite 22. - Achten Sie bei der Anbringung an Holzständern daraufuf, dass die Befestigungsschrauben jeweils in der Mitte der Holzständer verankert sind. Am besten eignet sich ein Balkenf nder mit genauer Kantenanzeige.
- Ziehen Sie immer eine zusätzliche Person heran oder verwenden Sie mechanische Hebegeräte, um Geräte sich zu haben und zu positionieren.
Ziehen Sie die Schrauben fest an, ohne sie zu überdrehen. Durch Überdrehen können die Teile beschädigt werden, wodurch ihr Haltevermögen stark reduziert wird. - Dieses Produkt wurde für den Einsatz mit anderen im Freien-Produkten konzipiert.
- Dieses Produkt wurde nur für die Anbringung an den folgenden Wandkonstruktionen ausgelegt:
WANDKONSTRUKTION
ERFORDERLICHE
BEFESTIGUNGSTEILE
Massivbeton
Inbegriffen
Andere oder nicht sicher?
Qualifi zierten fachmann konsultieren
Für den Zusammenbau erforderliche Werkzeuge
- Kreuzschlitzschraubendreher, Inbusschlüssel 3/16"
Bohrer
3/8 Zoll (10 mm) Bit für Beton- und Porenbetonsteinwand - Wasserwaage
Inhaltsverzeichnis
Teileliste 24
Anbringung an Massivbeton 25
Anbringung von Adapterhalterungen 27
Anbringung des Flachbildschirms an der Adapterplatte 28
Vergewisern Sie sich vor Beginn der Arbeiten, dass alle dargestellen Teile mit Ihrem Produkt mitgeliefert wurden.
| Teileliste | ECMU-01-C | ECMU-01-C-S | |
| ECMU-02-C | ECMU-02-C-S | ||
| ECMU-03-C | ECMU-03-C-S | ||
| ECMU-04-C | ECMU-04-C-S | ||
| Beschreibung Anz. Teile Nr. Teile Nr. | Modelle Nr. Teile Nr. | ||
| A | Deckenplatte | 1 | 061-T1306 061-7306 |
| B | Stützsäule | 1 | see chart see chart |
| C | Betonspreizübeln | 8 | 5M9-381-H03 5M9-381-H03 |
| D | Adaplergebnisse | 1 | 061-T1264 061-7264 ECMU-02-C-S |
| E | 1 Zoll Inbusschrauben 4 520-5035 520-5035 | ECMU-03-C | 061-T1268 |
| F | 7/16 x 4 Zoll Schrauben 3 | 520-5014 | 520-5014 |
| G | 7/16 Zoll Mutterm | 3 | 530-5003 530-5003 |
| H | Adapterplatte | 1 | 061-T125 8 061-7258 |
| I | 3/4 Zoll Inbusschrauben | 8 | 520-5034 520-5034 |
| J | Kipphalterungen links | 1 | 061-T1383 061-7383 |
| K | Kipphalterungenrecht | 1 | 061-T1382 061-7382 |
| L | Inbusschlüssel 4 mm | 1 | 560-9646 560-9646 |
| M | Schrauben M6 x 12 mm | 4 | 520-5023 520-5023 |
| N | Schrauben M6 x 25 mm | 4 | 520-5024 520-5024 |
| O | Schrauben M8 x 15 mm | 4 | 520-5026 520-5026 |
| P | Schrauben M6 x 20 mm | 4 | 520-5025 520-5025 |
| Q | Schrauben M8 x 25 mm | 4 | 520-5027 520-5027 |
| R | Scheibe | 4 | 540-501 4 540-5014 |
| Stützsäule (B) | |
| ECMU-01-C 061-T1266 | |
| ECMU-01-C-S 061-7266 | |
| ECMU-02-C 061-T1267 | |
| €1-7267 | |
| ECMU-03-C-S 061-7268 | |
| ECMU-04-C 061-T1269 | |
| ECMU-04-C-S 061-726 | 9 |
Die Teile konnen etwas anders als in der Abbildung aussehen.

ACHTUNG
Die Betondruckfestigkeit muss mindestens 3000 psi betragen. In Beton mit geringerer Druckfestigkeit kann der Betondüber u. U. nicht halten.
- Falls ein Sicherheitsseilsatz verwendet wird, muss er zu dieser Zeitpunkt installiert werden. Die Betondübel dürfen nicht entwickel und wieder eingesetzt werden. Hierdurch kann sich ihr Haltevermögen stark reduzieren.
- Das Drehmoment darauf auf keinen Fall 47 Nm (35 ft. • lb) überschreiben.

Verwenden Sie die Deckenplatte (A) als Schablone, um acht Montagebohrungen an der Betondecke zu markieren. Bohren Sie acht Führungslocher mit einem Durchmesser von 10 mm (3/8 Zoll) und einer Mindesttiefe von 76 mm (3 Zoll). Setzen Sie die Deckenplatte über die Montagebohrungen und befestigen Sie sie mit acht Betonspreizdübeln (C) wie unter dargestellt. Ziehen Sie alle Befestigungsteile an.
ACHTUNG
- Betonspreizdüb mel müssen stets direkt am tragenden Beton angebracht werden.
- Betonspreizübel)dürfen auf keine Fall an Beton befestigt werden, der mit Verputz, Trockenwandmaterial oder anderen Deckschichtmaterial bedeckt ist.



Bohren Sie Locher mit einem Durchmesser von 10 mm (3/8 Zoll).

Setzen Sie die Deckenplatte (A) über die Bohrungen und befestigen Sie sie mit Betonspreizdubeln (C).

Ziehen Sie alle Befestigungsteile an. Das maximale Drehmoment darf 47 Nm (40 ft. · Ib) nicht überschreiben.

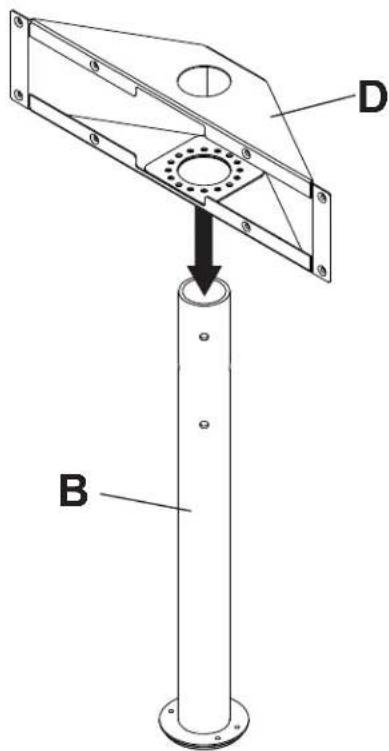
Setzen Sie die Adaptergebnisse (D) wie dargestellt auf die Stützsäule (B).

Deutsch
Fuhren Sie die Stützsäule (B) in die Deckeneinheit (A) ein. Richten Sie die Bohrungen der Stützsäule an den Bohrungen der Deckeneinheit aus und befestigen Sie die Säule mit drei 7/16 x 4 Zoll Schrauben (F) und drei 7/16 Zoll Muttern (G) wie dargestellt.


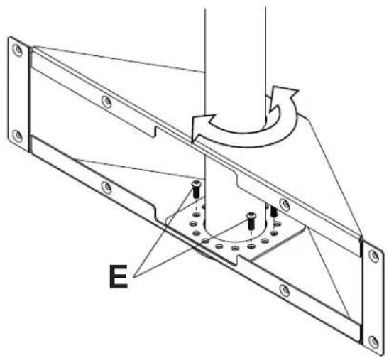
Stellen Sie die Kippvorrichtung wie dargestellt auf die gewünschte Stellung ein. Befestigen Sie die Adaptergehause mithilfe eines 3/16 Zoll Inbusschlüssels wie dargestellt mit vier 1 Zoll Inbusschrauben (E) an der Stützsäule.


Bringen Sie die Adapterplatte (H) wie dargestellt mithilfe eines 5/32 Zoll Inbusschlüssels mit acht 3/4 Zoll Schrauben (I) an der Adaptergehause (D) an.

Anbringung von Adapterhalterungen
ACHTUNG
- Ziehen Sie die Schrauben so an, dass die Adapterhalterungen sich befestigt sind. Ziehen Sie die Schrauben nicht zu fest an. Durch die beim Überdrehen entstehende Spannung können die Schrauben beschädigt werden, was ihr Haltevermögen stark reduziert und möglicherweise dazu führen kann, dass die Schraubenköffe sich losen. Das maximale Drehmoment zum Festziehen der Schrauben darf 40 in - lb (4,5 Nm) nicht überschreiben.
- Sind die Schrauben nicht um drei volle Umdrehungen in die LÖcher des Bildschirms eingeschraubt oder stoffen sie unter an und die Halterung ist noch immer nicht sichere befestigt, kann der Bildschirm beschädigt werden oder das Produkt kann versagen.

Legen Sie ein Tuch auf eine flache, ebene Oberfläche, die das Gewicht des Bildschirms tragen kann, damit der Bildschirm nicht zerkratz wird. Legen Sie den Bildschirm mit der Vorderseite nach unten ab. Falls der Bildschirm über Knöfte auf der Rückseite verfügt, so müssen diese entfern werden, damit die Adapterhaltungen befestigt werden können. Befestigen Sie die Adapterhalterungen (J,K) unter Verwendung der entsprechenden in Rück-nde mit Schritt 6-1 fort dargestelltien Kombination aus Schrauben, Mehrlochschrauben und Abstandhalter an der Bildschirmrückseite.
HINWEIS: Es müssen stets die oberen und unteren Bohrungen am Bildschirm verwendet werden.
HINWEIS: Achten Sie daraufuf, dass die Kipphalterungen wie unter dargestellt mit der Neigungseinstellungsschraube nach außen weisend angebracht werden. Achten Sie daraufuf, dass alle Bohrungen korrekt ausgerichtet sind undziehen Sie dann die Schrauben mit einem Inbusschluss 4 mm (L) an.


Beginnen Sie mit der längeren Schraube und schrauben Sie diese in der unter abgebildeten Reihenfolge von Hand durch die scheibe, die Adapterhalterung und den Abstandhalter in den Bildschirm. Die Schraube muss sich um mindestens drei volle Umdrehungen in die Montagebohrung drehen setzen und gut festsitzen. Nicht zu stark anziehen. Wahlen Sie eine langere Schraube aus dem Befestigungsteilesortiment, wenn sich die Schraube nicht um drei volle Umdrehungen in den Bildschirm schrauben latent. Wiederholen Sie diesen Schritt bei den übrigen Montagebohrungen, richten Sie die Halterungen waagerecht aus undziehen Sie die Schrauben an.

Anbringung und Abnahme des Flachbildschirms
ACHTUNG
- Ziehen Sie immer eine zusätzliche Person heran oder verwenden Sie mechanische Hebegeräte, um den Flachbildschirm sicher zu haben und zu positionieren.
- Ziehen Sie die Schrauben so an, dass die Adapterhalterungen sich berfestigt sind. Ziehen Sie die Schrauben nicht zu fest an. Durch die beim Überdrehen entstehende Spannung konnen die Schrauben beschädigt werden, was ihr Haltevermögen stark reduziert und möglichwerweise dazu führen kann, dass die Schraubenköffe sich losen. Das maximale Drehmoment zum Festziehen der Schrauben darf 40 in - Ib (4,5 Nm) nicht überschreiben.
- Achten Sie darauf, dass Sie die Finger nicht einklemmen, wenn der Halter von der Wand weg gezogen bzw. zu ihr hin geschoben wird.

Anbringung des Bildschirms: Haken Sie die Kipphalterungen (J,K) an der Adapterplatte (H) ein und schwenken Sie den Bildschirm wie in Abbildung 7.1 dargestellt nachinnen. HINWEIS: Falls sich die Sicherheitsklemme nicht an der Adapterplattenunterseite vorbeiführen lasst, lösen Sie die Sicherheitsschraube mit einem Inbusschlüssel (L). Die Haken der Kipphalterungen müssen ganz in die Adapterplatte eingreifen wie in Detailansicht 1 dargestellt. Ziehen Sie die Sicherheitsschraube mit einem Inbusschlüssel (L) an, bis die Sicherheitsklemme fest an der Unterseite der Adapterplatte anliegt.
HINWEIS: Vergewissern Sie sich, dass die Sicherheitsklemme sich an der Adapterplattenunterseite befestigt ist wie in Detailansicht 2 dargestellt.
Entfernung des Bildschirms: Losen Sie die Sicherheitssschraube von der Sicherheitsklemme, bis der Bildschirm sich ungehindert schwenken lasst, und haben Sie den Bildschirm vom Halter ab.
Bildschirmeinstellung: Der Bildschirm kann horizontal verstellten werden, indem die Sicherheitsschaube mit einem Inbusschluss (L) um drei volte Umdrehungen gelost wird. Stellen Sie den Bildschirm wie in Abbildung 7.2 dargestellt ein. Ziehen Sie die Sicherheitsschaube an.
Einstellung des Neigungswinkels des Flachbildschirms

HINWEIS: Auswahl und Einstellung der Neigungsstellung sind möglichweise einfacher, wenn sie vor der Anbringung des Bildschirms am Wandhalter erfolgen.
INCRELOKTM: Der Bildschirm kann in voreingestellen Neigungsstellungen von -5^ 0^, 5^, 10^ oder 15^ arretiert werden. Machen Sie die Neigungsstellungsbohrung mit Hilfe der Fixierungsbohrung ausfi ndig und neigen Sie den Bildschirm, um die Bohrungen aneinander aussurichten. Ziehen Sie die IncreLokTM-Neigungsschrauben an beiden Kipphalterungen an wie in Detailansicht 3 dargestellt.
Ziehen Sie die Sicherungsschraube an, um die Neigungsstellung zu arretieren.



Abbildung 7.2
LIMITED FIVE-YEAR WARRANTY
Peerless Industries Inc. gewährleistet auf Produkte, die von Peerless hergestellt oder gefelwert werden, eine Garantiefrist von füll Jahren. Die Frist beginnnt mit dem Datum des Produktverkaufs an den ursprünglichen Verbraucher; sie gilt jedoch in keinem Fall länger als sechs Jahre nach Herstellungsdatum des Produkts. Während der Garantiefrist weisen solche Produkte keine Material- oder Verarbeitungsfehler auf, vorausgesetzt, sie werden gemäß den Anweisungen von Peerless Industries Inc. installiert und verwendet. Vorbehaltlich der einschlädigen rechtlichen Verpflichtungen repariert oder ersetzt Peerless während der Garantiefrist ein Produkt, das dieser Garantie nicht entspricht, oder erstattet den Kaufpreis davon.
Andere gesetzlich vorgeschriebene Garantien, die auf solche Produkte zuteffen konnen, sind in ihrer Dauer ebenfaufs auf die Frist beschränkt, die in dieser beschränkten fülfährigen Garantie festgelegt ist.
These Garantie gittn be Schaden, die aufgrund folgender Ursachen entstanden: (a) Wartung oder Reparatur durch den Kunde oder einer Person, die nicht von Peerless Industries Inc. fur die Durchführung solcher Wartungs- oder Reparaturarbeitungen autorisiert wurde, (b) Nichtverwendung von geeigneter Verpackung bei der Rucksendung des Produkts, (c) falsche Installation oder Nichtbefolgung bzw. Nichtbeachtung von Peerless-Anweisungen oder -Warhinweisen bei der Installation, Verwendung oder Lagerung des Produkts oder (d) Missbrauch oder Unfall, während des Transports oder anderweitig, einschließlich Handlungen Dritter und higherer Gewalt.
Auf keinen Fall haftet Peerless fur Neben- oder Folgeschäden oder fur Schaden, die aus dem Diebstahl eines Produkts entstehen, unabhängig davon, ob das Produkt durch eine mitgelieferte Sicherheitsvorrichtung gesichert war oder nicht.
Dre beschränktne füllfahrige Garantie gilt anstelle von allen anderen ausdrucklichen oder stillschweigenden Garantien und ist das alleinige Rechtsmittel bei Produktdefekten. Kein Einzel-, Vertrags- oder Vertriebshandl und keine mit der Installation beauftragte oder sonstige Person ist beguft, diese Garantie zu änder oder zu verlangern or Peerless ergendweiche Verpflichtungen in Zusammenhang mit einem von Peerless hergestellen oder gelieferten Produkt aufzuerlagen.
These Garantie verleht Ihnen bestimmte gesetzliche Rechte, und Sie verfügen u. U. über weitere Rechte unter der nationalen Gesetzgebung des Landes, in dem dasgesuetd erworben wurde.

Ein Jahr begrenzte Garantie auf Korrosion.

EinfachAnleitung