ECMU02C - Support écran plat Peerless-AV - Notice d'utilisation et mode d'emploi gratuit
Retrouvez gratuitement la notice de l'appareil ECMU02C Peerless-AV au format PDF.
| Caractéristiques | Détails |
|---|---|
| Type de produit | Support écran plat |
| Compatibilité | Compatible avec la plupart des écrans plats de 32" à 65" |
| Capacité de charge | Supporte jusqu'à 45 kg |
| Type de montage | Montage mural |
| Inclinaison | Inclinaison réglable pour un meilleur angle de vision |
| Dimensions du produit | Dimensions compactes pour un montage discret |
| Matériaux | Acier robuste pour une durabilité accrue |
| Installation | Installation simple avec tous les accessoires fournis |
| Maintenance | Vérification régulière des fixations recommandée |
| Sécurité | Conforme aux normes de sécurité pour le montage mural |
| Informations supplémentaires | Garantie limitée de 5 ans |
FOIRE AUX QUESTIONS - ECMU02C Peerless-AV
Questions des utilisateurs sur ECMU02C Peerless-AV
0 question sur cet appareil. Repondez a celles que vous connaissez ou posez la votre.
Poser une nouvelle question sur cet appareil
Téléchargez la notice de votre Support écran plat au format PDF gratuitement ! Retrouvez votre notice ECMU02C - Peerless-AV et reprennez votre appareil électronique en main. Sur cette page sont publiés tous les documents nécessaires à l'utilisation de votre appareil ECMU02C de la marque Peerless-AV.
MODE D'EMPLOI ECMU02C Peerless-AV
Installation et montage:
Évaluation de plafond en béton du vent inclinaison demontage pour 32 "- 65" écrans plats en plein air
Modèle: ECMU-01-C, ECMU-01-C-S, ECMU-02-C, ECMU-02-C-S ECMU-03-C, ECMU-03-C-S, ECMU-04-C, ECMU-04-C-S

Capacité de Charge Maximale par UL: 200 lb (90.7 kg)
Degre max de resistance au vent : 90 mph, altitude 200 ft (60m), Categore "D"
REMARQUE: lisez entiement la fiche d'instructions avant de commencer l'installation et l'assemblage.
A VERTISSEMENT
- Ne commence pas à installerer votre produit Peerless avant d'avoir lu et assimilé les instructions et les averissements contenus dans cette fi che d'installation. Pour toute question concernant les instructions ou les averissements, veuillez appeler le service à la clientèle de Peerless au 1-800-865-2112; tous les clients internationaux sont priés de contacter leur distributeur local.
- Ce produit doit être installé uniquement par quelqu'un possédant une bonne aptitude à la mécanique, une expérience de la construction immobilière et ayant bien compris ces instructions.
- En raison des conditions de température extérieure telles que vents forts, neige abondante, grêle, pluie, etc. l'enceinte de protection, ainsi que son support, son tube de rallonge et ses pieces de fi xation, doivent être inspectés au moins une fois par année et immédiatement après des vents de plus de 90 mi/h (145 km/h) Un instituteur ou un inspecteur qualifié doit vérifi er les signes de rouille, de fi xations desserrées, de métal tordu, etc. Si l'inspection revèle une Usure excessive, une déterioration ou un danger quelconque, ce produit doit être mis hors service immédiatement. Pour toute question, veuillez vous adresser au service à la clientèle.
Assurez-vous que la surface de support puisse soutenir sans danger la charge totale de l'équipement ainsi que des pieces et composants qui y sont attachés. - Ne dépassez jamais la capacité de charge maximum par UL. Reportez-vous à la page 15.
- Lors d'une installation sur un mur à montants en bois, assurez-vous que les vis de montage sont ancrees au centre des montants. L'utilisation d'un localisateur de montants « bord à bord » est fortement recommandée.
- Pour lever et positionner l'équipment en toute sécurité, faites-vous toujours aider par une autre personne ou utilisez un dispositif de levage mécanique.
- Serrez fermement les vis, mais sans excès. Un serrage excessif peut endommager les composants et en réduire considérablement la capacité de support.
- Ce produit a eté concu pour être utilisé avec d'autres produits à l'extérieur uniquement.
- Ce produit a eté concu uniquement pour une installation sur les types de murs ci-dessous :
TYPE DE MUR PIECES DE FIXATION REQUISES
Béton plein Incluses
- Autre, ou vous n'êtes pas sur? Contacter un professionneliel qualifié é
Outils nécessaires au montage
- tournevis phillips, clé hexagonale 3/16"
- perceuse
- foret de 3/8 po (10 mm) pour les murs à block de béton
niveau
Tabla de contenido
Listedespiezas. 17
Installation sur du béton plein 18
Installation de support adaptatuers 20
Installation de I'ecran plat sur la plaque d'adaptation 21
Avant de commencer, veiliez à ce que toutes les pieces enumeratedes soient inclues.
| Liste des pièces | ECMU-01-C | ECMU-01-C-S | |
| ECMU-02-C | ECMU-02-C-S | ||
| ECMU-03-C | ECMU-03-C-S | ||
| ECMU-04-C | ECMU-04-C-S | ||
| Description Q'té Pièce n° Pièce n° Modèle n° Pièce n° | |||
| A | plaque de plafond | 1 | 061-T1306 061-7306 |
| B | support de colonne | 1 | see chart see chart |
| C | hevilles d'expansion pour béton 8 | 5M9-381-H03 5M9-381-H03 | |
| D | boitier adaptateur | 1 | 061-T1264 061-7264 ECMU-02-C-S |
| E | vis à tête creuse de 1 po | 4 | 520-5035 520-5035 |
| F | boulons de 7/16 x 4 po | 3 | 520-5014 520-5014 |
| G | écrous de 7/16 po | 3 | 530-5003 530-5003 |
| H | plaque d'adaptation | 1 | 061-T125 8 061-7258 |
| I | vis à tête creuse de 3/4 po | 8 | 520-5034 520-5034 |
| J | supports adaptateurs gauche | 1 | 061-T1383 061-7383 |
| K | supports adaptateurs droit | 1 | 061-T1382 061-7382 |
| L | clé hexagonale 4 mm | 1 | 560-9646 560-9646 |
| M | viz de M6 x 12 mm | 4 | 520-5023 520-5023 |
| N | viz de M6 x 25 mm | 4 | 520-5024 520-5024 |
| O | viz de M8 x 15 mm | 4 | 520-5026 520-5026 |
| P | viz de M6 x 20 mm | 4 | 520-5025 520-5025 |
| Q | viz de M8 x 25 mm | 4 | 520-5027 520-5027 |
| R | rondelle | 4 | 540-501 4 540-5014 |
| Support de Colonne (B) | |
| ECMU-01-C 061-T1266 | |
| ECMU-01-C-S 061-7266 | |
| ECMU-02-C 061-T1267 | |
| 61-7267 | |
| ECMU-03-C 061-T1268 | |
| ECMU-03-C-S 061-7268 | |
| ECMU-04-C 061-T1269 | |
| ECMU-04-C-S 061-726 9 |
Les pieces peuvent différer légarement de l'illustration.

A VERTISSEMENT
Le béton doit avoir une densité minimale de 3000 psi. Du béton de moindre densité risque de ne pas soutenir la cheville d'ancrage.
- Si un ensemble de cables de sécurité est utilisé, il faut l'insteller à ce stade. Ne pas-retirer et reinsérer les chevilles d'ancrage pour beton. Cela risque de réduire considérablement leur capacité de support.
- Ne serrez jamais à plus de 35 pi-lb (47 Nm).

Utilisez la plaque de plafond (A) comme gabarit pour marquer huit troughs de fixation sur le plafond en béton. Percez huit avant-trous de 3/8 po (10 mm) de dia. à une profondeur minimale de 3 po (76 mm). Placez la plaque de plafond sur les troughs de fixation et fixez-la à l'aide de huit chevilles d'expansion pour béton (C) comme illustré ci-dessous. Serrez toutes les fi xations.
AVERAGE
Fixez toujours des chevilles à expansion pour béton directement sur le béton porteur.
- Ne fi xez jamais des chevilles à expansion pour béton à du béton recouvert d'une couche de plâtre, d'une cloison sèche ou de tout autre matériel de finition.

YUEN COUPE


Percez des trous de 34 po (10 mm) de diamètre.

Placez la plaque de plafond (A) sur les trous et fi xez-la a l'aide des chevilles d'expansion pour beton (C).

Serrez toutes les fi xations. Serrez a un couple maximal de 35 pi-lb (47 Nm).
Français

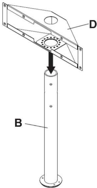
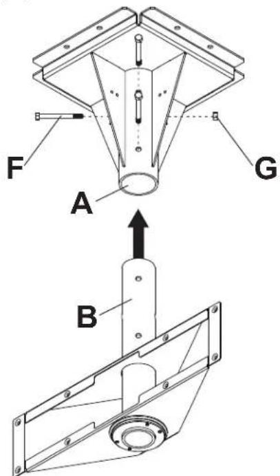
Placez le boîtier adaptateur (D) sur la colonne de support (B) comme illustré.


Insérez le support de colonne (B) dans l'assemblage de plafond (A). Alignez les trou des la colonne de support sur les trou de l'assemblage de plafond et fi xez-la à l'aide de trois boulons de 7/16 x 4 po (F) et de trois écrous de 7/16 po (G) comme illustré.


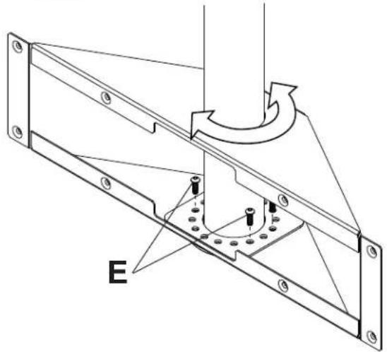
Réglez l'orientation à la position souhaitation comme illustré. Fixez le boitier adaptateur à la colonne de support avec quatre vis à tête creuse de 1 po (E) à l'aide d'une clé hexagonale de 3/16 po comme illustré.


Fixez la plaque d'adaptation (H) au boitier adaptateur (D) avec huit vis de 3/4 po (I) à l'aide d'une clé hexagonale de 5/32 po comme illustré.

Installation des supports adaptateurs
A VERTISSEMENT
- Serrez les vis de manière à fixer solidement les supports adaptateurs. N'employez pas une force excessive pour ce faire. Un serrage excessif peut cause des contraintes risquant d'endommager les vis, de réduire considérablement leur pouvoir de maintain et d'en détacher les têtes. Serrez les vis à un couple maximum de 4,5 Nm (40 po-lb).
Si les vis ne sont pas enforcées de trois tours complets dans les inserts ou si elles sont serrées au maximum sans parvenir à maintainir solidement le support, l'écran peut être abîme ou le produit déterioré.

Afi n d'éviter de rayer l'écran, posez un morceau de tissu sur une surface plane et de niveau qui peut supporter le poids de l'écran. Déposez l'écran à plat, tourné vers le bas. Si l'écran possède des boutons à l'arrière, enlevez les pour pouvoir attacher les supports adaptateurs. Placez les supports adaptateurs (J,K) à l'arrière de l'écran, alignez-les sur les trous et centrez-les sur l'arrière de l'écran, comme illustré ci-dessous. Fixez les supports adaptateurs à l'arrière de l'écran à l'aide des vis, rondelles et entroioises appropriées, comme illustré sur en el' étape 6-1.
REMARQUE: Les troussupérieurs et inférieurs de I'ecrandoivent always be used.
REMARQUE: Assurez-vous de fixer les supports inclinables de façon à ce que la vis de réglage de l'inclinaison soit tournée vers l'extérieur comme illustré ci-dessous.
Veillez à ce que tous les trouss soient bien alignés, puis serrez les vis à l'aide d'un clé hexagonale 4 mm (L).


Commencez par la vis la plus courte et vissez-la manuellement à l'écran en la faisant passer à travers la rondelle et le support inclinable, comme indiqué ci-dessous. La vis doit effectuer au moins trois tours complets dans le trou de fi xation et tener solidement en place. Ne pas trop serrer. S'il est impossible d'effectuer trois tours de vis complets,CHOISSEZ une vis plus longue dans le jeu de fi xations a compartments. Repetez pour le reste des trous de fi xations,mettez les supports a niveau et resserrez les vis.

Installation de l'écran Plat sur la Plaque d'adaptation
A VERTISSEMENT
- Pour lever et positionner l'écran plat en toute sécurité, faites-vous toujours aider par une autre personne ou utilisez un dispositif de levage mécanique.
- N'exerce pas une force excessive sur les vis. Un serrage excessif peut endommager le support. Serrez les vis à un couple maximal de 40 po-lb (4,5 Nm).
Veillez a ne pas vous pincer les doigts lorsque vous poussez I'ecran par le bas.

Montage de l'écran: Accrochez les supports inclinables (J,K) à la plaque d'adaptation (H) et faites pivoter l'écran vers l'intérieur comme illustré à la fi g. 7.1. REMARQUE: Si la pince de sécurité est en contact avec le bas de la plaque d'adaptation, desserrez la vis de sécurité à l'aide d'une clé hexagonale (L). Les crochets des supports inclinables doivent être complètement engagés dans la plaque d'adaptation comme illustré dans le dessin de détail 1. Serrez les vis de sécurité à l'aide d'une clé hexagonale (L) jusqu'à ce que la pince de sécurité soit fermement appuyée contre le bas de la plaque d'adaptation.
REMARQUE: Assurez-vous que la pince de sécurité est fi xée au bas de la plaque d'adaptation comme illustré dans le dessin de détail 2.
Retrait de l'écran : Desserrez la vis de sécurité de la pince de sécurité jusqu'à ce que l'écran puisse pivoter librement, puis soulevez l'écran hors du support.
Réglage de l'écran : L'écran peut être réglement horizontally en desserrant la vis de sécurité de trois tours complets à l'aide d'une clé hexagonale (L)
Réglez l'écran comme illustré à la fi gure 7.2. Serrez les vis de sécurité.
Réglage de l'inclinaison de l'écran Plat

REMARQUE: Il peut être plus facile de désir et de régler l'angle d'inclinaison avant de placer l'écran sur le support.
DISPOSITIF INCRELOK™: L'écran peut être bloqué à un angle d'inclinaison préréglement de -5°, 0°, 5°, 10° ou 15°. Utilisez le trou de positionnement pourTRAquer la position correcte et inclinez l'écran pour aligner les trous. Serrez les vis de blocage de l'inclinaison IncreLok™ sur les deux supports inclinables comme illustré le dessin de détaill 3.
Serrez les vis de blocage pour le verrouiller en position inclinee.



fi g 7.2
Peerless Industries, Inc., offre a garantie de cinq ans sur les produits fabriqués ou foumis par ses soins. Cette pereode commince a la date de vent du
produit au client d'origine, mais ne peut en aucun cas depasser de plus de six ans la date de fabrication. Pendant la pereode de garantie, les produits couverts
seront exempts de tout defaut materiel et de main d'oeuvre, des lors quils sont installes et utilisnes dans le respect des instructions de Peerless Industries, Inc.
Conformement aux dispositions legales applicables, Peerless reparera ou remplacera, ou rembourse r le prix d'achat de tout produit non conforme a cette
garantie pendant cette pereode.
Toute autre garantie obligatoire applicable a ces produits est également limite à la durée specifiée dans la presente Garantie de cinq ans.
Ct 105
Peerless ne saura en aucun cas etre tenue pour responsable de tout prejudice accidentel ou induit, ou de tout prejudice du au vol d'un produit, qu'il soit ou non protégé par un dispositif de sécurité eventulement fourni avec le produit.
Cette gntie de cinq ans remplace an annule tautre garantie, expesse ou impicite, et constitue le seul recours valable en cas de dysfonctionnement des produits. Aucun detaillant, revendeur, distributeur, installerer ou autre n'est autorise a modifier ou a prolonger cette garantie, ou a imposer une obligation queconque a Peerless lors de la vete de produits fabriqués ou foumis par Peerless.
Cetie gantie confere cens droits specifiques, mais dautres droits peuvent you etre conferes par la legislation du pays ou you avez achete le produit.

Garantie limite d'un an sur la corrosion.

Notice Facile