ECMU02C - Soporte para pantalla plana Peerless-AV - Manual de uso y guía de instrucciones gratis
Encuentra gratis el manual del aparato ECMU02C Peerless-AV en formato PDF.
Questions des utilisateurs sur ECMU02C Peerless-AV
0 question sur cet appareil. Repondez a celles que vous connaissez ou posez la votre.
Poser une nouvelle question sur cet appareil
Descarga las instrucciones para tu Soporte para pantalla plana en formato PDF gratis! Encuentra tus instrucciones ECMU02C - Peerless-AV y toma tu dispositivo electrónico nuevamente en la mano. En esta página están publicados todos los documentos necesarios para el uso de su dispositivo. ECMU02C de la marca Peerless-AV.
MANUAL DE USUARIO ECMU02C Peerless-AV
Instalación y Ensamblaje:
Viento clasifiado inclinación del techo de hormigón de montaje para 32" - 65" Muesra al aire libre de pantalla plana
Modelos: ECMU-01-C, ECMU-01-C-S, ECMU-02-C, ECMU-02-C-S ECMU-03-C, ECMU-03-C-S, ECMU-04-C, ECMU-04-C-S



Capacidad de Carga Maxima por UL: 200 lb (90.7 kg)
Clasifi cación maxima de viento: 90 mph, elevación 200 ft (60m), Categoría "D"
ADVERTENCIA
- No comience a instalar su producto de Peerless hasta haber leido y entendido las instruetiones y las advertencias contentsidas en la Hoja de Instalacion. Si tiene una pregunta acerca de在哪quiera de las instruetiones o las advertencias, por favor, llame a Servicio al Cliente de Peerless al 1-800-865-2112 si está en EE. UU. Si es un cliente internacional, por favor, comuniquese con su distribuidor local.
- Este produit solo de ser instalado por una persona que teng a una buena aptitud mecnica, que tenga experiencia en construccion basia de edifi cios y que entienda estas instrucciones en su totalidad.
- Debido a las conditiones ambientales de exterioros como fuertes rafagas de viento, nieve intensa, granizo, lluvia, etc. La caja ecologica, jusqu con su soporte, tubo de extension y tornilleria, se deben inspeccionar cuando menos una vez al ano e inmediamente despues de cualquier occasion en que los vientos exceedan de 90 mph. Un instalador o inspector califiadodehydepearaba revisar que no haya signos de corrosion, fi jadores sueltos, metal doblado, etc. Si hay senales de desgaste excessivo, deterioro oQUALquier condidcion insegura, inmediamente deben de retiring del serviceo este producto. Siiene algo suspensa, dirijase al serviceo a clients.
- Asegürese de que la superficie de apoyo sostendra, con seguridad, la energia y todos los fájadores y componentes.
- Nunca sobrepase la capacité maxima de soportar energia por UL. Vea la pagea 8.
- Si va a instalar el producto en una pared con montantes de madera, asegürese de que los tornillos de montaje estén anclados en el centro de los montantes. Se recomienda utiliser un localizador de montantes de "borde a borde".
- Siempre@cunte con la ayuda de un asistente o utilise un equipo mecánico de izar para levantar y colocar el equipo con mas seguidad.
- Apriete los tornillos con firmeza, pero no en excesso. Apretarlos en excesso pueda darar los articulos y poder disminuir significi cativamente su fuerza de fi jacion.
- Este produit fue diseñado para su uso con algunos produits al aire libre.
-
Este producto fue Diseñado para ser instalado en paredes con lasumae construeda solamente: CONSTRUCCION DE LA PARED ACCESORIOS NECESARIOS
-
Concreto macizo Incluido
- Otra superficie o no está seguro? Comuniquese con un professionnel califirado
Herramentas necessities para el ensamblaje
- destornillador phillips, Ilave Allen de 3/16"
- taladro
broca de 3 / 8" (10 mm) para paredes de concreto y de bloque de hormigón de escalarias
nivel
Contedio
Liesta de piezas. 10
Instalacion en una pared de concreto macizo 11
Instalacion de los soportes adaptadores 13
Instalacion y desinstalacion de la pantalla plana 14
Antes de comenzar, asegurese de que su producto contiene todas las piezas que se muestran.
| Descripción Cant. N° de pieza N° de pieza | ECMU-01-C | ECMU-01-C-S | |
| ECMU-02-C | ECMU-02-C-S | ||
| ECMU-03-C | ECMU-03-C-S | ||
| ECMU-04-C | ECMU-04-C-S | ||
| A placa de techo | 1 | 061-T1306 | 061-7306 |
| B columna de apoyo | 1 | see chart see chart | |
| C expansión para concreto | 8 | 5M9-381-H03 | 5M9-381-H03 |
| D caja adaptadora | 1 | 061-T1264 | 061-7264 ECMU-02-C-S |
| E tornillos de cabeza hueca de 1" | 4 | 520-5035 | 520-5035 |
| F pernos de 7/16" x 4" | 3 | 520-5014 | 520-5014 |
| G tuercas de 7/16" | 3 | 530-5003 | 530-5003 |
| H placada adaptadora | 1 | 061-T125 | 8 061-7258 |
| I tornillos de cabeza hueca de 3/4" | 8 | 520-5034 | 520-5034 |
| J soportes adaptadores izquierda | 1 | 061-T1383 | 061-7383 |
| K soportes adaptadores derecho | 1 | 061-T1382 | 061-7382 |
| L llave Allen de 4 mm | 1 | 560-9646 | 560-9646 |
| M tornillos de M6 x 12 mm | 4 | 520-5023 | 520-5023 |
| N tornillos de M6 x 25 mm | 4 | 520-5024 | 520-5024 |
| O tornillos de M8 x 15 mm | 4 | 520-5026 | 520-5026 |
| P tornillos de M6 x 20 mm | 4 | 520-502...5 | 520-5025 |
| Q tornillos de M8 x 25 mm | 4 | 520-5027 | 520-5027 |
| R arandela | 4 | 540-501 | 4 540-5014 |
| Columna de Apoyo (B) |
| ECMU-01-C 061-T1266 |
| ECMU-01-C-S 061-7266 |
| ECMU-02-C 061-T1267 |
| $1-7267 |
| ECMU-03-C 061-T1268 |
| ECMU-03-C-S 061-7268 |
| ECMU-04-C 061-T1269 |
| ECMU-04-C-S 061-726 9 |
Las piezas peuvent verse un poco-distintas a la ilustracion.

Instalación en una pared de Concreto Macizo
ADVERTENCIA
- Solo para fi jación en concreto macizo. Se deben usar los ocho anclajes de expansión para concreto.
- El instalador deben verifi car que la superfie cie de apoyo soporte con seguridla carga combinada del equipo y de toda la tornilleria y componentes adjunctos.
- Apriete a un máximo de 35 pies-lb (47 N·m) de par torsor.

Use la plac de techo (A) como plantilla para marcar ocho agujeros de montaje en el techo de concreto. Taladre ocho agujeros piloto de 3 / 8'' (10 mm) de diametro y微量元素 3'' (76 mm) de profundidad. Colque la plac de techo sobre los agujeros de montaje y fjela con ocho anclajes de expansión para concreto (C), como se muestra más adelante. Apriete todos los fi jadores.
ADVERTENCIA
- Siempre fi je los anclajes de expansión para concreto directamente en la pared que sostiene la energia.
- Nunca fi je los anclajes de expansión para concreto a una pared de concreto recubierta con yeso, yesocartón u otro material de acabado.




Taladre agujeros de 3 / 8" (10 mm) de diametro.
Coloque la placá de techo (A) sobre los agujeros y fjelá con anclajes de expansión para concreto (C)

Apriete todos los fijadores. Apriete a un maximo de 35 pies-lb (47 N·m) de par torsor.
Espanol

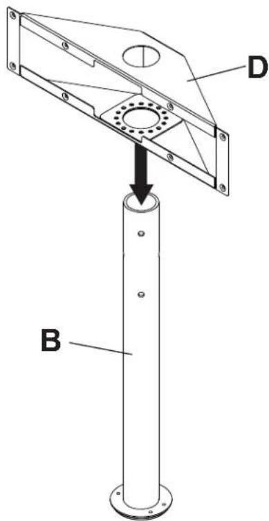
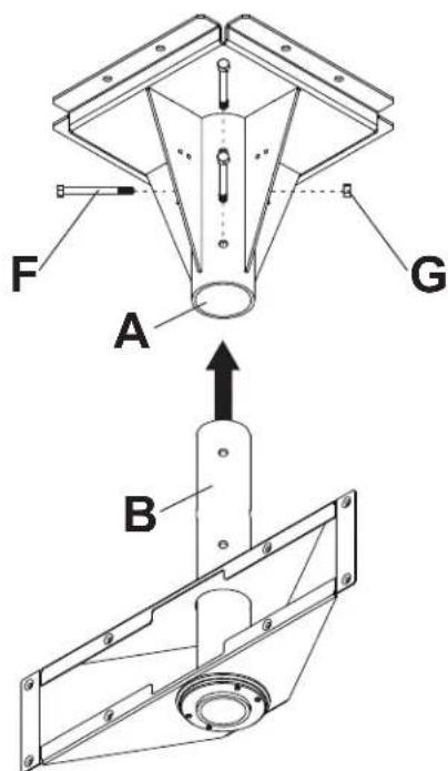
Coloque la caja adaptadora (D) en la columna de apoyo (B) como se muestra.


Inserte la columna de apoyo (B) en la unidad de techo (A). Alinee los agujeros de la columna de apoyo con los agujeros de la unidad de techo y fjelà con tres pernos de 7/16" x 4" (F) y tres tuercas de 7/16" (G) como se muestra.


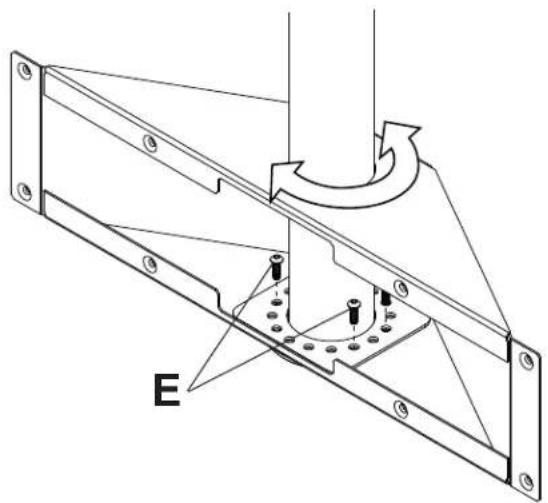
Ajuste el giro a la posicion deseada, como se muestra. Fije la caja adaptadora a la columna de apoyo con quatre tornillos de cabeza hueca de 1" (E) con una llave Allen de 3 / 16'' , como se muestra.

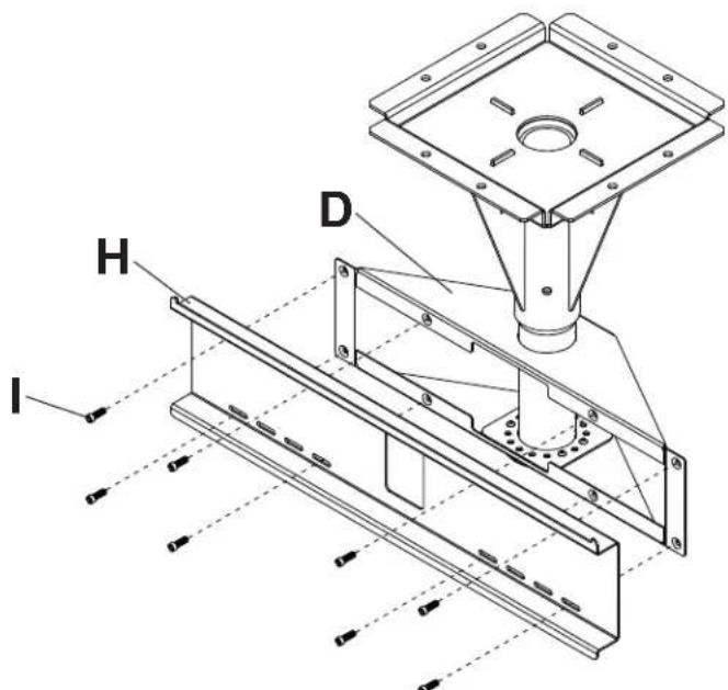
Fije la placap adaptadora (H) a la caja adaptadora (D) con ocho tornillos de 3 / 4'' (I) usinguna llave Allen de 5 / 32'' , como se muestra.


ADVERTENCIA
- Apriete los tornillos deforma que los soportes adaptadores se fijen con firmeza. No los apriete con fuerza excessiva. Apretar los tornillos en exceso peutecausearles daño por forzarlos y pueedismuir signifi cativamente su fuerza de fiacion y podria causar el desprendimiento de las cabezas de los tornillos. Apriete los tornillos a un maximo de 40 pulg-lb (4.5 N·m) de par torsor.
Si no se les da tres vueltas completas a los tornillos en los insertos de la pantalla o si los tornillos topan fondo y el soporte todas no está fi rme, se podra darar la pantalla o el producto podria no functionar bien.

Para no rayar la pantalla, colque un trapo sobre una superficie plana y nivelada que sostenga el peso de la pantalla. Colque la pantalla boca abajo. Si la pantalla Tiene perillas en la parte trasera, quiteselas para poder fi jar los soportes adaptadores. Fije los soportes adaptadores (J,K) en la parte trasera de la pantalla utilizingla combinacion adecuada de tornillos, arandelas multiples y espaciadores, como se muestra en el paso 6-1.
NOTA: Siempre se tiene que usar los agujeros superiores y los inferiores.
NOTE: Asegürese de fjar los soportes inclinables con los tornillos de ajuste de inclinación hacía afuera como se muestra abajo.
Verifi que que todos los agujeros estén debidamente alineados y bajo apriete los tornillos using una llave Allen de 4 mm (L).


Comience con uno de los tornillos más cortos, enrosoquelo, con la mano, a工程技术 de la arandela y el soporte adaptador a la parte posterior de la pantalla, como se muestra abajo. El tornillo debe dar, por lo menos, tres vueltas completas bajo del agujero de instalacion y debe quedar ajustado en su lugar. No apriete los tornillos en excesso. Si el tornillo no pueda dar tres vueltas completas al entrada en la parte posterior de la pantalla, seleccione un tornillo más largo de los sujetadores identificados y clasificados en las divisiones del empaque plástico. Siga elismo procedimiento con los agujeros de instalacion restantes, nivele los soportes y apriete los tornillos.

Instalación y desinstalación de la pantalla plana
ADVERTENCIA
- Siempre@cuede con un asistente o con un equipo mecancico de izar para levantar y colocar losTelevisores de pantalla plana con mas seguidad.
- No apriete los tornillos con fuerza excessiva. Apretarlos en exceso puede darar el soporte. Apriete los tornillos a un máximo de 40 pulg-lb (4.5 N·m) de par torsor.
- Tenga cuidado de no pincharse los dedos cuando empujé palanca de la pantalla por la parte inferior.

Montaje de la pantalla: Enganche los soportes inclinables (J,K) en la placadaptadora (H) y gire la pantalla hacia bajo, como se muestra en la fi gura 7.1. NOTA: Si el clip de seguridad no libra la parte inferior de la placadaptadora, afl oje el tornillo de seguridad con la llave Allen (L). Los ganchos de los soportes inclinables deben estarpletamente en la placadaptadora, como se muestra en el detalle 1. Apriete fi rmente el tornillo usinga una llave Allen (L) hasta que el clip de sécurité asiente fi rmente contra la parte inferior de la placadaptadora.
NOTA: Asegürese de que el clip de seguridad quede fi jo a la parte inferior de la placadaptadora, como se muestra en el detalle 2.
Retirar la pantalla: Afl oje el tornillo de seguridad del clip de sécurité hasta que la pantalla pueda girar libremente y levante la pantalla para sacarla del soporte.
Ajuste de la pantalla: La pantalla se可以选择 ajustar horizontally afl ojando el tornillo de seguidad tres vueltas completas, con una llave Allen (L). Ajuste la pantalla como se muestra en la fi gura 7.2. Apriete el tornillo de seguidad.
Ajustar el Ángulo de Inclínación de la Pantalla

NOTA: SeLECTIONAR y fi jar la posicón de inclinación pueda ser más fácil antes de colocar la pantalla en el soporte de pared.
INCRELOK™: Se pueda hacer la pantalla en una posicion predeterminada de inclinacion de -5^ 0^ 5^ 10^ o 15^ . Use el agujero localizador para encontrar el agujero de inclinacion e incline la pantalla para alinear los agujeros. Apriete los tornillos de inclinacion IncreLok™ enamins soportes de inclinacion, como se muestra en el detalle 3.
Apriete el tornillo de fi jacion para trava la posicion de inclinacion.



fig 7.2
Limitada de un año de garantía sobre los componentes de la corrosión.

Peerless Industries, Inc. establish a periodo of guarantia de cno years para los productos fabricados or suministrados por Peerless. Este periodo empieza en la fecha de vento del producto al consumidor original, pero en ningun caso duraras mas de seis ydoas despues de la fecha de fabricacion del producto.Durante la vigilencia de la garantia, dichos productos se encontran libres de defectos en sus materiales y fabrication, siempre que se instalen y usen de conformidad con las instrucliones establecias por Peerless Industries, Inc. Sujeto a los requisitos legales pertinentes, durante la vigencia de la garantia Peerless reparar o reemplazar a un producto que no cumpla con la presente garantia o reembolsar el precio de compra del mesmo.
Cualquier otra garantia exigida por ley que podra ser aplicable con respeco a dichos productos también tendra una vigencia limitada al periodo de garantia especifi cado en la presente Garantia Limitada de Cinco Años.
La presente garantia no abarca los daños causados por (a) travaos de service,ostenimiento o reparacion hechos por el cliente o una persona que no está autorizada por Peerless Industries, Inc. para realizar esoseworkos, (b) no utilizing an embalaje apropiado al devolver el producto, (c) una instalacion incorrecta o no seguir las instruiones o advertencias de Peerless al instalatar, usar o almacenar el producto, o (d) uso inebidto o accidente, en transito o de other mode, incluo si se tratate de actiones attribuibles a terceros o de casos de fuerza mayor.
Peerless en ningún caso sera responsable de daños incidentales o indirectos o daños que surjan del robo de un producto, esté o no protegido por un dispositivo de seguridad incluido con el producto.
La presente Garantia Limitada de Cinco Años reemplaza cadaquier otra garantía expresa o implicita, y es la unica reparacion con respecto a defectos en el producto. Ningun commerciante minorista, agente, distribuidor, instalador u other persona, estad autorizado para modifier o prolongar la presente garantia ni para imponer una obligation a Peerless en relation con la vente de un producto fabricado o suministrado por Peerless.
La presente garantia otorga direchos legales especificos, y usted también podra tenerthers direchos en virtud de la legislacion nacionel del Pais donte usted comprp el producto.

ManualFácil