ECMU02CS - Support écran plat Peerless-AV - Notice d'utilisation et mode d'emploi gratuit
Retrouvez gratuitement la notice de l'appareil ECMU02CS Peerless-AV au format PDF.
| Caractéristiques | Détails |
|---|---|
| Type de produit | Support écran plat |
| Compatibilité | Écrans plats de différentes tailles (vérifier les spécifications du modèle) |
| Capacité de charge | Jusqu'à X kg (vérifier les spécifications du modèle) |
| Dimensions du support | Dimensions spécifiques (vérifier les spécifications du modèle) |
| Installation | Facilité d'installation avec instructions incluses |
| Orientation | Fixation murale avec possibilité d'inclinaison |
| Matériaux | Construction robuste en métal |
| Maintenance | Vérifier régulièrement les fixations et l'état du support |
| Sécurité | Conforme aux normes de sécurité pour les supports d'écran |
| Garantie | Garantie limitée (vérifier les détails auprès du fabricant) |
| Informations supplémentaires | Consulter le manuel d'utilisation pour des conseils d'installation et d'utilisation |
FOIRE AUX QUESTIONS - ECMU02CS Peerless-AV
Questions des utilisateurs sur ECMU02CS Peerless-AV
0 question sur cet appareil. Repondez a celles que vous connaissez ou posez la votre.
Poser une nouvelle question sur cet appareil
Téléchargez la notice de votre Support écran plat au format PDF gratuitement ! Retrouvez votre notice ECMU02CS - Peerless-AV et reprennez votre appareil électronique en main. Sur cette page sont publiés tous les documents nécessaires à l'utilisation de votre appareil ECMU02CS de la marque Peerless-AV.
MODE D'EMPLOI ECMU02CS Peerless-AV
Installation et montage:
Évaluation de plafond en béton du vent inclinaison de montage pour 32 "- 65" écrans plats en plein air
Modèle: ECMU-01-C, ECMU-01-C-S, ECMU-02-C, ECMU-02-C-S ECMU-03-C, ECMU-03-C-S, ECMU-04-C, ECMU-04-C-S

Capacité de Charge Maximale par UL: 200 lb (90.7 kg)
Degré max de résistance au vent : 90 mph, altitude 200 ft (60m), Catégorie "D"
▲ AVERTISSEMENT
- Ne commencez pas à installer votre produit Peerless avant d'avoir lu et assimilé les instructions et les avertissements contenus dans cette fi che d'installation. Pour toute question concernant les instructions ou les avertissements, veuillez appeler le service à la clientèle de Peerless au 1-800-865-2112; tous les clients internationaux sont priés de contacter leur distributeur local.
- Ce produit doit être installé uniquement par quelqu'un possédant une bonne aptitude à la mécanique, une expérience de la construction immobilière et ayant bien compris ces instructions.
- En raison des conditions de température extérieure telles que vents forts, neige abondante, grêle, pluie, etc. l'enceinte de protection, ainsi que son support, son tube de rallonge et ses pièces de fi xation, doivent être inspectés au moins une fois par année et immédiatement après des vents de plus de 90 mi/h (145 km/h) Un installateur ou un inspecteur qualifi é doit vérifi er les signes de rouille, de fi xations desserrées, de métal tordu, etc. Si l'inspection révèle une usure excessive, une détérioration ou un danger quelconque, ce produit doit être mis hors service immédiatement. Pour toute question, veuillez vous adresser au service à la clientèle.
- Assurez-vous que la surface de support puisse soutenir sans danger la charge totale de l'équipement ainsi que des pièces et composants qui y sont attachés.
- Ne dépassez jamais la capacité de charge maximum par UL. Reportez-vous à la page 15.
- Lors d'une installation sur un mur à montants en bois, assurez-vous que les vis de montage sont ancrées au centre des montants. L'utilisation d'un localisateur de montants « bord à bord » est fortement recommandée.
- Pour lever et positionner l'équipement en toute sécurité, faites-vous toujours aider par une autre personne ou utilisez un dispositif de levage mécanique.
- Serrez fermement les vis, mais sans excès. Un serrage excessif peut endommager les composants et en réduire considérablement la capacité de support.
- Ce produit a été conçu pour être utilisé avec d'autres produits à l'extérieur uniquement.
- Ce produit a été conçu uniquement pour une installation sur les types de murs ci-dessous :
TYPE DE MUR PIÈCES DE FIXATION REQUISES
- Béton plein Incluses
- Autre, ou vous n'êtes pas sûr ? Contacter un professionnel qualifi é
Outils nécessaires au montage
• tournevis phillips, clé hexagonale 3/16"
- perceuse
- foret de 3/8 po (10 mm) pour les murs à block de béton
- niveau
Tabla de contenido
Liste des piezas....17
Installation sur du béton plein....18
Installation de l'écran plat sur la plaque d'adaptation....21
Avant de commencer, veillez à ce que toutes les pièces énumérées soient incluses.
| Liste des pièces | ECMU-01-C | ECMU-01-C-S | |
| ECMU-02-C | ECMU-02-C-S | ||
| ECMU-03-C | ECMU-03-C-S | ||
| ECMU-04-C | ECMU-04-C-S | ||
| Description Qté Pièce n° Pièce n° Modèle n° Pièce n° | |||
| A plaque de plafond | 1 | 061-T1306 | 061-7306 |
| B support de colonne | 1 | see chart see chart | |
| C hevilles d'expansion pour béton 8 | 5M9-381-H03 | 5M9-381-H03 | |
| D boîtier adaptateur | 1 | 061-T1264 | 061-7264 ECMU-02-C-S |
| E vis à tête creuse de 1 po | 4 | 520-5035 | 520-5035 |
| F boulons de 7/16 x 4 po | 3 | 520-5014 | 520-5014 |
| G écrous de 7/16 po | 3 | 530-5003 | 530-5003 |
| H plaque d'adaptation | 1 | 061-T125 | 8 061-7258 |
| I vis à tête creuse de 3/4 po | 8 | 520-5034 | 520-5034 |
| J supports adaptateurs gauche | 1 | 061-T1383 | 061-7383 |
| K supports adaptateurs droit | 1 | 061-T1382 | 061-7382 |
| L clé hexagonale 4 mm | 1 | 560-9646 | 560-9646 |
| M viz de M6 x 12 mm | 4 | 520-5023 | 520-5023 |
| N viz de M6 x 25 mm | 4 | 520-5024 | 520-5024 |
| O viz de M8 x 15 mm | 4 | 520-5026 | 520-5026 |
| P viz de M6 x 20 mm | 4 | 520-5025 | 520-5025 |
| Q viz de M8 x 25 mm | 4 | 520-5027 | 520-5027 |
| R rondelle | 4 | 540-501 | 4 540-5014 |
| Support de Colonne (B) | |
| ECMU-01-C 061-T1266 | |
| ECMU-01-C-S 061-7266 | |
| ECMU-02-C 061-T1267 | |
| $1-7267 | |
| ECMU-03-C 061-T1268 | |
| ECMU-03-C-S 061-7268 | |
| ECMU-04-C 061-T1269 | |
| ECMU-04-C-S 061-726 | 9 |
Les pièces peuvent différer légèrement de l'illustration.

- Le béton doit avoir une densité minimale de 3 000 psi. Du béton de moindre densité risque de ne pas soutenir la cheville d'ancrage.
- Si un ensemble de câbles de sécurité est utilisé, il faut l'installer à ce stade. Ne pas retirer et réinsérer les chevilles d'ancrage pour béton. Cela risque de réduire considérablement leur capacité de support.
- Ne serrez jamais à plus de 35 pi-lb (47 Nm).

Utilisez la plaque de plafond (A) comme gabarit pour marquer huit trous de fixation sur le plafond en béton. Percez huit avant-trous de 3/8 po (10 mm) de dia. à une profondeur minimale de 3 po (76 mm). Placez la plaque de plafond sur les trous de fixation et fixez-la à l'aide de huit chevilles d'expansion pour béton (C) comme illustré ci-dessous. Serrez toutes les fi xations.
▲ AVERTISSEMENT
- Fixez toujours des chevilles à expansion pour béton directement sur le béton porteur.
- Ne fi xez jamais des chevilles à expansion pour béton à du béton recouvert d'une couche de plâtre, d'une cloison sèche ou de tout autre matériau de finition.

text_image
VUE EN COUPE
text_image
plafond en béton A C
Percez des trous de 34 po (10 mm) de diamètre.

text_image
2 A CPlacez la plaque de plafond (A) sur les trous et fi xez-la à l'aide des chevilles d'expansion pour béton (C).

text_image
3Serrez toutes les fi xations. Serrez à un couple maximal de 35 pi-lb (47 Nm).
Français
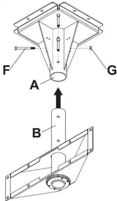
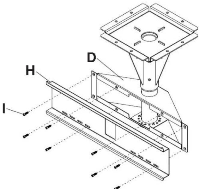
2 Placez le boîtier adaptateur (D) sur la colonne de support (B) comme illustré.

text_image
D B3 Insérez le support de colonne (B) dans l'assemblage de plafond (A). Alignez les trous de la colonne de support sur les trous de l'assemblage de plafond et fi xez-la à l'aide de trois boulons de 7/16 x 4 po (F) et de trois écrous de 7/16 po (G) comme illustré.

text_image
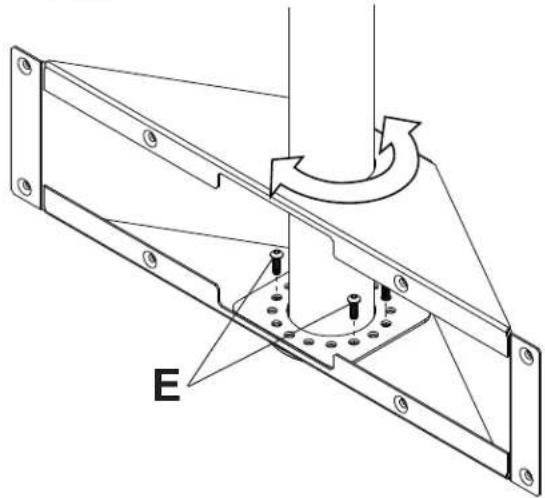
F A G B4 Réglez l'orientation à la position souhaitée comme illustré. Fixez le boîtier adaptateur à la colonne de support avec quatre vis à tête creuse de 1 po (E) à l'aide d'une clé hexagonale de 3/16 po comme illustré.

text_image
E5 Fixez la plaque d'adaptation (H) au boîtier adaptateur (D) avec huit vis de 3/4 po (I) à l'aide d'une clé hexagonale de 5/32 po comme illustré.

text_image
H D I▲ AVERTISSEMENT
- Serrez les vis de manière à fixer solidement les supports adaptateurs. N'employez pas une force excessive pour ce faire. Un serrage excessif peut causer des contraintes risquant d'endommager les vis, de réduire considérablement leur pouvoir de maintien et d'en détacher les têtes. Serrez les vis à un couple maximum de 4,5 Nm (40 po-lb).
- Si les vis ne sont pas enfoncées de trois tours complets dans les inserts ou si elles sont serrées au maximum sans parvenir à maintenir solidement le support, l'écran peut être abîmé ou le produit détérioré.

Afi n d'éviter de rayer l'écran, posez un morceau de tissu sur une surface plane et de niveau qui peut supporter le poids de l'écran. Déposez l'écran à plat, tourné vers le bas. Si l'écran possède des boutons à l'arrière, enlevez-les pour pouvoir attacher les supports adaptateurs. Placez les supports adaptateurs (J,K) à l'arrière de l'écran, alignez-les sur les trous et centrez-les sur l'arrière de l'écran, comme illustré ci-dessous. Fixez les supports adaptateurs à l'arrière de l'écran à l'aide des vis, rondelles et entretoises appropriées, comme illustré sur en el'étape 6-1.
REMARQUE : Les trous supérieurs et inférieurs de l'écran doivent toujours être utilisés.
REMARQUE : Assurez-vous de fixer les supports inclinables de façon à ce que la vis de réglage de l'inclinaison soit tournée vers l'extérieur comme illustré ci-dessous.
Veillez à ce que tous les trous soient bien alignés, puis serrez les vis à l'aide d'un clé hexagonale 4 mm (L).

text_image
REMARQUE: Les dimensions " X " doivent être égales. CENTREZ LES SUPPORTS VERTICALEMENT À L'ARRIÈRE DE L'ÉCRAN VIS DE RÉGLAGE DE L'INCLINAISON K J X X
Commencez par la vis la plus courte et vissez-la manuellement à l'écran en la faisant passer à travers la rondelle et le support inclinable, comme indiqué ci-dessous. La vis doit effectuer au moins trois tours complets dans le trou de fi xation et tenir solidement en place. Ne pas trop serrer. S'il est impossible d'effectuer trois tours de vis complets, choisissez une vis plus longue dans le jeu de fi xations à compartiments. Répétez pour le reste des trous de fi xations, mettez les supports à niveau et resserrez les vis.

text_image
ÉCRAN RONDELLE VIS SUPPORT INCLINABLE (J,K)Installation de l'écran Plat sur la Plaque d'adaptation
▲ AVERTISSEMENT
- Pour lever et positionner l'écran plat en toute sécurité, faites-vous toujours aider par une autre personne ou utilisez un dispositif de levage mécanique.
- N'exercez pas une force excessive sur les vis. Un serrage excessif peut endommager le support. Serrez les vis à un couple maximal de 40 po-lb (4,5 Nm).
- Veillez à ne pas vous pincer les doigts lorsque vous poussez l'écran par le bas.

Montage de l'écran : Accrochez les supports inclinables (J,K) à la plaque d'adaptation (H) et faites pivoter l'écran vers l'intérieur comme illustré à la fi g. 7.1. REMARQUE : Si la pince de sécurité est en contact avec le bas de la plaque d'adaptation, desserrez la vis de sécurité à l'aide d'une clé hexagonale (L). Les crochets des supports inclinables doivent être complètement engagés dans la plaque d'adaptation comme illustré dans le dessin de détail 1. Serrez les vis de sécurité à l'aide d'une clé hexagonale (L) jusqu'à ce que la pince de sécurité soit fermement appuyée contre le bas de la plaque d'adaptation.
REMARQUE : Assurez-vous que la pince de sécurité est fi xée au bas de la plaque d'adaptation comme illustré dans le dessin de détail 2.
Retrait de l'écran : Desserrez la vis de sécurité de la pince de sécurité jusqu'à ce que l'écran puisse pivoter librement, puis soulevez l'écran hors du support.
Réglage de l'écran : L'écran peut être réglé horizontalement en desserrant la vis de sécurité de trois tours complets à l'aide d'une clé hexagonale (L) Réglez l'écran comme illustré à la fi gure 7.2. Serrez les vis de sécurité.
Réglage de l'inclinaison de l'écran Plat

REMARQUE : Il peut être plus facile de choisir et de régler l'angle d'inclinaison avant de placer l'écran sur le support.
DISPOSITIF INCRELOK™ : L'écran peut être bloqué à un angle d'inclinaison préréglé de -5°, 0°, 5°, 10° ou 15°. Utilisez le trou de positionnement pour trouver la position correcte et inclinez l'écran pour aligner les trous. Serrez les vis de blocage de l'inclinaison IncreLok™ sur les deux supports inclinables comme illustré le dessin de détail 3.
Serrez les vis de blocage pour le verrouiller en position inclinée.

text_image
adaptation J,K DÉTAILLE 1 H fi g 7.1 VIS DE SÉCURITÉ PINC DE SÉCURITÉ DÉTAILLE 2
Peerless Industries, Inc., offre une garantie de cinq ans sur les produits fabriqués ou fournis par ses soins. Cette période commence à la date de vente du produit au client d'origine, mais ne peut en aucun cas dépasser de plus de six ans la date de fabrication. Pendant la période de garantie, les produits couverts seront exempts de tout défaut matériel et de main d'œuvre, dès lors qu'ils sont installés et utilisés dans le respect des instructions de Peerless Industries, Inc. Conformément aux dispositions légales applicables, Peerless réparera ou remplacera, ou remboursera le prix d'achat de tout produit non conforme à cette garantie pendant cette période.
Toute autre garantie obligatoire applicable à ces produits est également limitée à la durée spécifiée dans la présente Garantie de cinq ans.
Cette garantie ne couvre pas les dommages causés par (a) les interventions ou les réparations effectuées par le client ou par une personne non agréée par Peerless Industries, Inc., (b) la non-utilisation de l'emballage approprié lors du renvoi du produit, (c) une installation incorrecte ou le non-respect des instructions ou des avertissements de Peerless lors de l'installation, de l'utilisation ou du rangement du produit, ou (d) une mauvaise utilisation ou un accident pendant le transport ou en toute autre circonstance, y compris du fait de tiers et en cas de force majeure.
Peerless ne saura en aucun cas être tenue pour responsable de tout préjudice accidentel ou induit, ou de tout préjudice dû au vol d'un produit, qu'il soit ou non protégé par un dispositif de sécurité éventuellement fourni avec le produit.
Cette garantie de cinq ans remplace et annule toute autre garantie, expresse ou implicite, et constitue le seul recours valable en cas de dysfonctionnement des produits. Aucun détaillant, revendeur, distributeur, installateur ou autre n'est autorisé à modifier ou à prolonger cette garantie, ou à imposer une obligation quelconque à Peerless lors de la vente de produits fabriqués ou fournis par Peerless.
Cette garantie confère certains droits spécifiques, mais d'autres droits peuvent vous être conférés par la législation du pays où vous avez acheté le produit.

Garantie limitée d'un an sur la corrosion.

Notice Facile