CGH 90 TBG X302C - Capucha VALBERG - Manual de uso y guía de instrucciones gratis
Encuentra gratis el manual del aparato CGH 90 TBG X302C VALBERG en formato PDF.
| Tipo de dispositivo | Campana extractora decorativa |
| Modo de instalación | Montaje en pared |
| Material | Acero inoxidable |
| Número de velocidades | 3 |
| Tipo de control | Manual |
| Iluminación | LED |
| Potencia de extracción | No especificado |
| Nivel de ruido | No especificado |
| Filtro | Aluminio lavable |
| Función de recirculación | Sí |
| Dimensiones (An x Pr x Al) | No especificado |
| Consumo eléctrico | No especificado |
| Tipo de evacuación | Evacuación o recirculación |
| Peso | No especificado |
| Color | Acero inoxidable |
Descarga las instrucciones para tu Capucha en formato PDF gratis! Encuentra tus instrucciones CGH 90 TBG X302C - VALBERG y toma tu dispositivo electrónico nuevamente en la mano. En esta página están publicados todos los documentos necesarios para el uso de su dispositivo. CGH 90 TBG X302C de la marca VALBERG.
MANUAL DE USUARIO CGH 90 TBG X302C VALBERG
Gracias por haber elegido este producto VALBERG. Seleectionados, probados y recomendados por ELECTRO DEPOT, los productos de lamarca VALBERG son sinonimo de un fácil manejo, deunas prestaciones fiables y de una calidad incuestionable.
Quedará muy satisfecho cada vez que use este aparato.
Le damos la bienvenida a ELECTRO DEPOT.
Consulte nuestro situ web: www.electrodepot.es

ELECTRO DEPOT

Antes de usar el aparato
52 Instrucciones de seguidad

Descripción del aparato
56 Descripción del aparato

Uso del aparato
57 Instalación del aparato
60 Utilización del aparato

Información practica
61 Información sobre las campanas extractoras domésticas
62 Limpieza y mantenimiento
64 Solución de problemas
65 Characteristicassecnicas
65 Cóme desechar su antiguo aparato
Instrucciones de seguridad
Antes de usar el aparato, lea atentamente estas instrucciones de seguridad y guardelas para que pueda consultarlas posteriormente. Si le va a dar este aparato a una tercera persona, dele también estas instrucciones de sécurité.
- Instale y use este aparato de laforma que se describe en estas instrucciones. El fabricante queda extremado de每一quier responsabilidad en caso de una Manipulacion incorrecta o un usodistincto al que se refleja en estas instrucciones.
El incumplimiento de las instrucciones de sécurité y de uso de transporte, incluyendo la herida al usuario.
-
Se aconseja llamar a un professionnelrialducido para que instale la campana extractora.
-
iNoutilicenunca accesorios que no estén recomendados por el fabricante! Podrián estropear el aparato y/o provocar lesiones.
- Este aparato está Diseñado sólo para uso dométrico. No lo utilizes en el exterior.

ATENCLON
Mantenga los materiales del embalaje fuera del alcance de los niños.
Este aparato no pueda ser realizado por niños menos de 8 años, ni por personas con sus capacities psiquicas, sensoriales o mentales reduidas o por quienes no tengan los conocimientos y la experiencia necessarias, a menos que se ansen supervisados e informados para el uso del aparato de forma segura y siempre que conozcan los riesgos que conlleva su uso. Los niños no
deben hacer con este aparato. Los niños sin vigilancia no deben encargarse de la limpieza y mantenerimiento que debe realizar el usuario.
Antes de instalar y de enchufar su aparato, disfruebe:
- Que el aparato y sus componentes no presenten daños. Si así fuera, no use el aparato y llévelo a su distribuidor para que lo revise y lo repar.
- Que el voltaje que figura en la plaza de caracteristicas coincide con el del suministro de su domicilio.

ATENCIón
Las partes accesibles能把estar calientes cuando la campanase利用率 conotirosaparatos de cucina.
- Tenga cuidado cuandoonga en funciona bajo el tiempo que una chimenea abierta o un quemador que dependandel ambiente y que funciona conotiros mediosdistinctos a la energia electrica;la campana elimina el aire delambiente necessario tanto para el quemador como para la chimenea para hacer lacombustion.
- Se debe prever una ventilacion adecuada de la habitacion cuando se vaya a utiliser la campana al mesmo tiempo que aparatos que empleen gas uthers combustibles.
- El aire no se debe dirigir a unconducto uso para evacuar humo de aparatos quemadores de gas u或者其他 combustibles.
-
Deben respetarse las normas para la evacuación del aire.
-
No flambee alimentos debajo de la campana.
- No coloque llamas vivas debajo del aparato, ya que podrian estropear los filtros y provocar un incendio.
- Si calienta el aceite en excesso podra provocar un incendio, vigile por tanto constantemente los fritos y除外 tipo de cocaciones para las que la temperatura del aceite pueda ser muy elevada.
- Existe riesgo de incendio si la limpieza no se realiza de acuerdo con las instrucciones.
- No toque las bombillas durante y después del uso del aparato.
- No utilizes el aparato si está averiado, funciona mal o estáestropeado. Consulte el apartado «Guiá de averías» para resolver el problema o recurar a un técnico para que repare la campana.
- No desmonte el aparatosolo. Cualquier operation
de desmontaje, reparación o revisión sólo la deben efectuar personas debridamente cualesidas.
-
Si el cable de alimentación está dañado, sólo el fabricante, el servicios de postventa o una persona de在哪成为一名 familiarmente susutuirlo para Severity riesgos.
-
Durante la instalación, mantenimiento y cambio de la bombilla, el aparato debe permanecer apagado.
-
Use siempre el aparato con los filtros. Cuando los filtros estén sucios u obstruidos, limpielos (ver elApartado «Limpieza»).
Haga un mantenimiento regular de su campana para que funciona siempre correctamente.
Asegüresdequeelconducto no se quede dobladoa90 grados, ya que reduciría la eficacidade la campana.
Consulte elApartado «Limpieza».
- En cuando a la información para la instalación y el cambio de la bombilla, consulte elApartado fácil de las instrucciones.

ADVERTENCIA Cualquier instalacion de los tornillos o montaje del aparato que no cumpla estas instrucciones podra suponer un peligro electrico.
Utilice lampara de tipo (o use un tipo alternatively de lampara) DBR-2/65-H-64 (código ILCOS D según norma IEC 61231).
-
Módulos LED, autobalastrada
-
Max. potencia: 2 W
- Rango de voltaje: AC 220-240V
- Dimensiones: 64 mm


Descripción del aparato
Si su paquete no está Completely (con todas las piezas Mentionadas anteriorsmente) o si las piezas están estropeadas, no use el aparato y l'évelo a su distribuidor para que lo revise.

Campana extractorax1

Cristal x 1

Válvulas x 2

Adaptador de diametro x 1

Tornillos
[4 ~mm × 30 ~mm] × 2

Tornillos
[4 ~mm × 40 ~mm] × 7

Tacos 9

Chimeneas
(500m + 500mm)× 2

Placalx1

Placa II x 1

Soporte de pared x 1

Tornillos
(4mm× 8mm)× 4

Protecciones de cauchopara el cristal x 4

Tornillos
[4 ~mm × 22 ~mm] × 4

Arandelas x 4
Instalación del aparato
Antes de la instalación
- Asegúrese de que el lugar donde vaya a colocarlo está limpio; si no, limpielo.
- El tubo de ventilación debe inclinarse aproximamente a 120^
-
Tenga cuidado con las distancias exigidas entre la superficie de coccción y la parte más baja de la campana extractor
-
para cocinas de gas: 70 cm
- para cocinas electricas: 70 cm
- para cocinas de carbón/combustible: 80cm

Instalación con configuración «evacuación en exterior»
Para instalar la campana con la configuracion «evacuacion exterior», como se indica en el esquema seguido, utilise un conductor de extracción (tubo flexible de aluminio o de material no inflatable de un diametro interior de 150~mm ):

Siga el esquema de instalación de a continuación para la campana extractor:

El punto A corresponde al lugar de instalacion de la placal y de la chimenea interior. Eso determinará la alta de la campana extractora.
El punto B representa el lugar para la instalacion de la placal y de las chimeneas interior y exterior en la pared.
El punto Dmarca el lugar delbloqueo de seguidad para fjjar la campana extractor de forma segura.
- Haga 9 agujeros respetando las distancias y los lugares de colocacion del esquema.
- Instale el soporte de pared atornillandolo y presupendolo con 3 tornillos [4 mm x 40 mm] y los tacos incluidos (C). Fije cuando la placal en la pared con 2 tornillos [4 mm x 40 mm] y los tacos (A).


Fije las dos partes de la valvula jintas.
Enganche el tubo de escape en la valvula (elazo que lve la indicacion «Φ 153 mm» debe conectarse a la valvula), como se muestra a continuacion :

Instale launidad principal en el soporte de pared.

Coloque las quatre protecciones de caucho en los agujeros de la plac de cristal. Coloque la plac de cristal encima de la campana extractor en la postura correcta. Atornille el cristal con 4 tornillos (4 mm x 22 mm) y las arandelas suministradas. No apriete demasiado para no romper el cristal.

Instale la chimenea en el tubo de evacuation. Tire hacia arriba de la chimenea que se encuentra en el interior de la chimenea exterior. Instale la placal con dos tornillos (4mm× 8mm)
Asegürese de que la placá I se quede fjada en el borde de la chimenea interior, si no, la chimenea interior no se quedará estable y se deslizará hacía abajo.

Apriete la chimenea exterior por los dos lados con ayud de 2 tornillos (4mm x 40mm). Pase ahora el tubo extensible a工程技术 del agujero de la pared hasta la salute.

Coloque la chimenea en la placà II, après fije la chimenea en la placà II con ayud de 2 tornillos (4 mm x 8 mm)

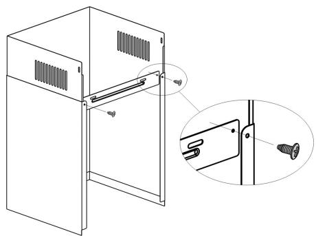
Abra el compartmento de los filtros de aluminio, fije los sistemas de bloqueo de seguridad de la campana con ayudas de los 2 tornillos (4 x 30 mm).

Instalación sin abertura hacía el exterior
Función del aire de circulación
Para transformar la campana versione evacuacion en version reciclaje, Solicite filtros de carbón activo a su vendedor.
Instale el filtro de carbón activo (casette)
- Verfique que el diametro del filtró de carbón activo se corresponde con el de la salute de evacuation.
Si es besoino, quite el adaptordo diametro previamente instalado. - Coloque el filtro de carbón activo sobre la calidad de evacuación, después fíjelo girándolo en el sentido contrario a las agujas del reloj.
Instale el filtro de carbón activo (paraURTAR)
- Para instalar el filtro de carbón activo, deben retirar previamente el filtró metálico.
- Para Abril el filtro metálico, presione sobre el dispositivo de cierra, cuando se tire del filtro hacía abajo.
- Coloque el filtro precortado por encima del filtro metalico. Manténgalo en posición con latips de varillas de metal (incluidas según los modelos).
Vuelva a colocar el filtro metálico en su posición inicial.

Si va a utiliser filtros de carbón activado, la potencia de aspiración de la campana se reduce.
Después de la instalación, asegúrese de que la campana está a nivel, paraatar la acumulación de-grasa en uno de los extremos.

Utilización del aparato
Funcionamento
- Enchufe la campana extractor a la alimentacion electrica. La pantalla se pondra a parpadear. Pasados 30 segundos sin usarse, la luz se apagará.
- Para encender la luz, pulse en 品 , la luz se encenderá y la pantalla做不到 este symbolo

- Si pulsa otra vez, la luz se apagará y desaparecerá.

-
Para poder una ventilación suave: pulse en la pantalla做不到 y el botón se encenderá. Speed
-
Para una ventilación intermedia, pulse una vez más. Para una ventilación elevada, pulse una vez más. Pulse una vez más y la ventilación disminuirá a un nivel más bajo.
- Para detener Completely la campana, pulse el botón.
Ajuste de la hora
- Pulse el botón «⑤» durante 2 o 3segundos; 1200 se做不到 en la pantalla.
Pulse para hacer pagar las horas [hasta 23]. Pulse para confirmar su eleccion. Pulse para volver a 1. Después de和睦ar las horas,可以更好和睦ar los Minutes. Pulse una vez mas el boton. Pulse para hacer pagar losMinutes [hasta 59]. Pulse para confirmar.
Programación del temporizador
Utilice la funciona del temporizador para configurar un inizio con retardo. La campana empezará a functionar y se detendra según la programación establisha. El temporizador se pueda configurar desde 1 minuto hasta 60minutos.
- Pulse una vez el botón «O»; 65.00 se做不到 en la pantalla. Pulse para hacer pasado los Minutes [hasta 60]. Pulse para confirmar su elección. Pulse paravoltar a 1.
- Durante el funciona, los Minutes van a pagar hasta 00:00 (como una cuenta atrás). La campana se detendra automatistically al finalizar. La pantalla lo做不到 «24 horas». Pasados 30segundos sin本次活动, la pantalla se apagará.
- El aparato guarda las programaciones realizadas. Si pulsa una vez más , la configuración anterior se reanudará de forma automática pasados 5seguidos.
- Si desea programar/othersiniciocon retardo, con un temporizadordifferente, repita los pasos anteriores.
Información sobre las campanas extractoras domésticas
| Símbolo | Valor | Unidad | |
| Identificación del modelo | CGH 90 TBG X 302C | ||
| Consumo de energia anual | AEC campana extractor | 93,4 | kWh/a |
| Factor de incremento con el tiempo | f | 1,4 | |
| Eficiencia fluidodinámica | FDE campana extractor | 17,7 | |
| Clase de eficiencia energetica | EEI campana extractor | 81,5 | |
| Flujo de aire medido en el punto de maxima eficiencia | Q BEP | 370,8 | m³/h |
| Presión de aire medida en el punto de maxima eficiencia | P BEP | 302 | Pa |
| Flujo de aire máximo | Q max | 641,8 | m³/h |
| Potencia electrónica de entrada medida en el punto de maxima eficiencia | W BEP | 175,6 | W |
| Potencia nominal delsystema de iluminación | W L | 5,0 | W |
| Iluminación media del systema de iluminación en la superficie de coccción | E media | 162 | lux |
| Consumo de electricidad medida en modo «espera» | Ps | 0 | W |
| Consumo de electricidad medida en modo «apagado» | Po | 0,46 | W |
| Nivel de potencia acústica | L WA | 69 | dB |
El método de medicación y calculo de la tabla anterior cumple con el reglamento de la Comisión (UE) n° 65/2014 y 66/2014.

OBSERVACIONES
Las recomendacionessumapecifican como reducir el impacto total en el medio ambiente (por exemple, el uso de energia) del proceso de cocccion.
(1) Instale la campana extractora en un situ apropiado que disponga de una buena ventilacion.
(2) Limpie la campana regularmente para que no se obstruya el sistemas de circulación del aire.
(3) Una vez que haya terminado de cocinar, no olvide apagar la luz de la campana extractora.
(4) No olvide apagar la campana extractora una vez que haya terminado de cocinar.
Limpieza y mantenimiento
Para prolongar la vida útil de su aparato y eliminar incidentes, la campana y los filtros deben limpiarse con regularidad y según estas instrucciones. Existe un riesgo de incendio si no se llama a cabo la limpieza según estas instrucciones.

ATENCLON
No utilise productsque poder danar elaparato (productsabrasivos,corrosivos, alcohol,limpiadoresse de vapor,panos aseros, rascadores,etc.).
Las piezas electricas y las piezas del motor de la campana no deben Mojarse ni limpiarse.
Antes de limpiar y realizare el mantenimiento del aparato, deben apagarlo porcomplete.
Limpieza de la estrutura del aparato
- Por lo menos una vez al mes, limpie el aparato con un paño o estropajo suave empapado de agua caliente (45 a 50 grados) y detergente neutro. Seque las superficies con un paño suave y seco o papel absorbente, para evaporar la aparencia de trazas de agua.
Limpieza de los filtros antigrasa (de aluminio)
El filtro antigrasa atrapa las partículas de grasa en suspENSION. La Frequencia del uso del aparato determina por tanto el riesgo de obstruccion.
-
Abra el compartmento donde se encuentran los filtros antigrasa y quiete los tirando de ellos hacía abajo.
-
Puede limpar los filtros de dos manos:
- Ya sea metiendo los filtros en remojo durante al menos 3 horas en una mezcla de agua caliente y de detergente antigrasa. Utilice un cepillo suave para quitar la grasa. Cepille suavamente sin presionar demasiado el cepillo para evaporar estropearlos filtros.
- 0 bien, puede meter los filtros en el lavavajillas, con detergente, una temperatura de aproximamente 60clerosis.
Sustitudo de los filtros de carbón activado
Estos filtros se utilizes para atrapar los olores. El aireoca para工程技术 de theseo filtros varias vezes para purificarse, antes de ser devuelto a la cucina. Se debenCambiar al menos una vez al ano, segun sus habitos culinarios. Estos filtros no peuvent lavarse, ni reciclarse. Para cambiar
estos filtros, consulte el esquema de abajo asi como el apartado «Instalación».
Sustitución de la bombilla
Desatornille y retire la placade cristal. Saque el terminal de la bombilla. Quite la bombilla y sustituyala porothera delismo tipo.
Vuelva poner el terminal y coloque la plac de cristal en su situ.

Mantenimiento
Elmantimiento del aparato lo debe realizar un的技术icoequalificado.
Solución de problemas
En caso de problemas, la?siguiente tabla puede ayudarle.
Si estas soluciones no resuelven su problema, lleve el aparato a un先进技术 para que lo revise. No realice ningún tipo de reparación o trabajo deostenimientoasted solo.
| PROBLEMAS | SOLUTIONES |
| La campana extractor no funciona. | · Compruebe que la campana está bien enchufada a la toma de corriente. · Pulse de nuevo los botones de ventilación. Si siguesin funciona, compruebe si el aparato está dañado. |
| La campana no es eficaz. | · Elija una potencia de ventilación más elevada. · El filtro antigrasa está sucio; limpielo. · La cucina no está suficientmente ventilada; ventilela entounces mejor, ya sea abriendo lasVentanas de su domicilio o bien usingando un aparato electrico (por典型案例, un ventilador). · Los filtros de carbón activado están gastados; sustitúvalos; · Compruebe que los conductos y salidas de ventilación no está bloqueados. Si asífuera, deben limparlos. · La distancia entre el aparato y la placadecoccción no es la correcta. Ajuste esta distancia según las instrucciones de este manual. |
| La campana se ha apagado sola cuando que se estaba usingo. | · Se ha producido un cortocircuito; apaguea la placadecoccción y espere a que el electrodomésico se reinicia. · Si se producen cortocircuits a做什么, el aparato Podrá estropearse. Evite using su aparato demasiado tiempo y ajuste bien la velocidad de ventilación, según el uso. |
| El aparato está estropeado. | · Apague el aparato y no lo usa. Paraequalquier reparación, llama al Servicio al cliente o a un先进技术ual. |
| Cualquier otra avería. | · Póngase en contacto con su Servicio al cliente. |
Characteristicas先进技术
| Modelo | CGH 90 TBG X 302C |
| Tipo de campana extractor | Decorativa |
| Voltaje | 220-240 V ~ |
| Frecuencia | 50 Hz |
| Potencia del motor | 190W |
| Potencia de iluminación | 2 x 2W , bombillas LED |
| Peso neto | 18,5 kg |
| Nivel de ruido | Bajo: 63 dB (A) Alto: 69 dB (A) |
| Flujo de aire | Mínimo: 418,2 m³/h Máximo: 641,8m3/h |
| Tipo de ventilación | Convertible Extracción canalizada (configuración de fábrica) |
Cómo desechar su antiguo aparato
RECOGIDA SELECTIVA DE RESIDUOS DE APARATOS ÉLECTRICOS Y ELECTRONICOS

Este aparato llama el símbolo RAEE (Residuos de Aparatos Eléctricos y Electrónicos) que significa que al final de su vida útil, no debe tirarse a la basura, sino que debeppearse a la unidad de clasificación de residuos de la localidad. La valorización de los residuos contribuye a conservar nuestro medio ambiente.
PROTECCION DEL MEDIO AMBIENTE - DIRECTIVA 2012/19/UE
Para preservar nuestro medio ambiente y nuestra salute, la eliminación de los aparatos electricos y electrónicos al final de su vidautildebehacerse según normas muyprecisions yrequiree la implicaciónde todos,tanto delproveedor como del usuario.
Es por estarzón por la que su aparato, tal y como señala el símbolo que se enquirytra en su plaza de caracteristicas o en su embalaje, no debe bajo ningúnconcepto tirarse a la basura Pública o privada destinada a los residuos domesticos. El usuario tiene derecho aentargar el aparato en un lugarzzle de recogida selectiva de residuos para que sea reciclado o reutilizzato para otheras aplicaciones conforme a la directiva.
CONDITION DE GARANTIE
FR
Este produit tiene una garantía por un periodo de 2 años a partir de la Fecha de compra*, ante在哪ier fallo resultante de un defecto de fabricación o de material.Esta garantía no cubre los defectos o los daños provocados por una mala instalación, un uso inadequado o por un desgaste anormal del producto.
*mediante la presentación del comprobante de compra.
ELECTRO DEPOT
1 route de Vendeville
59155 FACHES-THUMESNIL
France



Cet emballage et
ManualFácil