MRY6400 - Aspiradora ROYAL - Manual de uso y guía de instrucciones gratis
Encuentra gratis el manual del aparato MRY6400 ROYAL en formato PDF.
| Tipo de dispositivo | Aspiradora vertical |
| Peso | Ligero |
| Modo de uso | Manual |
| Alimentación | Eléctrica |
| Tipo de suelo | Multi-superficies |
| Filtración | No especificado |
| Capacidad de bolsa/depósito | No especificado |
| Accesorios incluidos | No especificado |
| Nivel de ruido | No especificado |
| Longitud del cable | No especificado |
| Garantía | No especificado |
| Servicio al cliente | Disponible (EE.UU. y Canadá) |
| Instrucciones | Manual de uso incluido |
| Marca | No especificado |
| Modelo | No especificado |
Preguntas frecuentes - MRY6400 ROYAL
Preguntas de los usuarios sobre MRY6400 ROYAL
0 pregunta sobre este aparato. Responde a las que conoces o haz la tuya.
Hacer una nueva pregunta sobre este aparato
Descarga las instrucciones para tu Aspiradora en formato PDF gratis! Encuentra tus instrucciones MRY6400 - ROYAL y toma tu dispositivo electrónico nuevamente en la mano. En esta página están publicados todos los documentos necesarios para el uso de su dispositivo. MRY6400 de la marca ROYAL.
MANUAL DE USUARIO MRY6400 ROYAL
eepnne nnnnne nnnnne nnnnne nnnnne nnnnne nnnnne nnnnne nnnnne nnnnne nnnnne nnnnne nnnnne nnnnne nnnnne nnnnne nnnnne nnnnne nnnnne nnnnne nnnnne nnnnne nnnnne nnnnne nnnnne nnnnne nennnne nnnnne nnnnne nnnnne nnnnne nnnnne nnnnne nnnnne nnnnne nnnnne nnnnne nnnnne nnnnne nnnnne nnnnne nnnnne nnnnne nnnnne nnnnne nnnnne nnnnne nnnnne nnnnne nnnnne nnnnne nannnee
zssnnn nnne nne nee eae ene ene ene ene ene ene ene ene ene ene ene ene ene ene ene ene ene ene ene ene ene ene ene ene ene ene ene ene ene ene ene ene ene ene ene ene ene ene ene ene ene ene ene ene ene ene ene ene ene ene enee
e e e e e e e e e e e e e e e e e e e e e e e e e e e e e e e e e e e e e e e e e e e e e e e e e e e e e e e e e e e ee
- zaeaeaeaeaeaeaeaeaeaeaeaeaeaeaeaeaeaeaeaeaeaeaeaeaeaeaeaeaeaeaeaeaeaeaeaeaeaeaeaeaeaeaeaeaeaeaeaeaeaeaeaeaeaeaeaeaeaeaeaeaeaeaeaeaeaeaeae
: :
nnonnnnne nnnnnnnnne aen nee eae ene ene ene ene ene ene ene ene ene ene ene ene ene ene ene ene ene ene ene ene ene ene ene ene ene ene ene ene ene ene ene ene ene ene ene ene ene ene ene ene ene ene ene ene ene ene ene ene ene ene enee
- Por favor lea estas instrucciones con cuidado antes de usar su aspiradora ligera.
- Permitanos poderle a ensamblar su aspiradora o a contestar sus preguntas, llame al:
1-800-321-1134
(EE.UU. y Canadá)
Registrar de Garantía
- En linea en: www.royalvacuums.com
- Dirección: Royal Appliance Mfg. 7005 Cochran Rd. Glenwillow, Ohio 4413
Para tener una referencia rápida, anote por favor la información de su aspiradora ahora.
No. de Modelo:
Cólico del Fabricante:
(El número del fabricante aparece en la parte posterior e inferior de la aspiradora)
GUIA DE SOLUTION DE PROBLEMAS
ADVERTENCIA: PARA REDUCIR EL RIESGO DE LESIONES PERSONALES, DESCONECTE ANTES DE DAR SERVICIO
| PROBLEMA | POSIBLE CAUSA | SOLUTION POSIBLE |
| La aspiradora no funciona | 1. El cordón electrico no está bien connectado en la toma de corrente. | 1. Conecte el enchufe firmamente. |
| 2. Fusible quemado o interruptor desconectado. | 2. Revise el fusible o el interruptor en casa. Reemplace el fusible / reajuste el interruptor. | |
| 3. Necesita servicios. | 3. Llévela al centro de service o llame al 1-800-321-1134. | |
| 4. Protector térmico activado. | 4. Esto reajustará el protector - Pág. E3. | |
| La aspiradora no recoge o presenta bajo ponder de succion | 1. Bolsa de papel no instalada correctamente. | 1. Revise la forma de retiro y reemplazo de la bolsa de papel - Pág. E7. |
| 2. Bolsa de papel llena. | 2. Retire/reemplace la bolsa de papel - Pág. E7. | |
| 3. Cepillo giratorio desgastado. | 3. Reemplace el cepillo giratorio - Pág. E8. | |
| 4. Banda rota o desgastada. | 4. Reemplace la banda - Pág. E8. | |
| Polvo escapando de la aspiradora | 1. Bolsa de papel llena. | 1. Vacia la Bolsa de papel - Pág. E7. |
| 2. Bolsa de papel no instaladacorrectamente. | 2. Revise la forma de retiro y reemplazo de la bolsa de papel - Pág. E7. | |
| La luz frontal no funciona | 1. Foco fundido. | 1. Reemplace el foco - Pág. E9. |
| 2. Cables electricos sueltos. | 2. Llévela a un centro de service. Para encontrar el lugar más cercano a su domicilio, visite nuestro situ Web en www.dirtdevil.com o llame al 1-800-321-1134. |
CUALQUIER OTRO SERVICIO DEBE SER REALIZADO POR UN REPRESENTANTE AUTORIZADO DE SERVICIO SERVICIO AL CLIENTE (1-800-321-1134)
En caso de necessitar más ahora, vea en las Páginas Amarillas para encontrar a un Distribuidor Autorizzato Royal. Los costos de transporte hacía y desde el situó de reparación serán pagados por el propietario. Las partes de replyo realizadas en esta unidad son de reemplazo fácil y está disponible a工程技术 de un Distribuidor Autorizzato Royal o en otheri tiendas. Siempre identifique su aspiradora por medio del numero de modelo y el número de fabricacion cuando pida informacion u ordene partes de replyo. (El número de modelo aparece en la parte posterior de la aspiradora).
CERDAS PARA LA LIMpieZA DE BORDES: RETIRO Y REEMPLAZO
HERRAMIENTA REQUERIDA: DESTORNILLADOR PHILLIOPS
ADVERTENCIA: PARA REDUCIR EL RIESGO DE LESIONES CAUSADAS POR LAS PARTES MOVILES, DESCONECTE LA ASPIRADORA ANTES DE CAMBIAR LA BANDA O EL CEPILLO GIRATORIO.
Para cerradas de reemplazo, por favor llame al 1-800-321-1134 o visite nuestro situo web en www.royalvacuums.com para localizar al distribuidor más cercano a su domicilio.
REEMPLAZO DE LAS CERDAS PARA LA LIMpieZA DE BORDES

Quite los dos (2) tornillos de cada cerda para limpieza de bordes.

Retire y deselecte las cerdas viejas y reemplacelas con cerdas新品as a cada lado.

Coloque-Newamente los cuales (4) tornillos para asegurarlas.
FOCO: RETIRO Y REEMPLAZO
HERRAMIENTA REQUERIDA: DESTORNILLADOR PHILLIPS
ADVERTENCIA: PARA REDUCIR EL RIESGO DE DESCARGAS ELECTRICAS - DESCONECTE LA ASPIRADORA ANTES DE QUITAR O CAMBIAR EL FOCO.
Esta aspiradora usa unAGO común para automóvil # 906, 13.0 voltios. Para repuestos del foco llame al 1-800-321-1134 o llame a su proveedor local de repuestos para automóvil.

Incline hacía aftas el asa de la aspiradora. Retire los dos (2) tornillos colocados en cualesera de los lados de la lente de la luz frontal

Levante la tapa de la lente para quitarla

Para retirar el foco, sáquelo del receptáculo. NO lo gire. Para reemplazarlo, empújelo suavamente en el receptáculo.

Fije la lente de la luz frontal volviendo a colocar los dos (2) tornillos
ESTA ASPIRADORA ESTÁ DISEÑADA PARA USO DOMÉSTICO SOLAMENTE INSTRUCCIONES DE SEGURIDAD IMPORTANTES
Cuando use un electrodométrico se deben seguir precauciones tíbasicas, incluyendo las siguientes:
- LEA TODAS LAS INSTRUCCIONES ANTES DE USAR EL APARATO.
- SIEMPRE SIGA ESTAS INSTRUCCIONES DE SEGURIDAD.
- NO DEJE LA ASPIRADORA SIN VIGILANCIA CUANDO ESTÉ CONECTADA.
- ADVERTENCIA: ENSAMBLE TOTALMENTE LA ASPIRADORA ANTES DE USARLA.
- ADVERTENCIA: LOS CORDONES, ALAMBRES Y/O CABLES SUMINISTRADOS CON ESTE PRODUCTO CONTIEN ENPRODUCTOS QUIMICOS QUE INCLUYEN PLOMO O COMPUESTOS DE PLOMO ACERCA DE LOS CUALES SE HASABIDO EN EL ESTADO DE CALIFORNIA, PRODUCEN CANCER, DEFECTOS DE NACIMIENTO U OTROS DANOS REPRODUCTIVOS. LAVES LAS MANOS DESPUÉS DE SU USO.
ADVERTENCIA: PARA REDUCIR EL RIESGO DE INCENDIO,CHOQUE ELECTRICO O LESIONES:
- No deja solo el aparato cuando está connectado. Desconectelo de la toma de corriente cuando no lo use y antes de darle servicios.
- No lo utilise en exteriores o en superficies mojadas.
- No permitted use as a game. Ponga mucha atencion when lo use un nino o circa de niños.
- Usoelo solamente como se indica en este manual. Use solamente los accesos recomendados por el fabricante.
- No lo utilizes con el cordón eletrico o la clavija danados. Si el aparato no trabaja como debiera, se ha caido, dañado, dejado en exteriores o caido en agua, regréselo a un centro de servicios para su inspeccion. Llamé al 1-800-321-1134 para encontrar el centro de servicios más cercano a su domicilio.
- No tire ni lo transporte tomándole del cordón electrico, no utilise el cordón electrico como asa, no ciderre la puerta sobre el cordón electrico, o tire del cordón electrico alrededor de rebordes o esquinas agudos. No pase el aparato sobre el cordón electrico. Mantenga el cordón electrico lejos de superficies calientes.
- No lo desconecte tirando del cordón electrico. Para desconectarlo, tome la clavija, no el cordón electrico.
- No tome la clavija o el aparato con las manos mojadas.
- No coloque objetivos en las aperturas. No lo use con una aperture bloqueada; manténgalo libre de polvo, pelusa,leo yrialquier casa que pueda reducir el flujo de aire.
- Mantenga lejos de las apertureas y partes moviles, elleo, ropasuelta, dedos y todas las partes del cuerpo.
- Apague todos los controlles antes de desconectar.
-
Tenga más cuidado cuando aspire escaleras.
-
No lo use para aspirar liquidos inflamables o combustibles, tales como gasolina, ni lo use en和地区 donde这些东西 pudieran estar presentes.
- Siga las instrucciones de la etiqueta y las MARCAS que se encuentran en su aspiradora.
- No use una extensione elctrica al usar esta aspiradora.
- Mantengaños desucaraycuerpolamanguera,lanzasyotrasaperturas.Mantengasus manos,pies,pelo y ropalejos de las partes mviles;especiallynde del cepillo giratorio.
- No use la aspiradora sin tener en su situ lo bolsa y los filtros.
- No aspire objetos que estén quemandose o emitiendo humano, tales como cigarrillos, cerillos o cenizas calientes.
GUARDE ESTAS INSTRUCCIONES
MANTENIMIENTO:
ADVERTENCIA: PARA REDUCIR EL RIESGO DE LESIONES PERSONALES, DESCONECTE ANTES DE DAR SERVICIO.
El mantenimiento apropiado de su aspiradora le asegura una limpieza efectiva continua.
- Use siempre partes de repuesto genuinas Royal.
- Cambie la Bolsa de papel con Frequencia.
- De vez en cuando retire el cepillo giratorio y limpie los residuos de las tapas finals para permitir la rotación uniforme del cepillo.
ADVERTENCIA:
Para reducir el riesgo deCHOque electrico, este aparato tiene una clavija polarizada (una hoja mas ancha que la other.)Esta clavija encajara en una toma de corriente polarizada de una manera solamente. Si la clavija no encaja totalmente en la toma de corriente, inverta la clavija. Si aun no encaja,pongase en contacto con un electricista calificado para instalar la toma de corriente apropiada. No modifique la clavija de ninguna manera.
Su aspiradora contiene un dispositivo de proteccion termal para apagar el motor y asi evitar el recalentamento. Si este sucede, apague el interruptor y desconnecte la aspiradora. Inspecciona la descarga, la entrada, la manguera y los filtros por si hubiera atascos. Cambie la bolsa si está llena. Despues de aproximamente 30 instantos el motor se habra enfriado y la aspiradora estar a lista para usar. NOTEA: La aspiradora deberá permanecer desconnectada durante el periodo de enfiambre de 30 instantos.
BANDA Y CEPILLO: QUITAR Y REEMPLAZAR
HERRAMIENTA REQUERIDA: DESTORNILLADOR PHILIOPS
ADVERTENCIA: PARA REDUCIR EL RIESGO DE LESIONES CAUSADAS POR LAS PARTES MOVILES, DESCONECTE LA ASPIRADORA ANTES DE CAMBIAR LA BANDA O EL CEPILLO GIRATORIO.

Para el reemplazo de la banda Estilo 18 por favor llame al 1-800-321-1134 o visite nuestro situo web www.royalvacuums.com para localizar al distribuidor más cercano a睹.
PARA QUITAR LA BANDA USADA


Dé vuelta la aspiradora. La base debe quedar plana y mirando hacía arriba. Para retirar la protección de la boquilla,quite los dos (2) tornillos cerca de las ruodecillas (Diagrama 1).Suelte la protección de la boquilla tirando de la lengueta hacer el ante de la aspiradora. Girela hacía arriba para levantarla (Diagrama 1a).
Asegürese que la banda está fuera del eje del motor. Levante y retire el cepillo giratorio. Deseche la banda vieja.
COLOCACION DE LA BANDA NUEVA

Deslice el cepillo giratorio por la banda. Coloque la banda en el area sin cerradas del cepillo giratorio.

Enrolle la banda alrededor del eje del motor.

Una vez que la banda nuevo está esta en su lugar, tire del cepillo giratorio y desilicelo bajo de la boquilla asegurandinse que las tapas finalles estén en la orientacion correcta (insercion).Gire el cepillo giratorio de forma manual para asegurarque la banda esté alineada apropiamente.

Para volver a ensambarla proteccion de la boquilla, alinee las tres (3) lenguetas delante de la boquilla con las ranuras de la base. Gire la proteccion hasta que quede en su lugar asegurandose que la lengueta quede-Newamente trabajo por la rueda trasera.

Coloque-Newamente los dos (2) tornillos para asegurar la proteccion de la boquilla.
BOLSADEPAPEL:QUITARYREEMPLAZAR
ADVERTENCIA: Para reducir el riesgo de lesiones causadas por las partes mviles, desconnecte antes de dar service. NOTE: La aspiradora DEBE tener la Bolsa de papel en su situo en todo momento.
TABLETAS AROMATIZADAS (Optional): : Mientras aspira, las tabletas aromatizadas dejan su casa con un aroma limpio y fresco eliminando el olor a aire viciado. Las tabletas no son tóxicas y estáformulas para que duren el mesmo tiempo que las bolsas de papel desechables. CÓMOSUARLAS: Retire una tableta aromatizada de la envolturna y colóquela directamente en la Bolsa de papel desechable. Agregue una nuevo tableta cada vez que cambía la Bolsa de papel.


Para el reemplazo de la bolsa Tipo B, por favor llame al 1-800-321-1134 o visite nuestroSITE web www.royalvacuums.com para localizar al distribuidor más cercano a usted.
SACAR LA BOLSALLENA

Abra la cremallera de la Bolsa exterior.

Coloque la mano en la parte superior de la Bolsa de tela y tome la parte superior del collar de la Bolsa de papel. Tire del collar retrirandolo del tubo de polvo. Deseche la Bolsa de papel usada.
INSTALAR UNA BOLSANAUEVA

Coloque la Bolsa de papel adentro de la Bolsa de TCLa exterior. Asegürese de que la Bolsa de papel este totalmente extendida adentro de la Bolsa de tela.

Empuje el collar de la salsa de papel en el tubo de polvo pasando las lenguetas levantanadas en los costados del tubo para aseguarse que la salsa está fija en su lugar.

Cierre por completo la cremallera de la Bolsa de tela exterior.
FELICITACIONES
Usted es ahora el orgulioso propietario de una aspiradora vertical de Royal. Confiamos en que suneaegisión le ofrecerá muchos años de satisfacción.
Nuestra compañero diseño y descarrío este producto teniéndolo austed en mente.
Estamos muy orgullosos de nuestros productos y esperamos queusted esté igualmente satisfecho con su calidad y rendimiento.
Gracias por su apoyo a los productos Royal
Visite{nuestro sitio Web en www.royalvacuums.com
INDICE
Instrucciones de seguridad. Pagina E2, E3
Characteristics Pagina E5
Cómo ensambar . Págrina E6
Cómo funciona. Págrina E6
Bolsa de papel: quitar y reemplazar. Pagina E7
Banda y cepillo: quitar y reemplazar . Pagina E8
Cerdas para la limpieza de cordes: guitar y reemplazar....... Pagina E9
Foco: Retiro y Reemplazo. Págrina E9
Guía de solución de problemas Págrina E10
GARANTÍA LIMITADA
Royal Appliance Mfg. Co. garantiza al consumidor que esta aspiradora noiene defectos ni de material ni de mano de ora. La garantía comienza en la Fecha de compra original. Vea la etiqueta en la placá de datos de la aspiradora para información sobre la duración de la garantía y guarde el recibo de compra original para hacer正值 el inizio del periodo de garantía.
En caso que la aspiradora mestone algo ndefecto bajo el periodo de garantía, reparamos o reemplazarnos de manos gratuiterialmentefectuosa.Laquina completadebeserenviadaconportepagado acualquierEstacionAutorizadaROYAL deVentas y Servicio deGarantia.Porfavorincluyauna descripcióncompletedela problema,fecha delcompra,copia del recibo delcompraoriginalynsurname,domicilioynummero detelefon.Sin no seencuentrafelacena deunaEstaciondeGarantia,llamea lafabricapadoporiderasencia en losEE.UU.yCANAD:A:1-800-321-1134.Use solamente partedesrepuestos genuinasRoyal
La garantía no incluye el desgaste anormal, dano como resultado de un accidente o del uso no adecuado de la aspiradora.Esta garantía no cubre los cepillos,bandas planas, bolas, filtros o daño al ventilador. esta garantía no cubre reparaciones no autorizadas.Esta garantía le confiere derechos legales espécificos y podra haberculos derechos también. (Los除外enos varian de Estado a Estado en los EE.UU.)
IMPORTANTE: USE SOLAMENTE PARTES DE REPUESTO GENUINAS ROYAL. NOTE: REGRESE LA TARJETA DE GARANTIA PARA REGISTRAR SU ASPIRADA.
CHARACTERISTICAS

PARTFRONTAL
PARTFRONTAL
- Empunadura del asa
- Interruptor Encendido / Apagado
- Asa Superior
- Cremallera
- Bolsa de Tela Exterior
- Luz Frontal
- Parachoques
- Cerdas para la limpieza de cordes
- Boquilla

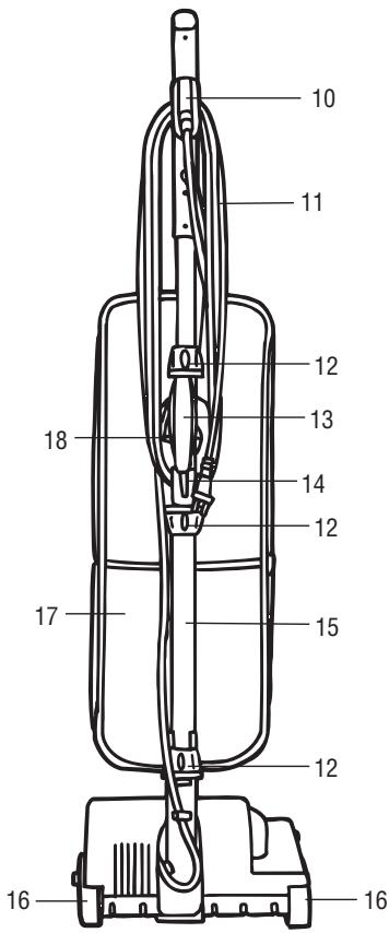
PARTE POSTERIOR
PARTE POSTERIOR
- Gancho con Liberación Rápida del Cordon Eléctrico
- Cordon Eléctrico
- Collares (3)
- Asa de transporte
- Gancho inferior para el cordón
- Asa inferior
- Ruedas
- Cavidad de la bolsa
- Guía del Cordonélectrico
CÓMÖ ENSAMBLAR
NOTA: Para garantizar un funcionaamento apropiado de la aspiradora, verifique que la junta tórica está en su situ y ajuste todos los collares.

Para fazer el asa inferior, alinéela con la abertura de la boquilla en la base de la aspiradora (Diagrama 1). Junte ambas partes con firme y gire la perilla en sentido horario para ajustarla (Diagrama 1a).

Para colocar la bolsa, empujé el asa con firmeza en el asa inferior (Diagramma 2). Gire la perilla superior en sentido antihorario para ajustarla yTRAbe el seguro de la Bolsa en el asa inferior (Diagramma 2a).

Para fazer el asa superior, alineela con la seccion intermedia de la aspiradora y empujela con firmeza para que quede en su lugar (Diagrama 3). Gire la perilla en sentido hora para ajustarla (Diagrama 3a).

Para mantenerlo fuera del caso cuando aspira, encajelo en la abrazadora para guardarlo que está en la parte posterior del asa superior.
CÓMOFUNCIONA
ADVERTENCIA: ENSAMBLE TOTALMENTE ANTES DE USARLA.
ALMACENAMIENTO DEL CORDON

Conecte el cordón eletrico en la toma de corriente. Mueva el interruptor a la posicion de ENCENDIDO.

Incline la aspiradora hacía atras antes de comenzar a aspirar. Al mesmo tiempo con el pie presione la boquilla contra la alfombra.

Para guardar el cordón electrico de forma prolija, enrollevo en los ganchos superior e inferior en la parte posterior de la aspiradora.
ManualFácil