MINI LED MANAGER MK2 - Controlador de iluminación JBSYSTEMS LIGHT - Manual de uso y guía de instrucciones gratis
Encuentra gratis el manual del aparato MINI LED MANAGER MK2 JBSYSTEMS LIGHT en formato PDF.
| Tipo de dispositivo | Fuente de alimentación LED DMX |
| Canales | 4 canales |
| Potencia máxima | 50W a 100W según modelo |
| Protocolo de control | DMX |
| Tipo de LED soportada | LED estándar |
| Alimentación | AC estándar |
| Dimensiones | Compacto, formato para rack |
| Montaje | Montaje en pared o rack |
| Interfaz de usuario | Indicadores LED y botones |
| Protección | Contra sobretensión y cortocircuito |
| Temperatura de funcionamiento | 0°C a 40°C |
| Peso | Ligero, portátil |
| Normas | CE |
| Idiomas del manual | EN, FR, NL, DE, ES, PT |
| Versión del firmware | 1.0 |
Preguntas frecuentes - MINI LED MANAGER MK2 JBSYSTEMS LIGHT
Preguntas de los usuarios sobre MINI LED MANAGER MK2 JBSYSTEMS LIGHT
0 pregunta sobre este aparato. Responde a las que conoces o haz la tuya.
Hacer una nueva pregunta sobre este aparato
Descarga las instrucciones para tu Controlador de iluminación en formato PDF gratis! Encuentra tus instrucciones MINI LED MANAGER MK2 - JBSYSTEMS LIGHT y toma tu dispositivo electrónico nuevamente en la mano. En esta página están publicados todos los documentos necesarios para el uso de su dispositivo. MINI LED MANAGER MK2 de la marca JBSYSTEMS LIGHT.
MANUAL DE USUARIO MINI LED MANAGER MK2 JBSYSTEMS LIGHT
Manual de instrucciones ES
Manual do utiliser PT
WWW.BEGLEC.COM
Recicular el aparato y pilas usadas de forma ecologica conforme a las disponeciones legales de su pais.
PT - COMO DESFAZER-SE DA UNIDADE
Gracias por comprar este produit JB Systems. Para sacar el máximo partir a todas lasmericanas, lea detenidamente estas instrucciones de funciona.
CHARACTERISTICAS
Estaiedad estáaprueba deinterferenciasde radio.Este productocumple los requisitos deldirectrices naciones y europeas actuales. Se haestablecido la conformidad y las instruetiones ydocumentos correspondientes han sido depositos porel fabricante.
-
SuMicrostro de energia extremadamente versátil para todos lostips de proyectores LED RGB.
-
Modos de funciona independiente发展目标:
-
Modo de color fijo: Acceso instantáneo a 16 colores preprogramados.
- Modo de oruga automatico: 16 orugas de color differs con 8 velocidades differentes.
- Modo de oruga con sonido: 16 orugas de color differs con activacion de audio.
-
Modo de oruga con atenuacion: 16 orugas de color differs atenuandose suavamente a 8 velocidades differentes.
-
Se pueda usarrialquier interruptor de pared para activar/desactivar la emisión, incluso en modo DMX.
-
Se pueda controlar todas las sistemas:
-
Directamente en el Micro / Mini LED Manager
- Con un DIMERIZADOR de PARED(optional (interfaz especial)
- Con controles remotos OPCIONALEDCON-02
- Con un LED Manager de 300 varios.
-
Conrialquier controlador estandarmDX.
-
Se pueda usar various Micro / Mini LED Managers en modo maestro/esclavo para create configuraciones de alta potencia totalmente sincronizadas.
- Micro LED Manager: Potencia de 50 varios con calidad de 24 Vcc. ( + + ) con proteccion contra cortocircuitos.
- Mini LED Manager Mk2: Potencia de 100 varios con calidad de 24 Vcc. (R + G + B) con proteccion contra cortocircuitos.
- Son necessarios 4 canales DMX: Ch1=rojo, Ch2=verde, Ch3=azul, Ch4=regulador de intensidad luminosa/estroboscópica.
- Carcasa preparada para instalarla fácilmente en la pared.
- Sin ventilador : jcompletamente silencioso!
ANTES DE UTILIZAR EL APARATO
Compruebe el contenido:
Compruebe que la caja contiene los siguientes elementos:
- Micro Led Manager o Mini LED Manager Mk2
- Cable de red
- Cable de conversion de salute
- Manual de usuario
Instrucciones importantes:
- Antes de comenzar a utiliser esta unidad, compruebe que no haya habido daños durante el transporte. Si observa alcún daño, no utilise el dispositivo y consulte primero a su distribuidor.
- Importante: Este disposito ha salido de nueas instalaciones en perfecto estado y bien embalado. Es absolutamente necessario que el usuario siga estricmente estas instrucciones y advertencias de seguridad que aparecen en este manual de usuario. Cualquier daño producido por un manejo innecasarooma exclude de la garantía. El distribuidor no asumiráunga responsabilidad por qualier defecto o problema que surja por no haber seguido elmanual de usuario.
- Guarde este folleto en un lugar seguro para consultarlo en el futuro. Si vendé este aparato más adelante, asegúrese de incluir estemanualde usuario.
- Para proteger el medio ambiente, recycle el material de embalaje en la medida de lo possible.
INSTRUCCIONES DE SEGURIDAD:

CAUTION
RISK OF ELECTRIC SHOCK DO NOT OPEN

PRECAUCTION: Para reducir el riesgo de electrocución, no quite la cubierta superior . Ninguna pieza usable adentro para el utilizador. Dirjase unicamente a personal calidad

El simbolo de un rayo en el interior de un triangulo alerta sobre la presencia o el uso de elementos no isolados donde un voltaje peligioso constituya un risgo grande para causar una eventual electrucución

El punto de exclamación en el interior de un triangulo alerta al usuario sobre la presencia de importantes instrucciones de operación y de mantenimiento tenidas enIELD a el manual de uso.

Este的概率 significativa : uso para el interior solamente
Este significo: Lea las instrucciones
- Para evaporar incendios o ríesgos de descarga, no exponga la unidad a la lluvia o a la humedad.
- Para evaporar que se forme condensacion en el interior, deje que la unidad se adapte a la temperatura exterior cuando la lleve a una habitacion calida desdedes del transporte. A vez la condensacion impide que la unidad funciona a pleno rendimiento yuede incluso provocar daños.
-Esta unidadsolespuedeusar enelinterior. - No coloque objetos metalicos ni derrame liquidos dentro del reproductor de la unidad. No deben colocar en la unidad objetos con liquidos, como jarrones. Se pueda produir descargas electricas o fallos de funciona. Si某个 objecto extraño entra en la unidad, desconnecte inmediamente el suMicrostro electrico.
- No coloque en el aparato fuentes de llamas, como velas encendidas.
- No cubra ninguna abertura de ventilaciónrial que podra producirse un sobrecalentamento de la unidad.
- Evite el uso en ambientes con polvo y limpie launidad regularamente.
- Mantenga launidad lejos de los niños.
- Las personas sin experiencia no deben utilizar este aparato.
- La maxima temperatura ambiente para un functionamento seguro es de 40^ . No utilise la unidad a temperatas ambiente superiores.
- Desenchufe sempre la unidad cuando no vaya a ser utiliser durante un长大o periodo de tiempo o antes de comenzar el mantenimiento.
- La instalación electrica sólo debe ser性和a cabo por personalriallicado,de acuerdo con la regulaciones sobre segundadlectrica y mecnica de su pais.
- Compruebe que el voltaje disponible no supera el que se indica en el panel trasero de la unidad.
- La entrada de toma deben permanecer operativa para la desconexión de la red electrica.
- El cable de alimentación siempreDebe estar en perfecto estado: Apague launidad inmediamente cuando observe daños o desperfacios en el cable de alimentación. Debe ser reemplazado por el fabricante, su agente de servicios o personas cualesducas para evacatarequalquierpeligro.
- Nunca deje que el cable de alimentación entre en contacto conOthers cables!
- Este aparato debe connectarse a tierra para cumplir con las regulaciones sobre seguidad.
- Para evaporar descargas electricas, no abra la cubierta. Aparte del fusible de red no hay piezas en el interior de este aparato que pueda mantener el usuario.
- Nunca repare un fusible ni derives el soporte del fusible. Reemplace siempre el fusible dañado por un fusible del mismo tipo y asignación electrónica!
- En caso de que occurran problemas de funciona serios,cede de utiliser el aparato ypongase en contacto con su distribuidor inmediamente.
- Utilice el embalaje original cuandoonga que transporte el dispositivo.
- Por razones de seguridad se prohibe realizar modificaciones no autorizadas en la unidad.
MANTENIMIENTO
- Limpie con un paño pulido ligeramente empapado en agua. Nocede entrada agua en launidad. Noutilice liquidos volátiles como bencina o diluyente, bajo que dañarán launities.
Atencion: JLe recomendamos encarecidamente que la limpieza interna sea llvada a cabo por personalriallicado!
FUNCTIONES

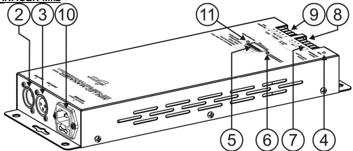
MICRO LED MANAGER

MINI LED MANAGER Mk2
- MICRóFONO INTERNO: se utilizes para las orugas que se activan por sonido.
- ENTRADA DMX: EI conector macho XLR de 3 clavijas se utilizes para conectar cables DMX universales.Esta entrada reciptions de un controlador DMX o de other Micro / Mini LED Manager cuando se utilizes en modo maestro/esclavo.
- SALIDA DMX: Se utilizes un conector XLR hembra de 3 pines para conectar el Micro / Mini LED Manager con elsignificantaparato DMX en laceda o con other Micro / Mini LED Manager cuando se utilizes en modo maestro/esclavo. El Micro / Mini LED Manager también peut usarse como controlador para others proyectores LED como por exemple "LED PAR56/64"
- LED DE ENCENDIDO: uso para comprobar si el Micro / Mini LED Manager está conectado a la red electrica.
- INTERRUPTORES DIP: Cuando se utilizes en modo DMX (DIP10 = DESCONECTADO) se pueda establerce la direccion de inicio DMX para la unidad. Cuando se utilizes en modo independiente (maestro, DIP10 = CONNECTADO), se pueda utilizelos interruptores DIP para establercer differsentes OPCIONES preprogramadas.
- BOTON DE DIRECCION DMX AUTOMÁTICO: a relacion con establercer fácilmente una direccion DMX
- TERMINALES DE SALIDA: Se utilizes para conectar proyectores LED de anodo common de 24 Vcc. Usted puede conectar cualquier cable electrico de 4 pulos para unir los proyectores de LED a esta calidad. Sin embargo para facilitarse la vida acontejamos要用 el cable CCM-50 especial (rollo = 50m). En este cable los hilos corresponden a los colores de los LEDs .
-
ENTRADA DE INTERRUPTOR ANALOGICO: Se utilizes para conectar cualquier interruptor analogico externo. Este interruptor externo puede utiliser para conectar o desconectar la emissión del Micro / Mini LED Manager. (oscurecimiento externo) Consulte más adelante para Obtener información sobre como conectar el interruptor analógico.
-
ENTRADA del DIMERIZADOR de PARED: se usa para conectar el DIMMER de PARED, un(PC)que caben enquelquier estandar"la caja elcctrica de la pared". Consulte mas adelante para mas informacion sobre como conectar el DIMERIZADOR de PARED.
- ENTRADA DE RED: con la toma IEC, connecte el cable de red suMicrostradoAquí.
- ESTADO del LED: muestra el estado de la unidad, deben parpadear cuando detecta la seals DMX.
AJUSTES DE LOS INTERRUPTORES DIP
Interruptor DIP 10:
| Ajuste del interruptor DIP | Función |
| ON 12345678910 | DIP10 = DESCONECTADO → DMX / Funcionamente en modo esclavo Usted pueda usar el directionamento DMX automatico (ver más adelante) o los DIP-switches tradicionalies |
| ON 12345678910 | DIP10 = CONNECTADO → Funcionamente en modo maestro (independiente) Use los interruptores DIP 1~9 para colocar las functions de modo, velocidad, patrones, color fijo etc. A continually, se explicá una de estas functions con más detalle. |
Interruptores DIP 1&2: Modelo (Sonido/automática/atenuación/color bajo):
| Ajuste del interruptor DIP | MODALIDAD |
| ↓ON 1 2345678910 | SONIDO: el micrófono interno activa los patrones selectionados. |
| ↓ON 1 2345678910 | AUTOMÁTICO: el patrón selectionado se ejecta automatistically a la velocidad deseada. |
| ↓ON 1 2345678910 | ATENUACION: los colores del patrón selectionado se atenúan suavamente a la velocidad deseada. |
| ↓ON 1 2345678910 | COLOR FIJO: use los interruptores DIP 6, 7, 8 & 9 para selectionar los colores deseados. |
Interruptores DIP 3,4 & 5: Velocidad (de=rápido a lento):
| Ajuste del interruptor DIP | modo automático/atenuación | |
| ↓ON 12345678910 | Velocidad 1 | Velocidad |
| ↓ON 12345678910 | Velocidad 2 | |
| ↓ON 12345678910 | Velocidad 3 | |
| ↓ON 12345678910 | Velocidad 4 | |
| ↓ON 12345678910 | Velocidad 5 | |
| ↓ON 12345678910 | Velocidad 6 | |
| ↓ON 12345678910 | Velocidad 7 | |
| ↓ON 12345678910 | Velocidad 8 | Velocidad |
Interruptores DIP 6,7,8 & 9: Oruga & Color:
| Ajuste del interruptor DIP | MODO DE SONIDO & AUTOMÁTICO | MODO DE COLOR FIJO |
| ↓ON 12345678910 | Oruga estándar | Blanco |
| ↓ON 12345678910 | Oruga brillante | Rojo |
| ↓ON 12345678910 | Oruga Ambiental | Naranja |
| ↓ON 12345678910 | Oruga aleatoria de espectro | Ámbar |
| ↓ON 12345678910 | Oruga de secuencia de espectro | Amarillo |
| ↓ ON | 1 2 3 4 5 6 7 8 9 10 | Oruga dinámica | Amarillo claro |
| ↓ ON | 1 2 3 4 5 6 7 8 9 10 | Oruga Roja – Cian | Verde manzana |
| ↓ ON | 1 2 3 4 5 6 7 8 9 10 | Oruga Verde – Púrpura | Verde claro |
| ↓ ON | 1 2 3 4 5 6 7 8 9 10 | Oruga Azul – Roja | Verde |
| ↓ ON | 1 2 3 4 5 6 7 8 9 10 | Oruga Amarilla – Azul | Cian |
| ↓ ON | 1 2 3 4 5 6 7 8 9 10 | Oruga Roja – Verde | Azul |
| ↓ ON | 1 2 3 4 5 6 7 8 9 10 | Oruga Amarilla – Verde | Azul oscuro |
| ↓ ON | 1 2 3 4 5 6 7 8 9 10 | Oruga Cian – Naranja | Púrpura |
| ↓ ON | 1 2 3 4 5 6 7 8 9 10 | Oruga Verde - Púrpura claro | Púrpura claro |
| ↓ ON | 1 2 3 4 5 6 7 8 9 10 | Oruga Roja – Amarilla | Magenta |
| ↓ ON | 1 2 3 4 5 6 7 8 9 10 | Oruga Amarillo dorado - Azul | Rosa |
INSTALACION ELECTRICA
La instalación electrica sólo debe ser技术水平a cabo por personalriallicado,de acuerdo con la regulaciones sobreseguidadeelectricaymecanica de su Pais.
Conexión de los proyectores LED a la calidad de launidad:
Important: Apague el Micro / Mini LED Manager antes de instalar los proyectores LED. La energia total maxima del Micro Led Manager es 50 W, distribuidos en 3 colores: cada uno de los 3 colocores Tiene una energia maxima de 16W ~ 17W. La energia total maxima del Mini Led Manager Mk2 es 100 W, distribuidos en 3 colores: cada uno de los 3 colocores Tiene una energia maxima de 33W.
Se pueda conectar dos temas differentes de projectoros LED pasivos:
A. Proyectores LED con conductor especial de 4 pines (ej. BANDA DE LEDs):
Use el cable de conversion suMicrostrado y conecte los 4 cables de los proyectores LEDEs a los 4
terminales del MICRO / MINILED MANAGER. Fije todos losprojectorescorrectamente ycoloque los cables deentradar/salida en capena hasta
que alcance la energia maxima admissible. Asegürese depletar el anillo de plástico del conector.
B. Proyectores LED con cables abiertos (ej. LUZ DE TIERRA LED):
Conectar simplemente los cables coloreados a los terminals correspondientes del MICRO/MINI LED MANAGER. Asegúrese de no sobrepasar la energia maxima admissible:
- Cable blanco: Este es el cable comun (ánodo)
- Cable rojo:Esta es la alimentacion para los LEDs rojos
- Cable verde:Esta es la alimentacion para los LEDs verdes
- Cable azul:Esta es la alimentacion para los LEDs azules
Observación: Las salidas de los projectores están protegadas contra los cortocircuitos. Si por Casualidad ocurre un cortocircuito, es mejor hacer un reseteo desconectando el Micro / Mini LED Manager de la redunos 10segundos.
Conexión de un interruptor externo análogo para blackout:
La realizacion de un interruptor ordinario, le permite poner la salute del Micro / Mini LED Manager en modo blackout, incluso si esta controlado por DMX: por exemple usted能把 utiliser "el interruptor de la pared" para encender y apagar el LED-light enequalquier momento!
- Conectando el interruptor de pared (contactos abiertos): la salute = ENCENDIDO

- Conectando el interruptor de pared (contactos cerrados): salute = APAGADO (blackout)
Conexión del dimerizador LED WALL DIMMER:
Este微量元素 LED WALL DIMMER es fácil de uso, se conectará en una caja electrónica estandar de pared. Este se pueda conectar directamente al Micro / Mini LED Manager. Los 0V & +12V se pueda conectar con cable normal de 2 conductores. Para la seals DMX se utilizes un cable blindado de buena calidad y balanceado.
Observación 1: el Micro / Mini LED Manager Tiene quelearva la direccion DMX 001,utilizar los tradiconiales DIP switches (mirar "Dichoaniento DMX,aprender a hacer este)
Observación 2: si usted quiere controlar más de 1 (Micro) LED Manager, solamente conecta los LED Manager entre si con las entradas ysonianas DMX yponer todas las direcciones de DMX a 001.

Instalación electrónica en modo maestro/esclavo:
- Necesita conectar en "cadena tipo margarita" las entradas/salidas DMX de 2 o más unidades con un cable equilibrado de alta calidad

- Encienda launidad con el conductor de entrada libre DMX en modo maestro, las cuales unidas se encienden automatistically en modo esclovo. Los interruptores DIP en las unidas esclavas se deshabilitan.
Instalacion eletrica en modo maestro/esclavo con control remoto LEDCON-02:
- Necesita conectar en "cadena tipo margarita" las entradas/salidas DMX de 1 o más unidades con la calidad del control remoto LEDCON-02 mediante un cable equilibrado de alta calidad.

- El control remoto LEDCON-02 se utilizes para controlar todas las unidades esclavas. Los Micro / Mini LED Managers se encienden automatistically en modo esclovo. Los interruptores DIP en las unidades esclavas se deshabilitan.
Instalacion electrica en modo DMX:
- El protocolo DMX es unaelfast de alta velocidad muyutilizada para controlar equipo de iluminacion intelligente. Necesita conectar enceda tipo margarita su controlador DMX y todas las unidades conectadas con un cable equilrado de buena calidad

-
Para evitar un comportamento anomalo de los efectos luminosos, deben a interferencias, debenunarun terminatorde 90 a 120 al finalde laceda. Nuncautiliceb cablesdivisoresenY,jNofuncionaran!
-
El interruptor DIP 10 debe desconectarse en todas las unidades. Cada unidad en la cnnada necessita su direccion de inicio correcta para saber desde que el controlador DMXdebesdescodificar.Cuando necesite mucha energia puebeutiliza LEDManagersuysuMicrostrarlesla misda directiondeinicio.Consulteel capitule comoestablecerlasdirezonDMX.
DIRECCIONAMENTO DMX

\~120 ohms resistor
Establecimiento de las direcciones DMX:
Existen 3 formas de establishar la direc tion DMx de las unidades. Si utilizes las options de ajuste A o B,
DEBE establercer TODOS los interruptores DIP en la posicion OFF (DESCONECTADA).
A. Establecimiento de direcciones DMX individuales por Micro / Mini LED Manager:
- Asegürese de que TODOS los interruptores DIP están en la posición OFF (DESCONECTADOS).
- Asegürese de que todas los cables DMX están connectados.
- Conecte la prima unidad al controlador DMX universal.
- Conecte todas las unidades a la red electrica para que estén activadas.
- Establishzca todos los canales DMX en su controlador DMX a cero (valor 000).
- Establishzca el canal DMX, que deseee asignar como direccion de inicio DMX de su Micro / Mini LED Manager, al maximo (valor 255)
- Pulse brevamente el botón "Auto DMX address" (6) en el Micro / Mini LED Manager.
- Si deseña establercer(other unidad a la misma direccion de inicio DMX, pulse simplemente su botón "Auto DMX address" (6) y recibirá la misma direccion.
: Ya esta!
Un ejemplo para aclarar las cosas:
Estableceremos la direccion de inicio DMX de un Micro / Mini LED Manager a 106:
- Conecte el Micro / Mini LED Manager al controlador DMX tal y como se describe anteriamente y asegúrese de que está activado.
- Establezca todos los canales DMX en el controlador a cero (000)
- Establezca el canal DMX 106 al máximo (255)
- Pulse brevamente el botón "Auto DMX address" (6) en el Micro / Mini LED Manager.
- jYa está! → Ahora su Micro / Mini LED Manager tiene la direccion DMX 106.
B. Direcciónamiento DMX automatico, comenzando desdeequalquier direccion de inicio dada:
Para ahorrar tiempo (imaginese el tiempo queribaestablecer los interruptores DIP de 16 unidades...) peut establear las direcciones DMX de todas las unidades en laceda DMX pulsando un botón. No esnecessary calculating a direccion de inicio de cada unidad individual,esto se hase por usted.
- Asegürese de que TODOS los interruptores DIP están en la posión OFF (DESCONECTADOS).
- Asegürese de que todas los cables DMX están connectados.
- Conecte la primera unidad al controlador DMX universal.
- Conecte todas las unidades a la red electrica para que estén activadas.
- Establishzca todos los canales DMX en su controlador DMX a cero (valor 000).
- Establishzca el canal DMX, que deseee asignar como direccion de inicio DMX de su Micro / Mini LED Manager, al maximo (valor 255)
- Pulse el botón "Auto DMX address" (6) en el primer Micro / Mini LED Manager de laadena duranteunos 5segundos.
- iYa está! → El primer Micro / Mini LED Manager en laadena recibirá la direction de inizio DMX que ha的选择ado y calcular y programará automatistically las direcciones DMX de todas lasDEMás direcciones en laadena.
Un exemple para aclarar las cosas:
Queremos建立起 las direcciones DMX de 16 unidades, la direccion de inicio DMX del primer Micro / Mini LED Manager debe ser 202:
- Conecte todos los Micro / Mini LED Manager al controlador DMX tal y como se describe anterionmente y asegúrese de que está activados.
- Establishzca todos los canales DMX en el controlador a cero (000)
-
Establezca el canal DMX 202 al máximo (255)
-
Pulse el botón "Auto DMX address" (6) en el primer Micro / Mini LED Manager de laadena duranteunos 5segundos.
- yA está! → El primer Micro / Mini LED Manager en la cnneta recibirá la direccion de inicio DMX 202 que ha selecciónado y calculará y programará automatistically las direcciones DMX de todas lasDEMas.
- Micro / Mini LED Manager 16 que recibe automatistically la direccion de inicio 262.
Acaba de programar 16 Micro / Mini LED Manager s en 10 segundos.
Observación: puede mezclar la unidads con otros efectos que no tengan larolledación de directiónnamento automatico DMX. En este caso,debé establecer las direcciones DMX de这些东西 DMX manualmente. Usted también pueda mezclar el Micro / Mini LED Manager conothers productos LED de JB Systems que incorporen el direcnacionamento DMX automatico. Estos también recibirán automatistically sus direcciones DMX
C. Ajuste de las DIRECCIONES-DMX con los commutadores DIP switches:
Esto es el método de direccion tradicional, este método deben ser utilisé con el(PC). dimerizador LED WALL DIMMER.
Los primeros 9 interruptores DIP corresponden a cierto valor DMX:
| DIP | #1 | #2 | #3 | #4 | #5 | #6 | #7 | #8 | #9 |
| Valor | 1 | 2 | 4 | 8 | 16 | 32 | 64 | 128 | 256 |
Puede combinar los values de这些 interruptores para Obtener una direccion de inicio entre 1 y 512:
Dirección de inicio = 01 → interruptor 1=ON valores: 1
Dirección de inicio = 05 → interruptor 1 + 3 = ON VALUES: 1 + 4 = 5
Dirección de inicio = 09 → interruptor 1 + 4 = ON VALUES: 1 + 8 = 9
Dirección de inicio = 13 → interruptor 1 + 3 + 4 = ON values: 1 + 4 + 8 = 13
Dirección de inicio = 62 interruptor 2 + 3 + 4 + 5 + 6 = ON values: 2 + 4 + 8 + 16 + 32
A. 1 unidad independiente:
- Connect los projectores LED al Micro / Mini LED Manager tal y como se indica en los capitulos anteriores.
- Encienda la unidad y consulte el capítulo "AJUSTES DE INTERRUPTORES DIP" para familiarizarse con las varias functions de los atenuadores y botones.
B. Dos o más unidades en configuración maestre/esclava:
- Conecte los projectores LED al Micro / Mini LED Manager tal y como se indica en los capitulos anteriores.
- Conecte las unidades lasunas conlasotal y como se explican enel capitulo sobre instalaciones electricas.
- Encienda los Micro / Mini LED Managers. Sóloouldarutilizarloscontroleenla unidadmaestra,los controles en las unidades esclavas estan deshabilitados.Consulte el capitulo "AJUSTES DE LOS INTERRUPTORES DIP"para familiarizarse con las varias functions de los atenuadores y botones en la unidad maestra.
C. Conecte el LEDCON-02 para el control remoto:
En la mayoría de los casos el MICRO / MINI LED MANAGER se instalará en la pared, circa de los projectores LED. Si DEA acceder fácilmente a sus sistemas, pueda conectar los controlles remotos LEDCON-02 al (primer) Micro / Mini LED Manager. Las otheras conexiones son identicas a aquellas en las configuraciones en modo maestro/esclavo o independiente. No olvide de realizar la direccion automática sobre el LEDCON-02!
D. Control mediante controlador DMX universal:
- Conecte los projecadores LED al Micro / Mini LED Manager tal y como se indica en los capitulos anteriores.
- Conecte el Micro / Mini LED Manager con otros aparatos DMX en la cadena DMX.
- Encienda todas las unidades y establezca las direcciones DMX correctas. (no olvide establercer el interruptor DIP 10 en OFF (DESCONECTADO))
- Enciya su controlador universal DMX y consulte la tabla DMX de abajo para controlar los Micro / Mini LED Managers conectados:
| DMX512 Configuration | |||
| Ch1 | Ch2 | Ch3 | Ch4 |
| RED | GREEN | BLUE | DIMMER/STROBE |
| 255 100% | 255 100% | 255 100% | 248-255 OPEN |
| 0 0% | 0 0% | 0 0% | 201-247 |
| 191-200 | |||
| SOUND CHASE | |||
| 8-190 | |||
| CLOSED | |||
ESPECIFICACIONES
Entrada de alimentacion:
Voltaje de calidad para los LEDs:
Alimentación de salute para los LEDs:
AC 100 250V (50Hz/60Hz)
CA 24V anodo común
Micro LED Manager: 1x 50 W max.
Rojo 16W 17W max.
O Verde 16W 17W max.
O Azul 16W 17W max.
Mini LED Manager Mk2: 1x 100 W max.
Rojo 33W max.
o Verde 33W max.
Azul 33W max.
Conexiones DMX:
Canales DMX:
3 pines XLR (DMX-512 estandar)
4 (CH1: rojo, CH2: verde, CH3:azul, CH4:regulador de
intensidad luminosa/estroboscópica)
microfono interno
Consulte el grafico en la ultima頁ina
1,00kg (Micro LED Manager)
1,70kg (Mini LED Manager Mk2)
Toda la informacion está sujeta a cambio sin previo aviso Puede descargar la ultima version de este manual de usuario en esta网页: www.beglec.com
ManualFácil