ESPRIMO MOBILE PORT REPLICATOR - Estación de acoplamiento para computadora portátil FUJITSU SIEMENS - Manual de uso y guía de instrucciones gratis
Encuentra gratis el manual del aparato ESPRIMO MOBILE PORT REPLICATOR FUJITSU SIEMENS en formato PDF.
| Tipo de producto | Estación de acoplamiento para computadoras portátiles |
| Compatibilidad | Fujitsu Siemens Esprimo Mobile |
| Puertos disponibles | USB, VGA, HDMI, Ethernet, audio |
| Alimentación eléctrica | Fuente de alimentación externa requerida |
| Dimensiones aproximadas | 300 mm x 100 mm x 50 mm |
| Peso | 1,5 kg |
| Funciones principales | Conexión rápida y fácil a dispositivos externos |
| Mantenimiento y limpieza | Limpiar con un paño suave, evitar productos abrasivos |
| Piezas de repuesto y reparabilidad | Disponibilidad variable según el modelo |
| Seguridad | Cumple con las normas de seguridad eléctrica |
| Información general | Ideal para profesionales en movimiento, facilita la conexión a una oficina fija |
Preguntas frecuentes - ESPRIMO MOBILE PORT REPLICATOR FUJITSU SIEMENS
Preguntas de los usuarios sobre ESPRIMO MOBILE PORT REPLICATOR FUJITSU SIEMENS
0 pregunta sobre este aparato. Responde a las que conoces o haz la tuya.
Hacer una nueva pregunta sobre este aparato
Descarga las instrucciones para tu Estación de acoplamiento para computadora portátil en formato PDF gratis! Encuentra tus instrucciones ESPRIMO MOBILE PORT REPLICATOR - FUJITSU SIEMENS y toma tu dispositivo electrónico nuevamente en la mano. En esta página están publicados todos los documentos necesarios para el uso de su dispositivo. ESPRIMO MOBILE PORT REPLICATOR de la marca FUJITSU SIEMENS.
MANUAL DE USUARIO ESPRIMO MOBILE PORT REPLICATOR FUJITSU SIEMENS
Replicador de puertos 1
Simbolos 1
Indicaciones importantes 2
Indicaciones de seguridad 2
Transportedequipo 2
Limpieza del equipo 2
Puesta en servicios y manejo 3
Desembalaje y verificacion del contenido del suministro 3
Colocacion del replicador de puertos 3
Conexión del adaptor de red al replicador de puertos 4
Acoplamento del ordinador portátil al replicador de puertos 4
Conexión del ordinador portálil mediante el replicador de puertos 6
Desconexión del ordinador portátil mediante el replicador de puertos 6
Desacoplamento del ordinador portátil del replicador de puertos 7
Conexión de dispositivos externos 7
Conexión de dispositivos al ordinador portátil 8
Desconexión de dispositivos del ordinador portátil 8
Conectores del replicador de puertos 9
Protection antirrboro 11
Proteger el replicador de puertos y el ordinador portálil de robos 11
SolutiOn de problemas y consejos 11
Replicador de puertos
El replicador de puertos es un dispositivo de acoplimiento, con cadaonga podra conectar rapidamente los ordinadores portátilles de Fujitsu Siemens a sus dispositivos periféricos, como monitor, impresora, etc.
Paraarlo,el replicador de puertos dispone de los connectores estandar de audio,para monitor,raton y teclado.
Para poder trabajo con sus periféricos solamente tendrá que acoplar el ordinador portálil - no necesita enchufar cables adiconiales.
Símbolos
| I | Identificanindicacionesquedebentenerseencuenta.Sinolasobservapuedeponer enpeligrosu vida,deteriorar elequipoou sufriruna perridade datos.Lagarantíavencerá,si se dañaelequipo por no observarestasindicaciones. |
| i | Destacainformaciónimportantaparaelcorrecto manejo delequipo. |
| > | señalana operaciónquedeberealizar |
| L | Señalanaresultado. |
| Este tipo deletra | marca las entradas que se efectuáncon elteclado enelcuadrodediálogo de unprograma o en una lineadebatmando,p.ej.sucintraseña(Nombre123) o unaorden para iniciairen programa (start.exe) |
| Este tipo delletra | marca la informaciónque daunprograma enpantalla,p.ej.:Lainstalaciónha conclusido. |
| Este tipo delletra | marcatextos dellos botonesdelosprogramas,p.ej.:Haga clickenGuardar.nombres delprogramas oarchivos,p.ej Windows osetup.exe. |
| "Este tipo delletra" | marcareferenciasaothersections,p.ej."Indicacionesdeseguidad".referenciasauna fuente delinformationexternal,p.ej.,una direcciónde una página web:Para más información"www.fujitsu-siemens.com"nomeresdeCD,DVD y denominacionesy títulosdeotros materiales,como p.ej.: "CD/DVD Drivers & Utilities" o elmanual "Safety"(Seguidad). |
| Abc | indicauna tecla delteclado,p.ej.:F10 |
| Este tipo delletra | marca conceptos y textosquebenacentuarseorresaltarse,p.ej.:Noapagarel equipo |
Indicaciones importantes

Es imprescindible queonga en cuenta lasindicaciones de seguridad del manual "Seguridad", y delmanual de instrucciones "Professional Notebook" ylasindicacionesdeseguradedeeste manual.
Indicaciones de seguridad

Es imprescindible queonga en cuenta lasindicaciones de segundad del manual "Safety" (Seguridad) y lasindicaciones de segundad siguientes.
Tenga en cuenta losApartados del manual que aparezcan marcados con este simbolo al lado.
- Al colocar el equipo y antes deponerlo en service, preste atencion al capitulo "Puesta en service y manejo", Pagina 3.
- Siga también las indicaciones relativas a las conditiones de entorno en el capítulo "Característicatsécnicas" del manual "EasyGuide" de su ordinador portátil.
Transporte del equipo

Transporte los equipos individualmente y solo en su embalaje original, o bien en除外 embalaje adecuado que-ofrezca proteccion contra golpes.
Desembale los equipos tan solo en el lugar donde se van a colocar.
Limpieza del equipo

Desconecte el equipo y todos los dispositivos connectados a este y desenchufe también el cable de alimentacion de la caja de enchufe con toma a tierra.
El interior de la caja del equipo debe ser limpiado exclusivamente por personalrialificado.
Evite que penetren liquidos en el interior de la caja.
Para la limpieza de la superficie de la caja es suficiente un paño seco. Si la suciedad es mayor, emplee un paño humedecido en agua con un detergente suave y bien escurrido.
Puesta en servicios y manejo

Observe lasindicaciones de seguidad del capitulo "Indicaciones importantes", Pagina 2.
Desembalaje y verificacion del contenido del suministro
Desembale todos los elementos.
- Verifique el contenido del suministro y asegürese de que no se han producido daños visibles debidos al transporte.
Compruebe que los elementos suministrados coinciden con los datos de lanota de entrega.

Si detecta danos de transporte o diferencias entre el contenido del suministro y lanota de entrega, informe inmediamente a su distribuidor.
Le recomendamos que guarde el material de embalaje original. Guarde el material de embalaje original por si lo requiresa para transportar nuevomente el equipo.
Colocacion del replicador de puertos

Antes de colocar su replicador de puertos, deben buscar un lugar adecuado para el本身就是. A tal efecto, siga lasindicacionessiguientes:
- El replicador de puertos no debe colocarse nunca sobre una superficie blanda (p. ej., alfombras, muebles tapizados o camas). Este peutbloquear la ventilacion y consecuentemente originar daños por sobrecalentamento.
- Coloque el replicador de puertos sobre una superficie sóida, plana y antideslizante. Tenga en cuenta que los pies de goma del replicador de puertos peuvent estar marcadas.
- No coloque jamás ni el replicador de puertos ni el adaptorder de red sobre una superficie sensible al calor.
- No tape nunca las ranuras de ventilación del replicador de puertos y del adaptorador de red.
- El replicador de puertos no debe exponsera a conditiones ambientales extremas y debe protegerse del polvo, de la humedad y del calor.
Conexión del adaptor de red al replicador de puertos

Enchufe el adaptor de red al conector de tension continua (DC IN) del replicador de puertos (1).
Enchufe el cable de alimentacion en el adaptador de red (2).
Enchufe el cable de alimentacion en la caja de enchufe (3).

Si el ordinador portátil se conecta a un replicador de puertos, el sistema operativo genera un perfil de hardware para el modo "Acoplado". En este perfil se almacena, por exemple, el ajuste de en qué pantalla se realizó laulta visualización. Este perfil seonga en cuando se conecta el ordinador portátil a un replicador de puertos del mesmo tipo.
Acoplamento del ordinador portátil al replicador de puertos

Si conecta el ordinador portátil durante el service al replicador de puertos, pueda producirse problemas. Le recomendamos apagar previamente el ordinador portátil.

Si el ordinador portátil está conectado al replicador de puertos, esnecessaryconectarel replicadordepuertosaladaptadorde red.En casocontrario nofuncionaránalgunos puertos.
Si el ordinador portátil está conectado al replicador de puertos, solamente的功能an las conexiones de audio del replicador de puertos.
Cuando el ordinador portátil está conectado al replicador de puertos, le recomendamos no utilizar el ordinador portátil con la pantalla de cristal liquido abatida. El sobrecalentcimiento así occasionado pueda afectar al rendimiento y augmentar la activités de los ventiladores integrados.
Aague el ordinador portatl.
Desenchufe el conductor del adaptor de red de la toma de corriente.
Desenchufe el cable del adaptor de red del conector de tension continua (DC IN) del ordinador portátil.

Posizione el ordinador portátil de modo que apoye contra el borde posterior del replicador de puertos.
Encaje el ordinador portátil sobre el replicador de puertos (1) de modo que enclave perceptiblemente.
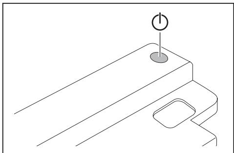
Conexión del ordinador portátil mediante el replicador de puertos

▶ Pulse el interruptor de connexion/defconexión del replicador de puertos para encender el ordinador portátil.
El indicator de operation del replicador de puertos se illumina.
Desconexión del ordinador portátil mediante el replicador de puertos
Cierre todas lasDEMAs aplicaciones y elsystema operativo (vease el manual del systema operativo).

Si el ordinador portátil no se apaga correctamente, pulse el interruptor de connexion/desconexión del replicador de puertos durante aproximadamente cuatro segundos. El ordinador portátil se apaga. Se pueda perditer todos los datos que no se hayan guardado.
Desacoplamento del ordinador portátil del replicador de puertos

Si desacopla el ordinador portátil durante el service del replicador de puertos,SEO, yene producirse problemas.Le recomendamos desconectar previamente el ordinador portátil o desacoplar el ordinador portátil a工程技术 de la referencia correspondiente del sistema operativo.
Aague el ordinador portatl.

Tire de la palanca de desbloqueo en la direction de la flecha (1) hasta que el ordinador portátil se libere perceptiblemente.
Levante el ordinador portail (2).
Conexión de dispositivos externos

Observe siempre lasindicaciones deseguidad del capitulo "Indicaciones importantes",Pagina 2.
Lea la documento correspondiente al dispositivo externo antes de conectarlo.
No enchufe ni desenchufe los cables cuando haya tormentas.
No tire del cable al desenchufar un cable. Para desenchufar los cables, tire siempre del conductor.
Siga el order descrito a continuacion si desea conectar dispositivos externos al ordinador portail o desconectarlos del mesmo:
Conexión de dispositivos al ordinador portátil
- Apague todos los dispositivos correspondentes.
- Desenchufe todos los cables de alimentacion de las cajas de enchufe con toma a tierra de la instalacion electrica local.
- Enchufe todos los cables en el ordinador portátil y en los periféricos.
- Enchufe todos los cables de transmisión de datos en los dispositivos de connexion de las redes de datos.
- Enchufe todos los cables de alimentacion en las cajas de enchufe con toma a tierra de la instalacion electrica local.

Tenga en cuenta que si no se ha conectado un adaptor de red al replicador de puertos, los componentes periféricos que estén connectados你能 descargar la bateria del ordinador portátil.
Desconexión de dispositivos del ordinador portátil
- Apague todos los dispositivos correspondentes.
- Desenchufe todos los cables de alimentacion de las cajas de enchufe con toma a tierra de la instalacion electrica local.
- Desenchufe todos los cables de transmisión de datos de los dispositivos de connexion de las redes de datos.
- Desenchufe todos los cables del orderador portátil y de los periféricos.

Para información sobre las conexiones de su ordinador portétil véase el manual EasyGuide correspondiente.

El manual "Professional Notebook", suministrado con su ordinador portátil, contiene un capítulo con el titulo "Conexión de dispositivos externos". En este capítulo se describe el modo de conectar dispositivos externos (p. ej., ratón, impresora).
Conectores del replicador de puertos

1 = Dispositivo Kensington Lock (replicador de puertos y dispositivo acoplado)
2 = Puerto para LAN
3 = Puerto eSATA
4 = Puertoos USB
5 = Puerto PS/2
6 = Interfaz paralela
7 = Interfaz en série
8 = Puerto para monitor DVI-D digital
9 = Puerto para monitor VGA
11 = Conector hembra de tension continua (DC IN)
12 = Dispositivo Kensington Lock (replicador de puertos)

1 = Puerto para micrófono
2 = Puerto para auriculares
3 = Indicador de funciona
4 = Conector del replicador de puertos para el conector de acoplimiento
que se enquiryra en la parte inferior del ordinador porttil
5 = Interruptor de conexión/desconexión
Protección antirrobo
El replicador de puertos dispone de un dispositivo Kensington Lock para el Kensington MicroSaver. Con el Kensington MicroSaver, que es un cable de acero robusto, pueda proteger del robo el ordinador portátil y el replicador de puertos. El Kensington MicroSaver está disponible como accesorio.
Proteger el replicador de puertos y el ordinador portátil de robos


Si instalala el Kensington MicroSaver en el disposativo Kensington Lock (1), quedaran protegidos tanto el replicador de puertos, como el equipo acoplado.
Si instalala el Kensington MicroSaver en el dispositivo Kensington Lock (2), tan solo quedará protegado el replicador de puertos, pero no el equipo acoplado.
Conecte el ordinador portail al replicador de puertos.
Instale el Kensington MicroSaver en uno de los dispositivos Kensington Lock de su replicador de puertos.
Solución de problemas y consejos
El manual "Professional Notebook", suministrado con su ordinador portátil, contiene un capítilo con el titleslo "Solutión de problemas y consejos". En este capítilo se describe los algunos problemas que你能 surgir al operar con su equipo. De no poder eliminar el problema, póngase en contacto con nuestro Help Desk.
Contenuo
O replicador de portas 1
Simbolos 1
Colocar o replicador de portas 3
Ligar o adaptor de rede a porta de conector de replicador 4
Ligar o Notebook ao replicador de portas 5
Ligar o portafil atraves do replicador de portas 6
Desligar o Notebook atraves do replicador de portas 6
O replicador de portas
Colocar o replicador de portas

Ligar o portátil através do replicador de portas

Prima o interruptor de ligar/desligar do replicador de portas, para ligar o Notebook.
O indicator de corrente do replicador de portas acende.
Se aplicar o Kensington MicroSaver ao dispositoivo Kensington Lock (1), estara a proteger não so o replicador de portas como también o aparelho que se encontrar anorado.
ManualFácil