PDK-TS07 - Accesorio de audio PIONEER - Manual de uso y guía de instrucciones gratis
Encuentra gratis el manual del aparato PDK-TS07 PIONEER en formato PDF.
| Tipo de producto | Altavoz Bluetooth portátil |
| Características técnicas principales | Tecnología Bluetooth 5.0, sonido estéreo, resistencia al agua IPX7 |
| Alimentación eléctrica | Batería recargable integrada |
| Dimensiones aproximadas | 20 x 8 x 8 cm |
| Peso | 1,2 kg |
| Compatibilidades | Compatible con todos los dispositivos Bluetooth |
| Tipo de batería | Batería de iones de litio |
| Tensión | 5V |
| Potencia | 20W |
| Funciones principales | Reproducción de música, llamadas manos libres, conexión multipunto |
| Mantenimiento y limpieza | Limpiar con un paño suave, evitar productos químicos |
| Piezas de repuesto y reparabilidad | Disponibilidad limitada de piezas, consultar el servicio postventa |
| Seguridad | No exponer a temperaturas extremas, no sumergir en agua |
| Información general útil | Ideal para actividades al aire libre, autonomía de 10 horas |
Preguntas frecuentes - PDK-TS07 PIONEER
Preguntas de los usuarios sobre PDK-TS07 PIONEER
0 pregunta sobre este aparato. Responde a las que conoces o haz la tuya.
Hacer una nueva pregunta sobre este aparato
Descarga las instrucciones para tu Accesorio de audio en formato PDF gratis! Encuentra tus instrucciones PDK-TS07 - PIONEER y toma tu dispositivo electrónico nuevamente en la mano. En esta página están publicados todos los documentos necesarios para el uso de su dispositivo. PDK-TS07 de la marca PIONEER.
MANUAL DE USUARIO PDK-TS07 PIONEER
Manual de instrucciones
操作說明書
ご使用の前に
Gracias por haber comprado este producto Pioneer. Le rogamos repase estas instrucciones para saber manejar su Modelo correctamente. Después de leer las instrucciones, guardelas en un lugar seguro para utilizeslas como referencia en el futuro.
PRECAUCION
Este*simbolo refiere a peligros o a pratica peligrosa que pueda causar lesiones personales o daños materiales.
Instalación
- Si se le presentaran dificultades en cuando a la instalacion, consulte con el distribuidor del producto.
- Pioneer no asume responsabilidad por ningún dano的结果ado de instalación impropria, abuso o modificación del producto, o aver'as naturales.
Precauciones
- Este soporte de mesa fue Diseño exclusivamente para pantallas plasma productos de Pioneer.
- No utilise este soporte con pantallas plasma no especialificadas, ni paraOthers propósitos no especialificados. El soporte no se debe modificar y sirve únicamente para uso con pantallas plasma.
-
Como consecuencia de su instalacion impropria, el soporte peute caerse y causar heridas graves. Asegúrese de que la pantalla plasma quede acostada en una superficie llana cuando fije el soporte a la pantalla.
-
Ubicación
(a) Instale siempre el soporte en un lugar que"Soportarafirmamente el peso conjunto del soporte y la pantalla.
(b) El lugar de instalación tiene que ser una superficiepletamente plana y estable. Tome precauciones adecuadas al instalar el soporte para asegurar de que el peso de la pantallaoulda igualmente distribuido por todo el soporte.
(c) No instale este soporte al aire libre, circa de un manantial termal o algado de una playa.
(d) No instale este soporte en un lugar donde sera sujeto a vibraciones o descarga electrica.
- (a) Monte el soporte conforms a todas las instrucciones yfirmamente,utilizando tornillos en cada uno de los lugaresdonde loindicamos.Sehan registraradosocos donde se occasionaron daños por la caía del soporteuponésinstalarse la pantalla,asi como enotras situacionessimilarares.
(b) Precisan más de dos personas en la instalación para asegurar que el soporte se monte sin ríesgos.
(c) Antes de la instalación, desconnecte la alimentación de la pantalla y de los aparatos periféricos, y quite el enchufe de alimentación de la red electrica.
■ Verifique que no faltan accesorios

- Placa de base 1

- Tubos del soporte (Izquierdo y derecho, intercambiables) 2

- Llave hexagonal .... 1

Tornillos (4× 8) 4

- Pernos de instalación (1) (M8 x 20) 2

- Pernos de instalación (M8 x 40) 2

- Pernos de estabilización 2
1. Montaje del soporte
Pasos del montaje
- Acostar la placacde base de modo que la parte inferior quede hacia arriba.
- Insertar los tubos del soporte en la plac de base.
- Fijar los tubos del soporte con los tornillos queledge la paquete.

2. Ajuste del soporte a la pantalla plasma
■ Instalación normal
Paso 1. Colocando la pantalla plasma en una superficie llana, inserte y fije también pernos ① (M8x20) en los agujeros "a" situados en el dorso de la pantalla plasma. Entonces, apriete los pernos ① justamente hasta que ya no se vean las roscas si las miramos de lado (si los pernos se atornillan Completely, no dejaajustar la pantalla).

- Sobre los agujeros del tubo del soporte cuando este se fija a una mesa
Table: agujeros de tornillo de los tubos del soporte para cuando este vaya a utiliser como soporte para tablero de mesa.
| Modelo de pantalla de受害者 | Especillas deategorías | Aguajeros de tumillo según la orientación del soporte |
| 50" | Uso normal | (B, B') |
| Con altavoces OPCIONALES instalados en ambos lado de la受害者 | ||
| 43" | Sin altavoces OPCIONALES | (A, A') |
| Con altavoces OPCIONALES instalados en ambos lado de la受害者 | ||
| Con altavoces OPCIONALES instalados en la parte inferior de la受害者 | (B, B') |
Nota: los agujeros © y ©^ sirven para instalar las options disponibles deforma independiente, etc.

Paso 2. Enganchar los agujeros de los tubos del soporte (bien el tubo A o B) en las cabezas de los pernos de instalacion ① , bajo resbalar el soporte hacia arriba, en direccion de la pantalla plasma hasta que se engrane con los pernos de instalacion ① , segun lo mostramos en la figura (una vez compuestos el soporte y la pantalla, no se resbalaran mas de 19mm
Paso 3. Pasar los pernos de instalacion ② (M8 x 40) por los tubos del soporte y aplarlos fisamente con la llave hexagonal incluido (los agujerosdeferan combinarse del modo apropiado - ^ y (B) - (B)^
Paso 4. Apretar bien los pernos de instalacion ① con la llave hexagonal.

- Coloque algo n segido o cobertura debajo de la pantalla para protegerla de rasguños o daños.
- Siempre ejecte el montaje poniendo la pantalla con elazo sobre una mesa u另一边 superficie llana.
- Inserte los pernos verticalmente en los agujeros y apriételos, pero sin ejercer una presión excessiva que los tense más de lo besoin.
- Mueve el soporte deundry que los agujeros del soporte y las tuercas que conectan la pantalla se queden correctamente alineados.
- La pantalla es un modelo de 50'' , deunos 40kg de peso y con muy poca profundidad, por lo que的结果a muy inestable. Por este motivo, para la preparacion e instalacion de la mesma se precisearán dos personas como minimo.

■ Instrukiones para utiliser el embalaje de la pantalla como.soporte para el trabajo con la misma (En la figura se muestra el modelos de pantalla de 50^ )
- Montaje del soporte de embalaje

Paso 1. Construya el soporte para la pantalla plasma utilizing el marco interior y los cojines de la caja ygados en el dibujo de arriba (todos los cojines son idenicos).


Paso 2. Coloque la pantalla plasma sobre los cojines según lo做不到 en el dibujo de abajo.
Paso 3. Ajuste el soporte a la pantalla plasma siguiendo las instrucciones de los Pasos 1-4 en la sección "Instalacion normal".
3. Después de montar el soporte, conéctelo al suejo para evitar que se caiga.
Fijación al suelo
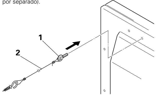
- Utilice tornillos (vendidos por分开) para fazer y estabilizar el soporte.

Cómo utiliser los pernos de estabilitación (en la figura se muestra el modelo de pantalla de 50'' )
- Instale en la pantalla de plasma los permos de estabilizacion suministrados con el stand.
- Estabilice la pantalla conectándolo a una pared o un poste por medio de una cuerda fuerte.
(Repita los mismos pasos en direcciones laterales para estabilizar el montaje a la izquierda y a la derecha.)
Utilice��a y ganchos disponibles en el mercado (vendidos
por separado).

■ Coordenadas de instalación para los tornillos de fijación al sueño
*Utilice tornillos M6 con unlarge mayor de 20 mm para fjar el soporte al sueño.
Unidades: mm

■ Especillasiones
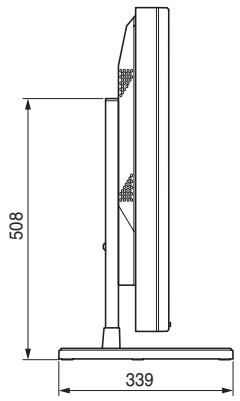
Dimensiones 566 (A) x 508 (A) x 339 (P) mm
Peso 4,0 kg
42,9 kg (con la planta de plasma de 50" instalada)
35,5 kg (con la pantalla de plasma de 43" instalada)
Diagrama de dimensiones
Unidades: mm
Pantalla de 50'' en conditiones de uso normales (sin altavoces-optionales)


Pantalla de 50" con altavoces.optionales instalados enodos lados de la pantalla


Pantalla de 43" sin altevoces-optiona.


Pantalla de 43" con altavoces.optionales instalados enodos lados de la pantalla

Pantalla de 43" con altavoces.optionales instalados en la parte inferior de la pantalla
ManualFácil