LPE 14-H070 IX - Dishwasher SCHOLTES - Free user manual and instructions
Find the device manual for free LPE 14-H070 IX SCHOLTES in PDF.
Questions des utilisateurs sur LPE 14-H070 IX SCHOLTES
0 question sur cet appareil. Repondez a celles que vous connaissez ou posez la votre.
Poser une nouvelle question sur cet appareil
Download the instructions for your Dishwasher in PDF format for free! Find your manual LPE 14-H070 IX - SCHOLTES and take your electronic device back in hand. On this page are published all the documents necessary for the use of your device. LPE 14-H070 IX by SCHOLTES.
USER MANUAL LPE 14-H070 IX SCHOLTES
Positioning and levelling
Connecting the water and electricity supplies
Advice regarding the first wash cycle
Technical data
Ecodesign Regulation
Description of the appliance, 16
Overall view
Control panel
Loading the racks, 17
Lower rack
Cutlery basket
Upper rack
LPE 14-H070
LPE 14-H07 A+
Start-up and use, 18-19
Starting the dishwasher
Measuring out the detergent
Wash options
Wash cycles, 20
Table of wash cycles
Rinse aid and refined salt, 21
Measuring out the rinse aid
Measuring out the refined salt
Care and maintenance, 22
Shutting off the water and electricity supplies
Cleaning the dishwasher
Preventing unpleasant odours
Cleaning the sprayer arms
Cleaning the water inlet filter
Cleaning the filters
Leaving the machine unused for extended periods
Precautions and advice, 23
General safety
Disposal
Saving energy and respecting the environment
Troubleshooting, 24

Scholtès
A Keep this instruction manual in a safe place for future reference. If the appliance is sold, given away or moved, please ensure the manual is kept with the machine, so that the new owner may benefit from the advice contained within it.
Please read this instruction manual carefully: it contains important information regarding the safe installation, use and maintenance of the appliance.
A If the appliance must be moved at any time, keep it in an upright position; if absolutely necessary, it may be tilted onto its back.
This appliance is intended to be used in household and similar applications such as:
- staff kitchen areas in shops, offices and other working environments;
-farm houses - by clients in hotels, motels and other residential type environments;
- bed and breakfast type environments.
Positioning and levelling
- Remove the appliance from all packaging and check that it has not been damaged during transportation. If it has been damaged, contact the retailer and do not proceed any further with the installation process.
- Check the dishwasher by placing it so that its sides or back panel are in contact with the adjacent cabinets or even with the wall. This appliance can also be recessed under a single worktop (see the Assembly instruction sheet).
- Position the dishwasher on a level and sturdy floor. If the floor is uneven, the front feet of the appliance may be adjusted until it reaches a horizontal position. If the appliance is levelled correctly, it will be more stable and much less likely to move or cause vibrations and noise while it is operating.
4*. Adjust the height of the rear foot from the front of the appliance on the central lower part of the dishwasher, turning a hexagonal spanner (red color) with an opening of 8mm in a clockwise direction to increase the height or in an anticlockwise direction to decrease the height.
Connecting the water and electricity supplies
A Connection to the water and electricity supplies should only be performed by a qualified technician.
A The dishwasher should not stand on top of the water hoses or the electricity supply cable.
A The appliance must be connected to the water supply network using new hoses. Do not use old hoses.
The water inlet and outlet hoses and the electricity supply cable may be positioned towards the right or the left in order to achieve the best possible installation.
Connecting the water inlet hose
- To a suitable cold water connection point: before attaching the hose, run the water until it is perfectly clear so that any impurities that may be present in the water do not clog the appliance; after performing this operation, screw the inlet hose tightly onto a tap with a 3/4 gas threaded connection.
- To a suitable hot water connection point: your dishwasher may be supplied with hot water from the mains supply (if you have a central heating system with radiators) provided that it does not exceed a temperature of 60^ .
Screw the hose to the tap as described for connection to a cold water supply.
A If the inlet hose is not long enough, contact a specialist store or an authorised technician (see Assistance).
A The water pressure must be within the values indicated in the Technical data table (see adjacent information).
A The hose should not be bent or compressed.
Connecting the water outlet hose
Connect the outlet hose (without bending it) to a drain duct with a minimum diameter of 4cm .

The outlet hose must be at a height ranging from 40 to 80 cm from the floor / surface where the dishwasher rests (A).
Before connecting the water outlet hose to the sink drain, remove the plastic plug (B).
Anti-flooding protection
To ensure floods do not occur, the dishwasher:
- is provided with a special system which blocks the water supply in the event of anomalies or leaks from inside the appliance.
Some models are also equipped with the supplementary safety device New Acqua Stop*, which guarantees anti-flooding protection even in the event of a supply hose rupture.

WARNING: HAZARDOUS VOLTAGE!
Under no circumstance should the water inlet hose be cut as it contains live electrical parts.
Electrical connection
Before inserting the plug into the electrical socket, make sure that:
- The socket is earthed and complies with current regulations.
- The socket can withstand the maximum load of the appliance, which is indicated on the data plate located on the inside of the door (see chapter entitled Description of the appliance).
- The power supply voltage falls within the values indicated on the data plate on the inside of the door.
- The socket is compatible with the plug of the appliance. If this is not the case, ask an authorised technician to replace the plug (see Assistance); do not use extension cables or multiple sockets.
Once the appliance has been installed, the power supply cable and the electrical socket should be easily accessible.
The cable should not be bent or compressed.
A If the power supply cable is damaged, it must be replaced by the manufacturer or its Technical Assistance Service in order to prevent all potential hazards. (See Assistance)
The Company shall not be held responsible for any incidents that occur if these regulations are not observed.
Anti-condensation strip*
After installing the dishwasher, open the door and stick the adhesive transparent strip under the wooden shelf in order to protect it from any condensation which may form.
Advice regarding the first wash cycle
After the appliance has been installed, immediately before running the first wash cycle, completely fill the salt dispenser with water and add only then approximately 1kg of salt (see chapter entitled Rinse aid and refined salt). The water may overflow: this is normal and is not a cause for concern. Select the water hardness value (see chapter entitled Rinse aid and refined salt). - After the salt has been poured into the machine, the LOW SALT indicator light * switches off.
A If the salt container is not filled, the water softener and the heating element may be damaged as a result.
| Technical data | |
| Dimensions | width 59.5 cm height 82 cm depth 57 cm |
| Capacity | 14 standard place-settings |
| Water supply pressure | 0,05 ÷ 1MPa (0.5 ÷ 10 bar) 7,25 – 145 psi |
| Power supply voltage | See appliance data plate |
| Total absorbed power | See appliance data plate |
| Fuse | See appliance data plate |
| CE | This dishwasher conforms to the following European Community Directives: -2006/95/EC (Low Voltage) -2004/108/EC (Electromagnetic Compatibility) -2005/32/EC (Comm. Reg. 1275/2008) (Ecodesign) -97/17/EC (Labelling) -2002/96/EC (WEEE) |
ECODESIGN REGULATION
ECO wash cycle is the standard cycle to which the energy label data refers; this cycle can be used to wash crockery with a normal soil level and is the most efficient in terms of energy and water consumption for this type of crockery. To reduce consumption even further, only run the dishwasher when it is full.
Standby consumption: Left-on mode consumption: 4,5 W - Off mode consumption: 1,3 W
Consumption data table for the main cycles
| Standard conditions* | User conditions** | |||||
| Energy consumption (kWh/cycle) | Water consumption (l/cycle) | Duration (min/cycle) | Energy consumption (kWh/cycle) | Water consumption (l/cycle) | Duration (min/cycle) | |
| INTENSIVE | 1,50 | 15 | 150 | 1,30 | 14 | 135 |
| NORMAL | 1,20 | 15 | 120 | 1,05 | 14 | 110 |
- Cycle data refers to the values recorded in a laboratory, in accordance with European standard EN 50242.
** Data is obtained by recording values when the appliance is operational and loaded with user crockery.
EN
Overall view

- Upper rack
- Upper sprayer arm
- Tip-up compartments
- Rack height adjuster
- Lower rack
- Lower sprayer arm
- Cutlery basket
- Washing filter
- Salt dispenser
- Detergent and rinse aid dispensers
- Data plate
- Control Panel***
Control panel

*** Only in completely built-in models.
* Only available in selected models.
The number and type of wash cycles and options may vary depending on the dishwasher model.
Before loading the racks, remove all food residue from crockery and empty liquids from glasses and cups.
After loading the appliance, make sure that the sprayer arms can rotate freely.
Lower rack and cutlery basket
The lower rack can hold pans, lids, plates, salad bowls, cutlery, etc. Large plates and lids should ideally be placed at the sides of the rack.


Several dishwasher models are fitted with tip-up sections*, which can be used in a vertical position when arranging plates or in a horizontal position when arranging saucepans, salad bowls and frying pans.


The type of cutlery basket may vary (modular or non-modular) according to the dishwasher model. The non-modular basket must only be positioned at the front of the lower rack.




Both are fitted with grilles over the top, for improved cutlery arrangement.
Knives and other utensils with sharp edges must be placed in the cutlery basket with the points facing downwards, or they must be positioned horizontally in the tip-up compartments on the upper rack.
- Only available in selected models. The number and position may vary.
Upper rack
Load this rack with delicate and lightweight crockery: glasses, cups, saucers and shallow salad bowls.


Adjustable position tip-up compartments

The tip-up compartments can be positioned at different heights, to optimise the arrangement of crockery throughout the rack. Wine glasses can be placed safely in the tip-up compartments, by inserting the stem of each glass into the corresponding slots.

Some dishwasher models are fitted with a sliding tray* which can be used to hold serving utensils or small cups. For optimum washing performance, avoid positioning bulky crockery directly below the tray.
Adjusting the height of the upper rack
In order to make it easier to arrange the crockery, the upper rack may be moved to a higher or lower level.
The height of the upper rack should ideally be adjusted WHEN THE RACK IS EMPTY.
NEVER raise or lower the rack on one side only.

Open the left and right guide rail stops and pull out the rack; position it higher or lower as required, slide it along the guide rails until the front wheels are in place and close the stops (see figure).

If the rack is fitted with Dual Space handles (see figure), pull out the upper rack until it reaches its stop point, grip the handles at the sides of the rack and move it upwards or downwards, then slowly let it fall back into place.
Items that should not be washed in the dishwasher
- Wooden items, objects with wooden or horn handles or glued-on parts.
- Items made from aluminium, copper, brass, pewter or tin.
- Items made from plastic material which is not heat-resistant.
Antique or hand-painted porcelain. - Antique silver. Silver that is not antique may, however, be washed in the dishwasher using a delicate wash cycle, provided that it does not come into contact with other metals.
A We recommend the use of crockery which is dishwasher safe.
Starting the dishwasher
- Turn the water tap on.
- Premere il tasting ON-OFF: si sente un breve bip, tutte le spiè
e il display si illuminano per alcuni secondi. - Press the ON/OFF button: you will hear a short beep; all the indicator lights and the display will light up for a few seconds.
- Open the door and pour in a suitable amount of detergent (see below).
- Load the racks (see Loading the racks) and shut the door.
- Select the wash cycle by turning the WASH CYCLE SELECT knob in a clockwise direction: align the notch on the knob with the number or symbol representing the desired wash cycle. The START/PAUSE indicator light will flash.
- Select the wash options* (see adjacent information).
- Start the cycle by pressing the START button; the indicator light up, and remain lit in a fixed manner. The indicator light corresponding to the washing phase will switch on, signalling that the wash cycle has begun and the time remaining until the end of the cycle is displayed.
- At the end of the wash cycle the END indicator light will switch on (fixed light). Switch off the appliance by pressing the ON/OFF button, shut off the water valve and unplug the appliance from the electricity socket.
- Wait for a few minutes before removing the crockery, in order to avoid burns. Unload the racks, beginning with the lower level.
- The machine will switch off automatically during certain periods of inactivity, in order to minimise electricity consumption.
AUTO WASH CYCLES*: this model of dishwasher is equipped with a special sensor which can be used to assess the level of soiling and automatically select the most efficient and economic wash cycle accordingly.
The duration of the auto wash cycles may vary due to the operation of the sensor.
Modifying a wash cycle in progress
If a mistake was made during the wash cycle selection process it is possible to change the cycle, provided that it has only just begun: once the wash cycle has started, switch off the machine by pressing and holding the ON/OFF/Reset button. Switch it back on using the same button and select the desired wash cycle and options.
Adding extra crockery
Press the Start/Pause button (the corresponding indicator light will flash). Open the door, taking care to avoid the escaping steam, and place the crockery inside the appliance. Press the Start/Pause button (fixed light): the cycle will restart after a prolonged beep is emitted.
A If the Start/Pause button is pressed so as to pause the machine, the wash cycle or the Delayed Start function (if selected) is interrupted.
At this stage it is not possible to change the wash cycle.
Accidental interruptions
If the door is opened during the wash cycle, or if there is a power cut, the cycle stops. It starts again from the point at which it was interrupted once the door has been shut or once the electricity supply is restored.
Measuring out the detergent
A good wash result also depends on the correct amount of detergent being used; exceeding the stated amount does not result in a more effective wash and increases environmental pollution.
Only use detergent which has been specifically designed for dishwashers.
A DO NOT USE washing up liquid.
A Using excessive detergent may result in foam residue remaining in the machine after the cycle has ended.
A To achieve the best results from each washing and drying cycle, powder detergent, rinse aid liquid and salt should be used.
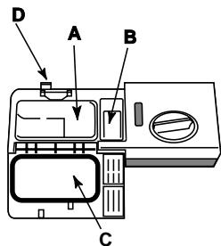
Compartment A: Washing detergent
Compartment B: Pre-wash detergent

- Open cover C by pressing button D.
- Pour in the detergent after consulting the Table of wash cycles:
- For powder detergent use compartments A and B.
- For detergent in tablet form: when the cycle requires 1 tablet, place it in compartment A and close the
cover; when it requires 2, place the second tablet at the bottom of the appliance.
- Remove detergent residues from the edges of the compartment and close the cover until it clicks.
Wash options*
The OPTIONS may only be set, modified or reset after the wash cycle has been selected and before the Start/ Pause button has been pressed.
Only the options which are compatible with the type of wash cycle set may be selected. If an option is not compatible with the selected wash cycle (see Table of wash cycles), the corresponding LED flashes rapidly 3 times and 2 short beeps will sound.
If an option is selected which is incompatible with another (previously selected) option, the indicator light corresponding to the option selected first will flash 3 times, 3 beeps will sound and it will be deselected, while the most recently selected option will remain active.
To deselect an option which has been set by mistake, press the corresponding button again.
Good Night option
This option reduces the amount of noise made by the machine and lengthens the wash cycles. It is a useful option because it enables users to benefit from the night-time energy rate.
After selecting the wash cycle, press the Good Night option button; the illumination of the corresponding indicator light followed by a short beep indicates its selection.
To deselect the option, press the same button again.
A The Good Night option is not compatible with the HALF LOAD option.
Delayed start
It is possible to delay the start time of the cycle for a period of time between 1 and 24 hours.
- After selecting the desired wash cycle and any other options, press the DELAYED START button: the corresponding indicator light will illuminate. Use the same button to select the time at which you wish the wash cycle to begin (after a period of 1 to 24 hours).
- Confirm your selection using the Start/Pause button; the countdown will begin. The selected delay period indicator light flashes and the Start/Pause button stops flashing (the light becomes fixed instead).
- When the set time has elapsed, a long beep sounds, the DELAYED START indicator light switches off and the wash cycle begins.
To deselect the DELAYED START option, press the DELAYED START button repeatedly until the text OFF appears.
A The Delayed Start function cannot be set once the wash has been started.
- Only available in selected models.
Half load using the upper rack
If there are not many dishes to be washed, a half load cycle may be used in order to save water, electricity and detergent. Select the wash cycle and press the HALF LOAD button: the indicator light will illuminate and the wash cycle will take place only in the upper rack.
To deselect the option, press the same button again.
A Remember to load the upper rack only, and to reduce the amount of detergent accordingly.
A It is better to use powder detergent in this case.
A This option is not compatible with the following wash cycles: Rapide.
Multi-functional tablets (Tabs)
This option optimises washing and drying results. When using multi-functional tablets, press the MULTIFUNCTIONAL TABLETS button. The corresponding indicator light will illuminate. The "Multi-functional tablets" option results in the lengthening of the wash cycle.
A The MULTI-FUNCTIONAL TABLETS option remains set for subsequent wash cycles if it is not deselected.
The use of tablets is only recommended for models which offer the MULTI-FUNCTIONAL TABLETS option.
A This option is not recommended for use with wash cycles which do not specify the use of multi-functional tablets (see Table of options).
| Table of options | A | B | C | D |
| Delayed Start | Half Load | Tabs | Good Night | |
| Auto Super Wash | Yes | Yes | Yes | No |
| Auto Normal | Yes | Yes | Yes | Yes |
| Daily | Yes | Yes | Yes | No |
| Soak | Yes | Yes | No | No |
| Eco | Yes | Yes | Yes | Yes |
| Rapid | Yes | No | Yes | No |
| Crystal | Yes | Yes | Yes | No |
For available OPTIONS please refer to the Table of options on the Start-up and use page.
If the crockery is only lightly soiled or if it has been rinsed with water before being placed in the dishwasher, reduce the amount of detergent used accordingly.
The number and type of wash cycles and options may vary depending on the dishwasher model.
| Wash cycle selection instructions | Wash cycle | Detergent (A) = compartment A (B) = compartment B | Wash cycles which include drying | Options | Wash cycle duration (tolerance ±10%) Hrs. Min. | ||
| Powder | Liquid | Tablets | |||||
| Heavily soiled dishes and pans (not to be used for delicate items). | NUTO Super Wash | 35 g (A) | 35 ml (A) | 1 (A) | Yes | A-B-C | 2:25' |
| Normally soiled pans and dishes. Standard daily wash cycle. | NUTO Normal | 29 g (A) 6 g (B) | 29 ml (A) 6 ml (B) | 1 (A) | Yes | A-B-C-D | 1:50' |
| Limited quantity of daily soiling. (4 place settings + 1 saucepan +1 frying pan). | Daily | 25 g (A) | 25 ml (A) | 1 (A) | No | A-B-C | 1:00' |
| Pre-wash for dishes while awaiting completion of the load with the dishes from the next meal. | Soak | No | No | No | No | A-B | 0:08' |
| Environmentally-friendly wash cycle with low energy consumption levels, suitable for pans and dishes. | ECO Eco* | 29 g (A) 6 g (B) | 26 ml (A) 6 ml (B) | 1 (A) | Yes | A-B-C-D | 2:55' |
| Economic and fast wash to be used for lightly soiled dishes. (Run cycle immediately after use) (2 plates + 2 glasses + 4 pieces of cutlery + 1 saucepan + 1 small frying pan). | R Rapide | 25 g (A) | 25 ml (A) | 1 (A) | No | A-C | 0:25' |
| Economic and fast wash for delicate items which are sensitive to high temperatures. (Run cycle immediately after use) (glasses on the upper rack + delicate plates, on the lower rack). | Crystal | 35 g (A) | 35 ml (A) | 1 (A) | Yes | A-B-C | 1:30' |
Notes:
Optimum performance levels when using the "Daily wash" and "Rapide wash" cycles can be achieved by observing the maximum amounts of crockery specified.
To make it easier to measure out the detergent, it is worth remembering that:
1 tablespoon = 15 grams of powder = approximately 15 ml of liquid - 1 teaspoon = 5 grams of powder = approximately 5 ml of liquid
- The Eco wash cycle adheres to the regulation EN-50242. Although it has a longer duration than other wash cycles it uses less energy and is less harmful to the environment.
Note for Test Laboratories: for information relating to comparative EN testing conditions, please send an email to the following address: ASSISTENZA_EN_LVS@indesitcompany.com
Only use products which have been specifically designed for dishwashers. Do not use table salt or industrial salt, or washing up liquid. Follow the instructions given on the pack
If using a multi-functional product it is not necessary to add rinse aid; however, we recommend that you add salt, especially if you live in an area where the water is hard or very hard. Follow the instructions given on the packaging.
If you do not add salt or rinse aid, the LOW SALT and LOW RINSE AID indicator lights remain lit.
Measuring out the rinse aid
Rinse aid makes it easier for the crockery to dry, as water runs off surfaces more readily and therefore does not leave streaks or marks.
The rinse aid dispenser should be filled:
- When the LOW RINSE AID* indicator light on the control panel is illuminated;

- Open the dispenser by turning the lid (G) in an anticlockwise direction.
- Pour in the rinse aid, making sure it does not overflow from the dispenser. If this happens, clean the spill immediately with a dry cloth.
- Screw the lid back on.
into the appliance tub.
Adjusting the amount of rinse aid
If you are not completely satisfied with the drying results, you may adjust the quantity of rinse aid used. Use a screwdriver to turn the dosage adjuster (F) to one of the 6 pre-set positions (the default position is set to 4):
- If there are streaks on the crockery, set the adjustment device to a lower number (1-3).
- If drops of water remain on the crockery or if there are limescale marks present after the cycle has finished, set the adjuster to a higher number (4-6).
Setting the water hardness
Every dishwasher is equipped with a water softener which, by using refined salt designed especially for this type of appliance, supplies water without limescale which is then used to wash the crockery.
This dishwasher offers a setting which helps to reduce pollution and optimises washing performance in accordance with the water hardness level in your area. This information can be obtained from the organisation which supplies your household with water.
- Switch the machine off using the ON/OFF button and open the door.
- Set the SELECT WASH CYCLE knob first to wash cycle 1 then to wash cycle 5, then once again to wash cycle 1 followed by wash cycle 5.
Switch the machine on using the ON/OFF button; after a short buzzer sound, the display will visualise the set water hardness level (the water softener's default setting is level 3) and the Start/Pause indicator light will flash.
Turn the SELECT WASH CYCLE knob (each wash cycle has
a corresponding water hardness level) and position it on the pre-set level. The water hardness level will appear on the display. (1-2-3-4-5* Refer to the water hardness table).
E.g.: water hardness level 1 ("1" appears on the display); water hardness level 2 ("2" appears on the display);
water hardness level 3 ("3" appears on the display), etc. up to a maximum of 5^ levels.
To exit the function, wait a few seconds or press one of the option buttons , or switch off the machine using the ON/OFF button.
Even if using multi-functional tablets, the salt dispenser should still be filled.
| Water Hardness Table | Average salt container capacity duration** | |||
| Level | °dH | °FH | mmol/l | months |
| 1 | 0 - 6 | 0 - 10 | 0 - 1 | 7 months |
| 2 | 6 - 11 | 11 - 20 | 1,1 - 2 | 5 months |
| 3 | 12 - 17 | 21 - 30 | 2,1 - 3 | 3 months |
| 4 | 17 - 34 | 31 - 60 | 3,1 - 6 | 2 months |
| 5* | 34 - 50 | 61 - 90 | 6,1 - 9 | 2/3 weeks |
| For values between 0°F and 10°F, we do not recommend the use of salt. * this setting may cause a slight increase in the duration of the cycles. ** for 1 wash cycle per day. | ||||
(°dH = hardness measured in German degrees - °f = hardness measured in French degrees - mmol/l = millimoles per litre)
Measuring out the refined salt
In order to achieve the best possible results using a wash cycle, make sure that the dispenser is never empty. Refined salt removes limescale from the water, thus avoiding the formation of deposits on crockery.
The salt dispenser is located in the lower part of the dishwasher (see Description) and should be filled:
- When the green float cannot be seen by simply looking at the cap of the salt dispenser.
- When the LOW SALT indicator light on the control panel is illuminated;

- Remove the lower rack and unscrew the container cap (anticlockwise).
- The first time you do this: fill the water tank right up to its edge.
- Position the funnel (see figure) and fill the
salt container right up to its edge (this should hold approximately 1 kg); it is not unusual for a little water to leak out.
- Remove the funnel and wipe any salt residue away from the opening; rinse the cap under running water and then screw it on, the head facing downwards so as to let the water flow out of the four cracks which are arranged in a star shape on the lower part of the cap. (the container cap with the green float) It is advisable to perform this procedure every time you add salt to the container.
Make sure the cap is screwed on tightly, so that no detergent can get into the container during the wash cycle (this could damage the water softener beyond repair).
When necessary, measure out the salt before a wash cycle so that any saline solution which has leaked out of the salt dispenser is removed.
Shutting off the water and electricity supplies
- Turn off the water tap after every wash cycle to avoid leaks.
- Always unplug the appliance when cleaning it and when performing maintenance work.
Cleaning the dishwasher
- The external surfaces of the machine and the control panel may be cleaned using a non-abrasive cloth which has been dampened with water. Do not use solvents or abrasive products.
- Any marks on the inside of the appliance may be removed using a cloth dampened with water and a little vinegar.
Preventing unpleasant odours
- Always keep the door of the appliance ajar in order to avoid moisture from forming and being trapped inside the machine.
- Clean the seals around the door and detergent dispensers regularly using a damp sponge. This will avoid food becoming trapped in the seals, which is the main cause behind the formation of unpleasant odours.
Cleaning the sprayer arms
Food residue may become encrusted onto the sprayer arms and block the holes used to spray the water. It is therefore recommended that the arms are checked from time to time and cleaned with a small non-metallic brush.
The two sprayer arms may both be removed.

To remove the upper sprayer arm, rotate the locking ring in an anti-clockwise direction. The upper sprayer arm should be replaced with the holes facing upwards.

The lower sprayer arm can be removed by pressing on the side tabs and pulling it upwards.
Cleaning the water inlet filter*
If the water hoses are new or have not been used for an extended period of time, let the water run to make sure it is clear and free of impurities before performing the necessary connections. If this precaution is not taken, the water inlet could become blocked and damage the dishwasher.
A Clean the water inlet filter at the tap outlet regularly.
- Turn off the water tap.
- Unscrew the end of the water inlet hose, remove the filter and clean it carefully under running water.
- Replace the filter and screw the water hose back into position.
Cleaning the filters
The filter assembly consists of three filters which remove food residues from the washing water and then recirculate the water. They should be cleaned if you wish to achieve the best results in every wash.
Clean the filters regularly.
A The dishwasher should not be used without filters, or if the filter is loose.
-
After several washes, check the filter assembly and if necessary clean it thoroughly under running water, using a non-metallic brush and following the instructions below:
-
Turn the cylindrical filter C in an anti-clockwise direction and pull it out (fig. 1).
- Remove the cup filter B by exerting a slight pressure on the side flaps (fig. 2).
- Slide out the stainless steel plate filter A (fig. 3).
- Inspect the trap and remove any food residue.
NEVER REMOVE the wash cycle pump (black detail) (fig. 4).




After cleaning the filters, replace the filter assembly and fix it in position correctly; this is essential for maintaining the efficient operation of the dishwasher.
Leaving the machine unused for extended periods
- Disconnect the appliance from the electricity supply and shut off the water tap.
- Leave the door of the appliance ajar.
-
When you return, run a wash cycle when the dishwasher is empty.
-
Only available in selected models.
This appliance was designed and manufactured in compliance with current international safety standards. The following information has been provided for safety reasons and should therefore be read carefully.
General safety
- This appliance is not intended for use by persons (including children) with reduced physical, sensory or mental capabilities, or lack of experience and knowledge, unless they have been given supervision or instruction concerning use of the appliance by a person responsible for their safety.
- Children should be supervised to ensure that they do not play with the appliance.
- The appliance was designed for domestic use inside the home and is not intended for commercial or industrial use.
- The appliance must be used by adults only, to wash domestic crockery in accordance with the instructions in this manual.
- The appliance must not be installed outdoors, even in covered areas. It is extremely dangerous to leave the machine exposed to rain and storms.
- Do not touch the appliance when barefoot.
- When unplugging the appliance always pull the plug from the mains socket, do not pull on the cable.
- The water supply tap must be shut off and the plug should be removed from the electrical socket before cleaning the appliance or carrying out any maintenance work.
- If the appliance breaks down, do not under any circumstances touch the internal parts in an attempt to perform the repair work yourself.
- Never touch the heating element.
- Do not lean or sit on the open door of the appliance: this may cause the appliance to overturn.
- The door should not be left open as it may create a dangerous obstacle.
- Keep detergent and rinse aid out of reach of children.
- The packaging material should not be used as a toy.
Disposal
- Disposal of packaging materials: observe local legislation so that the packaging may be reused.
- The European Directive 2002/96/EC relating to Waste Electrical and Electronic Equipment (WEEE) states that household appliances should not be disposed of using the normal solid urban waste cycle. Exhausted appliances should be collected separately in order to optimise the cost of re-using and recycling the materials inside the machine, while preventing potential damage to the atmosphere and to public health. The crossed-out dustbin is marked on all products to remind the owner of their obligations regarding separated waste collection.
For further information relating to the correct disposal of household appliances, owners may contact the relevant public authority or the local appliance dealer.
Saving energy and respecting the environment
Saving water and energy
- Only begin a wash cycle when the dishwasher is full. While waiting for the dishwasher to be filled, prevent unpleasant odours using the Soak cycle (see Wash cycles).
-
Select a wash cycle which is suited to the type of crockery and to the soil level of the crockery using the Table of wash cycles:
-
For dishes with a normal soil level, use the Eco wash cycle, which guarantees low energy and water consumption levels.
-
If the load is smaller than usual activate the Half load option (see Start-up and use).
-
If your electricity supply contract gives details of electricity saving time bands, run wash cycles during the periods when a lower tariff is applied. The Delayed start* button (see Start-up and use) helps you organise the wash cycles accordingly.
Phosphate-free and chlorine-free detergents containing enzymes
- We strongly recommend that you use detergents that do not contain phosphates or chlorine, as these products are harmful to the environment.
- Enzymes provide a particularly effective action at temperatures around 50^ , and as a result detergents containing enzymes can be used in conjunction with low-temperature wash cycles in order to achieve the same results as a normal 65^ wash cycle.
- To avoid wasting detergent, use the product in appropriate quantities based on the manufacturer's recommendations, the hardness of the water and the soil level and quantity of crockery to be washed. Even if they are biodegradable, detergents contain substances which may alter the balance of nature.
Whenever the appliance fails to work, check for a solution from the following list before calling for Assistance.
| Problem: | Possible causes / Solutions: |
| The dishwasher does not start or cannot be controlled | • Switch off the appliance by pressing the ON/OFF button, switch it back on after approximately one minute and reset the program. • The appliance has not been plugged in properly. • The dishwasher door has not been shut properly. |
| The door won't close | • The lock was released. Strongly push the door until a “clacking” noise is heard. |
| No water drains out from the dishwasher. | • The dishwasher cycle has not yet finished. • The water inlet hose is bent (see Installation). • The drain duct is blocked. • The filter is clogged up with food residues. |
| The dishwasher makes excessive noise. | • The dishes are rattling against each other or against the sprayer arms. • An excessive amount of foam has been produced: the detergent has not been measured out correctly or it is not suitable for use in dishwashers (see Start-up and use). |
| The dishes and glasses are covered in a white film or limescale deposits. | • The level of the refined salt is low or the dosage setting is not suited to the hardness of the water (see Rinse aid and salt). • The lid on the salt dispenser is not closed properly. • The rinse aid has been used up or the dosage is too low. |
| The dishes and glasses are streaked or have a bluish tinge. | • The rinse aid dosage is too high. |
| The crockery has not been dried properly. | • A wash cycle without a drying program has been selected. • The rinse aid has been used up or the dosage is too low (see Rinse aid and salt). • The rinse aid dispenser setting is not suitable. • The crockery is made from non-stick material or plastic. |
| The dishes are not clean. | • The racks are overloaded (see Loading the racks). • The crockery has not been arranged well. • The sprayer arms cannot move freely. • The wash cycle is too gentle (see Wash cycles). • An excessive amount of foam has been produced: the detergent has not been measured out correctly or it is not suitable for use in dishwashers (see Start-up and use). • The lid on the rinse aid compartment has not been shut correctly. • The filter is dirty or blocked (see Care and maintenance). • The refined salt level is low (see Rinse aid and salt). |
| The dishwasher does not take any water in - Tap shut-off alarm (The ON/OFF indicator light flashes and the display shows A 6). | • There is no water in the mains supply. • The water inlet hose is bent (see Installation). • Turn on the tap and the appliance will start after a few minutes. • The appliance lock has been activated because no action was taken when the beeps sounded. Switch off the appliance using the ON/OFF button, turn on the tap and switch the appliance back on after 20 seconds by pressing the same button. Re-program the appliance and restart the wash cycle. |
| Water inlet hose alarm / Water inlet filter blocked (the ON/OFF indicator light flashes and the display shows A 7). | • Switch off the appliance by pressing the ON/OFF button. Shut off the water tap to eliminate the risk of flooding and remove the plug from the electrical socket. Make sure the water inlet filter has not become blocked by impurities (see “Care and maintenance” chapter). |
- Only available in selected models.
DE
Deutsch, 25
LPE 14-H070
LPE 14-H07 A+

Inhaltsverzeichnis
Installation, 26-27
Ecodesign Regulation
ASSISTENZA_EN_LVS@indersitcompany.com
EasyManual