WWSSCOS40AM - TV Stand Tripp Lite - Free user manual and instructions
Find the device manual for free WWSSCOS40AM Tripp Lite in PDF.
Download the instructions for your TV Stand in PDF format for free! Find your manual WWSSCOS40AM - Tripp Lite and take your electronic device back in hand. On this page are published all the documents necessary for the use of your device. WWSSCOS40AM by Tripp Lite.
USER MANUAL WWSSCOS40AM Tripp Lite
Clamp-On Monitor Riser with Antimicrobial Coating*
MODELS: WWSSCOS26AM, WWSSCOS40AM

Espanol 5 • Français 9 • Pycckn 13 • Deutsch 17

Safe-IT
AntiMICROBIAL
PRODUCTS
*Antimicrobial coating inhibits the growth of bacteria, viruses, fungi, mold and mildew.
WARRANTY REGISTRATION
Register your product today and be automatically entered to win an ISOBAR® surge protector in our monthly drawing!
triplite.com/warranty


Manufacturing
三
1111 W. 35th Street, Chicago, IL 60609 USA · triplite.com/support
Copyright © 2021 Tripp Lite. All rights reserved.
Safety Instructions

WARNING
- Do not begin the installation until you have read and understood the instructions and warnings contained in this manual. If you have any questions regarding any of the instructions or warnings, please visit tripplite.com/support.
- This mount was designed to be installed and utilized ONLY as specified in this manual. Improper installation of this product may cause damage or serious injury.
- This product should only be installed by someone of good mechanical ability, with basic building experience and a full understanding of this instruction manual.
- Ensure the mounting surface can safely support the combined load of the equipment and all attached hardware and components.
- Use an assistant or mechanical lifting equipment to safely lift and position equipment.
- Tighten screws firmly, but do not over-tighten. Over-tightening screws can damage the items, greatly reducing their holding power.
- This product is intended for indoor use only. Using this product outdoors could lead to product failure and personal injury.
Warranty and Product Registration
5-Year Limited Warranty
Seller warrants this product, if used in accordance with all applicable instructions, to be free from original defects in material and workmanship for a period of 5 years from the date of initial purchase. If the product should prove defective in material or workmanship within that period, Seller will repair or replace the product, at its sole discretion.
THIS WARRANTY DOES NOT APPLY TO NORMAL WEAR OR TO DAMAGE RESULTING FROM ACCIDENT, MISUSE, ABUSE OR NEGLECT. SELLER MAKES NO EXPRESS WARRANTY OTHER THAN THE WARRANTY EXPRESSLY SET FORTH HEREIN. EXCEPT TO THE EXTENT PROHIBITED BY APPLICABLE LAW, ALL IMPLIED WARRANTYES, INCLUDING ALL WARRANTYES OF MERCHANTABILITY OR FITNESS, ARE LIMITED IN DURATION TO THE WARRANTY PERIOD SET FORTH ABOVE; AND THIS WARRANTY EXPRESSLY EXCUSES ALL INCIDENTAL AND CONSEQUENTIAL DAMAGES. (Some states do not allow limitations on how long an implied warranty lasts, and some states do not allow the exclusion or limitation of incidental or consequential damages, so the above limitations or exclusions may not apply to you. This warranty gives you specific legal rights, and you may have other rights which vary from jurisdiction to jurisdiction.)
WARNING: The individual user should take care to determine prior to use whether this device is suitable, adequate or safe for the use intended. Since individual applications are subject to great variation, the manufacturer makes no representation or warranty as to the suitability or fitness of these devices for any specific application.
PRODUCT REGISTRATION
Visit triplite.com/warranty today to register your new Tripp Lite product. You'll be automatically entered into a drawing for a chance to win a FREE Tripp Lite product!*
- No purchase necessary. Void where prohibited. Some restrictions apply. See website for details.
Tripp Lite has a policy of continuous improvement. Specifications are subject to change without notice. Photos and illustrations may differ slightly from actual products.
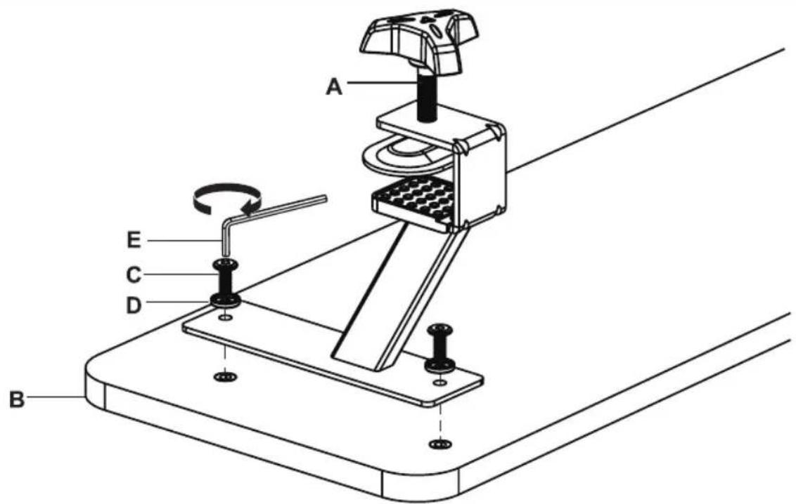
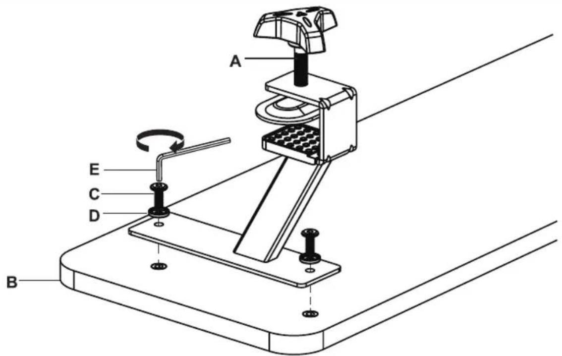
Component Checklist
IMPORTANT: Ensure you have received all parts according to the component checklist prior to installing. If any parts are missing or faulty, visit triplite.com/support for service.

A (x2)

B (x1)

C (x4)

D (x4)

E (x1)
Assembly and Installation

Model WWSSCO26AM

Model WWSSCO40AM

Maintenance
- Check that the brackets are secure and safe to use at regular intervals (at least every three months).
- Visit triplite.com/support if you have any questions.

1111 W. 35th Street, Chicago, IL 60609 USA · triplite.com/support
21-01-260 B3-3D7E RevA
MODELOS: WWSSCOS26AM, WWSSCOS40AM

English 1 • Français 9 • Pycckn 13 • Deutsch 17

Safe-IT AntiMICROBIAL
PRODUCTS
MODELES:WWSSCOS26AM,WWSSCOS40AM

English 1 • Espanol 5 • Pyszczny 13 • Deutsch 17

Safe-IT AntiMICROBIAL
PRODUCTS
PykoBODCTBO N0JIb30BaTeЯ
MOIDEJIH: WWSSCOS26AM, WWSSCOS40AM

English 1 • Espanol 5 • Français 9 • Deutsch 17

Safe-IT
AntiMICROBIAL
PRODUCTS
*PtoTHBOMHKnp6Hoe NOKpBTHe 3aMeDnAeT POCT bAKeTpM, BmpycoB, rnp6KOB, pIneCEN HTHIN.


Pnssnnneaae
- C 的一个子域
1111 W. 35th Street, Chicago, IL 60609 USA - triplite.com/support
OxpaHaeTcA ABTopcKIM pabOM © 2021 Tripp Lite. NpepeuatKa zanpeaetca.
YKa3aHnnoTexHnke6e3onacHoc

BHUMAHVE!
He hauHnHaTe yCTaHOBky Do Tex Nop, Noka He O3HaKOMiTcB Co BCEMN Yka3aHnA MIn IpeDynpexJeHnA Mn B HactoIeM pyKOBOdCTBe N He NoIMeTe IMCmbl. PpN BO3HNKHOBeHn BOpocOB OTHCnTbHo IIO6bIX yKa3aHn mnn ppeDynpexJeHn nocTeITe ctpanu TY triplite.com/support.
- 3TOT KPOHHTeH npEHa3HaueH dIy yCTaHOBKn I NcNoJIb3OBAHnra T0JIbKO B cIeJax, yKa3aHHbIX B HaCToIeM pyKOBODCTBe. HEnpaBnJIbHaN yCTaHOBKa DaHHOrO mJ3dEINMa MoKeT pNBeCTN K pNpUHeHmIO MaTePnaJIbHOrO yIepe6a III cyueCTBeHHOrO BpeDa 3DopOBbIIOIeJ.
- UCTaHOBKa DaHHoR OI3eJIINI DOJXHa IpOu3BOoNTbCToIbKO CneUmaIInCTOM CIOCTaTOHOrTexHnueckoi KBaIIINΦKauIeN 6a30BbIMn HABbIKaMn CTPOHTeNbCTBa, B NOHoi Mepe NOHMaIOUIM CMBICn IHΦOpMaUIM, I3IOJKeHHoB H NaCTOIAE MpyKOBODCTBe.
- y6eHntecb B TOM,чTO MOHTaXHaI NOBepxHOCTb MoKeT C 3aIacOM BbIepeXnBaTb CymMapHyIO HaPry3Ky, c03daBaemyIO 6OpyoDaHnEM I BCEM N BXOJaIIMN B KOMnEKT DeTaJIaMn OChAcTK N DpyrIMN KOMnoHEHTAMN.
-Дябзогипьеминаджаero pa3Meшеня обудованяобрашayTeCb 3a nOmoью nIM noIb3yItecb rpy3oNoBemHbIM o6OpyDobAHnEM.
BnHtblcndyET3aTgNBabTIIIOTHO,HO He nepeTARBAHx.IpeTARBAHne MoKet npNBecTN KIOBpeXdHNO KpENeKHbIX DeTaleN,HTO 3HaHTeNbHO yXduNT IpouHocTB KpENHeHn.
JaHHoe n3dene npedha3Haeyo dIy IcnoJb3OBAHn TObKO B 3akpbTyix NOMEeHNX. IcnoJb3OBAHne DaHHoro n3deHn Ha OTKpbITOM BO3dyx MoKet PpNBecTu K erO BbIXOy u3 CTPOI IN pNCHENIO BpeDa 3doPobBIOIIOEi.
TapaNTnHbIe 06a3aTeNbCTBa
YcnoBna 5-JeTHeN OgrpHueHHoI rapaHTM
IpoaBeu rapaHTpyeOT cyTCTBne H3NaaybHex deKetOB MaTePnana nn H3roToBHeHn B Teeyne 5 nct C MoneHa nepBoHaunbHn NOKynn daHoro mNDeHnn npyCNOBN erO nCNoJIb3oBaHN B COOTBcTBN CO BcEMn pnpMeHNbIMn K hemy kka3HnMn. B cnuyae npoRbEHHn KaKnx-Nn6o DeKeTob MaTePnana nn H3roTOBHeHn B Teeyne yKa3aHnHO nepnoA IpoaBeU oCyueCTBJeT peMOHT nn 3aMeHy daHoro ncklnouHTelbHo n CBOeMy ycMTpeHnIO.
HACTOBHE HACTOIEI IAPAHNTI HEPACNPOCTPAHRETCA HCLYAN ECTECTBEHHOTIO 3HOCA INIO NOBPEKDEHIN B P3YbTATE ABAPNI, HEHAJIKEJAIEO ICNIOJIb30BAHIM, HAPUHEHIN IIPABNJ 3KCIIVATAUIN INXIAXAIATHOCTIN. IPODALECHIE NTPEIOCTABJREHTHKAKNX RBHO BIPAXEHHBIX TAPAHNTI 3A NCKLIQUYEHNEM IPRMO I3NOXKEHHO B HACTOIEM DOKYMHETE. 3A NCKLIQUYEHNEM CUYAEB, 3AIPLEEHHbIX DECTBYUOM 3AKOHODATEJBCTBOM, BCE IIOPA3UMEBAEMBLE IAPAHNTI, BKIOUAYBCE TAPAHNTI PPINOHOCTIN DIIPOIAKIN IIN ICNIOJIb30BAHIN IO HA3HAUEHNI, OPAHUNEHIIO IIO POIOJIKNTIELBOCTN DEICTBRI BblEUKA3AHBBIM TAPAHNTIHBM CPOKOM; KPOME TOI, IN3 HACTOIEI TAPAHNTI RBBHM OBPA3OM NCKLIQUAOITCBA NIOBOOHTBE, CNYAHIble IN KOCBEHNBE YbItKN. (B HeKOToBPx Wtatax He donyckaetc BBeJeHme OrpauHEnHn Ha IPOIOJIKNTIELBOCTB DeCTBnTex INI INHbX IOpa3UMeBAEMBX rapaHTN, A B HEKOToBPx - NCKIOUeHne INI ORpauHEnHe pa3MepeoohbIX INI KOCEHNbY b6bIKOB. B 3TNX cnyaax BblEENLOKeHHBe OPAHUNHn INI NCKIOUeHm MOrTy H BaC He pAcnpocTpahTBcA. Hactoiaarapantn npdoctabnnr KOHPeTbHe IopDnueceKnepaba, a H6Op npdynx npab MoKET 6bItb pa3NIuHbIM B 3aBCMMOCTN ToUPMCNKUIN).
BHIMAHHE! Do hauha nncnolb3oBAHmna daHnHO yctpoCTBa nonb3oBATEbn DOnJKeH y6eHTCB TOM, 0TO OHO ABJIETc pnpOBDHM, COOTBETCTBYUIMMnn 630NaChbIM nI npEtnaRaemoro npImMeHHeN. B C83n C60nbWMn pa3HoOBpa3nEM KOHKpeTHbIX npImMeHm npON3BOIDTeNb He daet KaKnx-N603abeHenn IIN rapaHTNI OTHCuTEbHO npiroDHO CTn DaHHbx INd nn KAKORo-NO60 KOHKpeTHO npImMeHn INn INx COOTBETCBNA KaKm-N60KOKpeTHbIM Tpe6oBAHmM.
Kompana Tripp Lite NoctoHNO COBepuHcET BYTOI POyduKyIO. BCB3N C TMM BO3MOKHO 3MmEHEHmTexHecknXx npaKTePncHK 6e3 npdabntbHorO ybeOMnHnBHeHnBnBnBnBnBnBnBnBnBnBnBnBnBnBnBnBnBnBnBnBnBnBnBnBnBnBnBnBnBnBnBnBnBnBnBnBnBnBnBnBnBnBnBnBnBnBnBnBnBnBn
Ipeuehenb kOMIIeKtaaM
BHIMAHINE!
IpeHauJOM yCTAHOBKN y6eHITcB B HAIUMN BCex DeTanei cornaCHO nepeHHO KOMnNEkTAaMn.
B cnya e octyctbna nnn nopexdehna kaknx-n6o deanei obaTnecb 3n omouho h ctpaHuy triplite.com/support.

A (x2)

B (x1)

C (x4)

D (x4)

E (x1)
C6opka n yctaHOBKa

MoeBb WwSSC026AM

MoeBb WwSSCO40AM

Texnueckoe 6cnyxmbaHne
-Perynnpno (Hepeke,HeMa 3B Tpr Mecaa) npOBepaTe HAdEeKHO KpEnneHn KoHHTeHOB, aTakKe 6e3oNaCHocb ux INIIOB30BaHn.
B CNYae Bo3NHKHOBeHn KaHX-160 BonpoCoB nocTe CTpaHmU tripplite.com/support.

1111 W. 35th Street, Chicago, IL 60609 USA - triplite.com/support
21-01-260 93-307E ReA
Bedienungsanleitung
MODELLE: WWSSCOS26AM, WWSSCOS40AM

English 1 • Espanol 5 • Français 9 • Pycckn 13

Safe-IT AntiMICROBIAL
PRODUCTS
ManualGo.com