WWSSCOS40AM - TV-Möbel Tripp Lite - Kostenlose Bedienungsanleitung
Finden Sie kostenlos die Bedienungsanleitung des Geräts WWSSCOS40AM Tripp Lite als PDF.
Laden Sie die Anleitung für Ihr TV-Möbel kostenlos im PDF-Format! Finden Sie Ihr Handbuch WWSSCOS40AM - Tripp Lite und nehmen Sie Ihr elektronisches Gerät wieder in die Hand. Auf dieser Seite sind alle Dokumente veröffentlicht, die für die Verwendung Ihres Geräts notwendig sind. WWSSCOS40AM von der Marke Tripp Lite.
BEDIENUNGSANLEITUNG WWSSCOS40AM Tripp Lite
Klemmbare Monitorhalterung mit antimikrobieller Beschichtung*
*Die antimikrobielle Beschichtung hemmt das Wachstum von Bakterien, Viren, Pilzen, Schimmel und Moder.

1111 W. 35th Street, Chicago, IL 60609 USA · triplite.com/support
Copyright © 2021 Tripp Lite. Alle Rechte vorbehalten.
Sicherheitshinweise
!WARNUNG
- Beginnen Sie nicht mit dem Einbau, bevor Sie die Anweisungen und Warnhinweise in dieser Handbuch gelesen und verstanden haben. Sollen Sie Fragen bezüglich der Anweisungen oder Warnhinweise haben, besuchen Sieitte tripplite.com/support.
- These Halterung sollen AUSSCHLIESSLICH wie in dieser Handbuch angegeben eingebaut und verwendet werden. Die unsachgemäß Installation thesees Produkts kann zu Schaden und schweren Verletzungen führen.
- Dieses Produkt darf nur von einer Person mit eigenen Montagefähigkeiten und Grunderführung im Bauwesen montiert werden, die alle Anweisungen in der vorliegenden Montageanleitung vollständig verstanden hat.
- Stellen Sie sicher, dass die Montagefläche das Gewicht des Geräts sowie das zugehörige Material und alle zugehörigen Komponenten/TRagen kann.
- Holen Sie sich Hilfe oder verwenden Sie eine mechanische Hebevorrichtung, um das Gerät sicher zu haben und zu positionieren.
- Ziehen Sie die Schrauben fest, aber nicht zu fest an. Durch zu festes Anziehender Schrauben können die Komponenten beschädigt werden, wodurch die Haltekraft stark reduziert wird.
- Dieses Produkt ist nur für den Einsatz in geschlossenen Räumen geeignet. Die Verwendung theses Produktes im Freien kann zu Fehlfunktionen und Verletzungen führen.
Garantie
5-Jahres-Garantie
Der Verkauf garantiert für einen Zeitraum von fülf Jahren ab Kaufdatum, dass das Produkt weder Material- noch Herstellungsehler aufweist, wenn es gemäß allen zutreffenden Anweisungen verwendet wird. Wenn das Produkt in dieser Zeitraum Material- oder Herstellungsehler aufweist, kann der Verkauf der diese Fehler nach eigemem Ermessen beheben oder das Produkt ersetzen.
DIE NORMALE ABNUTZUNG ODER BESCHÄDIGUNGEN AUFGRUND VON UNFÄllen, MISSBRAUCH ODER UTERLASSUNG WERDEN VON DIESER GARANTIE NICT GEDECKT. AUSSER DEN NACHSTEHEND AUSDRÜCKLICH DARGELEGTEN GARANTIEBEDINGUEN ÜBERNIMMT DER VERKÄUFER KEINERLEI GARANTIE. AUSSER WENN VON DEN GÜLTIGEN GESETZEN UNTERSAGT, SIND ALLE IMPLIZIERTEM GARANTIEN, EINSCHLIESLLICH ALLE GARANTIEN FÜR DIE GEBRAUCHSTAUGLICHKEIT ODER EIGNUNG AUF DIE OBEN FESTGELEGTE GARANTIEDAUER BESCHRANKT. DIESE GARANTIE SCHLIESST AUSDRÜCKLICH ALLE FOLGESCHÄDEN UND BEILÄUFIG ENTSTANDENEN SCHÄDEN AUS. (Da einige Länder den Ausschluss oder die Beschränkung von Folgeschäden oder beilaufig entstandenen Schäden sowie den Ausschluss von implizierten Garantien oder die zeitliche Beschränkung einer implizierten Garantie entsprechensagen, sind die oben genommen Beschränkungen fur Sie möglicherweise nicht zuteffend. Diese Garantie gibt Ichnen bestimmte Rechte. Sie haben jeder möglicherweise andere Rechte, die abhängig von der Gerichtsbarkeit variieren können.)
WARNING: Der Benutzer muss vor der Verwendung überprüfen, ob das Gerät für den beabsichtigten Zweck geeignet und angemessen ist und ob der Einsatz safer ist. Da die Anwendungen variieren können, überimmt der Hersteller keine Garantie bezüglich der Eignung dieser Geräte für einen bestimmten Verwendungszweck.
Tripp Lite hat den Grundsatz, sich kontinuierlich zu verbessern. Spezifikationen können ohne Ankündigung geändert werden. Fotos und Illustrationen können von den tatsächlichen Produkten weniger abweichen.
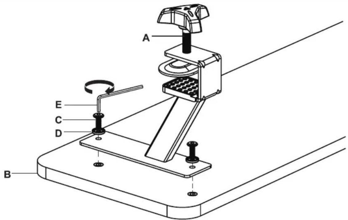
Komponentenliste
WICHTIG: Überprüfen Sie, ob Sie alle in der Komponentenliste aufgeführten Teile erhalten haben, bevor Sie mit der Installation beginnen. Wenn Teile fehlen oder fehlerhaft sind, besuchen Sie triplite.com/support fur den Kundendienst.

A (x2)

B (x1)

C (x4)

D (x4)

E (x1)
Montage und Installation

19
Modell WWSSCO26AM

Modell WWSSCO40AM

Wartung
- Überprüfen Sie in regelmäßigen Abständen (mindestens alle drei Monate), dass die Halterungen sich angebracht sind.
- Wenn Sie Fragen haben, besuchen Sie triplite.com/support.

1111 W. 35th Street, Chicago, IL 60609 USA · triplite.com/support
21-01-260 B3-3D7E RevA
Notice-Facile