NE63BB871112AC - Oven SAMSUNG - Free user manual and instructions
Find the device manual for free NE63BB871112AC SAMSUNG in PDF.
Download the instructions for your Oven in PDF format for free! Find your manual NE63BB871112AC - SAMSUNG and take your electronic device back in hand. On this page are published all the documents necessary for the use of your device. NE63BB871112AC by SAMSUNG.
USER MANUAL NE63BB871112AC SAMSUNG
To reduce the risk of tipping the range, the range must be secured by a properly installed Anti-Tip device. AFTER THE RANGE HAS BEEN INSTALLED, CONFIRM THAT THE ANTI-TIP DEVICE HAS BEEN PROPERLY INSTALLED AND VERIFY THAT THE ANTI-TIP DEVICE IS PROPERLY ENGAGED. Refer to the installation manual for instructions.
a) If the Anti-Tip device is not installed, a child or adult can tip the range and be killed.
b) Verify that the Anti-Tip device has been properly installed and engaged at the rear right (or rear left) of the range bottom.
c) If you move the range and then move it back into place, ensure the Anti-Tip device is re-engaged at the right or left rear of the range bottom.
d) Do not operate the range without the Anti-Tip device in place and engaged.
e) Failure to do so can result in death or serious burns to children or adults.

WARNING
Do not step, lean, or sit on the doors of the range. You can cause the range to tip, resulting in burns or serious injuries.
Confirm that the Anti-Tip device is installed properly. Then, to verify that the Anti-Tip device is engaged, grasp the top rear edge of the range and carefully attempt to tilt it forward. The Anti-Tip device should prevent the range from tilting forward more than a few inches. If you pull the range out from the wall for any reason, make sure the Anti-Tip device is properly engaged when you push the range back against the wall. If it is not, there is a risk of the range tipping over and causing injury if you or a child stand, sit, or lean on the open door. Never completely remove the leveling legs. If you remove the leveling legs, the range will not be secured to the Anti-Tip device properly.
Regulatory Notice
1. FCC Notice
CAUTION
FCC CAUTION: Any changes or modifications not expressly approved by the party responsible for compliance could void the user's authority to operate the equipment.
This device complies with part 15 of FCC Rules. Operation is Subject to following two conditions:
1) This device may not cause harmful interference, and
2) This device must accept any interference received including interference that cause undesired operation.
For products sold in the US and Canadian markets, only channels 1-11 are available. You cannot select any other channels.
FCC STATEMENT:
This equipment has been tested and found to comply within the limits for a Class B digital device, pursuant to part 15 of the FCC Rules. These limits are designed to provide reasonable protection against harmful interference in a residential installation.
This equipment generates, uses, and can radiate radio frequency energy and, if not installed and used in accordance with the instructions, may cause harmful interference to radio communications. However, there is no guarantee that interference will not occur in a particular installation. If this equipment does cause harmful interference to radio or television reception, which can be determined by turning the equipment off and on, the user is encouraged to try to correct the interference by one or more of the following measures:
Reorienting or relocating the receiving antenna
- Increasing the separation between the equipment and receiver
- Connecting the equipment to an outlet that is on a different circuit than the radio or TV.
- Consulting the dealer or an experienced radio/TV technician for help.
Regulatory Notice
FCC RADIATION EXPOSURE STATEMENT:
This equipment complies with FCC radiation exposure limits set forth for an uncontrolled environment. This equipment should be installed and operated so there is at least 8 inches (20 cm) between the radiator and your body. This device and its antenna(s) must not be co-located or operated in conjunction with any other antenna or transmitter.
2. IC Notice
The term "IC" before the radio certification number only signifies that Industry Canada technical specifications were met. Operation is subject to the following two conditions: (1) this device may not cause interference, and (2) this device must accept any interference, including interference that may cause undesired operation of the device.
This Class B digital apparatus complies with Canadian ICES-003.
For products sold in the US and Canadian markets, only channels
1-11 are available. You cannot select any other channels.
IC RADIATION EXPOSURE STATEMENT:
This equipment complies with IC RSS-102 radiation exposure limits set forth for an uncontrolled environment. This equipment should be installed and operated so there is at least 8 inches (20 cm) between the radiator and your body. This device and its antenna(s) must not be co-located or operated in conjunction with any other antenna or transmitter.
Contents
Important safety instructions 6
Introducing your new range 21
Overview 21
What's included with your range 21
Before you begin 22
Energy saving tips 22
Surface cooking 22
About surface cooking 22
How to set the appliance for surface cooking 24
Using the proper cookware 26
Choosing the proper cookware 27
Protecting the cooktop 27
Operating the oven 28
The oven control panel 28
How to use dial knob 28
Display mode 29
Turning the oven light on and off 29
Clock 29
Oven cooking 30
Cooking mode 30
Using the oven racks 31
33
Temperature probe 37
Cooking options 39
Special features 40
More functions 41
System Settings 43
Smart control 45
Voice control 46
Maintaining your appliance 48
Self-cleaning 48
Steam cleaning 49
Care and cleaning of the oven 50
Care and cleaning of the glass cooktop 52
Removing and reinstalling the oven door 54
Removing and reinstalling the storage drawer 56
Changing the oven light 56
Troubleshooting 57
Troubleshooting 57
Information codes 61
Warranty (U.S.A) 63
Warranty (CANADA) 64
Appendix 66
Open Source Announcement 66
Important safety instructions
Read and follow all instructions before using your range to prevent the risk of fire, electric shock, personal injury, or damage when using the range. This guide does not cover all possible conditions that may occur. Always contact your service agent or the manufacturer about problems that you do not understand.
WHAT YOU NEED TO KNOW ABOUT SAFETY INSTRUCTIONS
Warnings and Important safety instructions in this manual do not cover all possible conditions and situations that may occur. It is your responsibility to use common sense, caution, and care when installing, maintaining, and operating your oven.
Important safety symbols and precautions
What the icons and signs in this user manual mean:
WARNING
Hazards or unsafe practices that may result in severe personal injury or death.
CAUTION
Hazards or unsafe practices that may result in minor personal injury or property damage.
SAVE THESE INSTRUCTIONS
CAUTION
To reduce the risk of fire, explosion, electric shock, or personal injury when using your range, follow these basic safety precautions.
Do NOT attempt.
Do NOT disassemble.
Do NOT touch.
Follow directions explicitly.
Unplug the power plug from the wall socket.
Make sure the machine is grounded to prevent electric shock.
Call a Samsung service center for help.
Note
These warning signs are here to prevent injury to you and others. Please follow them explicitly.
After reading this section, keep it in a safe place for future reference.
CALIFORNIA PROPOSITION 65 WARNING
WARNING
Cancer and Reproductive Harm - www.P65Warnings.ca.gov
FOR YOUR SAFETY
When using electrical appliances, you should follow basic safety precautions, including the following:
CAUTION
- Use this appliance only for its intended purpose as described in this Owner's Manual.
- Potentially hot surfaces include the cooktop, areas facing the cooktop, the oven vent opening, surfaces near the opening, and crevices around the oven door.
Be sure your appliance is properly installed and grounded by a qualified technician.
User servicing - Do not repair or replace any part of the appliance unless specifically recommended in this manual. All other servicing should be referred to a qualified technician.
Always disconnect the power to the appliance before servicing by removing the fuse or switching off the circuit breaker.
-
Do not enter the oven.
-
Do not store items of interest to children in cabinets above the range or on the back guard of the range. Children climbing on the range to reach items could be seriously injured.
- Do not leave children alone. Never leave children alone or unattended in an area where this appliance is in use. They should never be allowed to sit or stand on any part of the appliance.
- Never use your appliance for warming or heating the room.
- Do not use water on grease fires. Turn off the oven to avoid spreading the flames. Smother the fire or flames by closing the door or use a dry chemical, baking soda, or foam-type extinguisher.
- Avoid scratching or striking the glass doors, the cooktop, or the control panel. Doing so may lead to glass breakage. Do not cook on a product with broken glass. Shock, fire, or cuts may occur.
SAVE THESE INSTRUCTIONS
Important safety instructions
- If there is a fire in the oven during self-cleaning, turn the oven off and wait for the fire to go out. Do not force the door open. The introduction of fresh air at self-cleaning temperatures may lead to a burst of flame from the oven. Failure to follow these instructions may result in severe burns.
- If the oven is heavily soiled with oil, self-clean the oven before using the oven again. Leaving the oil in place creates a risk of fire.
- Wipe up heavy soil on the oven bottom with a paper towel or rag before self-cleaning. Self-cleaning the oven when there is heavy soil on the oven bottom requires longer cleaning cycles and produces more smoke.
Storage in or on the appliance. Do not store flammable materials in the oven or near the surface units. Be sure all packing materials are removed from the appliance before operating it. Keep plastics, clothes, and paper away from parts of the appliance that may become hot. -
Wear proper apparel. Never wear loose-fitting or hanging garments while using the appliance.
-
Use only dry potholders. Placing moist or damp potholders on hot surfaces may result in burns from steam. Do not let the potholder touch hot heating elements. Do not use a towel or other bulky cloth.
-
Teach children not to play with the controls or any other part of the range.
- For your safety, do not use high-pressure water cleaners or steam jet cleaners to clean any part of the range.
- If the power cord is damaged, it must be replaced by the manufacturer, its service agent, or similarly qualified persons to avoid creating a hazard.
- The appliance is not intended for use by persons (including children) with reduced physical, sensory or mental capabilities, or lack of experience and knowledge, unless they have been given supervision or instruction concerning use of the appliance by a person responsible for their safety.
- Do not lean on the range as you may turn the control knobs inattentively.
SAVE THESE INSTRUCTIONS
SURFACE COOKING UNITS

-
Never leave surface units unattended at high heat settings. Boilovers cause smoking and greasy spillovers that may ignite.
-
Protective Liners - Do not use aluminum foil to line surface unit drip bowls or oven bottoms, except as suggested in the manual. Improper installation of these liners may result in a risk of electric shock or fire.
-
To avoid oil spillover and fire, use a minimum amount of oil when shallow pan-frying and avoid cooking frozen foods that have excessive amounts of ice.
-
Do not lift the cooktop. Lifting the cooktop can damage the range and cause the range to malfunction.
-
Do not operate the cooktop without cookware. If the cooktop operates without cookware, the control knobs will become hot.
-
Never use the glass cooktop surface as a cutting board.

-
Use care when touching the cooktop. The glass surface of the cooktop will retain heat after the controls have been turned off.
-
Do not move the container and bowl in a horizontal position on cooktop surface.

- Be careful when placing spoons or other stirring utensils on the glass cooktop surface when it is in use. They may become hot and could cause burns.
- Use proper pan sizes. This appliance is equipped with surface units of different size. Select pots and pans that have flat bottoms large enough to cover the surface area of the heating element. Using undersized cookware will expose a portion of the heating element to direct contact and may result in the ignition of clothing. Matching the size of the pot or pan to the burner will also improve efficiency.
- Cookware Handles Should Be Turned Inward and Not Extend Over Adjacent Surface Units - To reduce the risk of burns, ignition of flammable materials, or spillage due to unintentional contact with cookware, position cookware handles so that they are turned inward and do not extend over adjacent surface units.
- Glazed cookware. Only certain types of glass, glass/ceramic, ceramic, earthenware, or other glazed cookware can be used for rangetop service without breaking due to sudden changes in temperature.
- Cleaning. Read and follow all instructions and warnings on the cleaning cream labels.
SAVE THESE INSTRUCTIONS
Important safety instructions
- Be sure you know which control knob operates each surface unit. Make sure you turned on the correct surface unit.
Always turn the surface units off before removing cookware. - When preparing flaming foods under the hood, turn the fan on.
- Keep an eye on foods being fried at high or medium high heat settings.
- Do not store heavy items above the cooktop surface that could fall and damage it.
- Do not use decorative surface element covers - If an element is accidentally turned on, the decorative cover will become hot and possibly melt. Burns will occur if the hot covers are touched. Damage may also be done to the cooktop.
ELECTRICAL SAFETY
-
Proper Installation - Be sure your appliance is properly installed and grounded by a qualified technician.
-
The appliance should be serviced only by qualified service personnel. Repairs carried out by unqualified individuals may cause injury or a serious malfunction. If your appliance is in need of repair, contact a Samsung authorized service center. Failure to follow these instructions may result in damage and void the warranty.
SAVE THESE INSTRUCTIONS
- Flush-mounted appliances may be operated only after they have been installed in cabinets and workplaces that conform to the relevant standards. This ensures that the appliances are installed in compliance with the appropriate safety standards.
-
If your appliance malfunctions or if fractures, cracks, or splits appear:
-
switch off all cooking zones
- unplug the range from the AC wall outlet
- contact your local Samsung service center.
WARNING
If the surface is cracked, switch off and unplug the appliance to avoid the possibility of electrical shock. Do not use your cooktop until the glass surface has been replaced.
WARNING
- Ensure that the appliance is switched off before replacing the lamp to avoid the possibility of electric shock.
The range should not be placed on a base.
CHILD SAFETY
WARNING
- This appliance is not intended for use by young children or infirm persons without the adequate supervision of a responsible adult.
- Young children should be supervised to ensure that they do not play with the appliance.
- Keep children away from the door when opening or closing it as they may bump themselves on the door or catch their fingers in the door.
- The cooking zones will become hot when you cook. To keep small children from being burned, always keep them away from the appliance while you are cooking.
- During self-cleaning, the surfaces may get hotter than usual. Keep small children away from the range when it is in the self-cleaning mode.
WARNING
Accessible parts may become hot during use. To avoid burns, young children should be kept away.
OVEN
DO NOT TOUCH THE HEATING ELEMENTS OR INTERIOR SURFACES OF THE OVEN. Heating elements may be hot even though they are dark in color. Interior surfaces of an oven become hot enough to cause burns. During and after use, do not touch or let clothing or other flammable materials contact the heating elements or interior surfaces of the oven until they have had sufficient time to cool. Other surfaces of the appliance may become hot enough to cause burns. Among these surfaces are oven vent openings and surfaces near these openings, the oven door, and the window of the oven door.
- Do not heat unopened food containers. The build-up of pressure may cause the container to burst and result in injury.
- Do not use the oven to dry newspapers. If overheated, newspapers can catch on fire.
- Do not use the oven for a storage area. Items stored in an oven can ignite.
SAVE THESE INSTRUCTIONS
Important safety instructions
Use care when opening the door. Let hot air or steam escape before you remove food from or put food into the oven.
- Protective liners. Do not use aluminum foil to line the oven bottoms, except as suggested in the manual. Improper installation of these liners may result in a risk of electric shock or fire.
- Keep oven vent ducts unobstructed. The oven vent is located above the right rear surface unit. This area could become hot during oven use. Never block this vent or place plastic or heat-sensitive items on it.
- Placement of oven racks. Always place oven racks in the desired location while the oven is cool. If the rack must be moved while the oven is hot, use potholders. Do not let the potholders come in contact with the hot heating element in the oven.
- Do not allow aluminum foil or a meat probe to contact the heating elements.
During use, the appliance becomes hot. Care should be taken to avoid touching heating elements inside the oven.
- Do not use harsh abrasive cleaners or sharp metal scrapers to clean the oven door glass. They can scratch the surface, which may result in the glass shattering.
SAVE THESE INSTRUCTIONS
CAUTION
Do not attempt to operate the oven during a power failure. If the power fails, always turn the oven off. If the oven is not turned off and the power returns, the oven may begin to operate again. Food left unattended could catch fire or spoil.
REMOTE OPERATION
This appliance is configurable to allow remote operation at any time.
- Do not store any flammable materials or temperature sensitive items inside, on top or near surface units of the appliance.
SELF-CLEANING OVENS

Do not clean the door gasket. The door gasket is essential for a good seal. Care should be taken not to rub, damage, or move the gasket.

- Never keep pet birds in the kitchen. Birds are extremely sensitive to the fumes released during an oven self-clean cycle. Fumes may be harmful or fatal to birds. Move birds to a well-ventilated room.

- Clean only the parts listed in this manual in the self-clean cycle. Before self-cleaning the oven, remove the partition, rack, utensils, and any food.
- Before operating the self-clean cycle, wipe grease and food soils from the oven. Excessive amounts of grease may ignite, leading to smoke damage to your home.
- Do not use any commercial oven cleaner or oven liner protective coating of any kind in or on the outside of the oven.
- Remove the nickel oven shelves from the oven before you begin the self-cleaning cycle or they may discolor.
- If the self-cleaning mode malfunctions, turn the oven off and disconnect the power supply. Have it serviced by a qualified technician.
- Excess spillage must be removed before you run the self-cleaning cycle.
VENTILATING HOOD

- Clean ventilating hoods frequently. Do not let grease accumulate on the hood or filter.
- When flaming foods under the hood, turn the fan on.
SAVE THESE INSTRUCTIONS
Important safety instructions
GLASS/CERAMIC COOKING SURFACES
DO NOT TOUCH SURFACE UNITS OR AREAS NEAR UNITS. Surface units may be hot even though they are dark in color Areas near surface units may become hot enough to cause burns. During and after use, do not touch, or let clothing or other flammable materials contact the surface units or areas near the units until they have had sufficient time to cool. Among these areas are the cooktop and the facing of the cooktop.
- Do not cook on a broken cooktop. If the cooktop should break, cleaning solutions and spillovers may penetrate the broken cooktop and create a risk of electric shock. Contact a qualified technician immediately.
Clean the cooktop with caution. If a wet sponge or cloth is used to wipe spills on a hot cooking area, be careful to avoid steam burns. Some cleaners can produce noxious fumes if applied to a hot surface.
CRITICAL INSTALLATION WARNINGS
WARNING
This appliance must be installed by a qualified technician or service company.
-
Failing to have a qualified technician install the range may result in electric shock, fire, an explosion, problems with the product, or injury.
-
Unpack the oven, remove all packaging material and examine the oven for any damage, such as dents on the interior or exterior of the oven, broken door latches, cracks in the door, or a door that is not lined up correctly. If there is any damage, do not operate the oven and notify your dealer immediately.
- Plug the power cord into a properly grounded outlet with the proper configuration. Your oven should be the only item connected to this circuit.
- Keep all packaging materials out of the reach of children. Children may use them for play and injure themselves.
Install your appliance on a hard, level floor that can support its weight.
- Failing to do so may result in abnormal vibrations, noise, or problems with the product.
SAVE THESE INSTRUCTIONS

- This appliance must be properly grounded.
-
Do not ground the appliance to a gas pipe, plastic water pipe, or telephone line.
-
This may result in electric shock, fire, an explosion, or problems with the product.
-
Do not cut or remove the ground prong from the power cord under any circumstances.
- Connect the oven to a circuit that provides the correct amperage.

-
Do not install this appliance in a humid, oily or dusty location, or in a location exposed to direct sunlight or water (rain drops).
-
This may result in electric shock or fire.
-
Do not use a damaged power cord or loose wall socket.
-
This may result in electric shock or fire.
-
Do not pull or excessively bend the power cord.
- Do not twist or tie the power cord.

-
Do not hook the power cord over a metal object, place a heavy object on the power cord, or insert the power cord between objects.
-
This may result in electric shock or fire.

If the power cord is damaged, contact your nearest Samsung service center.
CRITICAL USAGE WARNING

CAUTION

- If the appliance is flooded by any liquid, please contact your nearest Samsung service center. Failing to do so may result in electric shock or fire.
-
If the appliance produces a strange noise, a burning smell, or smoke, unplug the power plug immediately and contact your nearest Samsung service center.
-
Failing to do so may result in electric shock or fire
-
In the event of a gas leak (such as propane gas, LP gas, etc.), ventilate the area immediately. Do not touch the power cord. Do not touch the appliance.
-
A spark may result in an explosion or fire.
Important safety instructions
Take care not to contact the oven door, heating elements, or any of the other hot parts with your body while cooking or just after cooking.
-
Failing to do so may result in burns.
-
If materials inside the oven should ignite, keep the oven door closed, turn the oven off and disconnect the power cord, or shut off power at the fuse or circuit breaker panel. If the door is opened, the fire may spread.
- Always observe safety precautions when using your oven. Never try to repair the oven on your own - there is dangerous voltage inside. If the oven needs to be repaired, contact an authorized Samsung service center near you.
-
If you use the appliance when it is contaminated by foreign substance, such as food waste, it may result in a problem with the appliance.
Take care when removing the wrapping from food taken out of the appliance. -
If the food is hot, hot steam may be emitted abruptly when you remove the wrapping and this may result in burns.
-
Do not attempt to repair, disassemble, or modify the appliance yourself.
-
Since a high voltage current enters the product chassis, it may result in electric shock or fire.
- When a repair is needed, contact your nearest Samsung service center.
If any foreign substance, such as water has entered the appliance, contact your nearest Samsung service center.
- Failing to do so may result in electric shock or fire.
- Do not touch the power cord with wet hands.
- This may result in electric shock.
- Do not turn the appliance off while an operation is in progress.
-
This may cause a spark and result in electric shock or fire.
-
Keep all packaging materials well out of the reach of children, as packaging materials can be dangerous to children.
-
If a child places a plastic bag over its head, the child can suffocate.
SAVE THESE INSTRUCTIONS

- Do not let children or any person with reduced physical, sensory, or mental capabilities use this appliance unsupervised.
Make sure that the appliance's controls and cooking areas are out of the reach of children. - Failing to do so may result in electric shock, burns, or injury. - Do not touch the inside of the appliance immediately after cooking. The inside of the appliance will be hot.
- Failing to do so may result in burns.
- Do not use or place flammable sprays or objects near the oven.
- Flammable items or sprays can cause fires or an explosion.
- Do not insert fingers, foreign substances, or metal objects, such as pins or needles into inlets, outlets, or holes. If foreign substances are inserted into any of these holes, contact your product provider or nearest Samsung service center.
- Do not tamper with or make any adjustments or repairs to the door. Under no circumstances should you remove the door or outer shell of the oven.

- Do not store or use the oven outdoors.
- Never use this appliance for purposes other than cooking.
- Using the appliance for any purpose other than cooking may result in fire.
- Open the cap or stopper of sealed containers (herb tonic tea bottle, baby bottle, milk bottle and so on) before heating them. Make a hole in food items that have shells (eggs, chestnuts, etc) with a knife before cooking them.
- Failing to do so may result in burns or injury.
- Never heat plastic or paper containers and do not use them for cooking.
- Failing to do so may result in fire.
- Do not heat food wrapped in paper from magazines, newspapers, etc.
- This may result in fire.
- Do not open the door when the food in the oven is burning. - If you open the door, it causes an inflow of oxygen and may cause the food to ignite.
Important safety instructions

- Do not apply excessive pressure to the door or the inside of the appliance. Do not strike the door or the inside or the appliance.
- Hanging on to the door may result in the product falling and cause serious injury.
- If the door is damaged, do not use the appliance. Contact a Samsung service center.
- Do not hold food in your bare hands during or immediately after cooking.
- Use cooking gloves. The food may be very hot and you could burn yourself.
- As the handle and oven surfaces may be hot enough to cause burns after cooking, use cooking gloves to protect your hands from burns.
USAGE CAUTIONS

CAUTION

- If the surface is cracked, turn the appliance off.
- Failing to do so may result in electric shock.
- Dishes and containers can become hot. Handle with care.
- Hot foods and steam can cause burns. Carefully remove container coverings, directing the steam away your hands and face.
-
Remove lids from baby food jars before heating. After heating baby food, stir well to distribute the heat evenly. Always test the temperature by tasting before feeding the baby. The glass jar or the surface of the food may appear to be cooler than the interior, which can be hot enough to burn an infant's mouth.
Take care as beverages or food may be very hot after heating. -
Especially when feeding a child. Check that it has cooled sufficiently.
SAVE THESE INSTRUCTIONS

Take care when heating liquids, such as water or other beverages.
- Make sure to stir during or after cooking.
- Avoid using a slippery container with a narrow neck.
- Wait at least 30 seconds after heating before removing the heated liquid.
- Failing to do so may result in an abrupt overflow of the contents and cause burns.

-
Do not stand on top of the appliance or place objects (such as laundry, an oven cover, lighted candles, lighted cigarettes, dishes, chemicals, metal objects, etc.) on the appliance.
-
Items, such as a cloth, may get caught in the door.
-
This may result in electric shock, fire, problems with the product, or injury.
-
Do not operate the appliance with wet hands.
- This may result in electric shock.
- Do not spray volatile substances, such as insecticide onto the surface of the appliance.
- As well as being harmful to humans, it may also result in electric shock, fire, or problems with the product.

-
Do not put your face or body close to the appliance while cooking or when opening the door just after cooking.
-
Take care that children do not come too close to the appliance.
-
Failing to do so may result in children burning themselves.
-
Do not place food or heavy objects over the edge of the oven door.
- If you open the door, the food or object may fall and this may result in burns or injury.
- Do not abruptly cool the door, the inside of the appliance, or a dish by pouring water over it during or just after cooking.
- This may result in damage to the appliance. The steam or water spray may result in burns or injury.
- Do not operate while empty except for self-cleaning.
- Do not defrost frozen beverages in narrow-necked bottles. The bottles can break.
- Do not scratch the glass of the oven door with a sharp object.
- This may result in the glass being damaged or broken.
- Do not store anything directly on top of the appliance when it is in operation.
SAVE THESE INSTRUCTIONS
Important safety instructions

-
Do not use sealed containers. Remove seals and lids before cooking. Sealed containers can explode due to the build up of pressure even after the oven has been turned off.
Take care that food you are cooking in the oven does not come into contact with the heating element. -
This may result in fire.
-
Do not overheat food.
- Overheating food may result in fire.
CRITICAL CLEANING WARNINGS

CAUTION

- Do not clean the appliance by spraying water directly on to it.
-
Do not use benzene, thinner, or alcohol to clean the appliance.
-
This may result in discoloration, deformation, damage, electric shock, or fire.

Take care not to hurt yourself when cleaning the appliance (externally or internally).
-
You may hurt yourself on the sharp edges of the appliance.
-
Do not clean the appliance with a steam cleaner.
- This may result in corrosion.
- Keep the inside of the oven clean. Food particles or spattered oils stuck to the oven walls or floor can cause paint damage and reduce the efficiency of the oven.
SAVE THESE INSTRUCTIONS
Introducing your new range

Overview
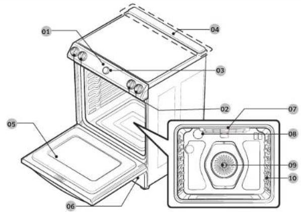
01 Control panel 02 Surface control
knobs (See page
23 for more
information.)
04 Vent
05 Oyen door
07 Broil oven heater
08 Oven light
10 Shelf position
03 Dial knob (See
page 28 for more
information.)
06 Storage drawer
09 Convection system
What's included with your range



Wire racks (2) Air fry tray (1) Temperature probe (1)

Cleaner &
cleaning pad (1)

If you need an accessory marked with a , you can buy it from the Samsung Contact Center (1-800-726-7864).
Before you begin Surface cooking
Clean the oven thoroughly before using it for the first time. Then, remove the accessories, set the oven to bake, and then run the oven at 400^ for 1 hour. There will be a distinctive odor. This is normal. Ensure your kitchen is well ventilated during this conditioning period.
Energy saving tips
During cooking, the oven door should remain closed except when you turn food over. Do not open the door frequently during cooking to maintain the oven temperature and to save energy.
- If cooking time is more than 30 minutes, you can switch the oven off 5-10 minutes before the end of the cooking time to save energy. The residual heat will complete the cooking process.
- To save energy and reduce the time needed for reheating the oven, plan oven use to avoid turning the oven off between cooking one item and the next.
- Whenever possible, cook more than one item at a time.
About surface cooking
CAUTION
BEFORE COOKING
- Do not use the glass cooktop surface as a cutting board.
- Do not place or store items that can melt or catch fire on the glass cooktop, even when it is not being used.
- Turn the surface units on only after placing cookware on them.
- Do not store heavy items above the cooktop surface. They could fall and damage it.
CAUTION
DURING COOKING
- Do not place aluminum foil or plastic items, such as salt and pepper shakers, spoon holders, or plastic wrappings on the range when it is in use. The hot air from the vent could melt plastics or ignite flammable items.
Make sure the correct surface unit is turned on. - Never cook directly on the glass. Always use cookware.
Always place the pan in the center of the surface unit you are cooking on. - Never leave surface units unattended while using a high heat setting. Boilovers cause smoking and greasy spillovers that may catch on fire.
- Turn the surface units off before removing cookware.
- Do not use plastic wrap to cover food. Plastic may melt onto the surface and be very difficult to remove.
The cooling fan can be operated during cooktop cooking.

CAUTION
AFTER COOKING
- Do not touch the surface units until they have cooled down.
- The surface may still be hot and burns may occur if you touch the glass surface before it has cooled down sufficiently.
- Immediately clean spills on the cooking area to prevent a tough cleaning chore later.
- If cabinet storage is provided directly above the cooking surface, make sure that the items are infrequently used and can be safely stored in an area subjected to heat. Temperatures may be unsafe for items, such as volatile liquids, cleaners, or aerosol sprays.
About the radiant surface elements
The temperature rises gradually and evenly. As the temperature rises, the radiant element will glow red. To maintain the selected setting, the element will cycle on and off. The heating element retains enough heat to provide a uniform and consistent heat during the off cycle. For efficient cooking, turn off the element several minutes before cooking is complete. This will allow residual heat to complete the cooking process.

NOTE
Radiant elements have a limiter that allows the element to cycle ON and OFF, even at the HI setting. This helps to prevent damage to the ceramic cooktop. Cycling at the HI setting is normal and can occur if the cookware is too small for the radiant element or if the cookware bottom is not flat.

NOTE
When you operate the knob, beep sounds once.
Location of the radiant surface elements and controls
The radiant control knobs operate the radiant surface elements on the cooktop as shown below. When reassembling the knobs after cleaning, check the knob print and assemble them in the correct position before using cooktop.

01 Left Rear:
6",1200W
02 Left Front:
6"79",3600W
03 Warming Center:
100W
04 Right Front:
6"/9"/12", 3000 W
05 Right Rear:
6,1200W
06 Hot surface
indicator

NOTE
The knob illumination around the knob turns on when the knob is turned on.
Surface cooking
Hot surface indicator
- Comes on when the unit is turned on or hot to the touch.
Stays on even after the unit is turned off. - Glows until the unit is cooled to approximately 150^ .
Cooking areas
The cooking areas on your range are identified by permanent circles on the glass cooking surface. For the most efficient cooking, fit the pan size to the element size.
- Pans should not extend more than 12 to 1 beyond the cooking area.
- When a control is turned on, you can see a glow through the glass cooking surface. The element will cycle on and off to maintain the preset heat setting, even at high settings.
- For more information on selecting proper types of cookware, refer to the section "Using the proper cookware" on page 26.
How to set the appliance for surface cooking
CAUTION
- The surface elements may be hot even when off and burns can occur. Do not touch the surface elements until they have cooled down sufficiently.
- At high or medium-high settings, never leave food unattended. Boilovers cause smoking and greasy spillovers may catch on fire.
- Be sure you turn the control knob to OFF when you finish cooking.
Single surface unit control knob (Left Rear, Right Rear)

- Push the knob in.
- Turn in either direction to the setting you want.
- At both the off and high settings, the knob clicks into position.
Dual surface unit control knob (Left Front)

- Push the knob in.
- Turn in either direction to the setting you want.
To use the large surface unit, turn the control knob to the large burner (A) setting.
To use the middle surface unit, turn the control knob to the middle burner (B) setting.
Triple surface unit control knob (Right Front)

The triple surface unit has 3 cooking sizes to select from so you can match the size of the cooking area to the size of the cookware you are using.
- Push the knob in.
- Turn in either direction to the setting you want.
To use the large surface unit, turn the control knob to the large burner (A) settings.
To use the middle surface unit, turn the control knob to the middle burner (B) settings.
To use the small surface unit, turn the control knob to the small burner (C) settings.
NOTE
If you remove the knob for cleaning, make sure to reattach it in the correct orientation. (Refer to the illustration above.)
CAUTION
- Please note, operation of lighting knob may not synchronize with the actual operation of the radiant heater when there is a problem with the product.
The area on the knob between the high and off settings is not appropriate for cooking.
Recommended settings
| SETTING TYPE OF COOKING | |
| HIGH Starting most foods, bringing water to a boil, pan broiling | |
| MEDIUM HIGH Continuing | using a rapid boil, frying, deep fat frying |
| MEDIUM Maintaining | a slow boil, thickening sauces and gravies, steaming vegetables |
| MEDIUM LOW Keeping | foods cooking, poaching, stewing |
| LOW Keeping foods | warm, melting, simmering |
Using the warming center
The warming center, located in the back center of the glass surface, will keep hot, cooked food at serving temperature.
NOTE
The surface warmer will not glow red like the cooking elements.
CAUTION
- Do not warm food on the warming center for more than two hours.
- Use only cookware and dishes recommended as safe for oven and cooktop use.
- Always use potholders or oven mitts when removing food from the warming center as cookware and plates will be hot.
- When warming pastries and breads, use covers that have an opening to allow moisture to escape.
- Do not use plastic wrap to cover foods. Plastic may melt onto the surface and be very difficult to clean off.
- Food should be kept in its container and covered with a lid or aluminum foil to maintain food quality.
Always start with hot food. Eating uncooked or cold food placed on the warming center could result in illness.
Surface cooking
- To turn the warming center on, press the Warming Center On/Off pad.
- Select the power setting you want. Press the Warming Center Level pad once for Low, twice for Medium, or three times for High.
- To turn the warming center off, press the Warming Center On/Off pad.
NOTE
- Pressing OFF does not turn the warming center off.
- For best results, all foods on the warming center should be covered with a lid or aluminum foil. When warming pastries or breads, the lid or foil should be vented to allow moisture to escape.
Recommended settings
| LEVEL TYPE OF FOOD |
| Low Bread, pastries, casseroles, gravies, eggs |
| Medium Dinner plate with foods, soups (cream), vegetables, sauces, stews, meats |
| High Fried foods, soups (liquid), hot beverages |
Using the proper cookware
Using the right cookware can prevent many problems, such as uneven cooking or extended cooking times. Using the proper pots and pans will reduce cooking times and cook food more evenly.

Check for flatness by rotating a ruler across the bottom of the cookware.
CORRECT INCORRECT

Flat bottom and straight sides.
- Tight fitting lids.
Weight of handle does not tilt pan.
Pan is well balanced.
Pan size matches the amount of food to be prepared and the size of the surface element.
Made of a material that conducts heat well.
Always match pot diameter to element surface diameter.

Curved and warped pan bottoms.

Pan overhangs element by more than one-half inch.

Pan is smaller than element.

Heavy handle tilts pan.
Choosing the proper cookware
What your cookware is made of determines how evenly and quickly heat is transferred from the surface element to the pan bottom.
ALUMINUM - Excellent heat conductor. Some types of food will cause the aluminum to darken. (Anodized aluminum cookware resists staining & pitting). If aluminum pans are slid across the ceramic cooktop, they may leave metal marks that resemble scratches. Remove these marks as soon as the cooktop cools down.
COPPER - Excellent heat conductor but discolors easily. May leave metal marks on ceramic glass (to remove, see above.)
STAINLESS STEEL - Slow heat conductor with uneven cooking results. Is durable, easy to clean, and resists staining.
CAST IRON - A poor conductor; retains heat very well. Cooks evenly once cooking temperature is reached. Not recommended for use on ceramic cooktops.
- ENAMELWARE - Heating characteristics will vary depending on the base material. Porcelain enamel coating must be smooth to avoid scratching ceramic cooktops.
- GLASS - Slow heat conductor. Not recommended for ceramic cooktop surfaces because it may scratch the surface.
Protecting the cooktop
Cleaning
Clean the cooktop before using it for the first time.
- Clean your cooktop daily or after each use. This will keep your cooktop looking good and can prevent damage.
- If a spillover occurs while you are cooking, immediately clean the spill from the cooking area while it is hot to prevent a tough cleaning chore later. Using extreme care, wipe the spill with a clean, dry towel.
- Do not allow spills to remain on the cooking area or the cooktop trim for a long period of time.
- Do not use abrasive cleansing powders or scouring pads, which will scratch the cooktop.
- Do not use chlorine bleach, ammonia, or other cleansers not specifically recommended for use on a glass-ceramic surface.
Preventing marks and scratches
- Do not use glass cookware. It may scratch the cooktop.
- Do not place a trivet or wok ring between the cooktop and the pan. These items can mark or scratch the cooktop.
Make sure the cooktop and the pan bottom are clean. - Do not slide metal pans across the cooktop.
Preventing stains
- Do not use a soiled dish cloth or sponge to clean the cooktop surface. A film will remain, which may cause stains on the cooking surface after the area is heated.
- Continuously cooking on a soiled surface can result in a permanent stain.
Preventing other damage
- Do not allow plastic, sugar, or foods with high sugar content to melt onto the hot cooktop. Should this happen, clean immediately.
- Do not let a pan boil dry as this will damage the cooktop and the pan.
- Do not use the cooktop as a work surface or cutting board.
Do not cook food directly on the cooktop. Always use the proper cookware.
Operating the oven
The oven control panel

01 START: Press to start oven operation.
02 OFF: Delete all information entered, return to the first step. Stop the oven operation.
03 Time Option: Go to set time options. (Cook time, Delay start)
04 Options: Go to set options. (Timer, Cleaning, Favorite, My mode list, Lock, Screen timeout, Set time, Time format, 12hr energy saving, Sound, Sabbath, System settings)
05 Smart Control: Set Smart Control function On/Off.
06 Light: Tap to turn oven light On/Off.
07 Dial Knob: Turn Clockwise - Move focus to next / increase value.
Turn Counterclockwise - Move focus to previous / decrease value.
Push - Select the current value.
08 Back: Go to upper depth, previous page, etc.
How to use dial knob

The dial knob can be used in the following ways:
1. Turning
- Turning the dial knob clockwise or counterclockwise will show next or previous mode when selecting the cooking mode.
- Turning the dial knob clockwise or counterclockwise will increase or decrease the value when selecting the cooking temperature or time.
2. Pushing
By pushing the dial knob, current value will be entered.
NOTE
Dial knob cannot be disassembled. Do not pull it forcibly.
Display mode
Sleep mode
The control panel enters Sleep mode if the oven is not used for a while. In Sleep mode, the control panel is inactive, displaying only the time, until it is reactivated by the user.
NOTE
You can adjust the control panel timeout. (See more information on page 43.)
Wake-Up

To activate the control panel, turn or Push the Dial Knob. User preferences are available in this mode including the timer, oven light, and/or control lock.
Turning the oven light on and off
The oven light turns on automatically when the door is opened.
The oven light turns off automatically when the door is closed.
- You can turn the oven light on and off manually by pressing the pad.
Clock
You must set the clock correctly to ensure the automatic features work properly. This product supports two time formats: 12-hour (default) and 24-hour.

To set the clock time
- Ta0 三
- Select Set time using the dial knob.
- Enter the current time using the dial knob.
- Push the dial knob to confirm the settings.

To set the Date
- Tap 三
- Select Set Date using the dial knob.
- Enter the current Date using the dial knob.
- Push the dial knob to confirm the settings.

To change the time format (12hr/24hr)
- Tap 三
- Select Time format using the dial knob.
- Turn the dial knob to select 12hr or 24hr.
- Push the dial knob to save the changes.
NOTE
You can set/change the clock or the kitchen timer before you start a cooking mode or while most cooking modes are operating. However, you cannot set or change the time if a time based function is operating (Time Bake, for example) or the Sabbath feature is enabled.
Operating the oven
Oven cooking

STEP1
Put all ingredients in a heat-safe container.

STEP2
Select a cooking mode, and then start preheating.

STEP3
Place the container on a rack.

STEP4
Close the door and start cooking.
NOTE
The cooling fan automatically runs for a certain amount of time after cooking is complete.
Cooking mode

Make sure to close the door before you start cooking.
If you leave the door open for about 2 minutes while the oven is in convection baking/roasting, baking, or broiling modes, the oven burner shuts off. To restart the burner, close the door.

- Use the Dial Knob to select a mode (Bake, Convection Bake, Convection Roast, Air Fry, Broil, etc.).
- If necessary, use the dial knob to change the default temperature. You can set the oven to any temperature.
- Push the dial knob, if necessary, you can set the Cook Time and Delay Start when the "Start" Message displays.
Tap START or push the dial knob.
The oven preheats until it reaches the temperature you set.
It beeps several times when it reaches the set temperature.
- When preheating is complete, place the food in the oven, and then close the door.
- When cooking is complete, off the oven and then take out the food.
| Mode | Temperature range (°F) | Default temperature (°F) | Temp. Probe | Set Cook Time | Delay Start |
| Bake 175-550 | 350 0 0 0 | ||||
| Broil Hi-Lo Hi | X X X | ||||
| Convection Bake | 175-550 32 | 5 0 0 0 | |||
| Convection Roast | 175-550 32 | 5 0 0 0 | |||
| Air Fry 350-5 | 00 425 X 0 0 | ||||
| Dehydrate 10 | 0-225 150 X 0 | 0 | |||
| Keep Warm | 175 X X X | ||||
| Bread Proof | - | 95 | X | X | X |

NOTE
To change the temperature during cooking, repeat steps 1 through 3 above.

NOTE
If the 12hr energy saving feature is disabled, those modes will operate until canceled. (12hr energy saving's default setting : on) See page 22 for more information.
Using the oven racks
Your oven range comes with 2 racks and 7 rack positions. The rack positions are delineated by rack guides which support the racks. Each rack guide has a stop that prevents the rack from loosening during the oven's operation. Each rack has stoppers that need to be placed correctly on the rack guides. The stoppers prevent the racks from accidentally coming out of the oven completely when you pull the racks out.

| Type of food Rack position | |
| Broiling hamburgers | 7 |
| Broiling meats or small cuts of poultry, fish | 4-6 |
| Bundt cakes, Pound cakes, Frozen pies, Casseroles | 3 or 4 |
| Angel food cakes, Small roats, Fresh and Frozen pizza | 2 |
| Turkey, Large roasts, Hams | 1 |
This table is for reference only.
CAUTION
- Do not cover an oven rack with aluminum foil. This will hamper heat circulation, resulting in poor baking.
- Do not place aluminum foil on the oven bottom. The aluminum can melt and damage the oven.
- Arrange the oven racks only when the oven is cool.
- When placing an oven rack in the top-most rack position (position 7), make sure the rack is situated stably on the embossed stop.
Operating the oven
Inserting and removing an oven rack

To insert an oven rack
- Place the rear end of the rack on a rack guide.
- Slide the rack into the rack guide while holding the front end of the rack.

To remove an oven rack
- Pull out the rack until it stops.
- Pull up the front end of the rack and remove it from the rack guide.
Rack and Pan placement

Single Oven Rack
Centering the baking pans in the oven as much as possible will produce better results. If baking with more than one pan, place the pans so each has at least 1^ to 112 of air space around it.
When baking on a single oven rack, place the oven rack in position 3 or 4.
See the figure on the left.

Cakes place the oven racks in positions 3 and 5. Cookies place the racks in positions 2 and 5.

Using Multiple Oven Racks
| Type of Baking Rack | Positions |
| Cookies 2 and 5 | |
| Cakes 3 and 5 |
Before using the racks
The oven has two racks.
Each rack has stops that need to be placed correctly on the supports. These stops will keep the rack from coming completely out.
REMOVING THE RACKS
- Pull the rack straight out until it stops.
- Lift up the front of the rack, and then pull it out.
REPLACING THE RACKS
- Place the end of the rack on the support.
- Tilt the front end up and push the rack in.


CAUTION
- Do not cover a rack with aluminum foil or place aluminum foil on the oven bottom. This will hamper heat circulation, resulting in poor baking, and may damage the oven bottom.
- Arrange the oven racks only when the oven is cool.
Recipe guide

CAUTION
Always use this cooking mode with the oven door closed.
Use care when opening the door. Let hot air or steam escape before you remove food from or put food into the oven.
Baking
Bake is used to cook cakes, cookies, and casseroles. Always preheat the oven first. Baking temperatures and times will vary depending on the ingredients and the size and shape of the baking pan used. Dark or nonstick coatings may cook faster with more browning.

NOTE
- Place food in the oven after preheating if the recipe calls for it.
- Preheating is very important for good results when baking cakes, cookies, pastry, and breads. After the oven has reached the desired temperature, the oven will beep several times.
- If you are using an oven thermometer in the oven cavity, the temperature registered by the thermometer may differ from the actual set oven temperature.
- For performance reasons, the convection fan may be turned on or off during the operation.
Operating the oven
Convection cooking
The convection fan at the back of the oven circulates hot air evenly throughout the oven cavities so that food is evenly cooked and browned in less time than with regular heat.

CAUTION
The convection oven fan shuts off when the oven door is opened.
DO NOT leave the door open for long periods of time while using convection cooking or you may shorten the life of the convection heating element.
NOTE
- When using convection cooking, always preheat the oven for the best results.
If you leave the oven door open for more than 2 minutes when the oven is on, all heating elements will shut off automatically. - When you have finished cooking, the cooling fan will continue to run until the oven has cooled down.
- For performance reasons, the convection fan may be turned on or off during the operation.
| Convection baking | ·Ideal for foods being cooked using multiple racks. ·Good for large quantities of food. ·Provides the best performance for cookies, biscuits, brownies, cupcakes, cream puffs, sweet rolls, angel food cake, and bread. |
| Convection baking | ·Cookies bake best when cooked on flat cookie sheets. ·When convection baking using a single rack, place the rack in rack position 3 or 4. (In Twin mode, position A or 1.) ·When convection baking using two racks, place the racks in positions 3 and 5 (Cakes, Cookies). ·The oven automatically adjusts the temperature for convection baking. |
| Convection roasting | ·Good for larger, tender cuts of meat, uncovered. ·For best performance, place a broiler pan and grid under the meat or poultry. The pan catches grease spills and the grid prevents grease spatters. ·Heated air circulates over, under, and around the food. Meat and poultry are browned on all sides as if they were cooked on a rotisserie. |
Broiling
Broiling uses the oven broil burner at the top of the oven to cook and brown food. Meat or fish must be put on a broiling grid in a broiling pan. Preheating for 4 minutes before broiling is recommended.
NOTE
This oven is designed for closed door broiling. While broiling, keep the door closed. Only open the door to put food in, turn food over, or take food out.
Use the Broil Rack for the best results.
- Use the Broil LO for poultry or thick cuts of meat to prevent overbroiling.
- Use caution when you open the oven door to turn over the food. The air escaping from the oven will be very hot.
- If you leave the oven door open for more than 2 minutes when the oven is on, all heating elements will shut off automatically.
- When you have finished cooking, the cooling fan will continue to run until the oven has cooled down.
Broiling guide

NOTE
This is for reference only.
- Preheating for 4 minutes before broiling is recommended.
The size, weight, thickness, starting temperature, and your doneness preference will affect broiling times.
This guide is based on meats at refrigerator temperature.
| Food Doneness Size | Thickness | Broll setting | Rack position | Cooking time | |||
| 1st side | 2nd side | ||||||
| Hamburgers | Medium 9 | patties 1" H | 7 3:20-3:40 | 2 20-2 | 40 | ||
| Beef steak | Medium - | 1" HI 5 7:00 | 8:00 6:00- | 7:00 | |||
| Medium - | 4" HI 5 6:00 | 7:00 5:00- | 6:00 | ||||
| Chicken pieces | Well done | 2-2½ lbs. | 3" "1" | H | 4 | 15:00-16:00 | 13:00-14:00 |
| Pork chops | Well done | 1 lb. | 3" | LO | 5 | 15:00-16:00 | 13:00-14:00 |
| Lamb chops | Well done | 1 lb. | 3" "1" | H | 5 | 5:00-6:00 | 4:00-5:00 |
| Salmon steak | Well done | 3 pcs. | 3" "1" | H | 5 | 4:00-7:00 | 3:00-6:00 |

CAUTION
Make sure to close the door after turning over the food.
Air fry
This feature uses hot air for crispier and healthier frozen or fresh foods without or less oil than normal convection modes. For best results, use this mode on a single oven rack and place the Air fry tray on the position 3. The temperature can be set between 350^ and 500^ . Preheating is not necessary for this mode. Follow recipe or package directions for set temperature, time or quantity.
How to set the oven for Air fry mode
- Place the tray on rack position 3.
- Select Air fry mode using the dial knob.
- Use the dial knob to change the default temperature. Enter the suggested temperature for your food as recommended cooking guide. The default temperature is 425^ .
- Push the dial knob and set the Cook Time or Delay Start, if necessary.
- Tap START or push the dial knob.
- When cooking is complete, tap OFF and take out the food.

NOTE
- Place a baking sheet or tray on the rack below the Air fry tray for getting any dippings. This will help to reduce splatter and smoke.
Before using a baking sheet, check the maximum allowable temperature of baking sheet.
Air fry is designed for a single oven rack. Place food on rack position 3 for best results.
For cooking fresh or homemade foods, spread the oil over a larger area more evenly, crisping up the food more effectively.
Operating the oven
Air fry cooking guide
| Item Amount Temperature Time | |||
| Potatoes | |||
| Frozen French Fries 30-35 | oz 425℉-450℉ | 25-30 min | |
| Frozen French Fries, Seasoned | 25-30 oz 425 | ℉-450℉ 20-25 min | |
| Frozen Tater Tots 40-45 oz | 450℉ 20-25 min | ||
| Frozen Hash Brown 25-30 | oz 425℉-450℉ | 20-25 min | |
| Frozen Potato Wedges 30 | 35 oz 425℉-450 | F 20-25 min | |
| Homemade French Fries 25-30 oz | 400℉-425 | ℉ 25-30 min | |
| Homemade Potato Wedges | 40-45 oz 425 | ℉-450℉ 25-30 min | |
| Frozen | |||
| Frozen Chicken Nuggets 24-28 oz | 400℉-425 | ℉ 15-25 min | |
| Frozen Chicken Wings | 30-35 oz 425 | ℉-450℉ 20-30 min | |
| Frozen Onion Rings | 20-25 oz 400 | ℉-425℉ 15-20 min | |
| Frozen Fish Fingers 20-25 | oz 425℉ 18-22 min | ||
| Frozen Chicken Strips 25-30 | oz 425℉-450 | F 20-30 min | |
| Frozen Churros | 20-25 oz 425 | ℉ 18-22 min | |
| Item Amount Temperature | |||
| Poultry | |||
| Fresh Drumsticks 40-45 oz | 425 °F-450 °F 30 | 35 min | |
| Fresh Chicken Wings | 30-35 oz 425 | °F-450 °F 27-32 min | |
| Chicken Breasts, Breaded | 25-30 oz 450 | °F 25-30 min | |
| Vegetables | |||
| Asparagus, Breaded | 15-20 oz 425 | °F 20-25 min | |
| Egg Plants, Breaded | 20-25 oz 425 | °F 20-25 min | |
| Mushroom, Breaded | 18-22 oz 425 | °F 20-25 min | |
| Onions, Breaded | 18-22 oz 425 | °F 20-25 min | |
| Cauliflower, Breaded | 40-45 oz 400 | °F-425 °F 20-25 min | |
| Vegetable Mix, Breaded | 30-35 oz 425 | °F 20-25 min | |
Dehydrate
Dehydrate dries food or removes moisture from food via heat circulation. After drying the food, keep it in a cool and dry place. For fruit, adding lemon (or pineapple) juice or sprinkling sugar on the fruit helps the fruit retain sweetness.

NOTE
There is no preheating before dehydrating.
- Place the rack in rack position 3 or 4.
Bread Proof
The Bread Proof function automatically provides the optimum temperature for the bread proof process and, therefore does not have a temperature adjustment. If you press Bread Proof when the oven temperature is above 95^ , Hot will appear in the display. Because these functions produce the best results when started while the oven is cool, we recommend that you wait until the oven has cooled down and Hot disappears from the display.

NOTE
There is no preheating before bread proof.
- Place the rack in rack position 3.
Keep Warm
Keeps cooked food warm at a low temperature up to 3 hours.

NOTE
- Place the rack in rack position 3 or 4.
- If turn off the 12hr energy saving feature, this modes will operate until canceled. (12hr energy saving's default setting : on) See page 43 for more information.

CAUTION
You should not use this feature to reheat cold food.
Temperature probe
The temperature probe lets you cook roasts and poultry to the exact internal temperature you want, taking the guess work out of determining whether a piece of meat is done or not.
You can use the temperature probe with the oven set to Bake, Convection Bake, or Convection Roast. When you use the temperature probe, the internal temperature is shown on the display when it reaches 100^ .

- Push the temperature probe into the meat so that the tip of the probe reaches the center of the meat.
- When you insert the temperature probe, make sure it does not contact bone, fat, or gristle.
For bone-in meats, insert the probe into the center of the lowest and thickest portion of the piece.
For whole poultry (turkey, large chickens, etc.), insert the probe into the thickest part of the inner thigh, parallel to the leg. - If you remove the temperature probe while cooking is in process, the oven shuts off in 60 seconds.
The temperature probe may not function properly if inserted into frozen food. (The temperature probe icon doesn't appear.)
Operating the oven

- Insert the temperature probe plug into the socket on the top side wall of the oven.
- Select the cooking operation (Convection Bake, Convection Roast, or Bake) and the temperature.
- Set the internal temperature between 100°F to 200°F using the dial knob.

- Set an option (Cooking Time, Delay Start, or Keep Warm) if necessary.
- Tap START. When the food reaches the set internal temperature, the oven automatically shuts off, and then beeps.
NOTE
Temperature probe operation will shut off either :
- When cooking time is over.
- When the temperature reaches the temperature you set.
Temperature table
| Type of Food Internal temperature (°F) | ||
| Beef / Lamb | Rare 140-150 | |
| Medium 160-170 | ||
| Well done 170-180 | ||
| Pork 170-180 | ||
| Poultry 165-185 | ||
CAUTION
To protect the temperature probe, be careful not to insert the probe so that it comes out of the meat. Make sure that the probe is inserted around the center of the meat.
- Do not store the probe in the oven.
- Do not leave the probe inside the oven during the Self-Cleaning or Broiling cycle. This will cause permanent damage to the probe.
- To avoid damage to the probe, defrost food in advance.
- Do not use tongs when inserting or removing the probe. Tongs can damage the probe.
- Use the temperature probe only for the applicable cooking operations.
NOTE
If you have covered the meat with aluminum foil and you let it stand covered for 10 minutes after cooking is complete, the internal temperature increases by 5 - 10^ degrees.
Cooking options
CAUTION
Food that can easily spoil, such as milk, eggs, fish, poultry, and meat, should be chilled in a refrigerator before they are placed in the oven. Even when chilled, they should not stand for more than 1 hour before cooking begins and should be removed promptly when cooking is completed.
Cook Time
Timed cooking sets the oven to cook foods at a set temperature for a set length of time. The oven automatically turns off when it finishes.
Mode: Bake / Convection Bake / Convection Roast / Air Fry / Dehydrate
- Start a desired cooking mode, such as Bake
- If necessary, change the temperature using the dial knob.
- When "Start" displays, select Set Cook Time using the dial knob.
- Set the cooking time between 1 minute and 9 hours and 59 minutes (9:59) using the dial knob.
- Use the dial knob to select one of the following options you want to run at the end of cooking.
Oven Off: The oven turns off at the end of cooking. (Default setting)
- Keep temp: Keep running the oven at the current cooking temperature at the end of cooking.
-
Keep warm: Activate Keep warm function at the end of cooking.
-
Tap "Start". The oven will automatically turn on and start preheating. The temperature will increase until it reaches the temperature you set. The oven starts cooking for the amount of time you set.
- When preheating is complete, put the container with the food on a rack, and then close the door.
- When the cooking time has elapsed, the oven will automatically shut off and then beep.
NOTE
To change the programmed cooking time, press the or use the dial knob.
Delay Start
The Delay Start function lets you use the kitchen timer to automatically start and stop another cooking program. You can set Delay Start so that it delays the automatic start of a cooking operation you select by up to 12 hours.
Mode: Bake / Convection Bake / Convection Roast / Air Fry / Dehydrate / Self-clean
- Place the container with the food on a rack, and then close the door.
- Start a desired cooking mode, such as Bake
- If necessary, change the temperature using the dial knob.
- When "Start" displays, select Set Delay Start using the dial knob.
- Set the starting time using the dial knob.
- When "Delay Start" displays, press START or push the dial knob to start.
- The oven starts cooking at the set time.
NOTE
To change the starting time, press the 口 or use the dial knob.
Operating the oven
Special features
The Sabbath feature

(For use on the Jewish Sabbath and Holidays)
Use this option only for baking on the Jewish Sabbath and Holidays. For more information, visit the website at http://www.star-k.org
With the Sabbath feature
- The oven temperature can be set higher or lower after you have set this option.
- The display doesn't change and no beep sounds when you change the temperature.
- Once the oven is properly set for baking with the Sabbath feature active, the oven will remain continuously on until the Sabbath feature is cancelled. This will override the factory preset 12 hour energy saving feature.
- If the oven light is needed during the Sabbath, press the pōd before activating the Sabbath feature. Once the oven light is turned on and the Sabbath feature is active, the oven light will remain on until the Sabbath feature is turned off.
- If you want the oven light off, be sure to turn it off before activating the Sabbath feature.
- Do not use the surface cooktop when the Sabbath feature is on.
To enable the Sabbath feature

- Start a Bake Mode.
- Tap and select the Sabbath feature.
- Turn the dial knob to select On/Off.
- Push the dial knob to save the changes.

NOTE
- You can change the oven temperature once baking starts, but the display will not change or beep. After changing the temperature, it takes 15 seconds before the oven recognizes the change.
You can turn off the oven at any time by tapping OFF. However, this doesn't deactivate the Sabbath feature.
To deactivate the Sabbath feature, hold down for 3 seconds. - You can set the cooking time before activating the Sabbath feature.
After a power failure, the oven will not resume operation automatically. "Sabbath" will appear in the control panel, but the oven will not go back on. Food can be safely removed from the oven, but you should not turn off the Sabbath feature and turn the oven back on until after the Sabbath/Holidays.
After the Sabbath observance, turn off the Sabbath feature by pressing and holding for at least 3 seconds.
CAUTION
- Do not attempt to activate any other functions except for Bake when the Sabbath feature is on. Only the following functions will function properly: Bake, Oven Start/Set, and Oven Off.
- Do not open the oven door or change the oven temperature for about 30 minutes after you have started the Sabbath feature. Let the oven reach the set temperature. The oven fan operates only when the oven temperature increases.
More functions
Tap the button on the control panel, and then turn the dial knob to change various settings for your oven. Please refer to the following table for detailed descriptions.
The Options menu is available only when the oven is off.

| Setting Description | |
| Timer Set the timer. | |
| Cleaning Burn off leftover grease and residue completely or reduce them. ■NOTE See page 48. | |
| Favorite Save the cooking mode and value frequently used. | |
| My Mode List Edit cooking mode list. | |
| Lock Lock the control panel and the door. | |
| Auto Conversion Automatically lower the temperature by 25 °F (15 °C) when using Convection Bake. | |
| Setting Description | |
| Screen Timeout Adjust the display timeout. | |
| Set time Set the clock to | display the current time. |
| NOTE See page 29. | |
| Set Date Set the clock to | display the current date. |
| NOTE See page 29. | |
| Time format Set the clock | to display the time in the 12-hour or 24-hour format. |
| NOTE See page 29. | |
| 12hr energy saving | automatically turns off the oven 12 hours after baking starts or 3 hours after broiling starts. |
| Sound Turn the oven's sound (beeps) on or off. | |
| Sabbath | Setting Sabbath mode. ON/Off. |
| NOTE See page 40. | |
Operating the oven
Timer
The timer gives you an extra timer you can use to time cooking tasks, such as boiling eggs. It does not, however, start or stop any cooking operation. You can set the timer from 1 minute to 9 hours and 59 minutes.
- Tap To select Timer using the dial knob.
- Enter a desired time using the dial knob.
- When done, push the dial knob.
- To cancel the Timer settings, push or turn the dial knob. To select cancel using the dial knob.
- When the set time elapses, the oven beeps and displays the "Time is up." message. Count up timer starts after finishing Timer, it lasts for only 10 mins. Push the dial knob, count up timer will be disappeared.
Favorite
You can add up to 10 frequently used cook settings to the Favorites list to easily apply them in the future.
Adding the new cook settings to the Favorites
- Tap and select Favorite using the dial knob.
- Set the cook setting (Mode, Temperature, Cook Time, Probe Temp).
- If necessary, select option (Cook Time and Probe Temp).
NOTE
Alternatively, you can simply tap Add to Favorite that appears when the oven completes cooking.
Editing the favorite cook settings
- Tap and select Favorite using the dial knob.
- Select Edit.
- Change the cook settings. Items appear on the list may change upon what you select. (Cook mode, temperature, Cook Time, etc.)
Deleting the favorite cook settings
- Tap and select Favorite using the dial knob.
- Select Delete.
- Select the favorite cook setting you want to delete.
Using the favorite cook settings
- To select Favorite Mode using the dial knob.
- Select the favorite cook setting you want to start.
- Tap START.
My Mode List
You can edit the mode lists.
- Tap and select My Mode List using the dial knob.
- Turn the dial knob to select or unselect modes.
- Select Save to save the changes.
Lock
Lock the control panel and the door to prevent accidental operations or product tipping.
Tap and select Lock using the dial knob to lock both the control panel and the door. When the Oven Lock is on, the oven panel does not operate and the oven door is locked and cannot be opened. Tap and hold for 3 sec to unlock the oven.
Auto Conversion
Auto Conversion automatically converts regular baking temperatures to convection baking temperatures. For example, if you enter a regular recipe temperature of 350^ and tap START, the oven displays the converted temperature of 325^ .
- Tap and select Auto Conversion using the dial knob.
- Turn the dial knob to select On/Off. (Default setting is "Off")
- Push the dial knob to save the changes.
Screen Timeout
You can set the length of time before the screen saver turns on.
- Tap and select Screen Timeout using the dial knob.
- Turn the dial knob to select setting time.
- Push the dial knob to save the changes.
NOTE
Energy consumption may increase depending on your setting.
When the timeout setting is set to "Always on", the brightness of the LCD
automatically changes to level 2 if there is no action for 3 minutes.
12hr energy saving
This will automatically turn off the oven 12 hours after baking starts or 3 hours after broiling starts.
- Tap, and select 12hr energy saving using the dial knob.
- Turn the dial knob to select On/Off.
- Push the dial knob to save the changes.
Sound
Turn sound (beeps) On/Off.
- Tap, and select Sound using the dial knob.
- Turn the dial knob to select On/Off.
- Push the dial knob to save the changes.
System Settings
Tap and hold for 3 sec, on the control panel, and then Turn the dial knob to change various settings for your oven.
Please refer to the following table for detailed descriptions.
| System Setting Description | |
| Wi-Fi Set the WI-Fi mode | to On/Off. |
| NOTE | |
| See page 46. | |
| Language Select a preferred language from English, French, or Spanish. | |
| Temp. Unit Set the oven | control to display temperatures in Fahrenheit or Centigrade. |
| Calibrate Temp Recalibrate the oven temperature. | |
| My Pattern This function | remembers and stores the cook settings. |
| Welcome Lighting Set the Welcome Lighting mode to On/Off. | |
| Demo mode Used by retailers for display purposes only. | |
| Reset Reset the your setting. (More Functions, System settings) | |
Language
Select a preferred language from English, French, or Spanish. You can not change the language during cooking.
- Tap and hold 3 sec.
- Select the Language using the dial knob.
- Turn the dial knob to select the Language and push to save the changes.
Operating the oven
Temp. Unit (^ / ^)
Change the temperature format of the oven to Fahrenheit or Centigrade. The default is Fahrenheit.
- Tap and hold for 3 sec.
- Select Temp. Unit using the dial knob.
- Turn the dial knob to select unit and push to save the changes.
Calibrate Temp
The oven temperature has been calibrated at the factory. When first using the oven, follow the recommended recipe times and temperatures. If it appears that the oven is too hot or too cool, you can recalibrate the oven temperature. Before recalibrating, test a recipe by using a temperature setting that is higher or lower than recommended. The baking results should help you decide how much of an adjustment is needed. The oven temperature can be adjusted by ± 35^ (± 19^) . 1. Tan and hold 3 sec
- Select Calibrate Temp using the dial knob.
- Turn the dial knob to adjust temperature value.
- Push the dial knob to save the changes.
NOTE
This adjustment does not affect the broiling or the self-cleaning temperature, and is retained in memory after a power failure.
My Pattern
This function remembers and stores the cook settings frequently used by the user.
- Tap and hold for 3 sec.
- Select My Pattern using the dial knob.
- Turn the dial knob to select On/Off and push to save the changes.
Welcome Lighting
When you wake up the oven (such as using the dial knob, using the touch pad, open the door), the knob lights blink each to welcome you. Set the Welcome Lighting mode to On/Off. The default is on.
- Tap and hold for 3 sec.
- Select Welcome Lighting using the dial knob.
- Turn the dial knob to select On/Off and push to save the changes.
NOTE
Welcome light only comes on when waking up from completely blank display in sleep mode.
Demo mode
This is used by retailers for display purposes only. In this mode, the heating element does not operate.
- Tap and hold for 3 sec.
- Select Demo mode using the dial knob.
- Turn the dial knob to select On/Off and push to save the changes.
Reset
You can reset your oven setting(More functions, System settings).
- Tap and hold for 3 sec.
- Select Reset using the dial knob.
- Turn the dial knob to select Cancel/Reset.
CAUTION
Before reset the oven settings, turn off all oven and cooktop functions.
Smart control
How to connect the oven
- Download and open the SmartThings app on your smart device.
- Follow the app's on-screen instructions to connect your range.
- Once the process is complete, the connected on located on your range displays and the app will confirm you are connected.
- If the connection icon does not turn on, follow the instruction on the app to reconnect.

To control the oven remotely
- Press Smart Control appears in the display. The oven can now be controlled remotely with a connected remote device.
- Select the oven icon on the SmartThings app to open the Oven Control app. When the app is connected to the oven, you can perform the following functions through the application:
| Oven remote control using the SmartThings app | |
| Oven/ Cooktop Monitoring | ·Check the status of the oven ·Monitor the on/off status of each cooktop burner. |
| Oven Remote Control • Set or adjust oven settings remotely. | |
| My Cooking | ·Turn the oven off remotely. ·Once cooking starts, change the set cooking time and temperature remotely. |
| Error Check • Automatically recognize errors. | |
| Temp. Probe | ·Monitor the current temperature and reset the probe setting. |
| ·If ∅ is not shown in the display, you are still able to monitor the oven and cooktop status and turn the oven off. | |
Operating the oven
Wi-Fi On/Off
If you set the WI-Fi mode to Off, mobile devices cannot connect to the range.
- Tap and hold for 3 sec.
- Select Wi-Fi mode using the dial knob.
- Turn the dial knob to select On/Off and push to save the changes.
NOTE
- Pressing Smart Control will delete from the display and prevent most of the remote functions from operating.
- When oven cooking is finished or cancelled, it is removed from the display.
- For safety reasons, you must specify the cooking time to enable remote control.
The oven continues operating even if the Wi-Fi connection is lost.
Smart Control will not work properly if the Wi-Fi Connection is unstable.
See the SmartThings app manual for detailed information.
Voice control
To use the Range's Voice Control function, you need Bixby / Amazon Alexa App / Google Assistant App on your mobile device.
Refer to the table below for all available functions.
Bixby
Start conversation with Bixby on SAMSUNG mobile by saying "Hi Bixby" or by pressing the side key.
| Function "Hi Bixby" | |
| Start/Preheat | • Preheat the range(oven). • Start the range(oven) in convection bake mode[Mode] at 325 degrees[Temp] for 1 hour[Time]. • Convection bake[Mode] in the range[Device Name] at 325 degrees[Temp]. |
| Turn Off/Stop | • Cancel the range(oven). • Turn off the range(oven). • Stop baking in the range(oven). |
| Check Temp | • What is the temperature of the range(oven)? • Check the range(oven) temperature. |
| Check Time | • Check the remaining time of the range(oven). • How much range(oven) time is left on the timer? • How much time is left on the range timer? |
| Check Mode (States) | • Check the range status. • Check the status of the range(oven). |
| Temp Control | • Set the temperature of the range(oven) to 300. • Increase the temp of the range(oven) by 20. • Decrease the temp of the range(oven) by 20. • Turn the range(oven) temperature up to 100 degrees. • Turn the range(oven) temperature down to 50 degrees. |
| Oven Light | • Turn on the oven light (lamp). • Turn on the range oven light. • Turn off the oven light (lamp). • Turn off the range oven light. |
| Oven Timer (Cook Time) | • Set the timer on the range(oven) to 1 hour. |
Amazon Alexa & Google Assistant
Samsung smart home appliances are supported by SmartThings skill in Alexa & action in Google Assistant.
Installation Guide
Here's how to link SmartThings account into Amazon Alexa or Google Assistant. SmartThings App and Alexa App(or Google Assistant App) Should be installed on your phone.
- Setup the supported devices to SmartThings.
- After device setup, tap + button on the screen.
- Tap 'Voice assistant' and link your Samsung account to Amazon Alexa (or Google Assistant)
- Check the devices are visible on Amazon Alexa app. Then account linking is complete. (Check the devices are visible and set the location(home&room) of devices in Google home app. Then account linking is complete.)
| Function "Alexa" | "Ok Google" | |
| Start/Preheat | • Preheat the oven[Device name]. • Start the oven[Device name]. • Turn on the oven[Device name]. • Set the oven[Device name] to bake [Mode]. • Set the oven[Device name] to bake [Mode] for 1hour [Time] at 350 degrees[Temp]. • Set the oven[Device name] to bake [Mode] at 350 degrees[Temp]. • Set the oven[Device name] to bake [Mode] for 1hour [Time]. | • Preheat the oven[Device name]. • Start the oven[Device name]. • Turn on the oven[Device name]. • Set the oven[Device name] to bake [Mode]. |
| Turn Off/Stop | • Turn off the oven[Device name]. • Stop the oven[Device name]. | • Turn off the oven[Device name]. • Stop the oven[Device name]. |
| Function "Alexa" | "Ok Google" | |
| Check Temp | ·What is the temperature of the oven[Device name]? | ·What is the temperature of the oven[Device name]? |
| Check Time | - | ·What time is left on the oven[Device name]? |
| Check Mode (States) | ·Is the oven[Device name] running? ·Is the oven[Device name] on? | ·Is the oven[Device name] running? ·What mode is the oven[Device name] set to? |
| Temp Control | ·Set oven[Device name] to 300 degrees [Temp]. | ·Set oven[Device name] to 300 degrees [Temp]. |
| Oven Timer (Cook Timc) | ·Set oven[Device name] to 3 hours[Time]. ·Add 10 minutes/hours[Time] to the oven[Device name]. | ·Set oven[Device name] to 3 hours[Time]. ·Add 10 minutes/hours[Time] to the oven[Device name]. |

NOTE
On/Off spec of smart control is same as guided in SmartThings app.
Maintaining your appliance
Self-cleaning
This self-cleaning oven uses high temperatures (well above cooking temperatures) to burn off leftover grease and residue completely or reduce them to a finely powdered ash that you can wipe away with a damp cloth.
CAUTION
During the self-cleaning cycle, the outside of the range will become very hot to the touch. Do not leave small children unattended near the appliance.
- Some birds are extremely sensitive to the fumes given off during the self-cleaning cycle of any range. Move birds to another well-ventilated room.
- Do not line the oven walls, racks, bottom, or any other part of the range with aluminum foil. Doing so will result in poor heat distribution, poor baking results, and cause permanent damage to the oven interior. Aluminum foil will melt and adhere to the interior surface of the oven.
- Do not force the oven door open. This can damage the automatic door locking system. Use care when opening the oven door after the self-cleaning cycle is complete. Stand to the side of the oven when opening the door to allow hot air or steam to escape. The oven may still be VERY HOT.
- Wear the glove during cleaning.
Before a self-cleaning cycle

Fig.1

Fig. 2
We recommend venting your kitchen with an open window or using a ventilation fan or hood during the selfcleaning cycle.
- Remove the wire rack, broil pan, broil pan insert, all cookware, and any aluminum foil from the oven.
- Wipe up debris from the oven bottom. (Fig. 1)
- Residue on the front frame of the range
- Don't hand outside the gasket on the door
- On the will need to be cleaned by hand. Clean
- These areas with hot water, soap-filled
- steel-wool pads, or cleansers, such as
- Soft Scrub. Rinse well with clean water
You may and dry.
hand clean clean the gasket. The fiberglass the door. material of the oven door gasket cannot withstand abrasion. It is essential for the gasket to remain intact. If you notice it becoming worn or frayed, have it replaced. (Fig. 2)
Make sure the oven light bulb cover is in place and the oven light is off.

NOTE
Remove oven racks and accessories before starting the self-clean mode.
How to run a self-cleaning cycle
-
Make sure the oven door is closed completely and unlocked. And turn off all oven and cooktop function.
-
Tap and select Cleaning > Self Clean using the dial knob. Then, select the cleaning time. (2 hour / 3 hour / 5 hour)
3. Tap START/SET
The oven door is locked automatically and the oven begins to heat up.
NOTE
- You will not be able to start a self-cleaning cycle if the oven lock feature is activated or if the oven's temperature is too hot.
-
The oven door locks automatically. The display will show the cleaning time remaining. It is not be possible to open the oven door until the temperature drops to a safe/cool temperature.
The self-cleaning feature will not operate when the warming center is on. -
When the self-cleaning cycle is done, End will appear in the display and the range will beep several times.
How to delay the start of self-cleaning
- Repeat steps 1 and 2 on 'How to run a self-cleaning cycle'.
- Select Set Delay Start
- Set the time you want the oven to start self-cleaning using the dial knob.
- Tap START/SET.
The oven will start self-cleaning at your specified time.
How to turn off the self-cleaning feature
You may find it necessary to stop or interrupt a self-cleaning cycle due to smoke in the oven.
- Press OFF.
- You will be able to open the oven door once the oven has cooled down for approximately 1 hour.
After a self-cleaning cycle
- You may notice some white ash in the oven. Wipe it up with a damp cloth after the oven cools. (If white spots remain, remove them with a soap-filled steel wool pad and rinse thoroughly with a vinegar and water mixture.)
- If the oven is not clean after one cycle, repeat the cycle.
- You cannot set the oven for cooking until the oven is cool enough for the door to unlock.
Steam-cleaning
How to set the oven for steam-cleaning
For light cleaning, the steam-cleaning function saves time and energy. For heavier-duty cleaning, use the self-cleaning function.


- Remove all accessories from the oven.
-
Pour approximately 10 oz. (300 ml) of water onto the bottom of the empty oven and then close the oven door. Use normal water only, not distilled water.
-
Tap, and select Cleaning > Steam Clean using the dial knob.
4. Tap START/SET
The oven door is locked automatically and the oven begins to heat up. When the operation is complete, the display will blink and a beep will sound.
5. Press OFF.
- Clean the oven's interior. There will be a significant amount of water remaining on the bottom of the oven after a steam-cleaning cycle. Remove the residual water with a sponge or soft dry cloth.
Maintaining your appliance
NOTE
When steam cleaning, use exactly 10 oz. of water since this produces the best results.
NOTE
If you press Steam Clean when the oven temperature is above 100^ , Hot will appear in the display. Because this function produces the best results when started while the oven is cool, we recommend that you wait until the oven has cooled down and Hot disappears from the display.
CAUTION
Wear the glove during cleaning.
After a steam-cleaning cycle
Take care when opening the door before a steam-cleaning procedure has ended. The water on the bottom is hot.
- Open the oven door and remove the remaining water with a sponge. Do not leave the residual water in the oven for any length of time. Wipe the oven clean and dry with a soft cloth. Do not forget to wipe under the oven door seal.
- Use a detergent-soaked sponge, a soft brush, or a nylon scrubber to wipe the oven interior. Remove stubborn residue with a nylon scourer. You can remove lime deposits with a cloth soaked in vinegar.
- If the oven remains dirty, you can repeat the procedure once the oven has cooled.
- For heavy residue, such as grease left over from roasting, we recommend that you rub detergent into the residue before activating the steam-cleaning function.
- After cleaning, leave the oven door ajar at a 15^ angle to allow the interior enamel surface to dry thoroughly.
Care and cleaning of the oven
WARNING
- Be sure all controls are OFF and all surfaces are COOL before cleaning any part of the range.

If your range is moved for cleaning, servicing, or any reason, be sure the Anti-Tip device is re-engaged properly when the range is replaced. If you fail to reengage the Anti-Tip device, the range could tip and cause serious injury.
Vent

The cooling vents are located at the back of the oven range.
This area could become hot during oven use.
It is normal for steam to come out of the vent.
The vent is important for proper air circulation. Never block this vent.
Cleaning painted parts and decorative trim
For general cleaning, use a cloth with hot, soapy water.
- For more difficult residue and built-up grease, apply a liquid detergent directly onto the area and leave for 30 to 60 minutes. Wipe with a damp cloth and dry. Do not use abrasive cleaners on any of these surfaces. They can scratch.
Cleaning stainless steel surfaces
- Shake the bottle of Stainless Steel Appliance Cleaner or Polish well.
- Place a small amount of stainless steel appliance cleaner or polish on a damp cloth or damp paper towel.
- Clean a small area, rubbing with the grain of the stainless steel if applicable.
- Dry and buff with a clean, dry paper towel or soft cloth.
- Repeat as necessary.
NOTE
- Do not use a steel-wool pad. It will scratch the surface.
- If a mineral oil-based stainless steel appliance cleaner has been used before to clean the appliance, wash the surface with dishwashing liquid and water prior to using the Stainless Steel Appliance Cleaner or Polish.
Oven racks
If the racks are left in the oven during a self-cleaning cycle, their color will turn slightly blue and the finish will be dull. After the self-cleaning cycle is complete and the oven has cooled, rub the sides of the racks with wax paper or a cloth containing a small amount of oil. This will help the racks glide more easily on their tracks.
Gliding racks may be cleaned by hand with an abrasive cleaner or steel wool. During cleaning, be careful not to allow water or cleaner to enter the slides on the sides of rack.
NOTE
Do not clean in a dishwasher.
- If the rack becomes hard to remove or replace, lightly wipe the oven rack guides with cooking oil. Do not wipe cooking oil on the slides.
- If the rack becomes difficult to slide, the rack may need to be lubricated using a graphite lubricant.
Air fry tray
To keep the Air fry tray clean, remove them from the cavity, and soak them in Lukewarm soapy water. Then, scour soil off of the Air fry tray using a plastic scouring pad.

NOTE
The air fry tray is dishwasher-safe.
CAUTION
Do not leave the air fry tray in the oven during the self-cleaning cycle. The extreme heat generated in this cycle can permanently peel off the air fry coating, their color will turn slightly blue and finish will be dull.

NOTE
To order graphite lubricant., call Samsung customer care at 1-800-SAMSUNG (726-7864) or visit our homepage (www.samsung.com/us/support, www. samsung.com/ca/support, or www.samsung.com/ca_fr/support) and reference part number DG81-01629A.
- If you want to buy directly, connect to http://www.samsungparts.com/Default.aspx.
Maintaining your appliance
Oven door

Use soap and water to thoroughly clean the top, sides, and front of the oven door. Rinse well. You may use a glass cleaner on the outside of the oven door. DO NOT immerse the door in water. DO NOT spray or allow water or the glass cleaner to enter the door vents. DO NOT use oven cleaner cleaning powders, or any harsh abrasive cleaning materials on the outside of the oven door.
DO NOT clean the oven door gasket. The oven door gasket is made of a woven material which is essential for a good seal. Care should be taken not to rub, damage, or remove this gasket.
Care and cleaning of the glass cooktop
Normal daily use cleaning
Use only a ceramic cooktop cleaner. Other creams may not be as effective. By following these steps, you can maintain and protect the surface of your glass cooktop.
- Before using the cooktop for the first time, clean it with a ceramic cooktop cleaner. This helps protect the top and makes cleanup easier.
- Daily use of a ceramic cooktop cleaner will help keep the cooktop looking new.
- Shake the cleaning cream well. Apply a few drops of cleaner directly to the cooktop.
- Use a paper towel or a cleaning pad for ceramic cooktops to clean the entire cooktop surface.
- Use a dry cloth or paper towel to remove all cleaning residue. No need to rinse.
WARNING
DAMAGE to your glass surface may occur if you use scrub pads other than those recommended.
Removing burned-on residue

- Allow the cooktop to cool.
- Spread a few drops of ceramic cooktop cleaner on the entire burned residue area.
- Using a cleaning pad for ceramic cooktops, rub the residue area, applying pressure as needed.
- If any residue remains, repeat the steps listed above as needed.
- For additional protection, after all residue has been removed, polish the entire surface by applying ceramic cooklop cleaner with a paper towel.
Removing heavy, burned-on residue

- Allow the cooktop to cool.
- Use a single-edge razor-blade scraper at approximately a 45^ angle against the glass surface and scrape the soil. It will be necessary to apply pressure to remove the residue.
- After scraping with the razor scraper, spread a few drops of ceramic cooktop cleaner on the entire burned residue area. Use a cleaning pad to remove any remaining residue. (Do not scrape the seal.)
- For additional protection, after all residue has been removed, polish the entire surface by applying ceramic cooktop cleaner with a paper towel.
Removing metal marks and scratches
- Be careful not to slide pots and pans across your cooktop. It will leave marks on the cooktop surface. You can remove these marks by applying ceramic cooktop cleaner with a cleaning pad for ceramic cooktops.
- If pots with a thin overlay of aluminum or copper are allowed to boil dry, the overlay may leave black discoloration on the cooktop. You should remove this discoloration immediately or it may become permanent.
WARNING
Carefully check the bottoms of pans for roughness that may scratch the cooktop.
Maintaining your appliance
Cleaning the cooktop seal

To clean the seal around the edges of the gloss, lay a wet cloth on it for a few minutes, then wipe clean with a nonabrasive cleaner.
Potential for permanent damage to the glass surface
- Sugary spillovers (such as jellies, fudge, candy, syrups) or melted plastics can cause pilting of the surface of your cooktop. This is not covered under the warranty. You should clean the spill while it is still hot. Take special care when removing hot substances. Refer to the section below.
- When using a scraper, be sure it is new and the razor blade is still sharp. Do not use a dull or nicked blade.
Cleaning sugary spills and melted plastic
- Turn off all surface units. Remove hot pans.
- Wearing an oven mitt, use a single-edge razor-blade scraper to move the spill to a cool area of the cooktop. Remove the spill with paper towels.
- Any remaining spillover should be left until the surface of the cooktop has cooled.
- Don't use the surface units again until all of the residue has been completely removed.
NOTE
If pitting or indentations in the glass surface have already occurred, the cooktop glass will have to be replaced. In this case, service will be necessary.
Removing and reinstalling the oven door
How to remove the door
CAUTION
The door is very heavy. Be careful when removing and lifting the door. Do not lift the door by the handle.
- Turn the power OFF before removing the door.

- Open the door completely.
- Pull the hinge locks down toward the door frame to the unlocked position.

Fig. 1
- Firmly grasp both sides of the door at the top.
- Close the door to the door removal position, which is approximately 5 degrees from vertical (Fig. 1).

Fig. 2
- Lift door up and out until the hinge arm is clear of the slot (Fig. 2).

- Open the door fully. If the door will not open fully, the indentation is not inserted correctly in the bottom edge of the slot.
- Push the hinge locks up against the front frame of the oven cavity to the locked position.
- Close the oven door.

How to re-install the door
- Firmly grasp both sides of the door at the top.
- With the door at the same angle as the removal position, slide the indentation of the hinge arm into the bottom edge of the hinge slot. The notch in the hinge arm must be fully inserted into the bottom of the slot.
Maintaining your appliance
Removing and reinstalling the storage drawer

- Slide open the drawer until it stops.
- Locate the roller guide clips on either side. Using both hands, pull down the left clip while lifting the right clip, and then remove the drawer.
- Clean the drawer in warm, soapy water using a cloth or soft brush. Then, rinse and dry it thoroughly.

- Put the drawer in the roller guides on either side, and then snap the clips into place.
Changing the oven light
The oven light is a standard 40-watt appliance bulb. It will come on when the oven door is open. When the oven door is closed, press the pad to turn it on or off. It will not work during a self-cleaning cycle.

- Make sure the oven and the bulb are cool.
- Unplug the range or disconnect the power.
- Turn the glass bulb cover in the back of the oven counterclockwise to remove.
- Turn the bulb counterclockwise to remove it from its socket.
- Insert a new 40-watt appliance bulb, and then turn it clockwise to tighten. Replace the bulb cover by turning clockwise.
- Plug in the range or reconnect the power.
CAUTION
Before changing your oven light bulb, disconnect the electrical power to the range at the main fuse or circuit breaker panel. Make sure the oven and the bulb are cool.
Troubleshooting
Troubleshooting
Samsung works hard to ensure that you don't have problems with your new electric range. If you run into unexpected trouble, look first for a solution in the tables below. If you're still having trouble after trying the suggested solution, call Samsung at 1-800-SAMSUNG (1-800-726-7864).
Installation
| Problem Possible cause Solution | ||
| The range is not level. | The appliance has been installed improperly. | ·Place the oven rack in the center of the oven. Place a level on the oven rack. Adjust the leveling legs at the base of the range until the oven rack is level. ·Insure the floor is level and strong and stable enough to adequately support the range. |
| The floor is sagging or sloping. | Contact a carpenter to correct the situation. | |
| The kitchen cabinets are not properly aligned and make the range appear to be not level. | Insure the cabinets are square and provide sufficient room for installation. | |
| The appliance must be accessed for servicing and cannot be moved easily. | The kitchen cabinets are not square and too close to the appliance. | Contact a builder or installer to make the appliance accessible. |
| Carpet is interfering with movement of the range. | Provide sufficient space so the range can be lifted over the carpet. | |
CONTROL DISPLAY
| Problem Possible | le cause Solution | |
| The display goes blank. | A fuse in your home may be blown or the circuit breaker tripped. | Replace the fuse or reset the circuit breaker. |
| The display flashes. There was a power failure. Reset the clock. | ||
COOKTOP
| Problem Possible | cause Solution | |
| The surface units will not maintain a rolling boil or will not cook fast enough. | You may be using inappropriate cookware. | Use pans that are flat and match the diameter of the surface unit selected. |
| In some areas, the power (voltage) may be low. | Cover the pan with a lid until the desired heat is obtained. | |
| The surface units will not turn on. | A fuse in your home may be blown or a circuit breaker may have tripped. | Replace the fuse or reset the circuit breaker. |
| The cooktop controls are set improperly. | Check if the correct control is set for the surface unit you are using. | |
| Areas of discoloration on the cooktop. | Food spillover was not cleaned. | Refer to the section on the care and cleaning of the glass cooktop on page 52. |
| The surface is hot and the model features a light-colored cooktop. | This is normal. The surface may appear discolored when it is hot. This is temporary and will disappear as the glass cools. |
Troubleshooting
| Problem Possible cause Solution | ||
| The surface unit frequently cycles on and off. | The element will cycle on and off to maintain the power setting. | This is normal operation, and not a system failure.Use the range as usual. |
| The surface unit stops glowing when changed to a lower setting. | This is normal. The unit is still on and hot. | |
| Scratches or abrasions on the cooktop surface. | The cooktop is being cleaned improperly. | Scratches are not removable. Tiny scratches will become less visible in time as a result of cleaning.Use ceramic glass top cleaning cream. Do not use chemical or corrosive agents. These agents may damage the surface of the product. |
| Cookware with rough bottoms was used on the cooktop or there were coarse particles (e.g., salt or sand) present between the cookware and the surface of the cooktop. | To avoid scratches, follow the recommended cleaning procedures. Make sure cookware bottoms are clean before use, and use cookware with smooth bottoms. | |
| Cookware has been slid across the cooktop surface. | ||
| Problem Possibility cause Solution | ||
| Brown streaks or specks. | Boilovers have been cooked onto the surface. | Wait until the surface cools down. Then, use a single-edge razor-blade scraper at approximately a 45° angle against the glass surface to remove the soil.See the section on the care and cleaning of the glass cooktop on page 52. |
| Areas of discoloration with metallic sheen. | Mineral deposits from water and food have been left on the surface of the cooktop. | Remove using a ceramic-glass cooktop cleaning cream.Use cookware with clean, dry bottoms.Clean the cooktop with a ceramic cleaning agent regularly every week. |
| "Cracking" or "popping" sound. | This is the sound of the metal heating and cooling during both the cooking and self-cleaning functions. | This is normal operation, and not a system failure.Use the range as usual. |
OVEN
| Problem Possible cause Solution | ||
| The oven will not turn on. | The range is not completely plugged into the electrical outlet. | Make sure the electrical plug is inserted into a live, properly grounded outlet. |
| A fuse in your home may be blown or a circuit breaker may have tripped. | Replace the fuse or reset the circuit breaker. | |
| The oven controls have been set improperly. | See the chapter on operating the oven starting on page 28. | |
| The oven is too hot. Allow the oven to cool. | ||
| Incomplete service wiring. Call for service. | ||
| Power outage. Check to see if the house lights will turn on. If necessary, call your local electric company for service. | ||
| The oven light will not turn on. | The light bulb is loose or defective. | Tighten or replace the bulb. |
| The switch operating the light is broken. | Call for service. | |
| The appliance will not turn on. | The appliance is not completely plugged into the electrical outlet or a fuse in your home may be blown or a circuit breaker may have tripped. | Make sure the power cord is plugged into a live, properly grounded outlet. Check the fuse and circuit breakers. |
| Incomplete service wiring. Call for service. | ||
| Power outage. Check to see if the house lights will turn on. If necessary, call your local electric company for service. | ||
| Problem Possible cause Solution | ||
| The oven smokes excessively during broiling. | The oven controls have not been set properly. | Refer to the section on using the broiler starting on page 34. |
| The meat has been placed too close to the element. | Reposition the rack to provide proper clearance between the meat and the element. Preheat the broil element for searing. | |
| The meat has not been properly prepared. | Remove the excess fat from the meat. Cut away fatty edges that may curl, leaving the lean intact. | |
| Grease has built up on oven surfaces. | Regular cleaning is necessary when broiling frequently. | |
| Food does not bake or roast properly. | The oven controls have not been set correctly. | See the chapter on operating the oven starting on page 28. |
| The oven rack has been positioned incorrectly or is not level. | See the section on using the oven racks on page 31. | |
| Incorrect cookware or cookware of improper size is being used. | ||
| The oven sensor needs to be adjusted. | See the section on adjusting the thermostat on page 44. | |
Troubleshooting
| Problem Possible cause Solution | ||
| Food does not broil properly. | The serving size may not be appropriate. | Refer to the cooking guide for serving sizes on page 35, and then try again. |
| The rack has not been properly positioned. | See the broiling recommendation guide on page 35. | |
| The cookware is not suited for broiling. | Use suitable cookware. | |
| In some areas, the power (voltage) may be low. | •Preheat the broil element for 10 minutes. •See the broiling recommendation guide on page 35. | |
| The oven temperature is too hot or too cold. | The oven sensor needs to be adjusted. | See the section on adjusting the thermostat on page 44. |
| The oven will not self-clean. | The oven temperature is too high to start a self-clean operation. | Allow the range to cool and then reset the controls. |
| The oven controls have been set incorrectly. | See the section on self-cleaning on page 48. | |
| A self-cleaning cycle cannot be started if the oven lock feature has been activated or if a radiant surface element is on. | Deactivate the oven lock (see page 42). Make sure all surface elements are turned off. | |
| Problem Possible cause Solution | ||
| Excessive smoking during a self-cleaning cycle. | There is excessive soiling in the oven. | Press OFF. Open the windows to rid the room of smokeWait until the self-cleaning cycle is cancelled. Wipe up the excessive soil and then start the self-cleaning cycle again. |
| The oven door will not open after a self-cleaning cycle. | The oven is too hot. Allow the oven to cool. | |
| The oven is not clean after a self-cleaning cycle. | The oven controls were not set correctly. | See the section on self-cleaning on page 48. |
| The oven was heavily soiled. | pe up heavy spillovers before starting the self-cleaning cycle. Heavily soiled ovens may need to be self-cleaned again or for a longer period of time. | |
| Steam is coming out of the vent. | When using the convection feature, it is normal to see steam coming out of the oven vent. | This is normal operation and not a system failure.Use the range as usual. |
| As the number of racks or amount of food being cooked increases, the amount of visible steam will increase. | ||
| A burning or oily odor is coming from the vent. | This is normal in a new oven and will disappear in time. | To speed the process, set a self-cleaning cycle for a minimum of 3 hours.See the section on self-cleaning on page 48. |
| Problem Possible cause Solution | |
| Strong odor. An odor coming from the insulation around the inside of the oven is normal for the first few times the oven is used. | Operate the oven empty on the bake setting at 400 °F for 1 hour. |
| Fan noise. A convection fan may automatically turn on and off. | This is not a system failure but normal operation. |
| Oven racks are difficult to slide. | The shiny, silver-colored racks were cleaned in a self-cleaning cycle. |
DRAWER
| Problem Possible cause Solution | ||
| The drawer does not slide smoothly or drags. | The drawer is out of alignment. | Fully extend the drawer and push it all the way in. See page 56. |
| The drawer is overloaded or the load is unbalanced. | Reduce weight. Redistribute drawer contents. | |
| Excessive condensation in the drawer. | There is liquid present in the drawer. | Remove the liquid. |
| Uncovered foods. Cover food with a lid. | ||
Information codes
OVEN
| Displayed code | Possible cause Solution | |
| C-d0 | There is a short in the control key. | Press OFF, and then restart the oven. If the problem persists, disconnect all power to the range for at least 30 seconds and then reconnect the power. If this does not solve the problem, call for service. |
| C-d1 The door lock is misaligned. | ||
| C-F0 | This code occurs if communication between the Main and Sub PBA is interrupted. | |
| C-F2 | This code occurs if communication between the Main and Touch is interrupted. | |
| C-20 | The oven sensor is open when the oven is operating. | |
| There is a short in the Ovenensor. | ||
| C-21 | This code occurs if the internal temperature rises abnormally high. |
Troubleshooting
| Displayed code | Possible cause Solution | |
| C-22 | The sub PCB sensor is open when the oven is operating. | Press OFF, and then restart the oven. If the problem persists, disconnect all power to the range for at least 30 seconds and then reconnect the power. If this does not solve the problem, call for service. |
| There is a short in the sub PCB sensor. | ||
| C-23 | The temperature probe sensor is short when the oven is operating. | |
| C-30 | The main PCB sensor is open when the oven is operating. | |
| There is a short in the main PCB sensor. | ||
| C-31 | This code occurs if the PCB temperature rises abnormally high. | Call for service |
| -dC- This code appears if the divider is inserted or removed while the oven is operating. | Make sure the divider is inserted properly, and then restart the oven. If the problem persists, disconnect all power to the range for at least 30 seconds and then reconnect the power. If this does not solve the problem, call for service. | |
| Displayed code | Possible cause Solution | |
| Bad line This error message appears if the power cord is installed improperly. | If the power connection is plugged in improperly, that code appears on the display. Reconnect the power connection properly, and the message disappears. | |
| C-A2 This code occurs if the sub PCB temperature rises abnormally high. | Press OFF. Check the oven vent and cooling vent. If the vent is closed, never block the vent by anything. After cooling the oven, restart the oven. If this does not solve the problem, call for service. | |
PLEASE DO NOT DISCARD. THIS PAGE REPLACES THE WARRANTY PAGE IN THE USE & CARE GUIDE
This SAMSUNG brand product, as supplied and distributed by SAMSUNG ELECTRONICS AMERICA, INC. (SAMSUNG) and delivered new, in the original carton to the original consumer purchaser, is warranted by SAMSUNG against manufacturing defects in materials or workmanship for the limited warranty period, starting from the date of original purchase, of:
One (1) Year Parts and Labor
This limited warranty is valid only on products purchased and used in the United States that have been installed, operated, and maintained according to the instructions attached to or furnished with the product. To receive warranty service, the purchaser must contact SAMSUNG at the address or phone number provided below for problem determination and service procedures. Warranty service can only be performed by a SAMSUNG authorized service center. The original dated bill of sale must be presented upon request as proof of purchase to SAMSUNG or SAMSUNG's authorized service center to receive warranty service.
SAMSUNG will provide in-home service within the contiguous United States during the warranty period at no charge, subject to availability of SAMSUNG authorized servicers within the customer's geographic area. If in-home service is not available, SAMSUNG may elect, at its option, to provide transportation of the product to and from an authorized service center. If the product is located in an area where service by a SAMSUNG authorized servicer is not available, you may be responsible for a trip charge or required to bring the product to a SAMSUNG authorized service center for service.
To receive in-home service, product must be unobstructed and accessible to the service agent.
During the applicable warranty period, a product will be repaired, replaced, or the purchase price refunded, at the sole option of SAMSUNG. SAMSUNG may use new or reconditioned parts in repairing a product, or replace the product with a new or reconditioned product. Replacement parts and products are warranted for the remaining portion of the original product's warranty or ninety (90) days, whichever is longer. All replaced parts and products are the property of SAMSUNG and you must return them to SAMSUNG.
This limited warranty covers manufacturing defects in materials or workmanship encountered in normal household, noncommercial use of this product and shall not cover the following: damage that occurs in shipment, delivery, installation, and uses for which this product was not intended; damage caused by unauthorized modification or alteration of the product; product where the original factory serial numbers have been removed, defaced, changed in any way, or cannot be readily determined; cosmetic damage including scratches, dents, chips, and other damage to the product's finishes; damage caused by abuse, misuse, pest infestations, accident, fire, floods, or other acts of nature or God; damage caused by use of equipment, utilities, services, parts, supplies, accessories, applications, installations, repairs, external wiring or connectors not supplied or authorized by SAMSUNG; damage caused by incorrect electrical line current, voltage, fluctuations and surges; damage caused by failure to operate and maintain the product according to instructions; in-home instruction on how to use your product; and service to correct installation not in accordance with electrical or plumbing codes or correction of household electrical or plumbing (i.e., house wiring, fuses, or water inlet hoses). In addition, damage to the glass cooktop caused by (i) use of cleaners other than the recommended cleaners and pads or (ii) hardened spills of sugary materials or melted plastic that are not cleaned according to the directions in the use and care guide are not covered by this limited warranty.
The cost of repair or replacement under these excluded circumstances shall be the customer's responsibility.
Visits by an authorized servicer to explain product functions, maintenance or installation are not covered by this limited warranty. Please contact SAMSUNG at the number below for assistance with any of these issues.
Warranty (U.S.A)
EXCLUSION OF IMPLIED WARRANTYES
IMPLIED WARRANTYES, INCLUDING THE IMPLIED WARRANTYES OF MERCHANTABILITY OR FITNESS FOR A PARTICULAR PURPOSE, ARE LIMITED TO ONE YEAR OR THE SHORTEST PERIOD ALLOWED BY LAW. Some states do not allow limitations on how long an implied warranty lasts, so the above limitations or exclusions may not apply to you. This warranty gives you specific rights, and you may also have other rights, which vary from state to state.
LIMITATION OF REMEDIES
YOUR SOLE AND EXCLUSIVE REMEDY IS PRODUCT REPAIR, PRODUCT REPLACEMENT, OR REFUND OF THE PURCHASE PRICE AT SAMSUNG'S OPTION, AS PROVIDED IN THIS LIMITED WARRANTY. SAMSUNG SHALL NOT BE LIABLE FOR SPECIAL, INCIDENTAL OR CONSEQUENTIAL DAMAGES, INCLUDING BUT NOT LIMITED TO TIME WAY FROM WORK, HOTELS AND/OR RESTAURANT MEALS, REMODELING EXPENSES, LOSS OF REVENUE OR PROFITS, FAILURE TO REALIZE SAVINGS OR OTHER BENEFITS REGARDLESS OF THE LEGAL THEORY ON WHICH THE CLAIM IS BASED, AND EVEN IF SAMSUNG HAS BEEN ADVISED OF THE POSSIBILITY OF SUCH DAMAGES. Some states do not allow exclusion or limitation of incidental or consequential damages, so the above limitations or exclusions may not apply to you. This warranty gives you specific rights, and you may also have other rights, which vary from state to state.
SAMSUNG does not warrant uninterrupted or error-free operation of the product. No warranty or guarantee given by any other person, firm, or corporation with respect to this product shall be binding on SAMSUNG.
To obtain warranty service, please contact SAMSUNG at:
Samsung Electronics America, Inc.
5 Challenger Road
Ridgefield Park, NJ 07660
1-800-SAMSUNG (726-7864) and www.samsung.com/us/support
Warranty (CANADA)
PLEASE DO NOT DISCARD. THIS PAGE REPLACES THE WARRANTY PAGE IN THE USE & CARE GUIDE
This SAMSUNG brand product, as supplied and distributed by SAMSUNG ELECTRONICS CANADA, INC. (SAMSUNG) and delivered new, in the original carton to the original consumer purchaser, is warranted by SAMSUNG against manufacturing defects in materials and workmanship for a limited warranty period of:
One (1) Year Parts and Labor, One (1) Year Parts Warranty
For Glass Cooktop and Radiant Heater
This limited warranty begins on the original date of purchase, and is valid only on products purchased and used in the CANADA. To receive warranty service, the purchaser must contact SAMSUNG for problem determination and service procedures. Warranty service can only be performed by a SAMSUNG authorized service center. The original dated bill of sale must be presented upon request as proof of purchase to SAMSUNG or SAMSUNG's authorized service center. Samsung will provide in-home service during the warranty period at no charge subject to availability within the contiguous CANADA. In home service is not available in all areas. To receive in-home service product must be unobstructed and accessible to the service agent. If service is not available Samsung may elect to provide transportation of the product to and from an authorized service center.
SAMSUNG will repair or replace this product, at our option and at no charge as stipulated herein, with new or reconditioned parts or products if found to be defective during the limited warranty period specified above. All replaced parts and products become the property of SAMSUNG and must be returned to SAMSUNG. Replacement parts and products assume the remaining original warranty, or ninety (90) days, whichever is longer. This limited warranty covers manufacturing defects in materials and workmanship encountered in normal, noncommercial use of this product and shall not apply to the following: damage which occurs in shipment; delivery and installation; applications and uses for which this product was not intended; altered product or serial numbers; cosmetic damage or exterior finish; accidents, abuse, neglect, fire, water, lightning or other acts of nature; use of products, equipment, systems, utilities, services, parts, supplies, accessories, applications, installations, repairs, external wiring or connectors not supplied or authorized by SAMSUNG which damage this product or result in service problems; incorrect electrical line voltage, fluctuations and surges; customer adjustments and failure to follow operating instructions, maintenance and environmental instructions that are covered and prescribed in the instruction book; product removal and reinstallation; problems caused by pest infestations, and overheating or overcooking by user. This limited warranty shall not cover cases of incorrect electric current, voltage or supply, light bulbs, house fuses, house wiring, cost of a service call for instructions, or fixing installation errors. Furthermore, damage to the glass cooktop caused by the use of cleaners other than the recommended cleaners and pads, damage to the glass cook top caused by hardened spills of sugary materials or melted plastic that are not cleaned according to the directions in the use and care guide are not covered. SAMSUNG does not warrant uninterrupted or error-free operation of the product.
EXCEPT AS SET FORTH HEREIN THERE ARE NO WARRANTYES ON THIS PRODUCT EITHER EXPRESS OR IMPLIED AND SAMSUNG DISCLAIMS ALL WARRANTIES INCLUDING, BUT NOT LIMITED TO, ANY IMPLIED WARRANTYES OF MERCHANTABILITY, INFRINGEMENT OR FITNESS FOR A PARTICULAR PURPOSE. NO WARRANTY OR GUARANTY GIVEN BY ANY PERSON, FIRM OR CORPORATION WITH RESPECT TO THIS PRODUCT SHALL BE BINDING ON SAMSUNG. SAMSUNG SHALL NOT BE LIABLE FOR LOSS OF REVENUE OR PROFITS, FAILURE TO REALIZE SAVINGS OR OTHER BENEFITS, OR ANY OTHER SPECIAL, INCIDENTAL OR CONSEQUENTIAL DAMAGES CAUSED BY THE USE, MISUSE OR INABILITY TO USE THIS PRODUCT, REGARDLESS OF THE LEGAL THEORY ON WHICH THE CLAIM IS BASED, AND EVEN IF SAMSUNG HAS BEEN ADVISED OF THE POSSIBILITY OF SUCH DAMAGES. NOR SHALL RECOVERY OF ANY KIND AGAINST SAMSUNG BE GREATER IN AMOUNT THAN THE PURCHASE PRICE OF THE PRODUCT SOLD BY SAMSUNG AND CAUSING THE ALLEGED DAMAGE. WITHOUT LIMITING THE FOREGOING, PURCHASER ASSUMES ALL RISK AND LIABILITY FOR LOSS, DAMAGE OR INJURY TO PURCHASER AND PURCHASER'S PROPERTY AND TO OTHERS AND THEIR PROPERTY ARISING OUT OF THE USE. MISUSE OR INABILITY TO USE THIS PRODUCT. THIS LIMITED WARRANTY SHALL NOT EXTEND TO ANYONE OTHER THAN THE ORIGINAL PURCHASER OF THIS PRODUCT, IS NONTRANSFERABLE AND STATES YOUR EXCLUSIVE REMEDY.
Some states do not allow limitations on how long an implied warranty lasts, or the exclusion or limitation of incidental or consequential damages, so the above limitations or exclusions may not apply to you. This warranty gives you specific legal rights, and you may also have other rights which vary from state to state. To obtain warranty service, please contact SAMSUNG at:
Samsung Electronics Canada Inc.
2050 Derry Road West, Mississauga, Ontario L5N 0B9 Canada
1-800-SAMSUNG (726-7864) and www.samsung.com/ca/support (English)
www.samsung.com/ca_fr/support (French)
AppendixAppendix
Memo
Open Source Announcement
The software included in this product contains open source software.
The following URL http://opensource.samsung.com/opensource/SMART_TP2_0/ seq/0 leads to open source license information as related to this product.

Memo

See this with your smartphone.
Scan the QR code* or visit
www.samsung.com/spsn
to view our helpful
How-to Videos and Live Shows
Requires reader to be installed on your smartphone
Please be advised that the Samsung warranty does NOT cover service calls to explain product operation, correct improper installation, or perform normal cleaning or maintenance.
QUESTIONS OR COMMENTS?
| COUNTRY CALL OR VISIT US ONLINE AT | ||
| U.S.A Consumer Electronics | 1-800-SAMSUNG (726-7864) www.samsung.com/us/support | |
| CANADA 1 800 SAMSUNG (726 7864) | www.samsung.com/ca/support (English) www.samsung.com/ca_fr/support (French) | |

DG68-01209A-07
Estufa électrique
Manual del usuario
NE63871 / NE63871****

comoutilizarlaperillade disco

Ridgefield Park, NJ 07660
1-800-SAMSUNG (726-7864) y www.samsung.com/us/support
NO LA DESECHE. ESTA HOJA REEMPLAZA LA PAGINA DE GARANTIA EN LA GUIA DE USO Y MANTENIMIENTO
Samsung Electronics Canada Inc.
2050 Derry Road West, Mississauga, Ontario L5N 0B9 Canada
1-800-SAMSUNG (726-7864) y www.samsung.com/ca/support (English)
www.samsung.com/ca_fr/support (French)
NotasApéndice
Anuncio deIELDo abierto

Scan this with your smartphone
www.samsung.com/spsn
APPROPRIÉ NON APPROPRIÉ

Ridgefield Park, NJ 07660
1-800-SAMSUNG (726-7864) et www.samsung.com/us/support
VEUILLEZ NE PAS JETER. CETTE PAGE REMPLACE LA PAGE DE GARANTIE CONTENUE DANS LE GUIDE D'UTILISATION ET D'ENTRETIEN.
CUISINIÈRE ÉLECTRIQUE SAMSUNG
GARANTIE LIMITEE POUR L'ACHETEUR INITIAL
Samsung Electronics Canada Inc.
2050 Derry Road West, Mississauga, Ontario L5N 0B9 Canada
1-800-SAMSUNG (726-7864) et www.samsung.com/ca/support (English)
www.samsung.com/ca_fr/support (French)
NotesAnnexe
See this with your smartphone
EasyManual