FI2212NDV - Fridge ELECTROLUX - Free user manual and instructions
Find the device manual for free FI2212NDV ELECTROLUX in PDF.
User questions about FI2212NDV ELECTROLUX
0 question about this device. Answer the ones you know or ask your own.
Ask a new question about this device
Download the instructions for your Fridge in PDF format for free! Find your manual FI2212NDV - ELECTROLUX and take your electronic device back in hand. On this page are published all the documents necessary for the use of your device. FI2212NDV by ELECTROLUX.
USER MANUAL FI2212NDV ELECTROLUX
WE'RE THINKING OF YOU
Thank you for purchasing an Electrolux appliance. You've chosen a product that brings with it decades of professional experience and innovation. Ingenious and stylish, it has been designed with you in mind. So whenever you use it, you can be safe in the knowledge that you'll get great results every time.
Welcome to Electrolux.
Visit our website for:

Get usage advice, brochures, trouble shooter, service information: www.electrolux.com

Register your product for better service: www.registerelectrolux.com

Buy Accessories, Consumables and Original spare parts for your appliance: www.electrolux.com/shop
CUSTOMER CARE AND SERVICE
Always use original spare parts.
When contacting our Authorised Service Centre, ensure that you have the following data available: Model, PNC, Serial Number.
The information can be found on the rating plate.

Warning / Caution-Safety information

General information and tips

Environmental information
Subject to change without notice.
1. SAFETY INFORMATION
Before the installation and use of the appliance, carefully read the supplied instructions. The manufacturer is not responsible if an incorrect installation and use causes injuries and damages. Always keep the instructions with the appliance for future reference.
1.1 Children and vulnerable people safety
- This appliance can be used by children aged from 8 years and above and persons with reduced physical, sensory or mental capabilities or lack of experience and knowledge if they have been given supervision or instruction concerning use of the appliance in a safe way and understand the hazards involved.
- Do not let children play with the appliance.
- Cleaning and user maintenance shall not be made by children without supervision.
- Keep all packaging away from children.
1.2 General Safety
-
This appliance is intended to be used in household and similar applications such as:
-
Farm houses; staff kitchen areas in shops, offices and other working environments
-
By clients in hotels, motels, bed and breakfast and other residential type environments
-
Keep ventilation openings, in the appliance enclosure or in the built-in structure, clear of obstruction.
- Do not use mechanical devices or other means to accelerate the defrosting process, other than those recommended by the manufacturer.
- Do not damage the refrigerant circuit.
- Do not use electrical appliances inside the food storage compartments of the appliance, unless they are of the type recommended by the manufacturer.
-
Do not use water spray and steam to clean the appliance.
-
Clean the appliance with a moist soft cloth. Only use neutral detergents. Do not use abrasive products, abrasive cleaning pads, solvents or metal objects.
- Do not store explosive substances such as aerosol cans with a flammable propellant in this appliance.
- If the supply cord is damaged, it must be replaced by the manufacturer, its Authorised Service Centre or similarly qualified persons in order to avoid a hazard.
2. SAFETY INSTRUCTIONS
2.1 Installation

WARNING!
Only a qualified person must install this appliance.
- Remove all the packaging.
- Do not install or use a damaged appliance.
- Obey the installation instruction supplied with the appliance.
- Always be careful when you move the appliance because it is heavy. Always wear safety gloves.
Make sure the air can circulate around the appliance. - Wait at least 4 hours before connecting the appliance to the power supply. This is to allow the oil to flow back in the compressor.
- Do not install the appliance close to radiators or cookers, oven or hobs.
- The rear of the appliance must stand against the wall.
- Do not install the appliance where there is direct sunlight.
- Do not install this appliance in areas that are too humid or too colds, such as the construction appendices, garages or wine cellars.
- When you move the appliance, lift it by the front edge to avoid scratching the floor.
2.2 Electrical connection

WARNING!
Risk of fire and electrical shock.
-
The appliance must be earthed.
-
Make sure that the electrical information on the rating plate agrees with the power supply. If not, contact an electrician.
- Always use a correctly installed shockproof socket.
- Do not use multi-plug adapters and extension cables.
- Make sure not to cause damage to the electrical components (e.g. mains plug, mains cable, compressor). Contact the Authorised Service Centre or an electrician to change the electrical components.
- The mains cable must stay below the level of the mains plug.
- Connect the mains plug to the mains socket only at the end of the installation. Make sure that there is access to the mains plug after the installation.
- Do not pull the mains cable to disconnect the appliance. Always pull the mains plug.
2.3 Use

WARNING!
Risk of injury, burns, electrical shock or fire.
- Do not change the specification of this appliance.
- Do not put electrical appliances (e.g. ice cream makers) in the appliance unless they are stated applicable by the manufacturer.
- Be careful not to cause damage to the refrigerant circuit. It contains isobutane (R600a), a natural gas with
a high level of environmental compatibility. This gas is flam
- If damage occurs to the refrigerant circuit, make sure that there are no flames and sources of ignition in the room. Ventilate the room.
- Do not let hot items to touch the plastic parts of the appliance.
- Do not put soft drinks in the freezer compartment. This will create pressure on the drink container.
- Do not store flammable gas and liquid in the appliance.
- Do not put flammable products or items that are wet with flammable products in, near or on the appliance.
- Do not touch the compressor or the condenser. They are hot.
- Do not remove or touch items from the freezer compartment if your hands are wet or damp.
- Do not freeze again food that has been thawed.
- Obey the storage instructions on the packaging of frozen food.
2.4 Care and cleaning

WARNING!
Risk of injury or damage to the appliance.
-
Before maintenance, deactivate the appliance and disconnect the mains plug from the mains socket.
-
This appliance contains hydrocarbons in the cooling unit. Only a qualified person must do the maintenance and the recharging of the unit.
- Regularly examine the drain of the appliance and if necessary, clean it. If the drain is blocked, defrosted water collects in the bottom of the appliance.
2.5 Disposal

WARNING!
Risk of injury or suffocation.
- Disconnect the appliance from the mains supply.
- Cut off the mains cable and discard it.
- Remove the door to prevent children and pets to be closed inside of the appliance.
- The refrigerant circuit and the insulation materials of this appliance are ozone-friendly.
- The insulation foam contains flammable gas. Contact your municipal authority for information on how to discard the appliance correctly.
- Do not cause damage to the part of the cooling unit that is near the heat exchanger.
3. OPERATION
3.1 Control panel

1 Display
2 DrinksChill button and ON/OFF button
3 Temperature colder button
4 Temperature warmer button
5 Fridge compartment button
6 Freezer compartment button
7 Mode button
Display

A) Fridge temperature indicator
B) Fridge OFF indicator
C) Holiday mode
D) Fridge EcoMode
E) ShoppingMode
F) Alarm indicator
G) Freezer EcoMode
H) FreeStore function
1) Freezer temperature indicator
J) DrinksChill mode
K) FreeStore function
i After selection of the fridge or freezer compartment the animation starts After selection of the temperature the animation flashes for a few minutes.
3.2 Switching on
Connect the mains plug to the power socket
- Press the ON/OFF if the display is off.
The temperature indicators show the set default temperature.
- The alarm buzzer may sound after a few seconds.
To reset the alarm refer to "High temperature alarm".
If "DEMO" appears on the display, the appliance is in demonstration mode. Refer to "Troubleshooting...".
To select a different set temperature refer to "Temperature regulation".
3.3 Switching off
Press ON/OFF for 3 seconds.
The display switches off.
To disconnect the appliance from the power, disconnect the mains plug from the power socket.
3.4 Switching off the fridge
To switch off the fridge press the fridge compartment button for few seconds. The fridge OFF indicator is shown.
3.5 Switching on the fridge
To switch on the fridge press the fridge compartment button.
The fridge OFF indicator goes off.
To select a different set temperature refer to "Temperature regulation".
3.6 Temperature regulation
- Select the fridge or freezer compartment.
- Press the temperature button to set the temperature.
- Set default temperature: +4^ for the fridge and -18^ for the freezer. The set temperature will be reached within 24 hours.
The temperature indicators show the set temperature.
i After power failure the set temperature remains stored.
3.7 FreeStore function
The activation of the FreeStore function increases the energy consumption.

If the function is activated automatically the FreeStore indicator is not shown (refer to "Daily use").
- To switch on the function press Mode until the corresponding icon appears.
- To switch off the function press Mode in order to select an other function or press Mode until you can see none of the special icons.
3.8 ShoppingMode
If you need to insert a large amount of warm food, for example after doing the grocery shopping, we suggest activating the ShoppingMode to chill the products more rapidly and to avoid warming the other food which is already in the refrigerator.
The ShoppingMode shuts off automatically after approximately 6 hours.
- To switch on the function press Mode until the corresponding icon appears.
The ShoppingMode indicator goes on. - To switch off the function press Mode in order to select an other function or press Mode until you can see none of the special icons.
The ShoppingMode indicator goes off.

The function switches off by selecting a different fridge set temperature.
3.9 Holiday mode
This function allows you to keep the refrigerator closed and empty during a long holiday period without the formation of a bad smell.

The fridge compartment must be empty with Holiday function on.
- To switch on the function press Mode until the corresponding icon appears.
The Holiday indicator goes on.
The fridge temperature indicator shows the set temperature. - To switch off the function press Mode in order to select an other function or
press Mode until you can see none of the special icons.
The Holiday indicator goes off.

The function switches off by selecting a different fridge set temperature.
3.10 DrinksChill mode
The DrinksChill mode is to be used to set an acoustic alarm at the preferred time, useful for example when a recipe requires to cool down a mixture for a certain period of time, or when a reminder is needed in order not to forget the bottles placed in the freezer for fast cooling.
- To switch on the function press DrinksChill .
The DrinksChill indicator appears. The timer shows the set value (30 minutes). - Press the temperature colder button and temperature warmer button to change the timer set value from 1 to 90 minutes.
The timer indicator is shown (min).
At the end of the countdown the DrinksChill indicator flashes and an audible alarm sounds - Remove any drinks contained in the freezer compartment.
- Press DrinksChill to switch off the sound and terminate the function.

It is possible to deactivate the function at any time during the countdown by pressing DrinksChill. The DrinksChill indicator goes off

It is possible to change the time during the countdown and at the end by pressing the temperature colder button and the temperature warmer button.
3.11 FastFreeze mode
This function stops automatically after 52 hours.
- To switch on the function:
a. Select the freezer compartment.
b. Press Mode until the corresponding icon appears.
The FastFreeze indicator is shown.
- To switch off the function before its automatic end:
a. Select the freezer compartment.
b. To switch off the function press Mode in order to select an other function or press Mode until you can see none of the special icons.
The FastFreeze indicator goes off.

The function switches off by selecting a different freezer set temperature.
3.12 EcoMode
For optimal food storage select the EcoMode.
- To switch on the function:
a. Select the fridge/freezer compartment.
b. Press Mode until the corresponding icon appears.
The temperature indicator shows the set temperature for the fridge: +4^ and for the freezer: -18^ .
The EcoMode indicator is shown.
- To switch off the function:
a. Select the fridge/freezer compartment.
b. To switch off the function press Mode in order to select an other
#

WARNING!
Refer to Safety chapters.
4.1 Freezing fresh food
The freezer compartment is suitable for freezing fresh food and storing frozen and deep-frozen food for a long time.
function or press Mode until you can see none of the special icons.
The EcoMode indicator goes off.

The function switches off by selecting a different set temperature.
3.13 High temperature alarm
An increase in the temperature in the freezer compartment (for example due to an earlier power failure or door is open) is indicated by:
- flashing the alarm and freezer temperature indicators;
- sounding of buzzer.
To reset the alarm press any button. The buzzer switches off.
The freezer temperature indicator shows the highest temperature reached for a few seconds. Then show again the set temperature.
The alarm indicator continues to flash until the normal conditions are restored.

When the alarm has returned the alarm indicator goes off.
3.14 Door open alarm
An acoustic alarm will sound if the door is left open for a few minutes. The door open alarm conditions are indicated by:
- flashing alarm indicator;
- acoustic buzzer.
When normal conditions are restored (door closed), the alarm will stop. During the alarm, the buzzer can be switched off by pressing any button.
To freeze small amount of fresh foods it is not necessary to change the present setting.
To freeze fresh food activate the FastFreeze function at least 24 hours before placing the food to be frozen in the freezer compartment.
Place the food to be frozen in the top compartment.
The maximum amount of food that can be frozen in 24 hours is specified on the rating plate, a label located on the inside of the appliance.
The freezing process lasts 24 hours: during this period do not add other food to be frozen.
When the freezing process is completed, return to the required temperature (see "FastFreeze Function").

In this condition, the refrigerator compartment temperature might drop below 0^ . If this occurs reset the temperature regulator to a warmer setting.
4.2 Storage of frozen food
When first starting-up or after a period out of use, before putting the products in the compartment let the appliance run at least 2 hours on the higher settings.

In the event of accidental defrosting, for example due to a power failure, if the power has been off for longer than the value shown in the technical characteristics chart under "rising time", the defrosted food must be consumed quickly or cooked immediately and then refrozen (after cooling).
4.3 Thawing
Deep-frozen or frozen food, prior to being used, can be thawed in the refrigerator compartment or at room temperature, depending on the time available for this operation.
Small pieces may even be cooked still frozen, directly from the freezer: in this case, cooking will take longer.
4.4 Cold accumulators
The freezer contains at least one cold accumulator which increases storage
time in the event of a power cut or breakdown.
4.5 Movable shelves

The walls of the refrigerator are equipped with a series of supports so that the shelves can be positioned as desired.
4.6 Positioning the door shelves
To permit storage of food packages of various sizes, the door shelves can be placed at different heights.
- Gradually pull the shelf in the direction of the arrows until it comes free.
- Reposition as required.


Do not move the lower door shelf to ensure correct air circulation.
4.7 FreeStore
The refrigerator compartment is equipped with a device that allows for rapid cooling of foods and more uniform temperature in the compartment.
This device activates by itself when needed, for example for a quick temperature recovering after door opening or when the ambient temperature is high.

5. HINTS AND TIPS
5.1 Normal operating sounds
The following sounds are normal during operation:
- A faint gurgling and bubbling sound from coils sound when refrigerant is pumped.
- A whirring and pulsating sound from the compressor when refrigerant is pumped.
- A sudden cracking noise from inside appliance caused by thermic dilatation (a natural and not dangerous physical phenomenon).
- A faint click noise from the temperature regulator when the compressor switches on or off.
5.2 Hints for energy saving
- Do not open the door frequently or leave it open longer than absolutely necessary.
- If foreseen, do not remove the cold accumulators from the freezer basket.
5.3 Hints for fresh food refrigeration
To obtain the best performance:
- do not store warm food or evaporating liquids in the refrigerator
- do cover or wrap the food, particularly if it has a strong flavour
It is possible to switch on the device manually when needed (refer to "FreeStore function").

The FreeStore device stops when the door is open and restarts immediately after the door closing.
- position food so that air can circulate freely around it
5.4 Hints for refrigeration
Useful hints:
- Meat (all types): wrap in polythene bags and place on the glass shelf above the vegetable drawer.
- For safety, store in this way only one or two days at the most.
Cooked foods, cold dishes, etc... these should be covered and may be placed on any shelf. - Fruit and vegetables: these should be thoroughly cleaned and placed in the special drawer(s) provided.
Butter and cheese: these should be placed in special airtight containers or wrapped in aluminium foil or polythene bags to exclude as much air as possible. - Bottles: these need a cap and should be stored on the door bottle shelf, or (if equipped) on the bottle rack.
- Bananas, potatoes, onions and garlic, if not packed, must not be kept in the refrigerator.
5.5 Hints for freezing
To help you make the most of the freezing process, here are some important hints:
- the maximum quantity of food which can be frozen in 24 hrs. is shown on the rating plate;
- the freezing process takes 24 hours. No further food to be frozen should be added during this period;
- freeze only top quality, fresh and thoroughly cleaned, foodstuffs;
- prepare food in small portions to enable it to be rapidly and completely frozen and to make it possible subsequently to thaw only the quantity required;
- wrap up the food in aluminium foil or polythene and make sure that the packages are airtight;
- do not allow fresh, unfrozen food to touch food which is already frozen, thus avoiding a rise in temperature of the latter;
- lean foods store better and longer than fatty ones; salt reduces the storage life of food;
-
water ices, if consumed immediately after removal from the freezer compartment, can possibly cause the skin to be freeze burnt;
-
it is advisable to show the freezing in date on each individual pack to enable you to keep tab of the storage time.
5.6 Hints for storage of frozen food
To obtain the best performance from this appliance, you should:
make sure that the commercially frozen foodstuffs were adequately stored by the retailer;
- be sure that frozen foodstuffs are transferred from the foodstore to the freezer in the shortest possible time;
not open the door frequently or leave it open longer than absolutely necessary;
- once defrosted, food deteriorates rapidly and cannot be refrozen;
- do not exceed the storage period indicated by the food manufacturer.
6. CARE AND CLEANING

WARNING!
Refer to Safety chapters.
6.1 General warnings

CAUTION!
Unplug the appliance before carrying out any maintenance operation.

This appliance contains hydrocarbons in its cooling unit; maintenance and recharging must therefore only be carried out by authorized technicians.

The accessories and parts of the appliance are not suitable for washing in a dishwasher.
6.2 Periodic cleaning

CAUTION!
Do not pull, move or damage any pipes and/or cables inside the cabinet.

CAUTION!
Take care of not to damage the cooling system.

CAUTION!
When moving the cabinet, lift it by the front edge to avoid scratching the floor.
The equipment has to be cleaned regularly:
- Clean the inside and accessories with lukewarm water and some neutral soap.
- Regularly check the door seals and wipe clean to ensure they are clean and free from debris.
- Rinse and dry thoroughly.
- If accessible, clean the condenser and the compressor at the back of the appliance with a brush.
This operation will improve the performance of the appliance and save electricity consumption.
6.3 Defrosting of the refrigerator
Frost is automatically eliminated from the evaporator of the refrigerator compartment every time the motor compressor stops, during normal use. The defrost water drains out through a trough into a special container at the back of the appliance, over the motor compressor, where it evaporates.
It is important to periodically clean the defrost water drain hole in the middle of the refrigerator compartment channel to prevent the water overflowing and dripping onto the food inside.

7. TROUBLESHOOTING

WARNING!
Refer to Safety chapters.
6.4 Defrosting the freezer
The freezer compartment is frost free. This means that there is no build up of frost when it is in operation, neither on the internal walls nor on the foods.
The absence of frost is due to the continuous circulation of cold air inside the compartment, driven by an automatically controlled fan.
6.5 Periods of non-operation
When the appliance is not in use for long periods, take the following precautions:
- Disconnect the appliance from electricity supply.
- Remove all food.
- Clean the appliance and all accessories.
- Leave the door/doors open to prevent unpleasant smells.

WARNING!
If the cabinet will be kept on, ask somebody to check it once in a while to prevent the food inside from spoiling in case of a power failure.
7.1 What to do if...
| Problem Possible cause Solution | ||
| The appliance does not operate. | The appliance is switched off. | Switch on the appliance. |
| The mains plug is not connected to the mains socket correctly. | Connect the mains plug to the mains socket correctly. | |
| There is no voltage in the mains socket. | Connect a different electrical appliance to the mains sock- et. Contact a qualified elec- trician. | |
| The appliance is noisy. The appliance is not sup- ported properly. | Check if the appliance stands stable. | |
| Audible or visual alarm is on. | The cabinet has been re- cently switched on or the temperature is still too high. | Refer to "Door Open Alarm"or "High Temperature Alarm". |
| The temperature in the appliance is too high. | Refer to "Door Open Alarm"or "High Temperature Alarm". | |
| The door is left open. Close the door. | ||
| The temperature in the appliance is too high. | Contact a qualified electri- cian or contact the nearest Authorised Service Centre. | |
| A square symbol is shown instead of numbers on the Temperature Display. | Temperature sensor problem. | Contact the nearest Author- ised Service Centre (the cooling system will continue to keep food products cold, but temperature adjustment will not be possible). |
| The lamp does not work. The lamp is in stand-by. Close and open the door. | ||
| The lamp does not work. The lamp is defective. Contact the nearest Author- ised Service Centre. | ||
| The compressor operates continually. | Temperature is set incor- rectly. | Refer to "Operation" chapter. |
| Many food products were put in at the same time. | Wait some hours and then check the temperature again. | |
| The room temperature is too high. | Refer to climate class chart on the rating plate. | |
| Food products placed in the appliance were too warm. | Allow food products to cool to room temperature before storing. | |
| The door is not closed correctly. | Refer to "Closing the door". | |
| The FastFreeze function is switched on. | Refer to "FastFreeze function". | |
| The ShoppingMode func-tion is switched on. | Refer to "ShoppingMode function". | |
| The compressor does not start immediately after pressing the FastFreeze, or after changing the temperature. | This is normal, no error has occurred. | The compressor starts after a period of time. |
| The compressor does not start immediately after pressing the Shopping-Mode, or after changing the temperature. | This is normal, no error has occurred. | The compressor starts after a period of time. |
| Water flows inside the re-frigerator. | The water outlet is clog-ged. | Clean the water outlet. |
| Food products prevent that water flows into the water collector. | Make sure that food prod-ucts do not touch the rear plate. | |
| Water flows on the floor. The melting water outlet is not connected to the evaporative tray above the compressor. | Attach the melting water out-let to the evaporative tray. | |
| Temperature cannot be set. | The FastFreeze or Shop-pingMode function is switched on. | Switch off FastFreeze or ShoppingMode manually, or wait until the function resets automatically to set the tem-perature. Refer to "Fast-Freeze or ShoppingMode function". |
| DEMO appears on the dis-play. | The appliance is in dem-onstration mode. | Keep the Mode pressed for approximately 10 seconds until a long sound is heard and display shuts off for a short time. |
| The temperature in the ap-pliance is too low/too high. | The temperature regula-tor is not set correctly. | Set a higher/lower tempera-ture. |
| The door is not closed correctly. | Refer to "Closing the door". | |
| Problem Possible cause Solution | |
| The food products' temperature is too high. | Let the food products temperature decrease to room temperature before storage. |
| Many food products are stored at the same time. | Store less food products at the same time. |
| The door has been opened often. | Open the door only if necessary. |
| The FastFreeze function is switched on. | Refer to "FastFreeze function". |
| The ShoppingMode function is switched on. | Refer to "ShoppingMode function". |
| There is no cold air circulation in the appliance. | Make sure that there is cold air circulation in the appliance. |

If the advice does not lead to the desired result, contact the nearest Authorised Service Centre.
7.2 Replacing the lamp
The appliance is equipped with a longlife LED interior light.
Only service is allowed to replace the lighting device. Contact your Authorised Service Centre.
7.3 Closing the door
- Clean the door gaskets.
- If necessary, adjust the door. Refer to "Installation".
- If necessary, replace the defective door gaskets. Contact the Authorised Service Centre.
8. INSTALLATION
8.1 Positioning
This appliance can be installed in a dry, well ventilated indoor where the ambient temperature corresponds to the climate class indicated on the rating plate of the appliance:
| Climate Ambient temperature class |
| SN +10°C to + 32°C |
| N +16°C to + 32°C |
| ST +16°C to + 38°C |
| T +16°C to + 43°C |

Some functional problems might occur for some types of models when operating outside of that range. The correct operation can only be guaranteed within the specified temperature range. If you have any doubts regarding where to install the appliance, please turn to the vendor, to our customer service or to the nearest Authorised Service Centre.
8.2 Electrical connection
- Before plugging in, ensure that the voltage and frequency shown on the rating plate correspond to your domestic power supply.
- The appliance must be earthed. The power supply cable plug is provided with a contact for this purpose. If the domestic power supply socket is not earthed, connect the appliance to a separate earth in compliance with current regulations, consulting a qualified electrician.
The manufacturer declines all responsibility if the above safety precautions are not observed.
This appliance complies with the E.E.C.Directives.
8.3 Ventilation requirements
The airflow behind the appliance must be sufficient.


CAUTION!
Refer to the assembly instructions for the installation.
8.4 Door reversibility
- Loosen and remove the upper pin.

- Remove the upper door.
- Remove the spacer.
- Loosen the middle hinge.

- Remove the lower door.
- Loosen and remove the lower pin.
- Tighten the lower pin on the opposite side.

- Install the lower door.
- Tighten the middle hinge.
- Install the spacer.
- Install the upper door.
- Tighten the upper pin.

Do a final check to make sure that:
- All screws are tightened.
The magnetic seal adheres to the cabinet. - The door opens and closes correctly. If the ambient temperature is cold (i.e. in Winter), the gasket may not fit perfectly to the cabinet. In that case, wait for the natural fitting of the gasket.
In case you do not want to carry out the above mentioned operations, contact the nearest
Authorised Service Centre.
The Authorised Service specialist will carry out the reversibility of the doors at your cost.
8.5 Installing the appliance

CAUTION!
Make sure that the mains cable can move freely.
- If necessary cut the adhesive sealing strip and then apply it to the appliance as shown in figure.

- Install the appliance in the niche.
- Push the appliance in the direction of the arrows (1) until the upper gap cover stops against the kitchen furniture.

- Push the appliance in the direction of the arrows (2) against the cupboard on the opposite side of the hinge.
- Adjust the appliance in the niche. Make sure that the distance between the appliance and the cupboard front-edge is 44mm
The lower hinge cover (in the accessories bag) makes sure that the distance between the appliance and the kitchen furniture is correct. Make sure that the clearance between the appliance and the cupboard is 4mm .
- Open the door. Put the lower hinge cover in position.

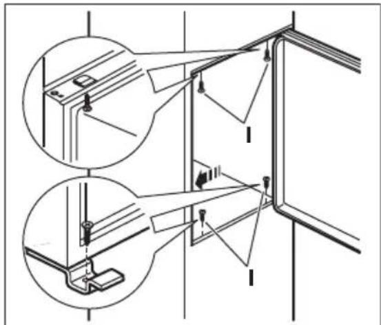
- Attach the appliance to the niche with 4 screws.

- Remove the correct part from the hinge cover (E). Make sure to remove the part DX, in the case of right hinge, SX in opposite case.

- Attach the covers (C, D) to the lugs and the hinge holes.

-
Install the vent grille (B).
-
Attach the hinge covers (E) to the hinge.
-
Connect the appliance laterally to the kitchen furniture sidewall.
- Loosen the screws of the part (G) and move the part (G) till the furniture sidewall.

- Tighten the screws of the part (G) again.
- Attach the part (H) to the part (G).
- Disconnect the parts (Ha), (Hb), (Hc) and (Hd).

- Install the part (Ha) on the inner side of the kitchen furniture.

- Push the part (Hc) on the part (Ha).

- Open the appliance door and the kitchen furniture door at an angle of 90^ .
- Insert the small square (Hb) into guide (Ha).
- Put together the appliance door and the furniture door and mark the holes.

- Remove the brackets and mark a distance of 8mm from the outer edge of the door where the nail must be fitted (K).

- Place the small square on the guide again and fix it with the screws supplied.
- Align the kitchen furniture door and the appliance door by adjusting the part (Hb).

- Press the part (Hd) on the part (Hb).

Do a final check to make sure that:
- All screws are tightened.
- The sealing strip is attached tightly to the cabinet.
- The door opens and closes correctly.
9.NOISES
There are some sounds during normal running (compressor, refrigerant circulation).




10. TECHNICAL INFORMATION
10.1 Technical data
| Dimensions of the recess |
| Height mm 1780 |
| Width mm 560 |
| Depth mm 550 |
| Rising time Hours 21 |
| Voltage Volts 230 - 240 |
| Frequency Hz 50 |
The technical information are situated in the rating plate, on the external or
internal side of the appliance and in the energy label.
11. ENVIRONMENT CONCERNS
Recycle the materials with the symbol
Put the packaging in applicable containers to recycle it. Help protect the environment and human health and to recycle waste of electrical and electronic appliances. Do not dispose appliances
marked with the symbol with the household waste. Return the product to your local recycling facility or contact your municipal office.
TABLE DES MATIÈRES
- CONSIGNES DE SECURITE 23
- INSTRUCTIONS DE SÉCURITÉ 24
- FONCTIONNEMENT 26
- UTILISATION QUOTIDIENNE 30
- CONSEILS 31
- ENTRETIEN ET NETTOYAGE 33
- EN CAS D'ANOMALIE DE FONCTIONNEMENT 34
- INSTALLATION 37
9.BRUITS 42
10.CARACTERISTIQUES TECHNIQUES 43
NOUS PENSES À VOUS
Sous reserve de modifications.
EasyManual