FI2212NDV - Kühlschrank ELECTROLUX - Kostenlose Bedienungsanleitung
Finden Sie kostenlos die Bedienungsanleitung des Geräts FI2212NDV ELECTROLUX als PDF.
Benutzerfragen zu FI2212NDV ELECTROLUX
0 Frage zu diesem Gerät. Beantworten Sie die, die Sie kennen, oder stellen Sie Ihre eigene.
Eine neue Frage zu diesem Gerät stellen
Laden Sie die Anleitung für Ihr Kühlschrank kostenlos im PDF-Format! Finden Sie Ihr Handbuch FI2212NDV - ELECTROLUX und nehmen Sie Ihr elektronisches Gerät wieder in die Hand. Auf dieser Seite sind alle Dokumente veröffentlicht, die für die Verwendung Ihres Geräts notwendig sind. FI2212NDV von der Marke ELECTROLUX.
BEDIENUNGSANLEITUNG FI2212NDV ELECTROLUX
1.SICHERHEITSINFORMATIONEN 46
2.SICHERHEITSANWEISUNGEN 47
3.BEDIENUNG 49
4. TÄGLICHER GEBRAUCH 52
5. TIPPS UND HINWEISE 54
6. REINIGUNG UND PFLEGE 56
7. FEHLERSUCHE 57
8.MONTAGE 60
9.GERÄUSCHE 65
10. TECHNISCHE DATEN 66
WIR DENKEN AN SIE
Vielen Dank, dass Sie sich für ein Gerät von Electrolux entschieden haben. Sie haben ein Produkt gewählt, hinter dem Jahrzehntelange professionelle Erfahrung und Innovation stehen. Bei der Entwicklung theses großartigen und eleganten Geräts haben wir an Sie gedacht. So haben Sie bei jedem Gebrauch die Gewissheit, dass Sie stets großartige Ergebnisse erzielen werden.
Willkommen bei Electrolux.
Besuchen Sie uns auf unserer Website, um:

Anwendungshinweise, Prospekte, Fehlerbehebungs- und Service
Informationen zu erhalten:
www.electrolux.com

Ihr erworbenes Produkt zu registrieren, um den besten Service davon zu gewährleisten:
www.registerelectrolux.com

Zubehor, Verbrauchsmaterial und Original-Ersatzteile für Ihr Gerät zu erwerben:
www.electrolux.com/shop
REPARATUR- UND KUNDENDIENST
Bitte verwenden Sie ausschließlich Original-Ersatzteile für ihre Produkte.
Halten Sie folgende Angaben bereit, wenn Sie sich an den Kundendienst wenden Modell, Produktnummer (PNC), Seriennummer.
These Informationen find Sie auf dem Typenschild.
! Warnungs-/ Sicherheitshinweise
Allgemeine Informationen und Empfehlungen
Informationen zum Umweltschutz
Änderungen vorbehalten.
1. SICHERHEITSINFORMATIONEN
Lesen Sie vor der Montage und dem Gebrauch des Geräts zuerst die Gebrauchsanleitung. Der Hersteller übernimmt keine Verantwortung für Verletzungen und Beschädigungen durch unsachgemäße Montage. Bewahren Sie die Gebrauchsanleitung griffbereit auf.
1.1 Sicherheit von Kindern und schutzbedürftigen Personen
- Das Gerät kann von Kindern ab 8 Jahren und Personen mit eingeschrankten physischen, sensorischen oder geistigen Fähigkeiten oder mit mangelnder Erfahrung und/oder mangelndem Wissen nur dann verwendet werden, wenn sie durch eine für ihre Sicherheit zuständige Person beaufsichtigt werden oder in die sichere Verwendung des Geräts eingewiesen wurden und die mit dem Gerät verbundenen Gefahren verstanden haben.
- Kinder dürfen nicht mit dem Gerät speiten.
- Wartung oder Reinigung des Geräts)dürfen nicht von Kindern ohne Aufsicht erfolgen.
- Alle Verpackungsmaterialien von Kindern fernhalten.
1.2 Allgemeine Sicherheit
- Dieses Gerät ist für die Verwendung im Haushalt und ähnliche Zwecke vorgesehen, wie z. B.:
-Bauernhöfe, Personalkuchenbereiche in Geschäfts, Buros und anderen Arbeitsumfeldern
-Für Gäste in Hotels, Motels, Pensionen und anderen wohnungsähnlichen Räumlichkeiten - Achten Sie darauf, dass die Belüftungsöffnungen im Gehäuse, um das Gerät und in der Einbaunische nicht blockiert sind.
- Versuchen Sie nicht, den Abtauvorgang durch andere als vom Hersteller empfohlene mechanische oder sonstige Hilfsmittel zu beschleunigen.
-
Beschädigen Sie nicht den Kältekreislauf.
-
Betreiben Sie in den Lebensmittelfächern des Geräts keine anderen als die vom Hersteller empfohlenen Elektrogeräte.
- Reinigen Sie das Gerät nicht mit einem Wasser- oder Dampfstrahl.
- Reinigen Sie das Gerät mit einem weichen, feuchten Tuch. Verwenden Sie ausschließlich Neutralreiniger. Benutzen Sie keine Scheuermittel, scheuernde Reinigungsschwämchen, Lösungsmittel oder Metallgegenstände.
Bewahren Sie in dem Gerät keine explosiven Substanzen, wie Spraydosen mit entzündlichen Treibgasen auf. - Wenn das Netzkabel beschädigt ist, muss es vom Hersteller, seinem autorisierten Kundenservice oder einer gleichermaßen qualifizierten Person ausgetauscht werden, um Gefahrenquellen zu vermeiden.
2. SICHERHEITSANWEISUNGEN
2.1 Montage

WARNING!
Nur eine qualifizierte Fachkraft darfen elektrischen Anschluss des Geräts vornehmen.
- Entfernen Sie das
Verpackungsmaterial. - Stellen Sie ein beschädigtes Gerät nicht auf und benutzen Sie es nicht.
- Halten Sie sich an die mitgelieferte Montageanleitung.
- Seien Sie beim Umsetzen des Geräts vorsichtig, Denn es ist schwer. Tragen Sie stets Sicherheitshandchuhe.
-
Stellen Sie sicher, dass die Luft um das Gerät zirkulieren kann.
Warten Sie mindestens 4 Stunden, bevor Sie das Gerät an das Stromnetz anschließen. Dies ist erforderlich, damit das Öl in den Kompressor zugrückflieben kann. -
Stellen Sie das Gerät nicht in der Nähe von Heizkörpern, Herden, Backöfen oder Kochfeldern auf.
Die Geräterückseite muss gegen die Wand gestellt werden. - Stellen Sie das Gerät nicht dört auf, wo es direktem Sonnenlicht ausgesetzt sein können.
- Stellen Sie das Gerät nicht an zu feuchten oder kalten Orten auf, wie z. B. in Nebengebäuden, Garagen oder Weinkellern.
- Wenn Sie das Gerät verschiben möchten, haben Sie esitte an der Vorderkante an, um den Fußboden nicht zu verkratzen.
2.2 Elektrischer Anschluss

WARNING!
Brand- und
Stromschlaggefahr.
- Das Gerät muss geerdet sein.
- Stellen Sie sicher, dass die elektrischen Daten auf dem
Typenschild den Daten Ihrer
Stromversorgung entsprechen.
Wenden Sie sich andernfalls an eine Elektrofachkraft.
Schlieben Sie das Gerät nur an eine
ordnungsgemäß installierte
Schutzkontaktsteckdose an.
- Verwenden Sie keine
Mehrfachsteckdosen oder Verlängerungskabel.
- Achten Sie darauf, elektrische
Bauteile (wie Netzstecker, Netzkabel und Kompressor) nicht zu
beschädigen. Wenden Sie sich an den autorisierten Kundendienst oder einen Elektriker, um die elektrischen Bauteile auszutauschen.
- Das Netzkabel muss unterhalb des
Netzsteckers verlegt werden.
- Stecken Sie den Netzstecker erst
nach Abschluss der Montage in die Steckdose. Stellen Sie sicher, dass der Netzstecker nach der Montagenoch zuganglich ist.
- Ziehen Sie nicht am Netzkabel, wenn
Sie das Gerät von der
Stromversorgung trennen möchten.
Ziehen Sie stets am Netzstecker.
2.3 Verwendung

WARNING!
EsbestehtVerletzungs-.
Verbrennungs-,
Stromschlag- und
Brandgefahr.
- Nehmen Sie keine technischen
Anderungen am Gerät vor.
- Stellen Sie keine elektrischen Geräte
(z. B. Eisbereiter) in das Gerät, wenn
solche Geräte nicht ausdrücklich vom
Hersteller für diesen Zweck
zugelassen sind.
- Achten Sie daraufuf, den Kältekreislauf
nicht zu beschädigen. Er enthalt
Isobutan (R600a), ein Erdgas mit
einem hohen Grad an
Umweltverträglichkeit. Dieses Gas ist
brennbar.
- Wird der Kältekreislauf beschädigt,
stellen Sieitte sicher,dass es keine Flammen und Zündquellen im Raum gibt.Beluften Sie den Raum.
- Stellen Sie keine—heifen
Gegenstände auf die Kunststoffeile des Geräts.
- Legen Sie Erfrischungsgetränke nicht
in das Gefrierfach. Dadurch entsteht
Druck auf den Getränkebehälter.
Bewahren Sie keine entzündbaren
Gase und Flüssigkeiten im Gerät auf.
- Platzieren Sie keine entflammbaren
Produkte oder Gegenstände, die mit
entflammbaren Produkten benetzt
sind, im Gerät, auf dem Gerät oder in
der Nae des Gerats.
- Berühren Sie nicht den Kompressor
oder den Kondensator. Sie sind heiB.
- Nehmen Sie keine Gegenstände aus
dem Gefrierfach bzw. berühren Sie
diese nicht, falls ihre Hande nass
oder feucht sind.
Frieren Sie aufgetaute Lebensmittel
nicht wieder ein.
- Befolgen Sie die Hinweise auf der
Verpackung zur Aufbewährung
tiefgekuhlter Lebensmittel.
2.4 Reinigung und Pflege

WARNING!
Verletzungsgefahr sowie
Risiko von Schaden am
Gerät.
Schalten Sie das Gerät immer aus
undziehenSiedenNetzsteckeraus derSteckdose,behvor
Reinigungsrarbeitendurchgeführt
werden.
- Der Kältekreis des Gerätes enthalt
Kohlenwasserstoffe. Das Gerät mus
von einer qualifizierten Fachkraft
gewartet und nachgefüllt werden.
- Prufen Sie regelmäßig den
Wasserabfluss des Gerats und
reinigen Sie ihn gegebenenfalls. Bei
verstopftem Wasserabfluss sammelt
sich das A
2.5 Entsorgung

WARNING!
Verletzungs- und
Erstickungsgefahr.
- Trennen Sie das Gerät von der
Stromversorgung.
- Schneiden Sie das Netzkabel ab, und entsorgen Sie es.
- Entfernen Sie die Tur, um zuverhindern, dass sich Kinder oder Haustiere in dem Gerät einschließlich.
- Der Kältekreislauf und die Isolierungsmaterialien these Gerätes sind ozonfreiendlich.
Die Isolierung enthalt entsündliches Gas. Für Informationen zur korrekten
Entsorgung des Gerätes wenden Sie sich an ihreCOMMUNALE Behörde.
- Achten Sie darauf, dass die Kühleinheit in der Höhe des Wärmetauschers nicht beschädigt wird.
3. BEDIENUNG
3.1 Bedienfeld

1 Display
5 Kuhlraum-Taste
2 DrinksChill -Taste und ON/OFF-Taste
6 Gefrierraum-Taste
3 Taste zum Senken der Temperatur
7 Taste Mode
4 Taste zum Erhöhen der Temperatur
Display

A) Kühlraum-Temperaturanzeige
G) Gefrierschrankmodus EcoMode
B) Kuhlraum-AUS-Anzeige
H) Funktion FreeStore
C) Holiday -Modus
I) Gefrierraum-Temperaturanzeige
D) Kuhlschrankmodus EcoMode
J) DrinksChill-Modus
E) ShoppingMode
K) Funktion FreeStore
F) Alarmanzeige

Nach der Auswahl des Kuhloder Gefrierraums wird die Animation gestartet.
Nach der Auswahl der Temperatur blinkt die Animation的一些Minute Minuten lang.
3.2 Einsatzen des Geräts
Steen Sie den Netzstecker in die Netzsteckdose
- Drücken Sie ON/OFF, wenn das Display ausgeschaltet ist.
Die Temperaturanzeigen zeigen die jeweils eingestellte Standardtemperatur an. - Nach ein paar Sekunden ertont möglicherweise ein akustisches Alarmsignal. Wie Sie den Alarm ausschalten, erfahren Sie unter "Temperaturwarnung". Wenn auf dem Display "DEMO" angezeigt wird, befindet sich das Gerät im Demo-Modus. Siehe hierzu "Fehlersuche".

Informationen zur Auswahleiner anderen Temperaturfinden Sie unter, "Temperaturregelung".
3.3 Ausschalten des Geräts
Halten Sie ON/OFF 3 Sekunden gedrückt.
Das Display wird ausgeschaltet.
Ziehen Sie den Gerästecker aus der Steckdose, um das Gerät vom Netz zu trennen.
3.4 Ausschalten des Kühlschranks
Drucken Sie zum Ausschalten des Kühlschranks die Taste des Kuhlraums keine Sekunden.
Die Kuhlraumanzeige OFF erscheint.
3.5 Einschalten des Kuhlschranks
Drucken Sie zum Einschalten des Kühlschranks die Taste des Kuhlraums. Die Kuhlraumanzeige OFF erlischt.

Informationen zur Auswahleiner anderen Temperaturfinden Sie unter, "Temperaturregelung".
3.6 Temperaturregelung
- Wahlen Sie den Kuhl- oder Gefrierraum aus.
- Drucken Sie die Temperaturtaste, um die Temperatur einzustellen.
- Stellen Sie die Standardtemperatur ein: +4^ für den Kühlschrank und -18^ für das Gefriergerät. Die eingestellte Temperatur wird innerhalb von 24 Stunden erreicht.
Die Temperaturanzeigen zeigen die eingestillten Temperaturen an.

Nach einem Stromausfall bleibt die eingestellte Temperatur gespeichert.
3.7 Funktion FreeStore
Durch das Einschalten der Funktion FreeStore erhöht sich der Energieverbrauch.

Wird die Funktion automatisch eingeschaltet, leuchtet die Anzeige FreeStore nicht (siehe „Täglicher Gebrauch").
- Drücken Sie zum Einsatzen der Funktion Mode, bis das entsprchende Symbol leuchtet.
- Drücken Sie zum Ausschalten der Funktion Mode, um eine andere Funktion zu wahlen oder drücken Sie Mode, bis kein Symbol angezeigt wird.
3.8 ShoppingMode
Wenn Sie zum Beispiel nach einem Einkauf größere Mengen warmer Lebensmittel einlagen möchten,
empfehlen wir die Aktivierung der Funktion ShoppingMode, um die Produkte schneller zu kühlen und um zu vermeiden, dass die bereits im Kühlschrank befindlichen Lebensmittel erwartet werden.
Die Funktion ShoppingMode wird nach etwa 6 Stunden automatisch abgeschaltet.
- Drücken Sie zum Einsatzen der Funktion Mode, bis das entsprchende Symbol leuchtet.
Die ShoppingMode-Anzeige leuchtet. - Drücken Sie Mode, um die Funktion auszuschalten und eine andere Funktion zu wahren oder drücken Sie Mode, bis kein Symbol angezeigt wird.
Die ShoppingMode-Anzeige erlischt.

Die Funktion wird durch die Auswahl einer anderen Temperatur für den Kühraum ausgeschaltet.
3.9 Holiday-Modus
Mit dieser Funktion konnen Sie den Kühlschrank über langere Zeit mit geschlossener Tur leer stehen让他们, ohne dass sich ein unangenehmer Geruch entwickelt.

Der Kuhlraum muss leer sein, wenn die Holiday-Funktion eingeschaltet wird.
- Drücken Sie zum Einschalten der Funktion Mode, bis das entsprechende Symbol leuchtet.
Die Holiday-Anzeige leuchtet.
Die Kühlraum-Temperaturanzeige zeigt die eingestellte Temperatur an. - Drücken Sie zum Ausschalten der Funktion Mode, um eine andere Funktion zu wahren oder drücken S Mode, bis kein Symbol angezeigt wird.
Die Holiday -Anzeige erlischt.

Die Funktion wird durch die Auswahl einer anderen Temperatur für den Kühraum ausgeschaltet.
3.10 DrinksChill-Modus
Mit dem Modus DrinksChill lasst sich ein Alarmton einstellen, der zu der gewünschten Zeit ertont. Dies ist zum Beispiel praktisch, wenn ein Gericht eine gewisse Zeit abkühlen muss oder Sie die Flaschen, die Sie für einechnellere Kuhlung in den Gefrierraum gelegt haben, nicht vergessen möchten.
- Drucken Sie zum Einsatzen der Funktion DrinksChill. Die Anzeige DrinksChill erscheint. Der Timer zeigt die eingestellte Zeit (30 Minuten) an.
- Drucken Sie die Tasten zur Erhöhung bzw. Verringerung der Temperatur, um den Timer auf 1 bis 90 Minuten einzustellen. Die Timer-Anzeige (min). entscheid. Nach Ablauf des Countdowns blinkt die Anzeige DrinksChill und es ertont ein Alarmsignal.
- Entnehmen Sie die Getränke aus dem Gefrierraum.
- Schalten Sie den Alarmton und die Funktion mit DrinksChill aus.

These Funktion kann während des Countdowns jederzeit durch Drucken von DrinksChill ausgeschaltet werden. Die Anzeige DrinksChill erlischt.

Die Zeit kann während des Countdowns geändert werden, indem Sie die Tasten zur Erhöhung und Verringerung der Temperatur drucken.
3.11 FastFreeze-Modus
These Funktion endet automatisch nach 52 Stunden.
- Einschalten der Funktion: a. Wahlen Sie den Gefrierraum aus. b. Drucken Sie Mode, bis das entsprechende Symbol angezeigt wird.
Die FastFreeze-Anzeige erscheint.
- Zum Ausschalten der Funktion vor ihrer automatischen Abschaltung:
a. Wahlen Sie den Gefrierraum aus.
b. Drücken Sie zum Ausschalten der Funktion Mode, um eine andere Funktion zu wahlen oder drücken Sie Mode, bis kein Symbol angezeigt wird.
Die FastFreeze-Anzeige erlischt.

Die Funktion wird durch die Auswahl einer anderen Gefriertemperatur ausgeschaltet.
3.12 EcoMode
Wahlen Sie für die optimale Nahrungsmittellagerung die Funktion EcoMode.
- Einsatzen der Funktion:
a. Wahlen Sie den Kuhl- oder Gefrierraum aus.
b. Drücken Sie Mode, bis das entsprechende Symbol angezeigt wird.
Die Temperaturanzeige zeigt die für den Kühlschrank eingestellte Temperatur an: +4^ und für den Gefrierschrank: -18 ^ C
Die EcoMode Anzeige erscheint.
2. Ausschalten der Funktion:
a. Wahlen Sie den Kuhl- oder Gefrierraum aus.
b. Drücken Sie Mode, um die Funktion auszuschalten und eine andere Funktion zu wahren oder drücken Sie Mode, bis kein Symbol angezeigt wird.
Die Anzeige EcoMode erlischt.

Die Funktion wird durch die Auswahl einer anderen Temperatur ausgeschaltet.
4. TÄGLICHER GEBRAUCH

WARNING!
Siehe Kapitel
Sicherheitshinweise.
3.13 Temperaturwarnung
Ein Anstieg der Temperatur in Gefrierraum (zum Beispiel aufgrund eines früheren Stromausfalls oder einer geöffneten Geräteur) wird wie folgt angezeigt:
- Blinkende Alarm- und Temperaturanzeige des Gefriergeräts.
- Ertönen eines Summers.
Drucken Sie eine beliebige Taste, um den Alarm auszuschalten. Der Summer wird abgeschaltet.
Die Temperaturanzeige des Gefriergerats zeigt die hochste erreichte Temperatur ein paar Sekunden lang an. Danach zeigt sie wieder die eingestellte Temperatur an.
Die Alarmanzeige blinkt so lange, bis die normalen Bedingungen wiederhergestellt sind.

Danach erlischt die Alarmanzeige.
3.14 Alarm Turr offen
Es ertont ein Alarmsignal, wenn die Türe eine Minute lang offen staat. Der Alarm „Tür offen" wird wie folgt angezeigt:
Blinkende Alarmanzeige
- Akustisches Signal
Sobald der Normalzustand wieder hergestellt ist (Tür geschlossen), wird der Alarm ausgeschaltet. In der Alarmphase kann das akustische Alarmsignal durch Drücken einer beliebigen Taste ausgeschaltet werden.
4.1 Einfrieren frischer Lebensmittel
Der Gefrierraum eignet sich zum Einfrieren von frischen Lebensmitteln und zum längerfristigen Lager von bereits gefrorenen und tiefgefrorenen Lebensmitteln.
Für das Einfrieren einer kleinen Menge frischer Lebensmittel ist keine Änderung der Einstellung erforderlich.
Um frische Lebensmittel einzufrierten, schalten Sie die Funktion FastFreeze ein, mindestens 24 Stunden bevor Sie die einzufrierenden Lebensmittel in das Gefrierfach legen.
Legen Sie die einzufrierenden Lebensmittel in das oberste Fach.
Die maximale Menge an Lebensmitteln, die in 24 Stunden eingefroren werden kann, ist auf dem Typenschild angegeben, das sich im Innern des Gerätes befindet.
Der Gefriervorgang dauert 24 Stunden:
Legen Sie während theses Zeitraums
keine weiteren einzufrierenden
Lebensmittel in das Gerät.
Stellen Sie nach Abschluss des Gefriervorgangs wieder die gewünschte Temperatur ein (siehe „ Funktion FastFreeze").

Unter diesen Umständen kann die Temperatur im Kühlschrank unter 0^ fallen. Ist dies der Fall, stellen Sie den Temperaturregler auf eine wärmere Einstellung.
4.2 Lagern von gefrorenen Lebensmitteln
Lassen Sie das Gerät vor der ersten Inbetriebnahme oder nach einer Zeit, in der das Gerät nicht benutzt wurde, mindestens 2 Stunden lang mit higherer Einstellung laufen, bevor Sie Lebensmittel in das Gefrierfach legen.

Kam es zum Beispiel durch einen Stromausfall, der länger dauerte als der in der Tabelle mit den technischen Daten angegebene Wert (siehe „Lagerzeit bei Störung”), zu einem ungewollen Abtauen, dann müssen die aufgetauten Lebensmittel sehr rasch verbraucht oder sofort gekocht und nach dem Abkühlen erneut eingefroren werden.
4.3 Abtauen
Tiefgefrorene oder gefrorene Lebensmittel konnen vor der Verwendung je nach der zur Verfügung stehenden Zeit im Kühlschrank oder bei Raumtemperatur aufgetaat werden.
Kleinere Gefriergutteile konnen sogardirekt aus dem Gefriergerat entnommenund anschlieBend sofort gekocht werden. In thisem Fall dauert der Garvorgandallerdings etwas länger.
4.4 Kälteakkus
Das Gefriergerät verfügt über mindestens einen Kälteakku, der die Lagerzeit im Falle eines Stromausfalls oder Geräteausfalls verlangert.
4.5 Verstellbare Ablagen

Die Wände des Kühlschranks sind mit einer Anzahl von Führungsschienen ausgestattet, die verschiedene Mochigkeiten für das Einsetzen der Ablagen bieten.
4.6 Positionierung der Turablagen
Die Turablagen können in verschiedener Höhe positioniert werden; damit ermögliches sie das Lagern verschieten großer Lebensmittelpackungen.
- Ziehen Sie die Ablage langsam in Pfeilrichtung, bis sie sich lost.
- Setzen Sie die Ablage in der gewünschten Höhe wieder ein.


Die untere Turablagesolle nicht verstellt werden, um eine korrekte Luftzirkulation zu gewährleisten.
4.7 FreeStore
Der Kühlschrank ist mit einer Vorrichtung ausgestattet, die für eine rasche Kuhlung
5. TIPPS UND HINWEISE
5.1 Normale Betriebsgeräusche
Folgende Geräusche sind während des normalen Gerätebetriebs normal:
- Ein leichtes Gurgeln und Blubbern, wenn das Kältemittel durch die Leitungen gespumpt wird.
- Ein Surren und ein pulsierendes Gerausch vom Kompressor, wenn das Kaltemittel durch die Leitungen gespumpt wird.
- Ein plötzliches Knackgeräusch aus dem Geräteinneren, verursacht durch thermische Ausdehnung (eine
der Lebensmittel und eine gleichmäßige Temperatur im Innenraum sorgt.
Bei Bedarf schaltet sich diese Vorrichtung selbsttätig ein, z. B. zur raschen Wiederherstellung der Temperatur, nachdem die Tur geöffnet wurde, oder wenn die Umgebungstemperatur hoch ist.

Sie konnen die Funktion bei Bedarf manuell einschalten (siehe „Funktion FreeStore").

Die Funktion FreeStore schaltet sich ab, wenn die Tur geöffnet wird, und schaltet sich wieder ein, sobald die Tur geschlossen wird.
naturliche und nicht gefährliche physikalische Erscheinung).
Leises Klicken des Temperaturreglers, wenn sich der Kompressor ein- oder ausschaltet.
5.2 Energiespartipps
- Offnen Sie die Tur nicht zu halten undlassen Sie diese nicht länger offen als notwendig.
- Nehmen Sie die Kälteakkus (falls vorhanden) nicht aus dem Gefrierkorb.
5.3 Hinweise für die Kuhlung frischer Lebensmittel
So erzielen Sie die besten Ergebnisse:
- Legen Sie keine warmen Lebensmittel oder dampfende Flüssigkeiten in den Kühlschrank.
- Decken Sie die Lebensmittel ab oder verpacken Sie diese entsprechend, verbesserten wenn sie stark riechen.
- Legen Sie die Lebensmittel so hinein, dass um sie Luft frei zirkulieren kann.
5.4 Hinweise für die Kuhlung
Tipps:
- Fleisch (alle Sorten): Verpacken Sie Fleisch in einem Frischhaltebeutel und legen Sie diesen auf die Glasablage über der Gemüseschublade.
- Bitte lagern Sie Fleisch aus Sicherheitsgründen nur einen oder maximal zwei Tage auf diese Weise.
Gekochte Lebensmittel, kalte Gerichte usw.: These sollen abgedeckt auf eine der Ablagen gelegt werden. - Obst und Gemüse: Gründlich reinigen und in die darauf vorgesehene(n) Schublade(n) legen.
Butter und Kase: These sollen stets in speziellen luftdichten Behältern verpackt sein oder in Aluminiumfolie bzw. in lebensmittelechte Tuten eingepackt werden, um so weniger Luft wie möglich in der Verpackung zu haben. - Flaschen: Sie sollen mit Deckel in der Flaschenablage in der Tur oder im Flaschenhalter (falls vorhanden) aufbewahrt werden.
- Bananen, Kartoffeln, Zwiebeln und Knoblauch sollenen im Kühlschrank nicht unverpackt aufbewahrt werden.
5.5 Hinweise zum Einfrieren
Im Folgenden finden Sie eine wertvolle Tipps für einen optimalen Gefriervorgang:
Die maximale Menge an Lebensmitteln, die in 24 Stunden eingefroren werden kann, ist auf dem Typenschild angegeben.
- Der Gefriervorgang dauert 24 Stunden. Legen Sie während these Zeitraums keine weiteren einzufrierenden Lebensmittel in das Gefrierfach.
- Frieren Sie ausschließlich frische und gründlich gewaschene Lebensmittel von sehr guter Qualität ein.
- Teilen Sie die Lebensmittel in keinere Portionen ein, damit diese schnell und vollständig gefrierten und Sie später nur die Menge auftauen müssen, die Sie benötigen.
- Verpacken Sie die einzufrierenden Lebensmittelpportionen stets luftdicht in Alufolie oder in Gefrierbeuteln und achten Sie daraufuf, dass die Verpackung so weniger Luft wie möglich enthalt.
- Achten Sie beim Hineinlegen von frischen, noch ungefrorenen Lebensmitteln daraufuf, dass sie keinen Kontakt mit Gefriergut besteht, da diese sonst antauen konnte.
- Magere Lebensmittelleen sich better und länger als fetthaltige lagern; durch Salz wird die maximale Lagerungsduer verkurzt.
- Wird Wassereis direkt nach der Entnahme aus dem Gefrierfach verzehrt, kann dies zu Frostbrand auf der Haut führen.
- Es empfeihlt sich, das Einfrierdatum auf jeder einzeln Packung zu notieren, um einen genauen Überblick über die Lagerzeit zu haben.
5.6 Hinweise zur Lagerung gefrorener Lebensmittel
So erzielen Sie die besten Ergebnisse mit Ihrrem Gerät:
Vergewisern Sie sich, dass die gefrorenen Lebensmittel vom Handler angemessen gelagert wurden.
- Achten Sie unbedingt darauf, die eingekauften gefrorenen Lebensmittel in der kürzest möglichen Zeit zum Gefriergerät zu bringen.
- Offnen Sie die Tur nicht zu halten, undlassen Sie die Tur nicht länger offen als notwendig.
- Aufgetaute Lebensmittel verderben sehr Schnell und eignen sich nicht für ein erneutes Einfrieren.
Das Haltbarkeitsdatum auf der Tiefkuhlkestverpackungarf nicht ubersritten werden.
6. REINIGUNG UND PFLEGGE

WARNING!
Siehe Kapitel
Sicherheitshinweise.
6.1 Allgemeine Warnhinweise

ACHTUNG!
Ziehen Sie vor jeder Wartungsmaßnahme immer den Netzstecker aus der Steckdose.

Dieses Gerät enthalt Kohlenwasserstoffe in seinem Kältekreislauf. Aus dieser dem Grund dürfen die Wartung und das Nachfüllen ausschließlich durch autorisiertes Fachpersonal erfolgen.

Das Zubehör des Geräts und die Innenteile eigenn sich nicht für die Reinigung im Geschirrspüler.
6.2 Regelmäßige Reinigung

ACHTUNG!
Ziehen Sie nicht an Leitungen und/oder Kabeln im Innern des Geräts und achten Sie darauf, diese nicht zu verschiben oder zu beschädigen.

ACHTUNG!
Bitte achten Sie darauf, das Kühlsystem nicht zu beschädigen.

ACHTUNG!
Wenn Sie das Gerät
verschieben möchten, haben
Sie esitte an der
Vorderkante an, um den
Fußboden nicht zu
verkratzen.
Das gesamte Gerät muss regelmäßig gereinigt werden:
- Reinigen Sie die Innenseiten und die Zubehörteile mit lauwarmem Wasser und etwas Neutralseife.
- Prufen und saubern Sie die Turdichtungen in regelmäßigen Abständen, um zu gewährleisten, dass diese sauber und frei von Fremdkörpersn sind.
- Spülen und trocknen Sie diese sorgfältig ab.
- Reinigen Sie den Kondensator und den Kompressor auf der Geräterückseite, falls diese zugänglich sind, mit einer Bürste. Dadurch verbessert sich die Leistung des Geräts und es verbraucht weniger Strom.
6.3 Abtauen des Kühlschranks
Bei normalem Betrieb wird Reif bei jedem Anhalten des Kompressors automatisch vom Verdampfer des Kühlschranks entfernt. Das Tauwasser sammelt sich in einer Auffangrinne und lauft durch eine Abflussöffnung in einen speziellen Behälter an der Rückseite des Geräts über dem Kompressor, wo es verdampft.
Reinigen Sie deshalb regelmäßige die Abflussöffnung in der Mitte der Auffangrinne an der Rückwand des Kühlraums, damit das Tauwasser nicht überlauf und auf die gelagerten Lebensmittel tropf.

6.4 Abtauen des Gefriergerats
Das Gefrierfach ist ein NoFrost-Fach. Das bedeutet, dass sich während des Betriebs weder an den Innewänden noch an Lebensmitteln Reif bilden kann.
Die Reinfeldung wird durch die kontinuierliche, von einem automatisch geregelten Ventilator gesteuerte Luftzirkulation im Inneren des Gefrierraums verhindert.
6.5 Stillstandszeiten
Bei längerem Stillstand des Geräts müssen Sie folgende Vorkehrungen treffen:
- Trennen Sie das Gerät von der Netzstromversorgung.
- Entnehmen Sie alle Lebensmittel.
- Reinigen Sie das Gerät und alle Zubehörteile.
- Lassen Sie die Tur(en) offen, um das Entstehen unangenehmer Gerüche zu vermeiden.

WARNING!
Möchten Sie bei einer längeren Abwesenheit das Gerät weiterlaufen setzen, bitten Sie jemanden, gelegentlich die Temperatur zu prufen, damit das Kühlgut bei einem möglichen Stromausfall nicht im Inneren des Geräts verdirbt.
7. FEHLERSUCHE

WARNING!
Siehe Kapitel
Sicherheitshinweise.
7.1 Was tun, wenn ...
| Problem Mögliche Ursache Abhilfe | ||
| Das Gerät faktioniert nicht. | Das Gerät ist ausgeschaltet. | Schalten Sie das Gerät ein. |
| Der Netzstecker wurde | nicht richtig in die Steck-dose gesteckt. | Steen Sie den Netzstecker richtig in die Steckdose. |
| Es liegt keine Spannung | an der Steckdose an. | Testen Sie, ob ein anderes Gerät an dieser Steckdose faktioniert. Wenden Sie sich an eine Elektrofachkraft. |
| Das Gerät erzeugt Geräu-sche. | Das Gerät ist nicht ord-nungsgemäß aufgestellt. | Kontrollieren Sie, ob das Gerät stabil stehen. |
| Es wird ein akustisches oder optisches Alarmsignal ausgelöst. | Das Gerät wurde erst kürzlich eingeschaltet oder die Temperatur ist noch zu hoch. | Siehe „Alarm Tür offen“ oder „Temperaturwarnung". |
| Die Temperatur im Gerät ist zu hoch. | Siehe „Alarm Tür offen“ oder „Temperaturwarnung". | |
| Die Tür ist geöffnet. Schließen Sie die Tür. | ||
| Die Temperatur im Gerät ist zu hoch. | Wenden Sie sich an einen qualifizierten Elektriker oder die{nachste autorisierte Kundendienstelle. | |
| In der Temperaturanzeige ist ein quadratisches Symbol anstatt der Zahlen zu sehen. | Problem mit dem Temperatur fühler. | Bitte wenden Sie sich an die{nachste autorisierte Kunden-dienststelle (das Kühlsystem hält dazu die eingelagerten Lebensmittel weiterhin kuhl, noch eine Temperaturein-stellung ist nicht mehr möglich). |
| Die Lampe faktioniert nicht. | Die Lampe befindet sich im Standby-Modus. | Schließen und öffnen Sie die Tür. |
| Die Lampe faktioniert nicht. | Die Lampe ist defect. Wenden Sie sich an die{nachste autorisierte Kunden-dienststelle. | |
| Der Kompressor arbeitet ständig. | Die Temperatur ist nicht richtig eingestellt. | Siehe Kapitel „Betrieb". |
| Es wurden zu viele Leben-semittelt gleichzeitig ein-gelegt. | Warten Sie weniger Stunden und prüfen Sie dann die Temperatur erneut. | |
| Die Raumtemperatur ist zu hoch. | Siehe Klimaklasse auf dem Typenschild. | |
| In das Gerät eingelegte | Lebensmittel waren noch zu warm. | Lassen Sie die Lebensmittel vor dem Einlagern auf Raumtemperatur abkühlen. |
| Die Tür ist nicht richtig geschlossen. | Siehe „Schließen der Tür". | |
| Die Funktion FastFreeze ist eingeschaltet. | Siehe „Funktion Fast-Freeze". | |
| Die Funktion Shopping-Mode ist eingeschaltet. | Siehe „Funktion Shopping-Mode". | |
| Der Kompressor schaltet sich nicht那么简单 ein, nach dem Sie FastFreeze gebrachte oder die Soll-Temperatur auf einen anderen Wert eingestellt haben. | Dies ist normal, keine Störung. | Der Kompressor schaltet sich erst nach einer Weile ein. |
| Der Kompressor schaltet sich nicht那么简单 ein, nach dem Sie ShoppingMode gebrachte oder die Soll-Temperatur auf einen anderen Wert eingestellt haben. | Dies ist normal, keine Störung. | Der Kompressor schaltet sich erst nach einer Weile ein. |
| Wasser fließt in den Kühlschrank. | Der Wasserablauf ist ver-stopft. | Reinigen Sie den Wasserablauf. |
| Die eingelagerten Lebensmittel verhindern, dass das Wasser zum Wassersammler fließt. | Stellen Sie safer, dass die Lebensmittel nicht die Rückwand berühren. | |
| Wasser lauft auf den Boden. | Der Tauwasserablauf ist nicht mit der Verdampferschale über dem Kompressor verbunden. | Befestigen Sie den Tauwasserablauf an der Verdampferschale. |
| Die Temperatur{lassst sich nicht einstellen. | Die Funktion FastFreeze oder ShoppingMode ist eingeschaltet. | Schalten Sie die Funktion FastFreeze oder Shopping-Mode manuell aus, oder warten Sie mit dem Einstellung der Temperatur, bis die Funktion automatisch abgeschaltet wurde. Siehe Funktion „FastFreeze oder ShoppingMode". |
| Das Display zeigt DEMO an. | Das Gerät befindet sich im Demo-Betrieb. | Halten Sie Mode etwa 10 Sekunden gedrucht, bis ein langer Signatoren erält und das Display für kurze Zeit ausgeschaltet wird. |
| Die Temperatur im Gerät ist zu hoch/niedrig. | Der Temperaturregler ist nicht richtig eingestellt. | Stellen Sie eine höhere/ niedrigere Temperatur ein. |
| Die Tür ist nicht richtig geschlossen. | Siehe „Schließen der Tür". | |
| Die Temperatur der zu kühlenden Lebensmittel ist zu hoch. | Lassen Sie die Lebensmittel auf Raumtemperatur abkühlen, bevor Sie sie in das Gerät stellen. | |
| Es wurden zu viele Lebensmittel gleichzeitig ein-gelegt. | Legen Sie weniger Lebensmittel gleichzeitig ein. | |
| Die Tür wurde zu früig geöffnet. | Öffnen Sie die Tür nur, wenn notwendig ist. | |
| Die Funktion FastFreeze ist eingeschaltet. | Siehe „Funktion Fast-Freeze". | |
| Die Funktion Shopping-Mode ist eingeschaltet. | Siehe „Funktion Shopping-Mode". | |
| Die Kaltluft kann im Gerät nicht zirkulieren. | Stellen Sie sicher, dass die Kaltluft im Gerät zirkulieren kann. | |

Bitte wenden Sie sich an den nachsten autorisierten Kundendienst, wenn alle genannten Abhilfemaßnahmen nicht zum gewünschten Erfolg führen.
7.2 Austauschen der Lampe
Das Gerät ist mit einer langlebigen LED-Innenbeleuchting ausgestattet.
Die Beleuchtung scarf nur von einer Fachkraft ausgetauscht werden. Wenden
Sie sich an ihren autorisierten Kundendienst.
7.3 Schlieben derTür
- Reinigen Sie die Turdichtungen.
- Stellen Sie die Tur nach Bedarf ein.
Siehe hierzu „Montage". - Ersetzen Sie die defekten Turdichtungen, falls erforderlich. Wenden Sie sich an den autorisierten Kundendienst.
8. MONTAGE
8.1 Standort
Installieren Sie these Gerät in einem trockenen, gut belufteten Raum, in dem die Umgebungstemperatur mit der Klimaklasse übereinstimmt, die auf dem Typenschild des Geräts angegeben ist:
| Klima- Umgebungstemperaturklasse |
| SN +10 °C bis +32 °C |
| N +16 °C bis +32 °C |
| ST +16 °C bis +38 °C |
| T +16 °C bis +43 °C |

Bei einigen Modellen konnen Funktionstörungen auftreten, wenn sie außerhalb desses Temperaturbereichs betrieben werden. Der ordnungsgemäß Betrieb wird nur innerhalb des angegebenen Temperaturbereichs gewährleistet. Bei Fragen zum Aufstellungsord des Geräts wenden Sie sich an den Verkauf, unseren Kundendienst oder nachstgelegenuten autorisierten Service-Partner.
8.2 Elektrischer Anschluss
- Kontrollieren Sie vor der ersten Benutzung des Geräts, ob die Netzspannung und -frequenz Ihres Hausanschlusses mit den auf dem Typenschild angegebenen Anschlusswerten übereinstimmen.
Das Gerät muss geerdet sein. Zu thisem Zweck ist der Netzstecker mit einem Schutzkontakt ausgestattet. Falls die Steckdose Ihres Hausanschlusses nicht geerdet sein sollte, lessen Sie das Gerät gemäß den geltenden Vorschriften von einem qualifizierten Elektriker erden. - Der Hersteller übernimmt keinerlei Haftung bei Missachtung der vorstehenden Sicherheitshinweise.
Das Gerat entspricht den EWGRichtlinien.
8.3 Anforderungen an die Belüftung
Hinter dem Gerät muss genug Platz für eine ausreichende Luftzirkulation sein.


ACHTUNG!
Beachten Sie bei der Installation die Montageanleitung.
8.4 Wechseln des Turanschlags
- Losen und entfernen Sie den oberen Stift.

- Entfernen Sie die obere Tur.
- Nehmen Sie das Distanzstück ab.
- Losen Sie das mittlere Scharnier.

- Entfernen Sie die andere Tur.
- Losen und entfernen Sie den unteren Stift.
- Schrauben Sie den unteren Stift an der gegenüberliegenden Seite an.

- Bringen Sie die andere Tür an.
- Ziehen Sie das mittlere Scharnier fest.
- Setzen Sie das Distanzstück ein.
- Bringen Sie die obere Tur an.
- Ziehen Sie den oberen Stift fest.

Führn Sie eine Endkontrolle durch, um sicherzustellen, dass:
- Alle Schrauben fest angezogen sind;
Die Magnetdichtung am Gerat anliegt.
Die T ur ordnungsgemäß
Öffnet und schließt.
Bei niedrigen
Umgebungstemperaturen (z. B.im Winter) kann es vorkommen,dass die Turdichtung nicht richtig am Gerat anliegt.Warten Sie in thisem Fall ab,bis sich die Dichtung allmählich anpasst. Wenden Sie sichitte an den nachsten autorisierten Kundendienst,falls Sie die offen beschreibenen Tätigkeiten nicht selbst durchfuhren mochten.Ein autorisierter
Kundendiensttechniker wird die Turen dann auf ihre Kosten umbauen.
Achten Sie darauf, dass sich das Netzkabel des Gerats frei bewegen{lsst.
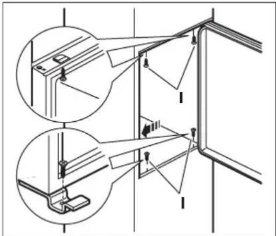
- Schneiden Sie bei Bedarf den Dichtungsstreifen zu und bringen Sieihn am Gerät an, wie in der Abbildung dargestellt.

- Setzen Sie das Gerät in die Einbaunische.
- Schiebern Sie das Gerät in Pfeilrichtung (1), bis die obere Lückenblende am Kuchenmöbel anliegt.

-
Schieben Sie das Gerät auf der den Scharnieren gegenüberliegenden Seite in Pfeilrichtung (2) so welt wie möglich gegen die Seitenwand des Kuchenmobels.
-
Richten Sie das Gerät in der Einbaunische aus.
Vergewissern Sie sich, dass der Abstand zwischen dem Gerät und der Schrankvorderkante 44 mm beträgt.
Mit der unteren Scharnierabdeckung (im Beipack) konnen Sie sicherstellen, dass der Abstand zwischen dem Gerät und dem Kuchenmöbel richtig ist.
Achten Sie daraufuf, dass der Abstand zwischen dem Gerät und dem Schrank 4 mm beträgt.
- Offnen Sie die Tür. Stecken Sie die untere Scharnierabdeckung auf.


7. Befestigen Sie das Gerät mit 4 Schrauben in der Einbaunische.
8. Entfernen Sie das entsprechende Teil aus der Scharnierabdeckung (E). Achten Sie darauf, im Falle eines rechten Scharniers Teil DX bzw. bei einem gegenüberliegenden Scharnier Teil SX zu entfernen.

9. Setzen Sie die beiliegenden Abdeckkappen (C, D) in die Befestigungs- und Scharnierlöcher ein.

10. Bauen Sie das Belüftungsgitter (B) ein.
11. Stecken Sie die Scharnierabdeckungen (E) auf das Scharnier auf.
12. Schlieben Sie das Gerät seitlich wie folgt an das Kuchenmöbel an.
13. Losen Sie die Schrauben von Teil (G) und verschiben Sie Teil (G) zur Kuchenmöbel-Seitenwand.

- Ziehen Sie die Schrauben vom Teil (G) erneut fest.
- Befestigen Sie Teil (H) am Teil (G).
- Trennen Sie die Teile (Ha), (Hb), (Hc) und (Hd) ab.

- Montieren Sie das Teil (Ha) an der Innenseite der Tur des Kuchenmöbels.

- Drucken Sie das Teil (Hc) auf das Teil (Ha).

- Öffnen Sie die Geräte tür und die Möbeltüre in einem Winkel von 90^ .
- Setzen Sie das Führungsstück (Hb) in die Führungsschiene (Ha) ein.
- Halten Sie die Geräteur an die Tur des Kuchenmobels und markieren Sie die Bohrungen.

- Nehmen Sie die Halterungen wieder ab. Markieren Sie 8mm ab der Turaubenkante die Stelle, an der der Nagel (K) eingesetzt werden muss.

- Setzen Sie das Führungsstück erneut auf die Führungsschiene und
schrauben Sie es mit den mitgelieferten Schrauben fest.
- Richten Sie die Tur des Einbaumobels und die Gerätetur mit dem Führungsstück (Hb) aus.

25. Drücken Sie Abdeckung (Hd) auf das Führungsstück (Hb).

Führer Sie eine Endkontrolle durch, um sicherzustellen, dass:
- Alle Schrauben fest angezogen sind.
- Der Dichtungsstreifen sicher am Gerät befestigt ist.
Die Tur ordnungsgemäß öffnet und schließt.
9. GERAUSCHE
Während das Gerät in Betrieb ist, entstehen bestimmte Gerausche (Kompressor und Kühlkreislauf).




10. TECHNISCHE DATEN
10.1 Technische Daten
| Abmessungen der Einbaunische |
| Höhe mm 1780 |
| Breite mm 560 |
| Tiefe mm 550 |
| Lagerzeit bei Störung Stunden 21 |
| Spannung Volt 230 - 240 |
| Frequenz Hz 50 |
Die technischen Daten befinden sich auf dem Typenschild auf der Außen- oder
Innenseite des Gerats sowie auf der Energieplakette.
11. UMWELTTIPPS
Recycleln Sie Materialien mit dem Symbol Entsorgen Sie die Verpackung in den entsprechenden
Recyclingbehältern. Recyclein Sie zum Umwelt- und Gesundheitsschutz elektrische und elektronische Geräte.
Entsorgen Sie Geräte mit diesen Symbol nicht mit dem Hausmüll. Bringen Sie das Gerät zu ihrerörtlichen
Sammelstelle oder wenden Sie sich an Ihr Gemeindeamt.
CONTENIDO
- INFORMACION SOBRE SEGURIDAD 69
- INSTRUCCIONES DE SEGURIDAD 70
- FUNCIONAMENTO 72
4.USO DIARIO 75 - CONSEJOS 77
6.MANTENIMIENTO Y LIMPIEZA. 78
7.SOLUCION DE PROBLEMAS 80 - INSTALLACION 83
- RUIDOS 88
- INFORMACION TECNICA 89
PENSAMOS EN USTED
Gracias por adquirir un aparato Electrolux. Ha escogido un producto que contiene décadas de experiencia e innovación professionnelles. Ingenioso y Elegant, se ha disnéado pensando en usted. Asípus, siempre que lo utilizes, pueda tener la calidad de queSEOSEOSEOSEOSEOSEOSEOSEOSEOSEOSEOSEOSEOSEOSEOSEOSEOSEOSEOSEOSEOSEOSEOSEOSEOSEOSEOSEOSEOSEOSEOSEOSEOSEOSEOSEOSEOSEOSEOSEOSEOSEOSEOSEOSEOSEOSEOSEOSEOSEOSEOSEOSEOSEOSEOSEOSEOSEOSEOSEOSEOSEOSEOSEOSEOSEOSEOSEOSEOSEOSEOSEOSEOSEOSEOSEOSEOSEOSEOSEOSEOSEOSEOSEOSEOSEOSEOSEOSEOSEOSEOSEOSEOSEOSEOSEOSEOSEOSEOSEO SEOEEOSE
EinfachAnleitung