FI2212NDV - Refrigerador ELECTROLUX - Manual de uso y guía de instrucciones gratis
Encuentra gratis el manual del aparato FI2212NDV ELECTROLUX en formato PDF.
Questions des utilisateurs sur FI2212NDV ELECTROLUX
0 question sur cet appareil. Repondez a celles que vous connaissez ou posez la votre.
Poser une nouvelle question sur cet appareil
Descarga las instrucciones para tu Refrigerador en formato PDF gratis! Encuentra tus instrucciones FI2212NDV - ELECTROLUX y toma tu dispositivo electrónico nuevamente en la mano. En esta página están publicados todos los documentos necesarios para el uso de su dispositivo. FI2212NDV de la marca ELECTROLUX.
MANUAL DE USUARIO FI2212NDV ELECTROLUX
Bienvenido a Electrolux.
Consulte en{nuestro sitio web:

Obtener consejos, folletos, soluciones a problemas e informacion de service: www.electrolux.com

Registrar su producto para recibir un mejor servicios: www.registerelectrolux.com

Adquirir accesos, articulos de consumo y recambios originales para su aparato: www.electrolux.com/shop
ATENCION Y SERVICIO AL CLIENTE
Le recomendamos que utilise recambios originales.
Al contactar con nuestro centro autorizo de servicios专业技术o, cerciorese de tener la?sigue informacion a mano: Modelo, PNC,Numero de series.
La información se pueda encontrar en la placá de característica.

Advertencia / Precaución-Informacion sobre seguidad

Información general y consejos

Información sobre el medio ambiente
Salvo modificaciones.
1. INFORMACION SOBRE SEGURIDAD
Antes de instalar y utiliser el aparato, lea atentamente las instrucciones facultadas. El fabricante no se hace responsable de los daños y lesiones causados por una instalación y uso Incorrectos. Guarde siempre las instrucciones jusqu con el aparato para futuras consultas.
1.1 Seguidad de niños y personas vulnerables
- Este electrodomístico puede ser utilisé por niños de 8 años en adelante y personas@cuyas capacidades físicas, sensoriales o mentales estén disminuidas o que carezcan de la experiencia y conocimientos suficientes para manejarlo, siempre queCNTEN con las instrucciones o la supervisión sobre el uso del electrodométrico de forma segura y comprehendan los riesgos.
- Nocede que los niños juguen con el aparato.
- La limpieza y el mantenimiento no podrán realizarlas niños sin supervisión.
- Mantenga los materiales de embalaje fuera del alcance de los niños.
1.2 Instrucciones generales de seguridad
- Este aparato está Concebido para utiliser en aplicaciones domesticas y similares, tales como:
- Granjas; Areas de cocina para el personal en tiendas, ofecinas y otros enterornos de trabajo
- Por clientes en hoteles, moteles, pensiones y o entornos de tipo residencial
- Mantenga libres de obstrucciones las aberturas de ventilacion del alojamento del aparato o de laestructura empotrada.
- No utilise dispositivos mecánicos ni medios artificiales para acelerar el proceso de descogelación, excepto losrecommendedos por el fabricante.
-
No Dane el circuito del refrigerante.
-
No utilise dispositivos electricos dentro de los componentimientos para alimentos del aparato, salvo si son del tipo recomendado por el fabricante.
- No utilise pulverizadores ni vapor de agua para limpiar el aparato.
- Limpie el aparato con un paño suave humedecido. Utilice solo detergentes neutros. No utilize productos abrasivos, estropajosuros, disolventes ni objetos metallicos.
- No almacene sustancias explosivas tales como latas de aerosol con un propulsor inflamable en este aparato.
· Si el cable electrico sufre algunos daño, el fabricante, su servicios专业技术o autorizzato o un professionnelrial综合素质 tendrán que cambiarlo paraatarr riesgos.
2. INSTRUCCIONES DE SEGURIDAD
2.1 Instalación

ADVERTENCIA!
Solo un electricista
cualificado pode instalar
este aparato.
- Retire todo el embalaje
- No instale ni utilizes un aparato danado.
- Siga las instrucciones de instalación suministradas con el aparato.
- El aparato es pesado, tengacuidadosiempre cuando lo mueva. Utilice semipragantes de proteccion.
- Asegürese de que el aire pueda circular alrededor del aparato.
- Espere al menos 4 horas antes de conectar el aparato a la alimentacion electrica. Este es para permitir que el aceite regrese al compresor.
- No instale el aparato cerca de radiadores, cocinas, hornos o plagas de cocción.
- La parte posterior del aparato se debe colocar contra la pared.
- No instale el aparatoonde reciba luz solar directa.
- No Coloque este aparato en lugares demasiado humedes o fríos, como
anexos a una construccion, garajes o bodegas.
- Al mover el aparato, levántelo por el borde frontal para no arañar el suejo.
Riesgo de incendios y descargas electricas.
- El aparato debe conectarse a tierra.
- Asegúrese de que las specifications electrolycas de la placado coinciden con las del suministro electrico de su hogar. En caso contrario,pongase en contacto con un electricista.
- Utilice siempre una toma con aislamento de connexion a tierra correctamente instalada.
- No实用性 adaptadores de enchufes multíques ni cables prolongadores.
-
Asegúrese de no provocar daños en los componentes electricos (como enchufe, cable of alimentación, compresor). Póngase en contacto con un electricista o con el servicios专业技术o autorizzato para Cambiar los componentes electricos.
-
El cable de alimentación debe estar por debajo del nivel del enchufe de alimentación.
- Conecte el enchufe a la toma de corriente únicamente cuando haya terminado la instalación. Asegúrese de tener acceso al enchufe del suministro de red una vez instalado el aparato.
- No desconecte el aparato tirando del cable de connexion a la red. Tire siempre del enchufe.
2.3 Uso

ADVERTENCIA!
Existe riesgo de lesiones, quemaduras, descargas electricas o incendios.
- No cambie las specifications de este aparato.
- El utilizes others aparatos electricos (como migunas de hacer helados) bajo el control de la fabricante, a menos que el fabricante haya autorizado succion
- Tenga cuidado para no darar el circuito de refrigerante. Contiene isobutano (R600a), un gas natural con alto grado de compatibiliad medioambiental. Este gas es inflatable.
- Si se dña el circuito del refrigerante, evite las llamas y fuentes de ignisión en la habitación. Ventile la habitación.
- No toque con elementos calientes las piezas de plástico del aparato.
- No Coloque bebidas con gas en el congelador. Se createa presión en el conteditor de labebida.
- No almacene gas ni liquido inflamable en el aparato.
- No coloque productos inflamables ni objetivos mojados con productos inflamables dentro, cerca o encima del aparato.
- No toque el compresor ni el condensador. Están calientes.
-
No retire ni toque elementos del compartmento congelador con las manos humedes o mojadas.
-
No vuelva a congelar alimentos que se hayan descongelado.
- Siga las instrucciones del envase de los alimentos congelados.
2.4 Mantenimiento y limpieza

ADVERTENCIA!
Podría sufrir lesiones o dañar el aparato.
- Antes de proceder con el mantenimiento, apague el aparato y desconecte el enchufe de la red.
- Este equipo contiene hidrocarburos en launidad de refrigeracion. Solo una personaequalidadeberealizar elmantimiento yla recarga de laidad.
- Examine periodicamente el desaguè del aparato y limpielo si fuera necesario. Si el desaguè se bloquea, el agua descongelada se acumulará en la base del aparato.
2.5 Desecho

ADVERTENCIA!
Existe riesgo de lesiones o asfixia.
- Desconecte el aparato de la red.
Corte el cable de connexion a la red y desechelo. - Retire la puerta paraatar que los niños y las mascotas queden encerrados en el aparato.
- El circuito del refrigerante y los materiales aislantes de este aparato no danan la capa de ozono.
- La espuma aislante contiene gas inflamable. Póngase en contacto con las autoridades locales para saber como deselectar correctamente el aparato.
- No dañe la parte de la unidad de refrigeración que está cerca del intercambiador de calor.
3. FUNCIONAMIENTO
3.1 Panel de control

1 Pantalla
2 Tecla DrinksChill y tecla ON/OFF
3 Tecla de enfiambre de temperatura
4 Tecla de calentimiento de temperatura
5 Tecla del compartmento frigorifico
6 Tecla del compartmento congelador
7 Tecla Mode
Pantalla

A) Indicador de temperatura del frigorífico
B) Indicador de apagado del frigorífico
C) Modo Holiday
D) Frigorífico EcoMode
E) ShoppingMode
F) Indicador de alarma
G) Congelador EcoMode
H) Función FreeStore
I) Indicador de temperatura del congelador
J) Modo DrinksChill
K) Función FreeStore

Tras seleccionar el
compartimento frigorifico o
congelador, empieza la
animacion Tras seleccionar la
temperatura,la animacion
parpadea duranteunos
minutos.
3.2 Encendido
Conecte el enchufe a la toma de corriente
- Pulse la tecla ON/OFF si la pantalla está apagada.
Losindicadores de temperatura muestran la temperatura predeterminada programada.
- Puede que suene la seals acustica de alarma tras uno segundos. Para restuarar la alarma, consulte la seccion "Alarma de temperatura alta". Si "DEMO" aparece en la pantalla, el aparato está en el mode de demostracion.Consulte "Solucion de problemas...

Para programar other temperature, consulte la seccion "Regulacion de la temperatura".
3.3 Apagado
Pulse ON/OFF durante 3 segundos. La pantalla se apaga.
Para desconectar el aparato de la corriente,desconecte el enchufe de la toma de corriente.
3.4 Apagado del frigorífico
Para activar la funciona pulse unoicosegundos la tecla del compartmentofrigorifico.
Aparece el indicator de frigorífico OFF.
Para activar la funciona pulse la tecla del compartmento frigorífico.
El indicator de frigorífico OFF se apaga.

Para programar other temperature, consulte la seccion "Regulacion de la temperatura".
3.6 Regulación de temperatura
- Seleezione el compartmento frigorifico o congelador.
- Pulse la tecla de temperatura para ajustar la temperatura.
- Ajuste la temperatura
predeterminada: +4^ para frigorifico y -18^ para el congelador.
La temperatura programada se alcanca en un plazo de 24 horas.
Losindicadores de temperatura
muestran la temperatura programada.

Después de un corte del suministro electrico, la temperatura ajustada seguarda.
3.7 Función FreeStore
Laactivaciónde lafunciónFreeStore incrementalelconsumo deenergia.

Si la funciona se activa automatically, no se muestra el indicator FreeStore (consulte la section "Uso diario").
- Para encender la funciona, pulse Mode hasta que aparezca el icono correspondiente.
- Para apagar la funciona, pulse Mode para selectionar otra referencia o pulse Mode hasta que no se vea ninguno de los iconos especials.
3.8 ShoppingMode
Si necesita introducir una grancantidad de alimentos calientes, por ejemplo, despues de haber hecho la compra, se aconseja activar la functiOn ShoppingMode para enfiarlos masrapidamente yivorar que suba latemperatura de los que ya se guardan enel frigorifico.
ShoppingMode se desactiva automatistically après deunas 6 horas.
- Para encender la funciona, pulse Mode hasta que aparezca el icono correspondiente.
Se enciende el indicator ShoppingMode.
- Para apagar la funciona, pulse Mode para selectionar otra referencia o pulse Mode hasta que no se vea ninguno de los iconos especials.
El indicator ShoppingMode se apaga.

La funciona se apaga的选择acionando unatemperatura programadadifferente.
3.9 Modo Holiday
Esta funciona permitemanter el frigorifico vacio y cerrado durante periodos de tiempo prolongados sin que se formen malos olores.

El compartmento frigorífico debe estar vacío con la funciona Holiday activada.
- Para encender la funciona, pulse Mode hasta que aparezca el icono correspondiente.
Se enciende el indicator Holiday.
El indicator de temperatura del frigorifico muesra la temperatura programada.
- Para apagar la funciona, pulse Mode para selectionar otra referencia o pulse Mode hasta que no se vea ninguno de los iconos especials.
El indicator Holiday se apaga.

La funciona se apaga的选择acionando unatemperatura programadadifferente.
3.10 Modo DrinksChill
El modo DrinksChill se usa paraaabstar una alarmacástica a la horadescada y esutil, porejemplo,para recetas que precisean el enfiambre deuna mezcla durante un tiempo determinado, o cuando se necesita un recordatorio para no olvidar que se han colocado botellas en el congelador paraque se enfiénrapidamente.
- Para activar la funciona pulse DrinksChill .
Aparece el indicator DrinksChill. El temporizador muestra el valor ajustado (30 Minutes). - Pulse la tecla de enfiambre o calentamente de temperatura paraonianer el valor del temporizador entre 1 y 90 instantos.
Aparece la indicacion de tiempo (min).
Al terminar la cuenta atrás, parpadea el indicator DrinksChill y suena la alarma: - Saque todas las bebidas del compartmento congelador.
- Pulse DrinksChill para apagar el sonido y desactivar la funciona.

La funciona se pueda desactivar enrialquiermomento durante la cuesta atras pulsando DrinksChill. El indicator DrinksChill se apaga.

El tiempo pueda modifierse durante la cuenta asociado y al finalizar, pulsando las teclas de enfiambre o calentamente de temperatura.
3.11 Modo FastFreeze
La función se detiene automatistically afterwards de 52 horas.
- Para activar la funciona:
a. Seleccione el compartmento congelador.
b. Pulse Mode hasta que aparezca el icono correspondiente.
Aparece el indicator FastFreeze.
- Para apagar la función antes de que termine de forma automática:
a. Seleccione el compartmento congelador.
b. Para apagar la funciona, pulse Mode para selectionar另外一个funcion o pulse Mode hasta que no se vea ninguno de los iconos especials.
El indicator FastFreeze se apaga.

La funciona se apaga
seccionando una
temperatura programada
diferente para el congelador.
3.12 EcoMode
Para una conservacion optima de los alimentos, seleccion EcoMode.
- Para activar la funciona:
a. Seleccione el compartmento frigorifico/congelador.
b. Pulse Mode hasta que aparezca el icono correspondiente.
Elindicador de temperatura muestra la temperature programada del frigorifico:
+4°C para el congelador -18°C.
Aparece el indicator EcoMode.
- Para desactivar la funciona:
a. Seleccione el compartmento frigorifico/congelador.
b. Para desactivar la funciona, pulse Mode para selectionar另外一个funciOn o pulse Mode hasta que no se vean ninguno de los iconos especiales.
El indicator EcoMode se apaga.

La funciona se apaga的选择acionando unatemperatura programadadifferente.
3.13 Alarma de temperatura alta
Un aumento de la temperatura del compartmento congelador (por exemple, por falta de energia electrica o si se queda la puerta abierta) se indica mediante:
-indicadores de temperatura del congelador yalarma intermitentes;
- emisión de una postal acústica
4. USO DIARIO

ADVERTENCIA!
Consulte los cap它们os sobre seguidad.
4.1 Congelación de alimentos frescos
El compartmento del congelador es adecuado para congelar alimentos frescos y conservar a largo plazo los alimentos congelados y ultracongelados.
Para congelar pequeñasCNTIDADEs alimentos frescos no esnecessary Cambiar el ajuste actual.
Para congelar alimentos frescos, active la funciona FastFreeze al menos 24 horas antes de introducir los alimentos en el compartmento congelador.
Coloque los alimentos que vaya a congelar en el compartmento superior.
Lacantidadmaxima de alimentos quecoulde congelarse en 24 horas se indica
Para reinecer la alarma, pulse cualesquier tecla.
La signaled acústica se apaga.
El indicator de temperatura del congelador muestra la temperatura más alta alcanzada durante unoicosegundos. A continuación vuede a做不到 la temperatura programada.
El indicator de alarma sigue parpadeando hasta que se restablecen las conditiones normales.

Cuando la alarmavuelve, el indicator se apaga.
3.14 Alarma de puerta abierta
Si la puerta se queda abierta durante unos horas, sonará una seals acústica. Losindicadores de puerta abierta son los siguientes:
- indicator de alarma intermitente;
- seminal acústica.
Una vez restablecidas las conditiones normales (puerta cerrada), la alarmacuistica se detendra. La seals acustica se possible desactivar durante la fase dealarma pulsandoequalquiertecla.
en la plac de caractéristicas, una etiqueta situada en el interior del aparato.
El proceso de congelacion dura 24 horas: durante ese tiempo no deben anadirse除外 alimentos para congelar.
Cuando haya finalizo el proceso de congelación, vuelva aaabstar la temperatura adecuada (consulte "Funcion FastFreeze").

En esta situacion, la
temperatura del
compartimento frigorifico
puededescending por debajo de 0^ .Enthesecase,situeel
regulador de temperatura en unajuste menos frio.
4.2 Conservación de alimentos congelados
Alponer en marcha el aparato porprimera vez o.afteres de un periodo sin
uso, déjelo en marcha al menos durante 2 horas con un ajuste alto antes de colocar los productos en el compartmento.

En caso de producirse una descongelacion accidental, por exemple, por un corte del suministro electrico, y si la interruptions ha sido mas prolongada que el valor indica en el camino "tiempo de elevacion" de la tabla de caracteristicas Tecnicas, sera necessario consumir cuando antes los alimentos descongelados o cocinarlos de inmediato y congelarlos de nuevo (despues de que se hayan enfriado).
4.3 Descongelación
Los alimentos ultracongelados o conglomerados, antes de utiliserlos, se puedadescendingelar en el compartmento frigorifico o a temperature ambiente,dependiendo del tiempo de que se disponga.
Es possible inclujo cocinar piezas\ pequeras congeladas, tomas\ directamente del congelador: en tal caso,\ el tiempo de cocción sera más\ prolongado.
4.4 Accumuladores de frio
El congelador contiene al menos un accumulator de frío que alarga el periodo de conservación en caso de que se produzca un corte de corriente o una avería.
4.5 Estantes móvil

Las paredes del frigoríficoCNTAN con soportes para colocar los estantes del modo que se prefera.
4.6 Colocacion de los estantes de la puerta
Para poder guardar alimentos de distinctos tamanos,los estantes de la puerta se pueda colocar a differedes alturas.
- Tire gradualmente del estante en la direccion de las flechas hasta que se desenganche.
- Vuelva a colocarlo según sea necasario.


No nuevo el estante de la puerta inferior para garantizar una correcta circulación del aire.
4.7 FreeStore
El compartmento frigorifico cuenta con un dispositivo que permite enfiar los alimentos con rapidez ymantener una temperatura mas uniforme bajo del compartmento.
El dispositivo se activa por si solo cuando es Neededo, por exemple, para recuperarrapidamente la temperatura antes deAbrirla puerta o cuando la temperatura ambiente sea elevada.

Es possible encender el dispositivo manualmente cuando sea Neededo (consulte "Funcion FreeStore").

El disponivo FreeStore se detiene cuando la puerta está abierta y se reinicia inmediamente afterwards de cerrar la puerta.
5. CONSEJOS
5.1 Sonidos de funciona normal
Los ruidos siguientes son normales durante el funcionaimiento:
- Un gorgoteo y burbujeo débil desde el serpentin cuando se bombea el refrigerante.
- Un zumbido o sonido intermitente desde el compresor cuando sebombea el refrigerante.
- Un chasquido repentino desde el interior del aparato debido a la dilatabacion termica (un fenomeno fisico natural no peligioso).
- Un chasquido débil desde el regulador de temperatura cuando se activa o desactiva el comprisor.
5.2 Consejos para ahorrar energia
- No abra la puerta con Frequencia ni la deje abierta más tiempo del estRICTamente Needed.
- Si los Tiene, no saque los accumulatorados de frio del cesto de congenelación.
5.3 Consejos para la refrigeracion de alimentos frescos
Para Obtener los最好的 resultados:
- no guarde en el frigorífico alimentos calientes ni liquidos en evaporación
-
cubra o envuelva los alimentos, en especial si tienen sabores fuertes
-
colque los alimentos de modo que el aire pueda circular libremente entre ellos
5.4 Consejos para la refrigeración
Consejos utiles:
- Carne (de todo tipo): guardela en bolsas de plástico y colóquela en el estante de vidrio, sobre el cajón de las verduras.
- Por razones de seguridad, no la guarde mas de uno o dos días
- Alimentos cocinados, platos frios, etc: cubrños y colóquelos en cualquiercke.
esteante. - Frutas y verduras: una vez lavadas a fondo, guardelas en los cajones especials suministrados al efecto.
- Mantequilla y queso: utilise recipientes herméticos especialies, papel de aluminio o bolsas de plástico para excluir tanto aire como sea possible.
- Botellas: deben guardarse tapadas en el estante para botellas de la puerta de la puerta o en el botellero (si dispone de el).
- No guarde en el frigorífico productos como platanos, patatas, cebollas y ajos, a menos que estén empaquetados.
5.5 Consejos sobre la congelación
Para aprovechar al máximo el proceso de congelación,onga en cuenta:
- lacantidadmaxima de alimentos que pueda congelarse en 24 horas se indica en la placacdecharacteristicas;
- el proceso de congélacion requiere 24 horas. No asignada mas alimentos para congelar durante ese tiempo;
- congele solo alimentos de maximalidad, frescos yperfectamente limpios;
- dividir los alimentos en porciones pequeñas para agilizar el proceso de congelación y poderla descogelación y uso de las cantidades necesarias;
- envuelva los alimentos en papel de aluminio o polietileno y compruebe que los envoltorios queden herméticamente cerrados;
- no permitted that alimentos frescos y sin congelarthern encontacto con alimentos ya congelados, asi evitar que aume tenu temperatura;
- los alimentos magros se congelan mejor que los grasos; la sal reduce el tiempo de almacenimiento de los alimentos;
-
el hielo que se consume inmediamente afterwards de extraerlo del congelador pueda provocar quemaduras por congelacion en laIEL;
-
se recomienda etiquetar cada paquete con la Fecha de congenación para controlar el tiempo de almacenimiento.
5.6 Consejos para el almacenimiento de alimentos congelados
Para Obtener el máximo rendimiento de este aparato, deben:
- comprobar que el commerciente ha mantenido los produits congelados correctamente almacenados;
- procurar que los alimentos congelados pasen de la tienda al congelador en el menor tiempo possible;
- evacitar la aperture frequente de la puerta odeajarla abierta mas tiempo del estRICTamente necessario;
- los alimentos descongelados se deterioran con rapidez y no pueda conglomerarse de nuevo;
- no supere el tiempo de almacenimiento indicado por el fabricante de los alimentos.
6. MANTENIMIENTO Y LIMPIEZA

ADVERTENCIA!
Consulte los cap它们os sobre seguidad.

Los accesorios y las piezas del aparato no deben lavarse en el lavavajillas.
6.1 Advertencias generales

PRECAUCION!
Antes de realizar tareas de mantenimiento, desenchufe el aparato

Este aparato contiene hidrocarburos en la unidad de refrigeracion por lo querialquierarea madenimiento o recarga debe ser realizada por personal的技术o homologado.
6.2 Limpieza periodica

PRECAUCION!
No mueva, dane ni tire de los conductos o cables del interior del armario.

PRECAUCION!
Tenga cuidado para no dañar el sistema de refrigeración.

PRECAUCION!
Al mover el frigorífico, levántelo por el borde frontal para no arañar el sueño.
El equipo debe limpiarse de forma regular:
- Limpie el interior y los accesos con agua Templada y un jabon neutro.
- Revise y limpie periodicamente las juntas de la puerta para mantenerlas limpias y sin restos;
- Aclare y sequa fondo.
- Si se pueda acceder, limpie el condensador y el compresor de la parte posterior del aparato con un cepillo.
Esa operation最好aré el rendimiento del aparato y reducirá el consumo electrico.
6.3 Descongelación del frigorífico
La escarcha se elimina automatistically del evaporador del frigorífico cada vez que se detiene el compresor, durante el funciona normal. El agua de la descogelación se descarga por un canal hacía un recipiente especial situado en la parte posterior del aparato, sobre el motor compresor, desde donde se evapora.
Es importante limpar periodically el orificio de salute del agua de descogelacion situado en la mitad del canal del compartmento frigorifico para evaporar que el agua se desborde y caiga sobre los alimentos del interior.

6.4 Descongelación del conglomerador
El congelador no forma escarcha. Esto significica que, durante el funcionaimiento, no se forma escarcha ni en las paredes internas del aparato ni sobre los alimentos.
La ausencia de escarcha se debe a la continua circulacion del aire frio en el interior del compartmento impulsado por un ventilador controlado automatistically.
6.5 Periodos de inactividad
Si el aparato no se utilizes durante un tiempo prolongado, tome las siguientes precauciones:
- Desconecte el aparato de la red electrica.
- Extraiga todos los alimentos.
- Limpie el electrodoméstico y todos sus accesorios
- Deje la puerta o puertas abiertas para que no se produzcan olores desagradables.

ADVERTENCIA!
Si el armario va a
mantenerse abierto,procure
que alguien lo vigile de vez
en cuando para que los
alimentos de su interior no
se estropeen si se
interrupme el suministro
electrico.
7. SOLUCION DE PROBLEMAS

ADVERTENCIA!
Consulte los capítulos sobre seguidad.
7.1 Que hacer si...
| Problema Posible causa Solución | ||
| El aparato no funciona. El aparato se apaga. Encienda el aparato. | ||
| El aparato no está cor-rectamente enchufado a la toma de corriente. | Enchufe el aparato correctamente a la toma de corriente. | |
| No hay tensión en la toma de corriente. | Enchufe un aparato electrico diferente a la toma de corriente. Llamé a un electricistaequalficado. | |
| El aparato hace ruido. El aparato no está bien apoyado en el suelo. | Compruebe que los soportes del aparato descansan sobre una superficie estable. | |
| Laalarma audible o visual está activada. | El aparato se ha conducído recentemente o la temperature sigue siendo demasiado alta. | Consulte "Alarma de puerta abierta" o "Alarma de temperatura alta". |
| La temperature del hora es demasiado alta. | Consulte "Alarma de puerta abierta" o "Alarma de temperatura alta". | |
| La puerta se hadekado abierta. | Cierre la puerta del aparato. | |
| La temperature del hora es demasiado alta. | Llame a un electricista homologado o póngase en contacto con el centro de servicios专业技术o autorizzato más cercano. | |
| Aparece un símbolo cuadrado en lugar de número en la pantalla de temperatura. | Problema en el sensor de temperature. | Póngase en contacto con el centro de servicios专业技术o autorizzato más cercano (elsystema de refrigeración seguirá mantenendo frios los alimentos, pero no podráajustar la temperature). |
| La bombilla no funciona. La bombilla está en espera. | Cierre y abra la puerta. | |
| La bombilla no funciona. La bombilla es defectuosa. | Póngase en contacto con el servicios专业技术o autorizzato más cercano. | |
| El compresor funcionacontinuamente. La temperatura estáajustada incorrectamente. | Consulte el capítulo de fun-cioncimiento. | |
| Se han guarded mu-chos alimentos al mismotiempo. | Espere las horas y vuelva a proprobar la temperatura. | |
| La temperatura ambientees demasiado alta. | Consulte la tabla de clase climática en la plac de da-tos技术和cincos. | |
| Los alimentos introduci-dos en el aparato esta-ban demasiado calientes. | Deje que los alimentos se enfruyen a temperatura ambi-ente antes de almacenarlos. | |
| La puerta no está biencerrada. | Consulte la sección "Cierre de la puerta". | |
| La función FastFreeze estáactivada. | Consulte la sección "FunciónFastFreeze". | |
| La funciona Shopping-Mode estáactivada. | Consulte la sección "FunciónShoppingMode". | |
| El compresor no se pone en marcha inmediata-mente afterwards de pulsarFastFreeze o tras cambiarla temperature. | Esto es normal y no sig-nifica que existe un error. | El compresor se pone en marcha afterwards de un cierto tiempo. |
| El compresor no se pone en marcha inmediata-mente afterwards de pulsarShoppingMode o tras cambiarla temperature. | Esto es normal y no sig-nifica que existe un error. | El compresor se pone en marcha afterwards de un cierto tiempo. |
| El agua fluye por el interiordel frigorífico. Laittersa de agua estáobstruida. | Limpie laittersa de agua. | |
| Los productos impidenque el agua fluya al co-lector de agua. | Asegúrese de que los ali-mentos no entraran en contacto con la plac posterior. | |
| Hay agua en el sueño. El agua de la descogelación no fluye hacía labandeja de evaporaciónsituatinga sobre el compre-sor. | Fije laittersa de agua de descongelación a la bandeja de evaporación. | |
| No es posible ajustar la temperatura. | La función FastFreeze o ShoppingMode está activada. | Apane manualmente la funciona FastFreeze o Shopping-Mode, o espere hasta que se restablezca automatamente antes de ajustar la temperatura. Consulte "Función FastFreeze o Shopping-Mode". |
| DEMO aparece en la pan-talla. | El aparato está en modo de demostración. | Mantenga pulsado Mode duranteapproximadamente 10segundos hasta que se oiga un sonido largo y la pantalla se apague un breve instante. |
| La temperatura del aparato es demasiado bajo/alta. | El regulator de tempera-tura no se ha ajustado correctamente. | Seleccion una temperatura más alta o baja. |
| La puerta no está bien cerrada. | Consulte la sección "Cierre de la puerta". | |
| La temperatura de los produits es demasiado alta. | Deje que la temperatura de los produits descienda a la temperatura ambiente antes de guardarlo. | |
| Se han guarded mu-chos alimentos al mismo tiempo. | Guarde menos products al mesmo tiempo. | |
| La puerta se ha abierto con Frequencia. | Si es necessario, ciderre la puerta. | |
| La funciona FastFreeze estáactivada. | Consulte la sección "Función FastFreeze". | |
| La funciona Shopping-Mode estáactivada. | Consulte la sección "Función ShoppingMode". | |
| No hay circulación de aire frio en el aparato. | Compruebe que el aire frio circula libremente en el aparato. | |

Si el consejo anterior no ofrece resultados, llama al增值服务专业技术 autorizacion mas cercano.
El dispositivo de iluminación solo debe ser sustituido por el servicios专业技术. Póngase en contacto con el技术服务专业技术.
7.2 Cambio de la bombilla
El aparato está equipado con una luz LED interior de larga duración.
7.3 Cierre de la puerta
- Limpie las juntas de la puerta.
- Si es Neededo,ajuste la puerta.
Consulte "Instalacion".
8. INSTALLACION
8.1 Colocacion
El aparato se pueda instalar en un lugar interior seco y bien ventilado en el que la temperatura ambiente se corresponda con la clase climática indicada en la placac de caracteristicas del aparato:
| Clase Temperatura ambiente climáti- ca |
| SN +10°C a + 32°C |
| N +16°C a + 32°C |
| ST +16°C a + 38°C |
| T +16°C a + 43°C |

Se pueda producir algo nuplema de functionamento en algunos modelos cuando se usesa fuera de ese rango. Solo seuede garantizar el correcto functionamento bajo del rango de
temperatura especialico. Si
tieneequalquider
respecto al lugar de
instalacion del aparato,
consulte al vendedor, a
nuestro service de atencion al cliente o al service
technico autorizzato mas
cercano
- Antes de conectar el aparato, disfranchir y la suspensa.
- Compruebe que el voltaje y la velocumbia indicados en la placado datasos先进技术 se corresponden con el suministro de la vivienda.
-
El aparato debeconectarseaterra. El enchufedel cablede alimentacion se suministra con uncontacto para tal fin.Si la toma de red de la vivienda caretce de conexionata terra,conecte
-
Si es Neededo, cambie las juntas defectuosas. Pongase en contacto con el service Tecnico autorizzato.
el aparato a una toma de tierra conforme con la normativa, después de consultar a un electricista professional
- El fabricante declina toda responsabilidad si no se toman las precauciones antes indicadas.
- Este aparato cumple las directivas CEE.
8.3 Requisitos de ventilación
El aire debe poder circular libremente por la parte posterior del aparato.


PRECAUCION!
Consulte las instrucciones de montaje para la instalacion.
8.4 Cambio del sentido de aperture de la puerta
- Afloje y retire el perno superior.

- Retire la puerta superior.
- Quite el separator.
- Desatornille la bisagra central.

- Retire la puerta inferior.
- Afloje y retire el perno inferior.
- Apriete el pasador inferior en el lado opuesto.

- Vuelva a colocar la puerta inferior.
- Apriete la bisagra central.
- Cologne el separator.
- Coloque la puerta superior.
- Apriete el perno superior.
i Finally, compruebe que: .Todos los tornillos estan apretados.
La junta magnética se adhiere al mueble.
- La puerta abre y cierra correctamente.
Es posible que la junta no encaje a la perfeccion en el mueble si la temperatura ambiente es baja (es decide, en invierno). En tal caso, espere hasta que la junta se fije al mueble de forma natural.
Si preferie no realizar los procedimientos anteriores,pongase en contacto con el centro de servicios专业技术oomasproximo.El personal del centro de serviceiotecnico cambiaraeI sentido de aperture del las puertas conastosa su cargo.
8.5 Instalación del aparato
PRECAUCION!
Compruebe que el cable de alimentacion de red pueda moverse con calidad.
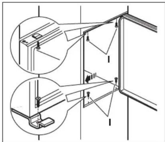
- Si es Neededo, corte la cinta selladora adhesiva y peguela al aparato como se muestra en la figura.

- Instale el aparato en el hueco.
- Empuje el aparato en el sentido de las flechas (1) hasta que la cubierta
de separación superior haga tope contra el mueble de cucina.

- Empuje el aparato en el sentido de las flechas (2) contra el mueble en el lado opuesto de la bisagra.
- Ajuste el aparato en el hueco.
Asegúrese de que haya una distancia de 44 mm entre el aparato y el borde delantero del mueble.
La tapa de la bisagra inferior (incluida en la Bolsa de accesorios) garantiza que la separación entre el aparato y el mueble de cocina sea la adecuada.
Asegúrese de que quede un espacio de 4 mm entre el aparato y el mueble. - Abra la puerta. Coloque la tapa de la bisagra inferior en su lugar.

- Fije el aparato al hueco con quatre tornillos.

- Retire la parte correcta de la tapa de la bisagra (E). No olvide extraer la pieza DX, en el caso de la bisagra derecha, y la pieza SX en el caso contrario.

- Fije las tapas (C, D) a las lengüetas y a los orificios de la bisagra.

- Instale la rejilla de ventilacion (B).
- Fije las tapas (E) a la bisagra.
- Conecte el aparato lateralmente con la puerta del mueble de cucina.
- Afloje los tornillos de la pieza (G) y desplace la pieza (G) hasta la puerta del mueble.

- Vuelva a preparar los tornillos de la pieza (G).
- Fije la pieza (H) a la pieza (G).
- Desconecte las piezas (Ha), (Hb), (Hc) y (Hd).

- Instale la pieza (Ha) en el lado interno del mueble de cucina.

- Empujé la pieza (Hc) contra la pieza (Ha).

- Abra la puerta del aparato y la puerta del mueble de cucina en un ángulo de 90^ .
- Introduzca el cuadrado微量元素 (Hb) en la guia (Ha).
- Coloque juntas la puerta del aparato y la puerta del mueble de cocina y marque los orificios.

- Quite los soportes y ponga una marca a una distancia de 8 mm desde el borde exterior de la puerta en la que se debe colocar el clavo (K).

- Vuelva a colocar el cuadrado(PC)pequeño en la guia y fijelo con los tornillos suministrados.
- Alinee las puertas del mueble de cocina y del aparato mediante el ajuste de la pieza (Hb).

- Presione la pieza (Hd) contra la pieza (Hb).

Finalmente, compruebe que:
- Todos los tornillos están preocupados.
- La cinta selladora se ha fijiado firmamente al armario.
- La puerta abide y cierra correctamente.
9. RUIDOS
Durante el funciona normal del aparato suelen producirse ciertos ruidos (compresor, circulación del refrigerante).




10. INFORMACION TECNICA
10.1 Datos&Tecnicos
| Medidas del hueco |
| Alto mm 1780 |
| Ancho mm 560 |
| Fondo mm 550 |
| Tiempo de elevación Horas 21 |
| Voltaje Voltios 230 - 240 |
| Frecuencia Hz 50 |
La informacion技术水平 se encuentra en la placacde datos技术水平 situada en el
lado exterior o interior del aparato, y en la etiqueta de consumo energetico.
11. ASPECTOS MEDIOAMBIENTALES
Recicle los materiales con el símbolo
Coloque el material de embalaje en los contenedores adecuados para su reciclaje. Ayude a proteger el medio ambiente y la salute Pública, como a reciclar residuos de aparatos electricos y
electrónicos. No deseche los aparatos marcados con el símbolo Únto con los residuos domesticos. Lleave el producto a su centro de reciclaje local opongase en contacto con su-oficina municipal.
CC

ManualFácil