G0068640 - Generator Generac - Free user manual and instructions
Find the device manual for free G0068640 Generac in PDF.
| Technical Specifications | Portable gasoline generator, rated power of 5000 W, 389 cc OHV engine |
|---|---|
| Usage | Ideal for construction work, camping activities, and as a backup power source |
| Maintenance and Repair | Regular oil checks, air filter cleaning, and ignition system inspection |
| Safety | Use outdoors to avoid carbon monoxide buildup, follow manufacturer safety instructions |
| General Information | 2-year warranty, weight of 60 kg, compact dimensions for easy transport |
Frequently Asked Questions - G0068640 Generac
User questions about G0068640 Generac
0 question about this device. Answer the ones you know or ask your own.
Ask a new question about this device
Download the instructions for your Generator in PDF format for free! Find your manual G0068640 - Generac and take your electronic device back in hand. On this page are published all the documents necessary for the use of your device. G0068640 by Generac.
USER MANUAL G0068640 Generac
Section 1 Introduction and Safety 1
Introduction 1
Safety Rules 1
Safety Symbols and Meanings 1
Exhaust and Location Hazards 2
Electrical Hazards 3
Fire Hazards 3
Standards Index 3
Section 2 General Information and
Setup 4
Know Your Generator 5
Emissions Information 5
Hour Meter 6
Connection Plugs 6
Remove Contents from Carton 7
Assembly 7
Battery Installation 8
Add Engine Oil 8
Fuel 9
Section 3 Operation 10
Operation and Use Questions 10
Before Starting Engine 10
Prepare Generator for Use 10
Grounding the Generator When Used
as a Portable 10
Know Generator Limits 11
Transporting/Tipping of the Unit .... 11
Starting Pull Start Engines 12
Starting Electric Start Engines 12
Low Oil Pressure Switch 13
Section 4 Maintenance and
Troubleshooting 14
Maintenance 14
14
Maintenance Schedule 14
Preventive Maintenance 14
Engine Maintenance 14
Engine Oil Recommendations 14
Battery Replacement (if applicable) 16
Valve Clearance 16
Storage 16
Troubleshooting 17
Notes 19
WARNING
Breathing diesel engine exhaust exposes you to chemicals known to the State of California to cause cancer and birth defects or other reproductive harm.
- Always start and operate the engine in a well-ventilated area.
If in an enclosed area, vent the exhaust to the outside. - Do not modify or tamper with the exhaust system.
Do not idle the engine except as necessary. For more information go to www.P65Warnings.ca.gov/diesel. (000394)
Section 1 Introduction and Safety
Introduction
Thank you for purchasing a Generac Power Systems Inc. product. This unit has been designed to provide high-performance, efficient operation, and years of use when maintained properly.

WARNING
Consult Manual. Read and understand manual completely before using product. Failure to completely understand manual and product could result in death or serious injury. (000100a)
If any section of the manual is not understood, contact your nearest Independent Authorized Service Dealer (IASD), or contact Generac Customer Service at 1-888-GENERAC (1-888-436-3722), or wwwgenerac.com with any questions or concerns.
The owner is responsible for proper maintenance and safe use of the equipment. Before operating, servicing or storing this generator:
- Study all warnings in this manual the product carefully.
- Become familiar with this manual and the unit before use.
Refer to the Assembly section of the manual for instructions on final assembly procedures. Follow the instructions completely.
Save these instructions for future reference. ALWAYS supply this manual to any individual that will use this machine.
The information in this manual is accurate based on products produced at the time of publication. The manufacturer reserves the right to make technical updates, corrections, and product revisions at any time without notice.
Safety Rules
The manufacturer cannot anticipate every possible circumstance that might involve a hazard. The warnings in this manual, and on tags and decals affixed to the unit are, therefore, not all inclusive. If using a procedure, work method or operating technique that the manufacturer does not specifically recommend, verify that it is safe for others. Also make sure the procedure, work method or operating technique utilized does not render the equipment unsafe.
Throughout this publication, and on tags and decals affixed to the generator, DANGER, WARNING, CAUTION and NOTE blocks used to alert personnel to special instructions about a particular operation that may be hazardous if performed incorrectly or carelessly. Observe them carefully. Their definitions are as follows:
DANGER
Indicates a hazardous situation which, if not avoided, will result in death or serious injury.
(000001)
WARNING
Indicates a hazardous situation which, if not avoided, could result in death or serious injury.
(000002)
CAUTION
Indicates a hazardous situation which, if not avoided, could result in minor or moderate injury.
(000003)
NOTE: Notes contain additional information important to a procedure and will be found within the regular text of this manual.
These safety warnings cannot eliminate the hazards that they indicate. Common sense and strict compliance with the special instructions while performing the action or service are essential to preventing accidents.
Safety Symbols and Meanings

000657

DANGER
Asphyxiation. Running engines produce carbon monoxide, a colorless, odorless, poisonous gas. Carbon monoxide, if not avoided, will result in death or serious injury. (00010)
- If you start to feel sick, dizzy, or weak after the generator has been running, move to fresh air IMMEDIATELY. See a doctor, as you could have carbon monoxide poisoning.

DANGER
Asphyxiation. The exhaust system must be properly maintained. Do not alter or modify the exhaust system as to render it unsafe or make it noncompliant with local codes and/or standards. Failure to do so will result in death or serious injury. (000179b)
(000179b)

DANGER
Electrocution. Water contact with a power source, if not avoided, will result in death or serious injury.
(000104)

DANGER
Electrocution. Turn utility and emergency power supplies to OFF before connecting power source and load lines. Failure to do so will result in death or serious injury. (000116)
(000116)
WARNING
Equipment and property damage. Do not alter construction of, installation, or block ventilation for generator. Failure to do so could result in unsafe operation or damage to the generator.
(000146)

AWARNING
Asphyxiation. Always use a battery operated carbon monoxide alarm indoors and installed according to the manufacturer's instructions. Failure to do so could result in death or serious injury. (202179)
(000178a)
WARNING
Equipment and property damage. Do not operate unit on uneven surfaces, or areas of excessive moisture, dirt, dust or corrosive vapors. Doing so could result in death, serious injury, property and equipment damage. (000250)

AWARNING
Moving Parts. Keep clothing, hair, and appendages away from moving parts. Failure to do so could result in death or serious injury.
(000111)

WARNING
Hot Surfaces. When operting machine, do not touch hot surfaces. Keep machine away from combustables during use. Hot surfaces could result in severe burns or fire. (000108)
(000108)
AWARNING
Personal injury. Do not insert any object through the air cooling slots. Generator can start at any time and could result in death, serious injury, and unit damage. (000142a)
AWARNING
Risk of injury. Do not operate or service this machine if not fully alert. Fatigue can impair the ability to service this equipment and could result in death or serious injury. (000215)
AWARNING
Injury and equipment damage. Do not use generator as a step. Doing so could result in falling, damaged parts, unsafe equipment operation, and could result in death or serious injury.
(000216)

CAUTION
Hearing protection recommended.
PRECAUCION
Protection auditive recommende.
000406
- For safety reasons, it is recommended that the maintenance of this equipment be performed by an IASD. Inspect the generator regularly, and contact the nearest IASD for parts needing repair or replacement.
Exhaust and Location Hazards

DANGER
Asphyxiation. Running engines produce carbon monoxide, a colorless, odorless, poisonous gas.
Carbon monoxide, if not avoided, will result in death or serious injury. (000103)

DANGER
Asphyxiation. The exhaust system must be properly maintained. Do not alter or modify the exhaust system as to render it unsafe or make it noncompliant with local codes and/or standards. Failure to do so will result in death or serious injury. (000179b)

A WARNING
Asphyxiation. Always use a battery operated carbon monoxide alarm indoors and installed according to the manufacturer's instructions. Failure to do so could result in death or serious injury. (000170-)
(000178a)
WARNING
Equipment and property damage. Do not alter construction of, installation, or block ventilation for generator. Failure to do so could result in unsafe operation or damage to the generator.
(000146)
If you start to feel sick, dizzy, or weak after the generator has been running, move to fresh air IMMEDIATELY. See a doctor, as you could have carbon monoxide poisoning.
- NEVER run a generator indoors or in a partly enclosed area such as garages.
- ONLY use outdoors and far away from windows, doors, vents, crawl spaces and in an area where adequate ventilation is available and will not accumulate deadly exhaust gas.
- Using a fan or opening a door will not provide sufficient ventilation.
- Point muffler exhaust away from people and occupied buildings.
Electrical Hazards

DANGER
Electrocution. Contact with bare wires, terminals, and connections while generator is running will result in death or serious injury.
(000144)

DANGER
Electrocution. Water contact with a power source, if not avoided, will result in death or serious injury.
(000104)
- National Electric Code (NEC) requires the frame and external electrically conductive parts of the generator be properly connected to an approved earth ground. Local electrical codes may also require proper grounding of the generator. Consult with a local electrician for grounding requirements in the area.
- Use a ground fault circuit interrupter (GFCI) in any damp or highly conductive area (such as metal decking or steel work).

DANGER
Electrocution. In the event of electrical accident, immediately shut power OFF. Use non-conductive implements to free victim from live conductor. Apply first aid and get medical help. Failure to do so will result in death or serious injury. (000145)
- Once generator has been started outside, connect electrical loads to extension cord(s) inside.
Fire Hazards

DANGER
Explosion and Fire. Fuel and vapors are extremely flammable and explosive. Add fuel in a well ventilated area. Keep fire and spark away. Failure to do so will result in death or serious injury.(000105)

DANGER
Explosion and Fire. Do not overfill fuel tank. Fill to 1/2 inch from top of tank to allow for fuel expansion. Overfilling may cause fuel to spill onto engine causing fire or explosion, which will result in death or serious injury. (000166b)

DANGER
Risk of fire. Allow fuel spills to completely dry before starting engine. Failure to do so will result in death or serious injury. (000174)

WARNING
Personal injury. Do not insert any object through the air cooling slots. Generator can start at any time and could result in death, serious injury, and unit damage. (000142a)
- Allow at least 5 feet of clearance on all sides of the generator when operating to prevent overheating and fire.
- Do not operate the generator if connected electrical devices overheat, if electrical output is lost, if engine or generator sparks, or if flames or smoke are observed while unit is running.
- Keep a fire extinguisher near the generator at all times.
Standards Index
- National Fire Protection Association (NFPA) 70: The NATIONAL ELECTRIC CODE (NEC) available from www.nfpa.org
- National Fire Protection Association (NFPA) 5000: BUILDING CONSTRUCTION AND SAFETY CODE available from www.nfpa.org
- International Building Code available from www.iccsafe.org
- Agricultural Wiring Handbook available from www.ERC.org, Rural Electricity Resource Council P.O. Box 309 Wilmington, OH 45177-0309
- ASAE EP-364.2 Installation and Maintenance of Farm Standby Electric Power available from www.asabe.org, American Society of Agricultural & Biological Engineers 2950 Niles Road, St. Joseph, MI 49085
- CSA C22.2 100-14 Electric motors and generators for installation and use, in accordance with the Rules of the Canadian Electrical Code
- ANSI/PGMA G300 Safety and Performance of Portable Generators. Portable Generator Manufacturer's Association, www.pgmaonline.com
IMPORTANT NOTE: This list is not all inclusive. Check with the Authority Having Jurisdiction (AHJ) for any local codes or standards which may be applicable to your jurisdiction.
Section 2 General Information and Setup


Figure 2-1. Features and Controls
Generator Components
1 120 Volt AC, 20 Amp, GFCI Duplex Receptacle
2 120/240 Volt AC, 30 Amp Locking Receptacle
3 120 Volt AC, 30 Amp Locking Receptacle
4 20 Amp Circuit Breakers
5 30 Amp Circuit Breaker
6 O i I D r a i n
7 Air Filter
8 Decompression Lever
9 Fuel Tank
10 Grounding Lug
11 Start/Run Switch
12 Muffler
13 Fuel Cap/Fuel Gauge
14 Oil Fill (2 locations)
15 Recoil Starter
16 Main 23 Amp Breaker Switch
17 Fuel Return Hose
18 Hour Meter
19 Battery (not included)
20 Fuel Filter
21 Engine On/Off Lever
22 Fuel On/Off
23 Voltage Selector Switch
24 Fuel Primer Bulb

Figure 2-2. Control Panel

Figure 2-3. Identification Label
000705
Know Your Generator

WARNING
Consult Manual. Read and understand manual completely before using product. Failure to completely understand manual and product could result in death or serious injury. (000100a)
Replacement owner's manuals are available at wwwgenerac.com.
Emissions Information
The U.S. Environmental Protection Agency, EPA, (and California Air Resource Board, CARB, for equipment certified to CA standards) require the generator comply with exhaust emission standards. The generator is certified to meet applicable EPA and CARB emission levels using Ultra Low Sulfur fuel, Diesel No. 2. Any other use may be a violation of federal and/or local laws. To ensure the engine complies with applicable emission standards for the duration of the engine's life, it is important to follow the maintenance specifications in Maintenance Section. Tampering with or altering the emission control system may increase emissions and may be a violation of Federal or California Law.
Product Specifications
| Generator Specifications | |
| Rated Power Rated 5000 Watts** | |
| Surge Power Surge Rating 5500 Watts | |
| Rated AC Voltage 120/240 | |
| Rated AC Load Current @ 240V Current @ 120V | 20.8 Amps** 41.7 Amps** |
| Rated Frequency 60 Hz @3600 RPM | |
| Phase | Single Phase |
| ** Operating Temperature Range : -18 deg. C (0 deg. F) to 40 Deg. C (104 Deg. F). When operated above 25 deg. C (77 deg. F) there may be a decrease in power. ** Maximum wattage and current are subject to, and limited by, such factors as fuel Btu content, ambient temperature, altitude, engine condition, etc.. Maximum power decreases about 3.5% for each 1,000 feet above sea level; and will also decrease about 1% for each 6° C (10° F) above 16° C (60° F) ambient temperature. | |
| 5.5 / 6.5 Engine Specifications | |
| Displacement | 435 cc (26.5 in³) |
| Fuel Capacity | 45.4 L (12 U.S. gallons) |
| Oil Type | See chart in the Add Engine Oil section. |
| Oil Capacity | 1.6L (1.7 qt) |
| Run Time at 50% Load | 32 Hours |
| Battery | Purchase Locally (not included) |
| Battery Type | 12V 35Ah Battery, Group U1 |
| * Go to Generac.com or contact an Authorized Service Dealer for replacement parts. | |
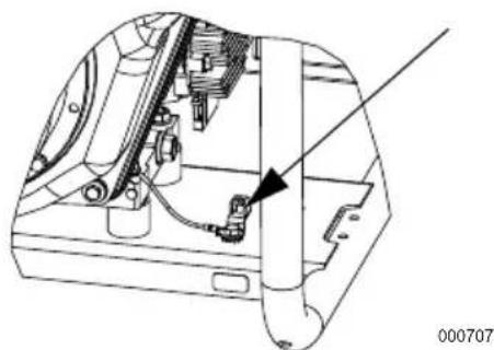
Hour Meter
The Hour Meter tracks hours of operation for scheduled maintenance. See Figure 2-4.
- The CHG OIL display will illuminate every 100 hours. The message will flash one hour before and one hour after each 100 hour interval, providing a two hour window to perform service.
- The SVC display will illuminate every 100 hours. The message will fla before and one hour after each 200 hour interval providing a two hour window to perform service.

000203

Figure 2-5. 120 VAC, 20 Amp, Duplex Receptacle
Figure 2-4. Hour Meter
When the hour meter is in flash alert mode, the maintenance message will alternate with elapsed time in hours and tenths. The hours will flash four times, then alternate with maintenance message four times until the meter automatically resets.
100 hours - CHG OIL - Oil Change Interval (Every 100 hrs)
- 200 hours - SVC — Service Air Filter (Every 200 hrs)
NOTE: The hour glass icon will flash when the engine is running. This signifies the meter is recording hours of operation.
Connection Plugs
120 VAC, 20 Amp, GFCI Duplex Receptacle
The 120 Volt outlet is overload protected by a 20 Amp push-to-reset circuit breaker. See Figure 2-5. Each receptacle will power 120 Volt AC, single phase, 60Hz electrical loads requiring up to 2400 watts (2.4 kW) or 20 Amps of current. Use only high quality, well-insulated, 3-wire grounded cord sets rated for 125 Volts at 20 Amps (or greater).
NOTE: Limit length of extension cords to fifteen feet, or less, to prevent voltage drop and overheating of wires.
120/240 VAC, 30 Amp Receptacle
Use a NEMA L14-30 plug with this receptacle (rotate to lock/unlock). Connect a suitable 4-wire grounded cord set to plug and desired load. The cord set should be rated 250 Volts AC at 30 Amps (or greater). See Figure 2-6. Use this receptacle to operate 240 Volt AC, 60 Hz, single phase loads requiring up to 5000 watts (5.0kW) of power at 20.8 Amps.
Figure 2-6. 120/240 VAC, 30 Amp Receptacle

000204
120 VAC, 30 Amp Receptacle
Use a NEMA L5-30 plug with this receptacle (rotate to lock/unlock). Connect a suitable 3-wire cord set to the plug and to desired load. The cord set should be rated for 125 Volts AC at 30 Amps (or greater). See Figure 2-7. Use this receptacle to operate 120 Volt AC, 60Hz single phase loads requiring up to 3600 watts (3.6kW) of power at 30 Amps. The outlet is protected by a 30 Amp push-to-reset circuit breaker.
Figure 2-7. 120 VAC, 30 Amp Receptacle

000844
Remove Contents from Carton
- Open carton completely by cutting each corner from top to bottom.
- Remove and verify carton contents prior to assembly. Carton contents should contain the following:
Contents
| Item Qty. | |
| Main Unit | 1 |
| Owner's Manual | 1 |
| Liter Oil SAE 30 | 2 |
| Product Registration Card | 3 |
| Service Warranty | 1 |
| Emissions Warranty | 1 |
| Muffler Extension | 1 |
| Battery Bracket Assembly | 1 |
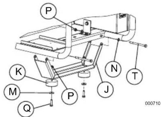
Portability Kit (optional)
| Portability Kit (Model No. G0069100) | Qty. |
| 10" Wheel (A) | 2 |
| Axle (B) | 1 |
| Axle Mount (C) | 2 |
| 5/8" Flat Washer (D) | 4 |
| Cotter Pin (E) | 2 |
| Handle (F) | 1 |
| Handle Mount (G) | 2 |
| Handle Grip (H) | 2 |
| Frame Foot (J) | 2 |
| Rubber Feet (K) | 2 |
| M6-1x50mm Screw (L) | 4 |
| .344"x1.0" Flat Washer (M) | 2 |
| M8 Flat Washer (N) | 10 |
| M8-1.25 Locknut (P) | 6 |
| M8-1.25x30 Screw (Q) | 2 |
| M8-1.25x45 Screw (R) | 2 |
| M8-1.25x50 Screw (S) | 2 |
| M8-1.25x110 Screw (T) | 2 |
| 5/16x1.25 Pin Release (U) | 1 |
| Lanyard | 1 |
-
Call Generac Customer Service 1-888-GENERAC (1-888-436-3722) with the unit model and serial number for any missing carton contents.
-
Record model, serial number, and date of purchase on front cover of this manual.
Assembly

AWARNING
Consult Manual. Read and understand manual completely before using product. Failure to completely understand manual and product could result in death or serious injury.100010002
Call Generac Customer Service at 1-888-GENERAC (1-888-436-3722) for any assembly issues or concerns. Please have model and serial number available.
The following tools are required to install the accessory kit.
Ratchet with 10mm and 13mm sockets
13mm box wrenches
NOTE: The wheels are not intended for overthe-road use.
Install wheels as follows. See Figure 2-8.
- Insert cotter pin (E) to one end of axle (B).
- In this order; slide washer (D), wheel (A), washer, (D), axle mount (2-C), washer (D), wheel (A), washer (D), and cotter pin (E) onto axle.
- Place wheel assembly under frame so axle mounts align with holes in cradle frame.
- Secure with M6 screws (L).

Figure 2-8.Wheel Assembly
Install frame foot and rubber bumpers as shown in Figure 2-9.
- Slide onto M8 screw (Q), flat washer (M), rubber foot (K).
- Slide assembly through frame foot (J). Add M8 flat washer (N), and secure with M8-1.25 Locknut (P).
- Place foot bracket assembly under cradle.
- Slide M8 flat washers (N) onto M8-1.25x110 screws (T) and insert through foot bracket assembly and cradle.
- Secure with M8 flat washer (N) and M8 locknut (P).

Figure 2-9. Frame Foot Assembly
Install handle as shown in Figure 2-10.
- Place a M8 flat washer (N) onto M8-1.25x45 screw (R) and through handle bracket and handle (A).
- Secure with M8 flat washer (N) locknut (P).
- Install handle grips (H).

Figure 2-10. Handle Assembly
Battery Installation
The following tools are required to install the battery.
- 7/16" (11mm) ratchet, socket and wrench Install the battery as follows. See Figure 2-11.
- Place battery onto battery tray with the positive terminal on the right.
- Connect red battery wire to positive (+) terminal with a bolt, washer and nut.
- Slide red battery terminal post cover over terminal and hardware.
- Connect black battery wire to negative (-) terminal with a bolt, washer and nut.
- Slide black battery terminal post cover over terminal and hardware.
- Slide one spacer onto each screw.
- Slide these assemblies through holes in top of bracket.
- Place bracket assembly over top of battery. Do not to touch battery terminal hardware. The screws will pass through holes on battery tray.
-
Place washer, lock washer and wing nut onto screw.
-
Tighten wing nuts until the lock washers are compressed to being flat.
NOTE: The battery charges while the engine is running.

Figure 2-11. Battery Installation
Add Engine Oil
and M8

Engine damage. Verify proper type and quantity of engine oil prior to starting engine. Failure to do so could result in engine damage.
(000135)
- Place generator on a level surface.
- Verify oil fill area is clean.
- Remove oil fill cap and wipe dipstick clean. See Figure 2-12.

Figure 2-12. Remove Dipstick
- Add recommended engine oil as shown in the following chart.

NOTE: Some units have more than one oil fill location. It is only necessary to use one oil fill point.
5. Thread dipstick into oil filler neck. Oil level is checked with dipstick fully installed.
- See Figure 2-13. Remove dipstick and verify oil level is within safe operating range.
- Install oil fill cap/dipstick and hand-tighten.

000116
Figure 2-13. Safe Operating Range
Fuel

DANGER
Explosion and Fire. Fuel and vapors are extremely flammable and explosive. Add fuel in a well ventilated area. Keep fire and spark away. Failure to do so will result in death or serious injury. (000105)

DANGER
Explosion and Fire. Do not overfill fuel tank. Fill to 1/2 inch from top of tank to allow for fuel expansion. Overfilling may cause fuel to spill onto engine causing fire or explosion, which will result in death or serious injury. (000166b)
IMPORTANT NOTE: DO NOT use Home Heating Oil or Bio-Diesel Fuel.
Use No. 2D diesel fuel when temperatures are above freezing. When temperatures are below freezing, blend No.1D diesel fuel and No. 2D diesel fuel together for a climate adjusted fuel ratio.
Diesel fuel must meet the following requirements:
- Sulfur content of 15 parts per million (ppm) maximum.
Minimum Cetane index of 40.
NOTE: Low ambient temperatures as well as engine operation at high altitudes may require the use of fuels with higher Cetane ratings.
Fuel Maintenance
- Always treat diesel fuel for long term storage. Use the approved fuel additive and water abatement material. Test stored fuel every 90 days and provide additional treatment if required. Periodically check and dry abatement material as necessary.
Section 3 Operation
Operation and Use Questions
Call Generac customer service at 1-888-GENERAC (1-888-436-3722) with questions or concerns about equipment operation and maintenance.
Before Starting Engine
- Verify engine oil level is correct.
- Verify fuel level is correct.
- Verify battery is installed.
NOTE: The generator will not start without the battery installed.
- Verify unit is secure on level ground, with proper clearance and is in a well ventilated area.
Prepare Generator for Use

DANGER
Asphyxiation. Running engines produce carbon monoxide, a colorless, odorless, poisonous gas. Carbon monoxide, if not avoided, will result in death or serious injury. (000103)

WARNING
Asphyxiation. Always use a battery operated carbon monoxide alarm indoors and installed according to the manufacturer's instructions. Failure to do so could result in death or serious injury. (000178a)

DANGER
Asphyxiation. The exhaust system must be properly maintained. Do not alter or modify the exhaust system as to render it unsafe or make it noncompliant with local codes and/or standards. Failure to do so will result in death or serious injury. (900170)

WARNING
Risk of fire. Do not use generator without spark arrester installed. Failure to do so could result in death or serious injury.
(000118a)

WARNING
Risk of Fire. Hot surfaces could ignite combustibles, resulting in fire. Fire could result in death or serious injury.
(000110)

AWARNING
Hot Surfaces. When operating machine, do not touch hot surfaces. Keep machine away from combustibles during use. Hot surfaces could result in severe burns or fire. (000109)
(000108)
CAUTION
Equipment and property damage. Disconnect electrical loads prior to starting or stopping unit. Failure to do so could result in equipment and property damage. (000136)
Grounding the Generator When Used as a Portable
The generator is equipped with an equipment ground connecting the generator frame and the ground terminals on the AC output receptacles (see NEC 250.34 (A). This allows the generator to be used as a portable without grounding the frame of the generator as specified in NEC 250.34. See Figure 3-1.
- Neutrals bonded to frame.

Figure 3-1.Grounding the Generator
Special Requirements
Review all Federal or State Occupational Safety and Health Administration (OSHA) regulations, local codes, or ordinances that apply to the intended use of the generator.
Consult a qualified electrician, electrical inspector, or the local agency having jurisdiction:
- In some areas, generators are required to be registered with local utility companies.
- If the generator is used at a construction site, there may be additional regulations which must be observed.
Connecting the Generator to a Building Electrical System
When connecting directly to a building electrical system, it is recommended that a manual transfer switch be used. Connections for a portable generator to a building electrical system must be made by a qualified electrician and in strict compliance with all national and local electrical codes and laws.
Know Generator Limits
Overloading a generator can result in damage to the generator and connected electrical devices. Observe the following to prevent overload:
- Add up the total wattage of all electrical devices to be connected at one time. This total should NOT be greater than the generator's wattage capacity.
- The rated wattage of lights can be taken from light bulbs. The rated wattage of tools, appliances, and motors can be found on a data label or decal affixed to the device.
- If the appliance, tool, or motor doesn't give wattage, multiply volts times ampere rating to determine watts (volts x amps = watts).
- Some electric motors, such as induction types, require about three times more watts of power for starting than for running. This surge of power lasts only a few seconds when starting such motors. Make sure to allow for high starting wattage when selecting electrical devices to connect to the generator:
- Figure the watts needed to start the largest motor.
- Add to that figure the running watts of all other connected loads.
The Wattage Reference Guide is provided to assist in determining how many items the generator can operate at one time.
NOTE: All figures are approximate. See data label on appliance for wattage requirements.
Table 3. Wattage Reference Guide
| Device Running | Watts |
| *Air Conditioner (12,000 Btu) 1700 | |
| *Air Conditioner (24,000 Btu) 3800 | |
| *Air Conditioner (40,000 Btu) 6000 | |
| Battery Charger (20 Amp) 500 | |
| Belt Sander (3") 1000 | |
| Chain Saw | 1200 |
| Circular Saw (6-1/2") | 800 to 1000 |
| *Clothes Dryer (Electric) | 5750 |
| *Clothes Dryer (Gas) | 700 |
| *Clothes Washer | 1150 |
| Coffee Maker | 1750 |
| *Compressor (1 HP) | 2000 |
| *Compressor (3/4 HP) | 1800 |
| *Compressor (1/2 HP) | 1400 |
| Curling Iron | 700 |
| *Dehumidifier | 650 |
| Disc Sander (9") | 1200 |
| Edge Trimmer | 500 |
| Electric Blanket | 400 |
| Electric Nail Gun | 1200 |
| Electric Range (per element) | 1500 |
| Electric Skillet | 1250 |
| *Freezer | 700 |
| *Furnace Fan (3/5 HP) | 875 |
| *Garage Door Opener | 500 to 750 |
| Hair Dryer 1200 | |
| Hand Drill | 250 to 1100 |
| Hedge Trimmer | 450 |
| Impact Wrench | 500 |
| Iron | 1200 |
| *Jet Pump | 800 |
| Lawn Mower | 1200 |
| Light Bulb | 100 |
| Microwave Oven | 700 to 1000 |
| *Milk cooler | 1100 |
| Oil Burner on Furnace | 300 |
| Oil Fired Space Heater (140,000 Btu) | 400 |
| Oil Fired Space Heater (85,000 Btu) | 225 |
| Oil Fired Space Heater (30,000 Btu) | 150 |
| *Paint Sprayer, Airless (1/3 HP) | 600 |
| Paint Sprayer, Airless (hand-held) | 150 |
| Radio | 50 to 200 |
| *Refrigerator | 700 |
| Slow Cooker | 200 |
| *Submersible Pump (1-1/2 HP) | 2800 |
| *Submersible Pump (1 HP) | 2000 |
| *Submersible Pump (1/2 HP) | 1500 |
| *Sump Pump | 800 to 1050 |
| *Table Saw (10") | 1750 to 2000 |
| Television | 200 to 500 |
| Toaster | 1000 to 1650 |
| Weed Trimmer | 500 |
| *Allow 3 times the listed watts for starting these devices. | |
Transporting/Tipping of the Unit
Do not operate, store or transport the unit at an angle greater than 15 degrees.
Starting Pull Start Engines

WARNING
Recoil Hazard. Recoil could retract unexpectedly. Kickback could result in death or serious injury.
(000183)
CAUTION
Equipment and property damage. Disconnect electrical loads prior to starting or stopping unit. Failure to do so could result in equipment and property damage. (000136)
- Unplug all electrical loads from the unit's receptacles before starting engine.
- Place generator on a level surface.
- Turn main breaker switch Off (A). See Figure 3-2.
- Turn fuel valve On (B). See Figure 3-2.

Figure 3-2.Main Breaker Switch and Fuel On/Off Valve
- See Figure 3-3. Switch engine control lever to Run (B).

Figure 3-3. Engine Control Lever
- See Figure 3-4. Press control panel engine Run/Stop switch to Run (C).
- Squeeze primer bulb 5-10 times until firm. The fuel filter should show fuel level at least half full.
-
Firmly grasp recoil handle and pull slowly until increased resistance is felt. Flip red decompression lever on top of engine. Pull rapidly up and away.
-
Repeat this procedure until the engine starts. If the engine does not start within 5 pulls, confirm steps 1-6 and perform step 7 again.

Figure 3-4. Engine Run/Stop Switch
- Allow engine to run for at least 10 seconds, then turn main breaker On (A). See Figure 3-2 or Figure 3-4.
- Select voltage rating with voltage selector (D). See Figure 3-4.
IMPORTANT NOTE: Do not overload the generator. Also, do not overload individual panel receptacles. These outlets are protected against overload with push-to-reset type circuit breakers. If amperage rating of any circuit breaker is exceeded, that breaker opens and electrical output to that receptacle is lost. Read Know Generator Limits carefully.
Starting Electric Start Engines
CAUTION
Equipment and property damage. Disconnect electrical loads prior to starting or stopping unit. Failure to do so could result in equipment and property damage. (000136)
- Turn main breaker switch to Off (A). See Figure 3-2 or Figure 3-4.
- Unplug all electrical loads from the unit's receptacles before starting engine.
- Place generator on a level surface.
- Turn fuel valve On (A). See Figure 3-2.
- See Figure 3-3. Switch engine control lever to Run (B).
- Squeeze primer bulb 5-10 times until firm. The fuel filter should show fuel level at least half full.
- Press and hold the Engine Start switch (C) until engine starts. See Figure 3-4. Release Engine Start switch if engine does not start within 5 seconds. If engine does not start within 5 seconds, review start-up procedure again before attempting start. If problems persist, refer to Troubleshooting.
- Turn Main Breaker to On.
- Select voltage rating with Voltage Selector (D).
Generator Shut Down
CAUTION
Equipment and property damage. Disconnect electrical loads prior to starting or stopping unit. Failure to do so could result in equipment and property damage. (000136)
- Turn main breaker switch Off.
- Switch engine start switch to Off.
- Turn fuel valve Off.
Emergency Shutdown Procedure
- Press down on small red lever on lower engine controls (near recoil handle and dipstick) to the Stop position.
- Turn main breaker switch Off.
- Switch engine start switch to Off.
- Turn fuel valve Off.
To re-start engine, the engine control lever must be moved to Run (B). See Figure 3-3.
Low Oil Pressure Switch
The engine is equipped with a low oil pressure switch that shuts down the engine automatically when the oil level drops below a specified level. The engine will not run until the oil has been filled to the proper level.
If the engine shuts down and there is sufficient fuel, check engine oil level.
Section 4 Maintenance and Troubleshooting
Maintenance
Regular maintenance will improve performance and extend engine/equipment life. Generac Power Systems, Inc. recommends that all maintenance work be performed by an Independent Authorized Service Dealer (IASD). Regular maintenance, replacement, or repair of the emissions control devices and systems may be performed by any repair shop or person of the owner's choosing. To obtain emissions control warranty service free of charge, the work must be performed by an IASD. See the emissions warranty.
NOTE: Call 1-888-GENERAC (1-888-436-3722) with questions about component replacement.
Maintenance Schedule
Follow maintenance schedule intervals, whichever occurs first according to use.
NOTE: Adverse conditions will require more frequent service.
NOTE: All required service and adjustments should be each season as detailed in the following chart.
| At Each Use |
| Check engine oil level |
| Every Season |
| Check valve clearance*** |
| Every 200 Hours or Every Season |
| Inspect/clean air cleaner filter** |
| Change oil and oil filter ‡* |
| Check engine speed control |
| Drain fuel tank & replace outlet fuel filter |
| Every 1000 Hours |
| Check compression |
| Every 1500 Hours |
| Inspect, clean & test fuel injection nozzle |
| Every 2000 Hours |
| Check & replace fuel hoses |
-
Change oil after first 50 hours of operation, then every season.
-
Change oil and oil filter every month when operating under heavy load or in high temperatures.
Clean more often under dirty or dusty operating conditions. Replace air filter parts if they cannot be adequately cleaned.
* Check valve clearance and adjust if necessary after first 50 hours of operation and every 400 hours thereafter.
Preventive Maintenance
Dirt or debris can cause improper operation and equipment damage. Clean generator daily or before each use. Keep area around and behind muffler free from combustible debris. Inspect all cooling air openings on generator.
WARNING
Personal injury. Do not insert any object through the air cooling slots. Generator can start at any time and could result in death, serious injury, and unit damage.
(000142a)
- Use a damp cloth to wipe exterior surfaces clean.
- Use a soft bristle brush to loosen caked on dirt, oil, etc.
- Use a vacuum to pick up loose dirt and debris.
- Low pressure air (not to exceed 25 psi [172 kPa]) may be used to blow away dirt. Inspect cooling air slots and openings on generator. These openings must be kept clean and unobstructed.
NOTE: DO NOT use a garden hose to clean generator. Water can enter engine fuel system and cause problems. If water enters generator through cooling air slots, some water will be retained in voids and crevices of rotor and stator winding insulation. Water and dirt buildup on generator internal windings will decrease insulation resistance of windings.
Engine Maintenance
Engine Oil Recommendations
To maintain the product warranty, the engine oil should be serviced in accordance with the recommendations of this manual. For your convenience, maintenance kits designed and intended for use on this product are available from the manufacturer that include engine oil, oil filter, air filter, spark plug(s), a shop towel and funnel. These kits can be obtained from an Independent Authorized Service Dealer (IASD).
CAUTION
Engine damage. Verify proper type and quantity of engine oil prior to starting engine. Failure to do so could result in engine damage.
(000135)

Inspect Engine Oil Level

A WARNING
Risk of burns. Allow engine to cool before draining oil or coolant. Failure to do so could result in death or serious injury.
(000139)
Inspect engine oil level prior to each use, or every 8 hours of operation.
- Place generator on a level surface.
- Clean area around oil fill.
- See Figure 4-1. Remove oil fill cap and wipe dipstick clean.

Figure 4-1. Engine Oil Fill
000115
- Screw dipstick into filler neck. Verify oil level is within safe operating range. See Figure 4-2.

Figure 4-2. Safe Operating Range
000116
- Add recommended engine oil as necessary.
- Replace oil fill cap and hand-tighten.
NOTE: Some units have more than one oil fill location. It is only necessary to use one oil fill point.
Change Engine Oil
WARNING
Accidental Start-up. Disconnect the negative battery cable, then the positive battery cable when working on unit. Failure to do so could result in death or serious injury. (000130)
When using generator under extreme, dirty, dusty conditions, or in extremely hot weather, change oil more frequently.
NOTE: Don't pollute. Conserve resources. Return used oil to collection centers.
Change oil while engine is still warm from running, as follows:
- Place generator on a level surface.
- Clean area around oil fill, and oil drain plug.
- Remove oil fill cap.
- Remove oil drain plug and drain oil completely into a suitable container.
- Install oil drain plug and tighten securely.
- Slowly pour oil into oil fill opening until oil level is between the crosshatch marks on dipstick. DO NOT overfill.
- Install oil fill cap, and finger tighten.
- Wipe up any spilled oil.
- Properly dispose of oil in accordance with all applicable regulations.
Air Filter
Engine will not run properly and may be damaged if run with a dirty air filter. Service air filter more frequently in dirty or dusty conditions. To service air filter:
- See Figure 4-3. Turn knob (A) and remove air filter cover.
- Wash in soapy water. Squeeze filter dry in clean cloth (DO NOT TWIST).
- Clean air filter cover before re-installing it.
NOTE: To order a new air filter, contact the nearest Authorized Service Dealer at 1-888-GENERAC (1-888-436-3722).

Figure 4-3. Air Filter Assembly
Battery Replacement (if applicable)
NOTE: A battery may lose some charge when not in use for prolonged periods of time.
WARNING
Accidental Start-up. Disconnect the negative battery cable, then the positive battery cable when working on unit. Failure to do so could result in death or serious injury. (000130)
The following tools are required to replace the battery.
- 7/16" (11mm) ratchet, socket and wrench See Figure 4-4.
- Disconnect negative (-) battery terminal FIRST (A).
- Disconnect positive (+) battery terminal SECOND (B).
- Loosen wing nuts and remove battery bracket and hardware.
- Replace battery by following instructions in the Battery Installation section.

Figure 4-4. Battery Connection
Inspect Muffler and Spark Arrestor (if equipped)
NOTE: It is a violation of California Public Resource Code, Section 4442, to use or operate the engine on any forest-covered, brush-covered, or grass-covered land unless the exhaust system is equipped with a spark arrester, as defined in Section 4442, maintained in effective working order. Other states or federal jurisdictions may have similar laws.
Contact original equipment manufacturer, retailer, or dealer to obtain a spark and designed for exhaust system installed on this engine.
NOTE: Use ONLY original equipment replacement parts.
Inspect muffler for cracks, corrosion, or other damage. Remove spark arrester, if equipped, inspect for damage or carbon blockage. Replace parts as required.
Valve Clearance
Important: Please contact an Independent Authorized Service Dealer for service assistance. Proper valve clearance is essential for prolonging the life of the engine.
Storage
General

DANGER
Explosion and Fire. Fuel and vapors are extremely flammable and explosive. Store fuel in a well ventilated area. Keep fire and spark away. Failure to do so will result in death or serious injury.
(000143)

WARNING
Risk of Fire. Verify machine has properly cooled before installing cover and storing machine. Hot surfaces could result in fire.
(000109)
It is recommended to start and run the generator for 30 minutes, every 30 days. If this is not possible, refer to the following list to prepare unit for storage.
DO NOT place a storage cover on a hot generator. Allow unit to cool to room temperature before storage.
DO NOT store fuel from one season to another unless properly treated.
- Replace fuel container if rust is present. Rust in fuel will cause fuel system problems.
- Cover unit with a suitable protective, moisture resistant cover.
- Store unit in a clean and dry area.
Always store generator and fuel away from heat and ignition sources.
Prepare Fuel System for Storage

WARNING
Vision Loss. Eye protection is required to avoid spray from spark plug hole when cranking engine. Failure to do so could result in vision loss.
(000181)
Recoil Start
- Push and hold decompression down and slowly pull recoil starter 2 to 3 times. Do not start engine.
- Pull decompression lever up. Pull recoil slowly until resistance is felt. This will close valves so moisture cannot enter engine cylinder. Gently release recoil.
Electric Start
- Push and hold decompression lever down.
- Push Start/Run/Stop switch to turn the engine for 2 to 3 seconds. Do not start engine.
- Pull decompression lever up. Pull recoil slowly until resistance is felt. This will close valves so moisture cannot enter engine cylinder. Gently release recoil.
- Completely drain fuel tank or completely fill fuel tank to proper level.
NOTE: Always treat diesel fuel for long term storage. Use the approved fuel additive and water abatement material. Test stored fuel every 90 days and provide additional treatment if required. Periodically check and dry abatement material as necessary.
Change Oil
Change engine oil before storage. See Change Engine Oil
Return Engine to Service
- Refer to the Before Starting Engine section.
-
Start engine and run at no load for 5 to 10 minutes while checking:
-
oil pressure
- fuel, engine oil or coolant leaks
proper operation of indicators/gauges
NOTE: Avoid prolonged operation at minimum or maximum engine speeds and loads for the first hour of operation.
Troubleshooting
| PROBLEM | CAUSE | CORRECTION |
| Engine is running, but AC output is not available. | 1. Circuit breaker OPEN. 2. Poor connection or defective cord set. 3. Connected device is bad. 4. Fault in generator. 5. Main breaker switch is OFF. 6. Voltage selector switch is OFF. 7. Generator is overloaded. 8. GFCI outlet has tripped. | 1. Reset circuit breaker. 2. Check and repair. 3. Connect another device that is in good condition. 4. Contact Authorized Service Dealer. 5. Switch main breaker ON. 6. Switch voltage selector switch to desired voltage output. 7. See Know Generator Limits 8. Correct ground fault in circuit and reset GFCI. |
| Engine runs well at no-load, but bogs when load is applied. | 1. Short circuit in a connected load. 2. Generator is overloaded. 3. Engine speed is too slow. 4. Shorted generator circuit. | 1. Disconnect shorted electrical load. 2. See Know Generator Limits 3. Contact Authorized Service Dealer. 4. Contact Authorized Service Dealer. |
| PROBLEM CAUSE CORRECTION | ||
| Engine will not start; or starts and runs rough. | 1. Incorrect start sequence. 2. Fuel valve is OFF. 3. Dirty air filter. 4. Out of fuel. 5. Stale or contaminated fuel. 6. Low oil level. 7. Excessive rich fuel mixture. 8. Dirty fuel filter. 9. Air in fuel system. 10. Engine is under electrical load. 11. Battery not installed. 12. Battery weak or dead. | 1. Review & follow starting procedure. 2. Turn fuel valve ON. 3. Clean or replace air filter. 4. Fill fuel tank. 5. Drain fuel tank and fill with fresh fuel. 6. Fill crankcase to correct level. 7. Contact Authorized Service Dealer. 8. Replace fuel filter. 9. Repeat priming procedure. If no start condition persists Contact Authorized Service Dealer. 10. Remove all equipment from receptacles. Make sure the main breaker switch is OFF. 11. Install battery. 12. Charge or replace battery. |
| Engine shuts down during operation. | 1. Out of fuel. 2. Low oil level. 3. Fault in engine. 4. Ambient temp too high. 5. Battery weak or dead. | 1. Fill fuel tank. Prime fuel system. See Starting Pull Start Engines or Starting Electric Start Engines 2. Fill crankcase to correct level. 3. Contact Authorized Service Dealer. 4. Move unit to cooler location and allow engine to cool before running again. 5. Charge or replace battery. |
| Engine lacks power. 1. Load is too high. 2. Dirty air filter. 3. Engine needs to be serviced. 4. Excessive valve lash. 5. Dirty fuel filter. 6. Fuel injector clogged. | 1. Reduce load. See Know Generator Limits 2. Clean or replace air filter. 3. Contact Authorized Service Dealer. 4. Contact Authorized Service Dealer. 5. Replace fuel filter. 6. Contact Authorized Service Dealer. | |
| Engine surges or stumbles. | 1. Governor/throttle assembly is not adjusted properly. 2. Air in fuel system. 3. Battery weak or dead. | 1. Contact Authorized Service Dealer. 2. Contact Authorized Service Dealer. 3. Charge or replace battery. |
Notes
Part No. 0L3191 Rev. C 09/25/18
©2018 Generac Power Systems, Inc.
All rights reserved
Specifications are subject to change without notice.
No reproduction allowed in any form without prior
written consent from Generac Power Systems, Inc.
GENERAC
PRO
Generac Power Systems, Inc.
S45 W29290 Hwy. 59
Waukesha, WI 53189
1-888-GENERAC (1-888-436-3722)
wwwgenerac.com/pro
Generador diesel portátil XD5000E
©2018 Generac Power Systems, Inc.
©2018 Generac Power Systems, Inc.
EasyManual