JE 3877 - Juicer FRITEL - Free user manual and instructions
Find the device manual for free JE 3877 FRITEL in PDF.
Frequently Asked Questions - JE 3877 FRITEL
User questions about JE 3877 FRITEL
0 question about this device. Answer the ones you know or ask your own.
Ask a new question about this device
Download the instructions for your Juicer in PDF format for free! Find your manual JE 3877 - FRITEL and take your electronic device back in hand. On this page are published all the documents necessary for the use of your device. JE 3877 by FRITEL.
USER MANUAL JE 3877 FRITEL
USER MANUAL AND RECIPES
Congratulations! With this fantastic juice extractor, you will transform your fruit and vegetables into delicious juices. Please read this user manual and the guarantee terms attentively before using the juice extractor. Keep the manual carefully. Persons, who have not read this user manual, are not allowed to use this juice extractor.

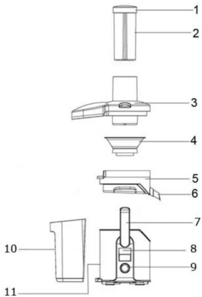
PRODUCTBESCHRIJVING
1.Pusher cover
2.Pusher
3.Cover with feeding tube
4. Stainless steel sieve
5.Juice collector
6.juice outlet
7. Safety brackets
8. LED display
9. Continuously adjustable speed
10. Residue container
11. Motor base with stainless steel housing
LED DISPLAY - OMSCHRIJVING
ECRAN LED - DESCRIPTION
CONDITIONS DE GARANTIE
This juice extractor is constructed and assembled in accordance with the European CE safety standards.
IMPORTANT SAFETY PRESCRIPTIONS
- NEVER push food into the filling shaft with the hands. Always use the pusher. In case the food gets stuck, always switch off the appliance and wait until the motor has stopped running. Then disassemble the appliance to remove the food.
- NEVER touch the knives of the stainless steel sieve with the hands.
- NEVER use the appliance when the sieve is damaged.
- DO NOT overload the appliance or don't use too much power when pushing the food down the shaft.
- DO NOT use the appliance if the rotating sieve is damaged.
- This appliance may be used by children of min. 8 years old, by persons with reduced physical, sensory or mental capabilities or lack of experience and knowledge on condition they are supervised and instructed to use the appliance in a safe way and understand the hazards involved. Children may not play with the appliance. Cleaning and user maintenance shall not be made by children unless they are older than 8 years and supervised. Keep the appliance and its cord out of reach of children less than 8 years.
- Always control if the juice extractor is properly assembled. For your own safety, the appliance won't work in case it wasn't properly assembled.
- Always place the appliance on a solid base, such as a kitchen counter or table, so that the appliance won't move or turn over.
- NEVER immerse the motor housing, the power supply cord or the plug in water or any other liquid. Only clean the appliance with a damp cloth.
- Switch off the appliance immediately after use and wait until the motor has completely stopped turning. Then remove the plug from the power point. Also proceed this way when the appliance is not in use, before cleaning and moving.
- DO NOT use the appliance if the power supply cord or plug is damaged.
- NEVER use extension cords or sockets. Place the appliance near a power point and connect it directly.
- DO NOT use the appliance outdoors.
- DO NOT use abrasive cleaning products.
- NEVER let the cord hang over the edge of the table or the counter.
- NEVER place the power supply cord near heat sources such as cookers, heating or ovens.
-
NEVER use the appliance when it is damaged or has fallen, when it shows a disturbance or when the power cord is damaged. In all these cases, please return the appliance to your sales point or to a registered service point.
-
This appliance disposes of a continuously adjustable speed control (5 different speed position)
- Before plugging in the appliance, make sure that the speed control button is on the OFF position. Then, when you plug in the appliance, it is in standby-mode. The LED display shows the following:

-
On the illustrations below, you can see the 5 different speed positions:
-
Position 1= for very soft fruit and vegetables
- Position 2 = for soft fruit and vegetables
- Position 3 = for medium fruit and vegetables
- Position 4= for firm fruit and vegetables
- Position 5 = for very firm fruit and vegetables





- If the appliance is not correctly assembled or if the safety brackets have not been fixed, the appliance will not work. In that case, the LED display will blink and show an 'L', as you can see below:

- When the motor reaches a 110^ temperature, the appliance will shut down for your safety, and this until the temperature has dropped below 100^ .
- When the appliance is left unused for more than 5 min., the lighting on the LED display will automatically turn off.
BEFORE THE FIRST USE
- Check if the mains voltage of your appliance (230 Volt) corresponds with the mains voltage in your home.
- Remove all packaging, the label on the filling shaft and the label on the LED display. Then clean the parts as described in ' Maintenance and cleaning', before using the appliance for the first time.
ASSEMBLING THE JUICE EXTRACTOR
- Place the juice collector on the motor base
- Place the stainless steel sieve inside the juice collector and gently press down until the sieve is well fixed.
- Place the lid with filling shaft on the juice collector
- Slide the pusher in the filling shaft
- Lock the safety brackets
- Place the Residue container under the large outlet of the lid. Make sure that the bottom of the container is placed on the support piece on the juice extractor.
- Place a glass/carafe under the juice outlet
PRACTICAL TIP: The cleaning process is being simplified by placing a plastic bag in the residue container. In this way, you can remove the residue without spilling.
HOW TO USE THE JUICE EXTRACTOR
- First wash the fruit and vegetables under running water.
- Check if the juice extractor is assembled correctly.
- Make sure that the speed control button is on the OFF position. Pull the plug into the socket (230 V.).
- Select your speed position. Take out the pusher of the filling shaft and fill it. DO NOT fill the shaft completely. Place back the pusher into the filling shaft and gently press down the food. With firmer apple varieties a.o., you could feel a little resistance. Briefly press harder the apple until it touches the grater. Then push gently again.
- The juice is running into the glass/carafe and the residue into the residue container.
IMPORTANT: Make sure the residue container is not too full. In that case, the appliance will not work properly or can even get damaged. Always switch off the juice extractor before emptying the residue container.
DISASSEMBLING THE JUICE EXTRACTOR
- Turn the speed control button on the OFF position and pull the plug out of the socket.
- Unlock the safety brackets
- Remove the residue container from under the lid.
- Remove the lid with fillingshaft and pusher.
- Remove the juice collector together with the sieve. This will enable you to remove the sieve easily afterwards. DO NOT touch the grater inside the stainless steel sieve with your hands!
IMPORTANT: The grater in the stainless steel sieve is very sharp. NEVER touch the grater or the cutting surface with your hands. ALWAYS take stainless steel sieve by the rim.
MAINTENANCE AND CLEANING
- Turn the speed control button on the OFF position and pull the plug out of the socket.
- Then disassemble the appliance. (see 'disassembling the juice extractor')
- NEVER clean the parts in the dish-washer, but clean them in hot soapy water.
- NEVER immerse the motor housing in water or any kind of fluid. The motor housing needs to be cleaned with a damp cloth.
- The stainless steel sieve can be cleaned easily with a nylon washing-up brush in warm soapy water.
NEVER immerse the stainless steel sieve in a bleaching product.
TIP: Strongly colouring food (e.g. beet, red cabbage, ...) can leave behind a colour. You can prevent this by cleaning the sieve immediately after use.
TIP: The stainless steel sieve can be easily cleaned if you let it soak for about 10 minutes in hot soapy water. If the pulp dries on the stainless steel sieve, the fine holes can get clogged.
GUARANTEE PRESCRIPTIONS
Your guarantee starts on the day of purchase and is valid for 2 years and will only apply after submitting the purchase invoice. The guarantee will expire irrevocably and immediately when the juice extractor is used for purposes other than domestical (i.e. professional).
- The guarantee covers every repair and/or replacement free of charge of the parts recognized defective by our technical department and if the damage is due to faulty manufacture, construction or material.
- The guarantee is only valid for the original user.
- Carriage, both ways, is for the purchaser's account.
The guarantee expires in the following cases :
- Incorrect connection, e.g. electric voltages.
- Abnormal use, misuse handling, lack of care.
- Modifications or repairs made to the appliance by persons not authorized by us as manufacturer.
- When reference numbers altered or removed.
ASSISTANCE FOR MALFUNCTIONS
| Problem analysis | Possible solution |
| The appliance doesn’t work when it is switched on. | For your own safety, the appliance will only work if the appliance is correctly assembled. |
| - The motor doesn’t run when juicing. - The pulp is too wet and there is too little juice to collected. - The juice comes out between the lid and the juice collector. | If you work too fast and the food is being pushed down too strong, the residue will collect under the lid. Don’t push down the food too strongly with the pusher. |
| Residues are collecting in the stainless steel sieve. | Interrupt the process. Remove the lid from the appliance and carefully remove as much residue as possible from the sieve and rinse the sieve thoroughly. Replace the lid on the appliance. If possible, use other kinds of fruit and vegetables. |
USEFUL TIPS
In case the above mentioned solutions remain without results, please return your juice extractor to a certified reparation centre or to your sales point
DO NOT use the appliance in case of a malfunction of when the power cord is damaged. Please address your sales point immediately.
THE APPLIANCE HAS BEEN DESIGNED FOR DOMESTIC USE. THE GUARANTEE CONDITIONS EXPIRE UPON PROFESSIONAL USE; DEFECT AND/OR DAMAGES FOLLOWING TO THE NON OBSERVANCE OF THE USER MANUAL ARE NOT COVERED BY THE GUARANTEE.
ENVIRONMENT

DO NOT throw the appliance away with the normal household waste at the end of its life, but hand it in at an official collection point for recycling. By doing this you will help to preserve the environment.
LIABILITIES
All liabilities, towards both consumer(s) and third parties, that could result from not observing all the safety regulations prescribed in this user manual, can under no circumstances be charged to the manufacturer. In case of non-observation of these safety regulations, the user of the deep fryer, or any other person not having observed these safety regulations, protects the manufacturer from all responsibilities that he could be charged with.
D - DEUTSCH
GEBRAUCHSANWEISUNG
1 grapefruit / 2 oranges / 1 pineapple / 100 ml coconut milk
Peel all the fruit and slice into pieces. Then add to the juice extractor with the coconut milk. (2 p)
Cocktails
2 peaches / 1 orange / 1 cs grenadine / 12 lemon / 100 ml champagne / ice cubes
Peel all the fruit, slice into pieces and squeeze it in the juice extractor. Pour over into a glass and add grenadine, champagne and ice cubes. (2 p)
Morning kick
2 oranges / 1/4 yellow melon / 1/4 pineapple / 1 kiwi
Peel all the fruit, slice into pieces and squeeze it in the juice extractor. Pour over into a glass.
Boost
2 carrots / 1/2 cucumber / 2 blanched celery / 1/2 red beet
Clean carrots and blanched celery and remove the tips. Clean the red beet and remove the fibrous underside. Slice the cucumber into pieces. First juice the red beet, then the carrot, blanched celery and cucumber. Poor over into a glass.
Perfect for lunch
1/4 water melon / 2 limes / clear honey / ice-cooled water to dilute
Peel all the fruit, slice into pieces and squeeze it in the juice extractor. Dilute it with the ice-cooled water and honey.
Perfect for diner
3 large tomatoes / 12 lettuce /a piece of cucumber of 5 cm / a handful of parsley / 12 lemon Slice everything into pieces and squeeze one after the other.
Nightcap
2 carrots / 2 blanched celery / a handful of watercress
Clean the carrots and the blanched salary and remove the tips. Wash the watercress. Juice all the ingredients together and pour over into a glass.
For more delicious recipes, surf to www.vanratingen.com
J. van RATINGEN NV
Industriezone Kiewit
Stadsheide 11
B-3500 Hasselt
E-mail: info@vanratingen.com - www.vanratingen.com
V2012-06
EasyManual