PEMX 965 A - Cooker DELONGHI - Free user manual and instructions
Find the device manual for free PEMX 965 A DELONGHI in PDF.
Frequently Asked Questions - PEMX 965 A DELONGHI
Questions des utilisateurs sur PEMX 965 A DELONGHI
0 question sur cet appareil. Repondez a celles que vous connaissez ou posez la votre.
Poser une nouvelle question sur cet appareil
Download the instructions for your Cooker in PDF format for free! Find your manual PEMX 965 A - DELONGHI and take your electronic device back in hand. On this page are published all the documents necessary for the use of your device. PEMX 965 A by DELONGHI.
USER MANUAL PEMX 965 A DELONGHI
English Instructions for the use - Installation advices
The manufacturer cannot be held responsible for possible inaccuracies due to printing or transcription errors in the present booklet.
The manufacturer reserves the right to make all modifications to its products deemed necessary for manufacturer commercial reasons at any moment and without prior notice, without jeopardising the essential functional and safety characteristics of the appliances.
Thank you for having purchased and given your preference to our product.
The safety precautions and recommendations reported below are for your own safety and that of others. They will also provide a means by which to make full use of the features offered by your appliance.
Please preserve this booklet carefully. It may be useful in future, either to yourself or to others in the event that doubts should arise relating to its operation.
This appliance must be used only for the task it has explicitly been designed for, that is for cooking foodstuffs. Any other form of usage is to be considered as inappropriate and therefore dangerous.
The manufacturer declines all responsibility in the event of damage caused by improper, incorrect or illogical use of the appliance.
DECLARATION OF CE CONFORMITY
This cooker has been designed, constructed, and marketed in compliance with:
- Safety requirements of the "Gas" Directive 2009/142/EC;
- Safety requirements of the "Low voltage" Directive 2006/95/EC;
- Safety requirements of the "EMC" Directive 2004/108/EC;
- Requirements of EU Directive 93/68/EEC;
- Requirements of EU Directive 2011/65/EU.

IMPORTANT INFORMATION FOR CORRECT DISPOSAL OF THE PRODUCT IN ACCORDANCE WITH EC DIRECTIVE 2002/96/EC
(for European Union countries only)
At the end of its working life, the product must not be disposed of as urban waste. It must be taken to a special local authority differentiated waste collection centre or to a dealer providing this service.
Disposing of a household appliance separately avoids possible negative consequences for the environment and health deriving from inappropriate disposal and enables the constituent materials to be recovered to obtain significant savings in energy and resources. As a reminder of the need to dispose of household appliances separately, the product is marked with a crossed-out wheeled dustbin.


IMPORTANT SAFETY PRECAUTIONS AND RECOMMENDATIONS
IMPORTANT: This appliance is designed and manufactured solely for the cooking of domestic (household) food and is not suitable for any non domestic application and therefore should not be used in a commercial environment.
The appliance guarantee will be void if the appliance is used within a non domestic environment i.e. a semi commercial, commercial or communal environment.
Read the instructions carefully before installing and using the appliance.
- After having unpacked the appliance, check to ensure that it is not damaged and that the oven door closes correctly. In case of doubt, do not use it and consult your supplier or a professionally qualified technician.
- Packing elements (i.e. plastic bags, polystyrene foam, nails, packing straps, etc.) should not be left around within easy reach of children, as these may cause serious injuries.
- Some appliances are supplied with a protective film on steel and aluminium parts. This film must be removed before using appliance.
- IMPORTANT: The use of suitable protective clothing/gloves is recommended when handling or cleaning this appliance.
- Do not attempt to modify the technical characteristics of the appliance as this may become dangerous to use. The manufacturer declines all responsibility for any inconvenience resulting from the inobservance of this condition.
- CAUTION: this appliance must only be installed in a permanently ventilated room in compliance with the applicable regulations.
- Do not operate your appliance by means of an external timer or separate remote-control system.
- Do not carry out cleaning or maintenance operations on the appliance without having previously disconnected it from the electric power supply.
-
WARNING: Ensure that the appliance is switched off before replacing the oven lamp to avoid the possibility of electric shock.
-
Do not use a steam cleaner because the moisture can get into the appliance thus make it unsafe.
- Do not touch the appliance with wet or damp hands (or feet).
- Do not use the appliance whilst in barefoot.
- If you should decide not to use this appliance any longer (or decide to substitute another model), before disposing of it, it is recommended that it be made inoperative in an appropriate manner in accordance to health and environmental protection regulations, ensuring in particular that all potentially hazardous parts be made harmless, especially in relation to children who could play with unused appliances.
- The various components of the appliance are recyclable. Dispose of them in accordance with the regulations in force in your country. If the appliance is to be scrapped, remove the power cord.
After use, ensure that the knobs are in the off position. - Children less than 8 years of age shall be kept away unless continuously supervised.
- This appliance can be used by children aged from 8 years and above and persons with reduced physical, sensory or mental capabilities or lack of experience and knowledge if they have been given supervision or instruction concerning use of the appliance in a safe way and understand the hazards involved. Children shall not play with the appliance. Cleaning and user maintenance shall not be made by children without supervision.
-
The manufacturer declines all liability for injury to persons or damage to property caused by incorrect or improper use of the appliance.
WARNING: During use the appliance and its accessible parts become hot; they remain hot for some time after use. -
Care should be taken to avoid touching heating elements (on the hob and inside the oven).
- The door is hot, use the handle.
-
To avoid burns and scalds, young children should be kept away.
-
Make sure that electrical cables connecting other appliances in the proximity of the cooker cannot come into contact with the hob or become entrapped in the oven door.
- WARNING: Unattended cooking on a hob with fat or oil can be dangerous and may result in fire. NEVER try to extinguish a fire with water, but switch off the appliance and then cover flame e.g. with a lid or a fire blanket.
WARNING: Danger of fire: do not store items on the cooking surfaces.
- WARNING: When correctly installed, your product meets all safety requirements laid down for this type of product category. However special care should be taken around the rear or the underneath of the appliance as these areas are not designed or intended to be touched and may contain sharp or rough edges, that may cause injury.
- FIRST USE OF THE OVEN - it is advised to follow these instructions: - Furnish the interior of the oven as described in the chapter "CLEANING AND MAINTENANCE".
- Switch on the empty oven on max to eliminate grease from the heating elements.
- Disconnect the appliance from the electrical power supply, let the oven cool down and clean the interior of the oven with a cloth soaked in water and neutral detergent; then dry carefully.
- CAUTION: Do not use harsh abrasive cleaners or sharp metal scrapers to clean the oven door glass since they can scratch the surface, which may result in shattering of the glass.
- Do not line the oven walls with aluminium foil. Do not place baking trays or the drip tray on the base of the oven chamber.
- FIRE RISK! Do not store flammable material in the oven or in the storage compartment.
- Always use oven gloves when removing the shelves and food trays from the oven whilst hot.
- Do not hang towels, dishcloths or other items on the appliance or its handle – as this could be a fire hazard.
- Clean the oven regularly and do not allow fat or oils to build up in the oven base or tray. Remove spillages as soon as they occur.
- Do not stand on the cooker or on the open oven door.
- Always stand back from the appliance when opening the oven door to allow steam and hot air to escape before removing the food.
- SAFE FOOD HANDLING: Leave food in the oven for as short a time as possible before and after cooking. This is to avoid contamination by organisms which may cause food poisoning. Take particular care during warmer weather.
WARNING: Take care NOT to lift the cooker by the door handle.
1 COOKING HOB

Fig. 1.1
GAS BURNERS
- Auxiliary burner (A) 1,00 kW
- Semi-rapid burner (SR) 1,75 kW
- Rapid burner (R) 3,00 kW
- Triple-ring burner (TR) 3,50 kW
Notes:
- The electric ignition is incorporated in the knobs.
- The appliance has a safety valve system fitted, the flow of gas will be stopped if and when the flame should accidentally go out.
CAUTION:
If the burner is accidentally extinguished, turn the gas off at the control knob and wait at least 1 minute before attempting to relight.
CAUTION:
Gas appliances produce heat and humidity in the environment in which they are installed. Ensure that the cooking area is well ventilated by opening the natural ventilation grilles or by installing an extractor hood connected to an outlet duct.
CAUTION:
If the appliance is used for a prolonged time it may be necessary to provide further ventilation by opening a window or by increasing the suction power of the extractor hood (if fitted).

CONTROLS DESCRIPTION
- Front right burner control knob
- Rear right burner control knob
- Central burner control knob
- Rear left burner control knob
- Front left burner control knob
- Multifunction oven thermostat control knob
- Multifunction oven switch control knob
- Electronic clock/programmer
Pilot lamp:
- Oven temperature indicator light
Please note:
This appliance incorporates a safety cooling fan which you will hear operating whenever the oven or grill are in use.
This fan may continue to run for several minutes after the appliance has been switched off. This fan is to reduce the external temperature of the appliance and cool the internal components.
GAS BURNERS
Each burner is controlled by a gas tap (fig.
3.1) assuring the opening and the closing of the gas supply.
Make the lever of the knob match with the indicator on the control panel to obtain:
symbol

off
symbol

full on
(nominal rate)
symbol

reduced rate

Fig. 3.1
To reduce the gas flow to minimum, rotate the knob anti-clockwise to point the lever towards the small flame symbol.
The maximum aperture position permits rapid boiling of liquids, whereas the minimum aperture position allows slower warming of food or maintaining boiling conditions of liquids (simmering).
Other intermediate operating adjustments can be achieved by positioning the lever between the maximum and minimum aperture positions, and never between the maximum aperture and off positions.
Caution!
The cooking hob becomes very hot during operation.
Keep children well out of reach.
N.B. When the cooker is not being sed, set the gas knobs to their closed positions and also close the cock valve on the gas bottle or the main gas supply line.
To ignite the burner, the following instructions are to be followed:
- Press in the corresponding knob and turn counter-clockwise (fig. 3.2) to the
full flame position marked by the symbol (fig. 3.1) and hold the knob in until the flame has been lit.
In the case of a mains failure light the burner with a match or lighted taper.
- Wait for about ten seconds after the gas burner has been lit before letting go of the knob (valve activation delay);
- Adjust the gas valve to the desired position.
If the burner flame should go out for some reason, the safety valve will automatically stop the gas flow.
To re-light the burner, return the knob to the closed position, wait for at least 1 minute and then repeat the lighting procedure.
If your local gas supply makes it difficult to light the burner with the knob set to maximum, set the knob to minimum and repeat the operation.

Fig. 3.2
CHOICE OF THE BURNER
On the control panel, near every knob, there is a diagram that indicates which burner is controlled by that knob.
The suitable burner must be chosen according to the diameter and the capacity used.
As an indication, the burners and the pots must be used in the following way:
| BURNERS POT DIAMETER | ||
| Auxiliary 12 cm (*) | 14 cm | |
| Semi-rapid 16 cm | 24 cm | |
| Rapid | 24 cm | 26 cm |
| Triple-ring | 26 cm | 28 cm |
| do not use pans with concave or convex bases | ||
(^*) with grill for small cookware: minimum diameter 6 cm

It is important that the diameter of the pot be suitable to the potentiality of the burner so as not to compromise the high output of the burners and therefore energy waste. A small pot on a large burner does not give you a boiling point in a shorter amount of time since the capacity of heat absorption of a liquid mass depends on the volume and the surface of the pot.
GRATE FOR SMALL PANS
This grate is to be placed on top of the (smaller) auxiliary burner when using small
diameter pans, in order to prevent them from tipping over.

Attention: The oven door becomes very hot during operation. Keep children away.
Models with glass lid only: The cooker lid must be kept open when the electric oven/grill is in use.
GENERAL FEATURES
As its name indicates, this is an oven that presents particular features from an operational point of view.
In fact, it is possible to insert 7 different programs to satisfy every cooking need.
The 7 positions, thermostatically controlled, are obtained by 4 heating elements which are:
Bottom element 1750 W
Top element 1200 W
- Grill element 2400 W
- Circular element 2500 W
NOTE:
Upon first use, it is advisable to operate the oven for 60 minutes in the position and for another 15 minutes at the maximum temperature (thermostat knob on position 250) in the positions and
eliminate possible traces of grease on the heating elements.
Clean the oven and accessories with warm water and washing-up liquid.
WARNING:
The door is hot, use the handle.
During use the appliance becomes hot. Care should be taken to avoid touching heating elements inside the oven.
OPERATING PRINCIPLES
Heating and cooking in the
MULTIFUNCTION oven are obtained in the following ways:
a. by normal convection
The heat is produced by the upper and lower heating elements.
b. by forced convection
A fan sucks in the air contained in the oven muffle, which sends it through the circular heating element and then sends it back through the muffle.
Before the hot air is sucked back again by the fan to repeat the described cycle, it envelops the food in the oven, provoking a complete and rapid cooking.
It is possible to cook several dishes simultaneously.
c. by semi-forced convection
The heat produced by the upper and lower heating elements is distributed throughout the oven by the fan.
d. by radiation
The heat is irradiated by the infra red grill element.
e. by radiation and ventilation
The irradiated heat from the infra red grill element is distributed throughout the oven by the fan.
f. by ventilation
The food is defrosted by using the fan only function without heat.

Fig. 4.1
Fig. 4.2
THERMOSTAT KNOB (fig. 4.2)
To turn on the heating elements of the oven, set the switch knob on the desired program and the thermostat knob onto the desired temperature.
To set the temperature, it is necessary to make the knob indicator meet the chosen number. The elements will turn ON or OFF automatically according to the energy need which is determined by the thermostat.
FUNCTION SELECTOR KNOB (fig. 4.1)
Rotate the knob clockwise to set the oven for one of the following functions:

OVEN LIGHT
By turning the knob onto this setting we light the oven cavity. The oven remains alight while any of the functions is on.

TRADITIONAL CONVECTION COOKING
The upper and lower heating elements are switched on. The heat is diffused by natural convection and the temperature must be regulated between 50^ and 250^ with the thermostat knob.
It is necessary to preheat the oven before introducing the foods to be cooked.
Recommended for:
For foods which require the same cooking temperature both internally and externally, i.e. roasts, spare ribs, meringue, etc.

GRILLING
The infra-red heating element is switched on. The heat is diffused by radiation. Use with the oven door closed and the thermostat knob to between 50^ and 225^ .
Note: It is recommended that you do not grill for longer than 30 minutes at any onetime.
Attention: the oven door becomes very hot during operation. Keep children away.
For correct use see chapter "USE OF THE GRILL"
Recommended for:
Intense grilling action for cooking with a broiler; browning, crisping, "au gratin", toasting, etc.

DEFROSTING FROZEN FOODS
Only the oven fan is on. To be used with the thermostat knob on " ” because the other positions have no effect. The defrosting is done by simple ventilation without heat.
Recommended for:
To rapidly defrost frozen foods; 1 kilogram requires about one hour.
The defrosting times vary according to the quantity and type of foods to be defrosted.

HOT AIR COOKING
The circular element and the fan are on. The heat is diffused by forced convection and the temperature must be regulated between 50^ and 250^ with the ther mostat knob. It is not necessary to preheat the oven.
Recommended for:
For foods that must be well done on the outside and tender or rare on the inside, i. e. lasagna, lamb, roast beef, whole fish, etc.

VENTILATED GRILL COOKING
The infra-red ray grill and the fan are on. The heat is mainly diffused by radiation and the fan then distributes it throughout the oven. The temperature must be regulated between 50^ and 225^ for max 30 minutes, with the thermostat knob. It is necessary to preheat the oven for about 5 minutes.
Use with the oven door closed.
Attention: the oven door becomes very hot during operation.
Keep children away.
For correct use see chapter "GRILLING AND AU GRATIN".
Recommended for:
For grill cooking when a fast outside browning is necessary to keep the juices in, i. e. veal steak, steak, hamburger, etc.

THAWING AND WARMING UP
The upper element and the circular element connected in series, are switched on; also the fan is on. The heat is diffused by forced convection with the most heat being produced by the upper element.
The temperature must be regulated between 50^ and 140^ with the thermostat knob.
Recommended for:
To keep foods hot after cooking. To slowly heat already cooked foods.

CONVECTION COOKING WITH VENTILATION
The upper and lower heating elements and the fan turn on.
The heat coming from the top and bottom is diffused by forced convection.
The temperature must be regulated between 50^ and 250^ with the thermostat knob.
Recommended for:
For foods of large volume and quantity which require the same internal and external degree of cooking; for ie: rolled roasts, turkey, legs, cakes, etc.
COOKING ADVICE
STERILIZATION
Sterilization of foods to be conserved, in full and hermetically sealed jars, is done in the following way:
a. Set the switch to position
b. Set the thermostat knob to position 185^ and preheat the oven.
c. Fill the dripping pan with hot water.
d. Set the jars onto the dripping pan making sure they do not touch each other and the door and set the thermostat knob to position 135^ .
When sterilization has begun, that is, when the contents of the jars start to bubble, turn off the oven and let cool.
REGENERATION
Set the switch to position and the thermostat knob to position 150^ C.
Bread becomes fragrant again if wet with a few drops of water and put into the oven for about 10 minutes at the highest temperature.
ROASTING
To obtain classical roasting, it is necessary to remember:
- that it is advisable to maintain a temperature between 180 and 200^ .
- that the cooking time depends on the quantity and the type of foods.
SIMULTANEOUS COOKING OF DIFFERENT FOODS
The MULTI-FUNCTION oven set on position and gives simultaneous heterogeneous cooking of different foods.
Different foods such as fish, cake and meat can be cooked together without mixing the smells and flavours.
This is possible since the fats and vapors are oxidized while passing through the electrical element and therefore are not deposited onto the foods.
The only precautions to follow are:
The cooking temperatures of the different foods must be as close to as possible, with a maximum difference of 20^ - 25^
- The introduction of the different dishes in the oven must be done at different times in relation to the cooking times of each one.
The time and energy saved with this type of cooking is obvious.
GRILLING AND "AU GRATIN"
Set the switch to position
Set the thermostat to position 225^ and after having preheated the oven, simply place the food on the shelf.
Close the door and let the oven operate with the thermostat on, until grilling is complete.
Adding a few dabs of butter before the end of the cooking time gives the golden "augratin" effect.
Note: It is recommended that you do not grill for longer than 30 minutes at any one time.
ATTENTION: the oven door becomes very hot during operation.
Keep children away.
USE OF THE GRILL
Preheat the oven for about 5 minutes.
Introduce the food to be cooked, positioning the rack as close to the grill as possible.
The dripping pan should be placed under the rack to catch the cooking juices and fats.
Grilling with the oven door closed.
Do not grill for longer than 30 minutes at any one time.
CAUTION: the oven door becomes very hot during operation. Keep children well out of reach.
OVEN COOKING
Before introducing the food, preheat the oven to the desired temperature.
For a correct preheating operation, it is advisable to remove the tray from the oven and introduce it together with the food, when the oven has reached the desired temperature.
Check the cooking time and turn off the oven 5 minutes before the theoretical time to recuperate the stored heat.
COOKING EXAMPLES
Temperatures are approximate as they vary depending on the quality and amount of food.
Remember to use ovenproof dishes and to adjust the oven temperature during cooking if necessary.
DISHES TEMPERATURE
Cakes 180^ C
Doughnuts 180^
Cheese souffle 200^
Potatoes souffle 200^
Roast veal 200^
Spinach crepes 200^
Potatoes in milk 200^ C
Chicken breasts in tomato 200^
Sole fish filet 200^
Whiting 200^
Cream puffs 200^ C
Plum pie 200^
Meat balls 200^
Veal meatloaf 200^
Grilled chicken - roast chicken 220^
Baked lasagna 220^
Roast beef 220^
Oven cooked pasta 220^
Lemon cake 220^
Rice creol 225^
Baked onions 225^
Stuffed potatoes 225^
Grilled veal joint 225^
Marmalade pie 225^
Pound cake 225^
Turkish shishkebab 250^
Pizza with anchovies 250^

ELECTRONIC PROGRAMMER
The electronic programmer is a device which groups together the following functions:
24 hours clock with illuminated display
- Timer (up to 23 hours and 59 minutes)
- Program for automatic oven cooking
- Program for semi-automatic oven cooking
Description of the buttons:

Timer

Cooking time

End of cooking time

- Manual position and cancellation of the inserted cooking program

To increase the numbers on digital display

To decrease the numbers on digital display.
Description of the illuminated symbols:
AUTO - flashing - Programmer in automatic position but not programmed
AUTO - illuminated - Programmer in automatic position with program inserted.

Automatic cooking taking place

Timer in operation

and AUTO - flashing - Program error.
(The time of day lies between the calculated cooking start and end time).
Note:
Select a function by the respective button and, in 5 seconds, set the required time with the / buttons ("one-hand" operation). After a power cut the display resets to zero and cancels the set programs.


ELECTRONIC CLOCK (fig. 5.2)
The programmer is equipped with an electronic clock with illuminated numbers which indicates hours and minutes.
Upon immediate connection of the oven or after a power cut, three zeros will flash on the programmer display.
To set the correct time of day it is necessary to push the button and then the or button until you have set the correct time (fig. 5.2).
In another way push simultaneously the two buttons and at the same time push the A or button.
Note: If the clock is reset it deletes any previously set programs
NORMAL COOKING WITHOUT THE USE OF THE PROGRAMMER
To manually use the oven, without the aid of the programmer, it is necessary to cancel the flashing AUTO by pushing the button (AUTO will be switched off and the symbol will illuminate - fig. 5.3).
Attention: If the AUTO is illuminated (which means a cooking program has already been inserted), by pushing the button you cancel the program and return to manual operation.
If the oven is switched on, you must switch off manually.
ELECTRONIC TIMER
The timer program consists only of a buzzer which may be set for a maximum period of 23 hours and 59 minutes.
If the AUTO symbol is flashing push the button.
To set the time, push the button and the or until you obtain the desired time in the display (fig. 5.4).
Having finished the setting, the clock hour will appear on the panel and the symbol will be illuminated.
The countdown will start immediately and may be seen at any moment on the panel by simply pressing the button
At the end of the time, the symbol will disappear and the buzzer will sound and continue for approximately 7 minutes or until a button is pressed (not the / buttons). After a short time the display will revert back to the time of day.
SETTING THE FREQUENCY OF THE AUDIBLE SIGNAL
The buzzer has 3 different tones and can be changed by pressing the button, but only when the time of day is displayed


To cook food automatically in the oven, it is necessary to:
- Set the length of the cooking period.
- Set the end of the cooking time.
- Set the temperature and the oven cooking program.
These operations are done in the following way:
- Set the length of the cooking period by pushing the button and the button to increase, or to decrease if you have passed the desired time (fig. 5.5). The AUTO and the symbol will illuminate.
- Set the end of the cooking time by pressing the button (the cooking time already added to the clock time will appear), and the button (fig. 5.6); if you pass the desired time you may get back by pushing the button.
After this setting, the symbol will disappear. If after this setting, the AUTO flashes on the display and a buzzer sounds, it means there was an error in the programming, that is that the cooking cycle has been superimposed on the clock. In this case, modify the end of cooking time or the cooking period itself by following again the above mentioned instructions.

Fig. 5.5
- Set the temperature and the cooking program by using the switch and thermostat knobs of the oven (see specific chapters).
Now the oven is programmed and everything will work automatically, that is the oven will turn on at the right moment to end the cooking at the established hour. During cooking, the symbol remains illuminated.
By pushing the button you can see the time that remains until the end of cooking.
The cooking program may be cancelled at any time by pushing
At the end of the cooking time the oven will turn off automatically, the symbol will turn off, AUTO will flash and a buzzer will be sound, which can be turned off by pushing any of the buttons except the / buttons.
Turn the switch and thermostat knobs to zero and put the programmer onto "manual" by pressing the button.
Attention: After a power cut the clock resets to zero and cancels the set programs. After a power cut, three zeros will flash on the display.

Fig. 5.6
SEMI-AUTOMATIC COOKING
This is used to automatically switch off the oven after the desired cooking time has elapsed.
There are two ways to set your oven:
- Set the length of the cooking time by pushing the button and the button to advance, or to go backwards if you have passed the desired time (fig. 5.7).
or
- Set the end of the cooking time by pushing the button and the button to advance, or to go backwards if you have passed the desired time (fig. 5.8).
AUTO and the symbol will be on.
Then set the temperature and the cooking programme using the oven switch and thermostat knobs (see specific chapters).
The oven is switched on and it will be switched off automatically at the end of the desired time.
During cooking, the symbol remains on and by pressing the button you can see the time that remains till the end of the cooking.
The cooking program may be cancelled at any time by pushing
At the end of the cooking time the oven will turn off automatically, the symbol will turn off, AUTO will flash and a buzzer will be sound, which can be turned off by pushing any of the buttons except the / buttons.
Turn the switch and thermostat knobs to zero and put the programmer onto "manual" by pressing the button.
Attention: After a power cut the clock resets to zero and cancels the set programs.
After a power cut, three zeros will flash on the display.


GLASS LID (SUPPLIED WITH SOME MODELS ONLY)
For cleaning purposes, the lid can be easily removed upwards once taken to the upright position.
Should the hinges slip off, replace them in their housing being careful that:
The right housing must receive the hinge marked "D" while the left housing must receive the hinge marked "S" (fig. 6.1).
REGULATING OF THE BALANCE
Lower the lid and check the correct balance. While opened at 45^ it should hang up.
The springs of the hinges can be adjusted if necessary by turning the screws "R" clockwise (fig. 6.1).

Models with glass lid
Do not shut lid when burner alight.
ATTENTION
- Do not lower the glass lid when the gas burners are still hot or when the oven is working or still hot.
- Do not lay on the glass lid hot pans and heavy kitchen utensils.
Dry off any liquid which may have spilt on the cover before opening it.

GENERAL ADVICE
- Before you begin cleaning, you must ensure that the appliance is switched off.
- When the appliance is not being used, it is advisable to keep the gas tap closed.
- The periodical lubrication of the gas taps must be done only by specialized personnel.
- If a tap becomes stiff, do not force; contact your local After Sales Service Centre.
- It is advisable to clean when the appliance is cold and especially when cleaning the enamelled parts.
- Avoid leaving alkaline or acidic substances (lemon juice, vinegar, etc.) on the surfaces.
- Avoid using cleaning products with a chlorine or acidic base.
- Important: The use of suitable protective clothing/gloves is recommended when handling or cleaning of this appliance.
WARNING
When correctly installed, your product meets all safety requirements laid down for this type of product category. However special care should be taken around the rear or the underneath of the appliance as these areas are not designed or intended to be touched and may contain sharp or rough edges, that may cause injury.
ENAMELLED PARTS
All the enamelled parts must be cleaned with a sponge and soapy water or other non-abrasive products.
Dry preferably with a microfibre or soft cloth.
Acidic substances like lemon juice, tomato sauce, vinegar etc. can damage the enamel if left too long.
STAINLESS STEEL, ALUMINIUM PARTS, PAINTED AND SILK-SCREEN PRINTED SURFACES
Clean using an appropriate product. Always dry thoroughly.
IMPORTANT: these parts must be cleaned very carefully to avoid scratching and abrasion. You are advised to use a soft cloth and neutral soap.
CAUTION: Do not use abrasive substances or non-neutral detergents as these will irreparably damage the surface.
Attention! The appliance gets very hot, mainly around the cooking areas. It is very important that children are not left alone in the kitchen when you are cooking.
Do not use a steam cleaner because the moisture can get into the appliance thus make it unsafe.
Do not use harsh abrasive cleaners or sharp metal scrapers to clean the oven door glass or the glass lid (models with glass lid only) since they can scratch the surface, which may result in shattering of the glass.
GAST TAPS
Periodic lubrication of the gas taps must be carried out by specialist personnel only. In the event of operating faults in the gas taps, call the Service Department.
INSIDE OF OVEN
The oven should always be cleaned after use when it has cooled down.
The cavity should be cleaned using a mild detergent solution and warm water. Suitable proprietary chemical cleaners may be used after first consulting with the manufacturers recommendations and testing a small sample of the oven cavity. Abrasive cleaning agents or scouring pads/ cloths should not be used on the cavity surface.
NOTE: The manufacturers of this appliance will accept no responsibility for damage caused by chemical or abrasive cleaning.
Let the oven cool down and pay special attention no to touch the hot heating elements inside the oven cavity.
BURNERS
They can be removed and washed with soapy water only.
They will remain always perfect if cleaned with products used for silverware.
After cleaning or wash, check that burner-caps and burner-heads are dry before placing them in the respective housings.
Check that the electrode "S" (figs. 6.2, 6.4) next to each burner is always clean to ensure trouble-free sparking.
Check that the probe "T" (figs. 6.2, 6.4) next to each burner is always clean to ensure correct operation of the safety valves.
Both the probe and ignition plug must be very carefully cleaned.
Note: The electrode "S" must be very carefully cleaned. To avoid damage to the electric ignition do not use it when the burners are not in place.
CORRECT REPLACEMENT OF THE AUXILIARY AND SEMI-RAPID BURNERS
It is very important to check that the burner flame distributor "F" and the cap "C" has been correctly positioned (see figs. 6.2 - 6.3) - failure to do so can cause serious problems.
CORRECT REPLACEMENT OF THE TRIPLE RING BURNER
The triple ring burner must be correctly positioned (see fig. 6.6); the burner rib must be enter in their logement as shown by the arrow (see fig. 6.4).
The burner correctly positioned must not rotate (fig. 6.5).
Then position the cap "A" and the ring "B" (figs. 6.5 - 6.6).





OVEN FITTING OUT
- Assemble the wire racks to the oven walls using the 2 screws (fig. 6.7b).
- Slide in, on the guides, the shelf and the tray (fig. 6.7a).
The rack must be fitted so that the safety notch, which stops it sliding out, faces the inside of the oven; the guard rail shall be at the back.
- To dismantle, operate in reverse order.


Fig. 6.7b
REPLACING THE OVEN LAMPS
WARNING: Ensure the appliance is switched off before replacing the lamp to avoid the possibility of electric shock.
- Let the oven cavity and the heating elements to cool down;
- Switch off the electrical supply;
- Remove the protective cover "A" (fig. 6.8);
- Unscrew and replace the bulb "B" with a new one suitable for high temperatures (300^) having the following specifications: 230V or 220-240V, E14 and same power (check watt power as stamped in the bulb itself) of the replaced bulb.
- Refit the protective cover "A";
Note: Oven bulb replacement is not covered by your guarantee.

Fig. 6.8
GREASE FILTER
A special screen is provided at the back of the oven to catch grease particles, mainly when meat is being roasted (fig. 6.9).
- When baking pastry etc. this filter should be removed.
- Slide in the grease filter on the back of the oven as in fig. 6.9.
Clean the filter after any cooking!
- The grease filter can be removed for cleaning and should be washed regularly in hot soapy water.
- Always clean the filter after cooking as any solid residues on it might adversely affect the oven performance.
- Always dry the filter properly before fitting it back into the oven.

STORAGECOMPARTMENT
The storage compartment is accessible through the pivoting panel (fig. 6.10). Do not store flammable material in the oven or in the storage compartment.

REMOVING AND REPLACING THE INNER DOOR GLASS PANE FOR CLEANING
If you wish to clean the inner glass of the door, make sure you follow the precautions and instructions very carefully.
Replacing the glass pane and the door incorrectly may result in damage to the appliance and may void your warranty.
IMPORTANT!
- CAUTION:
- Take care, the oven door is heavy. If you have any doubts, do not attempt to remove the door.
- Make sure the oven and all its parts have cooled down. Do not attempt to handle the parts of a hot oven.
- Take extreme care when handling the glass pane. Avoid the edges of the glass bumping against any surface. This may result in the glass shattering.
Do not use harsh abrasive cleaners or sharp metal scrapers to clean the oven door glass since they can scratch the surface, which may result in shattering of the glass.
- If you notice any sign of damage on any of the glass panes (such as chipping, or cracks), do not use the oven. Call your Authorised Service Centre or Customer Care.
- Make sure you replace the glass pane correctly. Do not use the oven without glass pane correctly in place.
- If the glass pane feels difficult to remove or replace, do not force it. Call your Authorised Repairer or Customer Care for help.
Note: service visits providing assistance with using or maintaining the oven are not covered by your warranty.




REMOVING THE OVEN DOOR
The oven door can easily be removed as follows:
- Open the door to the full extent (fig. 6.11).
- Open the lever "A" completely on the left and right hinges (fig. 6.12).
- Hold the door as shown in fig. 6.14.
Gently close the door (fig. 6.13) until left and right hinge levers "A" are hooked to part "B" of the door (fig. 6.12). - Withdraw the hinge hooks from their location following arrow "C" (fig. 6.15).
Rest the door on a soft surface.

REMOVING THE INNER PANE OF GLASS
The oven door is fitted with no. 2 panes:
no. 1 outside;
no. 1 inner.
To clean all panes on both sides it is necessary to remove the inner pane as follows:
REMOVE THE INNER GLASS RETainer
- Remove the oven door and place it on a soft surface.
IMPORTANT: The door shall be placed horizontally as per Fig. 6.16. - Press down on both tabs to release the glass retainer.
- Remove the glass retainer.

Fig. 6.16
REMOVE THE INNER GLASS PANE
Lift and remove the inner pane slightly, as shown in the figure 6.17.

Fig. 6.17
AFTER CLEANING, REPLACE THE INNER GLASS PANEL
When replacing the inner glass pane, make sure that:
- You replace the pane correctly, as shown. The pane must be in the position described below in order to fit into the door and to ensure that the appliance operates safely and correctly.
- You take extra care not to bump the edges of the glass against any object or surface.
- You do not force the pane into place. If you are experiencing difficulties replacing the pane, remove it and start the process again from the beginning. If this still does not help, call Customer Care.
- Check that you are holding the pane the correct way. You should be able to read the wording on it as it faces you.
-
Check that the gasket "A" is in place (fig. 6.18). If not, correctly place the gasket in the top edge of the inner glass (in the centre).
-
Insert the inner glass pane in the uppermost pair of grooves and push it slightly (arrow 1 in figure 6.18).
- Gently lower into place (arrow 2 in figure 6.18).

Fig. 6.18
REPLACE THE GLASS RETainer
- Position the glass retainer, as shown in the figure 6.19. It should sit on the bottom edge of the outer glass. Check that the clamps "M" are not deformed or damaged.
- Gently push the glass retainer back into place. You should be able to hear the tabs on both sides click as they lock the glass retainer in.
Important!
Make sure the glass retainer is correctly and firmly in place and that the glass pane is secure.

Fig. 6.19
REFIT THE DOOR
- Hold the door firmly (fig. 6.20).
- Insert the hinge tongues into the slots, making sure that the groove drops into place as shown in the figure 6.21.
- Open the door to its full extent.
- Fully close the levers "A" on the left and right hinges, as shown in the figure 6.22.
- Close the door and check that it is properly in place.



Advice for the installer
IMPORTANT
- Cooker installation must only be carried out by QUALIFIED TECHNICIANS and in compliance with local safety standards. Failure to install the appliance correctly could invalidate any manufacturer's warranty.
- The appliance must be installed in compliance with regulations in force in your country and in observation of the manufacturer's instructions.
- Always disconnect the appliance from the electrical supply before carrying out any maintenance operations or repairs.
- Some appliances are supplied with a protective film on steel and aluminium parts. This film must be removed before using the cooker.
INSTALLATION
The installation conditions, concerning protection against overheating of the surfaces adjacent to the cooker, must conform to figs. 7.1a or 7.1b.
The cooker must be kept no less than 200mm away from any side wall which exceeds the height of the cooktop.
The veneered syntetical material and the glue used must be resistant to a temperature of 90^ in order to avoid ungluing or deformations.
Curtains must not be fitted immediately behind appliance or within 500~mm of the sides. If the cooker is located on a pedestal it is necessary to provide safety measures to prevent falling out.

The appliance must be housed in heat resistant units.
The walls of the units must not be higher than work top and must be capable of resisting temperatures of 75 ^ C above room temperature.
Do not install the appliance near inflammable materials (eg. curtains).
Class 1 (fig.7.1a) Gas connection made using rubber hose which must be visible and easily inspected or using rigid or flexible metal pipe.
Class 2 Subclass 1
Fig. 7.1b) Gas connection made using rigid or flexible metal pipe.

FITTING THE ADJUSTABLE FEET
The adjustable feet must be fitted to the base of the cooker before use (fig. 7.2). Rest the rear of the cooker on a piece of the polystyrene packaging exposing the base for the fitting of the feet. Fit the 4 legs by screwing them tight into the support base as shown in figure 7.3.
LEVELING THE COOKER
The cooker may be levelled by screwing the lower ends of the feet IN or OUT (fig. 7.4).



BACKGUARD (SUPPLIED WITH SOME MODELS ONLY)
Before installing the cooker, assemble the backguard "C" (fig. 7.5).
- The backguard "C" can be found packed at the rear of the cooker.
- Before assembling remove any protective film/adhesive tape.
- Remove the two spacers "A" and the screw "B" from the rear of the cooktop.
- Assemble the backguard as shown in figure 7.5 and fix it by screwing the central screw "B" and the spacers "A".

MOVING THE COOKER
WARNING: When raising cooker to upright position always ensure two people carry out this manoeuvre to prevent damage to the adjustable feet (fig. 7.6).

WARNING
Be careful: do not lift the cooker by the door handle when raising to the upright position (fig. 7.7).
WARNING
When moving cooker to its final position DO NOT DRAG (fig. 7.8).
Lift feet clear of floor (fig. 7.6).

Fig. 7.7

Fig. 7.8
ANTI-TILT BRACKET
Important!
To restrain the appliance and prevent it tipping accidentally, fit a bracket to its rear to fix it securely to the wall.
To fit the anti-tilt bracket:
- After you have located where the cooker is to be positioned, mark on the wall the place where the two screws of the anti-tilt bracket have to be fitted.
Please follow the indications given in fig. 7.9. - Drill two 8mm diameter holes in the wall and insert the plastic plugs supplied.
Important!
Before drilling the holes, check that you will not damage any pipes or electrical wires.
- Loosely attach the anti-tilt bracket with the two screws supplied.
- Move the cooker to the wall and adjust the height of the anti-tilt bracket so that it can engage in the slot on the cooker's back, as shown in fig. 7.9.
- Tighten the screws attaching the anti-tilt bracket.
- Push the cooker against the wall so that the anti-tilt bracket is fully inserted in the slot on the cooker's back.

VENTILATION REQUIREMENTS
The appliance must be installed in compliance with applicable local regulations concerning ventilation and the evacuation of exhaust gases.
Intensive and prolonged use may require extra ventilation, e.g. opening a window, or more efficient ventilation increasing the mechanical suction power if this is fitted.
The room where the gas appliance is to be installed must have a natural flow of air so that the gas can burn (in compliance with applicable local regulations).
The flow of air must come directly from one or more openings made in the outside walls with a free area of at least 100cm^2 (or refer to applicable local regulations).
The openings should be near the floor and preferably on the side opposite the exhaust for combustion products and must be so made that they cannot be blocked from either the outside or the outside.
When these openings cannot be made, the necessary air can come from an adjacent room which is ventilated as required, as long as it is not a bed room or a danger area (in compliance with applicable local regulations).
In this case, the kitchen door must allow the passage of the air.
DISCHARGING PRODUCTS OF COMBUSTION
Extractor hoods connected directly to the outside must be provided, to allow the products of combustion of the gas appliance to be discharged (fig. 7.10).
If this is not possible, an electric fan may be used, attached to the external wall or the window; the fan should have a capacity to circulate air at an hourly rate of 3-5 times the total volume of the kitchen (fig. 7.11).
The fan can only be installed if the room has suitable vents to allow air to enter, as described under the heading "Choosing suitable surroundings".


GAS INSTALLATION REQUIREMENTS
Important!
- The walls adjacent to the cooker must be of heat-resistant material.
- Before installation, make sure that the local distribution conditions (gas type and pressure) and the adjustment of this appliance are compatible. The appliance adjustment conditions are given on the plate or the label.
- This appliance must be installed and serviced only by a suitably registered installer. The installer shall refer to the local standards in force.
- Failure to install the appliance correctly could invalidate any manufacturer's warranty.
This appliance is supplied for use on Natural gas or LPG (check the gas regulation label attached on the appliance).
- Appliances supplied for use on Natural gas: they are adjusted for this gas only and cannot be used on any other gas (LPG) without modification. The appliances are manufactured for conversion to LPG.
- Appliances supplied for use on LPG: they are adjusted for this gas only and cannot be used on any other gas (Natural gas) without modification. The appliances are manufactured for conversion to Natural gas.
If the Natural gas/LPG conversion kit is not supplied with the appliance this kit can be purchased by contacting the After-Sales Service.
CONNECTING THE APPLIANCE TO THE GAS SUPPLY
The gas connection must be carried out by an authorised person according to the relevant standards.
Ensure that the room in which the cooker is to be installed is adequately ventilated, in compliance with applicable regulations.
- Connect the cooker to the gas mains utilizing rigid or flexible pipes.
- The gas supply is connected at the rear of the cooker to the right or left terminal of the gas inlet pipe (fig. 8.1). The connection pipe must not cross the rear of the appliance.
- The unused inlet pipe must be closed off with the plug and sealing washer supplied (fig. 8.2).

Fig. 8.1
Fitting the plug on the unused terminal of the gas inlet pipe


(#) Already fitted on the right or left inlet pipe
Fig. 8.2
FOR FRANCE ONLY -POSSIBLE GAS CONNECTIONS
Appliances which cannot be built in (class 1)
For gases supplied by a pipe, the connection can be made using one of the following:
by fitting the proper hose holder (if not supplied with the appliance it can be purchased by contacting the After-Sales Service), interposing a sealing gasket, and using a suitable flexible hose according to NF D 36-102 with an internal diameter of 15mm (fig. 8.3c); make sure that the flexible hose is pushed over the hose connector to the full depth, and secured with a hose clamp (not supplied);
(ONLY FOR ALREADY EXISTING GAS INSTALLATIONS)
- a rigid pipe with screw-nut;
- a metal corrugated flexible hose according to NF D 36-121 (fig. 8.4a);
- a flexible hose with mechanical ferrule according to NF D 36-103 or D 36-100 (fig. 8.4b).
For butane-propane distributed by cylinder or tank, the connection is made using one of the following:
by fitting the proper hose holder (if not supplied with the appliance it can be purchased by contacting the After-Sales Service), interposing a sealing gasket, and using a suitable flexible hose according to XP D 36-110 with an internal diameter of 6mm (fig. 8.3d); make sure that the flexible hose is pushed over the hose connector to the full depth, and secured with a hose clamp (not supplied);
(ONLY FOR BUTANE/PROPANE DELIVERED IN MOBILE CONTAINERS OR FOR ALREADY EXISTING GAS INSTALLATIONS)
- a rigid pipe with screw-nut;
a metal corrugated flexible hose according to NF D 36-125 (fig. 8.4a); - a flexible hose with mechanical ferrule according to XP D 36-112 (fig. 8.4b).


Appliances which can be built in (class 2/1)
For gases supplied by a pipe, the connection can be made using one of the following:
- a rigid pipe with screw-nut;
a metal corrugated flexible hose according to NF D 36-121 (fig. 8.4a); - a flexible hose with mechanical ferrule according to NF D 36-103 or D 36-100 (fig. 8.4b).
For butane-propane distributed by cylinder or tank, the connection is made using one of the following:
- a rigid pipe with screw-nut:
a metal corrugated flexible hose according to NF D 36-125 (fig. 8.4a); - a flexible hose with mechanical ferrule according to XP D 36-112 (fig. 8.4b).
IMPORTANT:
To fix the gas pipe it is necessary to operate with 2 spanners (fig. 8.5).
Access must be possible to the full length of flexible tubes. They must be replaced before their final date of use (marked on the hose) and must be a maximum of 2 m long.
Note: In France, use a tube bearing the mark NF GAZ.
After connecting to the mains, check that the couplings are correctly sealed, using soapy solution, but never a naked flame.

FOR NON-EUROPEAN UNION COUNTRIES ONLY -POSSIBLE GAS CONNECTIONS -
GAS CONNECTION WITH A RUBBER HOSE
Important!
A rubber hose connection shall only be made if permitted by the applicable local regulations.
The gas connection is made up of:
- the terminal fitting of the inlet pipe (right-hand or left-hand);
sealing washer; - the appropriate hose holder (for Natural gas or LPG). If not supplied with the appliance it can be purchased by contacting the After-Sales Service.
Connecting the cooker to Natural gas
- If not already fitted, fit the Natural gas hose holder on the inlet pipe, making sure that you place the sealing washer between them (as shown in fig. 8.6).
- Connect the cooker to the gas supply using a suitable rubber hose (internal diameter 15 mm).
The hose must comply with the applicable local regulations and be of the correct construction for the type of gas being used.
- Make sure that the hose is tightly and securely fitted at both ends.
- Use a standard hose clamp (not supplied) to fasten the hose.
Connecting the cooker to LPG
- If not already fitted, fit the LPG hose holder on the inlet pipe, making sure that you place the sealing washer between them (as shown in fig. 8.6).
- Connect the cooker to the gas supply using a suitable rubber hose (internal diameter 6 mm).
The hose must comply with the applicable local regulations and be of the correct construction for the type of gas being used.
- Make sure that the hose is tightly and securely fitted at both ends.
- Use a standard hose clamp (not supplied) to fasten the hose.
- Install a gas pressure regulator.
Important!
To comply with applicable local regulations, a gas pressure regulator (conforming to the local regulations in force) must be installed when connecting the cooker to an LPG cylinder.
When connecting the cooker to the gas supply with a rubber hose, make sure that
the hose is as short as possible, without twists or kinks.
- the hose is not longer than 750~mm (or refer to applicable local regulations) and does not come into contact with sharp edges, corners or moving parts. Use a single rubber hose only; never connect the appliance with more than one rubber hose.
- the hose is not under tension, twisted, kinked, or too tightly bent, neither while the appliance is in use nor while it is being connected or disconnected.
- the hose does not come into contact with any part of the cooker with a surface temperature of 70^ or above (or refer to applicable local regulations).
- the hose is not subject to excessive heat by direct exposure to flue products or by contact with hot surfaces.
the hose can easily be inspected along its entire length to check its condition. - the hose is replaced at the printed due date or if it shows signs of wear or damage, and replaced regardless of its condition after a maximum of three years.
- you inform the customer that the gas cylinder valve or the gas supply valve immediately by the cooker should be closed when the cooker is not in use.
- you inform the customer that the hose should not be subjected to corrosion by acidic cleaning agents.
After connecting the cooker to the gas supply, make sure that you
- check that the connections are correctly sealed using a soapy solution, but never a naked flame.
- check whether the injectors are correct for the type of gas being used. If not, follow the instructions under "GAS MAINTENANCE".
- replace the sealing washer/s on the slightest sign of deformation or imperfection. The sealing washer/s is/are the part/s which guarantees a good seal in the gas connection.
use two spanners when fitting the hose holder (fig. 8.6).
Gas connection with rubber hose holders
Note: if not already fitted on the inlet pipe, the hose holders are supplied with the product in a separate kit; if not supplied with the appliance they can be purchased by contacting the After-Sales Service.

(Important: to be used ONLY IF PERMITTED by the local applicable regulations)
GAS CONNECTION WITH RIGID PIPES OR A FLEXIBLE PIPE
The gas connection is made up of:
- the terminal fitting of the inlet pipe (right-hand or left-hand);
sealing washer.
Important!
If fitted, remove the hose holder from the terminal fitting of the inlet pipe.
When connecting the cooker to the gas supply with rigid pipes or a flexible pipe, make sure that
- you use rigid pipes or a flexible pipe complying with applicable local regulations. The flexible pipe shall be of the correct construction for the type of gas being used.
- if compression fittings are used, you tighten them firmly using two spanners (fig. 8.7).
- the connection with rigid metal pipes does not cause stress or pressure to the gas piping.
- the flexible pipe is not under tension, twisted, kinked or too tightly bent, neither while the appliance is in use nor while it is being connected or disconnected.
- the flexible pipe does not exceed 2000mm in length (or refer to applicable local regulations) and does not come into contact with sharp edges, corners or moving parts. Use a single flexible pipe only; never connect the cooker with more than one flexible pipe.
- the flexible pipe can easily be inspected along its entire length to check its condition; if it has an expiry date, it should be replaced before that date.
- if using a flexible pipe which is not entirely made of metal, make sure that it does not come into contact with any part of the cooker with a surface temperature of 70^ or above (or refer to applicable local regulations).
- the hose is not subject to excessive heat by direct exposure to flue products or by contact with hot surfaces.
- the rigid or flexible pipe is replaced if it shows signs of wear or damage.
- a gas pressure regulator, in compliance with the applicable local regulations, is installed when connecting to an LPG cylinder.
- you inform the customer that the cylinder valve or the supply valve immediately by the appliance should be closed when the cooker is not in use.
- you inform the customer that the rigid or flexible pipe should not be subjected to corrosion by acidic cleaning agents.
After connecting the cooker to the gas supply, make sure that you
- check that the connections are correctly sealed using a soapy solution, but never a naked flame.
- check whether the injectors are correct for the type of gas being used. If not, follow the instructions under "GAS MAINTENANCE".
- replace the sealing washer/s on the slightest sign of deformation or imperfection. The sealing washer/s is/are the part/s which guarantee/s a good seal in the gas connection.
- use two spanners when connecting the rigid or flexible pipe (fig. 8.7).
Gas connection with rigid or flexible pipe
Note: if already fitted on the inlet pipe, remove the rubber hose holder

Fig. 8.7
| TABLE FOR THE CHOICE OF THE INJECTORS - Cat: II 2E+ 3+ | ||||
| BURNERS | Nominal Power [Hs - kW] | Reduced Power [Hs - kW] | LPG G30/G31 28-30/37 mbar | Natural Gas G20/25 20/25 mbar |
| Ø injector [1/100 mm] | Ø injector [1/100mm] | |||
| Auxiliary (A) 1,00 0,30 50 72 (X) | ||||
| Semi-rapid (SR) 1,75 0,45 65 | 97 (Z) | |||
| Rapid (R) 3,00 0,75 85 115 (Y) | ||||
| Triple ring (TR) 3,50 1,50 95 1 | 35 (T) | |||
| AIR VENT NECESSARY FOR GAS COMBUSTION = (2 m3/h x kW) | |
| BURNERS Air necessary for combustion [m3/h] | |
| Auxiliary (A) 2,00 | |
| Semi-rapid (SR) 3,50 | |
| Rapid (R) 6,00 | |
| Triple ring (TR) 7,00 | |
LUBRICATION OF THE GAS TAPS
In case of difficulty in the gas taps operation, call Service.
IMPORTANT
All intervention regarding installation maintenance of the appliance must be fulfilled with original factory parts.
The manufacturer declines any liability resulting from the non-compliance of this obligation.
REPLACEMENT OF THE INJECTORS
Select the injectors to be replaced according to the "Table for the choice of the injectors".
If the injectors are not supplied they can be obtained from the "Service Centre".
REPLACEMENT OF THE INJECTORS OF THE COOKTOP BURNERS
To replace the injectors proceed as follows:
- Remove pan supports and burners from the cooktop.
- Using a wrench, substitute the nozzle injectors "J" (figs. 8.8a, 8.8b) with those most suitable for the kind of gas for which it is to be used.
The burners are conceived in such a way so as not to require the regulation of the primary air.
ADJUSTING OF THE MINIMUM OF THE TOP BURNERS
In the minimum position the flame must have a length of about 4mm and must remain lit even with a quick turn from the maximum position to that of minimum.
The flame adjustment is done in the following way:
- Turn on the burner.
- Turn the tap to the MINIMUM position.
Take off the knob. - With a thin screwdriver turn the screw "F" until adjustment is correct (fig. 8.9).
Normally for LPG (G30/G31), tighten up the regulation screw.

Fig. 8.8a


IMPORTANT: The cooker must be installed in accordance with the manufacturer's instructions.
Incorrect installation, for which the manufacturer accepts no responsibility, may cause injury to persons or animals etc.
N.B. For connection to the mains, do not use adapters, reducers or branching devices as they can cause overheating and burning.
If the installation requires alterations to the domestic electrical system, call an expert. He should also check that the domestic electrical system is suitable for the power absorbed by the appliance.
GENERAL
- Connection to the mains must be carried out by qualified personnel in accordance with current regulations.
- The appliance must be connected to the mains checking that the voltage corresponds to the value given in the rating plate and that the electrical cable sections can withstand the load specified on the plate.
- The cooker is supplied without a power supply plug and therefore if you are not connecting directly to the mains, a standardized plug suitable for the load must be fitted.
- The plug must be connected to an earthed socket in compliance with safety standards.
- If the cooker is to be connected directly to the mains, it must be placed with an omnipolar switch with minimum opening between the contacts of 3mm between the appliance and the mains.
- The power supply cable must not touch the hot parts and must be positioned so that it does not exceed 75^ at any point.
- Once the appliance has been installed, the switch or socket must always be accessible.
- If the power supply cable is damaged it must be substituted by a suitable cable available in the after sales service.
Before effecting any intervention on the electrical parts of the appliance, the connection to the network must be interrupted.
The connection of the appliance to earth is mandatory.
The manufacturer declines all responsibility for any inconvenience resulting from the inobservance of this condition.
CONNECTION OF THE POWER SUPPLY CABLE
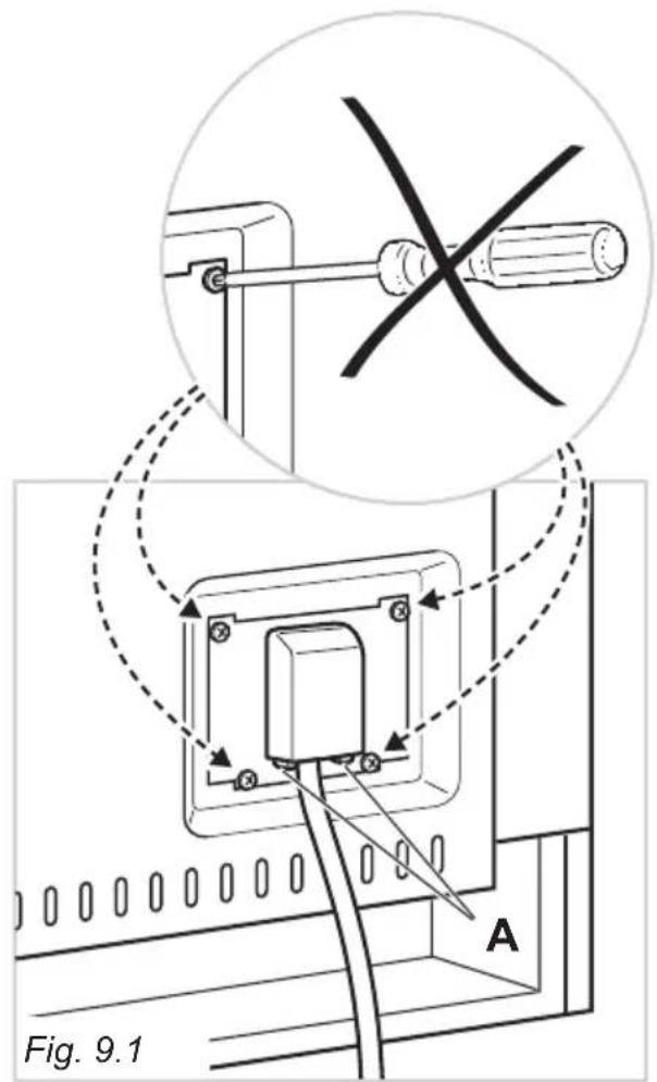
- Unhook the terminal board cover by inserting a screwdriver into the two hooks "A" (fig. 9.1).
- Open the cable gland by unscrewing screw "F" (fig. 9.2), unscrew the terminal screws.
- Insert the feeder cable of the suitable section (as described in the next chapter) into the cable gland.
- Connect the phase, neutral and earth cables to the terminal block according to the diagram in figure 9.3.
- Pull the feeder cable and block it with cable gland.
- Close the terminal block cover (check the two hooks "A" are correctly hooked).
IMPORTANT: To connect the power supply cable DO NOT unscrew the screws fixing the cover plate behind the terminal block.
WARNING: If the power supply cable is damaged, it must be replaced only by an authorised service agent in order to avoid a hazard.
FEEDER CABLE SECTION
Type "H05RR-F"
230 Vac or 220-240 Vac 3 × 1,5 ~mm^2 (*)
() Connection possible with plug and outlet
(^*) Connection with wall box connection.


230 V ac or 220-240 V ac

Fig. 9.3
Cher Client
Quatre-quarts 175^
Creme caramel 175^ C
Tomates farcies 200^
Pizza 200^
Daurade oignons 200^
Truites amandes 200^
Merlans au four 200^
Canard 200^
Omelette 250^
Rotti de boeuf 250^
Gigot 250°C
Epaule mouton 250^
Macaroni au gratin 250^

EasyManual