425CB - Heating DOVRE - Free user manual and instructions
Find the device manual for free 425CB DOVRE in PDF.
Frequently Asked Questions - 425CB DOVRE
User questions about 425CB DOVRE
0 question about this device. Answer the ones you know or ask your own.
Ask a new question about this device
Download the instructions for your Heating in PDF format for free! Find your manual 425CB - DOVRE and take your electronic device back in hand. On this page are published all the documents necessary for the use of your device. 425CB by DOVRE.
USER MANUAL 425CB DOVRE
Declaration of conformity 3
Safety 4
Installation requirements..4
General 4
Flue or chimney 4
Ventilation of the area 5
Floor and walls 6
Product description 6
Installation 7
Preparation 7
Fitting the legs 7
Fitting the handle and handle holder (model 550CB)
Preparing the connection to chimney. 8
Installing and connecting. 10
Use 10
First use. 10
Fuel 10
Lighting 10
Burning wood.11
Extinguishing the fire. 12
Removing ashes 12
Fog and mist. 13
Solving problems 13
Maintenance 13
Chimney. 13
Cleaning and maintenance. 13
Appendix 1: Technical data. 16
Appendix 2:Measurements. 17
Appendix 3: Distance from combustible
material 19
Appendix 4: Diagnostic diagram. 21
Index 22
Introduction
Dear user,
In buying this DOVRE heating appliance, you have chosen a high quality product. This product is part of a new generation of energy saving and environmentally friendly heating appliances. These appliances make optimal use of convection heat as well as thermal radiation (radiant heat).
- Your DOVRE appliance has been manufactured
with state-of-the-art production equipment. In the
unlikely event of a malfunction, you can always
rely on DOVRE for support and service.
The appliance is not to be modified; always use
original parts.
The appliance is intended for use in a living room. It
must be connected hermetically to a well
functioning chimney.
We advise you to let an authorized and compet
installation company install the appliance.
DOVRE cannot be held liable for any problems or
damage resulting from incorrect installation.
Observe the following safety rules when installing
and using the appliance.
In this manual, you can read how the DOVRE heatingGehem
appliance can be installed, used and maintained
safely. Should you require additional information or
technical data, or should you experience an
installation problem, please contact your supplier first.


Notified body: 2013

© 2012 DOVRE NV
Due to continuous product improvement, specifications of the appliance supplied may vary from the description in this brochure without prior notice.
DOVRE N.V.
Please note: All safety regulations must be complied with strictly.
Carefully read the instructions for installation, use and maintenance before you start using the appliance.
The appliance must be installed in accordance with the laws and requirements of your country.
All local regulations and the regulations relating to national and European standards must be observed when installing the appliance.
Read the instructions for installation, use and maintenance supplied with the appliance.
It is preferable to have the appliance installed by an authorized and competent installation company. They will be aware of the applicable regulations and requirements.
The appliance is designed for heating purposes. All surfaces, including the glass and the connecting tube, can get very hot (over 100^ ! For operation, use a so-called "cold hand" or an oven glove.
Don't place any curtains, clothes, laundry or other combustible materials on or near the appliance.
Don't use flammable or explosive substances near the appliance when it is in use.
Avoid a chimney fire by having the chimney swept regularly. Never burn wood with an open door.
In the case of a chimney fire: close all air of the appliance and alert the fire brigade.
If the glass in the appliance is broken or cracked, it must be replaced before you can use the appliance again.
Make sure there is adequate ventilation in the room where the appliance is installed. The combustion will be incomplete in case of insufficient ventilation, which results in toxic gases being produced and spread through the room. See the chapter "Installation requirements" for more information on ventilation.
Installation requirements
General
The appliance must be connected tightly to a well-functioning chimney.
For the connection measurements: see the appendix "Technical data".
Ask the fire brigade and/or your insurance company about any specific requirements and regulations.
Flue or chimney
The flue or chimney is needed for:
Disposing of the combustion gases through natural draught.
The warm air in the flue or chimney is lighter than the outside air so it rises.
The intake of air, needed for the combustion of fuel in the appliance.
open A poorly functioning flue or chimney can cause smokers to escape into the room when the door is opened.
mamage caused by smoke emissions into the room is not covered by the warranty.
Do not connect multiple appliances (such as a boiler for central heating) to the same flue, unless local or national regulations allow this.
Ask your installer for advice regarding the flue. Refer to the European norm EN13384 for a correct calculation for the flue.
The flue must satisfy the following requirements:
The flue or chimney must be made of fire resistance material, preferably ceramics or stainless steel.
The flue or chimney must be airtight and well cleaned and guarantee sufficient draught.
i
A draught/vaccuum of 15 - 20 Pa during normal operation is ideal.
Starting from the flue spigot, the flue must run a vertically as possible. Changes in direction and horizontal pieces disrupt the outward flow of combustion gases and may cause the deposit of soot.

The interior measurements should not be too big prevent the combustion gases from cooling down too much, thereby reducing the draught.
The flue or chimney must ideally have the same diameter as the connection collar.
i
For the nominal diameter: see the appendix "Technical data". If the smoke channel is well insulated, the diameter may be slightly bigger (up to 2x the section of the connection collar)
For good combustion, the appliance needs air (oxygen). That air is supplied via adjustable air inlets from the area where the appliance is installed.
The combustion will be incomplete in case of insufficient ventilation, which results in toxic gases being produced and spread through the area.
The section (area) of the smoke channel must constant. Wider segments and (in particular) narrower segments disrupt the outward flow of combustion gases.
- When using a cover plate or exhaust hood: measure that the cover does not restrict the flue out and that the cap does not impede the outward of combustion gases.
The chimney must end in a zone that is not affected by surrounding buildings, adjacent trees, other obstacles.
The chimney part outside the house must be insulated.
The chimney must be at least 4 metres high.
As a rule of thumb: 60cm above the ridge of the roof.
If the ridge of the roof is more than 3 metres away from the flue: stick to the measurements in the following figure. A = the highest point of the roof within a distance of 3 metres.
As a rule of thumb, the air supply should be 5.5cm^2 /kW Extra ventilation is needed when:
The appliance is in an area that is well insulated.
There is mechanical ventilation, for example a central extraction system or an extraction hood in an open kitchen.
You can provide extra ventilation by having a flow ventilation louvre installed in the outside wall.
Make sure that other air consuming appliances (such as tumble-driers, other heating appliances or a bath room fan) have their own supply of outside air, or are switched off when you use the appliance.
Floor and walls
The floor on which the appliance is placed must have sufficient load bearing capacity. For the appliance weight: see the appendix "Technical data".

Protect a flammable floor from heat radiation by means of a fireproof protective plate. See the appendix "Distance from combustible material".

Remove combustible material such as linoleum, carpets/rugs and similar materials below the fireproof protective plate.

Keep enough distance between the appliance and combustible materials such as wooden walls and furniture.

The connecting tube radiates heat too. Ensure that there is sufficient distance or a shield between the connecting tube and combustible material.
The rule of thumb for a single-walled tube is a distance of 3x the diameter. If a lining shell is fitted around the tube, a distance of 1x the diameter is permissible.
Product description


Carpets and rugs must be at least 80 cm away from the fire.
f. Secondary air slide

Protect a flammable floor from possible falling2. Door ash in front of the fire with the aid of a fireproof adjustable leg protective plate. The protective plate must comply with national standards. 4. Primary air slit

For the dimensions of the fireproof protective plate: see the appendix "Distance from combustible material".
-
Fire basket
-
Bolt

For further requirements in connection with fire safety: see the appendix "Distance from combustible material".
Features of the appliance
The appliance is supplied with height-adjustable legs.
The appliance can be connected to the chimney at the rear or at the upper side.
The appliance is suitable for the burning of wood.
The appliance is supplied with a scraper for removing excess ash.
The appliance is supplied with a detachable handle, the so-called "cold hand", in order to
operate the bolt when it is warm and to remove ash pan; see the following figure.

Additional features of the 550CB model
This appliance is suitable for a side connection to the flue gas outward flow, but can also alternatively be connected on the upper or rear side.
The appliance is supplied with a loose handle, the so-called "cold hand". 1.
In order to open the door, place the "cold hand" in the bolt (B) on the door; see the following figure.

Installation
Preparation
- Please check the appliance for damage caused during transport or any damage or defects immediately after delivery.

If you detect damage caused during transport or any other damage or defects, do not use the appliance and notify the supplier.
- Remove the removable parts (fire-resistant inner plates, fire basket, ash pan, fire grate) from the appliance before you start installing the appliance.

By removing removable parts, it is easier to move the appliance and to avoid damage.
Note the location of those removable parts, so that you have no difficulties in installing the parts in the right place later on.
- Open the door.
2_f Remove the fire-resistant inner plates.

Cast iron inner plates protect the combustion chamber and dissipate heat to the environment.
Fitting the legs
Fit the legs to the appliance; see the following figure.
- Using the bolts supplied M6, fit the two parts of the legs to the desired height.
- Tilt the stove on its back.
- Fit the four legs on the bottom plate using the washers and the M8 nuts that are found on the bottom plate.


Preparing the connection to chimney
When connecting the appliance to the chimney you have the choice of connecting via either the upper side or the rear. See the paragraphs "Connecting on the upper side" and "Connecting at the rear".
Fitting the handle ar holder (model 550CB)
odel 550CB also has the option of connecting at the side. See the instructions in the paragraph "Connecting on the side (model 550CB)".
The appliance is supplied with a loose handle, the s called "cold hand".
- Fit the wooden handle to the adaptor using screw M8x50 provided; see following figure.

The appliance is not supplied with a flue gas opening at the rear or on the upper side. However, model 550CB has two flue gas openings on its sides (one on the left and one on the right). If you do not use one or both of the side connections, cover the side connections(s) that you are not using with the cover supplied.
- Model 550CB is supplied with two covers that have the Dovre logo on them.
Sealant and materials supplied. -
When connecting to the upper side an opening has to be made in the heat shield. At the spot when the opening has to be made an incision has been made in the heat shield.
-
Fit the handle holder (A) supplied to the bottom plate using the nut and bolt M8; see the following figure.
Preparation for connection at the rear side
Make the necessary opening in the heat shield.
- Unhook the heat shield from the appliance.
- Make the opening in the heat shield by cutting the pre-cut section out of the heat shield using plate shears. 7.
- Replace the heat shield back onto the appliance.
Connecting on the upper side the rear side
First make the flue gas opening in the appliance by removing the connection cover. Use the equipment provided: the tension piece, the washer, the nut and bolt; see following figure.

- In the centre of the connection cover, drill a hole with a diameter of 10mm
- Place the tension piece and the bolt on the inner side of the connection cover.
- Slide the washer over the bolt and tighten the nut onto the bolt.

On enamelled appliances, place a piece of cardboard measuring a minimum of 20 cm by 20cm between the washer and the appliance protect against chipping of the enamel.
to
Use the supplied stove sealant for sealing the connection collar and the cover with the appliance.
- Tighten the nut by hand. Use a small amount of grease to make it easier to turn the nut.
or

For model 550CB: cover the two flue gas openings on the sides with the supplied covers that have the Dovre logo on them.
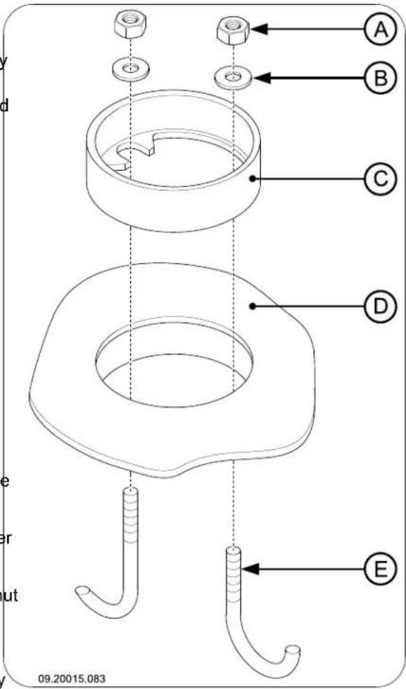
- Fit the connection collar (C) to the flue gas opening (D) using the two brackets supplied (E) and the fixing materials (A) and (B); see the following figure.

-
Using a ring spanner, tighten the nut so that the connection cover breaks out.
-
Once made a flue gas opening can be closed of again with the supplied shut-off cover. Use the mounting place and bolt M6x25 to fit the cover to the appliance.
550CB)
The appliance is supplied with a flue gas opening on the left and right side.
Fit the connection collar (C) to the flue gas opening (D) using the two brackets supplied (E) and the fixing materials (A) and (B); see the
previous figure.
Wood
- Shut off the flue gas opening that is not being used with one of the covers supplied that has the Dovre logo on it. Use the materials supplied. Hardwood, such as from oaks, beeches, birches and fruit trees, is the ideal fuel for your stove. This type of wood burns slowly with calm flames.
- Use the supplied stove sealant for sealing the Softwood contains more resins, burns faster and connection collar and the cover with the appliance. gives off more sparks.
Installing and connecting
- Install the appliance in the right place, and make sure it is level.
- Connect the appliance hermetically to the flue.
- Install all the parts you removed in the right places in the appliance.

Never use the appliance without the fire-resistant inner sheets.
The appliance is now ready for use.
Use
First use
When you use the appliance for the first time, make an intense fire and keep it going for a good few hours. This will cure the heat-resistant paint finish. This may result in some smoke and odours. You could open windows and doors for a while in the area where the appliance is located.
Fuel
This appliance is only suitable for the burning of natural wood; sawn and chopped wood that is sufficiently dry.
Do not use other fuels, as they can lead to serious damage to the appliance.
You are not allowed to use the following fuels, as the pollute the environment and because they heavily soil the appliance and flue, which may lead to a chimney fire:
Treated wood, such as scrap wood, painted wood, impregnated wood, preserved wood, plywood and chipboard.
Plastics, scrap paper and domestic waste.
- Use dried wood that contains no more than 20% moisture. The wood must have dried for at least 2 years.
Saw the wood to size and split it when it is still fresh. Fresh wood is easier to split, and split wood dries more easily. Store the wood under a roof where the wind has wind free access.
Do not use damp wood. Damp logs do not produce heat as all of the energy is used in the evaporation of the moisture. This will result in a lot of smoke and soot deposits on the door of the appliance and in the chimney. The water vapour will condense in the appliance and can leak away through chinks in the appliance, causing black stains on the floor. It may also condense in the chimney and form creosote. Creosote is a highly flammable compound and may cause a chimney fire.
Lighting
You can check whether the flue has enough draught by lighting a ball of paper above the baffle plate. A cold flue often does not have enough draught and consequently, some smoke may escape into the room instead of up the chimney. By lighting the fire in the way described here, you can avoid this problem.
- Stack two layers of medium sized logs crosswise.
- Stack two layers of kindling crosswise on top of the logs.
- Place a firelighter cube in the lower layer of the kindling and light the cube according to the instructions on the packaging.

- Close the door of the appliance and open the primary air inlet and the secondary air inlet of the appliance; see the following figure.
- Let this fire develop into a good blaze until there is glowing bed of charcoal. You can then add fuel and adjust the appliance, see the chapter "Stoking with wood".

= Open = Closed
Burning wood
After you have followed the instructions for lighting:
- Slowly open the door of the appliance.
- Spread out the charcoal bed evenly across the bottom of the fire compartment.
- Stack a few logs on the charcoal bed.

Open stacking
If the logs are stacked openly, the wood will burn quickly as the oxygen can reach each log easily. If you want to use the stove for a short while, make an open stack.

Compact stacking
If the logs are stacked tightly, the wood will burn more slowly as the oxygen can only reach some logs easily. If you want to burn wood for a longer period, make a compact stack.
-
Close the door of the appliance.
-
Close the primary air inlet and leave the secondary air inlet open. After

Fill the appliance up to one third capacity.
Advice

Never burn wood with an open door.

Regularly burn wood with intense roaring fires
If you frequently have low intensity fires, tar and creosote may be deposited in the chimney Tar and creosote are highly combustible substances. Thicker layers of these substances might catch fire when the temperature in the chimney increases suddenly and steeply. Therefore it is necessary for the fire to regularly burn very intensely, so that layers of tar and creosote disappear.
Low intensity fires also cause tar deposits on the stove window and door. When the outside temperature is not very low, it is better to burn wood intensely for a few hours instead of having a low intensity fire for long period of time.

Control the air supply with the secondary air inlet.

The secondary air inlet not only supplies air to the fire but to the glass as well, so that it does not get dirty so quickly.

Open the primary air inlet for the time being if the air supply by the secondary air inlet is inadequate or if you want to fan the fire.

It is better to add a small amount of logs regularly than to add many logs at the same time.
Extinguishing the fire
Do not add fuel and just let the fire go out. If a fire is damped down by reducing the supply of air, harmful substances will be produced and released. Therefore, let the fire go out naturally. Keep an eye on the fire until it has gone out. When the fire has died completely, all air inlets can be closed.
Removing ashes
After the wood has been burnt, a relatively small amount of ashes is left over. This bed of ashes is a good insulating layer for the bottom of the fire compartment and improves combustion. Therefore, you can leave a thin layer of ashes on the bottom of the fire compartment.
However, the air supply through the bottom of the fire compartment must not be impeded and no ash should be allowed to accumulate behind a cast iron inner plate. Therefore, remove any excess ash frequently.
The appliance is fitted with a de-ashing grate to remove the excess ash.
- Open the door of the appliance.
- Slide open the de-ashing grate (A); see the following two figures.


- Using the scraper supplied, sweep the redundant ashes through the ash removal port into the ash pan underneath the grate.
After the heating season: seal off the chimney with a ball of paper.
- Close the ash removal port.
- Remove the ash pan using the "cold hand" provided and empty the ash pan; see next figure.

Cleaning and maintenance

Do not clean the appliance when it is still warm.
Clean the exterior of the appliance with a dry lint-free cloth.
At the end of the heating season, you can clean the interior of the appliance thoroughly:
If necessary, first remove the fire-resistant inner plates.
If necessary, clean the air supply ducts.
- Remove the baffle plate at the top of the appliance and clean it. See the chapter "Installation" for instructions on removing and installing the baffle plate.
- Install the ash pan and close the appliance door.
Fog and mist
Fog and mist hinder the flow of flue gases through the subject to wear. Check the fire-resistant inner plates flue. Smoke can blow back and cause a stench. If it is frequently and replace them when necessary. not strictly necessary, it is better not to use the stove in foggy and misty weather. See the chapter "Installation" for instructions on
Solving problems
Refer to the appendix "Diagnostic diagram" to solve any problems in using the appliance.
Maintenance
Follow the maintenance instructions in this chapter to keep the appliance in good condition.
Chimney
In many countries, people are legally required to have their chimney checked and maintained.
Checking fire-resistant inner plates
The fire-resistant inner plates are consumables and subject to wear. Check the fire-resistant inner plates frequently and replace them when necessary.
See the chapter "Installation" for instructions on removing and installing the inner plates.

The insulating vermiculite inner plates may develop hairline cracks, but that does not affect their performance adversely.

Cast-iron inner plates go a long way if you frequently remove the ash that may pile up behind them. If accumulated ash behind a cast-iron plate is not removed, the plate cannot dissipate the heat anymore to its surroundings and that may cause the plate to warp or crack.

Never use the appliance without the fireresistant inner plates.
eRemoving the baffle plate
The baffle plate is secured with a bolt located between the rear connection and the secondary air duct. The bolt is fixed to the baffle plate.
- Remove the nut on the rear side; see the following figure.

- Pull the baffle plate forwards so that the bolt comes free from the rear side.
- Remove the baffle plate via the front door.
Cleaning glass
Dirt clings less easily to well-cleaned glass. Proceed as follows:
- Remove dust and loose soot with a dry cloth.
- Clean the glass with stove window cleaner: a. Apply stove window cleaner to a kitchen sponge, rub down the entire glass surface give the cleaning agent time to react.
b. Remove the dirt with a moist cloth or kitchen tissue. - Clean the glass again with a normal glass clean product.
- Rub the glass clean with a dry cloth or kitchen tissue.
Do not use abrasive or aggressive products to clean the glass.
Wear household gloves to protect your hands.
If the glass in the appliance is broken or cracked, it must be replaced before you can use the appliance again.
Make sure that no stove window cleaner runs between the glass and the cast-iron door.
Maintaining enamelled fire
Never clean the appliance when it is still hot. The enamelled surface of the fire can be cleaned most effectively with a mild green soap and lukewarm water. Use as little water as possible, rub the surface dry and prevent the formation of rust. Wire wool or other abrasives should never be used. Never place a kettle directly onto an enamelled fire; use a stand and prevent damage from occurring.
Lubrication
Although cast-iron is slightly self-lubricating, you will still have to lubricate moving parts frequently.
Lubricate the moving parts (such as guide systems, hinge pins, latches and air slides) with heat resistant grease that is available in the specialist trade.
Adjusting the air slider
df the air slider (C) of the secondary air inlet does not move easily, you can adjust the air slider using the two screws (A) and (B) in the front plate; see following figure.

Touching up damaged paint
Small areas of damaged paint finish can be touched up with a spraying can of special heat-resistant paint finish available from your supplier.
Touching up the enamelled surface
Enamelling is a process carried out by traditional methods, meaning that it is possible that small colour
differences and damage may occur. The appliances undergo a visual inspection in the factory, that is to say, the inspector looks at the surface for a period of 10 seconds from a distance of 1 metre. Any damage that does not stand out is regarded as OK. A special heat-resistant paint is supplied along with the apparatus, with which minor damage caused during transport can be touched up. Apply the heat-resistant paint in thin layers and leave to dry well before using the appliance.
Checking the seal
Check whether the sealing rope of the door is still in good condition and works well. The sealing rope is subject to wear and needs to be replaced in time.
Check the appliance for air leaks. Close any chinks with stove sealant.
Let the sealant harden fully before you start a fire in the appliance, because otherwise any moisture in the sealant will form bubbles in the sealant and cause a new air leak.
Appendix 1: Technical data
| Model 425CB and 550CB | |
| Nominal output 8 kW | |
| Flue connection (diameter) 150 mm | |
| Weight +/- 115 kg | |
| Recommended fuel Wood | |
| Fuel property, max. length 40 cm | |
| Mass flow of flue gases 5.6 g/s | |
| Temperature increase measured in measuring section | 257 K |
| Temperature measured downstream from the flue spigot | 415 |
| Minimum draught | 13 Pa |
| CO emission (13%Q) | 0,09 % |
| NOx emission (13%Q) | 140 mg/Nm3 |
| CnHm emission (13%Q) | 114 mg/Nm3 |
| Particulate emission | 36 mg/Nm3 |
| Particulate emission in accordance with NS3058-NS3059 | 8.28 gr/kg |
| Efficiency | 78,8 % |
Appendix 2:Measurements
425CB



09.20017.009
550CB



09-00085-000_550CB
Appendix 3: Distance from combustible material
425CB and 550CB - Minimum distances in millimetres

| * Protective (insulated) connection pipe | |
| Combustible material | |
| Incombustible material, thickness 100 mm | |
425CB and 550CB - Dimensions of fireproof protective plate

Minimal dimensions of fireproof protective plate
| A (mm) | B (mm) | |
| Din 18891 500 300 | ||
| Germany 500 300 | ||
| Finland 400 100 | ||
| Norway 300 100 |
Appendix 4: Diagnostic diagram
| Problem | ||||||
| ● | Wood does not keep burning | |||||
| ● | Gives off insufficient heat | |||||
| ● | Smoke emissions into the room when adding wood | |||||
| ● | Fire in appliance is too intense, is hard to adjust | |||||
| ● | Deposit on the glass | |||||
| Possible cause Possible | solution | |||||
| ● | ● | ● | ● | Insufficient draught | A cold flue usuallyfails to create sufficient draught. Follow the instructions for lighting in the "Use" chapter; open a window. | |
| ● | ● | ● | ● | Wood too damp Use wood with no more | more than 20% moisture. | |
| ● | ● | ● | ● | Pieces of wood too big | Use smallpieces of kindling. Use split logs no larger than 30 cm in circumference. | |
| ● | ● | ● | ● | ● | Wood stacked up incorrectly | Stackup the wood in a way that allows an adequate air flow between the logs (open stacking, see "Burning wood") |
| ● | ● | ● | ● | Chimney does not work properly | Check whether the chimney meets the requirements: at least 4 metres high, right diameter, well insulated, smooth inside, not too many bends, no obstructions in chimney (bird'snest, too much soot deposit), hermetically tight (no chinks). | |
| ● | ● | ● | ● | Chimney stack incorrect Sufficiently high | high above the roof, no obstacles in its vicinity | |
| ● | ● | ● | ● | ● | Air inlets set incorrectly Open the air | inletscompletely. |
| ● | ● | ● | ● | Appliance connected to chimney incorrectly | Connection should be hermetically tight. | |
| ● | ● | ● | ● | Vacuum in area where appliance is installed | Switch off extraction systems. | |
| ● | ● | ● | ● | Insufficient supply of fresh air | Provide an adequate air supply; if necessary use connection to outside air. | |
| ● | ● | ● | ● | Adverse weather conditions? Inversion (reversed air flow in chimney because of a high outside temperature) extreme wind velocities | We recommend you don't use the appliance in the case of inversion. Install an extra hood on the flue to increase the draught if need be. | |
| ● | Draught in the living room | Avoid draught in the living room, do not place the appliance near a door or heating air ducts. | ||||
| ● | Flames touch the glass | Make sure the wood does not lie too close to the glass. Slide the primary air inlet cover closer to the "Closed" position. | ||||
| ● | Appliance isleaking air Check the door seals and the appliance joints. | |||||
Index
A
Adding fuel.12
Adding wood smoke emissions into the room. 21
Air inlets.11 adjusting 14
Air leak 15.
Air supply for fire.12
Ash pan open.13
Ashes remove.12
B
Baffle plate removing.13.
Burning wood 11.
add fuel. 12
adding logs. 11
appliance is hard to adjust. 21
fire is too intense. 21
insufficient heat. 13, 21
C
Carpet. 6
Chimney height 5
sweep 13
Chinks in appliance. 15
Clean glass. 14
Cleaning appliance 13
Combustible material distance from 19
Connecting to the chimney side. 9 upper side 9
Connection measurements 17
Connection collar fitting 9
Connection cover removing 9
Connection to chimney rear side 8
Control air supply. 12
Cover logo 8,10
Cover on flue 5
Creosote 12
D
Damp wood. 10
Door sealing rope. 15
Draught 16
Drying of wood 10
E
Efficiency. 16
F
Filling height 12
Finishing coat, maintenance 14
Fire extinguishing 12 lighting. 10
Fire-resistant inner plates maintenance. 13
Fire-resistant inner sheets warning 10
Fire going out 12
Fire safety distance from combustible material 19
floor. 6
furniture 6
walls. 6
Floors fire safety. 6 load bearing capacity 6
Flue connection diameter 16
connection to 10
maintenance 13
requirements 4
Flue gas mass flow. 16
Flue gas opening shutting off. 9
Fog, do not burn wood 13
Fuel
adding 12
adding wood.12
necessary amount 13
suitable .10.
unsuitable 10
G
Glass
clean 14.
deposit 21
H
Handle
fitting.8.
Handle holder fitting.8....
Heat shield making opening.8-9. removing 9
Heat, insufficient. 13
Heat,insufficient 21
Hood on the flue 5
1
Installation
measurements 17
K
Kindled fire 10
Kindling 21
L
Legs
fitting.7
Lighting 10
Load bearing capacity of floor 6
Lubricant. 14
Lubricate 14
M
Maintenance
chimney. 13
clean glass 14
cleaning the appliance. 13
fire-resistant inner plates 13
lubrication.14.
sealing 15
Measurements.17
Mist, do not burn wood 13
N
Nominal output 13.16
0
Open ash pan. 13
P
Paint finish 10
Particulate emission 16
Prevent a chimney fire 12
Primary air inlet 11
R
Removal of ashes 12
Remove ashes 12
S
Scaper for removing ash. 6
Sealing rope for door. 15
Secondary air inlet. 11
Smoke on first use 10
Smoke emissions into the room 4, 21
Softwood 10
Solving problems. 13, 21
Stacking logs 11
Storing wood 10
Stove window cleaner 14
Suitable fuel. 10
Supply of outside air 5
connection to. 10
Sweep chimney. 13
T
Tar 12
Temperature. 16
Temperature increase measuring section.16
U
Unsuitable fuel.10.
V
Ventilation.5
rule of thumb 5
Ventilation louvre.5
W
Walls
fire safety 6
Warning
chimney fire 4, 10, 12
combustible materials.4
fire-resistant inner plates.10
glass broken or cracked.4,14
hot surface 4
regulations.4
stove window cleaner 14
terms and conditions for insurance. 4
ventilation 4-5
Weather conditions, do not burn wood. 13
Weight 16
Wood 10
damp 10
does not keep burning. 21
drying 10
right sort 10
storing 10
Table des matieres
Introduction 3
Raccordement dimensions
Pose
dimensions 17
Calor, insufficient 13, 21
EasyManual